zurück


Beispielsammlung für Maschinen und Geräte Anhang 1
(Fortsetzung)


1.2.13 Currywurstschneidemaschinen (rotierendes Messer)
Gefährdung durch
  1. rotierendes Messer
  2. Hineingreifen in den Wirkbereich
Maßnahmen:
  1. Die Gefahrstellen am rotierenden Messer müssen durch Verkleidungen gesichert sein. Ein- und Auslauföffnungen müssen mindestens die folgenden Abmessungen aufweisen:
    Durchmesser
    der Öffnungen
    Schachttiefe
    bis zur Gefahrstelle
    bis 50 mm mindestens 95 mm
    bis 55 mm mindestens 100 mm
    bis 60 mm mindestens 110 mm
    Siehe auch Abschnitt 1.3 des Anhanges zur EG-Maschinenrichtlinie 98/37/EG.
  2. Über die an den Ein- und Auslauföffnungen bestehende Restgefährdung durch das Messer ist die Bedienperson insbesondere zu unterweisen.
1.2.14 Handmixer, Handrührer
Gefährdung durch
  1. Schneid- und Fangstellen an Messern, Rührwerkzeugen und Wellen
  2. Vernachlässigen ergonomischer Prinzipien
Maßnahmen:
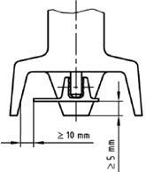
  1. Schneidwerkzeuge müssen von der Antriebsseite her durch eine feststehende, trennende Schutzeinrichtung, die die Schneidmesser radial um mindestens 10 mm und axial um 5 mm überlappt, gesichert sein.

    Feststehende trennende Schutzeinrichtung an der Werkzeugseite.

    Handmixer und Handrührer müssen mit einer Befehlseinrichtung ausgerüstet sein, die ein unbeabsichtigtes Betätigen verhindert.

    Handrührer müssen mit einer trennenden Schutzeinrichtung versehen werden, um das versehentliche Abrutschen der Hand in das Werkzeug zu verhindern. Ihre Abmessungen müssen in allen Richtungen mindestens 30 mm größer als die Abmessungen des Handgriffbereiches sein und sie muss zwischen Handgriffbereich und Werkzeug angeordnet werden.

    Siehe auch Abschnitt 1.3 des Anhanges zur EG-Maschinenrichtlinie 98/37/EG und DIN EN 12.853 "Nahrungsmittelmaschinen; Handmixer und Handrührer; Sicherheits- und Hygieneanforderungen".
  2. Handmixer und Handrührer müssen so ausgeführt sein, dass die ergonomischen Grundprinzipien eingehalten werden. Es müssen insbesondere Griffe vorhanden sein die so gestaltet sind, dass die Geräte sicher geführt werden können. Handmixer und Handrührer mit einem Gewicht von mehr als 10 kg müssen mit Einrichtungen ausgerüstet sein, die eine Handhabung erleichtern, z.B. durch
    • Einhängevorrichtung
      oder
    • Gewichtsentlastung durch Federzug.
    Siehe auch Abschnitt 1.1.2 des Anhanges zur EG-Maschinenrichtlinie 98/37/EG und DIN EN 614-1 "Sicherheit von Maschinen; Ergonomische Gestaltungsgrundsätze; Teil 1: Begriffe und allgemeine Leitsätze".
1.2.15 Aufschnittschneidemaschinen mit Rundmesser (Messerdurchmesser >150 mm)
Gefährdung durch
  1. Messer
  2. abgenutztes Messer
  3. ungeeignete Aufstellung
  4. Messer beim Ein- und Ausbau
Maßnahmen:
  1. Aufschnittschneidemaschinen müssen, soweit es die Materialzuführung zulässt, so eingerichtet sein, dass Personen mit ihren Händen nicht in den Gefahrbereich des Messers geraten können, z.B. durch
    • Messerschutz (unlösbare Verdeckung, Schutzbügel),
    • Schnittstärkenplatte (Anschlagplatte),
    • Schieberschutz (Schutzplatte),
    • Restehalter,
    • Fingerschutz (Schlittenrückwand),
    • Daumenschutz
      und
    • Abdeckung des Messers von oben.

    Siehe auch Abschnitt 1.3 des Anhanges zur EG-Maschinenrichtlinie 98/37/EG und DIN EN 1974 "Nahrungsmittelmaschinen; Aufschnittschneidemaschinen; Sicherheits- und Hygieneanforderungen".

  2. Ist der Abstand zwischen Messer und Schutzbügel infolge Nachschleifens oder Abnutzens so groß, dass ein sicherer Betrieb nicht mehr gewährleistet ist, darf die Maschine nicht mehr betrieben werden.
  3. Aufschnittschneidemaschinen dürfen auf einer ebenen Unterlage nur so aufgestellt werden, dass
    • für das Bedienen eine ausreichende Bewegungsfläche am Arbeitsplatz zur Verfügung steht,
    • die Bedienperson beim Betreiben nicht behindert wird
      und
    • die Schneidstelle ausreichend und schlagschattenfrei beleuchtet ist.

    Eine ausreichende Bewegungsfläche am Arbeitsplatz steht zur Verfügung, wenn die Tiefe der freien Bewegungsfläche an keiner Stelle weniger als 1,00 m beträgt.

    Eine Behinderung der Bedienperson ist nicht zu erwarten, wenn die Maschine so aufgestellt wird, dass ein Durchqueren der, Bewegungsfläche am Arbeitsplatz durch weitere Personen vermieden ist. Sofern dieses aus technischen Gründen nicht möglich ist, muss die Tiefe der freien Bewegungsfläche mindestens 1,20 m betragen.

  4. Der Ein- und Ausbau des Messers muss entsprechend den Angaben in der Betriebsanleitung erfolgen.

    Dies bedeutet insbesondere:

    • Trennung von der Energiezufuhr,
    • Benutzung der mitgelieferten Hilfsmittel beim Messerein- und -ausbau,
    • Verwendung einer geeigneten Messeraufnahme für Transport und Lagerung
      und
    • Benutzung von Schutzhandschuhen.
1.2.16 Gatterbrotschneidemaschinen
Gefährdung durch
  1. Gattermesser
  2. Quetsch- und Scherstellen zwischen
    • den Gatterrahmen untereinander,
    • den Gatterrahmen und feststehenden Maschinenteilen
      und
    • dem Vorschubbalken und feststehenden Maschinenteilen
  3. Vernachlässigen hygienischer Prinzipien
Maßnahmen:
  1. Die Gattermesser müssen auf der Einlaufseite durch Verdeckungen gesichert sein. Der Abstand vom Gattermesser zur Vorderkante der Verdeckung mindestens 120 mm bis betragen.

    An Maschinen mit kraftbetriebenem formschlüssigen Vorschubbalken muss über dem Einschubkanal eine Schalteinrichtung, z.B. Schaltleiste oder Lichtschranke vorhanden sein, die bei Betätigung den Vorschub stillsetzt oder in die Gegenrichtung steuert.

    An Maschinen mit kraftbetriebenem formschlüssigen Vorschubbalken und einem Messerabstand (Schnittstärke) von mehr als 25 mm muss an der Auslaufseite eine bewegliche gekoppelte, tunnelförmige Schutzhaube vorhanden sein. Bei einer Öffnungshöhe von nicht mehr als 250 mm muss der Abstand bis zum Gattermesser 550 mm betragen; bei größeren Öffnungshöhen muss der Abstand 850 mm betragen.

    Siehe auch Abschnitt 1.3 des Anhanges zur EG-Maschinenrichtlinie 98/37/EG und DIN EN 349.
  2. Gefahrstellen zwischen den Gatterrahmen untereinander, zwischen Gatterrahmen und feststehenden Maschinenteilen sowie zwischen Vorschubbalken und feststehenden Maschinenteilen müssen gesichert sein, z.B. durch Einhaltung ausreichender Sicherheitsabstände.

    Gefahrstellen, die hinter Reinigungsöffnungen, z.B. Krumenschublade, liegen, müssen gesichert sein, z.B. durch

    • Verdeckungen
      oder
    • mit dem Antrieb verriegelte Reinigungsklappen bzw. Krumenschubladen
    Siehe auch Abschnitt 1.3 des Anhanges zur EG-Maschinenrichtlinie 98/37/EG.
  3. 3 Filze zur Ölung der Messer müssen entsprechend den Angaben in der Betriebsanleitung gereinigt bzw. ausgetauscht werden.
    Bei der Beschaffung von Gatterschneidemaschinen sollte darauf geachtet werden, dass Filze zur Ölung der Messer zwecks Reinigung leicht ein- und ausgebaut werden können.
1.2.17 Brötchenschneidemaschinen
Gefährdung durch Messer
Maßnahmen: Die Gefahrstellen an dem Schneidwerkzeug müssen von der Einfüllseite her gesichert sein, z.B. durch
  • Einhalten der Sicherheitsabstände nach DIN EN 294
    oder
  • Einhaltung der Maße entsprechend der nachstehenden Zeichnung.

Die Gefahrstellen an den Werkzeugen müssen von der Auslaufseite her gesichert sein, z.B. durch

  • Einhalten der Sicherheitsabstände nach DIN EN 294
    oder
  • Spaltkeil in der Auslauföffnung, der die Schneidkante von der Rückseite her vollständig verdeckt.

Das sichere Entfernen der beim Schneiden entstehenden Krümel ist gewährleistet, z.B. durch

  • Öffnungen im Boden, deren Abmessungen DIN EN 294 entsprechen
    oder
  • eine verriegelte Reinigungsklappe.
Siehe auch Abschnitt 1.3 des Anhanges zur EG-Maschinenrichtlinie 98/37/EG.
1.2.18 Planetenrühr- und -knetmaschinen
Gefährdung durch
  1. Gefahrstellen zwischen Werkzeug und Bottichwand bzw. umlaufendem Abstreifer
  2. Quetsch- und Scherstellen durch Hub- und Senkbewegungen des Bottichs
  3. zu hohe Emission von Mehlstäuben
Maßnahmen:
  1. Der Zugriff zu den Gefahrstellen an den Werkzeugen muss durch eine Verkleidung verhindert oder die Gefahrstellen sind durch Schutzeinrichtungen mit Annäherungsreaktion gesichert sein.
    Dies schließt ein, dass die Maschine nur dann in Gang gesetzt werden kann, wenn sich der Kessel in Arbeitsstellung befindet, z.B. durch Verriegelung des Kesselträgers mit dem Antrieb. Dabei ist das Hochfahren des Kessels in die Arbeitsstellung bei laufendem Werkzeug nur mit einer Befehlseinrichtung mit selbsttätiger Rückstellung zulässig.

    Abweichend von Satz 1 ist für Planetenrühr- und -knetmaschinen, mit einem Bottichinhalt < 10 l und/oder einem Durchmesser bis 260 mm eine Schutzeinrichtung nicht erforderlich, sofern zwischen Bottichoberkante und Gefahrstelle ein Abstand von mindesten 120 mm eingehalten wird.

    Siehe auch Abschnitt 1.3 des Anhanges zur EG-Maschinenrichtlinie 98/37/EG und DIN EN 454 "Nahrungsmittelmaschinen; Planetenrühr- und -knetmaschinen; Sicherheits- und Hygieneanforderungen".
  2. Gefahrstellen zwischen bewegtem Bottich und feststehenden Maschinenteilen müssen gesichert sein, z.B. durch
    • konstruktive Maßnahmen,
    • Verkleidungen/Verdeckungen,
    • Schutzeinrichtungen mit Annäherungsreaktion, z.B. Schaltrahmen
      oder
    • Befehlseinrichtungen mit selbsttätiger Rückstellung, z.B. Tipptaster.
    Siehe auch Abschnitt 1.3 des Anhanges zur EG-Maschinenrichtlinie 98/37/EG und DIN EN 454.
  3. Planetenrühr- und -knetmaschinen müssen so ausgeführt sein, dass kein Mehlstaub in gefahrdrohender Menge in den Arbeitsbereich austreten kann. Planetenrühr- und - knetmaschinen mit einem Bottichdurchmesser von mehr als 510 mm müssen zur Begrenzung der Austritte von Mehlstaub möglichst dicht ausgeführt sein.
    Siehe auch Abschnitt 1.5.13 des Anhanges zur EG-Maschinenrichtlinie 98/37/EG und DIN EN 454.
1.2.19 Rühr- und Schlagmaschinen
Gefährdung durch
  1. Quetsch- und Einzugstellen zwischen Werkzeug und Bottichwand
  2. Fangstellen am Werkzeug
Maßnahmen:
  1. Gefahrstellen zwischen Werkzeug und Bottichwand müssen im oberen Kesselbereich vermieden oder gesichert sein, z.B. durch
    • Sicherheitsabstand von 120 mm von der Kesseloberkante bis zur Gefahrstelle
      oder
    • klappbare, verriegelte Schutzeinrichtungen, die den Zugriff zur Gefahrstelle verhindern.
    Siehe auch Abschnitt 1.3 des Anhanges zur EG-Maschinenrichtlinie 98/37/EG.
  2. Hervorstehende Teile an der Werkzeugbefestigung müssen vermieden oder glatt rundlaufend verdeckt sein.
    Siehe auch Abschnitt 1.3 des Anhanges zur EG-Maschinenrichtlinie 98/37/EG.
1.2.20 Speiseeisbereiter mit horizontaler Welle
Gefährdung durch Scherstellen zwischen rotierendem Werkzeug und Gehäuse im Ein- und Auslaufbereich
Maßnahmen: Der Zugriff zu den Scherstellen zwischen rotierendem Werkzeug und Einlauföffnungen muss verhindert sein. Die Scherstelle zwischen rotierendem Werkzeug und Auslauföffnung muss gesichert sein z.B. durch
  • Schutzstäbe, deren lichter Abstand 8 mm nicht überschreitet und die mindestens 5 mm vor dem Werkzeug angeordnet sind
    oder
  • Schutzeinrichtungen, die den Zugriff zur Gefahrstelle erheblich erschweren.
Solche Schutzeinrichtungen sind z.B. am Auslauf angebrachte verriegelte Auslaufschrägen mit integrierter Klappe, die
  • selbsttätig in Schutzstellung fällt,
  • sich nur in Auslaufrichtung öffnen lässt
    und
  • deren Oberfläche so gestaltet ist, dass sie von Hand nicht erfasst und geöffnet werden kann.

Der Verschlussdeckel der Trommel muss mit dem Antrieb der Maschine verriegelt sein. Eine Verriegelung ist nicht erforderlich, wenn der Verschlussdeckel das Gegenlager für die rotierenden Abstreif- und Austragwerkzeuge bildet.

Siehe auch Abschnitt 1.3 des Anhanges zur EG-Maschinenrichtlinie 98/37/EG und Arbeitssicherheits-Information "Speiseeisbereiter" (ASI 2.15.2).
1.2.21 Speiseeisbereiter mit vertikaler Welle
Gefährdung durch
  1. rotierende Welle des Speiseeisbereiters
  2. Quetschstelle zwischen rotierendem Abstreifer und feststehenden Maschinenteilen
Maßnahmen:
  1. Die rotierende Welle muss von der Antriebsseite her durch eine Schutzhülse gesichert sein, die höchstens 100 mm über der Tischfläche endet.

    An der Bedienseite muss eine großflächige Befehlseinrichtung zum Stillsetzen vorhanden sein, die mit dem Körper oder mit den Beinen betätigt werden kann, z.B. durch

    • eine über die gesamte Maschinenseite angeordnete Schaltleiste von 30 mm Höhe
      oder
    • einem Stellteil mit einer Fläche von mindestens 300 mm x 300 mm.
    Siehe auch Abschnitt 1.3 des Anhanges zur EG-Maschinenrichtlinie 98/37/EG.
  2. An Speiseeisbereitern mit rotierendem Abstreifer muss dieser an der Rückseite der Trommel hinter der Welle angeordnet sein.
    Als Rückseite hinter der Welle ist ein Bereich bis zu 45° beidseitig der Welle anzusehen.

    Siehe auch DIN EN 349.

1.2.22 Sahnebereiter mit Rührwerkzeugen
Gefährdung durch Einzugstelle zwischen Rührwerkzeug und Behälterwand
Maßnahmen: Einzugstellen zwischen umlaufendem Rührwerkzeug und Behälterwand müssen vermieden oder gesichert sein, z.B. durch
  • Begrenzung der am Rührwerkzeug wirksamen Energie auf eine ungefährliche Größe,
  • einen Abstand von gleich oder weniger als 4 mm zwischen Rührwerkzeug und Behälterwand
    oder
  • einen verriegelten Schutzdeckel.
Siehe auch Abschnitt 1.3 des Anhanges zur EG-Maschinenrichtlinie 98/37/EG.
1.2.23 Sahne- und Sodasiphons mit Kapseln
Gefährdung durch
  1. Zerknall des Siphons
  2. wegfliegende Teile
Maßnahmen:
  1. Sahne- und Sodasiphons müssen gegen Drucküberschreitung gesichert sein.
    Siehe auch DIN 32.615 "Sahne- und Sodasiphon mit Kapsel; Begriffe, sicherheitstechnische Anforderungen und Prüfung".

    Die maximal zulässige Füllmenge des Siphons darf nicht überschritten werden.

  2. Der Siphonkopf muss so gestaltet sein, dass ein fehlerhaftes Aufbringen auf den Siphonbehälter, z.B. durch Verkanten, ausgeschlossen ist.

    Das Anstechen der Druckgaskapsel darf nur erfolgen, wenn die Kapsel in ihrer Lage fixiert ist, z.B. durch einen Kapselhalter.

    Beim Abnehmen des Siphonkopfes muss das im Siphon befindliche Gas gefahrlos entweichen können.

    Nach der Reinigung mit Heißwasser darf der Siphonkopf erst nach Erreichen der Umgebungstemperatur aufgeschraubt werden.

1.3 Maschinen und Geräte in der Speisenausgabe
1.3.1 Warmhaltegeräte (Warmhaltebecken/ Bainmarie, Wärmebrücken)
Gefährdung durch
  1. heiße Oberflächen und heißes Wasser
  2. Stoßen und Quetschen der Hände
  3. unbeabsichtigtes Wegrollen
Maßnahmen:
  1. Wärmebrücken müssen so angeordnet und gestaltet sein, dass ein Berühren von Heizelementen insbesondere beim Aufnehmen von Speisengedecken vermieden ist.
    Dies wird z.B. durch ausreichenden Abstand erreicht.

    Die Wasserablasseinrichtung von Warmhaltebecken muss gegen unbeabsichtigtes Öffnen gesichert sein, z.B. durch verdeckten Einbau, Klappgriff oder Drehgriff.

    An Warmhaltebecken muss der höchstzulässige Flüssigkeitsfüllstand des Beckens deutlich und dauerhaft angebracht sein und darf nicht überschritten werden.

  2. Durch die Bauweise muss sichergestellt sein, dass während des Verschiebens und Rangierens von Warmhaltebecken ein Anstoßen oder Quetschen der Hände vermieden wird.
    Dies kann z.B. durch Anordnung der Handgriffe an den Stirnseiten innerhalb des seitlichen Begrenzungsprofils erreicht werden.
  3. Fahrbare Warmhaltegeräte müssen mit Einrichtungen ausgerüstet sein, die ein selbsttätiges Wegrollen verhindern.
1.3.2 Bankettwagen
Gefährdung durch
  1. Gebläserad
  2. heiße Oberflächen
  3. Stoßen oder Quetschen der Hände
  4. unbeabsichtigtes Wegrollen
Maßnahmen:
  1. Der Zugriff zum laufenden Gebläserad muss verhindert sein, z.B. durch Verkleidung oder Verriegelung des Antriebes mit der Gerätetür.
  2. Heiße Oberflächen, z.B. Verkleidungen, die nicht unmittelbar für den Arbeitsfortgang erforderlich sind, müssen - soweit technisch möglich - vermieden sein.
    Siehe auch DIN EN 563 und DIN EN 13.202.

    An Bankettwagen muss durch konstruktive Gestaltung ein Berühren des Heizaggregates, insbesondere beim Beschicken und Entnehmen von Speisengedecken und Speisenbehältern, vermieden sein.

  3. Durch die Bauweise muss sichergestellt sein, dass während des Verschiebens und Rangierens von Bankettwagen ein Anstoßen oder Quetschen der Hände vermieden wird.
    Dies kann z.B. durch Anordnung der Handgriffe an den Stirnseiten innerhalb des seitlichen Begrenzungsprofils erreicht werden.
  4. Bankettwagen müssen mit Einrichtungen ausgerüstet sein, die ein selbsttätiges Wegrollen verhindern.
    Siehe auch DIN 18.867-5 "Großküchengeräte; Fahrbare Geräte; Teil 5: Bankettwagen beheizt".
1.3.3 Geschirrstapelgeräte (Tellerspender)
Gefährdung durch
  1. Quetschstellen zwischen Geschirr und Stapelöffnung
  2. unzureichende Standsicherheit und unbeabsichtigtes Wegrollen
  3. heiße Oberflächen an Heizelementen
Maßnahmen:
  1. Quetschstellen zwischen der Stapelöffnung und dem einzulagernden Geschirr (z.B. Teller, Schalen) müssen durch Einhalten eines Abstandes von mindestens 25 mm vermieden sein.
    Siehe auch DIN EN 349.
  2. Fahrbare Geschirrstapelgeräte müssen bei allen zu erwartenden Beanspruchungen ausreichend standsicher sein. Mindestens zwei Rollen müssen feststellbar sein.
    Siehe auch DIN 18.865-6 "Großküchengeräte; Ausgabeanlagen; Spender".
  3. Heizelemente von Geschirrstapelgeräten müssen so angeordnet und gestaltet sein, dass insbesondere beim Aufnehmen von Geschirr eine Verbrennungsgefahr vermieden ist.
1.3.4 Vorratsbehälter, Thermophore
Gefährdung durch heiße Flüssigkeiten beim Transport
Maßnahmen: Es muss sichergestellt sein, dass während des Transportes ein Austreten heißer Flüssigkeiten aus den Thermophoren vermieden ist, z.B. durch das Schließen mit einem dichtschließenden Deckel mit Verschluss.
1.4 Maschinen und Geräte in der Spülzone
1.4.1 Spülmaschinen
Gefährdung durch
  1. Quetsch- und Scherstellen an Transporteinrichtungen und Hubtüren
  2. heißes Wasser
  3. Reinigungsmittel
  4. Wrasen und Spülmitteldämpfe
Maßnahmen:
  1. Die Gefahrstellen an den Transpoinrichtungen und an Hubtüren müssen vermieden oder gesichert sein.
    Gefahrstellen an Transporteinrichtungen sind z.B. an Umlenkrollen, Spannrollen, Mitnehmern vorhanden.

    Siehe auch DIN EN 60.335-1 und DIN EN 60.335-2-58.

  2. Es muss sichergestellt sein, dass heißes - Wasser nicht strahlartig aus Öffnungen ~:. der Maschine austritt.
    Siehe auch DIN EN 60.335-1 und DIN EN 60.335-2-58.
  3. Reinigungsmittel müssen so zugeführt werden, dass eine Gefährdung vermieden wird.
    Dies kann erreicht werden, z.B. durch automatische Dosieranlagen oder Tabs.

    Bei der Dosierung der Reinigungsmittel müssen die vom Hersteller vorgegebenen und eingestellten Werte eingehalten werden.

  4. Ist an Geschirrspülmaschinen mit erhöhtem Auftreten von Schwaden zu rechnen, müssen diese an der Entstehungs- bzw. Austrittsstelle abgesaugt werden.
1.4.2 Putzmaschinen für Bestecke und Metallgeschirr
Gefährdung durch
  1. rotierende Trommel
  2. Ultraviolette Strahlung
Maßnahmen:
  1. Bei geschlossener Bauweise (Trommel in geschlossenem Gehäuse) muss der Deckel des Gehäuses mit dem Antrieb verriegelt sein.

    Bei offener Bauweise muss der Zugriff zu den Gefahrstellen verhindert oder die Gefahrstellen durch Schutzeinrichtungen gesichert sein, z.B. durch Schaltrahmen oder Schaltleisten vor dem gesamten Gefahrbereich.

  2. Wird zur Desinfektion ultraviolette Strahlung einInd zt, müssen die Strahler so angeobetrieben werden, dass die Aun d die Haut der Versicherten nicht geschädigt werden und eine gesundheitsgefährdende Einwirkung von Ozon ausgeschlossen ist.

    Der Einschaltzustand der Strahler muss eindeutig erkennbar sein.

    Verkleidungen der Strahler, die ohne Werkzeug geöffnet werden können, müssen durch Verriegelung gesichert sein.


.

Vorschriften und Regeln Anhang 2


Nachstehend sind die insbesondere zu beachtenden einschlägigen Vorschriften und Regeln zusammengestellt; siehe auch Vorbemerkung.

1 Gesetze, Verordnungen, Europäische Richtlinien

Arbeitsschutzgesetz ( ArbSchG),

Arbeitssicherheitsgesetz ( ASiG),

Geräte- und Produktsicherheitsgesetz ( GPSG),

Jugendarbeitsschutzgesetz ( JArbSchG),

Gaststättengesetz ( GaststättenG),

Verordnung über Lebensmittelhygiene

Gasverbrauchseinrichtungsverordnung ( 7. GPSGV),

Die Siebte Verordnung zum Geräte- und Produktsicherheitsgesetz ist die nationale Umsetzung der EG-Richtlinie für Gasverbrauchseinrichtungen 90/396/EWG

Maschinenverordnung ( 9. GPSGV),

Die Neunte Verordnung zum Geräte- und Produktsicherheitsgesetz ist die nationale Umsetzung der EG-Maschinenrichtlinie 98/37/EG Arbeitsstättenverordnung ( ArbStättV) mit zugehörigen Arbeitsstätten-Richtlinien (ASR),

Bauverordnungen der einzelnen Bundesländer,

Betriebssicherheitsverordnung ( BetriebsSichV), mit zugehörigen Technischen Regeln für Betriebssicherheit, insbesondere

TRBS 1203 "Befähigte Personen",

Gefahrstoffverordnung (GefStoffV) mit zugehörigen Technischen Regeln für Gefahrstoffe (TRGS), insbesondere

TRGS 401 "Gefährdung durch Hautkontakt",

TRGS 900 "Arbeitsplatzgrenzwerte",

Lastenhandhabungsverordnung ( LasthandhabV),

PSA-Benutzungsverordnung ( PSA-BV).

2 Berufsgenossenschaftliche Vorschriften, Regeln und Informationen für Sicherheit und Gesundheit bei der Arbeit

Unfallverhütungsvorschriften

Grundsätze der Prävention (BGV A1),

Betriebsärzte und Fachkräfte für Arbeitssicherheit (BGV A2),

Arbeitsmedizinische Vorsorge" (BGV A4),

Elektrische Anlagen und Betriebsmittel (BGV A3),

Sicherheits- und Gesundheitsschutzkennzeichnung am Arbeitsplatz (BGV A8),

Leitern und Tritte (BGV D36).

BG-Regeln

Arbeiten in Gaststätten (BGR 110),

Arbeiten in Backbetrieben (BGR 112),

Natürliche und künstliche Beleuchtung von Arbeitsstätten - Teil 1: Handlungshilfe für den Unternehmer (BGR 131-1),

Natürliche und künstliche Beletung von Arbeitsstätten Teil 2: Leitfaden zur Planung und zum Betrieb der Beleuchtung (BGR 131-2),

Ausrüstung von Arbeitsstätten mit Feuerlöschern (BGR 133),

Einsatz von Feuerlöschanlagen mit sauerstoffverdrängenden Gasen (BGR 134),

Einsatz von Personen-Notsignal-Anlagen (BGR 139),

Fußböden in Arbeitsräumen und Arbeitsbereichen mit Rutschgefahr (BGR 181),

Benutzung von persönlichen Schutzausrüstungen (BGR 189 bis 198),

Optische Sicherheitsleitsysteme (BGR 216),

Kraftbetätigte Fenster, Türen und Tore (BGR 232),

Lagereinrichtungen und -geräte (BGR 234).

BG-Informationen

Treppen (BGI 561),

BGIA-Handbuch: Geprüfte Bodenbeläge-Positivliste (Arbeitsblatt 56 0210).

Arbeitssicherheits-Informationen (ASI)

Bezugsquelle: Berufsgenossenschaft Nahrungsmittel und Gaststätten, Dynamostraße 7-11, 68.165 Mannheim.

Alkohol im Betrieb und auf dem Arbeitsweg (ASI 0.07),

Arbeitsschutzausschuss (ASI 0.50),

Fettbackgeräte und Fritteusen (ASI 2.15.1),

Speiseeisbereiter (ASI 2.15.2),

Brot- und Aufschnittschneidemaschinen mit Rundmesser (ASI 2.18.1),

Sicherheitsbeleuchtung in Arbeitsstätten (ASI 3.50),

Unfallsichere Gestaltung von Fußböden (ASI 4.40),

Hygiene in Küchen (ASI 8.20),

Brandschutz im Betrieb (ASI 9.30),

Handlungsanleitung Betriebliche Gefährdungs- und Risikobeurteilung (ASI 10.0),

Gefährdungsbeurteilung für die Gastronomie (ASI 10.12).

3 Normen

Bezugsquelle: Beuth Verlag GmbH, Burggrafenstraße 6,10.787 Berlin bzw. VDE-Verlag GmbH, Postfach 12 23 05, 10.591 Berlin

DIN EN 3-1 Tragbare Feuerlöscher; Teil 1: Benennung, Funktionsdauer,
Prüfobjekte der Brandklassen a und B,
DIN EN 294 Sicherheit von Maschinen; Sicherheitsabstände gegen das Erreichen von Gefahrstellen mit den oberen Gliedmaßen,
DIN EN 349 Sicherheit von Maschinen; Mindestabstände zur Vermeidung des Quetschens von Körperteilen,
DIN EN 454 Nahrungsmittelmaschinen; Planetenrühr- und -knetmaschinen; Sicherheits- und Hygieneanforderungen,
DIN EN 563 Sicherheit von Maschinen; Temperaturen berührbarer Oberflächen - Ergonomische Daten zur Festlegung von Temperaturgrenzwerten für heiße Oberflächen,
DIN EN 574 Sicherheit von Maschinen; Zweihandschaltungen; Funktionelle Aspekte; Gestaltungsleitsätze,
DIN EN 614-1 Sicherheit von Maschinen; Ergonomische Gestaltungsgrundsätze; Teil 1: Begriffe und allgemeine Leitsätze,
DIN EN 1672-2 Nahrungsmittelmaschinen; Allgemeine Gestaltungsleitsätze; Teil 2: Hygieneanforderungen,
DIN EN 1678 Nahrungsmittelmaschinen; Gemüseschneidmaschinen; Sicherheits- und Hygieneanforderungen,
DIN EN 1974 Nahrungsmittelmaschinen; Aufschnittschneidemaschinen; Sicherheits- und Hygieneanforderungen,
DIN 5034-1 Tageslicht in Innenräumen; Teil 1: Allgemeine Anforderungen,
DIN 5046 Haken für Fleisch und sonstige Lebensmittel; S-Haken,
DIN 10.506 Außer-Haus-Verpflegung; Betriebsstätten,
DIN EN 12.853 Nahrungsmittelmaschinen; Handmixer und Handrührer; Sicherheits- und Hygieneanforderungen,
DIN 13.157 Erste Hilfe Material; Verbandkasten C,
DIN 13.169 Erste Hilfe Material; Verbandkasten E,
DIN V 14.406-5 Tragbare Feuerlöscher; Teil 5: Prüfung tragbarer Feuerlöscher nach DIN EN 3 auf Eignung zum Löschen von Speiseöl- und Fettbränden,
DIN 14.497 Kleinlöschanlagen; Anforderungen, Prüfung,
DIN 18.856 Großküchengeräte; Fritteusen; Anforderungen und Prüfung,
DIN 18.865-6 Großküchengeräte; Ausgabeanlagen; Spender,
DIN 18.867-5 Großküchengeräte; Fahrbare Geräte; Teil 5: Bankettwagen beheizt,
DIN 18.869-7 Großküchengeräte; Einrichtungen zur Be- und Entlüftung von gewerblichen Küchen; Teil 7: Anlagen zur Aerosol- und Aerosolatnachbehandlung, Anforderungen und Prüfung
DIN 32.615 Sahne- und Sodasiphon mit Kapsel; Begriffe, sicherheitstechnische Anforderungen und Prüfung,
DIN 33.403-5 Klima am Arbeitsplatz und in der Arbeitsumgebung; Teil 5: Ergonomische Gestaltung von Kältearbeitsplätzen,
DIN EN 13.202 Ergonomie der thermischen Umwelt; Temperaturen berührbarer heißer Oberflächen; Leitfaden zur Festlegung der Temperaturgrenzwerte von heißen Oberflächen in Produktnormen unter Anwendung von EN 563
DIN EN 60.204-1 Sicherheit von Maschinen; Elektrische Ausrüstung von Maschinen; Teil 1: Allgemeine Anforderungen,
DIN EN 60.335-1 Sicherheit elektrischer Geräte für den Hausgebrauch und ähnliche Zwecke; Teil 1: Allgemeine Anforderungen,
DIN EN 60.335-2-25 Sicherheit elektrischer Geräte für den Hausgebrauch und ähnliche Zwecke; Teil 2: Besondere Anforderungen für Mikrowellenkochgeräte,
DIN EN 60.335-2-36 Sicherheit elektrischer Geräte für den Hausgebrauch und ähnliche Zwecke; Teil 2: Besondere Anforderungen für elektrische Herde, Brat- und Backöfen und Kochplatten für den gewerblichen Gebrauch,
DIN EN 60.335-2-37 Sicherheit elektrischer Geräte für den Hausgebrauch und ähnliche Zwecke; Teil 2: Besondere Anforderungen für elektrische Fritteusen für den gewerblichen Gebrauch,
DIN EN 60.335-2-38 Sicherheit elektrischer Geräte für den Hausgebrauch und ähnliche Zwecke; Teil 2: Besondere Anforderungen für elektrische Bratplatten und Kontaktgrills für den gewerblichen Gebrauch,
DIN EN 60.335-2-39 Sicherheit elektrischer Geräte für den Hausgebrauch und ähnliche Zwecke; Teil 2: Besondere Anforderungen für elektrische Mehrzweck-Koch- und -Bratpfannen für den gewerblichen Gebrauch,
DIN EN 60.335-2-42 Sicherheit elektrischer Geräte für den Hausgebrauch und ähnliche Zwecke; Teil 2: Besondere Anforderungen für elektrische Heißumluftöfen, Dämpfgeräte und Heißluftdämpfer für den gewerblichen Gebrauch,
DIN EN 60.335-2-47 Sicherheit elektrischer Geräte für den Hausgebrauch und ähnliche Zwecke; Teil 2: Besondere Anforderungen für elektrische Kochkessel für den gewerblichen Gebrauch,
DIN EN 60.335-2-48 Sicherheit elektrischer Geräte für den Hausgebrauch und ähnliche Zwecke; Teil 2: Besondere Anforderungen für elektrische Strahlungsgrillgeräte und Toaster für den gewerblichen Gebrauch,
DIN EN 60.335-2-49 Sicherheit elektrischer Geräte für den Hausgebrauch und ähnliche Zwecke; Teil 2: Besondere Anforderungen für elektrische Wärmeschränke für den gewerblichen Gebrauch,
DIN EN 60.335-2-50 Sicherheit elektrischer Geräte für den Hausgebrauch und ähnliche Zwecke; Teil 2: Besondere Anforderungen für elektrische Warmhaltegeräte für den gewerblichen Gebrauch,
DIN EN 60.335-2-58 Sicherheit elektrischer Geräte für den Hausgebrauch und ähnliche Zwecke; Teil 2: Besondere Anforderungen für elektrische Spülmaschinen für den gewerblichen Gebrauch,
DIN EN 60.529 Schutzarten durch Gehäuse (IP Code),
DIN EN 61.140 (VDE 0140-1) Schutz gegen elektrischen Schlag; Gemeinsame Anforderungen für Anlagen und Betriebsmittel,
DIN VDE 0100 Bestimmungen für das Errichten von Starkstromanlagen mit Nennspannungen bis 1000 V,
DIN VDE 0100-737 Errichten von Niederspannungsanlagen; Feuchte und nasse Bereiche und Räume und Anlagen im Freien.

4 DVGW Arbeitsblätter

Bezugsquelle: Wirtschafts- und Verlagsgesellschaft Gas und Wasser mbH, Josef-Wirmer-Straße 1-3, 53.123 Bonn.

DVGW G 634 Installation von Gasgeräten in gewerblichen Küchen in Gebäuden - Besondere Anforderungen an Verbrennungsluftversorgung und Abgasführung.

5 VDI-Richtlinien

Bezugsquelle: Beuth Verlag GmbH, Burggrafenstraße 6, 10.787 Berlin.

VDI 2052 Raumlufttechnische Anlagen in Küchen.

6 Weitere Informationen

Bezugsquelle: Deutscher Hotel- und Gaststättenverband e.V Am Weidendamm 1 A, 10.117 Berlin

Die Leitlinie für eine gute Hygienepraxis in der Gastronomie.


ENDE

umwelt-online - Demo-Version


(Stand: 09.12.2022)

Alle vollständigen Texte in der aktuellen Fassung im Jahresabonnement
Nutzungsgebühr: ab 105.- € netto

(derzeit ca. 7200 Titel s.Übersicht - keine Unterteilung in Fachbereiche)

Preise & Bestellung

Die Zugangskennung wird kurzfristig übermittelt

? Fragen ?
Abonnentenzugang/Volltextversion