umwelt-online: Leitlinie ETAG Nr. 006 Mechanisch befestigte Dachabdichtungssysteme (3)

zurück

Bei dem größten Unterdruck, kurz bevor der Prüfkörper versagt, wird die aktuelle Kraft aufgezeichnet. Sobald die Anfangskraft von 220 N auf 20 N abgefallen ist, gilt: Das System hat versagt.

Der Korrekturfaktor wird bezeichnet als:

Ca = gemessene Kraft/theoretische Kraft an derselben Stelle
Cd = statistischer Faktor, der die Abnahme der Versagenswahrscheinlichkeit eines Befestigungselementes aufgrund der Verringerung der Anzahl von Befestigungselementen im Prüfsystem berücksichtigt. Die Werte von Cd in Abhängigkeit von der Abmessung des gewählten Prüfsystems sind nachstehend aufgeführt:
für (2 x a + 200 mm) x (4 x b + 200 mm)   Cd= 0,85
für (3 x a + 200 mm) x (3 x b + 200 mm) und
(2 x a + 200 mm) x (5 x b +200 mm) und
(2 x a + 200 mm) x (6 x b + 200 mm) usw.
Cd= 0,90
für (3 x a + 200 mm) x (4 x b + 200 mm)   Cd= 0,95
für größere Abmessungen   Cd = 1,0

Die Abmessungen (2 x a + 200 mm) x (3 x b + 200 mm) sind nicht zulässig.

Die Bemessungslast pro Befestigungselement, WBem wird nach folgender Gleichung berechnet:

WBEM´ = Wkorr / γm

Dabei ist γm der Faktor zur Berücksichtigung von Materialeinflüssen und mangelhafter Verlegequalität. Er ist mit 1,5 anzusetzen.

5.1.5 Schallschutz (ER 5)

Nicht relevant.

5.1.6 Energieeinsparung und Wärmeschutz (ER 6)

Nicht relevant.

5.1.7 Aspekte der Dauerhaftigkeit, Gebrauchstauglichkeit und Identifizierung

Nicht relevant,

5.2 Komponente/Dachabdichtungsbahn

Wenn die Dachabdichtungsbahn bereits eine CE-Kennzeichnung trägt und nach den nachstehend genannten Prüfverfahren geprüft wurde, ist es nicht erforderlich, diese Versuche zu wiederholen. Jedoch ist eine Beurteilung nach Kapitel 6 dieser Leitlinie dennoch erforderlich, um zu gewährleisten, dass die Dachabdichtungsbahn für den vorgesehenen Verwendungszweck brauchbar ist. Trägt die Dachabdichtungsbahn keine CE-Kennzeichnung, so sind die in diesem Kapitel angegebenen Versuche durchzuführen, und es ist eine Beurteilung nach den in Kapitel 6 aufgeführten Vorschriften durchzuführen.

Die nachstehend mit *) gekennzeichneten Prüfverfahren werden für Dauerhaftigkeitszwecke nach entsprechender Alterung, wie in 5.2.7 beschrieben, wiederholt.

5.2.1 Mechanische Festigkeit und Standsicherheit (ER 1)

Nicht relevant.

5.2.2 Brandschutz (ER 2)

5.2.2.1 Prüfung des Brandverhaltens

Die Prüfung der Dachabdichtungsbahn erfolgt nach den von CEN entwickelten Prüfverfahren für die Euroklassen A1- F, die in prEN 13501-1 - Klassifizierung aufgrund von Versuchsdaten aus Prüfungen des Brandverhaltens - näher festgelegt sind.

5.2.3 Hygiene, Gesundheit und Umweltschutz (ER 3)

5.2.3.1 Prüfung des Schälwiderstandes der Fügenähte (nur für einlagige Dachabdichtungen)*)

Die Prüfung des Schälwiderstandes der Fügenähte der Dachabdichtungsbahn erfolgt gemäß

prEN 12316-1 und prEN 12316-2.

5.2.3.2 Prüfung des Scherwiderstandes der Fügenähte (nur für einlagige Dachabdichtungen) *)

Die Prüfung des Scherwiderstandes der Fügenähte der Dachabdichtungsbahn erfolgt gemäß

prEN 12317-1 und prEN 12317-2.

5.2.3.3 Prüfung des Weiterreißwiderstandes *)

Die Prüfung des Weiterreißwiderstandes der Dachabdichtungsbahn erfolgt gemäß

prEN 12310-1 und prEN 12112-2.

5.2.3.4 Prüfung des Widerstandes gegen Kaltbiegen/Kaltfalzen *)

Die Prüfung des Widerstandes gegen Kaltbiegen/Kaltfalzen erfolgt gemäß

prEN 1109 bei Bitumendachabdichtungsbahnen und prEN 495-5 bei Kunststoff- und Elastomerdachabdichtungsbahnen.

5.2.3.5 Prüfung der Wasserdichtheit

Die Prüfung der Wasserdichtheit der Dachabdichtungsbahn erfolgt gemäß

prEN 1928.

5.2.3.6 Bestimmung der Wasserdampfdurchlässigkeit

Angabe eines Wertes oder Prüfung der Dachabdichtungsbahn auf Wasserdampfdurchlässigkeit gemäß

prEN 1931.

5.2.3.7 Bestimmung des Zug-Dehnungsverhaltens

Die Prüfung des Zug-Dehnungsverhaltens der Dachabdichtungsbahn erfolgt gemäß

prEN 12311-1 und prEN 12311-2.

5.2.3.8 Prüfung des Widerstandes gegen statische und stoßartige Beanspruchung

Die Prüfung des Widerstandes gegen statische und stoßartige Beanspruchung erfolgt gemäß

prEN 12730:1997-01 in Bezug auf statische Beanspruchung und prEN 12691:1998-01 in Bezug auf stoßartige Beanspruchung.

5.2.4 Nutzungssicherheit (ER 4)

5.2.4.1 Rutschhemmung

Der Reibungskoeffizient wird nach der schwedischen Norm SS 92 35 15, (2) - Verfahren zur Bestimmung der Reibungskoeffizienten verschiedener Werkstoffe im Hinblick auf Rutschen - bestimmt. Dachoberflächen aus bituminösen Produkten gelten als die Anforderungen erfüllend, sodass der Versuch bei diesem Werkstoff nicht durchgeführt wird.

5.2.5 Schallschutz (ER 5)

Nicht relevant.

5.2.6 Energieeinsparung und Wärmeschutz (ER 6)

Nicht relevant.

5.2.7 Aspekte der Dauerhaftigkeit, Gebrauchstauglichkeit und Identifizierung

5.2.7.0 Allgemeines

Dieser Abschnitt enthält eine Zusammenstellung der Alterungsversuche speziell für die Dachabdichtungsbahn als Bestandteil eines MEFAWAME-Systems.

Die zu prüfenden und zu beurteilenden Eigenschaften sowie die entsprechenden Alterungsmedien sind in Tabelle 5 aufgeführt.

Tabelle 5: Zu prüfende und zu beurteilende Eigenschaften und zugehörige Alterungsmedien

Eigenschaften Alterungsmedien
Wärme UV Wasser Ozon
Schälwiderstand der Fügenähte siehe 5.2.7.1 siehe 6.2.7.1 - siehe 5.2.7.1**) siehe 6.2.7.1**) -
Scherwiderstand der Fügenähte siehe 5.2.7.2 siehe 6.2.7.2 - - -
Weiterreißwiderstand siehe 5.2.7.3*) siehe 6.2.7.3*) - - -
Widerstand gegen Kaltbiegen/Kaltfalzen siehe 5.2.7.4 siehe 6.2.7.4 siehe 5.2.7.4
siehe 6.2.7.4
- siehe 5.2.7.4
siehe 6.2.7.4
*) nur für Werkstoffe ohne Trägereinlage
**) nur für geklebte Fügenähte

5.2.7.1 Prüfung des Schälwiderstandes der Fügenähte nach Langzeitbeanspruchung durch Wärme und Wasser

Die Dachabdichtungsbahn wird konditioniert:

Nach jeder Konditionierung wird der Schälwiderstand der Fügenähte der Dachabdichtungsbahn geprüft. Der Versuch wird gemäß Kapitel 5.2.3.1 dieser Leitlinie durchgeführt.

5.2.7.2 Prüfung des Scherwiderstandes der Fügenähte nach Langzeitbeanspruchung durch Wärme

Die Dachabdichtungsbahn wird konditioniert:

Nach jeder Konditionierung wird der Scherwiderstand der Fügenähte der Dachabdichtungsbahn geprüft, Der Versuch wird gemäß Kapitel 5.2.3.2 dieser Leitlinie durchgeführt.

5.2.7.3 Prüfung des Weiterreißwiderstandes nach Langzeitbeanspruchung durch Wärme

Die Dachabdichtungsbahn wird konditioniert:

Nach der Konditionierung wird der Weiterreißwiderstand der Dachabdichtungsbahn geprüft. Der Versuch wird gemäß Kapitel 5.2.3.3 dieser Leitlinie durchgeführt.

5.2.7.4 Prüfung des Widerstandes gegen Kaltbiegen 1 Kaltfalzen nach Langzeitbeanspruchung durch Wärme, UV und Ozon

Die Dachabdichtungsbahn wird konditioniert:

Nach jeder Konditionierung wird die Dachabdichtungsbahn auf ihren Widerstand gegen Kaltbiegen/Kaltfalzen geprüft. Der Versuch wird gemäß Kapitel 5.2.3.4 dieser Leitlinie durchgeführt.

*) Der UV-Versuch wird nicht bei Werkstoffen mit mineralischem Oberflächenabschluss mit guter Kornhaftung durchgeführt (gemäß prEN 12039).

**) Der Ozonversuch gilt nur für Elastomerdachabdichtungsbalmen.

5.2.7.5 Bestimmung der Maßhaltigkeit Die Prüfung der Dachabdichtungsbahn auf ihre Maßhaltigkeit erfolgt gemäß

prEN 1107.

Die Prüfung wird nur bei Werkstoffen durchgeführt, die in der oben genannten Norm aufgeführt sind.

5.3 Komponente/Mechanische Befestigungselemente

5.3.1 Mechanische Festigkeit und Standsicherheit (ER 1)

Nicht relevant.

5.3.2 Brandschutz (ER 2)

Nicht relevant.

5.3.3 Hygiene, Gesundheit und Umweltschutz (ER 3)

Nicht relevant.

5.3.4 Nutzungssicherheit (ER 4)

5.3.4.1 Zugversuch (zentrische Beanspruchung)

Mit diesem Prüfverfahren wird das Versagen eines Befestigungselements unter statischer (zentrischer) Zugbeanspruchung ermittelt, und zwar unabhängig von der Versagensart.

Prüfeinrichtung

Die Prüfeinrichtung besteht aus

Prüfkörper

Die Teile aus Kunststoff (Halteteller, Schaft) werden zwei Wochen lang im Prüflabor bei 23 ± 2°C und 50 ± 5 % rel. Feuchte gelagert.

Die Befestigungselemente sind nach den Einbauanweisungen des Herstellers in die vorgesehene Unterkonstruktion einzubauen.

Angaben zu den verschiedenen Unterkonstruktionen sind Kapitel 5.1.4.1 dieser Leitlinie zu entnehmen.

Der Versuch wird bei 23 ± 2 °C, 50 ± 5 % rel. Feuchte durchgeführt.

Prüfverfahren

Befestigungselement und Unterkonstruktion werden in der Prüfmaschine so befestigt, dass ein Einfluss von Biegung so weit als möglich vermieden wird. Die Maschine wird mit einer Geschwindigkeit von 5 - 10 mm/min betrieben.

Es werden zehn Zugversuche als Befestigungselementen einschließlich Unterkonstruktion durchgeführt.

Darstellung der Ergebnisse

Die Versagenslast des Befestigungselementes wird für jeden Versuch ermittelt. Es wird der Mittelwert errechnet und die Versagensart notiert.

Bild 6: Prinzip des Zugversuches

5.3.4.2 Prüfung des Widerstandes gegen Rückdrehen

Dieser Abschnitt legt die Bedingungen für die Prüfung des Widerstandes gegen Rückdrehen von mechanischen Befestigungselementen fest. Der Rückdrehversuch betrifft schraubenartige Befestigungselemente (einschließlich Halteteller), die dazu dienen, die auf einer Wärmedämmung verlegte Dachabdichtungsbahn auf verzinktem Stahlblech zu befestigen.

Bei Bausätzen, bei denen das Rückdrehverhalten des Befestigungselementes aufgrund vorliegender Versuchserfahrungen und/oder praktischer Erfahrungen bekannt ist, ist der Versuch nicht erforderlich.

Der Versuch wird mit dem Befestigungselement in Verbindung mit der Dachabdichtungsbahn durchgeführt. Wenn mehr als eine Art von Dachabdichtungsbahn verwendet werden kann, sollte die Wahl der Dachabdichtungsbahn zwischen Zulassungsstelle und Antragsteller abgestimmt werden.

Der Versuch kann auch dazu verwendet werden, den Einfluss von Änderungen bei der Ausführung des Befestigungselementes zu beurteilen, z.B. der Veränderung des Bohrlochdurchmessers, des Gewindemaßes oder der Oberflächenbehandlung.

Dieser Versuch kann auch mit anderen Unterkonstruktionen als den unten vorgesehenen durchgeführt werden.

Bei dem Versuch wird der Prüfkörper wechselnden Lasten ausgesetzt, die die Einwirkung von durch Wind verursachten Wellenbewegungen der Dachabdichtungsbahn simulieren, um das Rückdrehverhalten zu beurteilen.

Versuchsausrüstung:

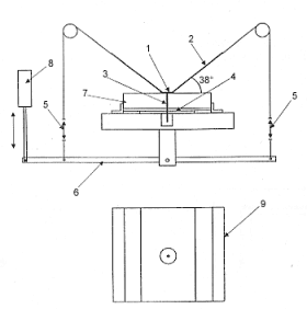
Versuchsaufbau wie in Bild 7 dargestellt.

Abmessungen: 300 mm x 250 mm (300 mm senkrecht zur Herstellungsrichtung)

Bild 7: Versuchsaufbau für die Prüfung auf Rückdrehen

Versuchsaufbau (Bezeichnungen):

1. Halteteller 2. Dachabdichtungsbahn
3. Befestigungselement 4. verzinktes Stahlblech
5. Belastungsmechanismus 6. Hebel
7. Wärmedämmplatte 8. Prüfkolben mit wechselnder Lasteinleitungsrichtung
9. Prüfkörper (Draufsicht)

Versuchsprinzip:

Ein Prüfkolben mit wechselnder Lasteinleitungsrichtung bewegt einen Hebel, der um eine starre Achse schwenkt.

Dieser Hebel überträgt wechselnde Zuglasten auf die Dachabdichtungsbahn (über den Belastungsmechanismus und Seile), die dann diese Lasten an den Prüfkörper (Befestigungselement plus Halteteller) weiterleitet.

Ein schräger Zugwinkel von 380 wird über entsprechend angeordnete Rollen erzeugt.

Der Belastungsmechanismus begrenzt die Kraft, der der Prüfkörper ausgesetzt wird.

Frequenz: 200 ± 5 Zyklen pro Minute.

Anzahl der Zyklen: 900. Der Versuch kann beendet werden, wenn es zu einem Rückdrehen gekommen ist.

Ausgangseinstellungen

Verfahren

Das Stahlblech wird in das entsprechende Gehäuse gelegt, dann wird die Wärmedämmprobe und die Probe der Dachabdichtungsbahn mittig über dem Stahlblech angeordnet.

Das Befestigungselement wird mit einem Elektroschrauber in der Mitte der Prüfeinrichtung eingebaut. Das Befestigungselement soll dabei nicht vollständig festgezogen werden. Mit einem Handschraubendreher wird das Befestigungselement festgezogen, bis der Halteteller bündig mit der Oberfläche der Dachabdichtungsbahn abschließt (+ 0, -1 mm). Ist das Befestigungselement mit einem länglichen Halteteller ausgestattet, so muss die Längsachse senkrecht zur Richtung der Bewegung angeordnet sein.

Mit einem feinen Filzstift werden der Kopf des Befestigungselementes, der Halteteller und die Dachabdichtungsbahn markiert, um die relative Bewegung des Befestigungselementkopfes (möglicherweise auch des Haltetellers) zur Dachabdichtungsbahn zu überwachen.

Der Prüfkörper wird symmetrisch auf das Blech geklemmt und die Versuchsapparatur auf 0 gestellt (0,1 kN auf jeder Seite).

Beginn der abwechselnden (zyklischen) Belastung.

Die Zahl der Zyklen nach Drehung des Befestigungselementkopfes d. h. nach 1/4 und nach 1/2 Drehung, ist zu notieren.

Der Versuch ist in gleicher Weise an neun weiteren Prüfkörpern durchzuführen.

5.3.4.3 Mechanische Festigkeit / Sprödigkeit von Befestigungselementen aus Kunststoff

Dieses Verfahren dient zur Prüfung des Widerstandes gegen stoßartige Beanspruchung sowie zur Prüfung der Sprödigkeit von Kunststoffbefestigungselementen vor und nach Alterung.

Der obere Rand des Haltetellers wird durch ein in einem Winkel von 450 herabfallendes zylindrisches Gewicht getroffen. Der Winkel, unter dem die stoßartige Beanspruchung erfolgt, wird durch Anordnung des Befestigungselementes in einer speziellen Halterung erzeugt.

Die Prüfung der mechanischen Festigkeit des Haltetellers erfolgt nach

prEN 12691:1998-09 - Widerstand in Bezug auf stoßartige Beanspruchung mit folgenden Ergänzungen:

Bild 8: Prinzip der Halterung des Befestigungselementes

5.3.5 Schallschutz (ER 5)

Nicht relevant.

5.3.6 Energieeinsparung und Wärmeschutz (ER 6)

Nicht relevant.

5.3.7 Aspekte der Dauerhaftigkeit, Gebrauchstauglichkeit und Identifizierung

5.3.7.1 Prüfling der Korrosionsbeständigkeit von Befestigungselementen aus Metall

Das in diesem Kapitel beschriebene Prüfverfahren ist an Befestigungselementen mit Metallteilen durchzuführen, es sei denn, diese bestehen aus Werkstoffen, die nachweislich korrosionsbeständig sind. Alle Befestigungselemente mit Metallteilen, die nicht aus austenitischem nichtrostendem Stahl mit den Werkstoffnummem 1.4301 oder 1.4401 gemäß EN 10088 bestehen, sind nach diesem Verfahren zu prüfen.

Die Prüfung des Korrosionsverhaltens von Befestigungselementen erfolgt nach ISO 6988:1995 - Prüfung in Kondenswasser-Wechselklima mit schwefeldioxidhaltiger Atmosphäre - an insgesamt zehn Befestigungselementen.

Die Befestigungselemente sind praxisgerecht nach den Angaben des Herstellers in einen Dachsystemaufbau einzubauen. Die Befestigungselemente werden dabei entsprechend der Verwendung des Befestigungselementes in eine Unterkonstruktion mit einer Wärmedämmung aus expandiertem Perlit von mindestens 150 kg/m3 Dichte und einer Dicke, die dem maximalen, Klemmbereich des Befestigungselementes entspricht, eingebaut, es sei denn, die Wärmedämmung ist Teil des Bausatzes. In diesem Fall wird die tatsächlich vorgesehene Wärmedämmung verwendet. Hat der Klemmbereich keinen Einfluss auf das Korrosionsverhalten der Befestigungselemente, so muss die Dicke der Wärmedämmung 100 mm betragen.

Es handelt sich hierbei nicht um ein Muster der Dachkonstruktion, sondern lediglich um einen Versuchsaufbau.. Die Länge des Befestigungselementes, die durch die Unterkonstruktion hindurchgeht oder in diese eingebettet ist, ist bei jedem Befestigungselement individuell zu messen und zu notieren.

Die Befestigungselemente werden anschließend aus dem Dachsystemaufbau entfernt, ohne weitere Beschädigungen an der Beschichtung zu verursachen. Dies kann dadurch erleichtert werden, dass man entweder Unterkonstruktion und Wärmedämmung durchschneidet oder durch Herausschrauben sicherstellt, dass die Befestigungselemente und die Halteteller als eine Einheit entfernt werden (d. h., das Schraubengewinde dreht sich nicht im Halteteller).

Die Befestigungselemente werden 15 Beanspruchungszyklen einer wechselnden feuchten Atmosphäre unterworfen, die 2 Liter Schwefeldioxid einer Konzentration von SFW 2,0 S gemäß DIN 50018:1997 enthält.

Die Befestigungselemente sind mittig in der Prüfkammer anzuordnen, wobei sie in vertikaler Richtung mit einem Mindestabstand von 20 mm zueinander aufgehängt werden. Es sind bei jedem Versuch nur Befestigungselemente desselben Typs zu verwenden, um zu verhindern, dass sich Befestigungselemente mit unterschiedlichen Korrosionsschutzsystemen gegenseitig beeinflussen können. Halteteller aus Metall (bei punktförmigen Befestigungen), Metallprofilschienen (bei Linienbefestigungen) und die Befestiger selbst sind getrennt voneinander in der Prüfkammer anzuordnen. Um die geringe Oberfläche der Befestigungselemente auszugleichen, ist eine Platte aus verzinktem Stahl in der Kammer anzuordnen, um die Mindest-Prüffläche von 0,5 ± 0,1 m2zu erreichen.

Die Befestigungselemente werden einer Beanspruchung durch Kondenswasser ausgesetzt, dem 2 Liter Schwefeldioxid (SO2) beigefügt wurden. Die 2 Liter Schwefeldioxid (SO2) werden sofort nach Schließen der Prüfkammer eingefüllt. Dann wird die Beheizung eingeschaltet, um eine Versuchstemperatur von 40 ± 3 °C in 95+ 5 Minuten zu erreichen. Ein Zyklus umfasst zwei Versuchsphasen und dauert insgesamt 24 Stunden. Während der ersten Versuchsphase, die insgesamt 8 Stunden dauert (nach Einschalten der Beheizung), werden die Befestigungselemente bei 40 ± 3 °C dem

Kondenswasser und dem Schwefeldioxid ausgesetzt. Die zweite Versuchsphase beginnt, wenn die Beheizung ausgeschaltet ist und die Prüfkammer geöffnet oder belüftet wird. Die Befestigungselemente sind zum Trocknen über einen Zeitraum von 16 Stunden in der Prüfkammer zu belassen. Nach der zweiten Versuchsphase wird der unten in der Prüfkammer befindliche Behälter geleert, ggf. gereinigt und mit frischem destilliertem oder entionisiertem Wasser gefüllt. Die Prüfkammer wird geschlossen und das Schwefeldioxid eingefüllt. Sobald die Beheizung eingeschaltet ist, beginnt ein neuer Zyklus.

Nach Ende der 15 Zyklen werden die Befestigungselemente aus der Prüfkammer entfernt und auf Anzeichen von Oberflächenkorrosion (Rostbildung) untersucht. Auch Anzeichen von Korrosion, die unter der Korrosionsschutzschicht aufgetreten ist, sind zu erfassen. Wenn ersichtlich ist, dass die Anforderungen von Kapitel 6.3.7.1 vor Beendigung der 15 Zyklen nicht erreicht werden können, gilt das Ergebnis als nicht zufriedenstellend und der Versuch kann abgebrochen werden,

Der Kopf und der durchgeschraubte Teil der Befestigungselemente (Metall), der in der Unterkonstruktion (Beton) verankerte Teil, die umlaufende Randzone an den Außenkanten der Halteteller und der Metallprofilschienen werden bei der Bestimmung der Oberflächenkorrosion nicht betrachtet. Es erfolgt eine visuelle Bewertung. In Grenzfällen ist die Bewertung von drei Personen unabhängig voneinander vorzunehmen.

5.3.7.2 Prüfung der Älterungsbeständigkeit von Befestigungselementen aus Kunststoff

Befestigungselemente aus Kunststoff werden so verwendet, dass es nicht zu einer Beanspruchung durch UV und Wasser kommt.

Befestigungselemente aus Kunststoff werden wie folgt geprüft:

5.4 Komponente/Wärmedämmung

Trägt die Wärmedämmung bereits eine CE-Kennzeichnung und ist sie gemäß den nachstehend genannten Prüfverfahren geprüft, ist eine Wiederholung der Versuche nicht erforderlich. Die Beurteilung muss jedoch nach Kapitel 6 dieser Leitlinie erfolgen, um sicherzustellen, dass die Wärmedämmung für den vorgesehenen Verwendungszweck brauchbar ist, Trägt die Wärmedämmung keine (CE-Kennzeichnung, so sind die in diesem Kapitel angegebenen Versuche und eine Beurteilung nach den Bestimmungen von Kapitel 6 durchzuführen.

5.4.1 Mechanische Festigkeit und Standsicherheit (ER 1)

Nicht relevant.

5.4.2 Brandschutz (ER 2)

5.4.2.1 Prüfung des Brandverhaltens

Die Prüfung der Wärmedämmung erfolgt nach den von (3EN entwickelten Prüfverfahren für die Euroklassen A1-F, die in prEN 13501-1 - Klassifizierung aufgrund von Versuchsdaten aus Prüfungen des Brandverhaltens - näher festgelegt sind.

5.4.3 Hygiene, Gesundheit und Umweltschutz (ER 3)

5.4.3.1 Prüfung der Zusammendrückbarkeit von Wärmedämmplatten

Die Bestimmung des Verhaltens der Wärmedämmplatten bei Druckbeanspruchung und unter Punktlast erfolgt nach

EN 826 - Bestimmung des Verhaltens bei Druckbeanspruchung und EN 12430 - Bestimmung des Verhaltens unter Punktlast.

5.4.4 Nutzungssicherheit (ER 4)

Nicht relevant.

5.4.5 Schallschutz (ER 5)

Nicht relevant.

5.4.6 Energieeinsparung und Wärmeschutz (ER 6)

5.4.6.1 Berechnung oder Prüfung des Wärmedurchgangs

Die Berechnung der Wärmedämmeigenschaften erfolgt nach

EN ISO 6946: Bauteile - Wärmedurchlasswiderstand und Wärmedurchgangskoeffizient - Berechnungsverfahren

Die Prüfung des Wärmedurchlasswiderstandes erfolgt gemäß

EN ISO 8990: Wärmeschutz - Bestimmung der Wärmedurchgangseigenschaften im stationären Zustand - Verfahren mit dem kalibrierten und dem geregelten Heizkasten

prEN 12667: Wärmetechnisches Verhalten von Baustoffen und Bauprodukten - Bestimmung des Wärmedurchlasswiderstandes nach dem Verfahren mit dem Plattengerät und dem Wärmestrommessplatten-Gerät - Produkte mit hohem und mittlerem Wärmedurchlasswiderstand

prEN 12939: Wärmetechnisches Verhalten von Baustoffen und Bauprodukten - Bestimmung des Wärmedurchlasswiderstandes nach dem Verfahren mit dem Plattengerät und dem Wärmestrommessplatten-Gerät - Dicke Produkte mit hohem und mittlerem Wärmedurchlasswiderstand

EN ISO 10211-1: Wärmebrücken im Hochbau - Wärmeströme und Oberflächentemperaturen - Teil 1: Allgemeine Berechnungsverfahren.

5.4.7 Aspekte der Dauerhaftigkeit, Gebrauchstauglichkeit und Identifizierung

5.4.7.1 Dauerhaftigkeit der Wärmedämmplatten

Die Prüfung der Wärmedämmplatten hinsichtlich der Dauerhaftigkeit des Wärmedurchlasswiderstandes erfolgt nach

prEN 13164: Wärmedämmstoffe für Gebäude - Werkmäßig hergestellte Produkte aus extrudiertem Polystyrolschaum - Spezifikation

prEN 13165: Wärmedämmstoffe für Gebäude - Werkmäßig hergestellte Produkte aus Polynrethan-Hartschaum - Spezifikation

prEN 13166: Wärmedämmstoffe für Gebäude - Werkmäßig hergestellte Produkte aus Phenolharz-Hartschaum - Spezifikation

Die Prüfung der Wärmedämmplatten hinsichtlich der Dauerhaftigkeit der Dicke erfolgt nach

EN 1604: Wärmedämmstoffe für das Bauwesen - Bestimmungen der Dimensionsstabilität bei definierten Temperatur- und Feuchtebedingungen.

Eine Kombination der Prüfungen der Dauerhaftigkeit des Wärmedurchlasawiderstandes und der Dicke liefert Angaben über die Dauerhaftigkeit des %-Wertes.

Die Versuche werden nur an Wärmedämmplatten durchgeführt, die durch prEN 13 164, prEN 13 165 und prEN 13 166 abgedeckt sind.

6 Bewertung und Beurteilung der Brauchbarkeit von Produkten für einen vorgesehenen Verwendungszweck

6.0 Allgemeines

Kapitel 6 enthält die Leistungsanforderungen, die von einem mechanisch befestigten Dachabdichtungssystem (Kapitel 4) zu erfüllen sind, in Form von präzisen und (soweit möglich und im angemessenen Verhältnis zur Größe des Risikos stehend) messbaren oder qualitativen sich auf die Produkte und ihren vorgesehenen Verwendungszweck beziehenden Größen unter Verwendung der entsprechenden Nachweisverfahren (Abschnitt 5).

Die verschiedenen Möglichkeiten, die bei der Beurteilung der vorgeschriebenen Leistungsanforderungen erhaltenen Ergebnisse auszudrücken, sind in der nachfolgenden Tabelle 6 angegeben:

Tabelle 6: Produktleistung und Beurteilungskriterien

ER ETAG-Kapitel über die zu beurteilende Produkteigenschaft Kategorie/Klasse/Zahlenwert
2 6.1.2 System Beurteilung (prEN 1187)
6.1.2. Flugfeuerwiderstand
6.2.2 Komponente/Dachabdichtungsbahn Euroklasse
6.2.2.1 Brandverhalten
6.4.2 Komponente/Wärmedämmung Euroklasse
6.4.2.1 Brandverhalten
3 6.1.3 System Erklärung
6.1.3.1 Gefährliche Stoffe
6.2.3 Komponente/Dachabdichtungsbahn  
6.2.3.1 Schälwiderstand der Fügenähte *) vorgegebener Wert
6.2.3.2 Scherwiderstand der Fügenähte *) vorgegebener Wert
6.2.3.3 Weiterreißwiderstand vorgegebener Wert
6.2.3.4 Widerstand gegen Kaltbiegen/Kaltfalzen vorgegebener Wert
6.2.3.5 Wasserdichtheit vorgegebener Wert
6.2.3.6 Wasserdampfdurchlässigkeit vorgegebene Werte
6.2.3.7 Zug-Dehnungsverhalten vorgegebene Werte
6.2.3.8 Widerstand gegen statische und stoßartige Beanspruchung vorgegebener Wert
6.4.3 Komponente/Wärmedämmung Kategorie
6.4.3.1 Zusammendrückbarkeit von Wärmedämmplatten
4 6.1.4 System  
6.1.4.1 Widerstand gegen Abheben durch Windsogkräfte Bemessungswert des Widerstandes
6.2.4 Komponente/Dachabdichtungsbahn vorgegebener Wert oder keine Leistung festgestellt
6.2.4.1 Rutschhemmung
6.3.4 Komponente/Mechanische Befestigungselemente  
6.3.4.1 Beanspruchung des Befestigungselementes durch zentrischen Zug Mittelwert
6.3.4.2 Widerstand gegen Rückdrehen  
6.3.4.3 Mechanische Festigkeit/Sprödigkeit von Befestigungselementen aus Kunststoff Bestanden/durchgefallen oder keine Leistung festgestellt vorgegebener Wert
6 6.4.6 Komponente/Wärmedämmung Charakteristischer Wert oder keine Leistung feststellt
6.4.6.1 Wärmedurchlasswiderstand
**) 6.2.7 Komponente/Dachabdichtungsbahn  
6.2.7.1 Schälwiderstand der Fügenähte nach Langzeitbeanspruchung durch Wärme und Wasser vorgegebener Wert und Schlussfolgerung
6.2.7.2 Scherwiderstand der Fügenähte nach Langzeitbeanspruchung durch Wärme und Wasser - vorgegebener Wert und Schlussfolgerung
6.2.7.3 Weiterreißwiderstand nach Langzeitbeanspruchung durch Wärme vorgegebener Wert und Schlussfolgerung
6.2.7.4 Widerstand gegen Kaltbiegen/Kaltfalzen nach Langzeitbeanspruchung durch Wärme, UV und Wasser vorgegebener Wert und Schlussfolgerung
6.2.7.5 Maßhaltigkeit vorgegebener Wert und Schlussfolgerung
6.3.7 Komponente/Mechanische Befestigungselemente  
6.3.7.1 Korrosionsbeständigkeit von Befestigungselementen aus Metall Nutzungskategorie
6.3.7.2 Älterungsbeständigkeit von Befestigungselementen aus Kunststoff Nutzungskategorie
 *) Nur bei einlagigen Systemen
**) Aspekte dar Dauerhaftigkeit, Gebrauchstauglichkeit und Identifizierung

6.1 System

6.1.1 Mechanische Festigkeit und Standsicherheit (ER 1)

Nicht relevant.

weiter .

umwelt-online - Demo-Version


(Stand: 25.07.2018)

Alle vollständigen Texte in der aktuellen Fassung im Jahresabonnement
Nutzungsgebühr: ab 105.- € netto

(derzeit ca. 7200 Titel s.Übersicht - keine Unterteilung in Fachbereiche)

Preise & Bestellung

Die Zugangskennung wird kurzfristig übermittelt

? Fragen ?
Abonnentenzugang/Volltextversion