umwelt-online: ETAG 010 - Zulassung für selbsttragende lichtdurchlässige Dachbausysteme (5)
![]() |
zurück | ![]() |
H.2 Zeit-Bruchkurven eines textilglasverstärkten ungesättigten Polyesterharz-Laminats mit 30 % Glasmasse
H.3 Zeitstand-Biegeversuch (schematische Darstellung) als Ergänzung zu EN 63 bei einer massiven PMMA-Platte (Beispiel)
| Versuchsbedingungen: | |||
|
|||
|
h | = | 3 mm |
|
b | = | 50 mm |
|
I | = | 70 mm |
|
I.v | = | 60 mm |
|
r.1 | = | (5+1-0,1) mm |
| r.2 | = | (5+1-0,2) mm | |
|
F | = | 45 N |
H.4 Durchbiegung f in Abhängigkeit von der Belastungsdauer t bei einer massiven PMMA-Platte (Beispiel)
H.5 Zeitstand-Biegeversuch (schematische Darstellung) als Ergänzung zu EN 63 für eine mehrwandige Platte aus PC (Beispiel)
| Versuchsbedingungen: | |||
|
|||
|
Oberseite | ||
|
h | = | 10 mm |
|
b | = | 80 mm |
|
I | = | 500 mm |
|
|||
| Prüfrichtung parallel zu den Stegen: | I.v | = | 200 mm |
| Prüfrichtung senkrecht zu den Stegen: | I.v | = | 200 und 400 mm |
|
r.1
r.2 |
=
= |
(5+/-0,1) mm
(5+/-0,2) mm |
|
|||
| Prüfrichtung parallel zu den Stegen: | F | = | 175 N |
| Prüfrichtung senkrecht zu den Stegen: | F | = | 20 N |
H.6 Durchbiegung f in Abhängigkeit von der Belastungsdauer t bei einer mehrwandigen Platte aus PVC (Beispiel)
H.7 Durchbiegung f in Abhängigkeit von der Belastungsdauer t bei einer mehrwandigen Platte aus PC (Beispiel)
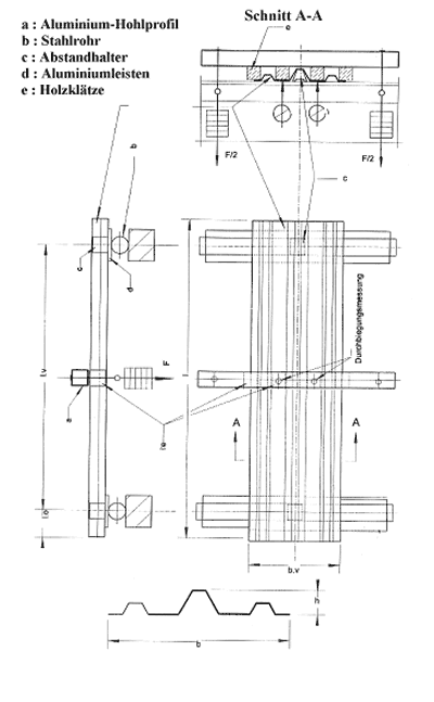
H.8 Versuchsaufbau (schematisch) zur Ermittlung des Vergrößerungsfaktors der Belastungsdauer für eine Trapezprofilplatte aus PVC (Beispiel

| Versuchsbedingungen: | |||
|
|||
|
h | = | 40 mm |
|
b.v | = | 333 mm |
|
I | = | 1000 mm |
|
I.v | = | 800 mm |
|
F | = | 250 N |
Anforderungen:
Maximaler Durchbiegungswert nach 0,1 h Belastungsdauer:
f(0,1) = 13,7 mm
H.9 Durchbiegung f in Abhängigkeit von der Belastungsdauer t bei einer Trapezprofilplatte aus PVC (Beispiel)

H.10 Biegemodulverhalten einer glasfaserverstärkten Polyesterharzplatte in einem Zeitstand-Biegeversuch (Schema)

| E1h | E - Modul, berechnet auf der Grundlage der Durchbiegung nach 1 h |
| f1h | Durchbiegung nach 1 h |
| f24h | Durchbiegung nach 24h |
| C1 | Vergrößerungsfaktor für eine Bezugszeit von 2 x 105 h |
H.11 Spannungs-Dehnungs-Diagramm für verschiedene Temperaturen am Beispiel von PC
H.12 Schubmodul als eine Funktion der Temperatur für PMMa (Beispiel)
| Beispiel für die Kombinierung von Faktoren | Anhang J |
(Stand: 16.06.2018)
Alle vollständigen Texte in der aktuellen Fassung im Jahresabonnement
Nutzungsgebühr: ab 105.- € netto
(derzeit ca. 7200 Titel s.Übersicht - keine Unterteilung in Fachbereiche)
Die Zugangskennung wird kurzfristig übermittelt
? Fragen ?
Abonnentenzugang/Volltextversion