Für einen individuellen Ausdruck passen Sie bitte die
Einstellungen in der Druckvorschau Ihres Browsers an.
Regelwerk

ETAG 018 - Teil 4: Produkte und Bausätze aus verformbaren und nicht verformbaren Brandschutzplatten und aus Brandschutzmatten
Leitlinie für die europäische technische Zulassung für Brandschutzprodukte


Fassung November 2004

Vom 23. Juni 2005
(BAnz. Nr. 188a vom 05.10.2005 S. 1aufgehoiben)


zur Fassung Dezember 2011

Abschnitt 1
Einleitung

1 Vorbemerkungen

1.1 Rechtsgrundlage

Die Rechtsgrundlage für die ETA-Leitlinien (ETAG - Leitlinien für die europäischen technischen Zulassungen) geht aus Abschnitt 1.1 von Teil 1 "Allgemeines" hervor.

Bestehende ETA-Leitlinien behalten ihre volle Gültigkeit.

1.2 Status der ETA-Leitlinien

Der Status der ETA-Leitlinien geht aus Abschnitt 1.2, Teil 1 "Allgemeines" hervor.

2 Geltungsbereich

2.1 Geltungsbereich

Der vorliegende Teil 4 ist in Verbindung mit Teil 1 "Allgemeines" anzuwenden.

Der vorliegende Teil 4 "Produkte und Bausätze aus verformbaren und nicht verformbaren Brandschutzplatten und aus Brandschutzmatten" legt die Terminologie und Definitionen, die jeweiligen Nachweisverfahren und die Klassifizierungskriterien für Produkte und Bausätze aus verformbaren und nicht verformbaren Brandschutzplatten und aus Brandschutzmatten sowie die Merkmale der Komponenten für deren Identifizierung fest. Fliesen gelten als Platten kleinerer Größe und sind ebenfalls in dieser ETA-Leitlinie erfasst.

Dieser Ergänzungsteil dient auch als Grundlage für die Beurteilung der jeweiligen Einbauanleitungen und für die Konformitätsbescheinigung für solche Produkte und Bausätze, die als Brandschutzprodukte verwendet werden sollen.

Diese ETA-Leitlinie gilt für Produkte und Bausätze aus Brandschutzplatten und Brandschutzmatten.

Sie kann auch zur Erstellung Europäischer Technischer Zulassungen (ETAs) herangezogen werden, wenn das zur Beurteilung anstehende Produkt nur allein eine Platte ist, sofern der ETA-Antragsteller das Produkt einer Feuerwiderstandsbeurteilung unter Anwendung des entsprechenden charakterisierenden Prüf- und Beurteilungsverfahrens unterzieht. In solchen Fällen bezieht sich der ETA-Antragsteller auf andere "typische" Komponenten, die zum Zusammenbau des Produkts zu einer Einheit benötigt werden, z.B. Befestigungsmittel, Stützrahmen und Fugenmaterial, durch Bezug auf detaillierte Spezifikationen oder auf Mindestleistungsmerkmale identifiziert, denen diese Produkte entsprechen müssen. Die ETa legt dann den Geltungsbereich für die Feuerwiderstandsleistung für die Montageeinheit fest.

Verbundplatten und Platten mit Beschichtungen (siehe Anhang C), auch die mit einem besonderen Brandverhalten (z.B. reaktive Beschichtungen), sind in dieser ETA-Leitlinie erfasst.

Platten zum Bau von selbsttragenden Kanälen oder zum Verkleiden von Blechkanälen für z.B. Be- und Entlüftung, Rauchabzug oder Schutz von Versorgungseinrichtungen sind in dieser ETA-Leitlinie erfasst, wobei jedoch in diesen Fällen Übereinstimmung mit prEN 1507 bzw. EN 13403 und den einschlägigen Teilen von EN 12101 ebenfalls nachgewiesen werden muss. Bausätze für untergehängte Decken und ihre Bestandteile, an die Anforderungen hinsichtlich des Brandschutzes gestellt werden, sind durch prEN 13964 geregelt.

Produkte zum Abschotten gegen Feuer und Produkte gegen die Ausbreitung von Feuer und Rauch werden in einer eigenständigen ETA-Leitlinie behandelt.

2.2 Nutzungskategorien, Produktfamilien, Bausätze und Systeme

2.2.1 Allgemeines

Für den Zweck der vorliegenden ETA-Leitlinie wurden die Brandschutzprodukte wie folgt unterteilt:

Der vorliegende Teil enthält zusätzliche Spezifikationen für Bausätze aus Brandschutzplatten oder -matten. Die Komponenten sind entweder

spezifizierbar.

2.2.2 Nutzungskategorien in Bezug auf Witterungseinflüsse

Für den Zweck dieses ETAG-Teils sind die Produkte und Bausätze aus Brandschutzplatten und -matten hinsichtlich ihrer vorgesehenen Nutzung entsprechend der Witterungsbeanspruchung in Produktfamilien unterteilt worden. Diese Nutzungskategorien basieren auf den allgemeinen Grundsätzen nach der ETA-Leitlinie Teil 1, Abschnitt 2.2.1. Im Rahmen dieser ETA-Leitlinie Teil 4 sind die Nutzungskategorien folgende:

Anmerkung 1:
Produkte, die die Anforderungen für Typ X erfüllen, erfüllen auch die Anforderungen für alle anderen typen. Produkte, die die Anforderungen für Typ Y und Z1 erfüllen, erfüllen auch die Anforderungen für Typ Z2. Jedoch Produkte, die die Anforderungen für Typ Y erfüllen, erfüllen nicht unbedingt die Anforderungen für Typ Z1.
Anmerkung 2:
Anforderungen, die für die festgelegten Nutzungskategorien relevant sind, werden in den Abschnitten 6.1.4.1.1, 6.1.7.1, 6.2.3.1, 6.2.4.1 und 6.2.7.1 beschrieben.

2.2.3 Nutzungskategorien in Bezug auf den vorgesehenen Verwendungszweck

Für den Zweck dieses ETAG-Teils sind die Produkte und Bausätze aus Brandschutzplatten und -matten hinsichtlich ihrer vorgesehenen Brandschutzanwendungen in Produktfamilien unterteilt worden. Diese Nutzungskategorien (Typen 1 bis 10) sind in Teil 1 "Allgemeines" der ETA-Leitlinie festgelegt.

Im Rahmen dieser ETA-Leitlinie Teil 4 decken die Typ-8-Produkte nach der ETA-Leitlinie Teil 1, Abschnitt 2.2.2 Verwendungszwecke ab, bei denen die Produkte und Bausätze aus Brandschutzplatten und -matten zum Feuerwiderstand von brandabschnittstrennenden Elementen (z.B. Einbau in Wände, Böden, Türen, Abschlüsse für Fördergeräte, Verglasungen, Hohlraumsperren, feuerbeständige Decken) heitragen.

Im Rahmen dieser ETA-Leitlinie Teil 4 decken die Typ-9-Produkte nach der ETA-Leitlinie Teil 1, Abschnitt 2.2.2 Verwendungszwecke ab, bei denen die Produkte und Bausätze aus Brandschutzplatten und -matten zum Feuerwiderstand von anderen Produkten beitragen, die durch brandabschnittstrennende Konstruktionsteile laufen (z.B. Einbau in Lüftungskanäle, Rauchabzugskanäle, Versorgungskanäle, Schornsteine).

2.3 Voraussetzungen

Je nach Produktgruppe, zu der die Bausätze aus verformbaren und nicht verformbaren Brandschutzplatten und -matten gehören, sind möglicherweise nicht alle in Kapitel 5 aufgeführten Nachweisverfahren relevant.

Weitere Voraussetzungen gehen aus Abschnitt. 2.3 von Teil 1 "Allgemeines" hervor.

2.4 Anwendung dieser ETA-Leitlinie

In Abhängigkeit von dem zu beurteilenden Produkt und in Übereinstimmung mit dem Geltungsbereich (Abschnitt 2.1) ist diese ETA-Leitlinie wie folgt zu verwenden:

3 Begriffe

3.1 Allgemeine Begriffe und Abkürzungen

Die allgemeinen Begriffe und Abkürzungen sind in Abschnitt 3.1 von Teil 1 "Allgemeines" aufgeführt.

3.2 Besondere, in diesem Leitlinienteil verwendete Begriffe und Abkürzungen

Für den Zweck dieser ETA-Leitlinie Teil 4 gelten die in Abschnitt 3.2 von Teil 1 "Allgemeines" aufgeführten besonderen Begriffe und Abkürzungen. Zusätzlich dazu gelten die folgenden spezifischen Begriffe und Abkürzungen:

Verbundplatten (Platten oder Matten)

Werksmäßig hergestellte Platten und Matten aus Schichten verschiedener Materialien. Im Rahmen dieser ETA-Leitlinie werden Plattenbeschichtungen nicht als eine Schicht unterschiedlichen Materials angesehen.

Beschichtung

Werksmäßig hergestellte durchgehende Schicht eines Produkts, flüssig, pasten- oder pulverförmig, die nach Auftragen auf die Oberfläche einen Film mit schützenden, dekorativen und/oder anderen spezifischen Eigenschaften bildet.

Im Rahmen dieser ETA-Leitlinie wird unterschieden zwischen dekorativen Beschichtungen, die zur Verbesserung des ästhetischen Aspekts der Platte (ohne Einfluss auf das Brandverhalten) verwendet werden, und Beschichtungen, die zum Verhalten der Platte im Brandfall beitragen.

Befestigungsmittel

Befestigungssystem

Befestigungssystem bezeichnet ein System, bestehend aus dem mechanischen Befestigungselement und allen sonstigen Elementen (z.B. Dübeln), die erforderlich sind, um Platten oder Matten auf dem Untergrund oder am Stützrahmen zu fixieren.

Dämmprodukt

Ein Dämmprodukt ist eine werksmäßig hergestellte Komponente, normalerweise in Platten-, Matten- oder Rollenform, die hinter oder zwischen Platten eingebaut wird, die die Wärmedämmung des zusammengesetzten Bausatzes erhöhen soll.

Fugendichtungsmaterial

Ein Dichtungsmaterial ist ein Material, das dazu bestimmt ist, Fugen zwischen Platten oder Matten oder zwischen Platten oder Matten und anderen Elementen abzudichten, damit der fertige Bausatz aus Brandschutzplatten oder -matten einige oder alle Anforderungen erfüllt, die in Kapitel 4 festgelegt sind. Es kann sich dabei um folgende Materialien handeln:

Fuge

Eine Fuge wird von aneinanderstoßenden Teilen von zwei oder mehr Produkten, Komponenten oder Gebäudeteilen gebildet (z.B. zwischen verformbaren und nicht verformbaren Platten und Matten oder zwischen verformbaren und nicht verformbaren Platten oder Matten und anderen Komponenten), und zwar dort, wo diese zusammengefügt oder mit oder ohne die Verwendung von Dichtungsmaterial befestigt sind. Freiliegende Fugen führen üblicherweise dazu, dass der Bausatz aus verformbaren und nicht verformbaren Brandschutzplatten oder -matten einige oder alle in Kapital 4 festgelegten Anforderungen nicht erfüllen kann.

Bausatz aus Platten oder Matten (im Folgenden "Bausatz" genannt)

Für eine Definition des Begriffes "Bausatz" siehe Leitpapier C der Europäischen Kommission. Bei Bausätzen auf Basis von verformbaren und nicht verformbaren Platten oder Matten umfasst der Bausatz die verformbaren und nicht verformbaren Platten oder Matten und eine oder mehrere der folgenden Komponenten: mechanische Befestigungselemente; Klebemittel; Dichtungsmaterialien; und jede andere Komponente, z.B. Profile, Stützrahmen.

Stützrahmen

Ein Rahmen, der z.B. aus Holz- oder Metallprofilen besteht, als Stütze für Brandschutzplatten oder -matten.

Anmerkung: Für die Zwecke der vorliegenden ETA-Leitlinie umfasst der Begriff "Platten" sowohl Platten, Fliesen als auch Matten. Eine Ausnahme hiervon bilden Abschnitt 5.2 und Abschnitt 6.2, wo unterschieden wurde.

Abschnitt 2
Leitfaden für die Beurteilung der Brauchbarkeit

4 Anforderungen

4.0 Allgemeines

Die Leistungsanforderungen, mit denen die Gebrauchstauglichkeit von Bausätzen aus Brandschutzplatten festgelegt wird, müssen Kapitel 4 von Teil 1 "Allgemeines" entsprechen, sowie den nachstehenden besonderen Bestimmungen für diese Produktfamilie.

Die Festlegungen, Prüf- und Beurteilungsverfahren, die in der vorliegenden Leitlinie beschrieben sind, oder auf die verwiesen wird, erfolgten auf der Grundlage der angenommenen beabsichtigten Nutzungsdauer des Produkts für den vorgesehenen Verwendungszweck von 10 oder 25 Jahren, vorausgesetzt, das Produkt wird in Übereinstimmung mit Kapitel 7 angemessen genutzt und instand gehalten. Diese Vorschriften basieren auf dem aktuellen Stand der Technik und dem verfügbaren Wissen und der bestehenden Erfahrung.

4.1 ER 1: Mechanische Festigkeit und Standsicherheit

Nicht relevant, siehe ETA-Leitlinie Teil 1.

4.2 ER 2: Brandschutz

Siehe ETA-Leitlinie Teil 1.

4.3 ER 3: Hygiene, Gesundheit und Umweltschutz

Siehe ETA-Leitlinie Teil 1.

4.4 ER 4: Nutzungssicherheit

4.4.1 Mechanische Festigkeit und Standsicherheit (von Befestigungssystemen)

Bei mechanischer Befestigung müssen die Bausätze aus Brandschutzplatten so befestigt sein, dass die Sicherheit von Bewohnern und Passanten gewährleistet ist.

Die mechanische Befestigung muss durch eine entsprechende Anordnung der Befestigungsmittel und eine ausreichende Ausreiß- oder Durchzugs-Festigkeit des Befestigungssystems und der verwendeten Platten sichergestellt sein.

4.4.2 Stoßfestigkeit

Installationen von Bausätzen aus Brandschutzplatten müssen eine ausreichende Stoßfestigkeit aufweisen, damit die Sicherheit von Bewohnern und Passanten gewährleistet ist.

Dies bedeutet, dass die montierten Systeme eine ausreichende Stoßfestigkeit aufweisen müssen, um außergewöhnlich großen dynamischen Lasten durch die Einwirkung von Personen oder Gegenständen standzuhalten, ohne dass sie vollständig oder teilweise zerstört werden, wodurch gefährliche (scharfkantige) Bruchstücke entstehen, und ohne dass die Gefahr des Hindurchfallens entsteht - insbesondere bei Übergängen zwischen unterschiedlichen Ebenen. Die Gefährdung Dritter ist auszuschließen.

Derartige Stoßlasten können auftreten durch (nicht erschöpfende Liste):

4.4.3 Haftfähigkeit

Anmerkung: Diese Anforderung wurde der Einfachheit halber ER 4 zugeordnet, sie bezieht sich jedoch auch auf andere Anforderungen, insbesondere auf ER 2.

Bei Bausätzen aus Brandschutzplatten, die mit dem Untergrund verklebt sind, dürfen Bewegungen, die bei normaler Nutzung zu erwarten sind, nicht zu einem Verlust der Haftfähigkeit innerhalb des Systems führen. Verklebte Bausätze aus Brandschutzplatten sollten Bewegungen durch Temperaturschwankungen und Beanspruchungsveränderungen standhalten. Eine Ausnahme bilden Fugen zwischen verschiedenen Elementen, dort sollten besondere Vorkehrungen getroffen werden (siehe auch Kapitel 7).

4.5 ER 5: Schallschutz

Siehe ETA-Leitlinie Teil 1.

4.6 ER 6: Energieeinsparung und Wärmeschutz

Siehe ETA-Leitlinie Teil 1.

4.7 Aspekte der Dauerhaftigkeit, Gebrauchstauglichkeit und Identifizierung

Siehe ETA-Leitlinie Teil 1.

5 Nachweisverfahren

5.0 Allgemeines

Es gelten die in Kapitel 5 von Teil 1 "Allgemeines" aufgeführten Nachweisverfahren, soweit dies nicht nachstehend geändert oder entsprechend angegeben ist.

Tabelle 5.1

ER Absatz der ETA-Leitlinie hinsichtlich der Produkteigenschaft Absatz der ETA-Leitlinie hinsichtlich des Nachweisverfahrens für die Produktmerkmale
Bausätze Komponenten (Platten oder Matten, mech. Befestigungselemente, Klebemittel, Dichtungsmaterialien, Profile, Rahmen und Ständerwerke)
ER 1 Für diese Produkte nicht relevant
ER 2 4.2.1 Brandverhalten
4.2.2 Feuerwiderstand
5.1.2.1 Brandverhalten
5.1.2.2 Feuerwiderstand
5.2 Platten oder Matten
5.2.2.1 Brandverhalten
5.2.2.2 Feuerwiderstand
5.3 mech. Befestigungselemente
5.3.2.1 Brandverhalten
5.4 Klebemittel
5.4.2.1 Brandverhalten
5.5 Dichtungsmaterialien
5.5.2.1 Brandverhalten
5.6 Dämmstoffe
5.6.2.1 Brandverhalten
5.7 Profile, Rahmen, Ständerwerke
5.7.2.1 Brandverhalten
ER 3 4.3.1 Luft- und Wasserdurchlässigkeit
4.3.2 Abgabe gefährlicher Stoffe
5.1.3 Hygiene, Gesundheit und Umweltschutz 5.2 Platten oder Matten
5.2.3.1 Wasserdurchlässigkeit
5.2.3.2 Abgabe gefährlicher Stoffe
5.3 mech. Befestigungselemente
5.3.3.1 Abgabe gefährlicher Stoffe
5.4 Klebemittel
5.4.3.1 Abgabe gefährlicher Stoffe
5.5 Dichtungsmaterialien
5.5.3.1 Abgabe gefährlicher Stoffe
5.6 Dämmstoffe
5.6.3.1 Abgabe gefährlicher Stoffe
5.7 Profile, Rahmen, Ständerwerke
5.7.3.1 Abgabe gefährlicher Stoffe
ER 4 4.4.1 Mechanische Festigkeit und Standsicherheit 5.1.4.1.1 Durchzugsfestigkeit von mech. Befestigungselementen
5.1.4.1.2 Scherfestigkeit von mech. Befestigungselementen
5.2 Platten oder Matten
5.2.4.1 Biegezugfestigkeit
5.2.4.2 Maßbeständigkeit
5.3 mech. Befestigungselemente
5.3.4.1 Mechanische Festigkeit und Standsicherheit
5.3.4.1.1 Durchzugsfestigkeit von Befestigungssystemen
5.4 Klebemittel
5.4.4.1 Mechanische Festigkeit und Standsicherheit
5.7 Profile, Rahmen, Ständerwerke
5.7.4.1 Mechanische Festigkeit und Standsicherheit
4.4.2 Festigkeit gegenüber Stoßbelastungen/Bewegungen 5.1.4.2.1 Festigkeit gegenüber Weichkörperaufprall
5.1.4.2.2 Festigkeit gegenüber Hartkörperaufprall
5.1.4.2.3 Festigkeit gegenüber exzentrischer Last
 
4.4.3 Haftfähigkeit 5.1.4.3 Haftfähigkeit  
ER 5 4.5.1 Luftschalldämmung
4.5.2 Körperschalldämmung
5.1.5 Schallschutz  
ER 6 4.6.1 Wärmedurchlasswiderstand
4.6.2 Feuchtigkeitsübergang
4.6.3 Luftdurchlässigkeit
5.1.6 Energieeinsparung und Wärmeschutz 5.2 Platten oder Matten
5.2.6.1 Wärmedurchlasswiderstand
5.2.6.2 Wasserdampfdiffusionswiderstandszahl
5.6 Dämmstoffe
5.6.6.1 Wärmedurchlasswiderstand
5.6.6.2 Wasserdampfdiffusionswiderstandszahl
5.7 Profile, Rahmen, Ständerwerke
5.7.6.1 Wärmedurchlasswiderstand
  4.7.1 Dauerhaftigkeit und Gebrauchstauglichkeit 5.1.7.1 Dauerhaftigkeit und Gebrauchstauglichkeit 5.2 Platten oder Matten
5.2.7.1 Dauerhaftigkeit und Gebrauchstauglichkeit
5.3 mech. Befestigungselemente
5.3.7.1 Dauerhaftigkeit und Gebrauchstauglichkeit
5.4 Klebemittel
5.4.7.1 Dauerhaftigkeit und Gebrauchstauglichkeit
5.5 Dichtungsmaterialien
5.5.7.1 Dauerhaftigkeit und Gebrauchstauglichkeit
5.6 Dämmstoffe
5.6.7.1 Dauerhaftigkeit und Gebrauchstauglichkeit
5.7 Profile, Rahmen, Ständerwerke
5.7.7.1 Dauerhaftigkeit und Gebrauchstauglichkeit
  4.7.2 Identifizierung 5.1.7.2 Identifizierung 5.2 Platten oder Matten
5.2.7.2 Identifizierung
5.3 mech. Befestigungselemente
5.3.7.2 Identifizierung
5.5 Dichtungsmaterialien
5.5.7.2 Identifizierung
5.6 Dämmstoffe
5.6.7.2 Identifizierung
5.7 Profile, Rahmen, Ständerwerke
5.7.7.2 Identifizierung

5.1 Nachweisverfahren für Bausätze

5.1.1 ER 1: Mechanische Festigkeit und Standsicherheit

Nicht relevant, siehe ETA-Leitlinie Teil 1.

5.1.2 ER 2: Brandschutz

5.1.2.1 Brandverhalten

Das Brandverhalten wird im Rahmen des Verhaltens der Bausatzkomponenten behandelt, siehe Abschnitte 5.2.2.1, 5.3.2.1, 5.4.2.1, 5.5.2.1, 5.6.2.1 und 5.7.2.1.

5.1.2.2 Feuerwiderstand

Siehe ETA-Leitlinie Teil 1 und Abschnitt 5.2.2.2.

5.1.3 ER 3: Hygiene, Gesundheit und Umweltschutz

Siehe ETA-Leitlinie Teil 1.

5.1.4 ER 4: Nutzungssicherheit

5.1.4.0 Konditionierung und Prüfbedingungen

5.1.4.0.1 Konditionierung

Für alle Nachweisverfahren im Hinblick auf die Nutzungssicherheit wird die folgende Konditionierung vorgenommen:

Die Probeplatten und mechanischen Befestigungselemente werden bei (23 ± 2) °C und (50 ± 5) % relative Luftfeuchte bis zur Gewichtskonstanz konditioniert, d.h. bis zwei aufeinanderfolgende Gewichtsmessungen im Mindestabstand von 24 h um weniger als 0,1 % auseinander liegen (mit Ausnahme der Prüfung nach Abschnitt 5.1.4.1.1.2).

5.1.4.0.2 Prüfbedingungen während der Prüfung

Während aller Nachweisverfahren im Hinblick auf die Nutzungssicherheit werden die folgenden Prüfbedingungen berücksichtigt: (20 ± 10) °C und (50 ± 20) % relative Luftfeuchte.

5.1.4.1 Mechanische Festigkeit und Standsicherheit (von Befestigungssystemen)

5.1.4.1.1 Durchzugsfestigkeit von mechanischen Befestigungselementen

5.1.4.1.1.1 Anfangsprüfung

Dieses Prüfverfahren ist nur für mechanisch befestigte Systeme durchzuführen. Es wird damit die Durchzugsfestigkeit eines die Brandschutzplatte durchdringenden mechanischen Befestigungselements ermittelt.

Die Prüfung wird an 5 Probeplatten durchgeführt, deren Nennabmessungen jeweils 250 mm x 250 mm betragen.

Die Prüfvorrichtung besteht aus:

Die mechanischen Befestigungselemente werden gemäß den Angaben des Herstellers installiert. Für diese Prüfung ist das mechanische Befestigungselement in der Mitte der Proben anzubringen. Die Zugkraft für das Durchziehen der Befestigung ist mit einem Dynamometer zu messen. Die Zuggeschwindigkeit beträgt 22 mm/ min.

Die maximale Durchzugskraft jeder Prüfung wird in N ausgedrückt. Die Prüfergebnisse, die Art des Versagens und der Mittelwert werden im Prüfbericht festgehalten.

Bild 1: Prinzipieller Aufbau für Durchzugsfestigkeitsprüfungen (Abmessungen in mm)

5.1.4.1.1.2 Nach Wasserlagerung

Soll der Plattenbausatz für Verwendungen eingesetzt werden, wo er den Außeneinwirkungen halb oder ganz ausgesetzt ist, ist die Prüfung nach Abschnitt 5.1.4.1.1.1 auch durchzuführen, nachdem die Platte für 1 h bei (20 ± 10) °C in Wasser eingetaucht war.

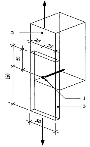
5.1.4.1.2 Scherfestigkeit von Befestigungssystemen

Dieses Prüfverfahren ist nur für mechanisch befestigte Systeme durchzuführen. Es wird damit die Scherfestigkeit eines mechanischen Befestigungselements ermittelt, das durch die Brandschutzplatte in einer Holzleiste installiert ist.

Die Prüfung wird an 5 Probeplatten durchgeführt, deren Nennabmessungen jeweils 150 mm x 50 mm x d mm betragen, wobei d die Dicke der Platte ist.

Die Prüfvorrichtung besteht aus einem Dynamometer.

An jeder Probe wird (50 ± 2) mm von oben und (25 ± 2) mm von den Seiten entfernt ein mechanisches Befestigungselement installiert, und zwar gemäß den Angaben des Herstellers. Der Messplatz sollte das Auftreten von Torsion verhindern, d.h. exzentrische Kräfte verhindern, die durch zusätzliche Lasten entstehen können.

Die Scherkraft, bei der es. zum Versagen des Befestigungssystems kommt, ist mit einem Dynamometer zu messen. Die Zuggeschwindigkeit beträgt (0,5 ± 0,1) mm/min.

Die Prüfung wird erst beendet, wenn sich die Platte ganz vom Untergrund gelöst hat. Dann wird das Ergebnis festgehalten. Die maximale Scherkraft (bei der es zum Versagen kommt) jeder Prüfung wird in N ausgedrückt. Die Prüfergebnisse, die Art des Versagens und der Mittelwert werden im Prüfbericht festgehalten.

Bild 2: Prinzipieller Aufbau für Scherfestigkeitsprüfungen (Abmessungen in mm)

1 mechanisches Befestigungselement

2 Holzleiste (t x 50 x 150)

3 Platte

t: Dicke der Leiste

5.1.4.2 Stoßfestigkeit

5.1.4.2.1 Festigkeit gegenüber weicher Stoßbelastung (Aufprall eines weichen Körpers) - 50-kg-Sack

Prüfverfahren nach dem Technischen Bericht TR001 der EOTa "Bestimmung der Stoßfestigkeit von Tafeln und Tafelsystemen", Abschnitt 1 mit folgenden Änderungen:

Der Prüfstand besteht aus einer massiven Wand, vor der eine Probeplatte in voller Größe (mindestens 1,00 m x 2,00 m) auf einem Stützrahmen oder Profilen, gemäß den Anweisungen des Herstellers, mittels der vorgesehenen mechanischen Befestigungselemente oder Klebemittel installiert wird.

5.1.4.2.2 Festigkeit gegenüber harter Stoßbelastung (durch Hartkörperaufprall) - 0,5-kg-Stahlkugel

Prüfverfahren nach dem Technischen Bericht TR001 der EOTa "Bestimmung der Stoßfestigkeit von Tafeln und Tafelsystemen", Abschnitt 2 mit folgenden Änderungen:

Die Prüfanordnung besteht aus einer massiven Wand, vor der eine Probeplatte in voller Größe (mindestens 1,00 m x 2,00 m) auf einem Stützrahmen oder Profilen, gemäß den Anweisungen des Herstellers, mittels der vorgesehenen mechanischen Befestigungselemente oder Klebemittel befestigt wird.

5.1.4.2.3 Festigkeit gegenüber funktionalem Versagen durch exzentrische Vertikallast

Normalerweise verlangen die Hersteller keine Festigkeit gegenüber funktionalem Versagen durch exzentrische Vertikallast. Wenn aber eine solche Forderung besteht, dann sind die Bausätze aus Brandschutzplatten nach ISO/DIS 8413 mit den folgenden Ergänzungen und Änderungen zu prüfen.

Die Prüfanordnung besteht aus einer massiven Wand, vor der eine Probeplatte in voller Größe (mindestens 1,00 m x 2,00 m) auf einem Stützrahmen oder Profilen gemäß den Anweisungen des Herstellers mittels der vorgesehenen mechanischen Befestigungselemente oder Klebemittel befestigt wird. Die Prüfung muss für jede Abweichung der Befestigungselemente und/oder Klebemittel und der Anordnung der Befestigungselemente wiederholt werden.

Auf halber Höhe werden zwei Rahmen im Abstand von (500 ± 10) mm an der Platte befestigt, jeweils mit zwei mechanischen Befestigungselementen, die 150 mm auseinander liegen. In einem Abstand von (300 ± 10) mm von der Plattenoberfläche wird eine Vertikallast in der Mitte der Verbindung zwischen den beiden Rahmen für einen Zeitraum von (24 ± 1) h (siehe Bild 3) befestigt. Die Last ist vom ETA-Antragsteller festzulegen.

Bei Prüfung mit mehr als einer Last sind verschiedene Platten zu verwenden.

Die Prüfung ist positiv, wenn der Rahmen nicht einstürzt. Der Prüfbericht muss die exzentrische Vertikallast, der die Platte widerstanden hat, und die Versagensart (Einschlag durch den Rahmen, Scherversagen der mechanischen Befestigungselemente usw.) aufzeigen. Der Prüfbericht muss jeden sichtbaren Schaden (z.B. Kleinstrisse) aufführen.

Anmerkung: Bei Befestigungsmitteln, die die Brandschutzplatte durchdringen, sollte die ETa die notwendigen Vorkehrungen zur Sicherstellung enthalten, dass das Brandschutzsystem auch dann das geforderte Brandschutzverhalten erfüllt. Diese spezifizierten Vorkehrungen sollten auch bei der Beurteilung des Feuerwiderstands berücksichtigt werden (Abschnitt 5.2.2.1)

Bild 3: prinzipieller Aufbau für exzentrische Vertikallastprüfungen (Abmessungen in mm)

5.1.4.3 Haftfähigkeit

Anmerkung: Diese Anforderung wurde der Einfachheit halber ER 4 zugeordnet, sie bezieht sich jedoch auch auf andere Anforderungen, insbesondere auf ER 2.

Dieses Prüfverfahren ist nur für geklebte Systeme durchzuführen. Es wird damit die Haftfestigkeit zwischen Klebstoff und Brandschutz-platte ermittelt. Diese Prüfung ist auf jedem Untergrund durchzuführen, für den die Bausätze aus Brandschutzplatten verwendet werden sollen.

Die Platten werden gemäß den Angaben des Herstellers verklebt.

Die Prüfung wird an 5 Proben mit einem Nenndurchmesser von 80 mm durchgeführt, die durch die Platte bis in den Untergrund geschnitten werden. Die 5 Proben können aus einer Platte hergestellt werden. Die Metallplatten werden auf diese Flächen mit einem geeigneten Klebemittel aufgeklebt (siehe Bild 4).

Nach dem Aushärten des Klebemittels gemäß den Angaben des Herstellers wird mit einem Dynamometer die Haftfähigkeit gemessen, wobei die Zuggeschwindigkeit (10 ± 1) mm/min beträgt.

Die Versagenslast jeder Prüfung wird in MPa ausgedrückt. Die Prüfergebnisse, die Art des Versagens und der Mittelwert werden im Prüfbericht festgehalten.

Bild 4: prinzipieller Aufbau für Haftfähigkeitsprüfungen

5.1.5 ER 5: Schallschutz

Siehe ETA-Leitlinie Teil 1.

5.1.6 ER 6: Energieeinsparung und Wärmeschutz

Siehe ETA-Leitlinie Teil 1.

5.1.7 Aspekte der Dauerhaftigkeit, Gebrauchstauglichkeit und Identifizierung

5.1.7.1 Anforderungen hinsichtlich der Dauerhaftigkeit und Gebrauchstauglichkeit

Die Nachweisverfahren gemäß den Abschnitten 5.2.7.1, 5.3.7.1, 5.4.7.1, 5.5.7.1, 5.6.7.1 und 5.7.7.1 sind an den Platten, Klebemitteln, mechanischen Befestigungselementen, Profilen, Rahmen, Ständerwerken und/oder Dichtungsmaterialien durchzuführen, die als Bestandteil des Bausatzes verwendet werden sollen, es sei denn, es wurden ähnliche Prüfungen auf der Grundlage europäischer Produktnormen oder europäischer technischer Zulassungen durchgeführt.

5.1.7.2 Identifizierung

Die für Bausätze aus Brandschutzplatten verwendeten Produkte und Materialien müssen entweder durch Nachweisverfahren gemäß einer europäischen Produktnorm, einer europäischen technischen Zulassung oder gemäß Festlegung in den Komponentenspezifikationen (Abschnitte 5.2.7.2, 5.3.7.2, 5.4.7.2, 5.5.7.2, 5.6.7.2 und 5.7.7.2) identifiziert werden.

Identifizierung umfasst auch die Herstellerspezifizierung hinsichtlich der Abstände zwischen stützenden Profilen oder Rahmenelementen, Anzahl und Anordnungen von mechanischen Befestigungselementen usw. (sofern zutreffend).

5.2 Nachweisverfahren für Platten und für Matten

Abschnitt 5.2 dieser ETA-Leitlinie enthält Nachweisverfahren für Platten und Matten als Komponenten von Brandschutzbausätzen und für Brandschutzplatten und -matten als einzelne Produkte (siehe Abschnitt 2.4).

5.2.0 Allgemeines

Die Leistungsmerkmale für Platten sollten gemäß europäischen technischen Spezifikationen für die betreffenden Platten nachgewiesen werden unter Berücksichtigung der:

sofern diese ETA-Leitlinie keine Produktmerkmale (einschließlich Identifizierung, Gebrauchstauglichkeit und Dauerhaftigkeit) umfasst, die nicht durch diese europäischen technischen Spezifikationen erfasst sind.

Falls es keine derartigen technischen Spezifikationen gibt, sind die in diesem Absatz angegebenen Spezifikationen für Nachweiszwecke zu verwenden.

Die hier berücksichtigten Produkte und Bausatzkomponenten sind nur dann Gegenstand der nachfolgenden Nachweisverfahren, sofern die entsprechenden Eigenschaften dieser Produkte und Bausatzkomponenten relevant für die Verwendung(en) sind. Eigenschaften, für die die Option "keine Leistung festgestellt" nicht gilt, sind immer nachzuweisen (siehe ETA-Leitlinie Teil 1, Tabelle 6.1).

5.2.2 ER 2: Brandschutz

5.2.2.1 Brandverhalten

Im Allgemeinen gelten eine oder mehrere der folgenden Optionen. Gewisse Endnutzungen einiger Produkte können jedoch nicht zufriedenstellend unter Anwendung von EN 13501-1:2002 klassifiziert werden (z.B. Fassaden).

Die SBI-Prüfung ist gemäß EN 13823 durchzuführen unter Berücksichtigung der Vorgaben zum Anbringen und Befestigen, die im Anhang B dieses Teils beschrieben sind.

Anmerkung: Auf freiwilliger Basis kann der ETA-Antragsteller andere montierte Systeme prüfen lassen. Diese zusätzlichen Prüfergebnisse werden dann von der Zulassungsstelle in die ETa aufgenommen.

5.2.2.2 Feuerwiderstand

Brandschutzplatten oder -matten sind von dieser ETA-Leitlinie erfasst, wenn mindestens ein Ergebnis einer Feuerwiderstandsprüfung verfügbar ist, in Übereinstimmung mit den Bestimmungen der ETA-Leitlinie Teil 1.

Brandschutzplatten oder -matten, die Teil von normalen Gebäudeversorgungseinrichtungen oder Rauchkontrollsystemen sind, sind unter Anwendung des für die entsprechende Feuerwiderstandsanwendung relevanten Prüfverfahrens zu prüfen, um nach prEN 13501-3 oder -4 2 klassifiziert werden zu können.

Feuerwiderstandsprüfungen werden an montierten Systemen durchgeführt, die aus der Platte oder Matte und anderen Konstruktionsteilen (z.B. stützender Rahmen, Klebemittel, Befestigungselemente, Fugenmaterial usw.) bestehen, die für die Installation des Systems nach den Spezifikationen des Herstellers notwendig sind, wie es vom ETA-Antragsteller in der Praxis verwendet wird.

Der Prüfbericht muss die Produktmerkmale aller für die Installation des Systems notwendigen Produkte enthalten.

5.2.3 ER 3: Hygiene, Gesundheit und Umweltschutz

5.2.3.1 Wasserdurchlässigkeit

Die Platten und Matten sind gemäß EN 12467, Abschnitt 7.3.3 zu prüfen.

5.2.3.2 Abgabe gefährlicher Stoffe

Siehe ETA-Leitlinie Teil 1.

5.2.4 ER 4: Nutzungssicherheit

5.2.4.1 Biegesteifigkeit

Die Platten und Matten sind gemäß EN 12467, Abschnitt 7.3.2 (nicht verformbare Platten) bzw. EN 12089 (verformbare Platten und Matten) zu prüfen.

5.2.4.2 Maßhaltigkeit

Die nicht verformbaren und verformbaren Platten und Matten sind gemäß EN 318 (nicht verformbare Platten) bzw. EN 1604 (verformbare Platten und Matten) zu prüfen.

5.2.6 ER 6: Energieeinsparung und Wärmeschutz

5.2.6.1 Wärmedurchlasswiderstand

Die nicht verformbaren und verformbaren Platten und Matten sind gemäß EN 12664, EN 12667 bzw. EN 12939 zu prüfen.

5.2.6.2 Wasserdampfdiffusionswiderstandszahl

Die nicht verformbaren und verformbaren Platten und Matten sind gemäß EN ISO 12572 (nicht verformbare Platten) bzw. EN 12086 (verformbare Platten und Matten) zu prüfen. Diese Eigenschaft hängt auch eng mit ER 3 zusammen.

5.2.7 Aspekte der Dauerhaftigkeit, Gebrauchstauglichkeit und Identifizierung

5.2.7.1 Anforderungen hinsichtlich der Dauerhaftigkeit und Gebrauchstauglichkeit

5.2.7.1.1 Zusammenhang zwischen Dauerhaftigkeit und Nutzungsdauer

Unter der Berücksichtigung, dass nicht alle Produkte und Bausätze, die in Verkehr gebracht sind, für eine lange Nutzungsdauer vorgesehen werden, unterscheidet diese ETA-Leitlinie zwischen drei Näherungsverfahren:

Zusätzlich ist die Dauerhaftigkeit der Haftung von Beschichtungen (sofern vorhanden) gesondert nachzuweisen.

5.2.7.1.2 Vollständige Beurteilung der Dauerhaftigkeit

Zufrieden stellendes Verhalten bei den folgenden Prüfungen führt zu einer Annahme der Nutzungsdauer des Produkts von 25 Jahren. Die vorgesehene Kategorie der Wetterbeanspruchung ist von dem zufrieden stellenden Verhalten bei den folgenden Prüfungen abhängig. Die vollständige Beurteilung der Dauerhaftigkeit erfolgt durch künstliche Alterung.

5.2.7.1.2.1 Beständigkeit gegen Wassereinfluss

Diese Prüfung braucht nur für vorgesehene Verwendungszwecke von Typ X und Typ Z1 durchgeführt zu werden. Typ Y und Typ Z2 sind zu prüfen, wenn mehr als eine zufällige Benetzung zu erwarten ist.

Die nicht verformbaren und verformbaren Platten sind gemäß EN 12467, Abschnitt 7.3.4 zu prüfen.

5.2.7.1.2.2 Beständigkeit gegen Durchfeuchtung/Austrocknen

Diese Prüfung braucht nur für vorgesehene Verwendungszwecke von Typ X und Typ Z1 durchgeführt zu werden. Typ Y und Typ Z2 sind zu prüfen, wenn mehr als eine zufällige Benetzung zu erwarten ist.

Die nicht verformbaren und verformbaren Platten sind gemäß EN 12467, Abschnitt 7.3.5 zu prüfen.

5.2.7.1.2.3 Beständigkeit gegen Frost/Tau-Wechsel

Diese Prüfung braucht nur für vorgesehene Verwendungszwecke von Typ X und Typ Z1 durchgeführt zu werden. Typ Y und Typ Z2 sind zu prüfen, wenn innerhalb des Gebäudes Frost zu erwarten ist.

Die nicht verformbaren und verformbaren Platten sind gemäß EN 12467, Abschnitt 7.4.1 zu prüfen.

5.2.7.1.2.4 Beständigkeit gegen Hitze/Regen

Diese Prüfung braucht nur für Verwendungszwecke von Typ X und Typ Z1 durchgeführt zu werden. Typ Y und Typ Z2 sind zu prüfen, wenn mehr als eine zufällige Benetzung zu erwarten ist.

Die nicht verformbaren und verformbaren Platten sind gemäß EN 12467, Abschnitt 7.4.2 zu prüfen.

5.2.7.1.3 Grundlegende Beurteilung der Dauerhaftigkeit

Zufrieden stellendes Verhalten bei den folgenden Prüfungen führt zu einer Annahme der Nutzungsdauer des Produkts von 10 Jahren. Die grundlegende Beurteilung der Dauerhaftigkeit erfolgt durch indirekte Prüfung, d.h. Messung von "stellvertretenden" Merkmalen, die mit der tatsächlichen Leistung und somit der Dauerhaftigkeit in Wechselbeziehung gebracht werden.

Anmerkungen:

5.2.7.1.4 Darlegung von 10-jährigen positiven Erfahrungen von Anwendungen

Für den Fall, dass das Produkt oder die Bausatzkomponente nicht die Anforderungen der Abschnitte 5.2.7.1.2 und 5.2.7.1.3 erfüllen, hat der Antragsteller der ETa die Möglichkeit, eine überprüfbare Dokumentation vorzulegen, die beweist, dass das betroffene Produkt mindestens 10 Jahre benutzt wurde. Die Anforderungen an die überprüfbare Dokumentation sollten durch die Zulassungsstelle fallweise festgelegt werden, zumindest aber Folgendes enthalten:

Auf der Basis der vorgelegten, überprüfbaren Dokumentation darf die Zulassungsstelle die Verwendung des in der ETa spezifizierten Produkts begrenzen. Falls die Zulassungsstelle feststellt, dass die Nachweise ausreichend sind, ist die Nutzungsdauer mit 10 Jahren in der ETa anzugeben.

Anmerkung: Werden Zulassungsstellen mit ETA-Antragstellern konfrontiert, die die oben genannten Möglichkeiten erfolgreich anwenden, werden diese Zulassungsstellen gebeten, den Obmann der Arbeitsgruppe zu informieren. Eine Sammlung solcher Daten könnte für die Erstellung der fortzuschreibenden Dokumentation "progress file" genutzt werden, aber auch zur Anpassung an die grundlegenden Anforderungen der Dauerhaftigkeit dienen (siehe Abschnitt 5.2.7.1.3).

5.2.7.1.5 Haftung von Belägen

Die Haftung von Belägen ist gemäß EN 24624 zu bestimmen.

5.2.7.2 Identifizierung

Anmerkung: In Übereinstimmung mit Abschnitt 9.1.1 der ETA-Leitlinie Teil 1 darf die Zulassungsstelle zusätzliche Informationen verlangen und auch andere Nachweisverfahren anwenden.

5.2.7.2.1 Länge, Breite

Die Abmessungen sind gemäß EN 12467, Abschnitt 5.3.2 (nicht verformbare Platten) bzw. EN 822 (verformbare Platten) festzulegen.

5.2.7.2.2 Dicke

Die Dicke ist gemäß EN 12467, Abschnitt 5.3.3 (nicht verformbare Platten) bzw. EN 823 (verformbare Platten) festzulegen.

5.2.7.2.3 Maßtoleranzen

Die Maßtoleranzen sind gemäß EN 12467, Abschnitt 5.3.4 (nicht verformbare Platten) bzw. EN 13162 (verformbare Platten) festzulegen.

5.2.7.2.4 Form

Die Form ist gemäß EN 12467, Abschnitt 5.3.5 (nicht verformbare Platten) bzw. EN 824 (verformbare Platten) festzulegen.

5.2.7.2.5 Rohdichte

Die Rohdichte ist gemäß EN 12467, Abschnitt 5.4.2 (für nicht verformbare Platten) bzw. EN 1602 (verformbare Platten) festzulegen.

5.2.7.2.6 Beläge

Alle Beläge sind jeweils mit dem entsprechenden Hinweis 3 zu identifizieren auf der Grundlage von:

Auf jeden Fall sind wesentliche Eigenschaften (mechanische, physikalische, chemische, ...) und deren Toleranzen anzugeben. Wenn die oben aufgeführten Produktspezifikationen keine Prüfverfahren zur Identifizierung festlegen, dann sollten die verwendeten Prüfverfahren auf europäischen Normen, internationalen Normen, technischen Berichten der EOTA, UEAtc-Leitlinien, Nordtest-Normen oder Prüfverfahren von RILEM basieren 4.

Schließlich ist auch eine Formulierung, ein spezifischer Hinweis des Herstellers oder Ähnliches zu akzeptieren.

Anmerkung: Beläge mit dämmschichtbildenden Materialien sind in Anhang C erfasst.

5.3 Nachweisverfahren für Komponenten: mechanische Befestigungselemente

5.3.0 Allgemeines

Die Leistungsmerkmale für mechanische Befestigungselemente sollten gemäß den europäischen technischen Spezifikationen für die betreffenden mechanischen Befestigungselemente nachgewiesen werden unter Berücksichtigung der:

sofern diese ETA-Leitlinie keine Produktmerkmale (einschließlich Identifizierung, Gebrauchstauglichkeit und Dauerhaftigkeit) umfasst, die nicht von solchen europäischen technischen Spezifikationen erfasst sind.

Falls es keine derartigen technischen Spezifikationen gibt, sind für den Nachweis die Spezifikationen zu verwenden, auf die im vorliegenden Absatz verwiesen wird.

Die hier berücksichtigten Bausatzkomponenten sind nur dann Gegenstand der nachfolgenden Nachweisverfahren, sofern die entsprechenden Eigenschaften dieser Bausatzkomponenten relevant für die Verwendung(en) sind. Eigenschaften, für die die Option "keine Leistung festgestellt" nicht gilt, sind immer nachzuweisen (siehe ETA-Leitlinie Teil 1, Tabelle 6.1).

5.3.2 ER 2: Brandschutz

5.3.2.1 Brandverhalten

Im Allgemeinen gelten eine oder mehrere der folgenden Optionen. Gewisse Endnutzungen einiger Produkte können jedoch nicht zufrieden stellend unter Anwendung von EN 13501-1:2002 klassifiziert werden (z.B. Fassaden).

5.3.3 ER 3: Hygiene, Gesundheit und Umweltschutz

5.3.3.1 Abgabe gefährlicher Stoffe

Siehe ETA-Leitlinie Teil 1.

5.3.4 ER 4: Nutzungssicherheit

5.3.4.1 Mechanische Festigkeit und Standsicherheit (von mechanischen Befestigungselementen)

5.3.4.1.1 Ausreißfestigkeit des Befestigungssystems

Dieses Prüfverfahren ist nur für mechanisch befestigte Systeme durchzuführen. Es wird damit die Ausreißfestigkeit eines mechanischen Befestigungselements ermittelt. Diese Prüfung ist auf jedem Untergrund durchzuführen, für den die Bausätze aus Brandschutzplatten verwendet werden sollen.

Die Prüfung wird an 5 Probekörpern durchgeführt, deren Abmessungen jeweils mindestens 300 ± 20 mm betragen.

Die Prüfvorrichtung besteht aus: .

Der jeweilige Untergrund und das mechanische Befestigungselement werden vor der Prüfung bei (23 ± 2) °C und einer relativen

Luftfeuchte von (50 ± 5) % bis zur Gewichtskonstanz konditioniert, d.h. bis zwei aufeinanderfolgende Messungen in einem Mindestabstand von 24 h um weniger als 0,1 % voneinander abweichen.

Das mechanische Befestigungselement wird gemäß den Angaben des Herstellers installiert.

Die Prüfung ist bei (20 ± 10) °C und (50 ± 20) % RF durchzuführen. Die Zugfestigkeit für das Ausreißen der mechanischen Befestigungselemente ist mit einem Dynamometer zu messen. Die Zuggeschwindigkeit beträgt (20 ± 2) mm/min. Die Lasteinleitung ist zu steuern.

Die maximale Ausreißfestigkeit bei jeder Prüfung wird in N ausgedrückt. Die Prüfergebnisse, die Art des Versagens und der Mittelwert werden im Prüfbericht festgehalten.

Bild 5: Prinzipieller Aufbau für Ausreißfestigkeiten von Befestigungselementen

5.3.7 Aspekte der Dauerhaftigkeit, Gebrauchstauglichkeit und Identifizierung

5.3.7.1 Anforderungen hinsichtlich der Dauerhaftigkeit und Gebrauchstauglichkeit

Das Verhalten von Befestigungssystemen kann durch Korrosion und Beschädigung der Beschichtung beeinflusst werden. Es ist daher Folgendes zu berücksichtigen:

5.3.7.1.1 Korrosion

Wenn die in Abschnitt 6.3.7.1.1 angegebenen Bedingungen erfüllt sind, sind keine besonderen Prüfbedingungen erforderlich. Wenn das mechanische Befestigungselement unter besonders aggressiven Bedingungen oder in einer Umgebung mit extremer chemischer Verschmutzung verwendet werden soll, sind besondere Überlegungen erforderlich, um in der Prüfanordnung die Umgebungsbedingungen und die vorhandene Prüferfahrung (Prüfpraxis) zu berücksichtigen.

5.3.7.1.2 Beschichtung

Die Dauerhaftigkeit der Beschichtung, die die Eignung für die vorgesehene Anwendung und das Tragverhalten des mechanischen Befestigungselements sicherstellt, muss nachgewiesen werden. In der vorliegenden ETA-Leitlinie sind keine besonderen Prüfbedingungen zur Überprüfung der Dauerhaftigkeit irgendwelcher Beschichtungen angegeben, da diese von der Art der Beschichtung abhängt. Geeignete Prüfungen sollten von der zuständigen Zulassungsstelle festgelegt werden.

Bei der Beurteilung der Dauerhaftigkeit von Beschichtungen müssen folgende Randbedingungen berücksichtigt werden:

Trockene Bedingungen in Innenräumen

Sonstige Umgebungsbedingungen

Zinkbeschichtungen (galvanisiert oder feuerverzinkt) brauchen keiner Prüfung unterzogen zu werden, wenn sie unter trockenen Bedingungen in Innenräumen verwendet werden.

5.3.7.2 Identifizierung

Die folgenden Eigenschaften sind von der Zulassungsstelle zu bestätigen:

Anmerkung: In Übereinstimmung mit Abschnitt 9.1.1 der ETA-Leitlinie Teil 1 darf die Zulassungsstelle zusätzliche Informationen verlangen und auch andere Nachweisverfahren anwenden.

weiter .

umwelt-online - Demo-Version


(Stand: 28.08.2021)

Alle vollständigen Texte in der aktuellen Fassung im Jahresabonnement
Nutzungsgebühr: ab 105.- € netto

(derzeit ca. 7200 Titel s.Übersicht - keine Unterteilung in Fachbereiche)

Preise & Bestellung

Die Zugangskennung wird kurzfristig übermittelt

? Fragen ?
Abonnentenzugang/Volltextversion