umwelt-online: DIN 18516_1 Anforderungen, Prüfgrundsätze (2)
![]() |
zurück | ![]() |
7.2.2 Unterkonstruktion
Folgende Metalle dürfen ohne besonderen Korrosionsschutznachweis verwendet werden:
Für andere Korrosionsschutzsysteme ist ein Eignungsnachweis vorzulegen.
7.2.3 Verankerungs-, Verbindungs- und Befestigungselemente
7.2.3.1 Als Verankerungs-, Verbindungs- und Befestigungselemente dürfen ohne besonderen Korrosionsschutznachweis verwendet werden:
7.2.3.2 Für Verankerungen dürfen ohne besonderen Korrosionsschutznachweis verwendet werden: nichtrostende Stähle nach DIN EN 10088-1 bis DIN EN 10088-3, DIN 17455, DIN 17456, Werkstoffnummern 1.4401, 1.4571, mechanische Verbindungselemente nach DIN EN ISO 3506-1 bis DIN EN ISO 3506-3, Stahlgruppe A4.
Dübel, Ankerschienen usw. dürfen nur angewendet werden, wenn deren Brauchbarkeit besonders nachgewiesen worden ist, z.B. durch eine allgemeine bauaufsichtliche Zulassung.
7.3 Bauteile aus Holz
Holz und Holzwerkstoffe sind nach DIN 68800-1 bis DIN, 68800-3 und DIN 68800-5 zu schützen.
7.4 Wärmedämmung
Zur Wärmedämmung bei hinterlüfteten Außenwandbekleidungen dürfen nur genormte oder bauaufsichtlich zugelassene Dämmstoffe gewählt werden. Bezüglich der Wärmebrücken ist 4.2 zu beachten.
Dämmplatten sind dichtgestoßen, im Verband und so zu verlegen, daß keine Hohlräume zwischen Untergrund und Dämmschicht entstehen. Sie sind durch im Mittel 5 Dämmstoffhalter je m2 mechanisch zu befestigen und dicht an begrenzende Bauteile anzuschließen.
Wenn auf Untergründen Dämmplatten nicht mechanisch befestigt werden können, sind die Dämmplatten aufzukleben, dabei müssen Faserdämmplatten dem Anwendungstyp WV nach DIN 18165-1 entsprechen, um eine ausreichende Abreißfestigkeit zu erreichen.
7.5 Verträglichkeit unterschiedlicher Baustoffe
Durch konstruktive Maßnahmen und Wahl geeigneter Baustoffe muß sichergestellt sein, daß schädigende Einwirkungen z.B. verschiedener Baustoffe untereinander - auch ohne direkte Berührung, insbesondere in Fließrichtung des Wassers - ausgeschlossen sind. Kontakt- und Spaltkorrosion ist z.B. durch elastische Zwischen- oder Gleitschichten, Bitumendachbahnen, Kunststoff-Folien zu vermeiden.
| Prüfgrundsätze für Verbindungen, Befestigungen und Verankerungen | Anhang A (normativ) |
A1 Allgemeines
Die Prüfung gilt nur für Verbindungen von Bekleidungen und Unterkonstruktionen untereinander, von Befestigungen der Bekleidungen auf Unterkonstruktionen und für direkte Verankerung im Bereich der Bekleidungen.
Die zu prüfenden Verankerungs-, Verbindungs- und Befestigungsbereiche an der Bekleidung bzw. Unterkonstruktion sind unter statisch ungünstigen Annahmen bei Abweichungen der Achs- und Randabstände von 10% unter Aufsicht einer anerkannten Prüfstelle herzustellen.
Sind die Versagenskriterien nicht bekannt, müssen sie durch einen Bauteilversuch festgestellt werden. Anschließend ist die Tragfähigkeit der Verbindungen, Befestigungen und Verankerungen durch Einzelteilversuche zu ermitteln. Weisen Bauteilversuch und Einzelteilversuche unterschiedliche Versagenskriterien auf, sind weitere Versuche durchzuführen. Die Versuchsergebnisse sind nach A.3.1 bzw. A.3.2 statistisch auszuwerten.
A.2 Prüfung der Tragfähigkeit der Verbindungen, Befestigungen und Verankerungen in der Bekleidung durch Bauteilversuche
Zur Feststellung der Versagensart und -last ist der Bauteilversuch mit der gleichen Befestigung und Verbindung wie bei der auszuführenden Bekleidung und Unterkonstruktion mit deren ungünstigster Abmessung und Befestigungsart unter Berücksichtigung der größtmöglichen Verformung durchzuführen.
Zur Simulation der Winddruck- und Sogbelastung ist die Bekleidung senkrecht zu ihrer Ebene mit einer konstanten Flächenlast zu beanspruchen, z.B. mit Hilfe eines Foliensackes.
A.3 Einzelteilversuche
A.3.1 Prüfung auf Abscheren
An Prüfkörpern aus Bekleidung und Unterkonstruktion sind mindestens je 10 Scherversuche nach Bild A.1 durchzuführen. Bei der Prüfung sind die kleinsten vorgesehenen Randabstände amin bzw. bminund die kleinsten Verbindungs- und Befestigungsmittelabstände in Übereinstimmung mit der Ausführung einzuhalten. An den Prüfkörpern mit den geringeren Bruchlasten sind so viele Versuche zu ergänzen, daß für eine statistische Auswertung mindestens 10 Versuchsergebnisse vorliegen.
Nach der statistischen Auswertung sind die Versuchsergebnisse im Verhältnis
zu korrigieren.
Bei Verbindungen und Befestigungen von Teilen der Außenwandbekleidung, die unter Berücksichtigung der Verankerung etwa gleich steif sind, sind die Versuche nach Bild A.1 .b) durchzuführen. Ist ein Teil gegenüber dem anderen fast starr, sind die Versuche nach Bild A.1 .c) durchzuführen. Liegen die wirklichen Verhältnisse zwischen denen der Bilder A.1 .c) und A.1 .d), sind beide Versuche durchzuführen.
A.3.2 Prüfung auf Zug
An Prüfkörpern aus Bekleidung und Unterkonstruktion sind mindestens 10 Versuche unter Zugbeanspruchung durchzuführen.
Wenn beim Bauteilversuch nach 8.1 das Versagen durch die Unterkonstruktion beeinflußt wird, sind die Versuche nach Bild A.2.a) bzw. Bild A.2.b) durchzuführen. In allen anderen Fällen dürfen sie nach Bild A.3 durchgeführt werden.
ANMERKUNG:
Die Befestigungsmittel können beim Zugversuch durch Abreißen, Ausreißen aus der Unterkonstruktion oder durch Durchknöpfen bzw. Durchstanzen durch die Bekleidung versagen. Eine Stützwirkung durch die Versuchsanordnung kann in der Regel ausgeschlossen werden, wenn dR bzw. l mindestens D + 5 ist, wobei D der Durchmesser des Kopfes des Befestigungsmittels sowie die Dicke der Bekleidung ist. Ein Einfluß durch die Verformung der Prüfkörper wird vermieden, wenn die Stützweite dR bzw. l so gewählt wird, daß kein Biegeversagen eintritt.
dR bzw. l sind so festzulegen, daß günstige Einflüsse auf die Ergebnisse durch die Stützwirkung der Versuchsanordnung oder durch Verformungen der Prüfkörper ausgeschlossen werden.
An den Prüfkörpern sind so viele Versuche durchzuführen, daß für eine statistische Auswertung mindestens 10 Versuchsergebnisse vorliegen.
Nach der statistischen Auswertung sind die Versuchsergebnisse im Verhältnis
zu korrigieren.
Bild A.1: Einzeiteilversuche für Scherbeanspruchung an der Bekleidung mit Unterkonstruktion bzw. Unterkonstruktionsteilen (Beispiele)
| a) Ansicht | b) Ansicht |
![]() |
![]() |
1 Bekleidungselement
2 Unterkonstruktion
| c) Schnitt, Fall 1 | d) Schnitt, Fall 2 |
![]() |
![]() |
FQ Scherkraft
aminkleinster vorgesehener Randabstand der Bekleidung
bminkleinster vorgesehener Randabstand der Unterkonstruktion
s1 Dicke der Bekleidung
s2 Dicke der Unterkonstruktion
A.3.3 Grenzwerte für Schrägzug
Werden Verbindungs-, Befestigungs- und Verankerungsstellen durch Schrägzug beansprucht, so darf entsprechend dem Verhältnis von maximal zulässiger Scherkraft zu maximal zulässiger Auszugskraft die zulässige Schrägzugkraft ermittelt werden (siehe Bild A.4).
Alternativ dürfen diese Werte auch durch Versuche festgestellt werden.
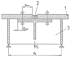
Bild A.2: Prüfung der Befestigung einer Bekleidung auf einer Unterkonstruktion (Beispiele)
| a) Prüfung im Stoßbereich einer Bekleidung
|
1 Bekleidung
2 Distanzstück 3 Rohrabschnitt 4 Unterkonstruktion Fz Zugkraft aminkleinster vorgesehener Randabstand der Bekleidung bminkleinster vorgesehener Randabstand der Unterkonstruktion dR Durchmesser des Rohrabschnitts |
| b) Prüfung im mittleren Bereich einer Bekleidung
|
Bild A.3: Prüfung der Befestigung (Beispiele)
| a) Prüfung in der Bekleidung
b) Prüfung in der Unterkonstruktion
|
1 Bekleidung
2 Unterkonstruktion FZ Zugkraft l Stützweite des Prüfkörpers aminkleinster vorgesehener Randabstand der Bekleidung bminkleinster vorgesehener Randabstand der Unterkonstruktion dR Durchmesser des Rohrabschnitts |
Bild A.4: Beispiel für die Ermittlung der Schrägzugkraft S

A.4 Allgemeines bauaufsichtliches Prüfzeugnis
In einem allgemeinen bauaufsichtlichen Prüfzeugnis über die Prüfung von Verbindungen und Befestigungen sind anzugeben: Baustoffe, Maße und Festigkeiten der Bekleidungen, Unterkonstruktionen, Verbindungen, Befestigungen und Verankerungen mit den eventuell erforderlichen Unterlegscheiben, deren Anzugsmomente, z.B. bei gewindeformenden Schrauben, Lastverformungsdiagramme, die Prüfergebnisse unter Angabe der statistischen Verteilung usw. sowie die statistische Auswertung der ermittelten Festigkeiten und Maße der geprüften Teile durch die Prüfstellen und Vergleich mit den Angaben der Hersteller.
Die Prüfergebnisse sind mit dem 5%-Quantil bei einem Vertrauensniveau von 75% mit einer Stichprobenanzahl von mindestens 10 auszuwerten.
| Bauvorlagen | Anhang B (normativ) |
In den Ausführungsplänen sind anzugeben:
| Prüfanforderungen für kleinformatige Bekleidungsplatten außerhalb der Handwerksregeln | Anhang C (normativ) |
C.1 Allgemeines
Auch für Bekleidungsplatten mit einer Fläche < 0,4 m2 und einer Eigenlast< 5 kg, deren Verwendung nicht durch anerkannte Handwerksregeln4 abgedeckt ist, weil sie sich durch das Material, die Formgebung und/oder die Art der Befestigung von diesen unterscheiden, ist deren ausreichende Tragfähigkeit durch Versuche zu belegen.
Es wird davon ausgegangen, daß derartige Platten an vier Punkten zwängungsfrei gelagert sind (ein Festpunkt, drei Gleitpunkte, Aufnahme der Eigenlast an zwei Punkten).
C.2 Erforderliche Versuche
Durch je 10 Versuche sind für die vorgesehenen Befestigungsvarianten bei starrer Lagerung die Biegetragfähigkeit der Bekleidungsplatten, deren örtliche Tragfähigkeit im Befestigungsbereich und bei sprödbrechenden Platten deren Montagesicherheit (durch Aufbringen einer Zugkraft im Bereich eines nicht mit dem Ankergrund verbundenen Befestigungspunktes) nachzuweisen.
Weiterhin ist das Zusammenwirken der Platten mit der Unterkonstruktion in einem Bauteilversuch an einem repräsentativen Ausschnitt der Konstruktion unter Flächenbelastung in Windsogrichtung zu untersuchen.
Die Biegebruchlast der Bekleidungsplatten (Materialkennwert) in Positiv- und Negativlage ist in je 10 Dreipunktbiegeversuchen festzustellen. Es können ganze Platten oder repräsentative Ausschnitte daraus geprüft werden. Im Regelfall werden Plattenabschnitte mit einer Breite von 200 mm bei einer Feldweite von 300 mm geprüft.
Sofern das Tragverhalten der Befestigungselemente nicht nach Normen nachgewiesen werden kann, ist es in den maßgebenden Lastrichtungen (zentrische Zug-, Querzug- und Schrägzugrichtung) in je 10 Einzelversuchen unter Berücksichtigung ungünstiger möglicher Einflüsse infolge von Maßabweichungen, unterschiedlicher Kantenausbildungen, Längenänderungen (unterschiedliche Temperatur und/oder Feuchte) und Montageeinflüssen zu ermitteln (zum Beispiel ist bei metallischen Befestigungsklammern der Einfluß unterschiedlicher Einbindetiefen der Bekleidungsplatten in die Befestigungsklammern festzustellen).
C.3 Durchführung der Versuche und Auswertung
Bei der Durchführung der Versuche und deren Auswertung sind die Abschnitte A.1 und A.4 zu berücksichtigen.
Die Versuche dürfen nur von Prüfstellen durchgeführt werden, die berechtigt sind, für den Bereich "Außenwandbekleidungen, hinterlüftet" bauaufsichtliche Prüfzeugnisse zu erstellen.
C.4 Neue Baustoffe und neue Befestigungselemente
Für neue Baustoffe und/oder aus verschiedenen Komponenten zusammengesetzte Verbundplatten und andere Befestigungselemente als Schrauben, Niete und Metallklammern sind zusätzliche Versuche zum Nachweis deren grundsätzlicher Eignung durchzuführen. Diese müssen für den jeweiligen Einzelfall, in der Regel im Rahmen eines Zulassungsverfahrens, festgelegt werden.
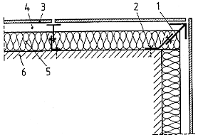
| Beispiel zur Ausführung und Anordnung einer Windsperre | Anhang D (informativ) |
Bild D.1: Beispiel einer Windsperre (Prinzipskizze)
![]() |
1 Windsperre
2 Verankerung 3 Bekleidung 4 Luftraum 5 Wärmedämmung 6 tragende Wand |
| Literaturhinweise | Anhang E (informativ) |
Normen der Reihe DIN 4102
Brandverhalten von Baustoffen und Bauteilen
Normen der Reihe DIN 4108
Wärmeschutz im Hochbau
DIN 4109
Schallschutz im Hochbau - Anforderungen und Nachweise
DIN 18351
Allgemeine Technische Vertragsbedingungen für Bauleistungen (ATV) - Fassadenarbeiten
DIN 18800-2
Stahlbauten - Stabilitätsfälle - Knicken von Stäben und Stabwerken
DIN 18800-3
Stahlbauten - Stabilitätsfälle - Plattenbeulen
DIN 18800-4
Stahlbauten - Stabilitätsfälle - Schalenbeulen
DIN 18807-1
Trapezprofile im Hochbau - Stahltrapezprofile - Allgemeine Anforderungen, Ermittlung der Tragfähigkeitswerte durch Berechnung
DIN 18807-2
Trapezprofile im Hochbau - Stahltrapezprofile - Durchführung und Auswertung von Tragfähigkeitsversuchen
DIN 18807-3
Trapezprofile im Hochbau - Stahltrapezprofile - Festigkeitsnachweis und konstruktive Ausbildung
DIN 18807-6
Trapezprofile im Hochbau - Aluminium-Trapezprofile und ihre Verbindungen - Ermittlung der Tragfähigkeitswerte durch Berechnung
DIN 18807-7
Trapezprofile im Hochbau - Aluminium-Trapezprofile und ihre Verbindungen - Ermittlung der Tragfähigkeitswerte durch Versuche
DIN 18807-8
Trapezprofile im Hochbau - Aluminium-Trapezprofile und ihre Verbindungen - Nachweis der Tragsicherheit und Gebrauchstauglichkeit
DIN 18807-9
Trapezprofile im Hochbau - Teil 9: Aluminium Trapezprofile und ihre Verbindungen - Anwendung und Konstruktion
DIN EN 1936
Aluminium und Aluminiumlegierungen - Bandbeschichtete Bleche und Bänder für allgemeine Anwendungen - Spezifikationen; Deutsche Fassung EN 1936:1996
Verordnung über einen energiesparenden Wärmeschutz bei Gebäuden (Wärmeschutzverordnung - WärmeschutzV) vom 16.08.1994 BGBl. I, 1994, Nr. 55, Seiten 2121 bis 2132.
Regeln des Zentralverbandes des Deutschen Dachdeckerhandwerks
_________________________
1) siehe "Richtlinie Wärmebrücken bei vorgehängten hinterlüfteten Fassaden", zu beziehen durch Fachverband Baustoffe und Bauteile für vorgehängte hinterlüftete Fassaden e. V (FVHF), 10898 Berlin
2) siehe FVHF - Focus 4 "Die Schalldämmung mit vorgehängten hinterlüfteten Fassaden", zu beziehen durch den Fachverband Baustoffe und Bauteile für vorgehängte hinterlüftete Fassaden e. V. (FVHF), 10898 Berlin
3) z.B. nach Hees, Zuber
4) Zum Beispiel Regeln des Zentralverbandes des Deutschen Dachdeckerhandwerkes. Zu beziehen über die Verlagsgesellschaft Rudolf Müller, Stolberger Straße 76, 50933 Köln.
![]() |
ENDE | ![]() |
(Stand: 25.07.2018)
Alle vollständigen Texte in der aktuellen Fassung im Jahresabonnement
Nutzungsgebühr: ab 105.- € netto
(derzeit ca. 7200 Titel s.Übersicht - keine Unterteilung in Fachbereiche)
Die Zugangskennung wird kurzfristig übermittelt
? Fragen ?
Abonnentenzugang/Volltextversion