Für einen individuellen Ausdruck passen Sie bitte die
Einstellungen in der Druckvorschau Ihres Browsers an.
Regelwerk

DIN 18516-3 Teil 3: Außenwandbekleidungen, hinterlüftet - Naturwerkstein Anforderungen, Bemessung

Ersatz für Ausgabe 1990-01


Veröffentlichung: ABl. Nr. 16 vom 08.11.2001 S. 1031, 1068

Vorwort

Diese Norm wurde vom NABau Arbeitsausschuß "Außenwandbekleidungen, hinterlüftet, Naturwerkstein" erarbeitet. DIN 18516 "Außenwandbekleidungen, hinterlüftet" besteht aus:

Änderungen

Gegenüber der Ausgabe Januar 1990 wurden folgende Änderungen vorgenommen: '

  1. Die Norm wurde insbesondere in den Abschnitten 4, 5 und 6 dem Stand der Technik angepaßt.
  2. In Abschnitt 5.4 wurde die Befestigung mit Steckdornen aufgenommen.
  3. Die Norm wurde insgesamt redaktionell überarbeitet.

Frühere Ausgaben

DIN 18516-3: 1990-01,

1 Anwendungsbereich

Diese Norm gilt in Verbindung mit DIN 18516-1 für hinterlüftete Außenwandbekleidungen aus. Naturwerkstein mit den in Abschnitt 5 genannten Befestigungen für Plattendicken ≥ 30 mm. Sie gilt sinngemäß auch für Bekleidungen an Ingenieur-Bauten.

2 Normative Verweisungen

Diese Norm enthält durch datierte oder undatierte Verweisungen Festlegungen aus anderen Publikationen. Diese normativen Verweisungen sind an den jeweiligen Stellen im Text zitiert, und die Publikationen sind nachstehend aufgeführt. Bei datierten Verweisungen gehören spätere Änderungen oder Überarbeitungen dieser Publikationen nur zu dieser Norm, falls sie durch Änderung oder Überarbeitung eingearbeitet sind. Bei undatierten Verweisungen gilt die letzte Ausgabe der in Bezug genommenen Publikation. `

Normen der Reihe DIN 105

Mauerziegel

DIN 106-1

Kalksandstein - Vollsteine, Lochsteine, Blocksteine, Hohlblocksteine

DIN 106-2

Kalksandsteine - Vormauersteine und Verblender

DIN 1045 :1988-07

Beton und Stahlbeton= Bemessung und Ausführung

DIN 1053-1

Mauerwerk - Teil 1: Berechnung und Ausführung

DIN 1164-1

Zement - Teil 1: Zusammensetzung, Anforderungen

DIN 4108-3

Wärmeschutz im Hochbau - Klimabedingter Feuchteschutz - Anforderungen und Hinweise für Planung und Ausführung

DIN 4165

Porenbeton - Blocksteine und Porenbeton - Plansteine

DIN 18332

VOB Verdingungsordnung für - Bauleistungen - Teil C: Allgemeine Technische Vertragsbedingungen für Bauleistungen (ATV); Naturwerksteinarbeiten

DIN 18516-1

Außenwandbekleidungen, hinterlüftet - Teil 1: Anforderungen, Prüfgrundsätze

DIN 18540

Abdichten von Außenwandfugen im Hochbau mit Fugendichtstoffen

DIN 18555-1

Prüfung von Mörteln mit mineralischen Bindemitteln - Allgemeines, Probenahme, Prüfmörtel

DIN 52104-1

Prüfung von Naturstein - Frost-Tau-Wechsel-Versuch - Verfahren a bis O

DIN V 52106

Prüfung von Naturstein und Gesteinskörnungen - Untersuchungsverfahren zur Beurteilung der Verwitterungsbeständigkeit

DIN 52112

Prüfung von Naturstein - Biegeversuch

DIN 53505

Prüfung von Kautschuk, Elastomeren und Kunststoffen - Härteprüfung nach Shore a und Shore D

DIN EN 10088-2

Nichtrostende Stähle - Teil 2: Technische Lieferbedingungen für Blech und Band für allgemeine Verwendung; Deutsche Fassung EN 10088-2:1995

DIN EN 10088-3

Nichtrostende Stähle - Teil 3: Technische Lieferbedingungen für Halbzeug, Stäbe, Walzdraht und Profile für allgemeine Verwendung; Deutsche Fassung EN 10088-3 :1995

DIN EN 24032

Sechskantmuttern - Typ 1; Produktklassen a und B (ISO 4032:1986); Deutsche Fassung EN 24032:1991 E

DIN EN 13364

Prüfverfahren für Naturstein - Bestimmung der Ausbruchlast am Ankerdornloch; Deutsche Fassung prEN 13364:1998

Normen der Reihe DIN EN ISO 3506

Mechanische Eigenschaften von Verbindungselementen aus nichtrostenden Stählen; Deutsche Fassung EN ISO 3506:1997

3 Naturwerksteinplatten

3.1 Allgemeines

Die zur Verwendung kommenden Naturwerksteinplatten sind nach 3.2 bis 3.4 zu prüfen.

3.2 Biegeversuch Nach DIN 52112.

3.3 Ausbruchlast am Ankerdornloch

Nach E DIN EN 13364.

3.4 Dauerhaftigkeit

Die jeweilige Eignung des zur Verwendung kommenden Naturwerksteins ist auf Widerstandsfähigkeit gegen Witterungseinflüsse nach DIN V 52106 und DIN 52104-1, Verfahren A, mit 25 Frost-Tau-Wechseln nachzuweisen, sofern keine ausreichenden Erfahrungen vorliegen..

4 Bemessung der Platten

4.1 Allgemeines

Für Naturwerksteinplatten und deren Befestigungselemente ist ein statischer Nachweis zu führen.

Die Plattendicke beträgt bei Befestigungen nach Abschnitt 5 und einer Neigung der Platte gegen die Horizontale von

α > 60°: mindestens 30 mm und

α ≤ 60°: mindestens 40 mm.

Die zulässige Biegespannung und Ausbruchlast ist aus den Prüfungen nach Abschnitt 3 unterstatistischer Auswertung (5 %-Ouantil bei einem Vertrauensniveau von 75 % und 3facher Sicherheit) mit mindestens 10 Versuchen zu ermitteln, siehe auch Anhang A.

4.2 Erhöhungsfaktor bei Eigenlasten

Bei horizontalen und bis 85° gegen die Horizontale geneigten Platten ist wegen Verringerung der Biegefestigkeit und der Ausbruchlast des Befestigungselements infolge Dauerlasteinwirkung, Schwingungen, Erschütterungen und dynamischer Beanspruchungen ein Erhöhungsfaktor zu berücksichtigen. Beim statischen Nachweis ist die Eigenlast der Platten mit dem Erhöhungsfaktor 2,5 zu multiplizieren.

Dieser Faktor ist nur bei Lastkomponenten zu berücksichtigen, die in den nachzuweisenden Platten Biegespannungen hervorrufen.

Der Erhöhungsfaktor setzt sich aus folgenden Faktoren zusammen:

Dauerlastfaktor χ = 1,2
Schwingbeiwert Φ = 1,4
Ermüdungsfaktor ψ = 1,5

Von diesen Faktoren darf abgewichen werden, wenn der Nachweis für den jeweiligen Faktor geführt wird.

4.3 Leibungsplatten

4.3.1 Leibungsplatten dürfen auch an anderen Bekleidungsplatten (Mutterplatten) verankert werden. Eine Verklebung darf in statischer Hinsicht nicht in Rechnung gestellt werden.

4.3.2 Die Leibungsplatte und der Einfluß der Leibung auf die Mutterplatte sind statisch nachzuweisen.

4.3.3 Die Befestigungs- und Verbindungselemente der Leibung sind statisch nachzuweisen.

4.3.4 Leibungsplatten dürfen nach Bild 2 mit Steckdornen und Winkelverbindungen befestigt werden. Für den statischen Nachweis der Befestigung ist mit der doppelten Dornausbruchlast bei gleicher Materialüberdeckung zu rechnen.

Zwängungen infolge Temperaturdifferenzen sind beim statischen Nachweis zu berücksichtigen. Zur Ermittlung der Zwängungskräfte ist abweichend zu 4.5 ein Temperaturunterschied zwischen Verankerungs- und Leibungsplatte von ± 35 K zu berücksichtigen.

Auf den Nachweis der Zwängungen kann beim Einsatz eines Haltewinkels verzichtet werden.

Bei der, Ermittlung der Kräfte und Schnittgrößen in der Mutter- und Leibungsplatte sind die Steifigkeiten der verwendeten Winkel zu berücksichtigen.

4.4 Durchbiegung

Für die rechtwinklig zur Plattenebene wirkende Komponente der Eigenlast darf die Durchbiegung 1/500 der Stützweite nicht überschreiten. Ist der Elastizitätsmodul (E-Modul) nicht bekannt, ist die Durchbiegung durch Versuche zu ermitteln.

4.5 Zusatzlasten aus Temperaturdifferenzen und Zwängung

Abweichend von DIN 18516-1 ist bei Fassadenflächen, deren Platten untereinander Kraftschluß besitzen, z.B. durch beidseitig eingemörtelte Ankerdorne, für die Verschiebung der Ankerköpfe eine Schwankung der Plattenmitteltemperatur von ± 35 K gegenüber dem Einbauzustand einzusetzen. Hierfür darf als Wärmedehnzahl der Platten αT = 0,000 01 mm/(mmK) eingesetzt werden. Dieser Wert berücksichtigt auch Quellerscheinungen.

Bei gleitfähiger Auflagerung der Platten ist die Reibungskraft des Platten-Eigengewichtsanteiles auf den gleitenden Ankerteil in den Ankernachweis aufzunehmen.

5 Befestigung der Platten

5.1 Anordnung der Befestigungspunkte

Die Platten werden im Regelfall an vier mindestens jedoch an drei Punkten befestigt, mit Ausnahme von Leibungsplatten, siehe auch Anhang A.

Die Befestigungspunkte sind so anzuordnen, daß sich die Platten beim Auftreten von Temperatur- und Feuchtegradienten zwangfrei verwölben können.

5.2 Befestigung von Ausbauteilen

Fenster, Türen, Beleuchtungs- und Werbeanlagen sowie Gerüste und ähnliches dürfen nicht an den Naturwerksteinplatten befestigt werden.

5.3 Befestigung der Platten mit Ankerdornen

5.3.1 Einbinden der Ankerdorne in die Plattenstirnflächen

Die Ankerdorne greifen in gebohrte Ankerdornlöcher der Plattenstirnflächen.

Der Regelabstand der Plattenecke bis Mitte Dornloch ist das 2,5fache der Plattendicke: Bei kleineren Abständen ist ein Nachweis für die zulässige Lastaufnahme zu führen.

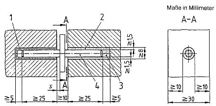
Die Steindicke zwischen Dornloch und Plattenfläche muß mindestens 10 mm betragen, siehe Schnitt A-a in Bild 1. Der Durchmesser des gebohrten Dornloches muß etwa 3 mm größer sein als der Durchmesser des Ankerdornes.

5.3.2 Durchmesser des Ankerdornes

Für die Bemessung der Ankerdorne darf vereinfacht eine freie Kraglänge von 70% der Spaltbreite zwischen Ankersteg und Plattenkante zugrunde gelegt werden. Die Stoffkennwerte der Ankerdorne sind entsprechend der allgemeinen bauaufsichtlichen Zulassung Z-30.3-6 für Bauteile und Verbindungselemente aus nichtrostenden Stählen zu bezeichnen.

5.3.3 Einbindetiefe der Ankerdorne

Die Ankerdorne sind mindestens 25 mm tief in die Platten einzubinden.

5.3.4 Einbau von Gleithülsen

Zum Ausgleich der Temperaturbewegungen der Platten werden Gleithülsen aus Polyacetal (POM) in die Ankerdornlöcher mit geeignetem Klebstoff oder Zementleim eingesetzt. Der Reibungsbeiwert zur Ankerbemessung ist mit µ; = 0,4 anzunehmen, sofern kein anderer Nachweis erbracht wird. Die Länge der Gleithülsen muß mindestens 5 mm größer sein als die Ankerdorneinbindetiefe. Das Bewegungsspiel von mindestens 2 mm zwischen Ankersteg und Platte mit Gleithülsen ist einzuhalten (siehe Bild 1).

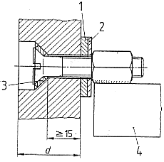
5.4 Steckdorne

Die Platten erhalten eine Bohrung rechtwinklig zur Plattenebene zum Einführen eines Gewindebolzens und ein Bohrloch parallel zur Plattenebene zum Einführen des Steckdornes mit einem Durchmesser von 5 mm bis 8 mm. Die erforderliche Länge des Steckdornes ergibt sich aus dem Maß der Bohrung für den Gewindebolzen und der beidseitigen Einbindung in die Platten von jeweils mindestens 25 mm (siehe Bild 2).

Als zulässige Last am Gewindebolzen ist der 2fache Wert nach 3.3 am Ankerdornloch anzusetzen.

Der zur Verwendung kommende Steckdorn muß folgende Materialeigenschaften aufweisen:

  1. Gewindebolzen M8 bis M12;
  2. Dorndurchmesser von 5 mm bis 8 mm, Verfestigungsstufe C 700 nach DIN EN 10088-2, Bohrlochdurchmesser 8 mm bis 10 mm im Naturstein;
  3. Mutter M8 bis M12 nach DIN EN 24032.

Bild 1: Gleithülsen

1 Gleithülse

2 Dornloch

3 Zementleim

4 Dorn

s Spaltbreite 2 mm ≤ s < 10 mm


Bild 2: Beispiel einer Steckdornbefestigung

Zur Sicherstellung der Befestigung ist die Steckdornverbindung mit einem geeigneten Drehmoment anzuziehen. Dieses Drehmoment wird ermittelt analog der Ermittlung der zulässigen Ausbruchlast unter Verwendung aller der am Objekt eingesetzten Befestigungs- und Verbindungselemente sowie der vorgesehenen Bohrlochgeometrie der Leibungsplatten vor Ort.

5.5 Befestigung der Platten mit Schraubankern

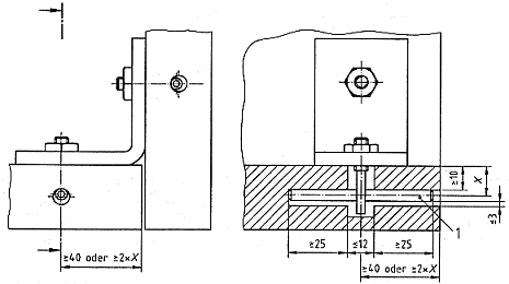
Zur Befestigung am Ankersteg dürfen auch Schrauben verwendet werden. Hierbei darf der Schraubenkopf bis zur halben Plattendicke versenkt werden.

Für Traganker ist mindestens M10, für Halteanker M8 erforderlich: Werkstoff austenitische Stähle der Stahlsorte A4 und der Festigkeitsklasse 70 nach DIN EN ISO 3506. Der Randabstand der Bohrlochachse in, der Platte muß mindestens das 2,5fache. der Plattendicke betragen.

Unter dem Schraubenkopf und auf der Rückseite der Platte sind elastische Unterlegscheiben- aus EPDM,

Shore-A-Härte 40 bis 60 (geprüft nach DIN 53505), zu verwenden und eine Unterlegscheibe aus nichtrostendem Stahl einzulegen.

Als zulässige Last am Schraubankerloch darf unter den vorgenannten Bedingungen der 2fache Wert nach 3.3 am Ankerdornloch angesetzt werden (siehe Bild 3).

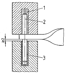
5.6 Nutlagerung

In den Plattenkanten darf: eine. Nut für Tragteile eingeschnitten werden. Die Steinrestdicke auf beiden Seiten muß mindestens 10 mm betragen. Die Nut muß 3 mm größer sein als der eingelassene Profilsteg. Dieser muß mit einem Profilband aus EPDM überzogen sein. Die Auflagelänge des. Profilstegs muß mindestens 50 mm betragen. Es gilt 5.1 sinngemäß.

Als Nutausbruchfestigkeit darf bei senkrecht stehenden Platten ohne besonderen Nachweis die Ausbruchfestigkeit eines Ankerdornloches mit gleichem Achsabstand und gleichem Restquerschnitt zum belasteten Rand angenommen werden (siehe Bild 4).

Bild 3: Trag- und Halteanker

Maße in Millimeter

1 Unterlegscheibe aus EPDM

2 Unterlegscheibe aus nichtrostendem Stahl

3 Trichterscheibe aus EPDM

4 Ankersteg


Bild 4: Verankerung der Platten über Profilstege

Maße in Millimeter

1 Profilband aus EPDM

2 Profilsteg


6 Verankerung der Platten

6.1 Allgemeines

Die Verankerung der Naturwerksteinplatten erfolgt im Regelfall mit Ankern unmittelbar am Rohbau oder verschweißt bzw. verschraubt mit Unterkonstruktionen. Der Ankerdorn ist im Ankersteg eingelassen.

6.2 Lasterhöhung für die Ankerbemessung bei geneigten und horizontalen Platten

Für den Nachweis der Verankerung in statischer Hinsicht ist bei einer Einmörtelung der Erhöhungsfaktor für die Zuglast nach 4.2 zu berücksichtigen; bei anderer Verankerung genügt ein Erhöhungsfaktor von 1,4.

6.3 Werkstoffe

Die Anker und Dorne müssen aus nichtrostenden Stählen nach DIN EN 10088-3, Werkstoffnummern 1.457:1 und 1.4401, bestehen. Die in die Platten eingreifenden Dorne müssen mindestens der Festigkeitsklasse S 355 nach der Zulassung Z-30.3-6 entsprechen.

6.4 Eingemörtelte Verankerungen (siehe auch Anhang A)

6.4.1 Ankerform

Trag- und Halteanker besitzen üblicherweise einen Rechteckquerschnitt, sie können aber auch vom Rechteckquerschnitt abweichen.

Traganker, die Längs- und Querkräfte aufnehmen; müssen im Verankerungsbereich gedreht (siehe Bild 5), gespreizt (siehe Bild 6) oder gewellt (siehe Bild 7) sein, wenn die horizontale Zugkraft 25 % der Summe des inneren Kräftepaares (siehe Bild 9) im Auflager überschreitet.

Traganker in horizontalen Fugen sind mit gedrehtem Ankerkopf auszubilden (siehe Bild 8). Der Ankerkopf kann aber auch gequetscht (zum Beispiel beim Rund- oder Rohrquerschnitt) oder als Winkel angeschweißt sein. Halteanker, die Längskräfte aus Zug- und Druckbelastung aufnehmen, müssen im Verankerungsbereich gewellt sein (siehe Bild 7).

6.4.2 Nachweis der Sicherheit der Verankerung gegen Auszug

Wenn die aufwärts gebohrte Bohrlochachse mehr als 15° zur Horizontalen geneigt ist, z.B. Überkopf-Montage, sind die zulässigen Zugkräfte am Anker unter Berücksichtigung von 6.4.3.1 nachzuweisen. Hierfür sind nur gewellte Anker zulässig (siehe Bild 7). Bei anderen Neigungen sind für die Traganker auch gespreizte oder gedrehte Ankerenden zulässig.

6.4.3 Verankerungsgrund

6.4.3.1 Allgemeines

Es gelten die zulässigen Kräfte nach 6.4.3.2 bzw. 6.4.3.3, wenn die Anker in Beton > B 15 und s B 55 nach DIN 1045 oder in Mauerwerk nach DIN 1053-1, Steinformat maximal 2DF und Mörtelgruppe 11, bei folgenden Steinarten eingemörtelt werden:

Für andere Mauerwerksarten gelten die in 6.4.3.3 genannten Lasten nicht. Sie sind für das jeweilige Mauerwerk gesondert zu ermitteln (Ausziehen bzw. Durchstanzen), siehe auch Anhang A.

Bild 5: Tragankerende 40° bis 90° gedreht

Maße in Millimeter

1 Druckverteilungsplatte

b Länge der Druckverteilungsplatte

bd Bohrlochdurchmesser

bt Bohrlochtiefe

t0 Ankereinbindetiefe


Bild 6: Traganker gespreizt

Maße in Millimeter

1 Druckverteilungsplatte

b Länge der Druckverteilungsplatte

bd Bohrlochdurchmesser

bt Bohrlochtiefe

t0 Ankereinbindetiefe


Bild 7: Trag- und Halteanker gewellt

Maße in Millimeter

bd Bohrlochdurchmesser

bt Bohrlochtiefe

t0 Ankereinbindetiefe


Bild 8: Traganker in horizontalen Fugen

Maße in Millimeter

1 Dornloch

2 Dorn

3 Gleithülse


6.4.3.2 Verankerungen im Beton

Die zulässigen Zugkräfte zul FZ für Anker in einem Beton ≥ B 15 und ≤ B 55 nach DIN 1045 sind - abhängig von der Betonfestigkeitsklasse, Ankerart und Montage - in Tabelle 1 angegeben. Sie gelten nur bei Einhaltung folgender Maße:

Ankereinbindetiefe t0 ≥ 80 mm
Bauteildicke ≥ 120 mm
Achsabstand der Anker a ≥ 320 mm
Achsabstand der Anker zu Bauteilrändern ar ≥ 160 mm
Werden bei zwei benachbarten Ankern die zulässigen Zugkräfte der Tabellen 1 und 2
nur zu 2/3 ausgenutzt, dürfen der Achsabstand der Anker auf a
≥ 100 mm
und a ≥ 3facher Bohrlochdurchmesser und der Achsabstand der Anker zu Bautenrändern auf ar ≥ 120 mm
verringert werden, sofern keine Kraftkomponente zum Rand gerichtet ist. Der Achsabstand der
Anker zu bewehrten Bauteilrändern darf bei diesen Voraussetzungen ar
≥ 80 mm

betragen. Das Bohrloch darf die Randarmierung nicht anschneiden.

Werden die zulässigen Zugkräfte nur zu 1/2 ausgenutzt und im übrigen die üblichen Achsabstände der Anker eingehalten, darf der Achsabstand der Anker zu bewehrten Bauteilrändern auf ar ≥ 80 mm verringert werden, auch wenn eine Lastkomponente zum Rand gerichtet ist, siehe auch Anhang A.

Der Achsabstand der Anker ar zu unbewehrten Bauteilrändern muß, falls eine Lastkomponente zum Rand gerichtet ist, mindestens 320 mm betragen. Dies ist bei Stahlbetonbauteilen nicht erforderlich.

Tabelle 1: Zulässige Zugkräfte zul FZ für Anker in Beton

 

Art des Ankers

zul FZ
bei Beton B15 bei Beton B 25
und ≤ B 55
kN
Traganker 4,9 7,0
Halteanker 2,5 3,5
Trag- oder Halteanker bei Überkopfmontage 1,5 2,5

Für Druckkräfte gelten die gleichen Werte, wenn die Anker gewellt sind und damit bedingt ein Durchstanzen verhindert wird.

6.4.3.3 Verankerungen, im Mauerwerk

Die zulässigen Zugkräfte zul FZ . für Anker in einem Mauerwerk nach 6.4.3.1 sind - abhängig von der Ankereinbindetiefe - in Tabelle 2 angegeben. Sie gelten nur bei Einhaltung folgender Maße:

  • Ankereinbindetiefe t0
 
  • bei Halteankern
≥ 80 mm
 
  • bei Tragankern
≥ 120 mm
 
  • Bauteildicke
≥ 240 mm

≥ 1,5 x t0

 
  • Achsabstand der Anker a
≥ 300 mm
 
  • Achsabstand der Anker zu Bauteilrändern ar
≥ 115 mm

Tabelle 2: Zulässige Zugkräfte zul FZ für Anker in Mauerwerk nach 6.4.3.1

t0 mm 80 100 110 120 130 140 150
zul FZkN 1,1 1,4 1,5 1,7 1,8 2,0 2,1

Werden bei zwei benachbarten Ankern die in Tabelle 2 genannten zulässigen Zugkräfte auf 50% der Werte reduziert, so darf der Achsabstand a auf 150 mm verringert werden. Für Druckkräfte gelten die gleichen Werte, wenn die Anker gewellt sind (siehe Bild 7) und wenn damit bedingt ein Durchstanzen verhindert wird.

6.4.4 Bohrloch im Verankerungsgrund

Bei Verankerungen in Beton und Mauerwerk darf der Bohrlochdurchmesser 50 mm nicht überschreiten, um die zulässigen Zugkräfte nach Tabelle 1 und Tabelle 2 zu erreichen. Die Ankereinbindetiefe muß mindestens das 2fache des Bohrlochdurchmessers betragen. Die Bohrlochtiefe muß mindestens 5 mm größer als die Ankereinbindetiefe sein.

6.4.5 Aussparungen

Vorgefertigte Aussparungen sind gewellt oder hinterschnitten herzustellen. Für die Ankereinbindetiefe gilt 6.4.3.2. Schalungsreste der Aussparungen müssen zur Haftverbesserung des Ankermörtels vollständig entfernt werden.

6.4.6 Rechnerische Einbindetiefe

Die rechnerische Einbindetiefe für Traganker darf höchstens das 6fache der Ankersteghöhe betragen. Bei der Ermittlung der Auflagerkräfte im Verankerungsgrund darf vereinfachend angenommen werden, daß der gegenseitige Abstand der Auflagerkräfte 2/3 der rechnerischen Einbindetiefe beträgt (siehe Bild 9).

6.5 Einsetzen der Anker

6.5.1 Allgemeines

Vor dem Bohren der Ankerlöcher ist die Wärmedämmung auf etwa 150 mm x 150 mm auszuschneiden und nach dem Einmörteln der Anker das ausgeschnittene Stück Wärmedämmung wieder einzukleben.

Vor dem Einsetzen der Anker ist das Bohrloch vom Bohrstaub zu säubern, ausreichend vorzunässen und mit Mörtel zu füllen.

Nach dem Einsetzen der Anker ist der Mörtel nachzuverdichten und bündig am Untergrund abzustreichen. Der Mörtel- muß Mörtelgruppe III nach DIN 1053-1 entsprechen und aus 1 Raumteil CEM 42,5 R bzw. CEM 52,5 R (siehe DIN 1164-1) und aus 3 Raumteilen Natursand mit der Korngröße 0/4 bestehen. "

Es darf auch ein hierfür zugelassener Schnellzement verwendet werden.

Die Anker dürfen erst nach den in Tabelle 3 angegebenen Fristen belastet werden. Diese Fristen sind um die Dauer der Temperaturen unter 5 °C in der Erhärtungszeit des Mörtels zu verlängern. Bei Temperaturen des Verankerungsgrundes oder der Platten unter 5 °C dürfen Anker nicht eingesetzt werden.

Bild 9: Rechnerische Einbindetiefe

a) Ermittlung der Auflagerkräfte im Verankerungsgrund

b) System für Auflagerdrücke

Begrenzung für q2, bezogen auf die Steglänge q1 ≥ q2

wobei q1 = V1/b; q2 = V2/c;

b rechnerische Auflagerlänge bei V1
c rechnerische Auflagerlänge bei V2
FV rechnerisch angreifende Vertikalkraft
k Ankerkraglänge
t0 Ankereinbindetiefe
V1 und V2 Auflagerkräfte im Verankerungsgrund
q1 und q2 Querkräfte


weiter .

umwelt-online - Demo-Version


(Stand: 04.07.2022)

Alle vollständigen Texte in der aktuellen Fassung im Jahresabonnement
Nutzungsgebühr: ab 105.- € netto

(derzeit ca. 7200 Titel s.Übersicht - keine Unterteilung in Fachbereiche)

Preise & Bestellung

Die Zugangskennung wird kurzfristig übermittelt

? Fragen ?
Abonnentenzugang/Volltextversion