Für einen individuellen Ausdruck passen Sie bitte die
Einstellungen in der Druckvorschau Ihres Browsers an.
Regelwerk, Bau, DIN

Trapezprofile im Hochbau Stahltrapezprofile
DIN 18807-1/A1 - Allgemeine Anforderungen, Ermittlung der Tragfähigkeitswerte durch Berechnung, Änderung A1

Stand 2002
(AllMBl. Nr. 15 vom 20.12.2002 S. 1085)


ICS 91.010.30; 91.080.10

Veröffentlichung: AllMBl. Nr. 15 vom 20.12.2002 S. 1085

Änderungen von DIN 18807-1:1987-06

Vorwort

DIN 18807-1:1987-06 wird wie folgt ergänzt:

Änderungen

Der erste Absatz im Abschnitt 1 ist wie folgt zu ergänzen:

Diese Norm regelt in gleicher Weise die Verwendung von Kassettenprofiltafeln, die beispielhaft in Bild 1.1 und Bild 2.1 dargestellt sind. Regelungen, die ausschließlich Kassettenprofiltafeln betreffen, werden in dieser Änderung angegeben.

Der Abschnitt 3.3.4 ist entsprechend anzuwenden. Zusätzlich darf die Vorkrümmung der schmalen Gurte (Obergurte) der Kassettenprofiltafeln nicht größer als 1/300 der Profiltafellänge sein.

Der Abschnitt 6 wird wie folgt ergänzt:

Bei Kassettenprofiltafeln ist der Nachweis grundsätzlich durch Versuche nach DIN 18807-2 in Verbindung mit den "Ergänzenden Prüfgrundsätzen für Kassettenprofiltafeln" 1 zu führen.

"Während der Montage" bezeichnet bei Kassettenprofiltafeln den Zustand, bei dem diese noch nicht mit der Unterkonstruktion und miteinander verbunden sind.


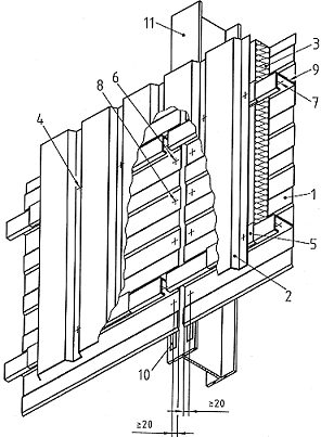
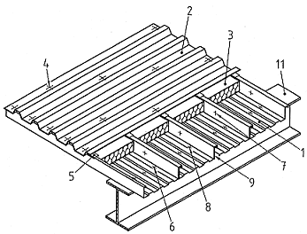
Bild 1.1- Beispiel für ein flach geneigtes Dach auf Stahlbinder Bild 2.1 - Beispiel für eine Wandkonstruktion
(1) Kassettenprofiltafeln, bandverzinkt und/oder kunststoffbeschichtet

(2) Außenschale (direkt mit den Kassettenprofiltafeln verbunden),
bandverzinkt und kunststoffbeschichtet

(3) Wärmedämmung

(4) Verbindungselement (Außenschale mit Kassettenprofiltafeln)

(5) Trennstreifen bei Bedarf

(6) Verbindungselement für Auflager (Schraube öder Setzbolzen)

(7) Verbindungselement für Steg

(8) konstruktive Verbindung

(9) Dichtungsband (Längsstoßüberlappung)

(10) Dichtungsband

(11) Unterkonstruktion (Rahmenriegel bzw. Binder oder Stützen)

1) Das Dokument "Ergänzende Prüfgrundsätze für Kassettenprofiltafeln" ist abgedruckt in den "Mitteilungen des DIBt", Heft 2, 1998, und ist zu beziehen beim Verlag Ernst und Sohn, Bühringstr. 10, 13086 Berlin.

umwelt-online - Demo-Version


(Stand: 04.07.2022)

Alle vollständigen Texte in der aktuellen Fassung im Jahresabonnement
Nutzungsgebühr: ab 105.- € netto

(derzeit ca. 7200 Titel s.Übersicht - keine Unterteilung in Fachbereiche)

Preise & Bestellung

Die Zugangskennung wird kurzfristig übermittelt

? Fragen ?
Abonnentenzugang/Volltextversion