umwelt-online: Entscheidung 2002/730/EG über die technische Spezifikation für die Interoperabilität des Teilsystems "Instandhaltung" des transeuropäischen Hochgeschwindigkeitsbahnsystems gemäß Art.6 Absatz 1 der RL 96/48/EG (2)
![]() |
zurück | ![]() |
| Bewertungsverfahren (Module) | Anhang III |
III.1 Modul a (interne Fertigungskontrolle)
Konformitätsbewertung von Interoperabilitätskomponenten
Die Erklärung muss in derselben Sprache wie die technischen Unterlagen abgefasst sein und folgende Angaben enthalten:
III.2. Modul SB (EG-Bauartprüfung) EG-Prüfung des Teilsystems Instandhaltung
1. Dieses Modul beschreibt den Teil des EG-Prüfverfahrens, bei dem eine benannte Stelle auf Verlangen eines Auftraggebers oder seines in der Gemeinschaft ansässigen Bevollmächtigten prüft und bestätigt, dass ein für die betreffende Produktion repräsentatives Muster des Teilsystems Instandhaltung
2. Der Antrag auf EG-Prüfung (durch Bauartprüfung) des Teilsystems ist vom Auftraggeber oder seinem in der Gemeinschaft ansässigen Bevollmächtigten bei einer benannten Stelle seiner Wahl einzureichen.
Der Antrag muss Folgendes enthalten:
3. Der Antragsteller stellt der benannten Stelle ein für die betreffende Produktion repräsentatives Muster des Teilsystems (im folgenden als "Baumuster" bezeichnet) zur Verfügung.
Ein Baumuster kann mehrere Varianten des Teilsystems abdecken, sofern die Unterschiede zwischen den Varianten die Bestimmungen der TSI nicht verletzen.
Die benannte Stelle kann weitere Muster verlangen, wenn sie diese für die Durchführung des Prüfungsprogramms benötigt.
Falls es für spezifische Prüf- oder Untersuchungsmethoden erforderlich und in der TSI oder den in Artikel 10 der Richtlinie 96/48/EG genannten europäischen Spezifikationen vorgeschrieben ist, sind außerdem eines oder mehrere Muster einer Unterbaugruppe oder Baugruppe oder ein Muster des Teilsystems in vormontiertem Zustand bereitzustellen.
Die technischen Unterlagen müssen das Verständnis von Entwurf, Herstellung, Installation und Funktionsweise des Teilsystems ermöglichen und eine Bewertung der Übereinstimmung mit den Anforderungen der Richtlinie 96/48/EG und der TSI erlauben. Sie müssen in dem für die Bewertung erforderlichen Maße Entwurf, Fertigung und Funktionsweise des Teilsystems abdecken.
Sie müssen enthalten:
Falls die TSI weitere technische Unterlagen vorschreiben, sind diese hinzuzufügen.
4. Die benannte Stelle:
4.1 prüft die technischen Unterlagen;
4.2 überprüft, wenn die TSI eine Entwurfsprüfung vorschreibt, die Entwurfsmethoden, -werkzeuge und -ergebnisse daraufhin, ob sie geeignet sind, am Ende des Entwurfsprozesses die Konformitätsanforderungen an das Teilsystem zu erfüllen;
4.3 überprüft, wenn die TSI Baumusterprüfungen vorschreiben, ob das (die) Baumuster des Teilsystems oder der Baugruppen bzw. Unterbaugruppen des Teilsystems, die zur Durchführung der Versuche erforderlich sind, in Übereinstimmung mit den technischen Unterlagen hergestellt wurde(n), und führt die entsprechenden Bauartprüfungen gemäß den Bestimmungen der TSI oder der entsprechenden europäischen Spezifikationen durch oder lässt sie durchführen;
4.4 stellt fest, welche Elemente nach den einschlägigen Bestimmungen der TSI oder der in Artikel 10 der Richtlinie 96/48/EG genannten europäischen Spezifikationen und welche nicht nach diesen Bestimmungen entworfen wurden;
4.5 führt die entsprechenden Untersuchungen und erforderlichen Prüfungen nach den Nummern 4.2 und 4.3 durch oder lässt sie durchführen, um festzustellen, ob die gewählten Lösungen die Anforderungen der TSI erfüllen, sofern die einschlägigen, in der TSI genannten europäischen Spezifikationen nicht angewandt wurden;
4.6 führt die entsprechenden Untersuchungen und erforderlichen Prüfungen nach den Nummern 4.2 und 4.3 durch oder lässt sie durchführen, um festzustellen, ob die einschlägigen europäischen Spezifikationen eingehalten wurden, sofern sich der Antragsteller für die Anwendung dieser Spezifikationen entschieden hat;
4.7 vereinbart mit dem Antragsteller den Ort, an dem die Untersuchungen und erforderlichen Prüfungen durchgeführt werden sollen.
5. Entspricht das Baumuster den Bestimmungen der Richtlinie 96/48/EG und der TSI, so stellt die benannte Stelle dem Antragsteller eine Bauartprüfbescheinigung aus. Die Bescheinigung enthält Name und Anschrift des Auftraggebers und des (der) Hersteller(s), Ergebnisse der Prüfung, etwaige Bedingungen für die Gültigkeit der Bescheinigung und die zur Identifizierung der zugelassenen Bauart erforderlichen Angaben.
Die Geltungsdauer beträgt maximal drei Jahre.
Ein Verzeichnis der wichtigen technischen Unterlagen wird der Bescheinigung beigefügt und in einer Kopie von der benannten Stelle aufbewahrt.
Lehnt die benannte Stelle es ab, dem Auftraggeber oder seinem in der Gemeinschaft ansässigen Bevollmächtigten eine EG-Bauartprüfbescheinigung auszustellen, so gibt sie dafür eine ausführliche Begründung.
Es ist ein Einspruchsverfahren vorzusehen.
6. Der Antragsteller unterrichtet die benannte Stelle, der die technischen Unterlagen zur EG-Bauartprüfbescheinigung vorliegen, über alle Änderungen an dem zugelassenen Teilsystem, die einer neuen Zulassung bedürfen, soweit diese Änderungen die Übereinstimmung mit den Anforderungen der Richtlinie 96/48/EG und der TSI oder den vorgeschriebenen Bedingungen für die Benutzung des Teilsystems beeinträchtigen können. Diese neue Zulassung wird in Form einer Ergänzung der ursprünglichen Bauartprüfbescheinigung erteilt. Alternativ kann eine neue EG-Bauartprüfbescheinigung ausgestellt werden, nachdem die ursprüngliche Bescheinigung außer Kraft gesetzt wurde.
7. Wenn keine Änderungen nach Nummer 6 vorgenommen wurden, kann die Gültigkeit einer auslaufenden Bescheinigung um eine weitere Geltungsdauer verlängert werden. Der Antragsteller beantragt die Verlängerung durch eine schriftliche Erklärung, dass keine derartigen Änderungen vorgenommen wurden, und die benannte Stelle verlängert die Bescheinigung um die Geltungsdauer nach Nummer 5, sofern keine abweichenden Informationen vorliegen. Dieses Verfahren kann wiederholt werden.
8. Jede benannte Stelle macht den übrigen benannten Stellen einschlägige Angaben über die entzogenen bzw. abgelehnten EG-Bauartprüfbescheinigungen.
9. Die übrigen benannten Stellen erhalten auf Anfrage Kopien der Bauartprüfbescheinigungen und/oder der Ergänzungen. Die Anhänge der Bescheinigungen sind für die übrigen benannten Stellen zur Verfügung zu halten.
10. Der Auftraggeber oder sein in der Gemeinschaft ansässiger Bevollmächtigter müssen bei den technischen Unterlagen Kopien der Bauartprüfbescheinigungen und der Ergänzungen während der gesamten Lebensdauer des Teilsystems aufbewahren und anderen Mitgliedstaaten auf Verlangen übermitteln.
III.3 Modul SD (Qualitätssicherung Produktion)
EG-Prüfung des Teilsystems Instandhaltung
1. Dieses Modul beschreibt das EG-Prüfverfahren, bei dem eine benannte Stelle auf Verlangen eines Auftraggebers oder seines in der Gemeinschaft ansässigen Bevollmächtigten prüft und bestätigt, dass das Teilsystem Instandhaltung, für das bereits eine EG-Bauartprüfbescheinigung von einer benannten Stelle ausgestellt wurde,
Die benannte Stelle führt das Verfahren unter der Bedingung durch, dass der Auftraggeber und die beteiligten Hersteller die Verpflichtungen in Nummer 2 erfüllen.
2. Für das Teilsystem, das dem EG-Prüfverfahren unterzogen wird, darf der Auftraggeber nur mit Herstellern zusammenarbeiten, die für ihre Aktivitäten im Zusammenhang mit dem zu prüfenden Teilsystem (Herstellung, Montage, Installation) ein zugelassenes Qualitätssicherungssystem für Entwurf, Herstellung sowie Endabnahme und Prüfung nach Nummer 3 unterhalten, das der Überwachung nach Nummer 4 unterliegt.
Der Ausdruck "Hersteller" im Sinne der Bestimmungen umfasst auch Firmen, die
Der Generalunternehmer, der für das gesamte Teilsystemprojekt (vor allem für die Integration des Teilsystems) verantwortlich ist, muss in jedem Fall ein zugelassenes Qualitätssicherungssystem für Herstellung sowie Endabnahme und Prüfung nach Nummer 3 unterhalten, das der Überwachung nach Nummer 4 unterliegt.
Falls der Auftraggeber direkt an der Produktion (einschließlich Montage und Installation) beteiligt ist oder der Auftraggeber selbst für das gesamte Teilsystemprojekt (vor allem für die Integration des Teilsystems) verantwortlich ist, muss er für diese Aktivitäten ein zugelassenes Qualitätssicherungssystem nach Nummer 3 unterhalten, das der Überwachung nach Nummer 4 unterliegt.
3. Qualitätssicherungssystem
3.1 Der (die) beteiligte(n) Hersteller und gegebenenfalls der Auftraggeber beantragen bei einer benannten Stelle ihrer Wahl die Bewertung ihrer Qualitätssicherungssysteme. Der Antrag muss Folgendes enthalten:
Hersteller, die nur an einem Teil des Teilsystemprojekts beteiligt sind, müssen nur die Informationen für diesen spezifischen Teil vorlegen.
3.2 Beim Generalunternehmer muss das Qualitätssicherungssystem die Gesamtübereinstimmung des Teilsystems mit der in der Bauartprüfbescheinigung beschriebenen Bauart und die Gesamtübereinstimmung des Teilsystems mit den Anforderungen der TSI gewährleisten. Bei anderen Herstellern (Subunternehmern) muss das Qualitätssicherungssystem die Übereinstimmung des jeweiligen Beitrags zum Teilsystem mit der in der Bauartprüfbescheinigung beschriebenen Bauart und mit den Anforderungen der TSI gewährleisten.
Alle von den Antragstellern berücksichtigten Grundlagen, Anforderungen und Vorschriften sind systematisch und ordnungsgemäß in Form schriftlicher Regeln, Verfahren und Anweisungen zusammenzustellen. Diese Unterlagen über das Qualitätssicherungssystem sollen sicherstellen, dass die Qualitätssicherungsgrundsätze und -verfahren wie z.B. Qualitätssicherungsprogramme, -pläne, -handbücher und -berichte einheitlich ausgelegt werden.
Sie müssen insbesondere eine angemessene Beschreibung folgender Punkte bei allen Antragstellern enthalten:
Die Untersuchungen, Kontrollen und Prüfungen müssen sich auf folgende Phasen erstrecken:
3.3 Die in Nummer 3.1 erwähnte benannte Stelle bewertet das Qualitätssicherungssystem, um festzustellen, ob es die in Nummer 3.2 genannten Anforderungen erfüllt. Bei Qualitätssicherungssystemen, die die entsprechende harmonisierte Norm anwenden, wird von der Erfüllung dieser Anforderungen ausgegangen. Dies ist die Norm EN ISO 9001 - Dezember 2000, die bei Bedarf ergänzt wird, um den Besonderheiten des Teilsystems, für das sie gilt, Rechnung zu tragen.
Das Audit muss spezifisch auf das betreffende Teilsystem und auf den jeweiligen Beitrag des Antragstellers zum Teilsystem ausgelegt sein. Mindestens ein Mitglied des Auditteams muss über Erfahrungen mit der Bewertung der betreffenden Teilsystemtechnik verfügen. Das Bewertungsverfahren umfasst auch eine Kontrollbesichtigung der Werke des Antragstellers.
Die Entscheidung wird dem Antragsteller mitgeteilt. Die Mitteilung enthält die Ergebnisse der Prüfung und eine Begründung der Entscheidung.
3.4 Der (die) Hersteller und gegebenenfalls der Auftraggeber verpflichtet(n) sich, die Verpflichtungen aus dem Qualitätssicherungssystem in seiner zugelassenen Form zu erfüllen und dafür zu sorgen, dass es stets sachgemäß und effizient funktioniert.
Sie unterrichten die benannte Stelle, die das Qualitätssicherungssystem zugelassen hat, über alle geplanten Aktualisierungen des Qualitätssicherungssystems.
Die benannte Stelle prüft die geplanten Änderungen und entscheidet, ob das geänderte Qualitätssicherungssystem noch den in Nummer 3.2 genannten Anforderungen entspricht oder ob eine erneute Bewertung erforderlich ist.
Sie teilt ihre Entscheidung dem Antragsteller mit. Die Mitteilung enthält die Ergebnisse der Prüfung und eine Begründung der Entscheidung.
4. Überwachung des (der) Qualitätssicherungssystems(e) unter der Verantwortlichkeit der benannten Stelle(n)
4.1 Die Überwachung soll gewährleisten, dass der (die) Hersteller und gegebenenfalls der Auftraggeber die Verpflichtungen aus dem zugelassenen Qualitätssicherungssystem vorschriftsmäßig erfüllen.
4.2 Der in Nummer 3.1 erwähnten benannten Stelle ist zu Inspektionszwecken ständig Zutritt zu den Baustellen, Werkstätten, Montage- und Installationswerken, Lagerplätzen und gegebenenfalls zu den Vorfertigungsstätten, zu den Versuchsanlagen sowie generell zu allen Orten zu gewähren, deren Überprüfung sie im Rahmen ihres Auftrags für notwendig erachtet und die im jeweiligen Beitrag des Antragstellers zum Teilsystemprojekt eine Rolle spielen.
4.3 Der (die) Hersteller und gegebenfalls der Auftraggeber oder sein in der Gemeinschaft ansässiger Bevollmächtigter müssen der in Nummer 3.1 erwähnten benannten Stelle alle zweckdienlichen Unterlagen, insbesondere die Konstruktionszeichnungen und die technischen Unterlagen zum Teilsystem (bzw. für den jeweiligen Beitrag des Antragstellers zum Teilsystemprojekt), aushändigen oder aushändigen lassen. Hierzu gehören insbesondere:
4.4 Die benannte(n) Stelle(n) führt(en) regelmäßig Audits durch, um sicherzustellen, dass der (die) Hersteller und gegebenenfalls der Auftraggeber das Qualitätssicherungssystem aufrechterhalten und anwenden, und übergibt (übergeben) ihnen einen Auditbericht.
Die Audits werden mindestens einmal jährlich durchgeführt. Mindestens ein Audit muss in dem Zeitraum stattfinden, in dem die einschlägigen Aktivitäten (Herstellung, Montage oder Installation) für das Teilsystem, das dem EG-Prüfverfahren nach Nummer 6 unterzogen wird, ausgeführt werden.
4.5 Darüber hinaus kann (können) die benannte(n) Stelle(n) den in Nummer 4.2 genannten Standorten des (der) Antragsteller(s) unangemeldete Besuche abstatten. Während dieser Besuche kann (können) sie vollständige oder teilweise Audits vornehmen und erforderlichenfalls Prüfungen zur Kontrolle des ordnungsgemäßen Funktionierens des Qualitätssicherungssystems durchführen oder durchführen lassen. Die benannte(n) Stelle(n) stellt (stellen) dem (den) Antragsteller(n) einen Bericht über den Besuch und im Fall eines Audits einen Auditbericht und im Fall einer Prüfung einen Prüfbericht zur Verfügung.
5. Der (die) Hersteller und gegebenenfalls der Auftraggeber hält (halten) mindestens zehn Jahre lang nach Herstellung des letzten Teilsystems folgende Unterlagen für die einzelstaatlichen Behörden zur Verfügung:
6. EG-Prüfverfahren
6.1 Der Antrag auf EG-Prüfung (durch das Verfahren "Qualitätssicherung Produktion") des Teilsystems, einschließlich Koordinierung der Überwachung der Qualitätssicherungssysteme gemäß Nummer 6.5, ist vom Auftraggeber oder seinem in der Gemeinschaft ansässigen Bevollmächtigten bei einer benannten Stelle seiner Wahl einzureichen. Der Auftraggeber oder sein in der Gemeinschaft ansässiger Bevollmächtigter muss die beteiligten Hersteller über den Antrag unterrichten und ihnen mitteilen, bei welcher benannten Stelle er eingereicht wurde.
6.2 Der Antrag muss das Verständnis des Entwurfs, der Herstellung, Montage, Installation und Funktionsweise des Teilsystems ermöglichen und eine Bewertung der Übereinstimmung mit den Anforderungen der Richtlinie 96/48/EG und der TSI erlauben.
Er muss enthalten:
6.3 Die benannte Stelle prüft den Antrag auf Gültigkeit der Bauartprüfung und der Bauartprüfbescheinigung.
6.4 Ferner prüft die benannte Stelle, ob alle Phasen des Teilsystems, die im letzten Unterabschnitt von Nummer 3.2 aufgeführt sind, durch Zulassung und Überwachung von Qualitätssystemen der Antragsteller ausreichend und korrekt abgedeckt sind.
Wenn die Übereinstimmung des Teilsystems mit der in der EG-Bauartprüfbescheinigung beschriebenen Bauart und mit den Anforderungen der Richtlinie 96/48/EG und der TSI auf mehreren Qualitätssicherungssystemen beruht, ist insbesondere zu prüfen,
6.5 Die benannte Stelle, die für die Durchführung der EG-Prüfung verantwortlich ist, muss, wenn sie die Überwachung des (der) nach Nummer 4 betroffenen Qualitätssicherungsystems(e) nicht selbst durchführt, die Überwachungsmaßnahmen anderer hierfür zuständiger benannter Stellen koordinieren, um sicherzustellen, dass eine hinsichtlich der Teilsystemintegration korrekte Betreuung der Schnittstellen zwischen den verschiedenen Qualitätssicherungsystemen erfolgt. Diese Koordinierung umfasst das Recht der für die EG-Prüfung verantwortlichen benannten Stelle,
6.6 Wenn das Teilsystem die Anforderungen der Richtlinie 96/48/EG und der TSI erfüllt, stellt die benannte Stelle auf Basis der Bauartprüfung und der Zulassung und Überwachung des (der) Qualitätssicherungssystems(e) die Konformitätsbescheinigung für den Auftraggeber oder seinen in der Gemeinschaft ansässigen Bevollmächtigten aus, der seinerseits die EG-Prüferklärung für die Aufsichtsbehörde des Mitgliedstaats ausstellt, in dem das Teilsystem installiert und/oder betrieben wird.
Die EG-Prüferklärung und ihre Anlagen müssen datiert und unterzeichnet sein. Die Erklärung muss in derselben Sprache wie die technischen Unterlagen abgefasst sein und mindestens die in der Richtlinie 96/48/EG, Anhang V, genannten Angaben enthalten.
6.7 Die benannte Stelle ist für die Erstellung der technischen Unterlagen verantwortlich, die der EG-Prüferklärung beiliegen müssen. Die technischen Unterlagen müssen mindestens die in der Richtlinie 96/48/EG , Artikel 18 Absatz 3, genannten Angaben enthalten, insbesondere:
7. Die vollständigen Unterlagen zur EG-Konformitätsbescheinigung werden zusammen mit der Konformitätsbescheinigung der benannten Stelle beim Auftraggeber oder bei seinem in der Gemeinschaft ansässigen Bevollmächtigten hinterlegt. Sie werden der EG-Prüferklärung beigefügt, die der Auftraggeber an die Aufsichtsbehörde des betreffenden Mitgliedstaates richtet.
8. Der Auftraggeber oder sein in der Gemeinschaft ansässiger Bevollmächtigter bewahrt während der gesamten Lebensdauer des Teilsystems ein Exemplar der Unterlagen auf. Es wird anderen Mitgliedstaaten auf Verlangen übermittelt.
III.4 Modul SF (Prüfung der Produkte) EG-Prüfung des Teilsystems Instandhaltung
1. Dieses Modul beschreibt das EG-Prüfverfahren, bei dem eine benannte Stelle auf Verlangen eines Auftraggebers oder seines in der Gemeinschaft ansässigen Bevollmächtigten prüft und bestätigt, dass das Teilsystem Instandhaltung, für das bereits eine EG-Bauartprüfbescheinigung von einer benannten Stelle ausgestellt wurde,
2. Der Antrag auf EG-Prüfung (durch das Verfahren "Prüfung der Produkte") des Teilsystems ist vom Auftraggeber oder seinem in der Gemeinschaft ansässigen Bevollmächtigten bei einer benannten Stelle seiner Wahl einzureichen.
Der Antrag muss Folgendes enthalten:
3. In diesem Teil des Verfahrens prüft und bestätigt der Auftraggeber oder sein in der Gemeinschaft ansässiger Bevollmächtigter die Übereinstimmung des betreffenden Teilsystems mit der in der EG-Bauartprüfbescheinigung beschriebenen Bauart und mit den für es geltenden Anforderungen der Richtlinie 96/48/EG und der TSI.
4. Der Auftraggeber trifft alle erforderlichen Maßnahmen, damit der Fertigungsprozess (einschließlich Montage und Integration der Interoperabilitätskomponenten) die Übereinstimmung des Teilsystems mit der in der EG-Bauartprüfbescheinigung beschriebenen Bauart und mit den für es geltenden Anforderungen der TSI gewährleistet.
5. Die technischen Unterlagen müssen das Verständnis von Entwurf, Herstellung, Installation und Funktionsweise des Teilsystems ermöglichen und eine Bewertung der Übereinstimmung mit der in der Bauartprüfbescheinigung beschriebenen Bauart sowie den Anforderungen der Richtlinie und der TSI erlauben.
Sie müssen enthalten:
Falls die TSI weitere Unterlagen vorschreibt, sind diese hinzuzufügen.
6. Die benannte Stelle nimmt die entsprechenden Prüfungen und Versuche zur Kontrolle und Erprobung jedes einzelnen, serienmäßigen Teilsystems gemäß Nummer 4 vor, um die Übereinstimmung des Teilsystems mit der in der EG-Bauartprüfbescheinigung beschriebenen Bauart und mit den Anforderungen der Richtlinie 96/48/EG und der TSI zu überprüfen.
7. Kontrolle und Erprobung jedes einzelnen, serienmäßig hergestellten Teilsystems
7.1 Die benannte Stelle führt die Untersuchungen, Kontrollen und Prüfungen durch, die die Übereinstimmung der Serienprodukte mit den grundlegenden Anforderungen der Richtlinie und der TSI gewährleisten. Die Untersuchungen, Kontrollen und Prüfungen müssen sich auf folgende Phasen erstrecken:
7.2 Alle serienmäßigen Teilsysteme werden einzeln geprüft und dabei entsprechenden Prüfungen und Kontrollen, wie sie in den einschlägigen europäischen Spezifikationen vorgesehen sind, oder gleichwertigen Prüfungen unterzogen, um ihre Übereinstimmung mit der in der Bauartprüfbescheinigung beschriebenen Bauart und mit den für sie geltenden Anforderungen der TSI zu überprüfen.
8. Die benannte Stelle vereinbart mit dem Auftraggeber die Orte, an denen die Untersuchungen durchgeführt werden sollen und an denen die Endprüfung des Teilsystems sowie, nach Maßgabe der TSI, die Erprobung oder Validierung unter vollen Betriebsbedingungen durch den Auftraggeber unter direkter Überwachung und Anwesenheit der benannten Stelle erfolgen sollen.
9. Der benannten Stelle ist zu Prüf- und Kontrollzwecken ständig Zutritt zu den Werkstätten, Montage- und Installationswerken und gegebenenfalls zu den Vorfertigungsstätten und den Versuchsanlagen zu gewähren, um ihr die Ausführung ihres Auftrags gemäß den TSI-Bestimmungen zu ermöglichen.
10. Wenn das Teilsystem die Anforderungen der Richtlinie 96/48/EG und der TSI erfüllt, stellt die benannte Stelle auf Basis der an allen Serienprodukten nach Nummer 7, nach Artikel 10 der Richtlinie 96/48/EG und den in der TSI genannten europäischen Spezifikationen vorgeschriebenen Untersuchungen, Kontrollen und Prüfungen die Konformitätsbescheinigung für den Auftraggeber oder seinen in der Gemeinschaft ansässigen Bevollmächtigten aus, der seinerseits die EG-Prüferklärung für die Aufsichtsbehörde des Mitgliedstaats ausstellt, in dem das Teilsystem installiert und/oder betrieben wird. Die EG-Prüferklärung und ihre Anlagen müssen datiert und unterzeichnet sein. Die Erklärung muss in derselben Sprache wie die technischen Unterlagen abgefasst sein und mindestens die in Richtlinie 96/48/EG , Anhang V, genannten Angaben enthalten.
11. Die benannte Stelle ist für die Erstellung der technischen Unterlagen verantwortlich, die der EG-Prüferklärung beiliegen müssen. Diese müssen mindestens die in Richtlinie 96/48/EG , Artikel 18 Absatz 3, genannten Angaben enthalten, insbesondere:
12. Die vollständigen Unterlagen zur EG-Konformitätsbescheinigung werden zusammen mit der Konformitätsbescheinigung der benannten Stelle beim Auftraggeber oder bei seinem in der Gemeinschaft ansässigen Bevollmächtigten hinterlegt. Sie werden der EG-Prüferklärung beigefügt, die der Auftraggeber an die Aufsichstbehörde des betreffenden Mitgliedstaates richtet.
13. Der Auftraggeber oder sein in der Gemeinschaft ansässiger Bevollmächtigter bewahrt während der gesamten Lebensdauer des Teilsystems ein Exemplar der Unterlagen auf. Es wird anderen Mitgliedstaaten auf Verlangen übermittelt.
III.5 Modul SG (Einzelprüfung) EG-Prüfung des Teilsystems Instandhaltung
1. Dieses Modul beschreibt das EG-Prüfverfahren, bei dem eine benannte Stelle auf Verlangen eines Auftraggebers oder seines in der Gemeinschaft ansässigen Bevollmächtigten prüft und bestätigt, dass das Teilsystem Instandhaltung
2. Der Antrag auf EG-Prüfung (durch das Verfahren "Einzelprüfung") des Teilsystems ist vom Auftraggeber oder seinem in der Gemeinschaft ansässigen Bevollmächtigten bei einer benannten Stelle seiner Wahl einzureichen.
Der Antrag muss Folgendes enthalten:
3. Die technischen Unterlagen müssen das Verständnis von Entwurf, Herstellung, Installation und Funktionsweise des Teilsystems ermöglichen und eine Bewertung der Übereinstimmung mit den Anforderungen der TSI erlauben.
Sie müssen enthalten:
Falls die TSI weitere Unterlagen in den technischen Unterlagen vorschreibt, sind diese hinzuzufügen.
4. Die benannte Stelle prüft den Antrag und führt die in der TSI und/oder den in der TSI genannten europäischen Spezifikationen vorgeschriebenen Untersuchungen, Kontrollen und Prüfungen durch, die die Übereinstimmung mit den in der TSI beschriebenen, grundlegenden Anforderungen der Richtlinie gewährleisten. Die Untersuchungen, Kontrollen und Prüfungen müssen sich auf folgende Phasen erstrecken:
5. Die benannte Stelle vereinbart mit dem Auftraggeber die Orte, an denen die Untersuchungen durchgeführt werden sollen und an denen die Endprüfung des Teilsystems sowie, nach Maßgabe der TSI, die Erprobung unter vollen Betriebsbedingungen durch den Auftraggeber unter direkter Überwachung und Anwesenheit der benannten Stelle erfolgen sollen.
6. Der benannten Stelle ist zu Prüf- und Kontrollzwecken ständig Zutritt zu den Konstruktionsbüros, Baustellen, Werkstätten, Montage- und Installationswerken und gegebenenfalls zu den Vorfertigungsstätten und den Versuchsanlagen zu gewähren, um ihr die Ausführung ihres Auftrags gemäß den TSI-Bestimmungen zu ermöglichen.
7. Wenn das Teilsystem die Anforderungen der TSI erfüllt, stellt die benannte Stelle auf Basis der in der TSI und den in der TSI genannten europäischen Spezifikationen vorgeschriebenen Untersuchungen, Kontrollen und Prüfungen die Konformitätsbescheinigung für den Auftraggeber oder seinen in der Gemeinschaft ansässigen Bevollmächtigten aus, der seinerseits die EG-Prüferklärung für die Aufsichtsbehörde des Mitgliedstaats ausstellt, in dem das Teilsystem installiert und/oder betrieben wird. Die EG-Prüferklärung und ihre Anlagen müssen datiert und unterzeichnet sein. Die Erklärung muss in derselben Sprache wie die technischen Unterlagen abgefasst sein und mindestens die in der Richtlinie 96/48/EG , Anhang V, genannten Angaben enthalten.
8. Die benannte Stelle ist für die Erstellung der technischen Unterlagen verantwortlich, die der EG-Prüferklärung beiliegen müssen. Sie müssen mindestens die in der Richtlinie 96/48/EG , Artikel 18 Absatz 3, genannten Angaben enthalten, insbesondere:
9. Die vollständigen Unterlagen zur EG-Konformitätsbescheinigung werden zusammen mit der Konformitätsbescheinigung der benannten Stelle beim Auftraggeber oder bei seinem in der Gemeinschaft ansässigen Bevollmächtigten hinterlegt. Die Unterlagen werden der EG-Prüferklärung beigefügt, die der Auftraggeber an die Aufsichstbehörde des betreffenden Mitgliedstaates richtet.
10. Der Auftraggeber oder sein in der Gemeinschaft ansässiger Bevollmächtigter bewahrt während der gesamten Lebensdauer des Teilsystems ein Exemplar der Unterlagen auf. Es wird anderen Mitgliedstaaten auf Verlangen übermittelt.
III.6 Modul SH2 (umfassende Qualitätssicherung mit Entwurfsprüfung) EG-Prüfung des Teilsystems Instandhaltung
1. Dieses Modul beschreibt das EG-Prüfverfahren, bei dem eine benannte Stelle auf Verlangen eines Auftraggebers oder seines in der Gemeinschaft ansässigen Bevollmächtigten prüft und bestätigt, dass das Teilsystem Instandhaltung
Die benannte Stelle führt das Verfahren einschließlich Entwurfsprüfung des Teilsystems unter der Bedingung durch, dass der Auftraggeber und die beteiligten Hersteller die Verpflichtungen in Nummer 2 erfüllen.
2. Für das Teilsystem, das dem EG-Prüfverfahren unterzogen wird, darf der Auftraggeber nur mit Herstellern zusammenarbeiten, die für ihre Aktivitäten im Zusammenhang mit dem zu prüfenden Teilsystem (Entwurf, Herstellung, Montage, Installation) ein zugelassenes Qualitätssicherungssystem für Entwurf, Herstellung sowie Endabnahme und Prüfung nach Nummer 3 unterhalten, das der Überwachung nach Nummer 4 unterliegt.
Der Ausdruck "Hersteller" umfasst auch Firmen, die
Der Generalunternehmer, der für das gesamte Teilsystemprojekt (vor allem für die Integration des Teilsystems) verantwortlich ist, muss in jedem Fall ein zugelassenes Qualitätssicherungssystem für Entwurf, Herstellung sowie Endabnahme und Prüfung nach Nummer 3 unterhalten, das der Überwachung nach Nummer 4 unterliegt.
Falls der Auftraggeber direkt an Entwurf und/oder Produktion (einschließlich Montage und Installation) beteiligt ist oder der Auftraggeber selbst für das gesamte Teilsystemprojekt (vor allem für die Integration des Teilsystems) verantwortlich ist, muss er für diese Aktivitäten ein zugelassenes Qualitätssicherungssystem nach Nummer 3 unterhalten, das der Überwachung nach Nummer 4 unterliegt.
3. Qualitätssicherungssystem
3.1 Der (die) beteiligte(n) Hersteller und gegebenenfalls der Auftraggeber beantragen bei einer benannten Stelle ihrer Wahl die Bewertung ihrer Qualitätssicherungssysteme.
Der Antrag muss Folgendes enthalten:
Hersteller, die nur an einem Teil des Teilsystemprojekts beteiligt sind, müssen nur die Informationen für diesen spezifischen Teil vorlegen.
3.2 Beim Generalunternehmer muss das Qualitätssicherungssystem die Gesamtübereinstimmung des Teilsystems mit den Anforderungen der Richtlinie 96/48/EG und der TSI gewährleisten. Bei anderen Herstellern (Subunternehmern) muss das Qualitätssicherungssystem die Übereinstimmung des jeweiligen Beitrags zum Teilsystem mit den Anforderungen der TSI gewährleisten.
Alle von den Antragstellern berücksichtigten Grundlagen, Anforderungen und Vorschriften sind systematisch und ordnungsgemäß in Form schriftlicher Regeln, Verfahren und Anweisungen zusammenzustellen. Diese Unterlagen über das Qualitätssicherungssystem sollen sicherstellen, dass die Qualitätssicherungsgrundsätze und -verfahren wie z.B. Qualitätssicherungsprogramme, -pläne, -handbücher und -berichte einheitlich ausgelegt werden.
Sie müssen insbesondere eine angemessene Beschreibung folgender Punkte bei allen Antragstellern enthalten:
und für den Generalunternehmer:
3.3 Die in Nummer 3.1 erwähnte benannte Stelle bewertet das Qualitätssicherungssystem, um festzustellen, ob es die in Nummer 3.2 genannten Anforderungen erfüllt. Bei Qualitätssicherungssystemen, die die entsprechende harmonisierte Norm anwenden, wird von der Erfüllung dieser Anforderungen ausgegangen. Dies ist die Norm EN ISO 9001 - Dezember 2000, die bei Bedarf ergänzt wird, um den Besonderheiten des Teilsystems, für das sie gilt, Rechnung zu tragen.
Bei Antragstellern, die nur Montage- und Installationsarbeiten durchführen gilt die harmonisierte Norm EN ISO 9001 - Dezember 2000, die bei Bedarf ergänzt wird, um den Besonderheiten des Teilsystems, für das sie gilt, Rechnung zu tragen.
Das Audit muss spezifisch auf das betreffende Teilsystem und auf den jeweiligen Beitrag des Antragstellers zum Teilsystem ausgelegt sein. Mindestens ein Mitglied des Auditteams muss über Erfahrungen mit der Bewertung der betreffenden Teilsystemtechnik verfügen. Das Bewertungsverfahren umfasst auch eine Kontrollbesichtigung der Werke des Antragstellers.
Die Entscheidung wird dem Antragsteller mitgeteilt. Die Mitteilung enthält die Ergebnisse der Prüfung und eine Begründung der Entscheidung.
3.4 Der (die) Hersteller und gegebenenfalls der Auftraggeber verpflichtet(n) sich, die Verpflichtungen aus dem Qualitätssicherungssystem in seiner zugelassenen Form zu erfüllen und dafür zu sorgen, dass es stets sachgemäß und effizient funktioniert.
Sie unterrichten die benannte Stelle, die das Qualitätssicherungssystem zugelassen hat, über alle geplanten Aktualisierungen des Qualitätssicherungssystems.
Die benannte Stelle prüft die geplanten Änderungen und entscheidet, ob das geänderte Qualitätssicherungssystem noch den in Nummer 3.2 genannten Anforderungen entspricht oder ob eine erneute Bewertung erforderlich ist.
Sie teilt ihre Entscheidung dem Antragsteller mit. Die Mitteilung enthält die Ergebnisse der Prüfung und eine Begründung der Entscheidung.
4. Überwachung des (der) Qualitätssicherungssystems(e) unter der Verantwortlichkeit der benannten Stelle(n).
4.1 Die Überwachung soll gewährleisten, dass der (die) Hersteller und gegebenenfalls der Auftraggeber die Verpflichtungen aus dem zugelassenen Qualitätssicherungssystem vorschriftsmäßig erfüllen.
4.2 Der (den) in Nummer 3.1 erwähnten benannten Stelle(n) ist zu Inspektionszwecken ständig Zutritt zu den Konstruktionsbüros, Baustellen, Werkstätten, Montage- und Installationswerken, Lagerplätzen und gegebenenfalls zu den Vorfertigungsstätten, zu den Versuchsanlagen sowie generell zu allen Orten zu gewähren, deren Überprüfung sie im Rahmen ihres Auftrags für notwendig erachtet und die im jeweiligen Beitrag des Antragstellers zum Teilsystemprojekt eine Rolle spielen.
4.3 Der (die) Hersteller und gegebenenfalls der Auftraggeber oder sein in der Gemeinschaft ansässiger Bevollmächtigter müssen der in Nummer 3.1 erwähnten benannten Stelle alle zweckdienlichen Unterlagen, insbesondere die Konstruktionszeichnungen und die technischen Unterlagen zum Teilsystem (bzw. für den jeweiligen Beitrag des Antragstellers zum Teilsystemprojekt), aushändigen oder aushändigen lassen. Hierzu gehören insbesondere:
4.4 Die benannte(n) Stelle(n) führt(en) regelmäßig Audits durch, um sicherzustellen, dass der (die) Hersteller und gegebenenfalls der Auftraggeber das Qualitätssicherungssystem aufrechterhalten und anwenden, und übergibt (übergeben) ihnen einen Auditbericht.
Die Audits werden mindestens einmal jährlich durchgeführt. Mindestens ein Audit muss in dem Zeitraum stattfinden, in dem die einschlägigen Aktivitäten (Konstruktion, Herstellung, Montage oder Installation) für das Teilsystem, das dem EG-Prüfverfahren nach Nummer 6 unterzogen wird, ausgeführt werden.
4.5 Darüber hinaus kann (können) die benannte(n) Stelle(n) den in Nummer 4.2 genannten Standorten des (der) Antragsteller(s) unangemeldete Besuche abstatten. Während dieser Besuche kann (können) sie vollständige oder teilweise Audits zur Kontrolle des ordnungsgemäßen Funktionierens des Qualitätssicherungssystems vornehmen. Die benannte(n) Stelle(n) stellt (stellen) dem (den) Antragsteller(n) einen Bericht über den Besuch und im Falle eines Audits einen Auditbericht zur Verfügung.
5. Der (die) Hersteller und gegebenenfalls der Auftraggeber hält (halten) mindestens zehn Jahre lang nach Herstellung des letzten Teilsystems folgende Unterlagen für die einzelstaatlichen Behörden zur Verfügung:
6. EG-Prüfverfahren
6.1 Der Antrag auf EG-Prüfung (durch das Verfahren "Umfassende Qualitätssicherung mit Entwurfsprüfung") des Teilsystems, einschließlich Koordinierung der Überwachung der Qualitätssicherungssysteme gemäß den Nummern 4.4 und 4.5, ist vom Auftraggeber oder seinem in der Gemeinschaft ansässigen Bevollmächtigten bei einer benannten Stelle seiner Wahl einzureichen. Der Auftraggeber oder sein in der Gemeinschaft ansässiger Bevollmächtigter muss die beteiligten Hersteller über den Antrag unterrichten und ihnen mitteilen, bei welcher benannten Stelle er eingereicht wurde.
6.2 Der Antrag muss das Verständnis des Entwurfs, der Herstellung, Installation und Funktionsweise des Teilsystems ermöglichen und eine Bewertung der Übereinstimmung mit den Anforderungen der TSI erlauben.
Er muss enthalten:
6.3 Die benannte Stelle prüft den Antrag zur Entwurfsprüfung und stellt dem Antragsteller einen Entwurfsprüfbericht aus, wenn der Entwurf die Bestimmungen der Richtlinie 96/48/EG und die für ihn geltenden Vorschriften der TSI erfüllt. Der Bericht enthält die Ergebnisse der Entwurfsprüfung, Bedingungen für ihre Gültigkeit, die zur Identifizierung des geprüften Entwurfs erforderlichen Angaben und gegebenenfalls eine Beschreibung der Funktionsweise des Teilsystems.
6.4 Die benannte Stelle prüft hinsichtlich der übrigen Phasen der EG-Prüfung, ob alle Phasen des Teilsystems, die in Nummer 3.2 aufgeführt sind, durch Zulassung und Überwachung von Qualitätssystemen ausreichend und korrekt abgedeckt sind.
Wenn die Übereinstimmung des Teilsystems mit den Anforderungen der TSI auf mehreren Qualitätssicherungssystemen beruht, ist insbesondere zu prüfen,
6.5 Die benannte Stelle, die für die Durchführung der EG-Prüfung verantwortlich ist, muss, wenn sie die Überwachung des (der) nach Nummer 4 betroffenen Qualitätssicherungsystems(e) nicht selbst durchführt, die Überwachungsmaßnahmen anderer hierfür zuständiger benannter Stellen koordinieren, um sicherzustellen, dass eine hinsichtlich der Teilsystemintegration korrekte Betreuung der Schnittstellen zwischen den verschiedenen Qualitätssicherungsystemen erfolgt. Diese Koordinierung umfasst das Recht der für die EG-Prüfung verantwortlichen benannten Stelle,
6.6 Wenn das Teilsystem die Anforderungen der Richtlinie 96/48/EG und der TSI erfüllt, stellt die benannte Stelle auf Basis der Entwurfsprüfung und der Zulassung und Überwachung des (der) Qualitätssicherungssystems(e) die Konformitätsbescheinigung für den Auftraggeber oder seinen in der Gemeinschaft ansässigen Bevollmächtigten aus, der seinerseits die EG-Prüferklärung für die Aufsichtsbehörde des Mitgliedstaats ausstellt, in dem das Teilsystem installiert und/oder betrieben wird.
Die EG-Prüferklärung und ihre Anlagen müssen datiert und unterzeichnet sein. Die Erklärung muss in derselben Sprache wie die technischen Unterlagen abgefasst sein und mindestens die in Richtlinie 96/48/EG , Anhang V, genannten Angaben enthalten.
6.7 Die benannte Stelle ist für die Erstellung der technischen Unterlagen verantwortlich, die der EG-Prüferklärung beiliegen müssen. Die technischen Unterlagen müssen mindestens die in der Richtlinie 96/48/EG , Artikel 18 Absatz 3, genannten Angaben enthalten, insbesondere:
7. Die vollständigen Unterlagen zur EG-Konformitätsbescheinigung werden zusammen mit der Konformitätsbescheinigung der benannten Stelle beim Auftraggeber oder bei seinem in der Gemeinschaft ansässigen Bevollmächtigten hinterlegt. Sie werden der EG-Prüferklärung beigefügt, die der Auftraggeber an die Aufsichtsbehörde des betreffenden Mitgliedstaates richtet.
8. Der Auftraggeber oder sein in der Gemeinschaft ansässiger Bevollmächtigter bewahrt während der gesamten Lebensdauer des Teilsystems ein Exemplar der Unterlagen auf. Es wird anderen Mitgliedstaaten auf Verlangen übermittelt.
| Kupplungen für das Toilettenentsorgungssystem | Anhang IV |
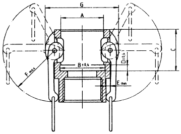
Abbildung 1
3"-Entleerungs- und 1"-Spülkupplung (Außenteile)
| A | B | C | D | E | F | G | |
| 3"-Kupplung | 92,20 | 104 | 55 | 7,14 | 4 | 82,55 | 133,3 |
| 1"-Kupplung | 37,24 | 40,5 | 37,5 | 7,14 | 2,4 | 44,45 | 65 |
Werkstoff: nichtrostender Stahl Allgemeine Toleranzen ± 0,1
Abbildung 2
Dichtungen
| A | B | C | |
| 3"-Dichtung | 94,45 | 76,20 | 6,35 |
| 1"-Dichtung | 39,69 | 26,98 | 6,35 |
Allgemeine Toleranzen ± 0,1
Werkstoff: Elastomer, fäkalienbeständig, wie z.B. FPM (Fluorkautschuk)
| Füllanschluss der Wasserbehälter | Anhang V |
Abbildung 3
Füllanschluss der Wasserbehälter

= Verbindliches Maß
![]() |
ENDE | ![]() |
(Stand: 15.03.2022)
Alle vollständigen Texte in der aktuellen Fassung im Jahresabonnement
Nutzungsgebühr: ab 105.- € netto
(derzeit ca. 7200 Titel s.Übersicht - keine Unterteilung in Fachbereiche)
Die Zugangskennung wird kurzfristig übermittelt
? Fragen ?
Abonnentenzugang/Volltextversion