![]() |
zurück | ![]() |
RL 67/548/EWG Anhang V
Methoden zur Bestimmung der physikalisch-chemischen Eigenschaften, der Toxizität und der Ökotoxizität
Einleitung
In diesem Anhang werden die Methoden zur Bestimmung der physikalisch-chemischen, toxikologischen und Ökotoxikologischen Eigenschaften gemäß den Anhängen VII und VIII der Richtlinie 79/831/EWG beschrieben. Diese beruhen auf Methoden, die von den zuständigen internationalen Stellen (insbesondere der OECD) anerkannt und empfohlen worden sind.
Wo keine solchen Methoden verfügbar waren, sind einzelstaatliche Normen oder von den Wissenschaftlern vereinbarte Methoden gewählt worden. Generell sollten die Versuche mit den von der Richtlinie festgelegten Stoffen durchgeführt werden. Beachtung ist dem möglichen Einfluß von Verunreinigungen auf die Ergebnisse beizumessen.
Wenn die Methoden dieses Anhanges nicht geeignet für die Untersuchung einer bestimmten Eigenschaft sind, muß der Anmelder die alternativ benutzte Methode begründen.
Die Tierversuche sind in Übereinstimmung mit den einzelstaatlichen Bestimmungen durchzuführen und sollten humanen Kriterien und den neuesten internationalen Erkenntnissen im Bereich der Tiergesundheit Rechnung tragen.
Bei gleichwertigen Prüfmethoden ist nur diejenige anzuwenden, die die geringeren Tieropfer fordert.
| Methoden zur Bestimmung der physikalisch-chemischen Eigenschaften
A.1. Schmelz-/Gefriertemperatur |
Anhang V zur RL 67/548/EWG 06 |
A.1. 1. Methoden
Den meisten der hier beschriebenen Methoden liegt die OECD-Prüfrichtlinie (1) zugrunde. Die Grundprinzipien sind in (2) und (3) angegeben.
A.1. 1.1. Einleitung
Die hier beschriebenen Methoden und Geräte sind zur Bestimmung der Schmelztemperatur der Substanzen ohne jede Einschränkung in bezug auf ihren Reinheitsgrad anzuwenden.
Die Wahl der bestgeeigneten Methode hängt von der Natur der Prüfsubstanz ab. Die Anwendbarkeit ist davon abhängig, ob sich der betreffende Stoff leicht, schwierig oder überhaupt nicht pulverisieren läßt.
Für bestimmte Stoffe bietet sich eher eine Bestimmung der Gefrier- oder Erstarrungstemperatur an: folglich wurden Vorschriften für diese Bestimmungen gleichfalls in diese Methodik aufgenommen.
Wo sich aufgrund der besonderen Eigenschaften des Stoffes keiner der oben genannten Parameter ohne weiteres messen läßt, kann die Messung eines Stockpunktes angebracht sein.
A.1. 1.2. Definitionen und Einheiten
Als Schmelztemperatur bezeichnet man diejenige Temperatur, bei der unter atmosphärischem Druck der Übergang zwischen fester und flüssiger Phase stattfindet; unter idealen Bedingungen entspricht diese Temperatur der Gefriertemperatur.
Da bei vielen Stoffen der Phasenübergang in einem Temperaturbereich stattfindet, wird dieser Übergang auch oft als Schmelzbereich bezeichnet.
| Umrechnung der Einheiten (K in °C): | t = T - 273,15 |
| t: | Celsius-Temperatur, in Grad Celsius (°C) |
| T: | Thermodynamische Temperatur, Kelvin (K) |
A.1. 1.3. Referenzsubstanzen
Referenzsubstanzen müssen nicht in allen Fällen verwendet werden, in denen eine neue Prüfsubstanz untersucht wird. Die Referenzsubstanzen sollten in erster Linie dazu dienen, die Methode von Zeit zu Zeit zu überprüfen und einen Vergleich mit den Ergebnissen aus anderen Methoden zu ermöglichen.
Einige der Eichsubstanzen sind in der Literatur (4) zu finden.
A.1. 1.4. Prinzip der Prüfmethode
Man bestimmt die Temperatur (den Temperaturbereich) der Phasenumwandlung vom festen in den flüssigen Zustand oder vom flüssigen in den festen Zustand. In der Praxis wird eine Probe der zu untersuchenden Substanz bei Atmosphärendruck erhitzt/abgekühlt und dabei die Temperaturen des Schmelz-/Gefrierbeginns sowie des vollständigen Schmelzens/Gefrierens bestimmt. Fünf typen von Methoden werden beschrieben: Kapillarmethode, Heiztischmethode, Gefriertemperaturbestimmungen, Methoden der thermischen Analyse und Bestimmung des Stockpunktes (entwickelt für Erdöl).
In einigen Fällen kann es von Nutzen sein, statt der Schmelztemperatur die Gefriertemperatur zu messen.
A.1. 1.4.1. Die Kapillarmethode
A.1. 1.4.1.1. Schmelztemperaturgeräte mit Flüssigkeitsbad
Eine geringe Menge der fein zerriebenen Substanz wird in ein Kapillarröhrchen gegeben und durch Klopfen verdichtet. Das Röhrchen wird zusammen mit einem Thermometer erhitzt und dabei der Temperaturanstieg so eingestellt, daß er während des eigentlichen Schmelzvorgangs weniger als 1 K pro Minute beträgt. Man notiert die Temperaturen bei Schmelzbeginn und bei Schmelzende.
A.1. 1.4.1.2. Schmelztemperaturgeräte mit Metallblock
Wie in 1.4.1.1, jedoch mit dem Unterschied, daß das Kapillarröhrchen und das Thermometer in einem erwärmten Metallblock befestigt sind und sich durch Öffnungen in dem Block beobachten lassen.
A.1. 1.4.1.3. Bestimmung mit Photozelle
Die in dem Kapillarröhrchen befindliche Substanzprobe wird in einem Metallzylinder automatisch erwärmt. In dem Zylinder befindet sich eine Öffnung, und ein gebündelter Lichtstrahl wird auf diesem Wege durch die Probe auf eine genauestens geeichte Photozelle gerichtet. Die optischen Eigenschaften der meisten Substanzen ändern sich beim Schmelzen von opak nach durchsichtig. In diesem Augenblick steigt also die Lichtintensität in der Photozelle, und ein Stopsignal wird zur Digitalanzeige übertragen, die die Temperatur des in der Heizkammer befindlichen Platin-Widerstandsthermometers anzeigt. Allerdings eignet sich diese Methode nicht für einige stark gefärbte Substanzen.
A.1. 1.4.2. Heiztische
A.1. 1.4.2.1. Kofler-Heizbank
Die Wirkungsweise der Kofler-Heizbank beruht auf zwei elektrisch beheizten Metallblöcken unterschiedlicher Wärmeleitfähigkeit, wobei die Bank selbst so ausgelegt ist, daß auf ihrer gesamten Länge ein fast linearer Temperaturgradient herrscht. Der Temperaturbereich der Heizbank liegt im allgemeinen zwischen 283 K und 573 K. Die Bank verfügt über eine spezielle Temperaturableseeinrichtung, bestehend aus einem Zeiger und einer für die jeweilige Heizbank ausgelegten Skala. Zur Schmelztemperaturbestimmung wird die betreffende Substanz in einer dünnen Schicht direkt auf die Oberfläche der Heizbank aufgebracht. In wenigen Sekunden zeichnet sich eine scharfe Trennlinie zwischen der flüssigen und der festen Phase ab. Zur Ablesung der Temperatur wird der Zeiger auf die Trennlinie eingestellt.
A.1. 1.4.2.2. Das Schmelzmikroskop
Zur Schmelztemperaturbestimmung mit sehr kleinen Stoffmengen sind verschiedene Heiztische mit Mikroskop im Gebrauch. Die meisten Heiztische bedienen sich zur Temperaturablesung empfindlicher Thermoelemente, doch werden gelegentlich auch Quecksilberthermometer verwendet. Das typische Schmelztemperaturbestimmungsgerät mit Heiztisch besitzt eine Heizkammer mit einer Metallplatte, auf welcher die auf einem Objektträger befindliche Probe angebracht wird. Durch eine Öffnung im Mittelpunkt der Metallplatte wird über den Beleuchtungsspiegel des Mikroskops ein Lichtbündel gerichtet. Bei Messungen wird die Heizkammer durch eine Glasplatte abgedeckt, damit der Probenbereich vor Lufteinflüssen geschützt wird.
Das Aufheizen der Probe wird durch einen Regelwiderstand kontrolliert. Für sehr genaue Messungen an optisch anisotropen Substanzen kann polarisiertes Licht verwendet werden.
A.1. 1.4.2.3. Die Meniskusmethode
Diese Methode wird vor allem für Polyamide angewandt. Die Temperatur, bei der sich ein zwischen dem Heiztisch und einem durch die Polyamidprobe getragenen Deckglas eingeschlossen Silikonölmeniskus verlagert, wird visuell bestimmt.
A.1. 1.4.3. Methode zur Bestimmung der Gefriertemperatur
Die Probe wird in ein dazu bestimmtes Reagenzglas gefüllt und in ein Gerät zur Bestimmung der Gefriertemperatur gestellt. Während des Abkühlens wird die Probe langsam und kontinuierlich gerührt und die Temperatur in geeigneten Zeitabständen gemessen. Diejenige Temperatur, korrigiert um den Thermometerfehler, bei der der Temperaturverlauf während einiger Ablesungen konstant bleibt, wird als Gefriertemperatur notiert.
Eine Unterkühlung ist durch Erhalt des Gleichgewichts zwischen der festen und der flüssigen Phase zu vermeiden.
A.1. 1.4.4. Thermische Analyse
A.1. 1.4.4.1. Differentialthermoanalyse (DTA)
Mit diesem Verfahren wird der Temperaturunterschied zwischen der Substanz und einem Referenzmaterial in Abhängigkeit von der Temperatur aufgezeichnet, während die Substanz und das Referenzmaterial demselben kontrollierten Temperaturprogramm ausgesetzt werden. Wenn die Probe eine Phasenumwandlung mit Änderung der Enthalpie durchläuft, dann wird diese Änderung durch ein endothermes (Schmelzen) oder exothermes (Gefrieren) Abweichen vom Ausgangsniveau der Temperaturaufzeichnung angezeigt.
A.1. 1.4.4.2. Differentialscanningkalorimetrie (DSC)
Mit diesem Verfahren wird der Unterschied in der Energieaufnahme zwischen einer Substanz und einem Referenzmaterial in Abhängigkeit von der Temperatur aufgezeichnet, während die Substanz und das Referenzmaterial demselben kontrollierten Temperaturprogramm ausgesetzt werden. Bei der Energie handelt es sich um diejenige Energie, die notwendig ist, um einen Temperaturabgleich zwischen der Substanz und dem Referenzmaterial zu erreichen. Wenn die Probe eine Phasenumwandlung mit Änderung der Enthalpie durchläuft, dann wird diese Änderung durch ein endothermes (Schmelzen) oder exothermes (Gefrieren) Abweichen vom Ausgangsniveau des Wärmeflußbildes angezeigt.
A.1. 1.4.5. Stockpunkt
Dieses Verfahren wurde zur Verwendung bei Erdölen entwickelt; es eignet sich für ölige Substanzen mit einer niedrigen Schmelztemperatur.
Die Probe wird nach vorherigem Aufheizen mit einer bestimmten Geschwindigkeit abgekühlt und in Abständen von 3 K auf ihre Fließeigenschaften untersucht. Die niedrigste Temperatur, bei der noch eine Bewegung der Substanz beobachtet wird, wird als Stockpunkt notiert.
A.1. 1.5. Qualitätskriterien
Der Anwendungsbereich und die Genauigkeit der verschiedenen Methoden zur Bestimmung von Schmelztemperatur/Schmelzbereich sind nachstehender Tabelle zu entnehmen:
Tabelle A.1.: Anwendbarkeit der beschriebenen Methoden
| A. Kapillarmethoden | |||||
| Meßmethode | Pulverisier- bare Sub- stanzen |
nicht ohne weiteres pulverisierbare Substanzen | Temperaturbereich | Geschätzte Genauigkeit 1) | existierende Methode oder Norm |
| Schmelztemperaturgeräte mit Flüssigkeitsbad | ja | nur wenige | 273 K bis 573 K | ± 0,3 K | JIS K 0064 |
| Schmelztemperaturgeräte mit Metallblock | ja | nur wenige | 293 K bis > 573 K | ± 0,5K | ISO 1218 (E) |
| Photozellengeräte | ja | verschiedene, unter Verwendung verschiedener Zusatzgeräte | 253 K bis 573 K | ±0,5 K | |
| B. Heiztische und Gefriertemperaturbestimmung | |||||
| Kofler-Heizbank | ja | nein | 283 K bis > 573 K | ± 1,0 K | ANSI/ASTM D 3451-76 |
| Schmelzmikroskop | ja | nur wenige | 283 K bis > 573 K | ± 0,5 K | DIN 53736 |
| Meniskusmethode | nein | speziell für Polyamide | 283 K bis > 573 K | ± 0,5 K | ISO 1218 (E) |
| Gefriertemperaturmethoden | ja | ja | 283 K bis > 573 K | ± 0,5 K | zum Beispiel BS 4695 |
| C. Thermische Analyse | |||||
| Differentialthermoanalyse (DTA) | ja | ja | 173 K bis 1273 K | bis 600 K ± 0,5 K bis 1273 K ± 2,0 K |
ASTM E 537-76 |
| Differentialscanning- Kalorimetrie (DSC) | ja | ja | 173 K bis 1273 K | bis 600 K ± 0,5 K bis 1273 K ± 2,0 K |
ASTM E 537-76 |
| D. Stockpunkt | |||||
| Stockpunkt | 173 K bis 1273 K | ± 3,0K | ASTM D 97.66 | ||
| (1) je nach dem verwendeten Gerätetyp und dem Reinheitsgrad des verwendeten Stoffes. | |||||
A.1. 1.6. Beschreibung der Methoden
Die Durchführung fast aller hier aufgeführten Prüfmethoden ist in nationalen und internationalen Normen beschrieben (siehe Anlage 1).
A.1. 1.6.1. Methoden mit Kapillarrohr
Fein pulverisierte Substanzen lassen im Verlauf eines langsamen Temperaturanstiegs im allgemeinen die in Abbildung 1 dargestellten Schmelzstadien erkennen.

| Stadium A | (Schmelzbeginn): Feine Tröpfchen haften gleichmäßig an der Innenwand des Kapillarrohrs. |
| Stadium B | Aufgrund des Schrumpfens der Probe bildet sich zwischen Innenwand und Probe ein klarer Flüssigkeitsfilm. |
| Stadium C | Die geschrumpfte Probe beginnt nach unten zusammenzufallen und wird flüssig. |
| Stadium D | An der Oberfläche bildet sich ein vollständiger Meniskus, aber ein erheblicher Teil der Probe ist noch fest. |
| Stadium E | (Endstadium des Schmelzens): Die Probe enthält keine festen Teilchen mehr. |
Während der Bestimmung der Schmelztemperatur werden die Temperaturen zu Beginn und zu Ende des Schmelzvorgangs registriert.
A.1. 1.6.1.1. Schmelztemperaturbestimmungsgeräte mit Flüssigkeitsbad
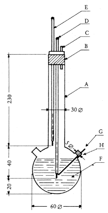
Abbildung 2 zeigt eine genormte Glasapparatur zur Bestimmung der Schmelztemperatur (JIS K 0064). Alle Dimensionsangaben in mm.
![]() |
A: | Meßkolben |
| B: | Stopfen | |
| C: | Druckausgleich | |
| D: | Thermometer | |
| E: | Hilfsthermometer | |
| F: | Badflüssigkeit | |
| G: | Kapillarrohr aus Glas, 80 bis 100 mm lang mit einem inneren Durchmesser von 1,0 mm ± 0,2 mm und einer Wandstärke von 0,2 bis 0,3 mm |
|
| H: | seitlicher Stutzen |
Die Badflüssigkeit:
Es sollte eine geeignete Flüssigkeit gewählt werden. Die Wahl der Flüssigkeit hängt von der zu bestimmenden Schmelztemperatur ab, z.B. flüssiges Paraffin für Schmelztemperaturen nicht über 473 K, Silikonöl für Schmelztemperaturen nicht über 573 K.
Für Schmelztemperaturen über 523 K kann eine Mischung aus drei Gewichtsteilen Schwefelsäure und zwei Gewichtsteilen Kaliumsulfat benutzt werden. Bei Verwendung einer solchen Mischung sollten geeignete Vorsichtsmaßnahmen getroffen werden.
Thermometer:
Es sollten nur solche Thermometer verwendet werden, die den Anforderungen der nachstehenden oder anderer gleichwertiger Normen entsprechen: ASTM E 1-71, DIN 12770, JIS K 8001.
Durchführung:
Die getrocknete Substanz wird in einem Mörser fein zerrieben und anschließend in ein an einem Ende zugeschmolzenes Kapillarröhrchen gefüllt. Nach Verdichten durch Klopfen sollte die Füllhöhe etwa 3 mm betragen. Zu diesem Zweck läßt man das Kapillarröhrchen aus ca. 700 mm Höhe durch ein Glasrohr auf ein Uhrglas fallen.
Das gefüllte Kapillarröhrchen wird derart in das Bad eingebracht, daß der mittlere Teil der Quecksilberkugel des Thermometers das Kapillarröhrchen an der Stelle berührt, an der sich die Probe befindet. Gewöhnlich führt man das Kapillarröhrchen etwa 10 K vor Erreichen der Schmelztemperatur in das Gerät ein.
Das Flüssigkeitsbad wird so beheizt, daß der Temperaturanstieg etwa 3 K pro Minute beträgt. Dabei soll die Flüssigkeit gerührt werden. Etwa 10 K vor Erreichen der erwarteten Schmelztemperatur wird der Temperaturanstieg auf maximal 1 K pro Minute reduziert.
Berechnung: Die Berechnung der Schmelztemperatur wird folgendermaßen durchgeführt:
T = TD+ 0,00016(TD- TE) n
Darin bedeuten:
T = korrigierte Schmelztemperatur in K
TD = Temperaturablesung am Thermometer D in K
TE = Temperaturablesung am Thermometer E in K
n = Anzahl der Grade, die der Quecksilberfaden des Thermometers D aus der Flüssigkeit herausragt.
A.1. 1.6.1.2. Schmelztemperaturbestimmungsgeräte mit Flüssigkeitsbad
Das Gerät
Das Gerät besteht aus:
Thermometer:
Siehe die Normen in A.1. 1.6.1.1. Es können ebenfalls thermoelektrische Meßgeräte mit vergleichbarer Genauigkeit verwendet werden.
A.1. 1.6.1.3. Bestimmung mit Photozelle (automatisch)
Gerät und Verfahren:
Das Gerät besteht aus einer Metallkammer mit automatischer Heizvorrichtung. Drei Kapillarröhrchen werden nach A.1. 1.6.1.1. gefüllt und in die Heizkammer gestellt.
Zur Kalibrierung des Gerätes stehen mehrere lineare Temperaturanstiegsraten zur Verfügung; der geeignete Temperaturanstieg wird elektrisch auf eine im voraus festgelegte lineare Anstiegsrate gebracht. Die jeweilige Temperatur der Heizkammer und die Temperatur des in den Kapillarröhrchen enthaltenen Stoffes werden mit Registriergeräten aufgezeichnet.
A.1. 1.6.2. Heiztische
A.1. 1.6.2.1. Kofler-Heizbank
siehe Anlage.
A.1. 1.6.2.2. Schmelzmikroskop
siehe Anlage.
A.1. 1.6.2.3. Meniskusmethode (Polyamide)
siehe Anlage.
Im Bereich der Schmelztemperatur sollte die Heizgeschwindigkeit weniger als 1 K/min betragen.
A.1. 1.6.3. Methoden zur Bestimmung der Gefriertemperatur
siehe Anlage.
A.1. 1.6.4. Thermoanalyse
A.1. 1.6.4.1. Differentialthermoanalyse
siehe Anlage.
A.1. 1.6.4.2. Differentialscanningkalorimetrie
siehe Anlage.
A.1. 1.6.5. Stockpunktbestimmung
siehe Anlage.
A.1. 2. Daten
In bestimmten Fällen ist eine Thermometeranpassung erforderlich.
A.1. 3. Abschlußbericht
Im Prüfbericht ist, wenn möglich, folgendes anzugeben:
Der Mittelwert mindestens zweier Messungen, deren Werte im Bereich der ungefähren Genauigkeit (siehe Tabellen) liegen, ist als Schmelztemperatur anzugeben.
Liegt der Temperaturunterschied zwischen der Anfangs- und der Endphase des Schmelzens innerhalb der Genauigkeitsgrenzen der Methode, so ist die Anfangstemperatur als Schmelztemperatur anzugeben; andernfalls sind beide Temperaturen anzugeben.
Wenn sich der Stoff vor Erreichen der Schmelztemperatur zersetzt oder sublimiert, ist die Temperatur anzugeben, bei der dies beobachtet wird.
Alle zur Bewertung der Ergebnisse notwendigen Informationen und Bemerkungen sind zu notieren, insbesondere diejenigen über Verunreinigungen und den Aggregatzustand des Stoffes.
A.1. 4. Literatur
(1) OECD, Paris, 1981, Test Guideline 102, Decision of the Council C(81) 30 final.
(2) IUPAC, B. Le Neindre, B. Vodar (Hrsg.): Experimental thermodynamics, Butterworths, London, 1975, vol. II, 803-834.
(3) R. Weissberger (Hrsg.): Technique of organic Chemistry, Physical Methods of Organic Chemistry, 3rd ed., Interscience Publ., New York, 1959, vol. I, Part I, Chapter VII.
(4) IUPAC, Physicochemical measurements: Catalogue of reference materials from national laboratories, Pure and applied chemistry, 1976, vol. 48, 505-515.
Anlage
zu RL 67/548/EWG Anhang V A.1.
Weitere technische Einzelheiten können z.B. den folgenden Normen entnommen werden:
1. Kapillarmethoden
1.1. Schmelztemperaturbestimmungsgeräte mit Flüssigkeitsbad
| ASTM E 324-69 | Standard test method for relative initial and final melting points and the melting range of organic chemicals |
| BS 4634 | Method for the determination of melting point and/or melting range |
| DIN 53181 | Bestimmung des Schmelzintervalls von Harzen nach Kapillar-Verfahren |
| JIS K 00-64 | Testing methods for melting point of chemical products |
1.2. Schmelztemperaturbestimmungsgeräte mit Metallblock
| DIN 53736 | Visuelle Bestimmung der Schmelztemperatur von teil-kristallinen Kunststoffen |
| ISO 1218 (E) | Plastics - polyamides - determination of "melting point" |
2. Heiztische
2.1. Kofler-Heizbank
| ANSI/ASTM D 3451-76 | Standard recommended practices for testing polymeric Powder coatings |
2.2. Schmelzmikroskop
| DIN 53736 | Visuelle Bestimmung der Schmelztemperatur von teilkristallinen Kunststoffen |
2.3. Meniskusmethode (Polyamide)
| ISO 1218 (E) | Plastics - polyamides - determination of "melting point" |
| ANSI/ASTM D 2133-66 | Standard specification for acetal resin injection moulding and extrusion materials |
| NF T 51-050 | Résines de polyamides. Détermination du "point de fusion". Méthode du ménisque |
3. Methoden zur Gefriertemperaturbestimmung
| BS 4633 | Method for the determination of crystallizing point |
| BS 4695 | Method for Determination of Melting Point of Petroleum Wax (Cooling Curve) |
| DIN 51421 | Bestimmung des Gefrierpunktes von Flugkraftstoffen, Ottokraftstoffen und Motorenbenzolen |
| ISO 2207 | Cires de pétrole: détermination de la température de figeage |
| DIN 53175 | Bestimmung des Erstarrungspunktes von Fettsäuren |
| NF T 60-114 | Point de fusion des paraffines |
| NF T 20-051 | Méthode de détermination du point de cristallisation (point de congélation) |
| ISO 1392 | Method for the determination of the freezing point |
4. Thermoanalyse
4.1. Differentialthermoanalyse
| ASTM E 537-76 | Standard method for assessing the thermal stability of chemicals by methods of differential thermal analysis |
| ASTM E 473-85 | Standard definitions of terms relating to thermal analysis |
| ASTM E 472-86 | Standard practice for reporting thermoanalytical data |
| DIN 51005 | Thermische Analyse, Begriffe |
4.2. Differentialscanningkalorimetrie
| ASTM E 537-76 | Standard method for assessing the thermal stability of chemicals by methods of differential thermal analysis |
| ASTM E 473-85 | Standard definitions of terms relating to thermal analysis |
| ASTM E 472-86 | Standard practice for reporting thermoanalytical data |
| DIN 51005 | Thermische Analyse, Begriffe |
5. Stockpunktbestimmung
| NBN 52014 | Echantillonnage et analyse des produits du pétrole: Point de trouble et point d'écoulement limite - Monsterneming en ontleding van aardolieproducten: Troebelingspunt en vloeipunt |
| ASTM D 97-66 | Standard test method for pour point of petroleum oils |
| ISO 3016 | Petroleum oils - Determination of pour point. |
![]() |
weiter . | ![]() |
(Stand: 04.08.2022)
Alle vollständigen Texte in der aktuellen Fassung im Jahresabonnement
Nutzungsgebühr: ab 105.- € netto
(derzeit ca. 7200 Titel s.Übersicht - keine Unterteilung in Fachbereiche)
Die Zugangskennung wird kurzfristig übermittelt
? Fragen ?
Abonnentenzugang/Volltextversion