Für einen individuellen Ausdruck passen Sie bitte die
Einstellungen in der Druckvorschau Ihres Browsers an.
Regelwerk, EU 1970 -75, Lebensmittel - Futtermittel

Erste Richtlinie 71/250/EWG der Kommission vom 15. Juni 1971 zur Festlegung gemeinschaftlicher Analysemethoden für die amtliche Untersuchung von Futtermitteln

(ABl. L 155 vom 12.07.1971 S. 13;
RL 81/680/EWG - ABl. Nr. L 246 vom 29.08.1981 S. 32;
RL 98/54/EG - ABl. Nr. L 347 vom 23.12.1998 S. 31;
RL1999/27/EG - ABl. Nr. L 118 vom 06.05.1999 S. 36;
VO (EG) 152/2009 - ABl. Nr. L 54 vom 26.02.2009 S. 1aufgehoben)



aufgehoben/ersetzt gem. Art. 6 der VO (EG) 152/2009 - Entsprechungstabelle

Die Kommission der Europäischen Gemeinschaften -

gestützt auf den Vertrag zur Gründung der Europäischen Wirtschaftsgemeinschaft,

gestützt auf die Richtlinie des Rates vom 20. Juli 1970 über die Einführung gemeinschaftlicher Probenahmeverfahren und Analysemethoden für die amtliche Untersuchung von Futtermitteln 1, insbesondere auf Artikel 2,

in Erwägung nachstehender Gründe:

Die obengenannte Richtlinie bestimmt, dass die amtlichen Untersuchungen von Futtermitteln zur Feststellung, ob die auf Grund der Rechts- und Verwaltungsvorschriften festgelegten Vorschriften hinsichtlich der Beschaffenheit und der Zusammensetzung der Futtermittel erfüllt sind, nach gemeinschaftlichen Probenahmeverfahren und Analysemethoden durchgeführt werden.

Es erscheint nunmehr geboten, schnellstmöglich zu einer Festlegung aller erforderlichen Analysemethoden zu gelangen. Einen ersten Schritt sollen dabei die Methoden für die Bestimmung von Blausäure, Calcium, Carbonaten, Rohasche, in Salzsäure unlöslicher Asche, Chlor aus Chloriden, Senföl, Lactose, Kalium, Natrium, Zucker, Theobromin und Harnstoff, die Bestimmung von Alkaloiden in Lupinen und die Bestimmung der Ureaseaktivität von Sojaprodukten bilden.

Die in dieser Richtlinie vorgesehenen Maßnahmen entsprechen der Stellungnahme des Ständigen Futtermittelausschusses

- hat folgende Richtlinie erlassen:

Artikel 1

Die Mitgliedstaaten schreiben vor, dass die Analysen für die amtliche Untersuchung von Futtermitteln auf ihren Gehalt an Blausäure, Calcium, Carbonaten, Rohasche, in Salzsäure unlöslicher Asche, Chlor aus Chloriden, Lactose, Kalium, Natrium, Zucker und Harnstoff sowie auf die Ureaseaktivität von Sojaprodukten nach den in der Anlage zu dieser Richtlinie beschriebenen Methoden durchgeführt werden.

Die sich in Teil 1 der Anlage befindlichen allgemeinen Bestimmungen gelten für Analysemethoden, die gemäß der Richtlinie 70/373/EWG des Rates verabschiedet wurden

Artikel 2

Die Mitgliedstaaten setzen spätestens am 1. Juli 1972 die erforderlichen Rechts- oder Verwaltungsvorschriften in Kraft, um den Bestimmungen dieser Richtlinie nachzukommen. Sie setzen die Kommission unverzüglich davon in Kenntnis.

Artikel 3

Diese Richtlinie ist an alle Mitgliedstaaten gerichtet.

.

 Analysenmethoden für Futtermittelbestandteile Anlage

1. ALLGEMEINE BESTIMMUNGEN ÜBER ANALYSEMETHODEN FÜR FUTTERMITTEL

A. Vorbereitung der Proben zur Analyse

1. Zweck

Die nachfolgend beschriebenen Verfahren beziehen sich auf die Vorbereitung der zur Analyse bestimmten Endproben, die gemäß den Bestimmungen der ersten Richtlinie 76/371/EWG der Kommission vom 1. März 1976 zur Festlegung gemeinschaftlicher Probenahmeverfahren für die amtliche Untersuchung von Futtermitteln 2 entnommen und an die Kontroll-Laboratorien gesandt werden.

Die Vorbereitung dieser Proben ist so vorzunehmen, dass die in den Analysemethoden vorgesehenen Einwaagen homogen und repräsentativ für die Endprobe sind.

2. Vorsichtsmaßnahmen

Alle notwendigen Schritte sind so durchzuführen, dass eine Verunreinigung der Probe oder eine Veränderung ihrer Zusammensetzung soweit wie möglich vermieden wird. Das Zerkleinern, Mischen und Sieben ist möglichst rasch durchzuführen, wobei die Probe möglichst wenig Luft und Licht ausgesetzt wird. Die Verwendung von Mühlen oder Zerkleinerungsgeräten, die zu einer merklichen Erwärmung der Probe führen könnten, ist zu vermeiden. Für besonders hitzeempfindliche Futtermittel wird manuelles Zerkleinern empfohlen. Es ist außerdem darauf zu achten, dass die verwendeten Geräte keine Kontaminationsquelle für Spurenelemente bilden.

Kann die Probe nicht ohne merkliche Veränderung ihres Feuchtigkeitsgehalts vorbereitet werden, so erfolgt dessen Bestimmung vor und nach der Vorbereitung nach dem Verfahren von Teil 1 des Anhangs der zweiten Richtlinie 71/393/EWG der Kommission vom 18. November 1971 zur Festlegung gemeinschaftlicher Analysemethoden für die amtliche Untersuchung von Futtermitteln 3, geändert durch die Richtlinie 73/47/EWG der Kommission vom 5. Dezember 1972 4.

3. Verfahren

Die Endprobe wird mechanisch oder manuell gründlich gemischt und in zwei gleiche Teile geteilt (sofern möglich, sollte das Vierteilungsverfahren angewendet werden). Ein Teil wird in einem geeigneten sauberen, trockenen, luftdicht verschließbaren Gefäß aufbewahrt; der andere Teil oder eine repräsentative Menge davon (mindestens 100 g) wird wie folgt vorbereitet:

3.1. Futtermittel, die direkt gemahlen werden können

Sofern keine besonderen Angaben in der Analysemethode gemacht werden, wird die gesamte Probe erforderlichenfalls zerkleinert und durch ein Sieb mit einer Maschenweite von 1 mm Seitenlänge (entsprechend der Empfehlung ISO R 565) vollständig passiert. Zu starkes Zerkleinern ist zu vermeiden. Die gesiebte Probe wird gemischt und in ein geeignetes sauberes, trockenes, luftdicht verschließbares Gefäß abgefüllt. Unmittelbar vor der Einwaage muss die Probe jedesmal gemischt werden.

3.2. Futtermittel, die nach Trocknung gemahlen werden können

Sofern keine besonderen Angaben in der Analysemethode gemacht werden, wird die Probe bis auf einen Feuchtigkeitsgehalt von 8 bis 12 % unter Anwendung des unter Punkt 4.3 der Methode zur Bestimmung des Feuchtigkeitsgehalts (siehe vorstehenden Punkt 2) vorgesehenen Vortrocknungsverfahrens vorgetrocknet. Die weitere Vorbereitung erfolgt gemäß Punkt 3.1.

3.3. Flüssige oder halbflüssige Futtermittel

Die Probe wird in ein geeignetes sauberes, trockenes, luftdicht verschließbares Gefäß abgefüllt und unmittelbar vor der Einwaage gründlich gemischt.

3.4. Andere Futtermittel

Futtermittel, die nach keinem der oben genannten Verfahren vorbereitet werden können, sind durch irgendein anderes Verfahren zu behandeln, das eine homogene und repräsentative Einwaage der Endprobe gestattet.

4. Aufbewahrung der Proben

Die Proben müssen bei einer Temperatur gelagert werden, die ihre Zusammensetzung nicht beeinflusst. Für Proben, die zur Analyse von Vitaminen oder besonders lichtempfindlichen Substanzen bestimmt sind, werden braune Glasgefäße verwendet.

B. Bestimmungen über in Analyseverfahren verwendete Reagenzien und Geräte

  1. Vorbehaltlich besonderer Angaben in den Analysemethoden müssen alle zur Analyse verwendeten Reagenzien von p.a. Qualität sein. Bei der Analyse von Spurenelementen muss die Reinheit der Reagenzien in einem Reagenzienblindversuch überprüft werden. Je nach dem erhaltenen Wert kann eine weitere Reinigung der Reagenzien erforderlich sein.
  2. Jeder in den Analysemethoden erwähnte Lösungs-, Verdünnungs-, Spül- oder Auswaschvorgang ohne Angabe über die Art des zu verwendenden Lösungs- oder Verdünnungsmittels bedeutet, dass Wasser zu verwenden ist. Im allgemeinen wird destilliertes oder demineralisiertes Wasser verwendet. In besonderen in den Analysemethoden angegebenen Fällen muss das Wasser speziellen Reinigungsverfahren unterzogen werden.
  3. Da die übliche Ausstattung von Kontroll-Laboratorien vorausgesetzt wird, werden nur besondere Instrumente und Geräte oder solche, die speziellen Anforderungen entsprechen müssen, in den Analysemethoden aufgeführt. Das Material muss gut gereinigt sein, vor allem bei Bestimmungen von sehr geringen Substanzmengen.

C. Anwendung von Analysemethoden und Formulierung der Ergebnisse

  1. Im allgemeinen wird zur Bestimmung eines Stoffes in Futtermitteln eine einzige Analysemethode festgelegt. Beim Vorhandensein von mehreren Methoden muss die vom Kontroll-Laboratorium angewandte Methode im Analysebericht angegeben werden.
  2. Das im Analysebericht angegebene Ergebnis soll den Mittelwert aus mindestens zwei Bestimmungen von separaten Einwaagen der Probe mit ausreichender Wiederholbarkeit darstellen.

Dieses Ergebnis ist gemäß den Angaben in den Analysemethoden mit einer angemessenen Zahl an signifikanten Ziffern anzugeben und falls nötig, auf den Feuchtigkeitsgehalt der Endprobe vor deren Vorbereitung umzurechnen

2. BESTIMMUNG VON BLAUSÄURE

1. Zweck und Anwendungsbereich

Die Methode erlaubt die Bestimmung des Gehaltes an freier und in Glykosiden gebundener Blausäure in Futtermitteln, insbesondere in Leinsaatprodukten, Tapiokamehl und bestimmten Bohnenarten.

2. Prinzip

Die Probe wird in Wasser aufgeschlämmt. Die Blausäure wird unter der Einwirkung von Fermenten abgespalten, im Wasserdampfstrom abdestilliert und in einem bestimmten Volumen von angesäuerter Silbernitratlösung aufgefangen. Das Silbercyanid wird abfiltriert und der Überschuss an Silbernitrat mit einer Ammoniumthiocyanatlösung zurücktitriert.

3. Reagenzien

3.1. Aufschlämmung von süßen Mandeln: 20 süße, geschälte Mandeln werden in 100 ml Wasser bei 37 bis 40 °C zerkleinert. 10 ml dieser Aufschlämmung werden auf Abwesenheit von abspaltbarer Blausäure entweder mit Natriumpikratpapier oder durch einen Blindversuch, wie unter 5. letzter Absatz angegeben, geprüft.

3.2. Natriumacetatlösung 10 v. H. (G/V), neutralisiert gegen Phenolphthalein

3.3. Antischaum-Emulsion (z.B. Silicon)

3.4. Salpetersäure, D: 1,40

3.5. 0,02 N Silbernitratlösung

3.6. 0,02 N Ammoniumthiocyanatlösung

3.7. Gesättigte Ammonium-Eisen (III)-Sulfatlösung

3.8. Ammoniaklösung, D: 0,958

4. Geräte

4.1. Brutschrank mit Thermostat, auf 38 °C eingestellt

4.2. Apparatur zur Wasserdampfdestillation, deren Kühler mit einem verlängerten, gebogenen Einleitungsrohr versehen ist

4.3. 1.000-ml-Stehkolben mit Schliffstopfen

4.4. Ölbad

4.5. Bürette mit 1/ 20 ml Teilung

5. Ausführung

20 g der Probe werden auf 5 mg genau eingewogen und in einen 1.000-ml-Stehkolben mit 50 ml Wasser und 10 ml Aufschlämmung von süßen Mandeln ( 3.1) gebracht. Der Kolben wird verschlossen und während 16 Std. bei 38 °C im Brutschrank stehen gelassen. Nach Abkühlen auf Raumtemperatur werden 80 ml Wasser, 10 ml Natriumacetatlösung ( 3.2) und 1 Tropfen Antischaum-Emulsion ( 3.3) zugesetzt.

Der Kolben wird an die Wasserdampfdestillationsapparatur angeschlossen und in einem Ölbad, das auf eine Temperatur von etwas mehr als 100 °C vorgeheizt worden ist, erhitzt. Durch einen kräftigen Wasserdampfstrom und unter leichtem Erhitzen des Ölbades werden 200 bis 300 ml abdestilliert. Das Destillat wird in einem vor Licht geschützten Erlenmeyerkolben, der genau 50 ml 0,02 N Silbernitratlösung ( 3.5) und 1 ml Salpetersäure ( 3.4) enthält, aufgefangen. Es ist zu beachten, dass das Verlängerungsrohr des Kühlers in die Silbernitratlösung taucht.

Der Inhalt des Erlenmeyerkolbens wird in einen 500-ml-Meßkolben überführt, bis zur Marke aufgefüllt, gemischt und filtriert. In 250 ml des Filtrats wird der Überschuss an Silbernitrat nach Zusatz von ca. 1 ml Ammonium-Eisen(III)-Sulfatlösung ( 3.7) mit 0,02 N Ammoniumthiocyanatlösung ( 3.6) aus der auf 1/ 20 ml geteilten Bürette zurücktitriert.

Gegebenenfalls wird ein Blindversuch nach dem beschriebenen Verfahren mit 10 ml Aufschlämmung von süßen Mandeln ( 3.1) ohne Analysenprobe ausgeführt.

6. Berechnung der Ergebnisse

Wenn der Blindversuch einen Verbrauch an 0,02 N Silbernitratlösung zeigt, dann wird dieser von dem Silbernitratverbrauch des Analysenprobedestillats abgezogen.

1 ml 0,02 N AgNO3 entspricht 0,54 mg HCN. Das Ergebnis wird in Hundertteilen der Probe ausgedrückt.

7. Bemerkung

Enthält die Probe eine bedeutende Menge an Sulfiden (z.B. bei Bohnen), dann bildet sich ein schwärzlicher Niederschlag von Silbersulfid, der zusammen mit dem Niederschlag von Silbercyanid abfiltriert wird. Die Bildung dieses Niederschlags verursacht einen Verbrauch an 0,02 N Silbernitratlösung, dessen Volumen von dem Volumen abzuziehen ist, das für die Berechnung des Gehaltes an HCN berücksichtigt wird. Zu diesem Zweck wird wie folgt verfahren:

Der Niederschlag auf dem Filter wird mit 50 ml Ammoniaklösung ( 3.8) behandelt, wobei sich Silbercyanid löst. Nach Auswaschen mit verdünnter Ammoniaklösung wird der Silbergehalt des Rückstandes bestimmt und in ml 0,02 N Silbernitratlösung umgerechnet.

Der Gehalt an HCN der Probe kann auch durch Titration des ammoniakhaltigen Filtrats nach Ansäuern mit Salpetersäure bestimmt werden.

3. BESTIMMUNG VON CALCIUM

1. Zweck und Anwendungsbereich

Die Methode erlaubt die Bestimmung des Gehaltes an Gesamt-Calcium in Futtermitteln.

2. Prinzip

Die Probe wird verascht, die Asche wird mit Salzsäure behandelt und das Calcium in Form von Calcium-Oxalat gefällt. Nach Auflösung des Niederschlags in Schwefelsäure wird die gebildete Oxalsäure mit Kaliumpermanganatlösung titriert.

3. Reagenzien

3.1. Salzsäure p.a., D: 1,14

3.2. Salpetersäure p.a., D: 1,40

3.3. Schwefelsäure p.a., D: 1,13

3.4. Ammoniak p.a., D: 0,98

3.5. Kalt gesättigte Ammonium-Oxalatlösung p.a.

3.6. Citronensäurelösung p.a. 30 v. H. (G/V)

3.7. Ammoniumchloridlösung p.a. 5 v. H. (G/V)

3.8. Bromkresolgrünlösung 0,04 v. H. (G/V)

3.9. 0,1 N Kaliumpermanganatlösung

4. Geräte

4.1. Elektrischer Muffelofen mit Thermostat

4.2. Veraschungsschalen aus Platin, Quarz oder Porzellan

4.3. Glasfiltertiegel, Porosität G4

5. Ausführung

Etwa 5 g der Analysenprobe (oder, wenn nötig, mehr), auf 1 mg genau gewogen, werden bei 550 °C verascht. Die Asche wird in ein 250-ml-Becherglas gebracht. Danach werden 40 ml Salzsäure ( 3.1), 60 ml Wasser sowie einige Tropfen Salpetersäure ( 3.2) hinzugefügt. Man kocht auf und hält 30 Minuten lang im Sieden. Nach dem Abkühlen wird die Lösung in einen 250-ml-Meßkolben übergespült und das Becherglas ausgewaschen. Anschließend wird der Messkolben bis zur Marke mit Wasser aufgefüllt, umgeschüttelt und filtriert.

Je nach dem vermuteten Gehalt der Probe an Calcium wird ein aliquoter Teil, der 10 bis 40 mg Calcium enthält, in ein 250-ml-Becherglas abpipettiert, 1 ml

Citronensäurelösung ( 3.6) und 5 ml Ammoniumchloridlösung ( 3.7) hinzugefügt und auf etwa 100 ml mit Wasser aufgefüllt. Nach Aufkochen werden 8 bis 10 Tropfen Bromkresolgrünlösung ( 3.8) sowie 30 ml heiße Ammonium-Oxalatlösung ( 3.5) hinzugefügt. Falls ein Niederschlag entsteht, wird dieser durch Hinzufügung einiger Tropfen Salzsäure ( 3.1) aufgelöst.

Anschließend wird sehr langsam und unter beständigem Schütteln mit Ammoniak ( 3.4) neutralisiert, bis der pH-Wert etwa zwischen 4,4 und 4,6 liegt (Umschlag des Indikators). Zum Absetzen des Niederschlags wird das Becherglas 30 Minuten lang auf ein Bad mit kochendem Wasser gesetzt. Dann wird das Becherglas vom Wasserbad heruntergestellt und sein Inhalt nach einer Stunde durch einen Filtertiegel G4 filtriert. Das Becherglas und der Tiegel werden mit Wasser gewaschen, bis der überschüssige Ammonium-Oxalat entfernt ist. (Die Abwesenheit von Chlorid im Waschwasser zeigt an, dass genügend ausgewaschen wurde.)

Der Niederschlag wird auf dem Filter mit 50 ml heißer Schwefelsäure ( 3.3) aufgelöst, der Tiegel mit heißem Wasser ausgewaschen und das Filtrat auf etwa 100 ml aufgefüllt. Nach Erwärmen auf 70 bis 80 °C wird tropfenweise mit Kaliumpermanganatlösung ( 3.9) titriert, bis die Farbe 1 Min. lang rosa bleibt.

6. Berechnung der Ergebnisse

1 ml 0,1 N Permanganatlösung entspricht 2,004 mg Calcium. Das Ergebnis wird in Hundertteilen der Probe ausgedrückt.

7. Bemerkungen

7.1. Bei einem sehr geringen Calciumgehalt wird wie folgt verfahren: Der Calcium-Oxalat-Niederschlag wird durch ein aschefreies Papierfilter filtriert. Nach dem Auswaschen wird das Filter getrocknet und in einer Platinschale bei 550 °C verascht. Der Rückstand wird mit einigen Tropfen Schwefelsäure ( 3.3) aufgelöst, zur Trockne verdampft, nochmals bei 550 °C verascht und gewogen. Wird das Gewicht des erhaltenen Calciumsulfats = p gesetzt, so enthält der aliquote Teil der Probe p × 0,2944 Calcium.

7.2. Wenn das Erzeugnis nur aus Mineralstoffen besteht, dann wird die Einwaage ohne vorherige Veraschung mit Salzsäure aufgelöst. Gewisse Erzeugnisse, wie z.B. Calciumaluminiumphosphate, sind in Säuren schwer löslich. In diesem Fall führt man vor der Auflösung einen alkalischen Aufschluss wie folgt durch: In einer Platinschale wird die Probe mit etwa der fünffachen Menge einer Mischung aus gleichen Teilen Kaliumcarbonat und Natriumcarbonat gemischt. Man erhitzt vorsichtig, bis die Mischung vollständig geschmolzen ist; anschließend wird abgekühlt und mit Salzsäure aufgelöst.

7.3. Wenn der Gehalt an Magnesium der Probe hoch ist, wird der Oxalatniederschlag umgefällt.

4. BESTIMMUNG VON CARBONATEN

1. Zweck und Anwendungsbereich

Die Methode erlaubt die Bestimmung von Carbonaten, konventionell ausgedrückt als Calciumcarbonat, in den meisten Futtermitteln. In bestimmten Fällen (z.B. Eisencarbonat) ist jedoch eine besondere Methode anzuwenden.

2. Prinzip

Die Carbonate werden mit Salzsäure zersetzt; die freigewordene Kohlensäure wird in einem graduierten Rohr aufgefangen. Das erhaltene Gasvolumen wird mit demjenigen verglichen, welches unter den gleichen Bedingungen aus einer bekannten Menge Calciumcarbonat p.a. erhalten wird.

3. Reagenzien

3.1. Salzsäure, D: 1,10

3.2. Calciumcarbonat p.a.

3.3 Etwa 0,1 N Schwefelsäure, mit Methylrot angefärbt.

4. Gerät

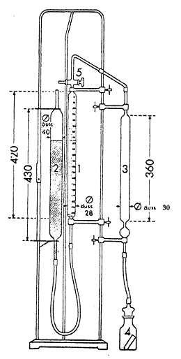
Apparatur nach Scheibler-Dietrich (s. Skizze) oder gleichwertiges Gerät.

5. Ausführung

Je nach dem Carbonatgehalt der Probe wird eine Einwaage wie folgt eingewogen:

0,5 g bei Erzeugnissen mit 50 bis 100 v. H. Carbonaten, ausgedrückt als Calciumcarbonat;

1 g bei Erzeugnissen mit 10 bis 50 v. H. Carbonaten, ausgedrückt als Calciumcarbonat;

2 g bis 3 g bei anderen Erzeugnissen.

Man bringt die Einwaage in die Spezialflasche ( 4) der Apparatur, die mit einem Röhrchen aus unzerbrechlichem Material versehen ist, das 10 ml Salzsäure ( 3.1) enthält, und schließt an die Apparatur an. Dann dreht man den Drei-Weg-Hahn ( 5) so, dass das Rohr (1) mit der Außenluft in Verbindung steht. Mit dem beweglichen Rohr ( 2), das mit ausgefärbter Schwefelsäure ( 3.3) gefüllt und mit dem graduierten Rohr ( 1) verbunden ist, wird das Niveau der Flüssigkeit auf den Nullpunkt der Skala eingestellt. Der Hahn ( 5) wird so gedreht, dass das Rohr ( 1) mit dem Rohr ( 2) verbunden ist, dann wird der Nullpunkt kontrolliert.

Nun lässt man langsam durch Neigen der Flasche ( 4) die Salzsäure auf die Substanz fließen und gleicht den Druck durch Senken des Rohres ( 2) aus. Man bewegt die Flasche ( 4) so lange hin und her, bis die Kohlensäureentwicklung ganz aufgehört hat.

Der Druckausgleich erfolgt, indem die Flüssigkeit in den Rohren ( 1) und ( 2) auf gleiches Niveau gebracht wird. Bevor abgelesen wird, wartet man einige Minuten, bis das Volumen konstant bleibt.

Ein Vergleichsversuch mit 0,5 g Calciumcarbonat ( 3.2) wird unter denselben Bedingungen durchgeführt.

6. Berechnung der Ergebnisse

Der Gehalt an Carbonaten, ausgedrückt als Calciumcarbonat, in g pro Hundertteilen der Probe wird durch folgende Formel berechnet:

V * 100 / T * 2P

wobei:

V = ml CO2entwickelt aus der Einwaage,

T = ml CO2 entwickelt aus 0,5 g CaCO3 p.a.,

P = Gewicht der Einwaage in g.

7. Anmerkungen

7.1. Wenn die Einwaage mehr als 2 g beträgt, bringt man vorher 15 ml destilliertes Wasser in die Flasche ( 4) und mischt den Inhalt vor Beginn des Versuchs. Man fügt dasselbe Wasservolumen bei dem Vergleichsversuch zu.

7.2. Wenn man einen Apparat benutzt, dessen Volumen von demjenigen von Scheibler-Dietrich abweicht, muss man die Einwaage, die Vergleichsmenge und die Berechnung entsprechend anpassen.

. APPARATUR NACH SCHEIBLER-DIETRICH ZUR BESTIMMUNG VON CO2

(Messungen in mm)

5. BESTIMMUNG VON ROHASCHE

1. Zweck und Anwendungsbereich

Die Methode erlaubt die Bestimmung des Gehaltes an Rohasche in Futtermitteln.

2. Prinzip

Die Probe wird bei 550 °C verascht; der Rückstand wird gewogen.

3. Reagenzien

Ammoniumnitratlösung 20 v. H. (G/V).

4. Geräte

4.1. Heizplatte

4.2. Elektrischer Muffelofen mit Thermostat

4.3. Veraschungsschalen aus Platin oder Platin-Gold-Legierung (10 v. H. Pt, 90 v. H. Au), rechtwinklig (60 × 40 × 25 mm) oder kreisförmig (Durchmesser: 60 bis 75 mm, Höhe: 20 bis 25 mm).

5. Ausführung

Etwa 5 g (2,5 g bei Stoffen, die zur Blasenbildung neigen) der Probe werden auf 1 mg genau in eine vorher geglühte und tarierte Veraschungsschale eingewogen. Die Schale wird auf der Heizplatte allmählich bis zum Verkohlen des Stoffes erhitzt. Die Schale wird dann in den auf 550 °C ± 5 °C eingestellten Muffelofen gebracht und darin so lange gehalten, bis man eine weiße, hellgraue oder rötliche Asche erhält, die offensichtlich frei von Kohlepartikeln ist. Dann wird die Schale in einen Exsickator gestellt und nach dem Abkühlen unmittelbar gewogen.

6. Berechnung der Ergebnisse

Das Gewicht des Rückstandes wird berechnet, indem das Leergewicht abgezogen wird. Das Ergebnis wird in Hundertteilen der Probe ausgedrückt.

7. Bemerkungen

7.1. Bei schwer zerstörbaren Stoffen werden der abgekühlten Rohasche einige Tropfen 20 v. H. Ammoniumnitratlösung nach einer Veraschung von mindestens 3 Std. zugefügt (jedoch mit Vorsicht, um ein Zerstäuben und Ankleben der Asche zu vermeiden). Nach Trocknung im Trockenschrank wird die Veraschung weitergeführt. Die Operation wird gegebenenfalls bis zur vollständigen Veraschung wiederholt.

7.2. Bei Stoffen, die der unter 7.1 beschriebenen Behandlung widerstehen, ist wie folgt vorzugehen. Nach einer Veraschung von 3 Std. wird die Asche mit heißem Wasser aufgenommen und durch ein kleines aschefreies Filter abfiltriert. In der ursprünglichen Schale werden Filter und dessen Inhalt verascht. Das Filtrat wird in die abgekühlte Schale gebracht, zur Trockne eingedampft, verascht und gewogen.

7.3. Bei Ölen und Fetten wird eine Einwaage von etwa 25 g in einer Schale entsprechender Abmessung genau gewogen. Es wird dann durch Anzünden des Stoffes mit einem Streifen aus aschefreiem Filterpapier verkohlt. Nach der Verkohlung wird mit einer eben ausreichenden Menge Wasser angefeuchtet. Anschließend wird getrocknet und wie unter 5. angegeben zu Ende geführt.

6. BESTIMMUNG VON IN SALZSÄURE UNLÖSLICHER ASCHE

1. Zweck und Anwendungsbereich

Die Methode erlaubt die Bestimmung des Gehaltes an in Salzsäure unlöslichen, mineralischen Bestandteilen der Futtermittel. Abhängig von der Art der Probe sind zwei Verfahren vorgesehen.

1.1. Verfahren A: anzuwenden bei organischen Einzelfuttermitteln und bei den meisten Mischfuttermitteln;

1.2. Verfahren B: anzuwenden bei Mineralstoffen und Mineralstoffmischungen sowie bei allen Mischfuttermitteln, die nach Verfahren a einen Gehalt an in Salzsäure unlöslicher Asche von mehr als 1 v. H. ergeben haben.

2. Prinzip

2.1. Verfahren A: Die Probe wird verascht, die Asche in Salzsäure zum Sieden gebracht und der unlösliche Rückstand abfiltriert und gewogen.

2.2. Verfahren B: Die Probe wird mit Salzsäure behandelt. Die Lösung wird abfiltriert, der Rückstand wird verascht und die Asche wird dann weiter behandelt, wie unter Verfahren a beschrieben.

3. Reagenzien

3.1. 3 N Salzsäure

3.2. Trichloressigsäurelösung 20 v. H. (G/V)

3.3. Trichloressigsäurelösung 1 v. H. (G/V)

4. Geräte

4.1. Heizplatte

4.2. Elektrischer Muffelofen mit Thermostat

4.3. Veraschungsschalen aus Platin oder Platin-Gold-Legierung (10 v. H. Pt, 90 v. H. Au), rechtwinklig (60 × 40 × 25 mm) oder kreisförmig (Durchmesser: 60 bis 75 mm, Höhe: 20 bis 25 mm).

5. Ausführung

5.1. Verfahren A

Die Einwaage wird unter den Bedingungen, die für die Bestimmung der Rohasche beschrieben sind, verascht. Es kann auch die bei der Rohaschebestimmung erhaltene Asche verwendet werden.

Die Asche wird in ein Becherglas von 250 ml bis 400 ml Inhalt mit 75 ml 3 N Salzsäure ( 3.1) überführt. Man erhitzt vorsichtig zum Sieden und kocht 15 Min. gelinde weiter. Die Lösung wird heiß durch ein aschefreies Papierfilter filtriert und der Rückstand mit heißem Wasser bis zum Ausbleiben der sauren Reaktion ausgewaschen. Das Filter mit Rückstand wird nach dem Trocknen bei einer Temperatur von mindestens 550 °C und höchstens 700 °C in einer tarierten Veraschungsschale verascht. Nach dem Abkühlen im Exsickator wird gewogen.

5.2. Verfahren B

5 g der Analysenprobe werden auf 1 mg genau eingewogen und in ein 250-ml- bis 400-ml-Becherglas gebracht. Man fügt nacheinander 25 ml Wasser und 25 ml 3 N Salzsäure ( 3.1) hinzu, schwenkt um und wartet bis zum Nachlassen des Aufbrausens. Dann gibt man weitere 50 ml 3 N Salzsäure ( 3.1) hinzu. Nach dem Nachlassen der eventuell erneut auftretenden Gasentwicklung stellt man das Becherglas 30 Min. lang in ein siedendes Wasserbad oder, wenn notwendig, länger, bis die vollständige Hydrolyse eventuell vorhandener Stärke eingetreten ist.

Man filtriert heiß durch ein aschefreies Filter und wäscht mit etwa 50 ml heißem Wasser aus (s. Bemerkung 7). Man bringt das Filter mit Rückstand in eine Veraschungsschale, trocknet und verascht bei einer Temperatur von mindestens 550 °C und höchstens 700 °C. Die Asche wird in ein 250-ml- bis 400-ml-Becherglas mit 75 ml 3 N Salzsäure ( 3.1) überführt und weiter verfahren wie in 5.1 Absatz 2.

6. Berechnung der Ergebnisse

Das Gewicht des Rückstandes wird berechnet, indem das Leergewicht abgezogen wird. Das Ergebnis wird in Hundertteilen der Probe ausgedrückt.

7. Bemerkung

Wenn die Filtration Schwierigkeiten bereitet, so wird die Bestimmung wiederholt. Hierbei werden an Stelle von 50 ml 3 N Salzsäure 50 ml Trichloressigsäurelösung 20 v. H. ( 3.2) zugegeben und das Filter mit einer heißen Trichloressigsäurelösung 1 v. H. ( 3.3) ausgewaschen.

7. BESTIMMUNG VON CHLOR AUS CHLORIDEN

1. Zweck und Anwendungsbereich

Die Methode erlaubt die Bestimmung des Chlors aus wasserlöslichen Chloriden, konventionell ausgedrückt als Natriumchlorid. Sie ist bei allen Futtermitteln anwendbar.

2. Prinzip

Die Chloride werden in Wasser gelöst. Handelt es sich um Erzeugnisse, die organische Stoffe enthalten, wird eine Klärung vorgenommen. Die Lösung wird mittels Salpetersäure schwach angesäuert, und die Chloride werden mit einer Silbernitrat-Lösung als Silberchlorid gefällt. Der Silbernitrat-Überschuss wird mit einer Ammoniumthiocyanatlösung nach Methode Volhard zurücktitriert.

3. Reagenzien

3.1. 0,1 N Ammoniumthiocyanatlösung

3.2. 0,1 N Silbernitratlösung

3.3. Gesättigte Ammonium-Eisen(III)-Sulfatlösung

3.4. Salpetersäure, D: 1,38

3.5. Diäthyläther p.a.

3.6. Aceton p.a.

3.7. Carrez-Lösung I: 24 g Zinkacetat, (CH3COO)2Zn · 2 H2O und 3 g Eisessig werden in Wasser gelöst und auf 100 ml mit Wasser aufgefüllt.

3.8. Carrez-Lösung II: 10,6 g Kaliumhexacyanoferrat (II), K4[Fe(CN)6] · 3 H2O werden in Wasser gelöst und auf 100 ml mit Wasser aufgefüllt.

3.9. Aktivkohle p.a., chloridfrei und keine Chloride adsorbierend.

4. Gerät

Mechanischer Schüttelapparat, ungefähr 35 bis 40 U/Min.

5. Ausführung

5.1. Herstellung der Lösung

Je nach der Art der Probe wird, wie unter 5.1.1, 5.1.2 oder 5.1.3 beschrieben, eine Lösung hergestellt.

Im Vergleich muss ein Blindversuch ohne Analysenprobe durchgeführt werden.

5.1.1. Probe, frei von organischen Stoffen

Eine Menge (nicht mehr als 10 g) der Analysenprobe mit einem Gehalt von höchstens 3 g Chlor in Form von Chloriden wird auf 1 mg genau abgewogen und in einen 500-ml-Meßkolben mit 400 ml Wasser von etwa 20 °C gebracht. Dann wird 30 Min. lang in dem Schüttelapparat rotiert, bis zur Marke aufgefüllt, gemischt und filtriert.

5.1.2. Probe, die organische Stoffe enthält, mit Ausnahme von den in 5.1.3 angeführten

5 g der Analysenprobe werden auf 1 mg genau eingewogen und mit 1 g Aktivkohle in einen 500-ml-Meßkolben gebracht. Hierzu werden 400 ml Wasser von etwa 20 °C und 5 ml Carrez-Lösung I ( 3.7) gegeben, umgeschüttelt und 5 ml Carrez-Lösung II ( 3.8) zugesetzt. Dann wird 30 Min. lang in dem Schüttelapparat rotiert, bis zur Marke aufgefüllt, gemischt und filtriert.

5.1.3. Backfutter, Leinkuchen und Leinmehl, Erzeugnisse mit einem hohen Leinmehlgehalt oder sonstige Erzeugnisse mit einem hohen Gehalt an Pflanzenschleim oder kolloidalen Stoffen (z.B. verkleisterte Stärke)

Die Lösung wird wie unter 5.1.2 beschrieben zubereitet, ausgenommen das Filtrieren. Es wird dekantiert (falls erforderlich, zentrifugiert); dann werden 100 ml des oberen Teils der Lösung in einen 200-ml-Meßkolben pipettiert. Es wird mit Aceton ( 3.6) zunächst gemischt und sodann mit Aceton bis zur Marke aufgefüllt, geschüttelt und filtriert.

5.2. Titration

25 bis 100 ml des Filtrats (je nach dem zu erwartenden Chlorgehalt), das nach 5.1.1, 5.1.2 oder 5.1.3 erhalten wurde, werden in einen Erlenmeyerkolben pipettiert. Die aliquote Menge darf nicht mehr als 150 mg Chlor (Cl) enthalten. Falls erforderlich, wird mit Wasser auf mindestens 50 ml verdünnt. Dann werden 5 ml Salpetersäure ( 3.4), 20 ml Ammonium-Eisen-Sulfatlösung ( 3.3) und 2 Tropfen Ammoniumthiocyanatlösung ( 3.1) aus einer bis zum Nullpunkt gefüllten Bürette hinzugesetzt. Anschließend wird aus einer Bürette Silbernitratlösung ( 3.2) zugegeben, bis ein Überschuss von 5 ml vorhanden ist. Dann werden 5 ml Diäthyläther ( 3.5) zugegeben und kräftig geschüttelt, um den Niederschlag zum Ausflocken zu bringen.

Der Überschuss an Silbernitrat wird mit Ammoniumthiocyanatlösung ( 3.1) titriert, bis eine rotbraune Farbe auftritt, die eine Min. beständig ist.

6. Berechnung

Die Menge Chlor (p), ausgedrückt als Natriumchlorid, die in dem Volumen des für die Titration entnommenen Filtrats vorhanden ist, wird nach folgender Formel berechnet:

p = 5,845 (V1 - V2) mg

wobei:

V1 = ml der zugegebenen 0,1 N Silbernitratlösung,

V2 = ml der 0,1 N Ammoniumthiocyanatlösung, die für die Titration verbraucht werden.

Falls der Blindversuch einen Verbrauch an 0,1 N Silbernitratlösung anzeigt, wird dieser Wert von dem (V1 - V2) Volumen abgezogen.

Das Ergebnis wird in Hundertteilen der Probe ausgedrückt.

7. Bemerkungen

7.1. Man kann auch die potentiometrische Titration anwenden.

7.2. Bei sehr fettreichen Erzeugnissen ist eine vorherige Entfettung mit Diäthyläther oder Petroläther durchzuführen.

7.3. Bei Fischmehl kann die Titration nach der Methode Mohr durchgeführt werden.

9. BESTIMMUNG VON LACTOSE

1. Zweck und Anwendungsbereich

Die Methode erlaubt die Bestimmung des Gehaltes an Lactose in Futtermitteln, die mehr als 0,5 v. H. Lactose enthalten.

2. Prinzip

Die Zucker werden in Wasser gelöst. Die Lösung wird mit Hefe - Saccharomyces cerevisiae - vergoren, wobei die Lactose nicht angegriffen wird. Nach Klärung und Filtration wird der Gehalt an Lactose nach Luff-Schoorl im Filtrat bestimmt.

3. Reagenzien

3.1. Saccharomyces cerevisiae-Suspension: 25 g frische Hefe werden in 100 ml Wasser suspensiert. Im Kühlschrank ist die Suspension höchstens eine Woche lang haltbar.

3.2. Carrez-Lösung I: 24 g Zinkazetat Zn (CH3COO)2· 2 H2O und 3 g Eisessig werden in Wasser gelöst und auf 100 ml mit Wasser aufgefüllt.

3.3. Carrez-Lösung II: 10,6 g Kaliumhexacyanoferrat(II), K4[Fe(CN)6] · 3 H2O werden in Wasser gelöst und auf 100 ml mit Wasser aufgefüllt.

3.4. Reagenz nach Luff-Schoorl:

Unter vorsichtigem Umschwenken wird die Zitronensäurelösung ( 3.4.2) in die Natriumcarbonatlösung ( 3.4.3) gegossen, dann wird die Kupfersulfatlösung (3.4.1) hinzugefügt und zu 1 l mit Wasser aufgefüllt. Man lässt über Nacht stehen und filtriert. Die Normalität des so erhaltenen Reagenzes muss nachgeprüft werden (0,1 N Cu; 2 N Na2CO3). Der pH-Wert beträgt etwa 9,4.

3.4.1. Kupfersulfatlösung: 25 g Kupfersulfat p.a., CuSO4·5 H2O, eisenfrei, werden in 100 ml Wasser gelöst.

3.4.2. Zitronensäurelösung: 50 g Zitronensäure p.a., C6H8O7·H2O, werden in 50 ml Wasser gelöst.

3.4.3. Natriumcarbonatlösung: 143,8 g Natriumcarbonat p.a., wasserfrei, werden in ungefähr 300 ml warmem Wasser gelöst. Die Lösung wird abgekühlt.

3.5. Bimssteinkörner mit Salzsäure ausgekocht, mit Wasser gewaschen und getrocknet.

3.6. Kaliumjodidlösung 30 v. H. (G/V)

3.7. 6 N Schwefelsäure

3.8. 0,1 N Natriumthiosulfatlösung

3.9. Stärkelösung; eine Aufschlämmung von 5 g löslicher Stärke in 30 ml Wasser wird zu 1 l siedendem Wasser hinzugefügt und 3 Min. lang im Sieden gehalten; dann wird abgekühlt und gegebenenfalls als Konservierungsmittel 10 mg Quecksilberjodid hinzugefügt.

4. Gerät

Wasserbad mit Thermostat auf 38 bis 40 °C eingestellt.

5. Ausführung

1 g der Probe wird auf 1 mg genau eingewogen und mit 25 bis 30 ml Wasser in einen 100-ml-Meßkolben gebracht. Der Kolben wird 30 Min. lang in kochendem Wasser stehen gelassen und danach auf etwa 35 °C abgekühlt. 5 ml Hefesuspension ( 3.1) werden hinzugefügt. Dann wird der Kolben umgeschüttelt, 2 Std. lang in einem Wasserbad bei 38 ° bis 40 °C stehen gelassen und danach auf etwa 20 °C abgekühlt.

Sodann werden 2,5 ml Carrez-Lösung I ( 3.2) hinzugefügt, es wird 30 Sek. lang geschüttelt; dann werden 2,5 ml Carrez-Lösung II ( 3.3) hinzugefügt und wieder 30 Sek. lang geschüttelt; nun wird mit Wasser auf 100 ml aufgefüllt, geschüttelt und filtriert. Vom Filtrat wird eine Menge von höchstens 25 ml, die möglichst 40 bis 80 mg Lactose enthält, in einen 300-ml-Erlenmeyerkolben abpipettiert und, wenn nötig, mit Wasser auf 25 ml ergänzt.

Es wird auf dieselbe Weise ein Blindversuch mit 5 ml Hefesuspension ( 3.1) ausgeführt.

Dann wird der Gehalt an Lactose nach Luff-Schoorl wie folgt bestimmt: Nach Zugabe von genau 25 ml Reagenz nach Luff-Schoorl (3.4) und von 2 Körnchen Bimsstein ( 3.5) wird unter Schütteln mit der Hand über freier Flamme von mittlerer Höhe erhitzt, so dass die Flüssigkeit in etwa 2 Min. zum Sieden kommt. Anschließend wird der Erlenmeyerkolben sofort auf ein Drahtnetz mit einer Asbestscheibe, in die ein Loch von etwa 6 cm Durchmesser gestanzt wurde, gestellt; vorher wird unter dem Drahtnetz eine Flamme entzündet und so eingestellt, dass der Kolben nur am Boden erhitzt wird; dann wird der Kolben mit einem Rückflusskühler verbunden. Von diesem Augenblick an lässt man genau 10 Min. sieden, kühlt dann sofort in kaltem Wasser ab und titriert nach etwa 5 Min. wie folgt:

Zu der Flüssigkeit werden 10 ml Kaliumjodidlösung ( 3.6) und anschließend sofort, aber vorsichtig (wegen der Gefahr des übermäßigen Schäumens), 25 ml 6 N Schwefelsäure ( 3.7) hinzugegeben. Dann wird mit 0,1 N Natriumthiosulfatlösung ( 3.8) zunächst bis zum Auftreten einer mattgelben Farbe titriert und nach Zugabe von Stärkelösung ( 3.9) als Indikator die Titration zu Ende geführt.

Die gleiche Titration wird in einer Mischung aus genau 25 ml Reagenz nach Luff-Schoorl ( 3.4) und 25 ml Wasser durchgeführt nach Zugabe von 10 ml Kaliumjodidlösung ( 3.6) und 25 ml 6 N Schwefelsäure ( 3.7), jedoch ohne vorheriges Erhitzen.

6. Berechnung der Ergebnisse

Aus der beigefügten Tabelle wird diejenige Menge Lactose in mg abgelesen, die der Differenz der Ergebnisse beider Titrationen, ausgedrückt in ml 0,1 N Natriumthiosulfatlösung, entspricht.

Das Ergebnis entspricht dem Gehalt an wasserfreier Lactose und wird in Hundertteilen der Probe ausgedrückt.

7. Bemerkungen

Wenn mehr als 40 v. H. vergärbare Zucker vorhanden sind, werden mehr als 5 ml Hefesuspension ( 3.1) benutzt.

Tabelle für 25 ml des Reagenzes nach Luff-Schoorl ml 0,1 N Na2S2O3 bei 2 Min. Anheizen, 10 Min. Sieden

0,1 N
Na2S2O3
Glukose, Fruktose, invertierter Zucker
C6H12O6
Lactose
C12H22O11
Maltose
C12H22O11
0,1 N
Na2S2O3
ml mg Differenz mg Differenz mg Differenz ml
1 2,4 2,4 3,6 3,7 3,9 3,9 1
2 4,8 2,4 7,3 3,7 7,8 3,9 2
3 7,2 2,5 11,0 3,7 11,7 3,9 3
4 9,7 2,5 14,7 3,7 15,6 4,0 4
5 12,2 2,5 18,4 3,7 19,6 3,9 5
6 14,7 2,5 22,1 3,7 23,5 4,0 6
7 17,2 2,6 25,8 3,7 27,5 4,0 7
8 19,8 2,6 29,5 3,7 31,5 4,0 8
9 22,4 2,6 33,2 3,8 35,5 4,0 9
10 25,0 2,6 37,0 3,8 39,5 4,0 10
11 27,6 2,7 40,8 3,8 43,5 4,0 11
12 30,3 2,7 44,6 3,8 47,5 4,1 12
13 33,0 2,7 48,4 3,8 51,6 4,1 13
14 35,7 2,8 52,2 3,8 55,7 4,1 14
15 38,5 2,8 56,0 3,9 59,8 4,1 15
16 41,3 2,9 59,9 3,9 63,9 4,1 16
17 44,2 2,9 63,8 3,9 68,0 4,2 17
18 47,1 2,9 67,7 4,0 72,2 4,3 18
19 50,0 3,0 71,7 4,0 76,5 4,4 19
20 53,0 3,0 75,7 4,1 80,9 4,5 20
21 56,0 3,1 79,8 4,1 85,4 4,6 21
22 59,1 3,1 83,9 4,1 90,0 4,6 22
23 62,2   88,0   94,6   23
weiter .

umwelt-online - Demo-Version


(Stand: 21.03.2024)

Alle vollständigen Texte in der aktuellen Fassung im Jahresabonnement
Nutzungsgebühr: ab 105.- € netto

(derzeit ca. 7200 Titel s.Übersicht - keine Unterteilung in Fachbereiche)

Preise & Bestellung

Die Zugangskennung wird kurzfristig übermittelt

? Fragen ?
Abonnentenzugang/Volltextversion