umwelt-online: Verordnung (EG) Nr. 2003/2003 über Düngemittel (6)

zurück

Methode 5
Bestimmung der Korngröße

1. Zweck und Anwendungsbereich

Diese Methode dient der Festlegung eines Verfahrens zur Bestimmung der Korngröße von AmmoniumnitratEinnährstoffdüngern mit hohem Stickstoffgehalt.

2. Prinzip

Eine Probe wird von Hand oder mechanisch durch einen Satz von drei Sieben gesiebt. Der Rückstand auf jedem Sieb wird ausgewogen. Die relativen Anteile der die vorgeschriebenen Siebe passierenden Probemenge werden berechnet.

3. Geräte

3.1. Standardisierte Prüfsiebe aus Drahtgewebe mit 200 mm Durchmesser und Maschenweite von 2,0 mm, 1,00 mm und 0,5 mm mit zugehörigem Deckel und Auffanggefäß.

3.2. Waage mit einer Wägegenauigkeit von 0,1 g.

3.3. Mechanische Schüttelvorrichtung, falls vorhanden, die die Probemenge sowohl in vertikaler als auch in horizontaler Richtung bewegt.

4. Durchführung

4.1. Die Probe wird in repräsentative Teilmengen von rund 100 g unterteilt.

4.2. Diese Teilmengen werden auf 0,1 g genau gewogen.

4.3. Der Siebsatz ist in aufsteigender Reihenfolge anzuordnen (Auffanggefäß, 0,5 mm, 1 mm, 2 mm). Die abgewogene Probe wird auf das oberste Sieb gebracht, das mit dem Deckel verschlossen wird.

4.4. Man schüttelt von Hand oder mechanisch und zwar so, dass sowohl vertikale als auch horizontale Bewegungen ausgeführt werden; schüttelt man von Hand, so klopft man gelegentlich auf die Siebe. Man schüttelt 10 Minuten oder bis der Siebdurchsatz weniger als 0,1 g/Min. beträgt.

4.5. Die Siebe werden nacheinander abgenommen. Der Siebrückstand wird entnommen. Gegebenenfalls wird das entsprechende Sieb von der Gegenseite her mit einem weichen Pinsel leicht ausgepinselt.

4.6. Man wiegt den Rückstand von den einzelnen Sieben und vom Auffanggefäß auf 0,1 g genau aus.

5. Angabe der Ergebnisse

5.1. Die Massenanteile sind in % der Summe der Massenanteile (und nicht der ursprünglichen Einwaage) umzurechnen.

Der prozentuale Anteil im Auffanggefäß (d. h. Korngröße < 0,5 mm) ist als a % zu berechnen.

Der Anteil des Rückstandes auf dem 0,5-mm-Sieb ist als B % zu berechnen. Der das 1,00-mm-Sieb passierende Anteil ist als (a + B) % zu berechnen.

Die Summe der Massenanteile sollte um höchstens 2 % von der ursprünglichen Einwaage abweichen.

5.2. Es sind mindestens zwei getrennte Bestimmungen durchzuführen. Die einzelnen Ergebnisse für a dürfen nicht um mehr als 1,0 % absolut und diejenigen für B nicht um mehr als 1,5 % absolut voneinander abweichen. Falls dies nicht der Fall ist, ist der Test zu wiederholden.

6. Darstellung der Ergebnisse

Für die beiden Werte a und a + B ist der jeweilige Durchschnittswert anzugeben.

Methode 6
Bestimmung des Chlorgehalts (als Chloridionen)

1. Zweck und Anwendungsbereich

In diesem Dokument ist ein Verfahren zur Bestimmung des Gehalts an Chlor (Chloridionen) in Ammoniumnitrat-Einnährstoffdüngern mit hohem Stickstoffgehalt festgelegt.

2. Prinzip

Die in Wasser gelösten Chloridionen werden in saurem Milieu durch eine potentiometrische Titration mit Silbernitrat-Maßlösung bestimmt.

3. Reagenzien

Destilliertes oder vollständig entmineralisiertes Wasser, frei von Chloridionen

3.1. Azeton, analysenrein

3.2. Konzentrierte Salpetersäure (Dichte bei 20 °C = 1,40 g/ml)

3.3. Silbernitrat-Maßlösung, 0,1 mol/l; in brauner Glasflasche aufzubewahren

3.4. Silbernitrat-Maßlösung 0,004 mol/l; zum Zeitpunkt der Verwendung herstellen

3.5. Kaliumchlorid-Standardmaßlösung. 0,1 mol/l 3,7276 g analysereines Kaliumchlorid, das zuvor eine Stunde bei 130 °C getrocknet und im Exsikkator auf Raumtemperatur abgekühlt worden ist, werden auf 0,1 g genau gewogen, in Wasser gelöst und quantitativ in einen 500-ml-Messkolben umgegossen; der Kolben wird bis zur Marke aufgefüllt und die Lösung durchgemischt.

3.6. Kaliumchlorid-Standardlösung 0,004 mol/l; zum Zeitpunkt der Verwendung herzustellen

4. Geräte

4.1. Potentiometer mit Silberelektrode und Kalomel-Bezugselektrode: Empfindlichkeit 2mV, Messbereich von -500 bis +500 mV

4.2. Brücke, die eine gesättigte Kaliumnitratlösung enthält und mit der Kalomelelektrode ( 4.1) verbunden wird. Die Brücke ist an den Enden mit porösen Stopfen versehen

4.3. Magnetrührer mit einem teflonbeschichteten Rührstäbchen

4.4. Mikrobürette mit Feindosierventil und 0,01-ml-Graduierung

5. Durchführung

5.1. Einstellung des Titers der Silbernitratlösungen

5,00 ml und 10,00 ml der entsprechenden Kaliumchlorid-Standardmaßlösung ( 3.6) werden in zwei niedrige Bechergläser mit geeignetem Fassungsvermögen (z.B. 250 ml) gegeben. Die Titration des Inhalts jedes Bechers wird folgendermaßen durchgeführt.

5 ml Salpetersäure ( 3.2) und 120 ml Azeton ( 3.1) hinzufügen; das Gesamtvolumen mit Wasser auf ca. 150 ml auffüllen. Rührstäbchen des Magnetrührers ( 4.3) in den Titrationsbecher einführen und Rührgerät einschalten. Silberelektrode ( 4.1) und das freie Ende der Brücke ( 4.2) in die Lösung eintauchen. Die Elektroden an das Potentiometer ( 4.1) anschließen und nach Nullabgleich den Wert des Ausgangspotentials des Gerätes notieren.

Man titriert, indem mit der Mikrobürette ( 4.4) entsprechend der angewandten Kaliumchlorid-Standardlösung anfänglich 4 bzw. 9 ml Silbernitratmaßlösung hinzugegeben werden. Die Zugabe der 0,004-mol/l-Titerlösung wird in Teilmengen von 0,1 ml und der 0,1-mol/l-Titerlösung in Teilmengen von 0,05 ml fortgesetzt. Nach jeder Zugabe ist die Stabilisierung des Potentials abzuwarten.

In den beiden ersten Spalten einer Tabelle sind die zugefügten Volumina und die entsprechenden Potentialwerte zu notieren.

In einer dritten Spalte der Tabelle werden die sukzessiven Potentialzunahmen (Δ1E) notiert. In einer vierten Spalte notiert man dann die positiven oder negativen Unterschiede (Δ2E) zwischen den Potentialdifferenzen (Δ1E)Das Ende der Titration wird mit der Zugabe der Teilmenge von 0,1 bzw. 0,05 ml (V1) Silbernitratlösung erreicht, die den Höchstwert von Δ1E ergibt.

Das genaue Volumen (Veq) der Silbernitratlösung, die dem Reaktionsendpunkt entspricht, erhält man durch folgende Formel:


b
Veq = Vo + (V1 x
)
          B

Hierbei sind:

V0 = Gesamtvolumen der Silbernitratlösung unmittelbar unterhalb des Volumens, das den höchsten Zuwachs Δ1E ergibt, in ml
V1 = Volumen der letzten hinzugefügten Teilmenge der Silbernitratlösung (0,1 oder 0,05 ml) in ml
b = Wert des letzten positiven Δ2E
B = Summe der absoluten Werte des letzten positiven Δ2E und des ersten negativen Δ2E (siehe Beispiel in Tabelle 1)

5.2. Blindversuch

Man führt einen Blindversuch durch und berücksichtigt diesen bei der Berechnung des Endergebnisses. Das Ergebnis des Reagenzienblindwertes V4, in ml, wird nach folgender Formel erhalten:

V4 = 2V3 - V2

Hierbei sind:

V2 = genaues Volumen (Veq) der Silbernitratlösung, die der Titration von 10 ml der verwendeten Kaliumchlorid-Standardlösung entspricht, in ml
V3 = genaues Volumen (Veq) der Silbernitratlösung, die der Titration von 5 ml der verwendeten Kaliumchlorid-Bezugsmaßlösung entspricht, in ml.

5.3. Kontrollbestimmung

Der Blindversuch dient gleichzeitig dazu, das einwandfreie Funktionieren des Gerätes und die korrekte Durchführung des Testverfahrens zu prüfen.

5.4. Bestimmung

10 bis 20 g der Probe werden auf 0,01 g genau abgewogen und quantitativ in ein 250-ml-Becherglas gegeben. Zur eingewogenen Teilmenge fügt man 20 ml Wasser, 5 ml Salpetersäure ( 3.2) und 120 ml Azeton ( 3.1) zu und füllt mit Wasser auf ca. 150 ml auf.

Rührstab des Magnetrührers (4.3) in das Becherglas einführen, dieses auf das Rührgerät stellen und das Rührgerät einschalten. Die Silberelektrode ( 4.1) und das freie Ende der Brücke (4.2) in die Lösung einführen, die Elektroden an das Potentiometer (4.1) anschließen und den Wert des Ausgangspotentials nach Prüfung des Nullstandes des Gerätes notieren.

Titrieren, indem mit der Mikrobürette ( 4.4) die Silbernitratlösung in Teilmengen von 0,1 ml hinzugefügt wird. Nach jeder Zugabe ist die Stabilisierung des Potentials abzuwarten.

Die Titrierung gemäß 5.1 fortsetzen, wobei ab Absatz 4 zu beginnen ist. ("In den beiden ersten Spalten einer Tabelle sind die zugefügten Volumina und die entsprechenden Potentialwerte zu notieren . . .")

6. Darstellung der Ergebnisse

Das Analyseergebnis ist in Prozent Chlor des zur Untersuchung eingereichten Düngemittels anzugeben. Man berechnet den Gehalt an Chlor (Cl) nach folgender Formel:

    0,3545 ξ T ξ (V5- V4) ξ 100
Cl % =
    m

Hierbei sind:

T = Konzentration der verwendeten Silbernitratlösung in mol/l
V4 = Ergebnis des Blindversuchs in ml ( 5.2)
V5 = Wert von Veq in ml entsprechend der Bestimmung ( 5.4) m
m = Masse der Teilmenge in g.

Tabelle 1 - Beispiel

Hinzugegebene Menge
Silbernitratlösung
V
(ml)
Potential
E
(mV)
Δ1E Δ2E
4,80 176    
4,90 211 35 + 37
5,00 283 72 - 49
5,10 306 23 - 10
5,20 319 13  
37
Veq = 4,9 + 0,1 x
= 4,943
37+49

Methode 7
Bestimmung von Kupfer

1. Zweck und Anwendungsbereich Diese Methode dient der Bestimmung von Kupfer in Ammoniumnitrat-Einnährstoffdüngern mit hohem Stickstoffgehalt.

2. Prinzip

Die Probe wird in verdünnter Salzsäure gelöst. Die Lösung wird verdünnt und der Kupfergehalt durch Atomabsorptionsspektrometrie bestimmt.

3. Reagenzien

3.1. Salzsäure (Dichte bei 20 °C = 1,18 g/ml)

3.2. Verdünnte Salzsäure, 6 mol/l

3.3. Verdünnte Salzsäure, 0,5 mol/l

3.4. Ammoniumnitrat

3.5. Wasserstoffperoxid, 30 %ig w/v

3.6. Kupferlösung 12 (Stammlösung): 1 g reines Kupfer auf 0,001 g genau abwiegen, in 25 ml 6 mol/l Salzsäure (3.2) auflösen, portionenweise 5 ml Wasserstoffperoxid ( 3.5) hinzugeben und mit Wasser auf 1 l auffüllen, 1 ml dieser Lösung enthält 1.000 µg Kupfer (Cu).

3.6.1. Kupferlösung (verdünnt): 10 ml Stammlösung ( 3.6) mit Wasser auf 100 ml auffüllen und 10 ml der so erhaltenen Lösung wiederum mit Wasser auf 100 ml auffüllen, 1 ml der zuletzt erhaltenen Lösung enthält 10 µg Kupfer.

Diese Lösung ist zum Zeitpunkt ihrer Verwendung herzustellen.

4. Geräte

Atomabsorptionsspektrometer mit Kupferlampe (324,8 nm).

5. Durchführung

5.1. Zubereitung der Probenlösung

25 g der Probe werden auf 0,001 g genau in ein 400-ml-Becherglas abgewogen. Man gibt vorsichtig 20 ml Salzsäure ( 3.1) zu. (Durch die Bildung von Kohlendioxid kann es zu einer heftigen Reaktion kommen). Falls erforderlich, ist weitere Salzsäure zuzugeben. Nach Beendigung der Gasentwicklung wird die Lösung unter gelegentlichem Rühren mit einem Glasstab in einem Wasserbad bis zur Trocknung eingedampft. Dann fügt man 120 ml Wasser und 15 ml 6 mol/l Salzsäure ( 3.2) zu. Mit dem Glasstab, der im Becherglas verbleiben sollte, wird umgerührt. Das Becherglas wird mit einem Uhrglas abgedeckt. Durch vorsichtiges Kochen wird der Rückstand völlig gelöst. Anschließend wird abgekühlt.

Unter Ausspülen des Becherglases mit 5 ml 6 mol/l Salzsäure ( 3.2) und zweimaligem Nachspülen mit 5 ml kochendem Wasser wird die Lösung quantitativ in einen 250-ml-Messkolben überführt. Man füllt bis zur Marke mit 0,5 mol/l Salzsäure ( 3.3) auf und mischt sorgfältig.

Man filtriert durch ein kupferfreies Filterpapier 13 ab; die ersten 50 ml sind zu verwerfen.

5.2. Blindprobenlösung

Eine Blindprobenlösung, zu der keine Probe hinzugefügt wird, ist herzustellen und bei der Berechnung der Endergebnisse zu berücksichtigen.

5.3. Bestimmung

5.3.1. Zubereitung der Probe und der Lösungen für den Blindversuch

Die Probenlösung ( 5.1) und die Blindprobenlösung ( 5.2) wird mit 0,5 mol/l Salzsäure ( 3.3) auf eine für den Messbereich des Spektrometers optimale Konzentration verdünnt. Für gewöhnlich ist keine Verdünnung erforderlich.

5.3.2. Herstellung der Kalibrationslösung

Durch Verdünnung der Standardlösung ( 3.6.1) mit 0,5 mol/l Salzsäure ( 3.3) werden mindestens 5 Kalibrationslösungen hergestellt, die dem optimalen Messbereich des Spektrometers (0 bis 5,0 mg/l Cu) entsprechen. Vor dem Auffüllen bis zur Marke wird jeder Kalibrationslösung Ammoniumnitrat ( 3.4) zugegeben, um eine Endkonzentration von 100 mg pro ml zu erhalten.

5.4. Messung

Das Spektrometer (4) wird auf eine Wellenlänge von 324,8 nm eingestellt. Man verwendet zur Messung eine oxidierende Luft-Acetylenflamme. Nacheinander werden die Kalibrationslösungen ( 5.3.2), die Probe sowie die Blindprobenlösung ( 5.3.1) dreifach eingesprüht. Das Gerät wird zwischen jedem Messvorgang mit destilliertem Wasser durchgespült. Zur Erstellung der Kalibrationskurve werden die durchschnittlichen Extinktionswerte jeder Maßlösung auf der Ordinate und die entsprechenden Kupferkonzentrationen in µg/ml auf der Abszisse aufgetragen.

Die Kupferkonzentration der Proben- und Blindprobenlösung wird mit Hilfe der Kalibrationskurve bestimmt.

6. Darstellung der Ergebnisse

Der Kupfergehalt der Probe wird unter Berücksichtigung der Einwaage, der im Verlauf der Analyse durchgeführten Verdünnungen und des Blindwerts berechnet. Das Ergebnis wird in mg Cu/kg angegeben.

4. Prüfung auf Detonationsfähigkeit

4.1. Zweck und Anwendungsbereich

In diesem Dokument ist ein Verfahren zur Prüfung auf Detonationsfähigkeit von Ammoniumnitratdünger mit hohem Stickstoffgehalt festgelegt.

4.2. Prinzip

Die Probe wird in einem Stahlrohr eingeschlossen und dem Detonationsstoß einer Sprengstoff-Verstärkungsladung unterworfen. Die Detonationsfortpflanzung wird bestimmt aufgrund des Grades der Verformung einer Serie von Bleizylindern, auf denen das Stahlrohr zur Prüfung waagerecht aufliegt.

4.3. Werkstoffe

4.3.1. Plastischer Sprengstoff mit 83 bis 86 % Pentrit

Dichte: 1.500 bis 1.600 kg/m3

Detonationsgeschwindigkeit: 7.300 bis 7.700 m/s

Masse: 500 (± 1) g

4.3.2. Sieben Stränge flexible Sprengschnur ohne Metallumhüllung

Füllmasse: 11 bis 13 g/m

Länge jedes Sprengschnur-Stranges: 400 (± 2) mm

4.3.3. Presskörper aus sekundärem Sprengstoff als Übertragungsladung mit zentraler Aussparung zur Aufnahme der Sprengkapsel

Sprengstoff: Hexogen/Wachs 95/5 oder Tetryl oder ähnliches Produkt, mit oder ohne Graphitzugabe

Dichte: 1.500 bis 1.600 kg/m3

Durchmesser: 19 bis 21 mm

Höhe: 19 bis 23 mm

Zentrale Aussparung zur Einführung der Sprengkapsel: 7 bis 7,3 mm Durchmesser, 12 mm Tiefe

4.3.4. Nahtlos gezogenes Stahlrohr nach ISO 65 - 1981 - schwere Serie, mit Nominal-Abmessungen DN 100 (4")

Außendurchmesser: 113,1 bis 115,0 mm

Wandstärke: 5,0 bis 6,5 mm

Länge: 1.005 (± 2) mm

4.3.5. Bodenplatte

Werkstoff: Stahl (gute schweißbare Qualität)

Abmessungen: 160 × 160 mm

Dicke: 5 bis 6 mm

4.3.6. Sechs Bleizylinder

Durchmesser: 50 (± 1) mm

Höhe: 100 bis 101 mm

Werkstoff: Weichblei, Reinheit mindestens 99,5 %

4.3.7. Stahlblock

Länge: mindestens 1.000 mm

Breite: mindestens 150 mm

Höhe: mindestens 150 mm

Masse: mindestens 300 kg, wenn keine feste Grundlage für den Stahlblock vorhanden ist

4.3.8. Rohrabschnitt aus Kunststoff oder Karton für die Verstärkungsladung

Wandstärke: 1,5 bis 2,5 mm

Durchmesser: 92 bis 96 mm

Höhe: 64 bis 67 mm

4.3.9. Zünder (elektrisch oder anders): Initialzündungskraft 8 bis 10

4.3.10. Holzscheibe

Durchmesser: 92 bis 96 mm, muss mit dem Innendurchmesser des Rohrabschnitts aus Kunststoff oder Karton (4.3.8) übereinstimmen

Dicke: 20 mm

4.3.11. Holzstab, gleiche Abmessungen wie Zünder (4.3.9)

4.3.12. Stecknadeln (Länge max. 20 mm)

4.4. Durchführung

4.4.1. Herstellung der Verstärkungsladung zur Einführung in das Stahlrohr

Zur Initiierung der Verstärkungsladung gibt es je nach der verfügbaren Ausrüstung zwei Methoden.

4.4.1.1. 7-Punkt-Simultan-Initiierung

Die gebrauchsfertige Verstärkungsladung ist in Abbildung 1 dargestellt.

4.4.1.1.1. Parallel zur Achse der Holzscheibe (4.3.10), durch das Zentrum und durch 6 symmetrisch auf einen konzentrischen Kreis von 55 mm Durchmesser verteilte Punkte werden Löcher gebohrt. Der Durchmesser der Löcher muss je nach Durchmesser der verwendeten Sprengschnur (4.3.2) 6 bis 7 mm betragen (siehe Schnitt A-B in Abbildung 1).

4.4.1.1.2. Von der flexiblen Sprengschnur (4.3.2) sind sieben Stränge von je 400 mm Länge abzuschneiden; Sprengstoffverluste sind an beiden Enden durch einen sauberen Schnitt und sofortiges Abdichten mit Klebemittel zu verhindern. Die sieben Sprengschnur-Stränge sind durch die sieben Löcher in der Holzscheibe (4.3.10) einzuführen, bis ihre Enden einige Zentimeter über die andere Seite der Scheibe hinausragen. Sodann werden kleine Stecknadeln (4.3.12) in einer Entfernung von 5 bis 6 mm vom Ende der sieben Sprengschnur-Stränge quer in die Textilumhüllung der Sprengschnur gesteckt und die einzelnen Stränge neben der Stecknadel auf einer Breite von 2 cm mit Klebstoff bestrichen. Schließlich zieht man am längeren Ende der Stränge, bis die Nadel die Holzscheibe berührt.

4.4.1.1.3. Der plastische Sprengstoff (4.3.1) wird zu einem Zylinder von 92 bis 96 mm Durchmesser - je nach dem Durchmesser des Rohrabschnittes (4.3.8) - geformt. Diesen Rohrabschnitt aufrecht auf eine ebene Fläche stellen und den entsprechend geformten Sprengstoff einführen. Anschließend die Holzscheibe 14 mit den sieben Sprengschnur-Strängen ins obere Ende des Rohrabschnittes einführen und auf den Sprengstoff pressen. Die Höhe des Rohrabschnittes (64 bis 67 mm) ist so anzupassen, dass das obere Ende nicht über das Holz hinausragt. Sodann den Rohrabschnitt z.B. mit Heftklammern oder Nägeln an der Holzscheibe befestigen.

4.4.1.1.4. Die freien Enden der sieben Sprengschnur-Stränge um den Holzstab (4.3.11) gruppieren, und zwar so, dass die Enden eine senkrecht zum Stab verlaufende Ebene bilden. Sie sind mit Klebeband um den Stab herum zu befestigen 15.

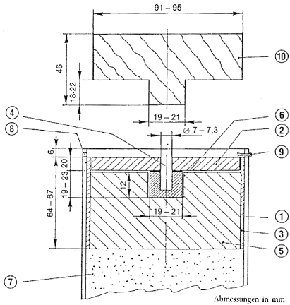
4.4.1.2. Zentrale Initiierung durch Übertragungsladung (Presskörper)

Die gebrauchsfertige Verstärkungsladung ist in Abbildung 2 dargestellt.

4.4.1.2.1. Herstellung des Presskörpers

Unter Einhaltung der erforderlichen Sicherheitsvorkehrungen lege man 10 g Sekundärsprengstoff (4.3.3) in eine Form mit einem Innendurchmesser von 19 bis 21 mm und komprimiere den Inhalt zur vorgeschriebenen Form und Dichte.

(Das Verhältnis Durchmesser/Höhe sollte ungefähr 1:1 betragen.)

In der Mitte des Bodens der Form befindet sich ein Stift von 12 mm Höhe und 7,0 bis 7,3 mm Durchmesser (je nach Durchmesser der verwendeten Sprengkapsel), der in dem Presskörper eine zylindrische Aussparung zum Anbringen der Sprengkapsel bildet.

4.4.1.2.2. Herstellung der Verstärkungsladung

Der plastische Sprengstoff (4.3.1) wird mit Hilfe eines hölzernen Formteils in einen senkrecht auf einer glatten Unterlage stehenden Rohrabschnitt (4.3.8) eingedrückt, wodurch der Sprengstoff eine Zylinderform mit einer zentralen Vertiefung annimmt. In diese Vertiefung wird der Presskörper eingesetzt. Der zylindrisch geformte Sprengstoff mit dem Presskörper wird durch eine Holzscheibe (4.3.10) abgedeckt, die zwecks Einführung einer Sprengkapsel eine zentrale Bohrung von 7,0 bis 7,3 mm besitzt. Holzscheibe und Rohrabschnitt werden kreuzweise mit Klebeband verbunden. Die Koaxialität der Bohrung in der Scheibe und der Vertiefung wird durch Einstecken eines Holzstiftes (4.3.11) gewährleistet.

4.4.2. Vorbereitung der Stahlrohre für die Sprengversuche

Am Ende des Rohres (4.3.4) werden diametral gegenüberliegend zwei Bohrungen von 4 mm Durchmesser in einem Abstand von 4 mm vom Rande des Rohres durch die Wandung senkrecht zur Mantellinie des Rohres gebohrt.

Die Bodenplatte (4.3.5) wird an das entgegengesetzte Ende des Rohres stumpf angeschweißt, wobei der rechte Winkel zwischen Bodenplatte und Rohrwand mit dem Schweißmaterial um den ganzen Rohrumfang ausgefüllt wird.

4.4.3. Füllen und Laden des Stahlrohrs

Siehe Abbildung 1 und 2.

4.4.3.1. Prüfmuster, Stahlrohr sowie Verstärkungsladung werden auf eine Temperatur von 20 (± 5) °C gebracht. Es werden für zwei Sprengversuche 16 bis 18 kg des Prüfmusters benötigt.

4.4.3.2. Das Rohr wird mit der quadratischen Bodenplatte senkrecht auf einen ebenen und festen Untergrund, vorzugsweise Beton, gestellt. Das Rohr wird bis zu einem Drittel der Höhe mit dem Prüfmuster gefüllt und danach jeweils 5 mal um 10 cm angehoben und sodann senkrecht auf den Boden fallen gelassen, um die Prills bzw. Granulate einzurütteln und auf eine möglichst hohe Fülldichte im Rohr zu bringen. Um den Verdichtungsvorgang zu beschleunigen, wird das Rohr zwischen den Fallvorgängen mit insgesamt 10 Hammerschlägen (Masse des Hammers 750 bis 1.000 g) auf die Mantelfläche in Vibration versetzt.

Dieser Füllvorgang wird mit einer weiteren Portion des Prüfmusters wiederholt. Nach einer weiteren Zugabe und Kompaktierung durch 10maliges Erheben und Fallenlassen des Rohres sowie 20 intermittierenden Hammerschlägen sollte das Rohr bis zu 70 mm unterhalb seiner Öffnung gefüllt sein.

Bei der Einstellung der Füllhöhe des Prüfmusters im Stahlrohr muss unbedingt gewährleistet sein, dass die später einzusetzende Verstärkungsladung (4.4.1.1 oder 4.4.1.2) über die gesamte Fläche mit dem Prüfmuster im innigen Kontakt steht.

4.4.3.3. Die Verstärkungsladung wird in das obere, offene Rohrende auf die Prüfsubstanz aufgesetzt, wobei der obere Rand der Holzscheibe 6 mm unterhalb des Rohrrandes liegt. Die genaue Höhe zur Gewährleistung des erforderlichen innigen Kontaktes von Sprengstoff und Prüfmuster wird durch entsprechendes Zugeben oder durch Wegnehmen kleiner Mengen an Prüfsubstanz hergestellt. Wie in Abbildung 1 und 2 wiedergegeben, werden in die Bohrungen am oberen Rand des Rohres Splinte eingesteckt und die Enden der Splinte gegen die Rohrwandung umgebogen.

4.4.4. Positionierung von Stahlrohr und Bleizylindern (siehe Abbildung 3)

4.4.4.1. Die Grundflächen der Bleizylinder (4.3.6) sind von 1 bis 6 zu nummerieren. Auf einem horizontal liegenden Stahlblock (4.3.7) werden auf der Mittellinie der horizontalen Fläche 6 Markierungen mit einem Abstand von jeweils 150 mm untereinander angebracht, wobei der Abstand der 1. Markierung zur Kante des Stahlblocks mindestens 75 mm beträgt.

4.4.4.2. Das nach 4.4.3 vorbereitete Stahlrohr wird waagerecht auf die Bleizylinder gelegt, so dass die Rohrachse parallel zur Mittellinie des Stahlblocks liegt und das verschweißte Ende des Rohres 50 mm über den Bleizylinder Nr. 6 hinausragt. Um das Wegrollen des Rohres zu verhindern, verkeile man dieses auf beiden Seiten mit kleinen Holzstücken oder lege ein Holzkreuz zwischen Rohr und Stahlblock.

Anmerkung: Man vergewissere sich, dass das Rohr mit allen sechs Bleizylindern in Berührung steht; eine etwaige leichte Wölbung des Rohres kann durch Drehen um seine Längsachse ausgeglichen werden; ist einer der Bleizylinder zu hoch, so schlage man mit einem Hammer vorsichtig auf den Zylinder, bis er die erforderliche Höhe hat.

4.4.5. Vorbereitung und Durchführung der Sprengung

4.4.5.1. Der Versuchsaufbau nach 4.4.4 ist in einem Bunker oder einem entsprechend hergerichteten Hohlraum unter Tage (Bergwerk, Stollen) vorzusehen. Die Temperatur des Stahlrohrs vor der Sprengung muss 20 (± 5) °C betragen.

Anmerkung: Sollten diese Sprengplätze nicht vorhanden sein, kann gegebenenfalls in einer betonierten Grube mit Abdeckung durch Holzbalken gearbeitet werden. Wegen der bei der Sprengung auftretenden Stahlsplitter mit hoher kinetischer Energie ist ein ausreichender Abstand zum Aufenthaltsort von Menschen oder Verkehrswegen einzuhalten.

4.4.5.2. Bei Verwendung der Verstärkungsladung mit 7-Punkt-Simultan-Initiierung ist darauf zu achten, dass die
entsprechend der Fußnote unter 4.4.1.1.4 gespannten Sprengschnüre möglichst horizontal liegen.

4.4.5.3. Schließlich ist der Holzstift durch eine Sprengkapsel zu ersetzen. Die Sprengung erfolgt erst nach Räumung der Gefahrzone und wenn die die Sprengung durchführenden Personen in Deckung sind.

4.4.5.4. Sprengung auslösen.

4.4.6. Nach der Sprengung unter Einhaltung der nötigen Wartezeit bis zum Abziehen der Sprengschwaden (gasförmige, zum Teil toxisch wirkende Zersetzungsprodukte, z.B. nitrose Gase) werden die einzelnen Bleizylinder aufgesammelt. Die Höhe der Bleizylinder nach dem Versuch wird mit Hilfe einer Schublehre gemessen.

Für jeden der nummerierten Bleizylinder ist der Grad der Stauchung in Form eines Prozentsatzes der ursprünglichen Höhe von 100 mm anzugeben. Sind die Zylinder schräg verformt, so ist der Höchst- und der Tiefstwert zu messen und der Mittelwert zu bilden.

4.4.7. Zur Messung der Detonationsgeschwindigkeit kann eine Sonde eingesetzt werden; diese ist in der Längsachse des Rohres oder an der Rohrwandung anliegend anzubringen.

4.4.8. Je Probe sind zwei Sprengversuche durchzuführen.

4.5. Prüfbericht

Für jeden der beiden Sprengversuche sind in den Prüfberichten die Werte folgender Parameter anzugeben:

4.5.1. Beurteilung der Ergebnisse

Die Probe hat die Prüfung auf Detonationsfähigkeit bestanden und erfüllt damit die Anforderungen des Anhangs III.2, wenn bei jedem der beiden Sprengversuche mindestens ein Bleizylinder weniger als 5 % gestaucht worden ist.

Abbildung 1 Verstärkerladung mit Sieben-Punkt-Zündung


1 Stahlrohr   6 Prüfprobe
2 Holzscheibe mit sieben Löchern   7 Löcher (4 mm Durchmesser) für die Splinte (8)
3 Rohrabschnitt aus Kunststoff oder Karton   8 Splinte
4 Sprengschnüre   9 Von (4) umgebener Holzstab
5 Plastischer Sprengstoff   10 Klebeband, um (4) uni (9) herumanzuheften

Abbildung 2 Verstärkerladung mit zentraler Zündung

1 Stahlrohr

2 Holzscheibe

3 Rohrabschnitt aus Kunststoff oder Karton

4 Holzstab

5 Plastischer Sprengstoff

6 Presskörper

7 Prüfprobe

8 Löcher (4 mm Durchmesser) für die Splinte (9)

9 Splinte

10 Holzstöpsel für (5)

Abbildung 3 Anbringung des stahlrohrs am Detonationsort 

.

Probenahme und Analysemethoden Anhang IV07 09

A. Probenahmeverfahren für die Kontrolle von Düngemitteln

Vorbemerkung

Die richtige Probenahme ist ein schwieriger Vorgang, der größte Sorgfalt erfordert. Es kann daher nicht eindringlich genug darauf hingewiesen werden, wie wichtig es ist, für die amtliche Düngemittelkontrolle eine hinreichend repräsentative Probe herzustellen.

Das nachstehend beschriebene Probenahmeverfahren erfordert eine genaue Befolgung durch Sachverständige, die Erfahrungen in der traditionellen Probenahme haben.

1. Zweck und Anwendungsbereich

Die hinsichtlich der Beschaffenheit und Zusammensetzung zur amtlichen Kontrolle bestimmten Düngemittelproben werden gemäß nachstehendem Verfahren entnommen. Die dabei erhaltenen Proben gelten als repräsentativ für die betreffende Partie.

2. Zur Probenahme befugte Bedienstete

Die Probenahme erfolgt durch von den Mitgliedstaaten bevollmächtigte sachverständige Bedienstete.

3. Definitionen

Partie: Düngemittelmenge, die eine Einheit bildet, von der angenommen wird, dass sie einheitliche Merkmale besitzt.

Einzelprobe: Menge, die an einer Stelle der Partie entnommen wird.

Sammelprobe: Summe von aus einer Partie entnommenen Einzelproben.

Reduzierte Sammelprobe: Repräsentative Teilmenge der Sammelprobe, die nach mengenmäßiger Verringerung erhalten wird.

Endprobe: Repräsentative Teilmenge der reduzierten Sammelprobe.

4. Geräte

4.1. Die Geräte zur Probenahme müssen so beschaffen sein, dass die zu bemusternden Stoffe nicht beeinflusst werden. Diese Geräte können von den Mitgliedstaaten genehmigt werden.

4.2. Zur Entnahme von Festdüngerproben empfohlenes Gerät

4.2.1. Manuelle Probenahme

4.2.1.1. Schaufel mit ebenem Boden und rechteckig hochgebogenem Rand

4.2.1.2. Probestecher mit langem Schlitz oder Kammerstecher. Die Größe des Probestechers ist den Merkmalen der Partie (Tiefe des Behälters, Größe des Sacks usw.) und der Größe der Düngemittelteilchen anzupassen.

4.2.2. Mechanische Probenahme

Zugelassene mechanische Geräte zur Probenahme aus in Bewegung befindlichen Düngemitteln.

4.2.3. Probeteiler

Zur Zerlegung der Probe in gleiche Teile bestimmte Geräte dürfen nur zur Herstellung der reduzierten Sammelprobe und der Endprobe sowie zur Herstellung der Einzelproben verwendet werden.

4.3. Zur Entnahme von Flüssigdüngerproben empfohlenes Gerät

4.3.1. Manuelle Probenahme

Offenes Rohr, Stechheber, Flasche oder sonstiges Gerät, das sich zur Entnahme von Stichproben aus der Partie eignet.

4.3.2. Mechanische Probenahme

Zugelassene mechanische Geräte zur Probenahme aus in Bewegung befindlichen flüssigen Düngemitteln.

5. Mengenmäßige Anforderungen

5.1. Partie

Die Partie darf nur so groß sein, dass von allen Teilen, aus denen die Partie besteht, Proben entnommen werden können.

5.2. Einzelproben

5.2.1. Lose, feste oder flüssige Düngemittel in Behältern mit mehr als 100 kg.

5.2.1.1. Partien bis 2,5 Tonnen:

Mindestzahl der Einzelproben: Sieben

5.2.1.2. Partien über 2,5 Tonnen und bis zu 80 Tonnen:

Mindestzahl der Einzelproben: 20 t mal die Anzahl der Tonnen V aus denen die Partie besteht 16

5.2.1.3. Partien über 80 Tonnen:

Mindestzahl der Einzelproben: 40

5.2.2. Verpackte feste oder flüssige Düngemittel in Behältern (= Packungen mit jeweils höchstens 100 kg)

5.2.2.1. Packungen von mehr als 1 kg

5.2.2.1.1. Partien mit weniger als 5 Packungen:

Mindestzahl der zu bemusternden Packungen 17: Alle Packungen

5.2.2.1.2. Partien mit 5 bis 16 Packungen:

Mindestzahl der zu bemusternden Packungen 17: Vier

5.2.2.1.3. Partien mit 17 bis 400 Packungen:

Mindestzahl der zu bemusternden Packungen 17: Anzahl der Packungen, aus denen die Partie besteht 16

5.2.2.1.4. Partien über 400 Packungen:

Mindestzahl der zu bemusternden Packungen 17: 20

5.2.2.2. Packungen bis 1 kg:

Mindestzahl der zu bemusternden Packungen 17: Vier

5.3. Sammelprobe

Je Partie ist eine einzige Sammelprobe erforderlich. Die Gesamtmasse der Einzelproben, aus denen sich die Sammelprobe zusammensetzt, darf folgende Werte nicht unterschreiten:

5.3.1. Lose feste oder flüssige Düngemittel in Behältern mit mehr als 100 kg: 4 kg

5.3.2. Verpackte feste oder flüssige Düngemittel in Behältern (= Packungen) mit jeweils höchstens 100 kg

5.3.2.1. Packungen von mehr als 1 kg: 4 kg

5.3.2.2. Packungen bis 1 kg: Masse des Inhalts von 4 Originalpackungen.

5.3.3. Ammoniumnitratdünger, Probenahme zur Durchführung der Untersuchungen nach Anhang III.2: 75 kg

5.4. Endproben

Die Sammelprobe dient, sofern erforderlich nach Reduzierung, der Herstellung der Endproben. Die Untersuchung mindestens einer Endprobe ist erforderlich. Die Masse jeder zur Untersuchung bestimmten Probe darf nicht unter 500 g liegen.

5.4.1. Feste und flüssige Düngemittel

5.4.2. Ammoniumnitratdünger, Probenahme zur Durchführung der Untersuchungen

Die Sammelprobe dient, sofern erforderlich, nach Reduzierung der Herstellung der Endprobe für die Prüfungen.

5.4.2.1. Mindestmasse der Endprobe für die Prüfungen nach Anhang III.1: 1 kg

5.4.2.2. Mindestmasse der Endprobe für die Prüfungen nach Anhang III.2: 25 kg

6. Vorschriften für die Entnahme, Fertigung und Verpackung der Proben

6.1. Allgemeines

Die Proben sind so schnell wie möglich zu entnehmen und zu fertigen. Es ist mit der angemessenen Sorgfalt vorzugehen, damit die Proben für die beprobte Ware repräsentativ bleiben. Die für die Probenahme bestimmten Geräte, Flächen und Behälter müssen sauber und trocken sein.

Im Falle von flüssigen Düngemitteln sollte die Partie wenn möglich vor der Probenahme vermischt werden.

6.2. Einzelproben

Die Einzelproben sind nach dem Zufallsprinzip aus der gesamten Partie zu entnehmen. Ihr Gewicht muss ungefähr gleich und der Beschaffenheit des Materials angepasst sein.

6.2.1. Lose feste oder flüssige Düngemittel in Behältern mit mehr als 100 kg.

Die Partie ist symbolisch in ungefähr gleiche Teile aufzuteilen. Nach dem Zufallsprinzip ist eine Anzahl Teile zu wählen entsprechend der Anzahl der unter 5.2 vorgesehenen Einzelproben und jedem dieser Teile mindestens eine Probe zu entnehmen. Ist die Einhaltung der Vorschriften nach 5.1 bei der Entnahme von losen oder flüssigen Düngemitteln in Behältern mit mehr als 100 kg nicht möglich, so soll die Probenahme bei der sich in Bewegung (Laden bzw. Abladen) befindlichen Partie erfolgen. Wie vorstehend angegeben sollen dabei die Proben von den nach dem Zufallsprinzip ausgewählten, in Bewegung befindlichen Teilen genommen werden.

6.2.2. Verpackte feste oder flüssige Düngemittel in Behältern (= Packungen) mit jeweils höchstens 100 kg

Die erforderliche Anzahl der zu bemusternden Packungen ist nach 5.2 festgelegt; aus jeder dieser Packungen ist ein Teil des Inhalts zu entnehmen. Gegebenenfalls sind die Proben zu entnehmen, nachdem die Packungen getrennt entleert worden sind.

6.3. Fertigung der Sammelproben

Die Einzelproben sind zu sammeln, um eine einzige Sammelprobe zu bilden.

6.4. Zubereitung der Endprobe

Die Gesamtmenge jeder Sammelprobe ist sorgfältig zu mischen 18.

Wenn nötig, ist die Sammelprobe bis auf mindestens 2 kg mittels eines Probeteilers oder nach dem Vierteilungsverfahren zu reduzieren (reduzierte Sammelprobe).

Dann werden entsprechend den mengenmäßigen Anforderungen nach 5.4 mindestens drei ungefähr gleich große Endproben hergestellt. Jede Probe ist in einen geeigneten und luftdicht verschließbaren Behälter zu füllen. Es sind alle notwendigen Vorkehrungen zu treffen, damit jede Veränderung der charakteristischen Zusammensetzung der Probe vermieden wird.

Für Prüfungen nach Anhang III Abschnitt 1 und 2 sind die Endproben bei einer Temperatur von 0 °C bis 25 °C aufzubewahren.

7. Verschließung und Kennzeichnung der Endproben

Die Behälter oder Packungen sind so zu versiegeln bzw. zu plombieren, dass sie nicht ohne Beschädigung des Siegels bzw. der Plombe geöffnet werden können. Die Kennzeichnung der Probe muss von dem Siegel bzw. der Plombe mit erfasst werden.

8. Probenahmeprotokoll

Für jede Probenahme ist ein Probenahmeprotokoll zu erstellen, aus dem die Identität der bemusterten Partie eindeutig hervorgeht.

9. Verwendung der Endproben

Für jede Sammelprobe ist möglichst rasch eine Endprobe zusammen mit den erforderlichen Informationen zur Durchführung der Analyse oder der Prüfung an das mit der Untersuchung beauftragte Laboratorium oder die entsprechende Prüfstelle zu senden.

weiter .

umwelt-online - Demo-Version


(Stand: 12.11.2020)

Alle vollständigen Texte in der aktuellen Fassung im Jahresabonnement
Nutzungsgebühr: 90.- € netto (Grundlizenz)

(derzeit ca. 7200 Titel s.Übersicht - keine Unterteilung in Fachbereiche)

Preise & Bestellung

Die Zugangskennung wird kurzfristig übermittelt

? Fragen ?
Abonnentenzugang/Volltextversion