Verordnung (EU) Nr. 1300/2014 der Kommission vom 18. November 2014 über die technischen Spezifikationen für die Interoperabilität bezüglich der Zugänglichkeit des Eisenbahnsystems der Union für Menschen mit Behinderungen und Menschen mit eingeschränkter Mobilität

(Text von Bedeutung für den EWR)

(ABl. Nr. L 356 vom 12.12.2014 S. 110;
VO (EU) 2019/772 - ABl. LI 139 vom 27.05.2019 S. 1Inkrafttreten;
VO (EU) 2022/721 - ABl. L 134 vom 11.05.2022 S. 14*;
VO (EU) 2023/62 - ABl. L 5 vom 06.01.2023 S. 31*)


=> Zur nachfolgenden Fassung

Neufassung -Ersetzt Entsch. 2008/164/EG

Die Änderung betrifft nicht die deutsche Fassung.

Hinweis der Red.: Liste der TSI

Die Europäische Kommission -

gestützt auf den Vertrag über die Arbeitsweise der Europäischen Union,

gestützt auf die Richtlinie 2008/57/EG des Europäischen Parlaments und des Rates vom 17. Juni 2008 über die Interoperabilität des Eisenbahnsystems in der Gemeinschaft 1, insbesondere auf Artikel 6 Absatz 1 und Artikel 8 Absatz 1,

in Erwägung nachstehender Gründe:

(1) Nach Artikel 12 der Verordnung (EG) Nr. 881/2004 des Europäischen Parlaments und des Rates 2 gewährleistet die Europäische Eisenbahnagentur ("die Agentur"), dass die technischen Spezifikationen für die Interoperabilität (TSI) an den technischen Fortschritt, die Marktentwicklungen und die gesellschaftlichen Anforderungen angepasst werden, und schlägt der Kommission Änderungen an den TSI vor, die sie für notwendig hält.

(2) Mit dem Beschluss K(2010) 2576 3 erteilte die Kommission der Agentur ein Mandat zur Ausarbeitung und Überprüfung der technischen Spezifikationen für die Interoperabilität im Hinblick auf die Ausweitung ihres Anwendungsbereichs auf das gesamte Eisenbahnsystem in der Union. Im Rahmen dieses Mandats wurde die Agentur beauftragt, den Anwendungsbereich der durch die Entscheidung 2008/164/EG 4 festgelegten TSI bezüglich der Zugänglichkeit des konventionellen transeuropäischen Eisenbahnsystems und des transeuropäischen Hochgeschwindigkeitsbahnsystems für Menschen mit Behinderungen und Menschen mit eingeschränkter Mobilität auf das gesamte Eisenbahnsystem in der Union auszuweiten.

(3) Am 6. Mai 2013 gab die Agentur eine Empfehlung für die Annahme der TSI in Bezug auf Menschen mit eingeschränkter Mobilität ab.

(4) Im Übereinkommen der Vereinten Nationen über die Rechte von Menschen mit Behinderungen, dessen Vertragsparteien die Union und die meisten Mitgliedstaaten sind, wird Zugänglichkeit als ein allgemeiner Grundsatz anerkannt. Laut Artikel 9 des Übereinkommens müssen die Vertragsstaaten geeignete Maßnahmen treffen, um für Menschen mit Behinderungen einen gleichberechtigten Zugang zu gewährleisten. Diese Maßnahmen schließen die Feststellung und Beseitigung von Hindernissen und Barrieren der Zugänglichkeit ein und gelten unter anderem auch für den Verkehr.

(5) Die Richtlinie 2008/57/EG legt die "Zugänglichkeit" als eine grundlegende Anforderung an das Eisenbahnsystem in der Union fest.

(6) Die Richtlinie 2008/57/EG sieht ein Infrastrukturregister und ein Fahrzeugregister vor, welche die Hauptparameter angeben, die veröffentlicht und regelmäßig aktualisiert werden müssen. In der Entscheidung 2008/164/EG werden ferner die in diese Register aufzunehmenden Parameter für die TSI bezüglich "eingeschränkt mobiler Personen" festgelegt. Da sich die Ziele dieser Register auf das Genehmigungsverfahren und die technische Kompatibilität beziehen, wird es für notwendig erachtet, für diese Parameter ein eigenes Instrument zu schaffen. Dieses Bestandsregister soll es ermöglichen, Hindernisse und Barrieren der Zugänglichkeit festzustellen und ihre schrittweise Beseitigung zu überwachen.

(7) Die Richtlinie 2008/57/EG legt den Grundsatz der schrittweisen Umsetzung fest, wonach insbesondere die in den TSI angegebenen Ziel-Teilsysteme schrittweise und innerhalb einer angemessenen Frist geschaffen werden können und jede TSI eine Umsetzungsstrategie enthalten soll, damit sich schrittweise ein Übergang vom bestehenden Zustand zum TSI-konformen Endzustand ergibt.

(8) Im Hinblick auf eine schrittweise Beseitigung aller festgestellten Barrieren der Zugänglichkeit innerhalb einer angemessenen Frist durch koordinierte Bestrebungen zur Erneuerung und Umrüstung der Teilsysteme und durch Ergreifung betrieblicher Maßnahmen sollten die Mitgliedstaaten nationale Umsetzungspläne aufstellen. Da diese nationalen Umsetzungspläne nicht hinreichend detailliert sein können und unvorhersehbaren Änderungen unterliegen, sollten die Mitgliedstaaten weiterhin Informationen übermitteln, wenn zur Inbetriebnahme bestehender Teilsysteme nach einer Erneuerung oder Umrüstung eine neue Inbetriebnahmegenehmigung erforderlich ist und wenn die TSI nicht in voller Übereinstimmung mit der Richtlinie 2008/57/EG angewandt werden.

(9) Die Union sollte gemeinsame Prioritäten und Kriterien annehmen, die sodann von den Mitgliedstaaten in ihre nationalen Umsetzungspläne aufgenommen werden sollten. Dies wird dazu beitragen, eine schrittweise Umsetzung der TSI innerhalb einer angemessenen Frist zu erreichen.

(10) Um mit der technischen Entwicklung Schritt zu halten und Modernisierungsanreize zu geben, sollten innovative Lösungen gefördert und deren Umsetzung unter bestimmten Bedingungen erlaubt werden. Wird eine innovative Lösung vorgeschlagen, so sollte der Hersteller oder sein bevollmächtigter Vertreter erläutern, inwiefern sie von den jeweiligen Vorgaben der TSI abweichen, und die Kommission sollte die innovative Lösung prüfen. Fällt diese Prüfung positiv aus, sollte die Agentur die geeigneten funktionalen Spezifikationen und Schnittstellenspezifikationen der innovativen Lösung festlegen und geeignete Bewertungsmethoden erarbeiten.

(11) Um unnötige zusätzliche Kosten und Verwaltungslasten zu vermeiden und nicht in bestehende Verträge einzugreifen, sollte die Entscheidung 2008/164/EG auch nach ihrer Aufhebung weiterhin für die Teilsysteme und Projekte gelten, die in Artikel 9 Absatz 1 Buchstabe a der Richtlinie 2008/57/EG genannt sind.

(12) Die in dieser Verordnung vorgesehenen Maßnahmen entsprechen der Stellungnahme des nach Artikel 29 Absatz 1 der Richtlinie 2008/57/EG eingesetzten Ausschusses

- hat folgende Verordnung erlassen:

Artikel 1 Gegenstand

Diese Verordnung legt die im Anhang enthaltenen technischen Spezifikationen für die Interoperabilität (TSI) bezüglich der Zugänglichkeit des Eisenbahnsystems der Union für Menschen mit Behinderungen und Menschen mit eingeschränkter Mobilität fest.

Artikel 2 Anwendungsbereich

(1) Die TSI gelten für die Teilsysteme "", "Verkehrsbetrieb und Verkehrssteuerung", "Telematikanwendungen" und "" entsprechend Nummer 2 des Anhangs II der Richtlinie 2008/57/EG und Nummer 2.1 des Anhangs dieser Verordnung. Sie betreffen alle Aspekte dieser Teilsysteme, die für die Zugänglichkeit für Menschen mit Behinderungen und Menschen mit eingeschränkter Mobilität von Bedeutung sind.

(2) Die TSI gelten für folgende Netze:

  1. das konventionelle transeuropäische Eisenbahnnetz gemäß Anhang I Nummer 1.1 der Richtlinie 2008/57/EG;
  2. das transeuropäische Hochgeschwindigkeitsbahnnetz gemäß Anhang I Nummer 2.1 der Richtlinie 2008/57/EG;
  3. alle anderen Teile des Netzes.

Die TSI gelten nicht für die in Artikel 1 Absatz 3 der Richtlinie 2008/57/EG genannten Fälle.

(3) Die TSI gelten unter Berücksichtigung der Nummern 7.1.1 und 7.1.2 des Anhangs für alle in Absatz 1 genannten neuen Teilsysteme "" oder "" des Eisenbahnsystems in der Union, deren Inbetriebnahme nach dem in Artikel 12 genannten Tag des Inkrafttretens erfolgt.

(4) Die TSI gelten nicht für bestehende Infrastrukturen oder Fahrzeuge des Eisenbahnsystems in der Union gemäß Absatz 1, die zu dem in Artikel 12 festgelegten Zeitpunkt des Inkrafttretens im Netz (oder Teilnetz) eines Mitgliedstaats bereits in Betrieb genommen wurden.

(5) Die TSI gelten jedoch für in Absatz 1 genannte bestehende Infrastrukturen und Fahrzeuge des Eisenbahnsystems in der Union, wenn diese gemäß Artikel 20 der Richtlinie 2008/57/EG erneuert oder umgerüstet werden, unter Beachtung von Artikel 8 dieser Verordnung und Nummer 7.2 des Anhangs dieser Verordnung.

Artikel 3 Konformitätsbewertung

(1) Die Verfahren für die Konformitätsbewertung der in Nummer 6 des Anhangs genannten Interoperabilitätskomponenten und Teilsysteme beruhen auf den im Beschluss 2010/713/EU 5 der Kommission festgelegten Modulen.

(2) Die Baumuster- oder Entwurfsprüfbescheinigung für Interoperabilitätskomponenten hat eine Gültigkeitsdauer von fünf Jahren. Während dieses Zeitraums können neue Komponenten des gleichen Baumusters ohne neue Konformitätsbewertung in Betrieb genommen werden.

(3) Bescheinigungen gemäß Absatz 2, die gemäß den Anforderungen der Entscheidung 2008/164/EG der Kommission ausgestellt wurden, bleiben ohne erneute Konformitätsbewertung bis zum Ablauf der ursprünglich festgelegten Gültigkeitsdauer gültig. Zur Erneuerung einer Bescheinigung muss der Entwurf oder das Baumuster nur hinsichtlich neuer oder geänderter Anforderungen gemäß dem Anhang dieser Verordnung neuerlich geprüft werden.

(4) Universaltoilettenmodule, die entsprechend den Anforderungen der Entscheidung 2008/164/EG der Kommission geprüft wurden, müssen nicht erneut geprüft werden, wenn sie für Fahrzeuge eines bestehenden Baumusters gemäß der Verordnung (EU) Nr. 6 (TSI LOC&PAS) bestimmt sind.

Artikel 4 Sonderfälle

(1) Für die in Nummer 7.3 des Anhangs genannten Sonderfälle gelten im Sinne von Artikel 17 Absatz 2 der Richtlinie 2008/57/EG für die Interoperabilitätsprüfung die technischen Vorschriften, die in dem Mitgliedstaat, der die Inbetriebnahme des in dieser Verordnung behandelten Teilsystems genehmigt, angewandt werden.

(2) Jeder Mitgliedstaat übermittelt den anderen Mitgliedstaaten und der Kommission bis zum 1. Juli 2015 folgende Informationen:

  1. die in Absatz 1 genannten technischen Vorschriften;
  2. die zur Anwendung der in Absatz 1 genannten nationalen Vorschriften durchzuführenden Konformitätsbewertungs- und Prüfverfahren;
  3. die gemäß Artikel 17 Absatz 3 der Richtlinie 2008/57/EG benannten beauftragten Stellen, die Konformitätsbewertungs- und Prüfverfahren in Bezug auf die in Nummer 7.3 des Anhangs genannten Sonderfälle durchführen.

Artikel 5 Vorhaben in fortgeschrittenem Entwicklungsstadium

Gemäß Artikel 9 Absatz 3 der Richtlinie 2008/57/EG übermittelt jeder Mitgliedstaat der Kommission binnen eines Jahres nach Inkrafttreten dieser Verordnung eine Liste der Vorhaben in fortgeschrittenem Entwicklungsstadium, die in seinem Gebiet durchgeführt werden.

Artikel 6 Innovative Lösungen

(1) Der technische Fortschritt kann innovative Lösungen erforderlich machen, welche den Spezifikationen im Anhang nicht entsprechen oder auf welche die Bewertungsmethoden im Anhang nicht angewandt werden können.

(2) Innovative Lösungen können die Teilsysteme "" und "" mit deren Teilen und Interoperabilitätskomponenten betreffen.

(3) Wenn eine innovative Lösung vorgeschlagen wird, muss der Hersteller oder sein in der Union ansässiger Bevollmächtigter angeben, inwiefern sie von den jeweiligen Vorgaben der TSI im Anhang abweicht, und sie der Kommission zur Prüfung vorlegen. Die Kommission kann die Agentur zur Stellungnahme zu der vorgeschlagenen innovativen Lösung auffordern und gegebenenfalls einschlägige Interessenvertreter anhören.

(4) Die Kommission gibt zu der vorgeschlagenen innovativen Lösung eine Stellungnahme ab. Fällt diese Stellungnahme positiv aus, werden die geeigneten funktionalen Spezifikationen und Schnittstellenspezifikationen sowie die Bewertungsmethode, die in der TSI benötigt werden, um die Verwendung dieser innovativen Lösung zu ermöglichen, ausgearbeitet und dann im Zuge des Überarbeitsverfahren in die TSI aufgenommen. Fällt die Stellungnahme negativ aus, darf die innovative Lösung nicht angewandt werden.

(5) Bis zur Überarbeitung der TSI wird die positive Stellungnahme der Kommission als hinreichender Nachweis der Erfüllung der grundlegenden Anforderungen der Richtlinie 2008/57/EG betrachtet und kann als Grundlage für die Prüfung von Teilsystemen und Vorhaben verwendet werden.

Artikel 7 Bestandsregister

(1) Jeder Mitgliedstaat gewährleistet, dass ein Bestandsregister erstellt und umgesetzt wird, um

  1. Barrieren der Zugänglichkeit festzustellen;
  2. den Nutzern Informationen bereitzustellen;
  3. die Fortschritte auf dem Gebiet der Zugänglichkeit zu überwachen und zu bewerten.

(2) Die Agentur setzt federführend eine Arbeitsgruppe ein, die den Auftrag hat, einen Vorschlag für eine Empfehlung bezüglich der Mindeststruktur und Inhalte der für die Bestandsregister zu erfassenden Daten zu unterbreiten. Die Agentur legt der Kommission eine Empfehlung vor, in der sie auf Inhalt, Datenformat, funktionale und technische Architektur, Betriebsart, Vorschriften für Dateneingabe und Datenabruf und Vorschriften für die Selbstbewertung und Benennung der für die Bereitstellung von Daten verantwortlichen Stellen eingeht. Zur Ermittlung der praktikabelsten Lösung müssen in der Empfehlung auch die geschätzten Kosten und die Vorteile aller in Betracht gezogenen technischen Lösungen berücksichtigt werden. Die Empfehlung muss einen Vorschlag für einen Zeitplan zur Erstellung der Bestandsregister enthalten.

(3) Auf der Grundlage der in Absatz 2 genannten Empfehlung wird Kapitel 7 des Anhangs gemäß Artikel 6 der Richtlinie 2008/57/EG aktualisiert.

(4) Der Geltungsbereich der Bestandsregister muss mindestens Folgendes umfassen:

  1. öffentliche Bahnhofsbereiche, die für die Beförderung von Fahrgästen gemäß Nummer 2.1.1 des Anhangs bestimmt sind;
  2. Fahrzeuge gemäß Nummer 2.1.2 des Anhangs.

(5) Das Bestandsregister wird mit Daten über neue Infrastrukturen und Fahrzeuge sowie über Erneuerungs- und Umrüstungsarbeiten an bestehenden Infrastrukturen und Fahrzeugen aktualisiert.

Artikel 7a Erfassung, Pflege und Austausch von Barrierefreiheitsdaten19

(1) Innerhalb von neun Monaten nach dem 16. Juni 2019 entscheidet jeder Mitgliedstaat, welche Stellen für die Erfassung, die Pflege und den Austausch von Barrierefreiheitsdaten zuständig sind.

(2) Die Mitgliedstaaten können bei der Kommission eine Fristverlängerung beantragen. Eine solche Verlängerung muss außergewöhnlich, hinreichend begründet und befristet sein. Begründet ist sie insbesondere dann, wenn das Datenerfassungsinstrument und die Betriebsarten, die im Anhang dieser Verordnung genannt sind, nicht zwei Monate vor ihrem Inkrafttreten von der Eisenbahnagentur der Europäischen Union zur Verfügung gestellt werden und vollständig einsatzbereit sind.

(3) Für jeden Bahnhof gibt es eine für den Austausch der Barrierefreiheitsdaten zuständige Stelle.

(4) Die Erfassung und Konvertierung der Daten wird innerhalb von 36 Monaten nach Inkrafttreten dieser Verordnung abgeschlossen.

(5) Bis zur vollständigen Einsatzbereitschaft der in den Abschnitten 7.2, 7.3 und 7.4 des Anhangs I der Verordnung (EU) Nr. 454/2011 der Kommission 7 beschriebenen Architektur für den Datenaustausch besteht der Austausch der Barrierefreiheitsdaten darin, dass diese Daten in die von der Eisenbahnagentur der Europäischen Union betriebene Datenbank zur Barrierefreiheit europäischer Bahnhöfe (ERSAD) eingespeist werden.

Artikel 8 Nationale Umsetzungspläne

(1) Im Hinblick auf eine schrittweise Beseitigung aller festgestellten Barrieren der Zugänglichkeit verabschieden die Mitgliedstaaten nationale Umsetzungspläne, die zumindest die in Anlage C des Anhangs aufgeführten Informationen enthalten.

(2) Die nationalen Umsetzungspläne beruhen auf bestehenden nationalen Plänen und, soweit vorhanden, auf den in Artikel 7 genannten Bestandsregistern oder auf anderen einschlägigen und verlässlichen Informationsquellen.

Die Mitgliedstaaten entscheiden über den Anwendungsbereich und die Geschwindigkeit der Umsetzung der nationalen Pläne.

(3) Die nationalen Umsetzungspläne haben eine Laufzeit von mindestens zehn Jahren und werden regelmäßig, mindestens aber alle fünf Jahre, aktualisiert.

(4) Die nationalen Umsetzungspläne enthalten eine Strategie einschließlich einer Priorisierung mit Kriterien und Prioritäten, nach denen Bahnhöfe und Fahrzeuge zur Erneuerung oder Umrüstung ausgewählt werden. Diese Strategie wird in Zusammenarbeit mit Infrastrukturbetreiber(n), Bahnhofsbetreiber(n), Eisenbahnunternehmen und, falls nötig, anderen lokalen Behörden (einschließlich lokaler Verkehrsbehörden) formuliert. Repräsentative Interessenvertretungen der Nutzer, darunter solche, die Menschen mit Behinderungen und Menschen mit eingeschränkter Mobilität vertreten, müssen dazu angehört werden.

(5) Die in Absatz 4 genannte Priorisierung ersetzt in jedem Mitgliedstaat die Regelung in Anlage B des Anhangs, welche bis zur Annahme des nationalen Umsetzungsplans in dem betreffenden Mitgliedstaat gilt.

(6) Die Mitgliedstaaten notifizieren der Kommission ihre nationalen Umsetzungspläne spätestens bis zum 1. Januar 2017. Die Kommission veröffentlicht die nationalen Umsetzungspläne und deren spätere Änderungen, die gemäß Absatz 9 notifiziert werden, auf ihrer Website und unterrichtet hiervon die Mitgliedstaaten über den durch die Richtlinie 2008/57/EG eingerichteten Ausschuss.

(7) Innerhalb von sechs Monaten nach Abschluss des Notifizierungsprozesses erstellt die Kommission einen vergleichenden Überblick über die in den nationalen Umsetzungsplänen enthaltenen Strategien. Auf der Grundlage dieses Überblicks und in Zusammenarbeit mit dem in Artikel 9 genannten Beratungsgremium ermittelt sie gemeinsame Prioritäten und Kriterien für die weitere Umsetzung der TSI. Diese Prioritäten werden im Zuge des Überarbeitungsverfahrens gemäß Artikel 6 der Richtlinie 2008/57/EG in Kapitel 7 des Anhangs aufgenommen.

(8) Die Mitgliedstaaten überarbeiten ihre nationalen Umsetzungspläne entsprechend den in Absatz 7 genannten Prioritäten innerhalb von zwölf Monaten nach der Annahme der geänderten TSI.

(9) Die Mitgliedstaaten notifizieren der Kommission ihre in Absatz 8 genannten überarbeiteten nationalen Umsetzungspläne und alle in Absatz 3 genannten späteren Aktualisierungen ihrer nationalen Umsetzungspläne jeweils spätestens vier Wochen nach deren Annahme.

Artikel 9 Beratungsgremium

(1) Die Kommission setzt ein Beratungsgremium ein, das sie bei der genauen Überwachung der Umsetzung der TSI unterstützt. Die Kommission führt den Vorsitz in diesem Beratungsgremium.

(2) Das Beratungsgremium wird spätestens zum 1. Februar 2015 eingesetzt und besteht aus:

  1. Mitgliedstaaten, die sich daran beteiligen wollen,
  2. repräsentativen Verbänden des Eisenbahnsektors,
  3. repräsentativen Interessenvertretungen der Nutzer,
  4. der Europäischen Eisenbahnagentur.

(3) Das Beratungsgremium hat folgende Aufgaben:

  1. Überwachung der Entwicklung einer Mindestdatenstruktur für das Bestandsregister,
  2. Unterstützung der Mitgliedstaaten beim Vervollständigen ihrer Bestandsregister und Umsetzungspläne,
  3. Unterstützung der Kommission bei der Überwachung der Umsetzung der TSI,
  4. Erleichterung des Austauschs vorbildlicher Verfahren,
  5. Unterstützung der Kommission bei der Ermittlung gemeinsamer Prioritäten und Kriterien für die Umsetzung der TSI gemäß Artikel 8,
  6. ggf. Abgabe von Empfehlungen an die Kommission, insbesondere in Bezug auf eine verstärkte Umsetzung der TSI.

(4) Die Kommission unterrichtet die Mitgliedstaaten laufend über die Tätigkeiten des Beratungsgremiums über den durch die Richtlinie 2008/57/EG eingerichteten Ausschuss.

Artikel 10 Schlussbestimmungen

Die vollständige Einhaltung dieser TSI ist für Vorhaben vorgeschrieben, die Finanzhilfen der Union für die Erneuerung oder Umrüstung von vorhandenen Fahrzeugen oder Teilen davon oder für die Erneuerung oder Umrüstung vorhandener Infrastrukturen, insbesondere Bahnhöfen oder Teilen davon oder Bahnsteigen oder Teilen davon, erhalten.

Artikel 11 Aufhebung

Die Entscheidung 2008/164/EG wird mit Wirkung vom 1. Januar 2015 aufgehoben.

Sie gilt jedoch weiterhin für

  1. Teilsysteme, die gemäß dieser Entscheidung genehmigt wurden;
  2. Vorhaben für neue, erneuerte oder umgerüstete Teilsysteme, die sich zum Zeitpunkt der Veröffentlichung dieser Verordnung in einem fortgeschrittenen Entwicklungsstadium befinden oder die Gegenstand eines laufenden Vertrags sind;
  3. Vorhaben für neue Fahrzeuge mit bestehendem Entwurf gemäß Nummer 7.1.2 des Anhangs dieser Verordnung.

Artikel 12 Inkrafttreten

Diese Verordnung tritt am zwanzigsten Tag nach ihrer Veröffentlichung im Amtsblatt der Europäischen Union in Kraft.

Sie gilt ab dem 1. Januar 2015. Inbetriebnahmegenehmigungen gemäß der TSI im Anhang dieser Verordnung können aber schon vor dem 1. Januar 2015 erteilt werden.

Diese Verordnung ist in allen ihren Teilen verbindlich und gilt unmittelbar in jedem Mitgliedstaat.

Brüssel, den 18. November 2014

1) ABl. Nr. L 191 vom 18.07.2008 S. 1.

2) Verordnung (EG) Nr. 881/2004 des Europäischen Parlaments und des Rates vom 29. April 2004 zur Errichtung einer Europäischen Eisenbahnagentur (ABl. Nr. L 164 vom 30.04.2004 S. 1).

3) Beschluss K(2010) 2576 endg. der Kommission vom 29. April 2010 über ein Mandat an die Europäische Eisenbahnagentur zur Ausarbeitung und Überprüfung technischer Spezifikationen für die Interoperabilität im Hinblick auf die Ausweitung ihres Geltungsbereichs auf das gesamte Eisenbahnsystem in der Europäischen Union.

4) Entscheidung 2008/164/EG der Kommission vom 21. Dezember 2007 über die technische Spezifikation für die Interoperabilität bezüglich eingeschränkt mobiler Personen im konventionellen transeuropäischen Eisenbahnsystem und im transeuropäischen Hochgeschwindigkeitsbahnsystem (ABl. Nr. L 64 vom 07.03.2008 S. 72).

5) Beschluss der Kommission vom 9. November 2010 über Module für die Verfahren der Konformitäts- und Gebrauchstauglichkeitsbewertung sowie der EG-Prüfung, die in den gemäß Richtlinie 2008/57/EG des Europäischen Parlaments und des Rates angenommenen technischen Spezifikationen für die Interoperabilität zu verwenden sind (ABl. Nr. L 319 vom 04.12.2010 S. 1).

6) Verordnung (EU) Nr. der Kommission vom 18. November 2014 über eine technische Spezifikation für die Interoperabilität des Teilsystems "Fahrzeuge - Lokomotiven und Fahrzeuge des Personenverkehrs" des Eisenbahnsystems in der Europäischen Union, siehe Seite 228 dieses Amtsblatts.

7) Verordnung (EU) Nr. 454/2011 der Kommission vom 5. Mai 2011 über die Technische Spezifikation für die Interoperabilität (TSI) zum Teilsystem Telematikanwendungen für den Personenverkehr des transeuropäischen Eisenbahnsystems (ABl. L 123 vom 12.05.2011 S. 11).

.

Anhang

1. Einleitung

Ziel dieser TSI ist es, die Zugänglichkeit zum Eisenbahnverkehr für Menschen mit Behinderungen und Menschen mit eingeschränkter Mobilität zu verbessern.

1.1. Technischer Anwendungsbereich

Der technische Anwendungsbereich dieser TSI ist in Artikel 2 Absatz 1 der Verordnung festgelegt.

1.2. Geografischer Anwendungsbereich

Der geografische Anwendungsbereich dieser TSI ist in Artikel 2 Absatz 2 der Verordnung festgelegt.

2. Anwendungsbereich der Teilsysteme und Begriffsbestimmungen

2.1. Anwendungsbereich der Teilsysteme

2.1.1. Anwendungsbereich des Teilsystems ""

Diese TSI gilt für alle öffentlich zugänglichen, der Beförderung von Reisenden dienenden Bahnhofsbereiche, die der Verantwortung des Eisenbahnunternehmens, des Infrastrukturbetreibers oder des Bahnhofsbetreibers unterliegen. Dies umfasst auch die Bereitstellung von Informationen, den Kauf und gegebenenfalls die Entwertung von Fahrkarten sowie die Möglichkeit, auf den Zug zu warten.

2.1.2.Anwendungsbereich des Teilsystems ""

Diese TSI gilt für alle zur Beförderung von Reisenden bestimmten Fahrzeuge im Anwendungsbereich der .

2.1.3.Anwendungsbereich des Teilsystems "Verkehrsbetrieb und Verkehrssteuerung"

Diese TSI gilt für die Verfahren, die einen kohärenten Betrieb der Teilsysteme "" und "" ermöglichen, wenn es sich bei den Reisenden um Menschen mit Behinderungen und Menschen mit eingeschränkter Mobilität handelt.

2.1.4.Anwendungsbereich des Teilsystems "Telematikanwendungen für den Personenverkehr"

Diese TSI gilt für in Bahnhöfen und Fahrzeugen befindliche Systeme für visuelle und akustische Fahrgastinformationen.

2.2. Bestimmung des Begriffs "Menschen mit Behinderungen und Menschen mit eingeschränkter Mobilität"

"Menschen mit Behinderungen und Menschen mit eingeschränkter Mobilität" sind Personen mit dauerhaften oder vorübergehenden körperlichen, geistigen, intellektuellen oder sensorischen Beeinträchtigungen, die in Wechselwirkung mit verschiedenen Barrieren der vollen, effektiven und gleichberechtigten Benutzung von Beförderungsmitteln entgegenstehen können, oder Personen, die aufgrund ihres Alters bei der Benutzung von Beförderungsmitteln nur eingeschränkt mobil sind.

Die Beförderung übergroßer Gegenstände (beispielsweise Fahrräder und sperriges Gepäck) fällt nicht in den Anwendungsbereich dieser TSI.

2.3. Sonstige Begriffsbestimmungen19

Für Begriffsbestimmungen im Zusammenhang mit Fahrzeugen siehe Abschnitt .

Barrierefreiheitsdaten

Barrierefreiheitsdaten umfassen Informationen über die barrierefreie Zugänglichkeit von Personenbahnhöfen, die erfasst, gepflegt und ausgetauscht werden müssen, d. h. eine Beschreibung der Beschaffenheit und Ausrüstung der Personenbahnhöfe. Diese Beschreibung wird gegebenenfalls durch die Angaben zum Stand der Konformität der Bahnhöfe mit dieser TSI ergänzt.

Hindernisfreie Wege

"Hindernisfreie Wege" bilden eine Verbindung zwischen zwei oder mehreren öffentlich zugänglichen, der Beförderung von Reisenden dienenden Bereichen gemäß der Beschreibung in Abschnitt 2.1.1. Auf solchen Wegen können sich Menschen mit Behinderungen und Menschen mit eingeschränkter Mobilität uneingeschränkt bewegen. Um dies zu gewährleisten, dürfen die Wege unterteilt werden, damit den Bedürfnissen von Menschen mit Behinderungen und Menschen mit eingeschränkter Mobilität besser Rechnung getragen werden kann. Zusammen bilden die einzelnen Teile des hindernisfreien Weges den für alle Menschen mit Behinderungen und Menschen mit eingeschränkter Mobilität zugänglichen Weg.

Stufenfreie Wege

Ein "stufenfreier Weg" ist ein Teil eines hindernisfreien Weges, der den Bedürfnissen von Menschen mit eingeschränkter Mobilität entspricht. Niveauwechsel werden vermieden oder, sofern dies nicht möglich ist, durch Rampen oder Aufzüge überbrückt.

"Taktile Zeichen" und "taktile Bedienelemente"

"Taktile Zeichen" und "taktile Bedienelemente" sind Zeichen oder Bedienelemente, welche erhabene Piktogramme, erhabene Schriftzeichen oder Braille-Beschriftungen beinhalten.

Bahnhofsbetreiber

Der "Bahnhofsbetreiber" ist eine Stelle in einem Mitgliedstaat, der die Verantwortung für die Leitung eines Bahnhofes übertragen wurde und bei der es sich um den Infrastrukturbetreiber handeln kann.

Sicherheitsinformationen

"Sicherheitsinformationen" sind Informationen, die den Reisenden bereitzustellen sind, um sie vorab über das Verhalten im Notfall zu informieren.

Sicherheitsanweisungen

"Sicherheitsanweisungen" sind Anweisungen, die den Reisenden bei Eintreten eines Notfalls zu erteilen sind, damit sie verstehen, wie sie sich zu verhalten haben.

Niveaugleicher Einstieg

Ein "niveaugleicher Einstieg" ist ein Zugang zwischen dem Bahnsteig und der Türöffnung eines Fahrzeugs, für den Folgendes nachgewiesen werden kann:

3. Grundlegende Anforderungen

In den folgenden Tabellen sind die grundlegenden Anforderungen gemäß Anhang III der Richtlinie 2008/57/EG aufgeführt, die für den Anwendungsbereich dieser TSI durch die Spezifikationen in Abschnitt 4 erfüllt werden.

Nicht aufgeführte grundlegende Anforderungen sind für den Anwendungsbereich dieser TSI ohne Belang.

Tabelle 1: Grundlegende Anforderungen an das Teilsystem ""

Infrastruktur Bezug zu den grundlegenden Anforderungen in
Anhang III der Richtlinie 2008/57/EG
TSI-Element Abschnitt
in diesem
Anhang
Sicher-
heit
Zuverlässig-
keit und
Betriebs-
bereitschaft
Gesund-
heit
Umwelt-
schutz
Technische
Kompatibilität
Zugänglich-
keit1
Parkmöglichkeiten für Menschen mit Behinderungen und Menschen mit eingeschränkter Mobilität 4.2.1.1 2.1.2
Hindernisfreie Wege 4.2.1.2 2.1.1 2.1.2
Türen und Eingänge 4.2.1.3 1.1.1
2.1.1
2.1.2
Fußbodenoberflächen 4.2.1.4 2.1.1 2.1.2
Kennzeichnung transparenter Hindernisse 4.2.1.5 2.1.1 2.1.2
Toiletten und Wickeltische 4.2.1.6 1.1.5
2.1.1
2.1.2
Einrichtungsgegenstände und frei stehende Objekte 4.2.1.7 2.1.1 2.1.2
Fahrkartenschalter, Informations- und Kundenbetreuungsschalter 4.2.1.8 2.1.1 2.7.3 2.7.1 2.1.2
2.7.5
Beleuchtung 4.2.1.9 2.1.1 2.1.2
Visuelle Informationen: Wegweiser, Piktogramme, gedruckte oder dynamische Informationen 4.2.1.10 2.7.1 2.1.2
2.7.5
Gesprochene Informationen 4.2.1.11 2.1.1 2.7.3 2.7.1 2.1.2
2.7.5
Breite des Bahnsteigs und Bahnsteigkante 4.2.1.12 2.1.1 2.1.2
Bahnsteigende 4.2.1.13 2.1.1 2.1.2
Einstiegshilfen auf Bahnsteigen 4.2.1.14 1.1.1 2.1.2
Schienengleiche Bahnübergänge in Bahnhöfen 4.2.1.15 2.1.1 2.1.2
1) Grundlegende Anforderung der Richtlinie 2013/9/EU der Kommission vom 11. März 2013 zur Änderung von Anhang III der Richtlinie 2008/57/EG (ABl. Nr. L 68 vom 12.03.2013 S. 55).

Tabelle 2: Grundlegende Anforderungen an das Teilsystem "Fahrzeuge"

Fahrzeuge Bezug zu den grundlegenden Anforderungen in
Anhang III der Richtlinie 2008/57/EG
TSI-Element Abschnitt
in diesem
Anhang
Sicher-
heit
Zuverlässig-
keit und
Betriebs-
bereitschaft
Gesund-
heit
Umwelt-
schutz
Technische
Kompatibilität
Zugänglich-
keit
Sitze 4.2.2.1 1.3.1 2.4.5
Rollstuhlplätze 4.2.2.2 2.4.1 2.4.5
Türen 4.2.2.3 1.1.1
1.1.5
2.4.1
1.2 2.4.5
Beleuchtung 4.2.2.4 2.4.1 2.4.5
Toiletten 4.2.2.5 2.4.1 2.4.5
Lichte Räume 4.2.2.6 1.3.1 2.4.5
Kundeninformationen 4.2.2.7 2.4.1 2.7.3 2.7.1 2.4.5
2.7.5
Höhenänderungen 4.2.2.8 1.1.5 2.4.5
Handläufe 4.2.2.9 1.1.5 2.4.5
Rollstuhlgerechte Schlafgelegenheiten 4.2.2.10 2.4.1 2.4.5
Position von Stufen zum Ein- und Ausstieg 4.2.2.11 1.1.1 2.4.2 1.5
2.4.3
2.4.5
Einstiegshilfen 4.2.2.12 1.1.1 1.5
2.4.3
2.4.5

4. Beschreibung der Teilsysteme

4.1. Einleitung

(1) Das Eisenbahnsystem der Europäischen Union, das Gegenstand der Richtlinie 2008/57/EG ist und die einzelnen Teilsysteme als Bestandteile umfasst, ist ein integriertes System, dessen Einheitlichkeit überprüft werden muss. Diese Einheitlichkeit ist insbesondere mit Blick auf die Spezifikationen der einzelnen Teilsysteme, ihrer Schnittstellen zu dem System, in das sie integriert sind, sowie auf die für Betrieb und Instandhaltung geltenden Vorschriften zu überprüfen.

(2) Die in den Abschnitten 4.2 und 4.3 beschriebenen funktionalen und technischen Spezifikationen der Teilsysteme und ihrer Schnittstellen schreiben keine bestimmten Technologien oder technischen Lösungen vor, es sei denn, dies ist für die Interoperabilität des Eisenbahnnetzes der Union zwingend erforderlich. Innovative Lösungen für die Interoperabilität können allerdings neue Spezifikationen und/oder neue Bewertungsmethoden notwendig machen. Um technische Innovationen zu ermöglichen, sind solche Spezifikationen und Bewertungsmethoden nach dem in Artikel 6 der Verordnung beschriebenen Verfahren zu entwickeln.

(3) Unter Berücksichtigung aller geltenden grundlegenden Anforderungen sind die Eckwerte in Bezug auf die Zugänglichkeit für Menschen mit Behinderungen und Menschen mit eingeschränkter Mobilität für die Teilsysteme "" und "" in Abschnitt 4.2 dieser TSI aufgeführt. Die den Betrieb betreffenden Anforderungen und Verantwortlichkeiten sind in der TSI "Verkehrsbetrieb und Verkehrssteuerung" sowie in Abschnitt 4.4 dieser TSI festgelegt.

4.2. Funktionale und technische Spezifikationen

4.2.1.Teilsystem "Infrastruktur"

(1) In Bezug auf die Zugänglichkeit für Menschen mit Behinderungen und Menschen mit eingeschränkter Mobilität gelten für das Teilsystem "" unter Berücksichtigung der grundlegenden Anforderungen in Abschnitt 3 die wie folgt eingeteilten funktionalen und technischen Spezifikationen:

(2) Die in den Abschnitten 4.2.1.1- 4.2.1.15 genannten Eckwerte beziehen sich auf die in Abschnitt 2.1.1 genannten Bereiche des Teilsystems "" und lassen sich in zwei Kategorien einteilen:

In nachstehender Tabelle 3 sind die Eckwerte und ihre jeweilige Kategorie aufgeführt.

Tabelle 3: Eckwerte und ihre Kategorie

Eckwert Technische Angaben Nur funktionale Anforderung
Parkmöglichkeiten für Menschen mit Behinderungen und Menschen mit eingeschränkter Mobilität Gesamter Abschnitt 4.2.1.1
Hindernisfreie Wege Lage der Wege
Breite der hindernisfreien Wege
Schwellen
Doppelte Handläufe
Aufzugtyp
Höhe der Braille-Beschriftungen
Detaillierte Merkmale
4.2.1.3 (2): Türbreite
4.2.1.3 (4): Höhe der Türbedienelemente
4.2.1.3 (1)
4.2.1.3 (3)
Fußbodenoberflächen Gesamter Abschnitt 4.2.1.4
Gesamter Abschnitt 4.2.1.5
Toiletten und Wickeltische Gesamter Abschnitt 4.2.1.6
Einrichtungsgegenstände und frei stehende Objekte Gesamter Abschnitt 4.2.1.7
Fahrkartenschalter, Informations- und Kundenbetreuungsschalter 4.2.1.8 (5): Durchgänge an Fahrkartenkontrollgeräten 4.2.1.8 (1)-(4)
4.2.1.8 (6)
Beleuchtung 4.2.1.9 (3): Beleuchtung auf Bahnsteigen 4.2.1.9 (1), 4.2.1.9 (2), 4.2.1.9 (4):
Beleuchtung an anderen Orten
Visuelle Informationen: Wegweiser, Piktogramme, gedruckte oder dynamische Informationen Anzugebende Informationen im Einzelnen
Ort der Informationen
Genaue Merkmale der visuellen Informationen
Gesprochene Informationen Gesamter Abschnitt 4.2.1.11
Breite des Bahnsteigs und Bahnsteig- kante Gesamter Abschnitt 4.2.1.12
Bahnsteigende Gesamter Abschnitt 4.2.1.13
Einstiegshilfen auf Bahnsteigen Gesamter Abschnitt 4.2.1.14
Schienengleiche Bahnübergänge in Bahnhöfen Gesamter Abschnitt 4.2.1.15

4.2.1.1. Parkmöglichkeiten für Menschen mit Behinderungen und Menschen mit eingeschränkter Mobilität

(1) Wenn ein Parkplatz zum Bahnhof gehört, sind genügend geeignete Stellplätze für Menschen mit Behinderungen und Menschen mit eingeschränkter Mobilität zu reservieren, die über eine Nutzungsberechtigung für Behindertenparkplätze verfügen. Diese Stellplätze müssen sich auf dem Parkplatz möglichst nahe an einem zugänglichen Eingang befinden.

4.2.1.2 Hindernisfreie Wege

(1) Folgende öffentliche Bereiche der Infrastruktur müssen, soweit vorhanden, über hindernisfreie Wege miteinander verbunden sein:

(2) Die Länge der hindernisfreien Wege muss der kürzesten praktisch umsetzbaren Entfernung entsprechen.

(3) Die Fußboden- und Bodenoberflächen hindernisfreier Wege müssen gering reflektierende Eigenschaften besitzen.

4.2.1.2.1 Horizontale Erschließung

(1) Die lichte Breite von hindernisfreien Wegen, Fußgängerüber- und -unterführungen muss mindestens 160 cm betragen, außer in den in Abschnitt 4.2.1.3 (2) (Türen), 4.2.1.12 (3) (Bahnsteige) und 4.2.1.15 (2) (schienengleiche Bahnübergänge) genannten Bereichen.

(2) Sind auf dem Weg Schwellen vorhanden, so müssen diese in Kontrast zum umgebenden Fußboden stehen und dürfen nicht höher als 2,5 cm sein.

4.2.1.2.2 Vertikale Erschließung

(1) Sind auf einem hindernisfreien Weg Niveauunterschiede zu überwinden, so ist als Alternative zur Treppe ein stufenfreier Weg für Menschen mit eingeschränkter Mobilität vorzusehen.

(2) Treppen auf hindernisfreien Wegen müssen, gemessen zwischen den Handläufen, eine Mindestbreite von 160 cm haben. Mindestens die erste und die letzte Stufe sind durch einen farblich kontrastierenden Streifen kenntlich zu machen, und zumindest vor der ersten Stufenkante nach unten sind taktile Bodenindikatoren anzubringen.

(3) Sind keine Aufzüge vorhanden, so müssen für Menschen mit Behinderungen und Menschen mit eingeschränkter Mobilität, die keine Treppen benutzen können, Rampen mit moderater Neigung installiert werden. Stark geneigte Rampen sind nur für kurze Entfernungen zulässig.

(4) Treppen und Rampen sind auf beiden Seiten und in zwei Höhen mit Handläufen auszustatten.

(5) Sind keine Rampen vorhanden, müssen Aufzüge bereitgestellt werden, die mindestens Typ 2 gemäß der in Anlage A Ziffer 1 genannten Spezifikation entsprechen. Aufzüge vom Typ 1 sind nur in Bahnhöfen zulässig, die erneuert oder umgerüstet werden.

(6) Fahrtreppen und Fahrsteige sind gemäß der in Anlage A Ziffer 2 genannten Spezifikation zu gestalten.

(7) Schienengleiche Bahnübergänge können Teil eines hindernisfreien Weges sein, wenn sie den Anforderungen in Abschnitt 4.2.1.15 entsprechen.

4.2.1.2.3 Kennzeichnung der Wege

(1) Hindernisfreie Wege sind eindeutig durch visuelle Informationen gemäß Abschnitt 4.2.1.10 zu kennzeichnen.

(2) Für sehbehinderte Personen sind die Informationen auf dem hindernisfreien Weg zumindest durch taktile und in Kontrast stehende Bodenindikatoren bereitzustellen. Dieser Absatz gilt nicht für hindernisfreie Wege zu Parkplätzen.

(3) Zusätzlich oder als Alternative sind auch technische Lösungen zulässig, bei denen ferngesteuerte akustische Einrichtungen oder Telekommunikationsanwendungen eingesetzt werden. Lösungen dieser Art, die als Alternative verwendet werden sollen, sind als innovative Lösungen zu behandeln.

(4) Sind entlang dem hindernisfreien Weg zum Bahnsteig Handläufe oder Wände in Reichweite, so müssen Kurzinformationen (z.B. Nummer des Bahnsteigs oder Richtungsinformationen) in Braille-Schrift oder in prismatischen Buchstaben bzw. Zahlen auf dem Handlauf oder an der Wand auf einer Höhe zwischen 145 cm und 165 cm angebracht sein.

4.2.1.3. Türen und Eingänge

(1) Dieser Abschnitt gilt für alle Türen und Eingänge auf hindernisfreien Wegen, mit Ausnahme von Türen zu Toiletten, die nicht für Menschen mit Behinderungen und Menschen mit eingeschränkter Mobilität bestimmt sind.

(2) Türen müssen eine nutzbare lichte Breite von mindestens 90 cm haben und von Menschen mit Behinderungen und Menschen mit eingeschränkter Mobilität benutzt werden können.

(3) Zulässig sind manuell bediente, halbautomatische oder automatische Türen.

(4) Die Türbedienelemente müssen in einer Höhe zwischen 80 cm und 110 cm angebracht sein.

4.2.1.4. Fußbodenoberflächen

(1) Alle Bodenbeläge, Oberflächen und Trittflächen von Stufen müssen rutschfest sein.

(2) Innerhalb der Bahnhofsgebäude dürfen die Böden von Fußwegen keine Unebenheiten von mehr als 0,5 cm aufweisen. Ausgenommen sind Schwellen, Entwässerungsrinnen und taktile Bodenindikatoren.

4.2.1.5. Kennzeichnung transparenter Hindernisse

(1) Transparente Hindernisse in Form von Glastüren oder transparenten Wänden auf oder entlang den von Reisenden genutzten Wegen sind zu kennzeichnen. Die transparenten Hindernisse müssen durch diese Kennzeichnungen deutlich hervorgehoben werden. Eine Kennzeichnung ist nicht erforderlich, wenn die Reisenden durch andere Objekte vor einem Aufprall geschützt sind, beispielsweise durch Handläufe oder durchgehende Sitzbänke.

4.2.1.6 Toiletten und Wickeltische

(1) Sofern in einem Bahnhof Toiletten verfügbar sind, muss mindestens eine rollstuhlgerechte geschlechtsneutrale Toilettenkabine vorhanden sein.

(2) Sofern in einem Bahnhof Toiletten verfügbar sind, müssen Wickeltische für Kleinstkinder bereitgestellt werden, die für Frauen und Männer zugänglich sind.

4.2.1.7. Einrichtungsgegenstände und frei stehende Objekte

(1) Alle Einrichtungsgegenstände und frei stehenden Objekte in Bahnhöfen müssen in Kontrast zu ihrem Hintergrund stehen und abgerundete Kanten haben.

(2) Innerhalb der Bahnhofsgrenzen sind Einrichtungsgegenstände und frei stehende Objekte (einschließlich vorspringender und hängender Gegenstände) so zu positionieren, dass sie blinde oder sehbehinderte Personen nicht beeinträchtigen, oder sie müssen mit einem langen Stock ertastet werden können.

(3) Auf jedem Bahnsteig, auf dem Reisenden das Warten auf Züge gestattet ist, sowie in jedem Wartebereich ist mindestens ein Bereich mit Sitzmöglichkeiten und einem Rollstuhlplatz bereitzustellen.

(4) Handelt es sich dabei um einen wettergeschützten Bereich, so muss dieser für Rollstuhlfahrer zugänglich sein.

4.2.1.8. Fahrkartenschalter, Informations- und Kundenbetreuungsschalter

(1) Sind entlang dem hindernisfreien Weg besetzte Fahrkartenschalter, Informations- und Kundenbetreuungsschalter vorhanden, so muss mindestens ein Schalter für Rollstuhlfahrer und kleinwüchsige Menschen zugänglich sein und mindestens ein Schalter über eine Induktionsschleife für Hörhilfen verfügen.

(2) Befindet sich eine Glastrennwand zwischen dem Reisenden und dem Verkaufsmitarbeiter am Fahrkartenschalter, so muss entweder die Trennwand entfernt werden können oder es muss eine Sprechanlage installiert sein. Glastrennwände dieser Art müssen aus klarem Glas bestehen.

(3) Sind elektronische Geräte zur Anzeige von Preisinformationen für den Verkaufsmitarbeiter vorhanden, so müssen diese so angebracht sein, dass der Preis auch für den Käufer der Fahrkarte sichtbar ist.

(4) Sind entlang einem hindernisfreien Weg in einem Bahnhof Fahrkartenverkaufsautomaten verfügbar, so müssen die Bedienelemente mindestens einer dieser Automaten von Rollstuhlfahrern und kleinwüchsigen Menschen erreicht werden können.

(5) Sind Geräte zur Fahrkartenkontrolle aufgestellt, muss mindestens eines dieser Geräte über einen freien Durchgang mit einer Breite von mindestens 90 cm verfügen und die Durchfahrt eines besetzten Rollstuhls mit bis zu 1.250 mm Länge ermöglichen. Im Falle einer Erneuerung oder Umrüstung ist eine Mindestbreite von 80 cm zulässig.

(6) Werden Drehkreuze verwendet, so muss während der Betriebszeiten ein alternativer Durchgangspunkt für Menschen mit Behinderungen und Menschen mit eingeschränkter Mobilität zur Verfügung stehen.

4.2.1.9. Beleuchtung

(1) Die Außenbereiche von Bahnhöfen müssen so ausreichend beleuchtet sein, dass die Orientierung erleichtert wird und Niveauwechsel, Türen und Eingänge hervorgehoben sind.

(2) Die Beleuchtung entlang hindernisfreien Wegen muss der visuellen Erfordernis der Reisenden angepasst sein. Besonders zu beachten sind dabei Niveauwechsel, Fahrkartenverkaufsstellen und -automaten sowie Informationsschalter und Informationsanzeigen.

(3) Die Beleuchtung der Bahnsteige muss den in Anlage A Ziffern 3 und 4 genannten Spezifikationen entsprechen.

(4) Die Notbeleuchtung muss hinreichende Sichtverhältnisse schaffen, um Evakuierungen durchführen sowie Feuerlöschgeräte und Sicherheitsausrüstungen erkennen zu können.

4.2.1.10. Visuelle Informationen: Wegweiser, Piktogramme, gedruckte oder dynamische Informationen

(1) Folgende Informationen müssen vorhanden sein:

(2) Die für visuelle Informationen verwendeten Schriftarten, Symbole und Piktogramme müssen in Kontrast zu ihrem Hintergrund stehen.

(3) Wegweiser sind an allen Stellen, an denen Reisende entscheiden müssen, welchen Weg sie wählen, sowie in bestimmten Abständen entlang dem Weg anzubringen. Zeichen, Symbole und Piktogramme sind über den gesamten Weg hinweg einheitlich zu verwenden.

(4) Informationen über die Abfahrt von Zügen (u. a. Zielbahnhof, Zwischenhalte, Nummer des Bahnsteigs und Abfahrtszeit) müssen an mindestens einer Stelle im Bahnhof auf einer Höhe von maximal 160 cm verfügbar sein. Dies gilt für gedruckte und dynamische Informationen gleichermaßen.

(5) Die für Text verwendete Schriftart muss gut lesbar sein.

(6) Alle Sicherheits-, Warn-, Gebots- und Verbotszeichen müssen Piktogramme enthalten.

(7) An folgenden Orten sind taktile Zeichen anzubringen:

(8) Für Uhrzeitangaben in Ziffern muss das 24-Stunden-System verwendet werden.

(9) Die folgenden spezifischen grafischen Symbole und Piktogramme sind mit dem Rollstuhlsymbol gemäß Anlage N zu versehen:

Diese Symbole dürfen mit anderen Symbolen (z.B. Aufzug, Toiletten) kombiniert werden.

(10) Sind Induktionsschleifen installiert, müssen diese durch ein Zeichen gemäß Anlage N gekennzeichnet sein.

(11) Sind in rollstuhlgerechten Toiletten klappbare Haltestangen vorhanden, so ist ein grafisches Symbol anzubringen, das die Haltestange sowohl in ein- wie auch in ausgeklappter Position zeigt.

(12) Es dürfen nicht mehr als fünf Piktogramme und ein Richtungspfeil, in eine Richtung weisend, gemeinsam an einem Ort angebracht werden.

(13) Anzeigen müssen den Anforderungen in Abschnitt 5.3.1.1 entsprechen. Unter "Anzeige" ist in diesem Zusammenhang jeder Träger von dynamischen Informationen zu verstehen.

4.2.1.11. Gesprochene Informationen

(1) Der STI-PA-Wert gesprochener Informationen muss gemäß der in Anlage A Ziffer 5 genannten Spezifikation mindestens 0,45 betragen.

4.2.1.12 Breite des Bahnsteigs und Bahnsteigkante

(1) Der Gefahrenbereich eines Bahnsteigs beginnt an der den Gleisen zugewandten Bahnsteigkante und ist als der Bereich definiert, in dem Reisende sich bei der Durchfahrt oder Einfahrt von Zügen nicht aufhalten dürfen.

(2) Die Bahnsteigbreite darf über die gesamte Länge des Bahnsteigs variieren.

(3) Die Mindestbreite des Bahnsteigs ohne Hindernisse muss der Breite des Gefahrenbereichs zuzüglich der Breite einer Gehspur/Freifläche pro Richtung von je 80 cm (insgesamt 160 cm) entsprechen. Eine Verjüngung dieser Abmessung an den Bahnsteigenden auf 90 cm ist zulässig.

(4) Innerhalb dieser Gehspur/Freifläche von 160 cm dürfen sich Hindernisse befinden. Für das Signalsystem erforderliche Ausrüstungen sowie Sicherheitsausrüstungen gelten in diesem Zusammenhang nicht als Hindernisse. Der Mindestabstand zwischen den Hindernissen und dem Gefahrenbereich muss den Angaben in folgender Tabelle entsprechen:

Tabelle 4: Mindestabstand zwischen Hindernissen und Gefahrenbereich

Länge der Hindernisse (parallel zur Bahnsteigkante gemessen) Mindestabstand zum Gefahrenbereich
1 m (siehe Anm. 1) - kleine Hindernisse

< 1 m (siehe Anm. 1) - kleine Hindernisse

80 cm
1 m bis < 10 m - große Hindernisse 120 cm
Anmerkung 1:Beträgt der Abstand zwischen zwei kleinen Hindernissen weniger als 2,4 m (parallel zur Bahnsteigkante gemessen), so gelten beide Hindernisse als ein großes Hindernis.

Anmerkung 2: Innerhalb des Mindestabstands zwischen einem großen Hindernis und dem Gefahrenbereich dürfen sich weitere kleine Hindernisse befinden, sofern die für kleine Hindernisse geltenden Anforderungen (Mindestabstand zum Gefahrenbereich und Mindestabstand zum nächsten kleinen Hindernis) erfüllt sind.

(5) Sind fahrzeug- oder bahnsteigseitig Hilfsvorrichtungen vorhanden, die Rollstuhlfahrern das Ein- oder Aussteigen erleichtern, so ist zwischen dem Rand der Hilfseinrichtung und der Einstiegs- bzw. Ausstiegsstelle für Rollstühle auf dem Bahnsteig an derjenigen Stelle, an der diese Einrichtungen voraussichtlich genutzt werden, ein freier Bereich (ohne Hindernisse) von mindestens 150 cm vorzusehen. In einem neuen Bahnhof gilt diese Anforderung für alle Züge, die an dem Bahnsteig planmäßig halten.

(6) Der den Gleisen abgewandte Rand des Gefahrenbereichs muss durch visuelle Markierungen und taktile Bodenindikatoren gekennzeichnet sein.

(7) Die visuelle Markierung muss aus einer mindestens 10 cm breiten, mit dem Hintergrund in Kontrast stehenden rutschfesten Warnlinie bestehen.

(8) Taktile Bodenindikatoren können auf zweierlei Arten ausgeführt sein:

(9) Der Werkstoff an der den Schienen zugewandten Bahnsteigkante muss in Kontrast zu dem dunklen Spalt stehen.

4.2.1.13. Bahnsteigende

(1) Das Bahnsteigende ist entweder durch eine Absperrung gegen öffentlichen Zutritt abzugrenzen oder durch eine visuelle Markierung und taktile Bodenindikatoren mit einem Aufmerksamkeitsfeld zu kennzeichnen.

4.2.1.14 Einstiegshilfen auf Bahnsteigen

(1) Bei Verwendung bahnsteigseitiger Rampen müssen diese den Anforderungen in Abschnitt 5.3.1.2 entsprechen.

(2) Bei Verwendung bahnsteigseitiger Hublifte müssen diese den Anforderungen in Abschnitt 5.3.1.3 entsprechen.

(3) Bei der Aufbewahrung von Einstiegshilfen, einschließlich mobiler Rampen, muss gewährleistet sein, dass sie in verstautem Zustand auf dem Bahnsteig kein Hindernis und keine Gefahr für die Reisenden darstellen.

4.2.1.15. Schienengleiche Bahnübergänge in Bahnhöfen

(1) Schienengleiche Bahnübergänge in Bahnhöfen dürfen unter Einhaltung der nationalen Vorschriften Teil eines stufenfreien Weges oder eines hindernisfreien Weges sein.

(2) Wenn schienengleiche Bahnübergänge Teile von stufenfreien Wegen sind, die zusätzlich zu anderen Wegen genutzt werden, so müssen sie

(3) Wenn schienengleiche Bahnübergänge Teile von hindernisfreien Wegen sind, die von allen Reisenden genutzt werden müssen, so müssen sie

(4) Kann eine dieser Anforderungen nicht erfüllt werden, so darf der schienengleiche Bahnübergang nicht als Teil eines stufenfreien Weges oder eines hindernisfreien Weges betrachtet werden.

4.2.2.Teilsystem "Fahrzeuge"

(1) In Bezug auf die Zugänglichkeit für Menschen mit Behinderungen und Menschen mit eingeschränkter Mobilität gelten für das Teilsystem "" unter Berücksichtigung der grundlegenden Anforderungen in Abschnitt 3 die wie folgt eingeteilten funktionalen und technischen Spezifikationen:

4.2.2.1. Sitze

4.2.2.1.1 Allgemeines

(1) An allen gangseitigen Sitzen müssen Haltegriffe, vertikale Haltestangen oder andere Vorrichtungen angebracht sein, die im Gang für einen sicheren Halt genutzt werden können, es sei denn, der Sitz befindet sich in aufrechter Stellung nicht mehr als 200 mm entfernt von

(2) Haltegriffe oder andere Vorrichtungen, die für einen sicheren Halt genutzt werden können, sind in einer Höhe zwischen 800 mm und 1.200 mm (gemessen von der Mitte des nutzbaren Teils des Haltegriffs) über dem Boden anzubringen, dürfen nicht in den lichten Raum hineinragen und müssen mit dem Sitz in Kontrast stehen.

(3) In Sitzplatzbereichen mit festen Sitzen parallel zur Seitenwand sind für einen sicheren Halt Haltestangen anzubringen. Diese Haltestangen müssen mit einem Abstand von maximal 2.000 mm zueinander und in einer Höhe zwischen 800 mm und 1.200 mm über dem Boden angebracht sein und mit der Umgebung im Innern des Zuges in Kontrast stehen.

(4) Haltegriffe und andere Vorrichtungen dürfen keine scharfen Kanten haben.

4.2.2.1.2 Vorrangsitze

4.2.2.1.2.1 Allgemeines

(1) Mindestens 10 % der Sitzplätze je Triebzug/Reisezugwagen und je Klasse sind als Vorrangsitze für Menschen mit Behinderungen und Menschen mit eingeschränkter Mobilität zu kennzeichnen.

(2) Die Vorrangsitze und die Fahrzeuge, in denen sie sich befinden, sind durch Zeichen gemäß Anlage N zu kennzeichnen. Die Sitzplätze sind mit einem Hinweis zu versehen, der besagt, dass andere Reisende diese Sitze für berechtigte Personen bei Bedarf freimachen müssen.

(3) Die Vorrangsitze müssen sich im Fahrgastraum und in der Nähe der Außentüren befinden. In doppelstöckigen Wagen oder Zügen können auf beiden Decks Vorrangsitze vorhanden sein.

(4) Vorrangsitze müssen mindestens über dieselbe Ausstattung verfügen wie normale Sitze desselben Typs.

(5) Sind Sitze eines bestimmten Typs mit Armlehnen ausgestattet, so müssen die Armlehnen der Vorrangsitze dieses Typs beweglich sein, mit Ausnahme der Armlehnen, die sich unmittelbar an den Außenwänden des Fahrzeugs oder, im Fall von Abteilwagen, an den Trennwänden befinden. Bewegliche Armlehnen müssen in eine Position parallel zur Rückenlehne geklappt werden können, um den uneingeschränkten Zugang zum Sitz oder zu angrenzenden Vorrangsitzen zu ermöglichen.

(6) Vorrangsitze dürfen keine Klappsitze sein.

(7) Jeder Vorrangsitz und der für den Benutzer verfügbare Raum muss den Abbildungen H1 bis H4 in Anlage H entsprechen.

(8) Die gesamte nutzbare Sitzfläche des Vorrangsitzes muss mindestens 450 mm breit sein (siehe Abb. H1).

(9) Die Oberseite des Sitzpolsters eines Vorrangsitzes muss sich an der vorderen Sitzkante in einer Höhe zwischen 430 mm und 500 mm über dem Boden befinden.

(10) Die lichte Höhe über jedem Sitz muss vom Boden aus gemessen mindestens 1.680 mm betragen, außer in Doppelstockwagen, in denen über den Sitzen Gepäckablagen angebracht sind. In solchen Fällen ist für Vorrangsitze unter den Gepäckablagen eine geringere lichte Höhe von 1.520 mm zulässig, sofern bei mindestens 50 % der Vorrangsitze eine lichte Höhe von 1.680 mm gegeben ist.

(11) Wenn Sitze mit verstellbarer Rückenlehne vorhanden sind, ist die Messung bei vollständig aufrechter Stellung der Rückenlehne durchzuführen.

4.2.2.1.2.2 Sitze in Reihenanordnung

(1) Bei in Reihe angeordneten Vorrangsitzen muss der freie Raum vor jedem Sitz den Abmessungen in Abbildung H2 entsprechen.

(2) Der Abstand zwischen der Vorderfläche der Rückenlehne und der senkrechten Ebene durch den am weitesten nach hinten ragenden Teil des davor angeordneten Sitzes muss mindestens 680 mm betragen. Dabei ist zu beachten, dass der erforderliche Sitzabstand in der Mitte des Sitzes in einer Höhe von 70 mm über dem Schnittpunkt zwischen Sitzpolster und Rückenlehne gemessen wird.

(3) Außerdem muss ein freier Raum zwischen der Vorderkante des Sitzpolsters und der gleichen senkrechten Ebene des vorderen Sitzes von mindestens 230 mm vorhanden sein.

4.2.2.1.2.3 Sitze in Vis-à-vis-Anordnung

(1) Bei gegenüberliegend (vis-à-vis) angeordneten Vorrangsitzen muss der Abstand zwischen den Vorderkanten der Sitzpolster mindestens 600 mm betragen (siehe Abb. H3). Dieser Abstand muss auch dann gegeben sein, wenn einer dieser Sitze kein Vorrangsitz ist.

(2) Bei gegenüberliegend angeordneten Vorrangsitzen mit Tisch muss zwischen der Vorderkante des Sitzpolsters und der am nächsten liegenden Kante des Tischs ein Abstand von mindestens 230 mm vorhanden sein (siehe Abb. H4). Ist einer dieser Sitze kein Vorrangsitz, so kann dessen Abstand zum Tisch geringer sein, sofern zwischen den Vorderkanten der Sitzpolster weiterhin ein Mindestabstand von 600 mm gegeben ist. An den Seitenwänden befestigte Tische, die nicht über die Mittelinie des Fenstersitzes hinausragen, sind von den Bestimmungen dieses Absatzes ausgenommen.

4.2.2.2. Rollstuhlplätze

(1) Je nach Länge muss in einer Einheit, ohne Berücksichtigung der Lokomotive oder des Triebkopfs, mindestens die in der folgenden Tabelle angegebene Anzahl von zugänglichen Rollstuhlplätzen vorhanden sein:

Tabelle 5: Mindestanzahl von Rollstuhlplätzen nach Länge der Einheit

Länge der Einheit Anzahl der Rollstuhlplätze pro Einheit
unter 30 m 1 Rollstuhlplatz
30 m bis 205 m 2 Rollstuhlplätze
über 205 m bis 300 m 3 Rollstuhlplätze
über 300 m 4 Rollstuhlplätze

(2) Zur Gewährleistung der Standfestigkeit muss der Rollstuhlplatz so ausgelegt sein, dass der Rollstuhl entweder in Fahrtrichtung oder entgegengesetzt der Fahrtrichtung platziert werden kann.

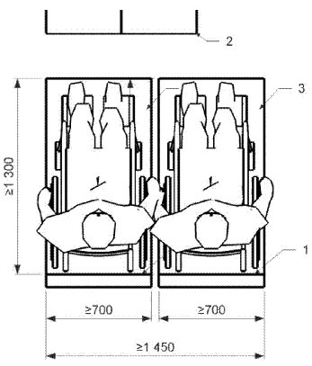
(3) Rollstuhlplätze müssen über ihre gesamte Länge eine Breite von 700 mm und mindestens eine Höhe von 1.450 mm ab Fußbodenoberkante erfüllen. In der Höhe zwischen 400 mm und 800 mm über Fußbodenoberkante sind auf jeder an Hindernisse (z.B. Wände oder Aufbauten) angrenzenden Seite 50 mm an zusätzlicher Breite vorzusehen als zusätzlicher Bewegungsfreiraum für die Hände des Rollstuhlbenutzers (bei Rollstühlen, die auf der Gangseite abgestellt sind, sind für die betreffende Gangseite keine zusätzlichen 50 mm erforderlich, da es sich bereits um einen freien Bereich handelt).

(4) Der Mindestabstand in der Längsebene zwischen der Rückseite des Rollstuhlplatzes und der angrenzenden nächstgelegenen Fläche muss den Abmessungen in Anlage I Abbildungen I1 bis I3 entsprechen.

(5) Im vorgesehenen Bereich darf sich zwischen dem Boden und der Decke des Fahrzeugs kein Hindernis befinden, mit Ausnahme einer Gepäckablage, eines gemäß den Anforderungen in Abschnitt 4.2.2.9 an der Wand oder der Decke des Fahrzeugs montierten horizontalen Handlaufs oder eines Tisches.

(6) An der Rückseite des Rollstuhlplatzes muss ein Aufbau oder eine andere geeignete Vorrichtung mit einer Breite von mindestens 700 mm vorhanden sein. Die Höhe des Aufbaus oder der Vorrichtung muss so gewählt werden, dass ein Rollstuhl, der mit der Rückseite zum Aufbau oder zur Vorrichtung steht, nicht nach hinten umkippen kann.

(7) Am Rollstuhlplatz können Klappsitze angebracht sein, die allerdings in eingeklappter Position nicht in den geforderten Freiraum des Rollstuhlplatzes hineinragen dürfen.

(8) Innerhalb von Rollstuhlplätzen oder unmittelbar davor dürfen keine ständigen Ausrüstungen wie Fahrradhaken oder Skihalterungen montiert werden.

(9) Neben oder gegenüber jedem Rollstuhlplatz muss mindestens ein Sitz für eine Begleitperson des Rollstuhlfahrers vorgesehen sein. Dieser Sitz muss den gleichen Komfort bieten wie die anderen Fahrgastsitze und kann auch auf der gegenüberliegenden Seite des Ganges angebracht sein.

(10) In Zügen mit bauartbedingter Höchstgeschwindigkeit von mehr als 250 km/h, mit Ausnahme von doppelstöckigen Zügen, müssen Rollstuhlfahrer die Möglichkeit haben, von einem Rollstuhlplatz auf einen Fahrgastsitz, der mit einer beweglichen Armlehne ausgestattet sein muss, zu wechseln. Der Wechsel erfolgt vom Rollstuhlfahrer selbstständig. In diesem Fall ist es zulässig, den Sitz für die Begleitperson in eine andere Sitzreihe zu verlegen. Diese Anforderung gilt für die Anzahl der nach Tabelle 5 pro Einheit vorzusehenden Rollstuhlplätze.

(11) Der Rollstuhlplatz muss mit einer Hilferufvorrichtung ausgestattet sein, die es dem Rollstuhlfahrer ermöglicht, bei Gefahr mit einer Person in Kontakt zu treten, die geeignete Maßnahmen einleiten kann.

(12) Die Hilferufvorrichtung muss sich in dem in Anlage L Abbildung L1 spezifizierten Bereich befinden, der vom Rollstuhlfahrer mühelos erreicht werden kann.

(13) Die Hilferufvorrichtung darf nicht in einer engen Vertiefung angebracht sein, die die unmittelbare Bedienung mit der Handfläche verhindert; eine Schutzvorrichtung gegen unbeabsichtigten Gebrauch ist allerdings zulässig.

(14) Die Bedienschnittstelle der Hilferufvorrichtung muss den Anforderungen in Abschnitt 5.3.2.6 entsprechen.

(15) Unmittelbar neben oder auf dem Rollstuhlplatz ist ein Zeichen gemäß Anlage N anzubringen, das den Bereich als Rollstuhlplatz kennzeichnet.

4.2.2.3. Türen

4.2.2.3.1 Allgemeines

(1) Diese Anforderungen betreffen ausschließlich Türen zwischen öffentlich zugänglichen Bereichen des Zuges, mit Ausnahme von Toilettentüren.

(2) Zum Öffnen oder Schließen manuell bedienter Türen, die von den Reisenden benutzt werden, muss der Mechanismus zum Öffnen und Schließen mit der Handfläche und mit einer Kraft von nicht mehr als 20 N betätigt werden können.

(3) Vorrichtungen zum Betätigen von Türen, unabhängig davon, ob es sich um manuell zu betätigende Vorrichtungen, Drucktasten oder andere Bedienelemente handelt, müssen mit der Fläche in Kontrast stehen, an der sie angebracht sind.

(4) Die Bedienschnittstelle muss den Anforderungen in Abschnitt 5.3.2.1 entsprechen.

(5) Sind separate Bedienelemente zum Öffnen und Schließen übereinander angebracht, so muss sich die Bedienung zum Öffnen grundsätzlich über der zum Schließen befinden.

4.2.2.3.2 Außentüren

(1) Türen für den Einstieg von Reisenden von außen müssen in geöffnetem Zustand eine nutzbare lichte Breite von mindestens 800 mm haben.

(2) In Zügen mit bauartbedingter Höchstgeschwindigkeit von weniger als 250 km/h müssen rollstuhlgerechte Türen mit niveaugleichem Zugang gemäß Abschnitt 2.3 in geöffnetem Zustand eine nutzbare lichte Breite von mindestens 1.000 mm haben.

(3) Außentüren sind an ihrer Außenseite so zu kennzeichnen, dass sie mit dem sie umgebenden Wagenkasten in Kontrast stehen.

(4) Bei den als rollstuhlgerecht ausgewiesenen Außentüren muss es sich um die Türen handeln, die den als solche gekennzeichneten Rollstuhlplätzen am nächsten liegen.

(5) Rollstuhlgerechte Türen sind eindeutig mit einem Zeichen gemäß Anlage N zu markieren.

(6) Im Innern des Fahrzeugs ist die Position der Außentüren eindeutig durch einen in Kontrast stehenden Fußbodenbereich an der Türöffnung zu kennzeichnen.

(7) Wird eine Tür zum Öffnen freigegeben, so muss ein Signal gegeben werden, das für Personen innerhalb und außerhalb des Zuges deutlich hörbar und sichtbar ist. Dieses Signal muss für mindestens fünf Sekunden andauern, es sei denn, die Tür wird betätigt. In diesem Fall kann das Signal nach drei Sekunden abschalten.

(8) Wenn eine Tür automatisch, fernbedient vom Triebfahrzeugführer oder einem anderen Mitarbeiter des Zugpersonals geöffnet wird, muss das Alarmsignal für mindestens drei Sekunden andauern, sobald die Tür anfängt, sich zu öffnen.

(9) Kurz bevor eine Tür automatisch oder fernbedient geschlossen wird, muss ein akustisches und visuelles Signal gegeben werden, das für Personen innerhalb und außerhalb des Zuges deutlich hörbar und sichtbar ist. Das Signal muss mindestens zwei Sekunden vor Beginn des Schließvorgangs auslösen und während des Schließvorgangs andauern.

(10) Die Schallquelle von Türsignalen muss sich in der Nähe der Bedienelemente der Tür oder, sofern keine Bedienelemente vorhanden sind, neben der Türöffnung befinden.

(11) Das visuelle Signal muss innerhalb und außerhalb des Zuges sichtbar und so angebracht sein, dass ein möglichst geringes Risiko besteht, von Reisenden im Fahrzeuginnenraum verdeckt zu werden.

(12) Akustische Türsignale müssen der in Anlage G genannten Spezifikation entsprechen.

(13) Die Aktivierung der Tür muss entweder durch das Zugpersonal, halbautomatisch (d. h. durch Betätigen einer Drucktaste durch den Fahrgast) oder automatisch erfolgen.

(14) Die Bedienelemente der Tür müssen sich entweder neben oder auf dem Türblatt befinden.

(15) Der Mittelpunkt von Vorrichtungen zum Öffnen der Außentür, die vom Bahnsteig aus bedient werden können, muss sich an allen Bahnsteigen, für die der Zug ausgelegt ist, in einer Höhe zwischen 800 mm und 1.200 mm über dem Bahnsteig befinden. Ist der Zug nur für eine einzige Bahnsteighöhe ausgelegt, so muss sich der Mittelpunkt der Öffnungsvorrichtung der Außentür in einer Höhe zwischen 800 mm und 1.100 mm über dem Bahnsteig befinden.

(16) Der Mittelpunkt innen angebrachter Vorrichtungen zum Öffnen der Außentür muss sich in einer Höhe zwischen 800 mm und 1.100 mm über dem Boden des Fahrzeugs befinden.

4.2.2.3.3 Innentüren

(1) Automatische und halbautomatische Innentüren müssen Vorrichtungen besitzen, die verhindern, dass Reisende während des Betriebs der Türen eingeklemmt werden.

(2) Die Öffnungen rollstuhlgerechter Innentüren müssen eine nutzbare lichte Breite von mindestens 800 mm haben.

(3) Der Kraftaufwand zum Öffnen und Schließen manuell bedienter Türen darf nicht mehr als 60 N betragen.

(4) Der Mittelpunkt der Bedienelemente von Innentüren muss sich in einer Höhe zwischen 800 mm und 1.100 mm über dem Boden des Fahrzeugs befinden.

(5) Bei automatischen aufeinanderfolgenden Verbindungstüren zwischen Fahrzeugen müssen sich diese entweder paarweise synchron bewegen, oder die zweite Tür muss sich automatisch öffnen, sobald sich eine Person auf sie zu bewegt.

(6) Bestehen mehr als 75 % der Türoberfläche aus einem transparenten Werkstoff, so ist die Tür durch deutlich sichtbare Markierungen zu kennzeichnen.

4.2.2.4. Beleuchtung

(1) Die Mindestwerte der durchschnittlichen Beleuchtungsstärke in den Fahrgastbereichen müssen den Werten der Spezifikation in Anlage A Ziffer 6 entsprechen. Die Anforderungen an die Einheitlichkeit dieser Werte sind für die Konformität mit der vorliegenden TSI nicht von Belang.

4.2.2.5 Toiletten

(1) Sind in einem Zug Toiletten vorhanden, so muss auch eine Universaltoilette vorhanden sein, die vom Rollstuhlplatz aus zugänglich ist.

(2) Die Standardtoilette muss den Anforderungen in den Abschnitten 5.3.2.2 und 5.3.2.3 entsprechen.

(3) Die Universaltoilette muss den Anforderungen in den Abschnitten 5.3.2.2 und 5.3.2.4 entsprechen.

(4) Sofern in einem Zug Toiletten vorhanden sind, muss ein Wickeltisch bereitgestellt werden. Sind keine oder keine für Rollstuhlfahrer zugänglichen separaten Einrichtungen für die Versorgung von Kleinstkindern vorhanden, muss in der Universaltoilette ein Wickeltisch vorhanden sein. Dieser muss den Anforderungen in Abschnitt 5.3.2.5 entsprechen.

4.2.2.6. Lichte Räume

(1) Ab dem Einstieg in das Fahrzeug muss der Querschnitt des lichten Raums folgenden Anforderungen genügen:

(2) In folgenden Bereichen ist keine Überprüfung der Mindesthöhe erforderlich:

Aufgrund baulicher Einschränkungen (Begrenzungslinien, verfügbarer Raum) darf die lichte Höhe in diesen Bereichen geringer sein.

(3) Neben dem Rollstuhlplatz und in anderen Bereichen, in denen Rollstuhlfahrer unter Umständen wenden müssen, ist ein Wendebereich mit einem Durchmesser von mindestens 1.500 mm vorzusehen. Der Rollstuhlplatz kann dabei in den erforderlichen Wendekreis eingerechnet werden.

(4) Muss der Rollstuhlfahrer seine Richtung ändern, so muss die lichte Breite in beiden Gängen den Werten in Anlage K Tabelle K1 entsprechen.

4.2.2.7. Kundeninformationen

4.2.2.7.1 Allgemeines

(1) Es sind folgende Informationen bereitzustellen:

(2) Visuelle Informationen müssen in Kontrast zu ihrem Hintergrund stehen.

(3) Die für Text verwendete Schriftart muss gut lesbar sein.

(4) Für Uhrzeitangaben in Ziffern ist das 24-Stunden-System zu verwenden.

4.2.2.7.2 Zeichen, Piktogramme und taktile Informationen

(1) Sämtliche Sicherheits-, Warn-, Gebots- und Verbotszeichen müssen Piktogramme enthalten und gemäß der in Anlage A Ziffer 7 genannten Spezifikation gestaltet sein.

(2) Es dürfen nicht mehr als fünf Piktogramme und ein Richtungspfeil, in eine Richtung weisend, gemeinsam an einem Ort angebracht werden.

(3) Die folgenden spezifischen Piktogramme sind mit dem Rollstuhlsymbol gemäß Anlage N zu versehen:

Diese Symbole dürfen mit anderen Symbolen (z.B. Wagennummer, Toiletten usw.) kombiniert werden.

(4) Sind Induktionsschleifen installiert, müssen diese durch ein Piktogramm gemäß Anlage N gekennzeichnet sein.

(5) Sind in Universaltoiletten klappbare Haltestangen vorhanden, so ist ein Piktogramm anzubringen, das die Haltestange sowohl in ein- wie auch in ausgeklappter Position zeigt.

(6) Sind im Fahrzeug Sitzplatzreservierungen möglich, so ist die Nummer oder der Buchstabe des Fahrzeugs (analog zur Verwendung im Reservierungssystem) auf oder neben jeder Einstiegstür anzuzeigen. Die Nummer oder der Buchstabe ist in mindestens 70 mm hohen Zeichen anzuzeigen und muss bei geöffneter und bei geschlossener Tür sichtbar sein.

(7) Sind die Sitze durch Nummern oder Buchstaben gekennzeichnet, so muss die Nummer bzw. der Buchstabe des Sitzes auf oder neben jedem Sitz durch mindestens 12 mm hohe Zeichen angezeigt werden. Die Nummern und Buchstaben müssen in Kontrast zu ihrem Hintergrund stehen.

(8) Taktile Zeichen sind anzubringen in:

4.2.2.7.3 Dynamische visuelle Informationen

(1) Der Zielbahnhof oder der Zuglauf ist außen am Zug auf Bahnsteigseite neben mindestens einer der Einstiegstüren für Reisende an mindestens jedem zweiten Fahrzeug des Zuges anzuzeigen.

(2) Verkehren die Züge in einem System, in dem auf den Bahnsteigen in Abständen von maximal 50 m dynamische visuelle Informationen angezeigt werden, und sind außerdem Informationen über den Zielbahnhof oder den Zuglauf an der Zugspitze vorhanden, so müssen an den Fahrzeugseiten keine Informationen angezeigt werden.

(3) Der Zielbahnhof oder der Zuglauf des Zuges muss in jedem Fahrzeug angezeigt werden.

(4) Außerdem ist der nächste Halt des Zuges so anzuzeigen, dass diese Information von mindestens 51 % der Fahrgastsitzplätze in jedem Fahrzeug, einschließlich 51 % der Vorrangsitze, sowie von allen Rollstuhlplätzen aus gelesen werden kann.

(5) Diese Information muss mindestens zwei Minuten vor dem Eintreffen am entsprechenden Bahnhof angezeigt werden. Beträgt die planmäßige Reisezeit zum nächsten Bahnhof weniger als zwei Minuten, muss dieser Bahnhof sofort nach der Abfahrt vom vorangegangenen Bahnhof angezeigt werden.

(6) Die Anforderung, den Zielbahnhof und den nächsten Halt so anzuzeigen, dass diese Information von mindestens 51 % der Fahrgastsitzplätze aus einsehbar ist, gilt nicht für Abteilwagen, deren Abteile maximal 8 Sitzplätze haben und von einem Gang aus erreicht werden. Die Anzeige muss jedoch für Personen, die im Gang außerhalb eines Abteils stehen, sowie für Reisende auf einem Rollstuhlplatz sichtbar sein.

(7) Die Information über den nächsten Halt kann auf der gleichen Anzeige wie der Zielbahnhof angezeigt werden. Sobald der Zug zum Stillstand kommt, muss jedoch der Zielbahnhof angezeigt werden.

(8) Bei Verwendung eines automatischen Systems muss es möglich sein, falsche oder irreführende Informationen zu unterdrücken oder zu korrigieren.

(9) Innen- und Außenanzeigen müssen den Anforderungen in Abschnitt 5.3.2.7 entsprechen. Unter "Anzeige" ist in diesem Zusammenhang jeder Träger von dynamischen Informationen zu verstehen.

4.2.2.7.4 Dynamische akustische Informationen

(1) Der Zug muss mit einer Lautsprecheranlage ausgestattet sein, die für Routine- oder Notfalldurchsagen durch den Triebfahrzeugführer oder ein anderes Mitglied des Personals mit besonderer Verantwortung für die Reisenden zu verwenden ist.

(2) Die Lautsprecheranlage kann manuell, automatisch oder vorprogrammiert betrieben werden. Bei Verwendung einer automatischen Lautsprecheranlage muss es möglich sein, falsche oder irreführende Informationen zu unterdrücken oder zu korrigieren.

(3) Die Lautsprecheranlage muss es ermöglichen, an jedem Halt oder bei der Abfahrt an jedem Halt den Zielbahnhof sowie den nächsten Halt des Zuges anzusagen.

(4) Die Lautsprecheranlage muss es ermöglichen, den nächsten Halt des Zuges mindestens zwei Minuten vor der Ankunft des Zuges an diesem Bahnhof anzusagen. Ist der nächste Bahnhof weniger als zwei Minuten geplanter Reisezeit entfernt, muss dieser Bahnhof sofort nach der Abfahrt vom vorangegangenen Bahnhof angesagt werden.

(5) Der STI-PA-Wert gesprochener Informationen muss gemäß der in Anlage A Ziffer 5 genannten Spezifikation mindestens 0,45 betragen. Die Anforderungen an die Lautsprecheranlage sind an jedem Sitzplatz und jedem Rollstuhlplatz zu erfüllen.

4.2.2.8. Niveauwechsel

(1) Stufen im Innern des Zuges (mit Ausnahme der Stufen für den Einstieg von außen) dürfen maximal 200 mm hoch und müssen mindestens 280 mm tief sein, gemessen auf der Mittelachse der Stufen. Bei doppelstöckigen Zügen kann dieser Wert für die zum oberen und unteren Deck führenden Stufen auf 270 mm reduziert werden.

(2) Mindestens die erste und die letzte Stufe sind durch ein in Kontrast stehendes Band mit einer Tiefe zwischen 45 mm und 55 mm zu kennzeichnen, das sich über die gesamte Breite der Stufen erstrecken muss und an der Vorderseite und der Oberseite der Stufenkante anzubringen ist.

(3) Treppen mit mehr als drei Stufen sind auf beiden Seiten und auf zwei Höhen mit Handläufen auszustatten. Der obere Handlauf ist in einer Höhe zwischen 850 mm und 1.000 mm über dem Boden anzubringen. Der untere Handlauf ist in einer Höhe zwischen 500 mm und 750 mm über dem Boden anzubringen.

(4) Treppen mit einer, zwei oder drei Stufen sind auf beiden Seiten mit mindestens einem Handlauf oder einer anderen Vorrichtung, die für einen sicheren Halt genutzt werden kann, auszustatten.

(5) Handläufe müssen den Anforderungen in Abschnitt 4.2.2.9 entsprechen.

(6) Zwischen dem Vorraum einer rollstuhlgerechten Außentür, dem Rollstuhlplatz, einer Universalschlafkabine und der Universaltoilette sind keine Stufen zulässig, ausgenommen Türschwellen bis zu einer Höhe von 15 mm, oder wenn ein Hublift zur Überwindung der Stufe vorhanden ist. Der Hublift muss den Anforderungen in Abschnitt 5.3.2.10 entsprechen.

(7) Sind im Fahrzeug Rampen vorhanden, so dürfen folgende Neigungen nicht überschritten werden:

Tabelle 6: Maximale Neigung von Rampen in Fahrzeugen

Länge der Rampe Maximale Neigung
(in Grad)
Maximale Neigung
(in Prozent)
Gänge zwischen dem Vorraum einer rollstuhlgerechten Außentür, dem Rollstuhlplatz, einer rollstuhlgerechten Schlafgelegenheit und der Universaltoilette
Bis 840 mm in einstöckigen Wagen 6,84 12
Bis 840 mm in Doppelstockwagen 8,5 15
> 840 mm 3,58 6,25
Andere Bereiche im Zug
> 1.000 mm 6,84 12
600 mm bis 1.000 mm 8,5 15
Unter 600 mm 10,2 18
Anmerkung: Die Neigung ist bei stillstehendem Fahrzeug auf ebenem, geradem Gleis zu messen.

4.2.2.9. Haltestangen

(1) In Fahrzeugen angebrachte Haltestangen müssen einen runden Querschnitt und einen Außendurchmesser zwischen 30 mm und 40 mm haben. Der lichte Abstand zu angrenzenden Flächen mit Ausnahme der Befestigungen muss mindestens 45 mm betragen.

(2) Ist die Haltestange gebogen, muss der Radius zur Innenfläche der Biegung mindestens 50 mm betragen.

(3) Alle Haltestangen müssen in Kontrast zu ihrem Hintergrund stehen.

(4) Außentüren sind mit Haltestangen auf beiden Seiten der Türöffnung auszustatten, die im Innern so dicht wie möglich an die Außenwand des Fahrzeugs reichen müssen. Ausnahmen auf einer Seite der Türöffnung sind zulässig, wenn auf dieser Seite eine Vorrichtung wie ein fahrzeugseitiger Hublift installiert ist.

(5) Für Haltestangen gelten die folgenden Anforderungen:

(6) Von Reisenden genutzte Wagenübergänge mit einer lichten Breite unter 1.000 mm und einer Länge über 2.000 mm müssen im oder angrenzend an den Wagenübergang über Haltestangen oder Haltegriffe verfügen.

(7) Bei Wagenübergängen mit einer lichten Breite von 1.000 mm oder mehr müssen innerhalb des Übergangs Haltestangen oder Haltegriffe vorhanden sein.

4.2.2.10. Rollstuhlgerechte Schlafgelegenheiten

(1) Ist ein Zug mit Schlafgelegenheiten für Reisende ausgestattet, muss ein Fahrzeug vorhanden sein, das über mindestens eine rollstuhlgerechte Schlafgelegenheit verfügt.

(2) Verfügt ein Zug über mehrere Fahrzeuge mit Schlafgelegenheiten für Reisende, müssen im Zug mindestens zwei rollstuhlgerechte Schlafgelegenheiten vorhanden sein.

(3) Sind in einem Fahrzeug rollstuhlgerechte Schlafgelegenheiten vorhanden, so muss die Außenseite der entsprechenden Fahrzeugtür und die Tür der rollstuhlgerechten Schlafgelegenheit mit einem Zeichen gemäß Anlage N gekennzeichnet sein.

(4) Bei den Abmessungen des Innenraums der rollstuhlgerechten Schlafgelegenheit sind die Anforderungen in Abschnitt 4.2.2.6 bezüglich der erwarteten Handlungen von Rollstuhlfahrern zu berücksichtigen.

(5) Die Schlafgelegenheit muss über mindestens zwei Hilferufvorrichtungen verfügen, die bei Betätigung ein Signal an eine Person sendet, die geeignete Maßnahmen einleiten kann; eine Kommunikationsverbindung muss dabei nicht hergestellt werden.

(6) Die Bedienschnittstelle von Hilferufvorrichtungen muss den Anforderungen in Abschnitt 5.3.2.6 entsprechen.

(7) Eine der Hilferufvorrichtungen ist in maximal 450 mm Höhe über dem Boden anzubringen, gemessen von der Fußbodenoberfläche bis zur Mitte der Vorrichtung. Sie ist so anzubringen, dass sie von einer am Boden liegenden Person erreicht werden kann.

(8) Die andere Hilferufvorrichtung ist in einer Höhe zwischen 600 mm und 800 mm über dem Boden anzubringen, gemessen von der Fußbodenoberfläche bis zur Mitte der Vorrichtung.

(9) Die beiden Hilferufvorrichtungen müssen sich an unterschiedlichen vertikalen Flächen der Schlafgelegenheit befinden.

(10) Die Hilferufvorrichtungen müssen sich von allen anderen Einrichtungen der Schlafgelegenheit unterscheiden, eine andere Farbe haben und in Kontrast zu ihrem Hintergrund stehen.

4.2.2.11. Position von Stufen zum Ein- und Ausstieg

4.2.2.11.1 Allgemeine Anforderungen

(1) Es ist nachzuweisen, dass der Punkt in der Mitte der Vorderkante der Einstiegsstufe an jeder Einstiegstür auf beiden Seiten eines Fahrzeugs innerhalb der in Abbildung 1 als "Position der Stufe" angegebenen Fläche liegt. Das Fahrzeug muss hierbei in betriebsbereitem Zustand und mit neuen Rädern mittig auf den Schienen stehen.

Abbildung 1

(2) Die Werte für bq0, δh, δν+ und δν- hängen von der Art der Bahnsteige ab, an denen das Fahrzeug planmäßig hält. Dabei gilt Folgendes:

Tabelle 7 für alle Fahrzeuge, die im Normalbetrieb planmäßig an Bahnsteigen mit einer Höhe von 550 mm halten:

Tabelle 7: Werte für δh, δν+ und δν- für Bahnsteige mit einer Höhe von 550 mm


δh (mm)

δν+ (mm)

δν- (mm)
Auf geradem, ebenem Gleis 200 230 160
Auf einem Gleis mit Bogenhalbmesser 300 m 290 230 160

Tabelle 8 für alle Fahrzeuge, die im Normalbetrieb planmäßig an Bahnsteigen mit einer Höhe von 760 mm halten:

Tabelle 8: Werte für δh, δν+ und δν- für Bahnsteige mit einer Höhe von 760 mm


δh (mm)

δν+ (mm)

δν- (mm)
Auf geradem, ebenem Gleis 200 230 160
Auf einem Gleis mit Bogenhalbmesser 300 m 290 230 160

Tabelle 9 für alle Fahrzeuge, die im Normalbetrieb planmäßig an Bahnsteigen mit einer Höhe von 760 mm und an Bahnsteigen mit einer Höhe von 550 mm halten und mindestens zwei Einstiegsstufen haben:

Eine Stufe muss den Werten in obiger Tabelle 7 entsprechen, und für die nächste, in das Innere des Fahrzeugs führende Stufe gelten die folgenden Werte, basierend auf einer Bahnsteig-Nennhöhe von 760 mm:

Tabelle 9: Werte für δh, δν+ und δν- für die zweite Stufe bei Bahnsteigen mit einer Höhe von 760 mm


δh (mm)

δν+ (mm)

δν- (mm)
Auf geradem, ebenem Gleis 380 230 160
Auf einem Gleis mit Bogenhalbmesser 300 m 470 230 160

(3) In den technischen Unterlagen nach Abschnitt der TSI LOC&PAS müssen Höhe und Abstand des theoretischen Bahnsteigs angegeben sein, bei denen sich auf geradem, ebenem Gleis zur Mitte der Vorderkante der niedrigsten Stufe des Fahrzeugs ein vertikaler Spalt ( δν+) von 230 mm und ein horizontaler Spalt ( δh) von 200 mm ergeben.

4.2.2.11.2 Stufen zum Ein- und Ausstieg

(1) Alle Einstiegs- und Ausstiegsstufen müssen rutschfest sein und über eine nutzbare lichte Breite entsprechend der Breite der Türöffnung verfügen.

(2) Stufen im Innern des Zuges für den Einstieg von außen dürfen maximal 200 mm hoch und müssen zwischen den vertikalen Kanten der Stufe mindestens 240 mm tief sein (Auftritt). Die Höhe jeder Stufe kann auf maximal 230 mm erhöht werden, wenn nachgewiesen werden kann, dass dadurch eine der insgesamt erforderlichen Stufen eingespart wird.

(3) Alle Stufen müssen dieselbe Steighöhe haben.

(4) Mindestens die erste und die letzte Stufe sind durch ein kontrastierendes Band mit einer Breite zwischen 45 mm und 55 mm zu kennzeichnen, das sich über mindestens 80 % der Breite der Stufen erstrecken muss und an der Oberseite der Stufenkante anzubringen ist. Die Vorderseite der letzten Einstiegsstufe ist ebenfalls mit einem entsprechenden Band zu kennzeichnen.

(5) Außen liegende Stufen für den Einstieg dürfen eine maximale Höhe von 230 mm zwischen den Stufen haben und müssen mindestens 150 mm tief sein (Auftritt), unabhängig davon, ob es sich um feste oder bewegliche Trittstufen handelt.

(6) Ist ein Trittbrett als Verlängerung einer Türschwelle außerhalb des Fahrzeugs montiert und besteht kein Niveauwechsel zwischen dem Trittbrett und dem Boden des Fahrzeugs, so gilt dies nicht als Stufe im Sinne dieser Spezifikation. Eine zur Führung und zum dichten Schließen der Tür erforderliche geringfügige Verringerung der Höhe um maximal 60 mm zwischen dem Boden an der Türschwelle und dem Boden außerhalb des Fahrzeugs ist ebenfalls zulässig und gilt nicht als Stufe.

(7) Der Vorraum des Fahrzeugs muss über maximal vier Stufen zu erreichen sein, von denen sich eine außerhalb des Fahrzeugs befinden kann.

(8) Fahrzeuge, die im Normalbetrieb planmäßig an bereits vorhandenen Bahnsteigen mit einer Höhe unter 380 mm halten und deren Einstiegstüren über dem Drehgestell angeordnet sind, müssen nicht den Anforderungen der Nummern 2 und 5 entsprechen, wenn nachgewiesen werden kann, dass auf diese Weise eine gleichmäßigere Stufenhöhe erreicht wird.

4.2.2.12. Einstiegshilfen

(1) Es muss ein sicheres Verstauungssystem vorhanden sein, das so ausgelegt ist, dass Einstiegshilfen, einschließlich mobiler Rampen, bei einem plötzlichen Halt weder den Rollstuhl oder die Mobilitätshilfe eines Fahrgasts beschädigen noch eine Gefahr für die Fahrgäste darstellen.

(2) Im Einklang mit den Bestimmungen in Abschnitt 4.4.3 dürfen folgende Arten von Einstiegshilfen in Fahrzeugen mitgeführt werden:

4.2.2.12.1 Bewegliche Trittstufen und Überfahrbrücken

(1) Eine bewegliche Trittstufe ist eine in das Fahrzeug unterhalb der Türschwelle integrierte ausfahrbare Vorrichtung, die vollautomatisch und in Verbindung mit dem Öffnungs- und Schließvorgang der Tür aktiviert wird.

(2) Eine Überfahrbrücke ist eine ausfahrbare Vorrichtung, die so nah wie möglich an der Türschwelle in das Fahrzeug integriert ist und die vollautomatisch und in Verbindung mit dem Öffnungs- und Schließvorgang der Tür aktiviert wird.

(3) Ragt die bewegliche Trittstufe oder die Überfahrbrücke über die zulässige Begrenzungslinie hinaus, so darf der Zug bei ausgefahrener Trittstufe oder Überfahrbrücke nicht bewegt werden können.

(4) Erst wenn die bewegliche Trittstufe oder die Überfahrbrücke vollständig ausgefahren sind, darf es für die Reisenden möglich sein, diese durch die Türöffnung zu passieren. Gleichermaßen darf die Trittstufe oder die Überfahrbrücke erst eingefahren werden, wenn durch die Türöffnung ein Ein- und Aussteigen der Reisenden nicht mehr möglich ist.

(5) Bewegliche Trittstufen und Überfahrbrücken müssen den Anforderungen in Abschnitt 5.3.2.8 entsprechen.

4.2.2.12.2 Fahrzeugseitige Rampen

(1) Eine fahrzeugseitige Rampe ist eine Vorrichtung, die zwischen die Türschwelle des Fahrzeugs und den Bahnsteig platziert wird. Zulässig sind manuelle, halbautomatische oder automatische Rampen.

(2) Fahrzeugseitige Rampen müssen den Anforderungen in Abschnitt 5.3.2.9 entsprechen.

4.2.2.12.3 Fahrzeugseitige Hublifte

(1) Ein fahrzeugseitiger Hublift ist eine in die Türöffnung eines Fahrzeugs integrierte Vorrichtung, die es ermöglichen muss, den größten vorhandenen Höhenunterschied zwischen dem Boden des Fahrzeugs und dem Bahnsteig, an dem es eingesetzt wird, zu überbrücken.

(2) Befindet sich der Hublift in verstautem Zustand, muss die nutzbare lichte Mindestbreite der Türöffnung den Anforderungen in Abschnitt 4.2.2.3.2 entsprechen.

(3) Fahrzeugseitige Hublifte müssen den Anforderungen in Abschnitt 5.3.2.10 entsprechen.

4.3. Funktionale und technische Spezifikationen der Schnittstellen

4.3.1. Schnittstellen zum Teilsystem "Infrastruktur"

Tabelle 10: Schnittstelle zum Teilsystem "Infrastruktur"

Schnittstelle zum Teilsystem ""
TSI PRM TSI INF
Parameter Abschnitt Parameter Abschnitt
Position von Stufen zum Ein- und Ausstieg 4.2.2.11 Bahnsteige
Sonderfälle bezüglich der Position von Stufen zum Ein- und Ausstieg 7.3.2.6 Sonderfälle für Bahnsteige

4.3.2. Schnittstellen zum Teilsystem "Fahrzeuge"

Tabelle 11: Schnittstelle zum Teilsystem "Fahrzeuge"

Schnittstelle zum Teilsystem ""
TSI PRM
Parameter Abschnitt Parameter Abschnitt
Teilsystem "" 4.2.2 Fahrgastspezifische Aspekte

4.3.3.Schnittstellen zum Teilsystem "Telematikanwendungen für den Personenverkehr" (TAP)

Tabelle 12: Schnittstellen zum Teilsystem "Telematikanwendungen für den Personenverkehr"

Schnittstelle zum Teilsystem TAP
TSI PRM TSI TAP
Parameter Abschnitt Parameter Abschnitt
Zugänglichkeit von Bahnhöfen Hilfeleistung beim Ein- und Aussteigen 4.4.1 Handhabung von Informationen über die Beförderung und Betreuung von Menschen mit Behinderungen und Menschen mit eingeschränkter Mobilität 4.2.6
Hilfeleistung beim Ein- und Aussteigen 4.4.2 Handhabung von Informationen über die Beförderung und Betreuung von Menschen mit Behinderungen und Menschen mit eingeschränkter Mobilität 4.2.6
Zugang und Reservierung 4.4.2 Handhabung von Verfügbarkeits-/ Buchungsanfragen 4.2.9
Visuelle Informationen 4.2.1.10 Handhabung von bereitgestellten Informationen in Bahnhöfen 4.2.12
Gesprochene Informationen 4.2.1.11 Handhabung von bereitgestellten Informationen in Bahnhöfen 4.2.12
Kundeninformationen 4.2.2.7 Handhabung von bereitgestellten Informationen in den Zügen 4.2.13

4.4. Betriebliche Regelungen

Folgende betriebliche Regelungen sind nicht Teil der Bewertung von Teilsystemen.

In dieser TSI sind keine betrieblichen Regelungen für die Evakuierung in gefährlichen Situationen festgelegt, sondern lediglich die relevanten technischen Anforderungen. Die technischen Anforderungen an die Infrastruktur und die Fahrzeuge dienen dazu, die Evakuierung aller Personen, einschließlich Menschen mit Behinderungen und Menschen mit eingeschränkter Mobilität, zu erleichtern.

4.4.1. Teilsystem "Infrastruktur"

In Bezug auf die Zugänglichkeit für Menschen mit Behinderungen und Menschen mit eingeschränkter Mobilität ergeben sich für das Teilsystem "" unter Berücksichtigung der grundlegenden Anforderungen in Abschnitt 3 die folgenden betrieblichen Regelungen:

  • Allgemeines

    Der Infrastrukturbetreiber oder der Bahnhofsbetreiber muss über eine schriftlich festgehaltene Strategie verfügen, die sicherstellt, dass Menschen mit Behinderungen und Menschen mit eingeschränkter Mobilität zu allen Betriebszeiten Zugang zur Infrastruktur für Reisende gemäß den technischen Anforderungen dieser TSI haben. Außerdem muss die Strategie, soweit erforderlich, mit der Strategie von Eisenbahnunternehmen vereinbar sein, die die Einrichtungen zu nutzen beabsichtigen (siehe Abschnitt 4.4.2). Zur Umsetzung der Strategie sind für das Personal in ausreichendem Maße Informationen, Verfahren und Schulungen bereitzustellen. Die Strategie für die Infrastruktur muss betriebliche Regelungen unter anderem, aber nicht nur, für folgende Bereiche umfassen:

  • Zugänglichkeit des Bahnhofs

    Es sind betriebliche Regelungen zu erstellen, die gewährleisten, dass für alle Bahnhöfe Informationen zum Grad ihrer Zugänglichkeit verfügbar sind.

  • Unbesetzte Bahnhöfe - Fahrkartenverkauf für sehbehinderte Reisende

    Für unbesetzte Bahnhöfe, auf denen ausschließlich Fahrkartenverkaufsautomaten zur Verfügung stehen (siehe Abschnitt 4.2.1.8), müssen schriftliche betriebliche Regelungen festgelegt und umgesetzt werden. Für sehbehinderte Reisende muss in diesen Fällen jederzeit eine alternative Möglichkeit zum Fahrkartenkauf bestehen (z.B. im Zug oder am Zielbahnhof).

  • Fahrkartenkontrolle - Drehkreuze

    Werden Drehkreuze zur Fahrkartenkontrolle verwendet, müssen betriebliche Regelungen umgesetzt werden, nach denen an solchen Kontrollpunkten alternative Durchgänge für Menschen mit Behinderungen und Menschen mit eingeschränkter Mobilität bereitzustellen sind. Diese besonderen Durchgänge müssen für Rollstuhlfahrer geeignet sein; die Kontrolle kann durch Personal oder automatisch erfolgen.

  • Beleuchtung auf Bahnsteigen

    Die Beleuchtung darf auf Bahnsteigen in den Zeiten, in denen kein Zug erwartet wird, ausgeschaltet werden.

  • Übereinstimmung visueller und gesprochener Informationen

    Es sind betriebliche Regelungen umzusetzen, die die Kohärenz zwischen wesentlichen visuellen und gesprochenen Informationen gewährleisten (siehe Abschnitte 4.2.1.10 und 4.2.1.11). Bedienstete, die Ansagen machen, müssen sich nach standardisierten Verfahren richten, um die vollständige Kohärenz wesentlicher Informationen sicherzustellen.

    Informationen zur Wegeleitung dürfen nicht mit Werbung kombiniert werden.

    Anmerkung: Allgemeine Informationen über öffentliche Verkehrsdienste gelten nicht als Werbung im Sinne dieses Abschnitts.

  • System zum bedarfsgesteuerten Abruf gesprochener Reiseinformationen

    Werden gesprochene Informationen auf einem Bahnhof nicht über eine Lautsprecheranlage verbreitet (siehe Abschnitt 4.2.1.11), so sind betriebliche Regelungen umzusetzen, die ein alternatives Informationssystem vorsehen, über das sich Reisende die gleichen Informationen auf dem Bahnhof ansagen lassen können (z.B. durch Personal oder automatische Telefoninformationsdienste).

  • Bahnsteig - Betriebsbereich von Einstiegshilfen für Rollstühle

    Das Eisenbahnunternehmen und der Infrastrukturbetreiber oder der Bahnhofsbetreiber müssen gemeinsam den/die Bereich(e) des Bahnsteigs festlegen, in dem die Einstiegshilfe voraussichtlich genutzt wird, wobei Änderungen der Zugbildung zu berücksichtigen sind.

    Es sind betriebliche Regelungen umzusetzen, um den Haltepunkt der Züge nach Möglichkeit an diesem Bereich bzw. diesen Bereichen auszurichten.

  • Sicherheit von manuell und elektrisch betriebenen Einstiegshilfen

    Es sind betriebliche Regelungen bezüglich der Bedienung von Einstiegshilfen durch das Bahnhofspersonal umzusetzen (siehe Abschnitt 4.2.1.14).

    Es ist eine betriebliche Regelung für die Betätigung der an Hubliften (siehe Abschnitt 4.2.1.14) montierten beweglichen Sicherheitsbarriere durch das Personal umzusetzen.

    Außerdem sind betriebliche Regelungen umzusetzen, die gewährleisten, dass das Personal in der Lage ist, Einstiegsrampen sicher in Betrieb zu nehmen, zu befestigen, hochzufahren, abzusenken und zu verstauen (siehe Abschnitt 4.2.1.14).

  • Hilfeleistung beim Ein- und Aussteigen

    Es sind betriebliche Regelungen umzusetzen, die gewährleisten, dass das Personal sich darüber im Klaren ist, dass Menschen mit Behinderungen und Menschen mit eingeschränkter Mobilität möglicherweise Hilfe beim Ein- und Aussteigen benötigen. Außerdem müssen diese Regelungen gewährleisten, dass das Personal bei Bedarf diese Hilfe leistet.

    Die Voraussetzungen, unter denen Menschen mit Behinderungen und Menschen mit eingeschränkter Mobilität Hilfe zu leisten ist, sind in der Verordnung (EG) Nr. 1371/2007 1 festgelegt.

  • Beaufsichtigte schienengleiche Bahnübergänge

    Sind beaufsichtigte schienengleiche Bahnübergänge erlaubt, so müssen betriebliche Regelungen erstellt werden, die gewährleisten, dass das Personal an beaufsichtigten schienengleichen Bahnübergängen Menschen mit Behinderungen und Menschen mit eingeschränkter Mobilität angemessene Hilfe leistet. Dazu gehört auch die Information, wann der Übergang sicher überquert werden kann.

4.4.2. Teilsystem ""

In Bezug auf die Zugänglichkeit für Menschen mit Behinderungen und Menschen mit eingeschränkter Mobilität gelten für das Teilsystem "" unter Berücksichtigung der grundlegenden Anforderungen in Abschnitt 3 die folgenden betrieblichen Regelungen:

  • Allgemeines

    Das Eisenbahnunternehmen muss über eine schriftlich festgehaltene Strategie verfügen, die sicherstellt, dass Menschen mit Behinderungen und Menschen mit eingeschränkter Mobilität zu allen Betriebszeiten Zugang zu den Fahrzeugen des Personenverkehrs im Sinne der technischen Anforderungen dieser TSI haben. Außerdem muss die Strategie, soweit erforderlich, mit der Strategie des Infrastrukturbetreibers oder des Bahnhofsbetreibers vereinbar sein (siehe Abschnitt 4.4.1). Zur Umsetzung der Strategie sind für das Personal in ausreichendem Maße Informationen, Verfahren und Schulungen bereitzustellen. Die Strategie für Fahrzeuge muss betriebliche Regelungen unter anderem, aber nicht nur, für folgende Bereiche umfassen:

  • Vorrangsitze: Zugang und Reservierung

    Vorrangsitze lassen sich in zwei Kategorien unterteilen: Vorrangsitze i) ohne Reservierung und ii) mit Reservierung (siehe Abschnitt 4.2.2.1.2). Im ersten Fall richten sich die betrieblichen Regelungen an die anderen Reisenden (Anbringung von Zeichen), die gehalten sind, Menschen mit Behinderungen und Menschen mit eingeschränkter Mobilität, die Anspruch auf einen Vorrangsitz haben, Vorrang zu geben und besetzte Vorrangsitze bei Bedarf frei zu machen. Im zweiten Fall muss das Eisenbahnunternehmen betriebliche Regelungen umsetzen, die sicherstellen, dass das Fahrkartenreservierungssystem den Bedürfnissen von Menschen mit Behinderungen und Menschen mit eingeschränkter Mobilität gerecht wird. Mit diesen Regelungen wird garantiert, dass Vorrangsitze bis zu einem bestimmten Zeitpunkt vor der Abfahrt nur von Menschen mit Behinderungen und Menschen mit eingeschränkter Mobilität reserviert werden können. Nach diesem Zeitpunkt stehen die Vorrangsitze allen Reisenden zur Verfügung, auch Menschen mit Behinderungen und Menschen mit eingeschränkter Mobilität.

  • Mitführen von Begleithunden

    Es sind betriebliche Regelungen umzusetzen, die gewährleisten, dass Menschen mit Behinderungen und Menschen mit eingeschränkter Mobilität, die einen Begleithund mitführen, keine zusätzlichen Entgelte entrichten müssen.

  • Rollstuhlplätze: Zugang und Reservierung

    Die Bestimmungen über den Zugang zu Vorrangsitzen und deren Reservierung gelten auch für Rollstuhlplätze, mit der Ausnahme, dass in diesem Fall ausschließlich Rollstuhlfahrer Vorrang erhalten. Die betrieblichen Regelungen müssen außerdem Sitzplätze i) ohne Reservierung oder ii) mit Reservierung für Begleitpersonen (ohne Mobilitätseinschränkungen) neben oder gegenüber dem Rollstuhlplatz vorsehen.

  • Universalschlafkabinen: Zugang und Reservierung

    Die Bestimmungen über die Reservierung von Vorrangsitzen gelten auch für Universalschlafkabinen (siehe Abschnitt 4.2.2.10). Die betrieblichen Regelungen müssen jedoch sicherstellen, dass Universalschlafkabinen nur mit Reservierung belegt werden können (d. h. obligatorische Vorausbuchung).

  • Betätigung von Außentüren durch das Zugpersonal

    Es sind betriebliche Regelungen für das Verfahren zur Betätigung der Außentüren durch das Zugpersonal umzusetzen, um die Sicherheit aller Reisenden, einschließlich Menschen mit Behinderungen und Menschen mit eingeschränkter Mobilität, zu gewährleisten (siehe Abschnitt 4.2.2.3.2).

  • Hilferufvorrichtungen auf Rollstuhlplätzen, in Universaltoiletten und rollstuhlgerechten Schlafgelegenheiten

    Es sind betriebliche Regelungen umzusetzen, die gewährleisten, dass das Personal bei Aktivierung der Hilferufvorrichtung angemessen reagiert und geeignete Maßnahmen ergreift (siehe Abschnitte 4.2.2.2, 4.2.2.5 und 4.2.2.10). Die Reaktion und die Maßnahmen können je nach Ort, an dem die Hilferufvorrichtung aktiviert wurde, unterschiedlich sein.

  • Akustische Sicherheitsanweisungen im Notfall

    Es sind betriebliche Regelungen für die Übertragung akustischer Sicherheitsanweisungen für Reisende im Notfall umzusetzen (siehe Abschnitt 4.2.2.7.4). In diesen Regelungen sind auch die Art der Anweisungen und ihrer Übertragung zu bestimmen.

    • Visuelle und akustische Informationen - Werbebeschränkung

      Es sind genaue Informationen über den Zuglauf oder das Netz, in dem der Zug verkehrt, bereitzustellen (über die Art der Bereitstellung dieser Informationen entscheidet das Eisenbahnunternehmen).

      Informationen zum Zuglauf dürfen nicht mit Werbung kombiniert werden.

      Anmerkung: Allgemeine Informationen über öffentliche Verkehrsdienste gelten nicht als Werbung im Sinne dieses Abschnitts.

    • Automatische Informationssysteme - manuelle Korrektur unrichtiger oder irreführender Informationen

      Es sind betriebliche Regelungen umzusetzen, die gewährleisten, dass unrichtige automatische Informationen vom Zugpersonal überprüft und korrigiert werden können (siehe Abschnitt 4.2.2.7).

    • Regelungen für die Ansage des Zielbahnhofs und des nächsten Halts

      Es sind betriebliche Regelungen umzusetzen, die gewährleisten, dass der nächste Halt des Zuges mindestens zwei Minuten vor der Ankunft am betreffenden Bahnhof angesagt wird (siehe Abschnitt 4.2.2.7).

    • Regelungen für die Zugzusammenstellung, um Einstiegshilfen für Rollstühle an Bahnsteigen nutzen zu können

      Es sind betriebliche Regelungen umzusetzen, damit Veränderungen der Zusammenstellung von Zügen berücksichtigt und anhand ihrer Haltepunkte die sicheren Betriebsbereiche für Einstiegshilfen bestimmt werden können.

    • Sicherheit von manuell und elektrisch betriebenen Einstiegshilfen

      Es sind betriebliche Regelungen für die Bedienung von Einstiegshilfen durch das Zug- und das Bahnhofspersonal umzusetzen. Für manuelle Einrichtungen sind Verfahren vorzusehen, die sicherstellen, dass der Kraftaufwand für das Personal möglichst gering ist. Für elektrisch betriebene Einrichtungen muss durch geeignete Verfahren die Ausfallsicherheit bei unterbrochener Stromversorgung gewährleistet werden. Es ist eine betriebliche Regelung für die Betätigung der an Hubliften montierten beweglichen Sicherheitsbarriere durch das Zug- oder Bahnhofspersonal umzusetzen.

      Außerdem sind betriebliche Regelungen umzusetzen, die gewährleisten, dass das Zug- und Bahnhofspersonal in der Lage ist, Einstiegsrampen sicher in Betrieb zu nehmen, zu befestigen, hochzufahren, abzusenken und zu verstauen.

    • Hilfeleistung beim Ein- und Aussteigen

      Es sind betriebliche Regelungen umzusetzen, die gewährleisten, dass das Personal sich darüber im Klaren ist, dass Menschen mit Behinderungen und Menschen mit eingeschränkter Mobilität möglicherweise Hilfe beim Ein- und Aussteigen benötigen. Außerdem müssen diese Regelungen gewährleisten, dass das Personal bei Bedarf diese Hilfe leistet.

      Die Voraussetzungen, unter denen Menschen mit Behinderungen und Menschen mit eingeschränkter Mobilität Hilfe zu leisten ist, sind in der Verordnung (EG) Nr. 1371/2007 festgelegt.

      Bahnsteig - Betriebsbereich von Einstiegshilfen für Rollstühle

      Das Eisenbahnunternehmen und der Infrastrukturbetreiber oder Bahnhofsbetreiber müssen gemeinsam den Bereich des Bahnsteigs festlegen, in dem die Einstiegshilfe voraussichtlich genutzt wird, und dessen Gültigkeit nachweisen. Dieser Bereich muss mit den vorhandenen Bahnsteigen, an denen der Zug voraussichtlich hält, kompatibel sein.

      Infolge dieser Bestimmung muss der Haltepunkt des Zuges in bestimmten Fällen so angepasst werden, dass die Anforderung erfüllt wird.

      Es sind betriebliche Regelungen umzusetzen, damit Veränderungen der Zusammenstellung von Zügen (siehe Abschnitt 4.2.1.12) berücksichtigt und anhand ihrer Haltepunkte die sicheren Betriebsbereiche für Einstiegshilfen bestimmt werden können.

    • Verfahren für die Verwendung beweglicher Trittstufen im Notfall

      Es sind betriebliche Regelungen umzusetzen, die gewährleisten, dass die Überfahrbrücke auch bei einem Stromausfall verstaut oder verwendet werden kann.

    • Zusammenstellungen aus TSI-konformen und anderen Fahrzeugen

      Bei der Zusammenstellung von Zügen, die nur zum Teil aus TSI-konformen Fahrzeugen bestehen, sind Betriebsverfahren anzuwenden, die gewährleisten, dass im Zug mindestens zwei Rollstuhlplätze vorhanden sind, die dieser TSI entsprechen. Sind im Zug Toiletten vorhanden, so ist sicherzustellen, dass Rollstuhlfahrer Zugang zu einer Universaltoilette haben.

      Für solche Fahrzeugkombinationen sind Verfahren vorzusehen, die gewährleisten, dass in allen Fahrzeugen visuelle und akustische Streckeninformationen verfügbar sind.

      Dabei wird akzeptiert, dass dynamische Informationssysteme sowie Hilferufvorrichtungen an Rollstuhlplätzen, in Universaltoiletten und rollstuhlgerechten Schlafgelegenheiten in solchen Fahrzeugkombinationen unter Umständen nicht den vollen Funktionsumfang aufweisen.

    • Zusammenstellungen aus TSI-konformen Einzelfahrzeugen

      Bei Zugzusammenstellungen aus Fahrzeugen, die gemäß Abschnitt 6.2.7 einzeln bewertet wurden, sind Betriebsverfahren vorzusehen, die sicherstellen, dass der vollständige Zug den Anforderungen in Abschnitt 4.2 dieser TSI entspricht.

4.4.3.Bereitstellung von Einstiegshilfen und Hilfeleistung

Der Infrastrukturbetreiber oder der Bahnhofsbetreiber sowie das Eisenbahnunternehmen müssen sich in Bezug auf die Bereitstellung und das Management von Einstiegshilfen sowie die Erbringung von Hilfeleistung und alternativen Beförderungsdiensten im Sinne der Verordnung (EG) Nr. 1371/2007 darüber einigen, wer für die Bereitstellung von Einstiegshilfen und die Durchführung alternativer Beförderungsdienste zuständig ist. Der Infrastrukturbetreiber (oder der/die Bahnhofsbetreiber) und das Eisenbahnunternehmen müssen sicherstellen, dass die vereinbarte Zuständigkeitsverteilung die bestmögliche Gesamtlösung darstellt.

In den Vereinbarungen ist Folgendes festzulegen:

  • die Bahnsteige, an denen der Infrastrukturbetreiber oder der Bahnhofsbetreiber die Einstiegshilfe zu bedienen hat, sowie die Fahrzeuge, für die die Einstiegshilfe verwendet wird;
  • die Bahnsteige, an denen das Eisenbahnunternehmen die Einstiegshilfe zu bedienen hat, sowie die Fahrzeuge, für die die Einstiegshilfe verwendet wird;
  • die Fahrzeuge, in denen das Eisenbahnunternehmen die Einstiegshilfe bereitzustellen und zu bedienen hat, sowie die Bahnsteige, an denen die Einstiegshilfe verwendet wird;
  • die Fahrzeuge, in denen die Einstiegshilfe vom Eisenbahnunternehmen bereitzustellen und vom Infrastrukturbetreiber oder vom Bahnhofsbetreiber zu bedienen ist, sowie die Bahnsteige, an denen die Einstiegshilfe verwendet wird;
  • die Bedingungen für die Durchführung alternativer Beförderungsdienste, wenn
    • kein hindernisfreier Weg zum Bahnsteig besteht, oder
    • bei der Verwendung einer Einstiegshilfe zwischen Bahnsteig und Fahrzeug keine Hilfe geleistet werden kann.

4.5. Instandhaltungsvorschriften

4.5.1.Teilsystem "Infrastruktur"

Der Infrastrukturbetreiber oder der Bahnhofsbetreiber muss Verfahren vorsehen, die sicherstellen, dass Menschen mit Behinderungen und Menschen mit eingeschränkter Mobilität während Instandhaltungs-, Austausch- oder Reparaturarbeiten an Einrichtungen, die von Menschen mit Behinderungen und Menschen mit eingeschränkter Mobilität genutzt werden, alternative Hilfeleistungen erhalten.

4.5.2.Teilsystem "Fahrzeuge"

Im Fall eines Defekts von Einrichtungen, die für Menschen mit Behinderungen und Menschen mit eingeschränkter Mobilität installiert wurden (einschließlich taktiler Zeichen), hat das Eisenbahnunternehmen Verfahren vorzusehen, die sicherstellen, dass die betreffende Einrichtung innerhalb von sechs Werktagen nach Meldung des Defekts repariert oder ausgetauscht wird.

4.6. Berufliche Qualifikationen

Nachstehend werden die beruflichen Qualifikationen beschrieben, die in Bezug auf diese TSI für den Betrieb und die Instandhaltung der Teilsysteme "" und "" im Sinne des technischen Anwendungsbereichs gemäß Abschnitt 1.1 sowie im Sinne der betrieblichen Regelungen in Abschnitt 4.4 erforderlich sind.

Die berufliche Ausbildung von Bediensteten, die Züge begleiten, auf Bahnhöfen Dienst- und Hilfeleistungen für Reisende erbringen oder Fahrkarten verkaufen, muss eine Sensibilisierung für Behinderten- und Gleichbehandlungsfragen, einschließlich der besonderen Bedürfnisse von Menschen mit Behinderungen und Menschen mit eingeschränkter Mobilität, beinhalten.

Die berufliche Ausbildung von Technikern und Betreibern, die für die Instandhaltung und den Betrieb der Infrastruktur oder der Fahrzeuge verantwortlich sind, muss eine Sensibilisierung für Behinderten- und Gleichbehandlungsfragen, einschließlich der besonderen Bedürfnisse von Menschen mit Behinderungen und Menschen mit eingeschränkter Mobilität, beinhalten.

4.7. Bedingungen für den Arbeitsschutz

Im Rahmen dieser TSI bestehen weder für das Personal, das für den Betrieb der Teilsysteme "" und "" erforderlich ist, noch für die Umsetzung der TSI spezifische Arbeitsschutzbedingungen.

4.8. Infrastruktur- und Fahrzeugregister

4.8.1. Infrastrukturregister

Die Infrastrukturmerkmale, die im Eisenbahn-Infrastrukturregister vermerkt sein müssen, sind im Durchführungsbeschluss 2011/633/EU der Kommission 2 aufgeführt.

4.8.2.Fahrzeugregister

Die Fahrzeugmerkmale, die im Europäischen Register genehmigter Fahrzeugtypen vermerkt sein müssen, sind im Durchführungsbeschluss 2011/665/EU der Kommission 3 aufgeführt.

5. Interoperabilitätskomponenten

5.1. Begriffsbestimmung

Gemäß Artikel 2 Buchstabe f der Richtlinie 2008/57/EG sind Interoperabilitätskomponenten Bauteile, Bauteilgruppen, Unterbaugruppen oder komplette Materialgruppen, die in ein Teilsystem eingebaut sind oder eingebaut werden sollen und von denen die Interoperabilität des Eisenbahnsystems direkt oder indirekt abhängt. Der Begriff "Komponenten" umfasst sowohl materielle als auch immaterielle Produkte wie Software.

5.2. Innovative Lösungen

Wie in Abschnitt 4.1 ausgeführt, können innovative Lösungen unter Umständen neue Spezifikationen und/ oder neue Bewertungsmethoden notwendig machen. Diese Spezifikationen und Bewertungsmethoden sind nach dem in Artikel 6 der Verordnung beschriebenen Verfahren zu entwickeln.

5.3. Liste und Merkmale der Komponenten

Die Interoperabilitätskomponenten unterliegen den einschlägigen Bestimmungen der Richtlinie 2008/57/EG und sind nachstehend aufgeführt.

5.3.1.Infrastruktur

Die folgenden Elemente gelten als Interoperabilitätskomponenten des Teilsystems "":

5.3.1.1. Anzeigen

(1) Anzeigen müssen so bemessen sein, dass einzelne Bahnhofsnamen oder kurze Mitteilungen in einzelnen Wörtern angezeigt werden können. Bahnhofsnamen oder kurze Mitteilungen in einzelnen Wörtern müssen mindestens zwei Sekunden lang sichtbar sein.

(2) Bei durchlaufenden Anzeigen (horizontal oder vertikal) muss jedes vollständige Wort mindestens zwei Sekunden lang angezeigt werden. Die horizontale Durchlaufgeschwindigkeit darf maximal sechs Zeichen pro Sekunde betragen.

(3) Anzeigen sind für einen Einsatzbereich auszulegen und zu bewerten, der sich aus der maximalen Leseentfernung nach folgender Formel ergibt:

Leseentfernung in mm dividiert durch 250 = Schriftgröße (Beispiel: 10.000 mm/250 = 40 mm).

5.3.1.2. Bahnsteigseitige Rampen

(1) Rampen sind für einen Einsatzbereich auszulegen und zu bewerten, der durch den vertikalen Spalt bestimmt ist, der bei maximaler Neigung von 18 % überbrückt werden kann.

(2) Rampen müssen für Rollstühle mit den in Anlage M beschriebenen Merkmalen geeignet sein.

(3) Rampen müssen für eine Traglast von mindestens 300 kg ausgelegt sein, die in der Mitte aufgebracht und über eine Fläche von 660 mm mal 660 mm verteilt ist.

(4) Rampen, die über einen Antrieb verfügen, müssen bei einem Stromausfall manuell betrieben werden können.

(5) Die Rampenoberfläche muss rutschfest sein und eine nutzbare lichte Breite von mindestens 760 mm haben.

(6) Rampen, deren lichte Breite weniger als 1.000 mm beträgt, müssen auf beiden Seiten erhöhte Kanten haben, damit die Räder von Mobilitätshilfen nicht abrutschen können.

(7) Die Aufkantungen an beiden Enden der Rampe müssen abgeschrägt und dürfen nicht höher als 20 mm sein. Außerdem müssen sie mit deutlich in Kontrast stehenden Warnbändern versehen sein.

(8) Rampen müssen mit einer Arretierung ausgestattet sein, damit sie sich während des Ein- oder Aussteigens nicht verschieben können.

(9) Rampen müssen über in sich selbst in Kontrast stehende Markierungen verfügen.

5.3.1.3. Bahnsteigseitige Hublifte

(1) Hublifte sind für einen Einsatzbereich auszulegen und zu bewerten, der durch den maximal überbrückbaren vertikalen Spalt bestimmt ist.

(2) Hublifte müssen für Rollstühle mit den in Anlage M beschriebenen Merkmalen geeignet sein.

(3) Hublifte müssen für eine Traglast von mindestens 300 kg ausgelegt sein, die in der Mitte aufgebracht und über eine Fläche von 660 mm mal 660 mm verteilt ist.

(4) Die Oberfläche des Hublifts muss rutschfest sein.

(5) Die Fläche des Hublifts muss eine lichte Breite von mindestens 800 mm und eine Länge von 1.200 mm haben. Gemäß Anlage M ist ab einer Höhe von 100 mm über dem Hubliftboden eine zuzügliche Länge von 50 mm für die Füße vorzusehen, wobei der Rollstuhl sowohl in Fahrzeugrichtung als auch in Bahnsteigrichtung stehen kann.

(6) Die Überfahrbrücke zur Überbrückung des Spalts zwischen dem Bahnsteig und dem Boden des Fahrzeugs muss mindestens 760 mm breit sein.

(7) Sämtliche Bedienelemente zur Inbetriebnahme sowie zum Absenken, Hochfahren und Verstauen des Hublifts dürfen, soweit vorhanden, nur durch kontinuierlichen manuellen Druck durch den Bediener zu betätigen sein. Außerdem ist sicherzustellen, dass bei besetztem Hublift keine unsachgemäße Ablaufsteuerung möglich ist.

(8) Der Hublift muss so konstruiert sein, dass er auch bei einem Stromausfall in Betrieb genommen, in besetztem Zustand abgesenkt und in leerem Zustand hochgefahren und verstaut werden kann.

(9) Kein Bestandteil des Hublifts darf sich beim Hochfahren bzw. Absenken einer Person schneller als 150 mm/s bewegen; bei der Inbetriebnahme und beim Verstauen darf sich kein Bestandteil schneller als 600 mm/s bewegen (es sei denn, der Hublift wird manuell in Betrieb genommen oder verstaut).

(10) In besetztem Zustand darf die horizontale und vertikale Beschleunigung des Hublifts 0,3 g nicht überschreiten.

(11) Der Hublift muss mit Barrieren ausgestattet sein, damit die Räder eines Rollstuhls während des Betriebs nicht von der Plattform rollen können.

(12) Mit Hilfe einer beweglichen Barriere oder einer fest integrierten Vorrichtung muss verhindert werden, dass der Rollstuhl über die dem Fahrzeug zugewandte Kante rollen kann, bevor der Hublift vollständig hochgefahren ist.

(13) Jede Seite des Hublifts, die in hochgefahrener Position über das Fahrzeug hinausragt, muss mit einer Barriere von mindestens 25 mm Höhe ausgestattet sein. Derartige Barrieren dürfen beim Bewegen des Rollstuhls in den Gang oder aus dem Gang kein Hindernis darstellen.

(14) Die Barriere der Ladekante (äußere Barriere), die bei abgesenktem Hublift als Laderampe dient, muss in hochgeklapptem oder geschlossenem Zustand ausreichen, um zu verhindern, dass ein Elektro-Rollstuhl die Barriere überfährt, öffnet oder herunterklappt. Alternativ kann ein zusätzliches System vorgesehen werden, das dies verhindert.

(15) Der Hublift muss so ausgelegt sein, dass der Rollstuhl sowohl in Fahrzeugrichtung als auch in Bahnsteigrichtung stehen kann.

(16) Der Hublift muss über in sich selbst in Kontrast stehende Markierungen verfügen.

5.3.2.Fahrzeuge

Die folgenden Elemente gelten als Interoperabilitätskomponenten des Teilsystems "":

5.3.2.1. Bedienelemente von Türen

(1) Die Bedienelemente von Türen oder der umgebende Bereich müssen bei freigegebener Tür visuell gekennzeichnet sein und mit der Handfläche mit einem Kraftaufwand von maximal 15 N betätigt werden können.

(2) Bedienelemente dieser Art müssen durch Berührung identifizierbar sein (z.B. durch taktile Markierungen), wobei auch die Funktion des Bedienelements deutlich werden muss.

5.3.2.2. Standard- und Universaltoiletten: Gemeinsame Parameter

(1) Die Mitte von Türgriffen, Schlössern oder Vorrichtungen zum Betätigen der Tür innerhalb und außerhalb der Toilettenräume muss sich in einer Höhe zwischen 800 mm und 1.100 mm über der Schwelle der Toilettentür befinden.

(2) Wenn eine Tür verriegelt wurde, ist dies innerhalb und außerhalb der Toilette visuell und taktil (oder akustisch) kenntlich zu machen.

(3) Alle Bedienelemente von Türen und andere Einrichtungen im Toilettenraum (mit Ausnahme von Wickeltischen und Hilferufvorrichtungen) müssen mit einem Kraftaufwand von maximal 20 N bedient werden können.

(4) Alle Bedienelemente, einschließlich der Spülvorrichtung, müssen in Kontrast zum Hintergrund stehen und durch Berührung erkennbar sein.

(5) Für alle Bedienelemente müssen eindeutige und verständliche Informationen unter Verwendung von Piktogrammen und taktilen Zeichen vorhanden sein.

(6) Sitz und Deckel der Toilette sowie alle Haltevorrichtungen müssen in Kontrast zum Hintergrund stehen.

5.3.2.3. Standardtoilette

(1) Eine Standardtoilette ist eine Toilette, die nicht für eine rollstuhlgerechte Nutzung ausgelegt ist.

(2) Die nutzbare Breite der Tür muss mindestens 500 mm betragen.

(3) Neben dem Toilettenbecken und dem Waschbecken muss eine feste vertikale und/oder horizontale Haltevorrichtung gemäß Abschnitt 4.2.2.9 vorhanden sein.

5.3.2.4. Universaltoilette

(1) Eine Universaltoilette ist so ausgelegt, dass sie von allen Reisenden genutzt werden kann, einschließlich Menschen mit Behinderungen und Menschen mit eingeschränkter Mobilität.

(2) Der Einsatzbereich von Universaltoiletten ist durch das zu ihrer Bewertung verwendete Verfahren (a oder B gemäß Abschnitt 6.1.3.1) definiert.

(3) Die Zugangstür zur Toilette muss eine nutzbare lichte Breite von mindestens 800 mm haben. Automatische und halbautomatische Türen müssen die Möglichkeit bieten, nur zum Teil geöffnet zu werden, damit die Begleitpersonen von Rollstuhlfahrern das Toilettenmodul verlassen und erneut betreten können.

(4) Die Außenseite der Tür ist durch ein Zeichen gemäß Anlage N zu markieren.

(5) Die Größe des Toilettenraums ist so zu wählen, dass ein Rollstuhl gemäß Anlage M in eine Position bewegt werden kann, die es ermöglicht, dass Rollstuhlfahrer sowohl seitlich als auch diagonal zum Toilettensitz gelangen können.

(6) Bis mindestens 700 mm vor dem Toilettensitz ist eine dem Sitzprofil folgende freie Fläche vorzusehen.

(7) Auf jeder Seite des Toilettensitzes muss eine horizontale Haltevorrichtung angebracht sein, die mindestens bis an die Vorderkante des Toilettensitzes reicht und den Anforderungen in Abschnitt 4.2.2.9 entspricht.

(8) Die Haltestange an der für den Rollstuhl zugänglichen Seite muss so einklappbar sein, dass Rollstuhlfahrer sich ungehindert zwischen Rollstuhl und Toilettensitz bewegen können.

(9) Die Oberfläche des Toilettensitzes muss sich in heruntergeklappten Zustand in einer Höhe zwischen 450 mm und 500 mm über dem Boden befinden.

(10) Alle Einrichtungen müssen für Rollstuhlfahrer leicht zugänglich sein.

(11) Die Toilettenkabine ist mit mindestens zwei Hilferufvorrichtungen auszustatten, die bei Betätigung ein Signal an eine Person sendet, die geeignete Maßnahmen einleiten kann; eine Kommunikationsverbindung muss dabei nicht hergestellt werden.

(12) Die Bedienschnittstelle von Hilferufvorrichtungen muss den Anforderungen in Abschnitt 5.3.2.6 entsprechen.

(13) Eine der Hilferufvorrichtungen ist in maximal 450 mm Höhe über dem Boden anzubringen, gemessen von der Bodenoberfläche bis zur Mitte des Bedienelements. Sie ist so anzubringen, dass sie von einer am Boden liegenden Person erreicht werden kann.

(14) Die andere Hilferufvorrichtung ist in einer Höhe zwischen 800 mm und 1.100 mm über dem Boden anzubringen, gemessen senkrecht von der Bodenoberfläche bis zur Mitte des Bedienelementes.

(15) Die beiden Hilferufvorrichtungen müssen sich an unterschiedlichen vertikalen Flächen der Toilettenkabine befinden, damit sie von mehreren Positionen aus erreicht werden können.

(16) Das Bedienelement der Hilferufvorrichtungen muss sich von allen anderen Bedienelementen in der Toilettenkabine unterscheiden, eine andere Farbe haben und in Kontrast zu ihrem Hintergrund stehen.

(17) Ist ein Wickeltisch vorhanden, so muss sich dessen Arbeitsfläche bei heruntergeklapptem Tisch zwischen 800 mm und 1.000 mm über dem Boden befinden.

5.3.2.5. Wickeltisch

(1) Die Arbeitsfläche des Wickeltisches muss mindestens 500 mm breit und 700 mm lang sein.

(2) Der Wickeltisch muss so ausgelegt sein, dass ein Kleinstkind nicht versehentlich herunterrutschen kann. Er darf keine scharfen Kanten haben und muss eine Last von mindestens 80 kg tragen können.

(3) Der Wickeltisch muss einhändig und mit einem Kraftaufwand von maximal 25 N eingeklappt werden können.

5.3.2.6. Bedienung der Hilferufvorrichtung

Hilferufvorrichtungen müssen

(1) durch ein Zeichen auf grünem oder gelbem Hintergrund (gemäß der in Anlage A Ziffer 10 genannten Spezifikation) und ein weißes Glocken- oder Telefonsymbol gekennzeichnet sein. Das Zeichen kann sich auf der Taste oder der Einfassung oder auf einem separaten Piktogramm befinden;

(2) taktile Symbole haben;

(3) ein visuelles und akustisches Signal aussenden als Hinweis darauf, dass die Einrichtung betätigt wurde;

(4) gegebenenfalls weitere Informationen zur Bedienung enthalten;

(5) mit der Handfläche mit einem Kraftaufwand von maximal 30 N betätigt werden können.

5.3.2.7 Innen- und Außenanzeigen

(1) Bahnhofsnamen bzw. Wörter von Mitteilungen sind mindestens zwei Sekunden lang anzuzeigen. Bahnhofsnamen können auch abgekürzt werden.

(2) Bei durchlaufenden Anzeigen (horizontal oder vertikal) muss jedes vollständige Wort mindestens zwei Sekunden lang angezeigt werden. Die horizontale Durchlaufgeschwindigkeit darf im Durchschnitt maximal sechs Zeichen pro Sekunde betragen.

(3) Die für Text verwendete Schriftart muss gut lesbar sein.

(4) Großbuchstaben und Ziffern von Außenanzeigen an der Spitze des Zuges müssen mindestens 70 mm hoch sein; für seitlich angebrachte Anzeigen gilt eine Mindesthöhe von 35 mm.

(5) Innenanzeigen sind für einen Einsatzbereich auszulegen und zu bewerten, der sich aus der maximalen Leseentfernung nach folgender Formel ergibt:

Tabelle 13: Einsatzbereich von Fahrzeug-Innenanzeigen

Leseentfernung Höhe von Großbuchstaben und Ziffern
< 8.750 mm (Leseentfernung/250) mm
8.750 bis 10.000 mm 35 mm
> 10.000 mm (Leseentfernung/285) mm

5.3.2.8. Einstiegshilfen: Bewegliche Trittstufen und Überfahrbrücken

(1) Bewegliche Trittstufen und Überfahrbrücken sind für einen Einsatzbereich auszulegen und zu bewerten, der durch die Breite der Türöffnung, für die sie bestimmt sind, definiert ist.

(2) Die mechanische Festigkeit der Vorrichtung muss der in Anlage A Ziffer 11 genannten Spezifikation entsprechen.

(3) Ein geeigneter Mechanismus muss installiert sein, der die Stabilität der Vorrichtung sowohl in betriebsbereitem als auch in verstautem Zustand gewährleistet.

(4) Die Oberfläche der Vorrichtung muss rutschfest sein und eine nutzbare lichte Breite entsprechend der Breite der Türöffnung haben.

(5) Die Vorrichtung muss über eine Hinderniserkennung gemäß der in Anlage A Ziffer 11 genannten Spezifikation verfügen.

(6) Die Vorrichtung muss bei einem Ausfall ihres Antriebssystems in Betrieb genommen oder verstaut werden können.

5.3.2.9. Einstiegshilfen: Fahrzeugseitige Rampen

(1) Rampen sind für einen Einsatzbereich auszulegen und zu bewerten, der durch den maximalen vertikalen Spalt bestimmt ist, der bei maximaler Neigung von 18 % überbrückt werden kann.

(2) Rampen müssen für eine Traglast von mindestens 300 kg ausgelegt sein, die in der Mitte aufgebracht und über eine Fläche von 660 mm mal 660 mm verteilt ist.

(3) Einstiegsrampen müssen entweder manuell durch einen Bediensteten zu positionieren sein oder auf mechanische Weise halbautomatisch durch einen Bediensteten oder den Fahrgast bedient werden können.

(4) Elektrisch betriebene Rampen müssen bei einem Stromausfall manuell betrieben werden können.

(5) Die Oberfläche der Rampe muss rutschfest sein und eine nutzbare lichte Breite von mindestens 760 mm haben.

(6) Rampen, deren lichte Breite weniger als 1.000 mm beträgt, müssen auf beiden Seiten erhöhte Kanten haben, damit die Räder von Mobilitätshilfen nicht abrutschen können.

(7) Die Aufkantungen an beiden Enden der Rampe müssen abgeschrägt und dürfen nicht höher als 20 mm sein. Außerdem müssen sie mit deutlich in Kontrast stehenden Warnbändern versehen sein.

(8) Während ihrer Benutzung zum Ein- oder Aussteigen ist die Rampe so zu sichern, dass sie sich beim Be- oder Entladen nicht verschieben kann.

(9) Halbautomatische Rampen müssen über einen Mechanismus verfügen, der die Bewegung unterbricht, sobald die Vorderkante mit einem Gegenstand oder einer Person in Berührung kommt.

(10) Rampen müssen über in sich selbst in Kontrast stehende Markierungen verfügen.

5.3.2.10. Einstiegshilfen: Fahrzeugseitige Hublifte

(1) Hublifte sind für einen Einsatzbereich auszulegen und zu bewerten, der durch den maximal überbrückbaren vertikalen Spalt bestimmt ist.

(2) Die Oberfläche des Hublifts muss rutschfest sein. Die Fläche des Hublifts muss eine lichte Breite von mindestens 760 mm und eine Länge von 1.200 mm haben. Gemäß Anlage M ist ab einer Höhe von 100 mm über dem Hubliftboden eine zuzügliche Länge von 50 mm für die Füße vorzusehen, wobei der Rollstuhl sowohl in Blickrichtung in das Fahrzeug als auch in Blickrichtung aus dem Fahrzeug zum Bahnsteig stehen kann.

(3) Die Überfahrbrücke zur Überbrückung des Spalts zwischen der Plattform des Hublifts und dem Boden des Fahrzeugs muss mindestens 720 mm breit sein.

(4) Der Hublift muss für eine Traglast von mindestens 300 kg geeignet sein, die in der Mitte der Plattform über eine Fläche von 660 mm mal 660 mm verteilt ist.

(5) Sämtliche Bedienelemente zur Inbetriebnahme sowie zum Absenken, Hochfahren und Verstauen des Hublifts dürfen, soweit vorhanden, nur durch kontinuierlichen manuellen Druck zu betätigen sein. Außerdem ist sicherzustellen, dass bei besetztem Hublift keine unsachgemäße Ablaufsteuerung möglich ist.

(6) Der Hublift muss so konstruiert sein, dass er auch bei einem Ausfall seiner Stromversorgung in Betrieb genommen, in besetztem Zustand abgesenkt und in leerem Zustand hochgefahren und verstaut werden kann.

(7) Kein Bestandteil des Hublifts darf sich beim Hochfahren bzw. Absenken einer Person schneller als 150 mm/s bewegen; bei der Inbetriebnahme und beim Verstauen darf sich kein Bestandteil schneller als 600 mm/s bewegen (es sei denn, der Hublift wird manuell in Betrieb genommen oder verstaut).

(8) In besetztem Zustand darf die horizontale und vertikale Beschleunigung des Hublifts 0,3 g nicht überschreiten.

(9) Der Hublift muss mit Barrieren ausgestattet sein, damit die Räder eines Rollstuhls während des Betriebs nicht von der Plattform rollen können.

(10) Mit Hilfe einer beweglichen Barriere oder einer fest integrierten Vorrichtung muss verhindert werden, dass der Rollstuhl über die dem Fahrzeug zugewandte Kante rollen kann, bevor der Hublift vollständig hochgefahren ist.

(11) Jede Seite des Hublifts, die in hochgefahrener Position über das Fahrzeug hinausragt, muss mit einer mindestens 25 mm hohen Barriere ausgestattet sein. Derartige Barrieren dürfen beim Bewegen des Rollstuhls in den Gang oder aus dem Gang kein Hindernis darstellen.

(12) Die Barriere der Ladekante (äußere Barriere), die bei abgesenktem Hublift als Laderampe dient, muss in hochgeklapptem oder geschlossenem Zustand ausreichen, um zu verhindern, dass ein Elektro-Rollstuhl die Barriere überfährt, öffnet oder herunterklappt. Alternativ kann ein zusätzliches System vorgesehen werden, das dies verhindert.

(13) Der Hublift muss so ausgelegt sein, dass der Rollstuhl sowohl in Blickrichtung in das Fahrzeug als auch in Blickrichtung aus dem Fahrzeug zum Bahnsteig stehen kann.

(14) Der Hublift muss über in sich selbst in Kontrast stehende Markierungen verfügen.

6. Bewertung der Konformität und/oder Gebrauchstauglichkeit

Die Module für die Verfahren der Konformitätsbewertung, der Gebrauchstauglichkeitsbewertung und der EG-Prüfung sind im Beschluss 2010/713/EU beschrieben.

6.1. Interoperabilitätskomponenten

6.1.1.Konformitätsbewertung

Der Hersteller einer Interoperabilitätskomponente oder sein in der Union ansässiger Bevollmächtigter muss eine EG-Konformitäts- oder EG-Gebrauchstauglichkeitserklärung gemäß Artikel 13 Absatz 1 und Anhang IV der Richtlinie 2008/57/EG ausstellen, bevor die Interoperabilitätskomponente in Verkehr gebracht wird.

Die Konformitätsbewertung einer Interoperabilitätskomponente ist gemäß dem/den für die betreffende Komponente vorgeschriebenen Modul(en) durchzuführen (siehe Abschnitt 6.1.2).

6.1.2.Anwendung der Module

In folgender Tabelle sind die Module für die EG-Konformitätsbescheinigung für Interoperabilitätskomponenten aufgeführt.

Tabelle 14: Module für die EG-Konformitätsbescheinigung von Interoperabilitätskomponenten

Modul CA Interne Fertigungskontrolle
Modul CA1 Interne Fertigungskontrolle und Produktprüfung durch Einzelbegutachtung
Modul CA2 Interne Fertigungskontrolle und Produktprüfung in unregelmäßigen Abständen
Modul CB EG-Baumusterprüfung
Modul CC Konformität mit dem Baumuster auf Grundlage einer internen Fertigungskontrolle
Modul CD Konformität mit dem Baumuster auf Grundlage eines Qualitätssicherungssystems für den Produktionsprozess
Module CF Konformität mit dem Baumuster auf Grundlage einer Produktprüfung
Modul CH Konformität auf Grundlage eines umfassenden Qualitätssicherungssystems
Modul CH1 Konformität auf Grundlage eines umfassenden Qualitätssicherungssystems mit Entwurfsprüfung
Modul CV Baumustervalidierung durch Betriebsbewährung (Gebrauchstauglichkeit)

Der Hersteller oder sein in der Union ansässiger Bevollmächtigter muss je nach der zu bewertenden Komponente eines der Module oder eine der Modulkombinationen wählen, die in folgender Tabelle aufgeführt sind.

Tabelle 15: Modulkombinationen für die EG-Konformitätsbescheinigung von Interoperabilitätskomponenten

Abschnitt dieses Anhangs Zu bewertende Komponenten Modul
CA
Modul CA1
oder CA2 *
Module
CB + CC
Module
CB + CD
Module
CB + CF
Modul
CH *
Modul
CH1
5.3.1.1 Anzeigen X X X X X
5.3.1.2 und 5.3.1.3 Bahnsteigseitige Rampen und Hub- lifte X X X X X
5.3.2.1 Bedienelemente von Türen X X X
5.3.2.2, 5.3.2.3 und 5.3.2.4 Toilettenmodule X X X X X
5.3.2.5 Wickeltische X X X
5.3.2.6 Hilferufvorrichtungen X X X
5.3.2.7 Innen- und Außenanzeigen X X X X X
5.3.2.8 bis 5.3.2.10 Einstiegsvorrichtungen X X X X X
*) Die Module CA1, CA2 oder CH dürfen nur für Produkte verwendet werden, deren Herstellung ein Entwurf zugrunde liegt, der bereits vor Anwendung der einschlägigen TSI für das Inverkehrbringen von Produkten entwickelt und verwendet wurde, vorausgesetzt, der Hersteller weist der benannten Stelle nach, dass für vorherige Anwendungen unter vergleichbaren Bedingungen eine Entwurfs- und Baumusterprüfung durchgeführt wurde, die den Anforderungen der vorliegenden TSI entsprechen. Dieser Nachweis ist zu dokumentieren und liefert dasselbe Beweisniveau wie Modul CB oder eine Entwurfsprüfung gemäß Modul CH1.

Bei der Bewertung anzuwendende Sonderverfahren sind in Abschnitt 6.1.3 spezifiziert.

6.1.3.Besondere Bewertungsverfahren

6.1.3.1. Universaltoilettenmodul

Die Größe des Toilettenraums, die es ermöglicht, einen Rollstuhl gemäß Anlage M in eine Position zu bewegen, von der aus Rollstuhlfahrer seitlich oder diagonal zum Toilettensitz gelangen können, ist nach dem Verfahren a zu bewerten, das in der in Anlage A Ziffer 9 genannten Spezifikation beschrieben ist.

Ist die Anwendung des Verfahrens a nicht möglich, so kann alternativ das Verfahren B angewendet werden, das in der in Anlage A Ziffer 9 genannten Spezifikation beschrieben ist. Zulässig ist dies allerdings nur

  • bei Fahrzeugen mit einer verfügbaren Fußbodenbreite von weniger als 2.400 mm;
  • bei Erneuerung oder Umrüstung existierender Fahrzeuge.

6.1.3.2. Toilettenmodul und Universaltoilettenmodul

Werden Toilettenmodule oder Universaltoilettenmodule nicht als separate Kabinen hergestellt, so können ihre Merkmale auf Ebene des Teilsystems bewertet werden.

6.2. Teilsysteme

6.2.1.EG-Prüfung (allgemein)

Die für Teilsysteme anzuwendenden EG-Prüfverfahren sind in Artikel 18 und Anhang VI der Richtlinie 2008/57/EG beschrieben.

Das EG-Prüfverfahren ist nach dem/den in Abschnitt 6.2.2 dieser TSI spezifizierten Modul(en) durchzuführen.

Teilsystem "": Kann der Antragsteller nachweisen, dass die Tests oder Bewertungen eines Teilsystems oder von Teilen eines Teilsystems mit denen vorheriger Anwendungen desselben Entwurfs identisch sind oder erfolgreich durchgeführt wurden, so sind die Ergebnisse dieser Versuche und Bewertungen von der benannten Stelle im Rahmen der EG-Prüfung zu berücksichtigen.

Das Zulassungsverfahren und der Inhalt der Bewertung sind zwischen dem Antragsteller und einer benannten Stelle gemäß den Anforderungen dieser TSI sowie in Übereinstimmung mit den Bestimmungen in Abschnitt 7 dieser TSI festzulegen.

6.2.2.EG-Prüfverfahren für Teilsysteme (Module)

In folgender Tabelle sind die Module für die EG-Prüfung von Teilsystemen aufgeführt.

Tabelle 16: Module für die EG-Prüfung von Teilsystemen

Modul SB EG-Baumusterprüfung
Modul SD EG-Prüfung auf Grundlage eines Qualitätssicherungssystems für den Produktionsprozess
Modul SF EG-Prüfung auf Grundlage einer Produktprüfung
Modul SG EG-Prüfung durch Einzelprüfung
Modul SH1 EG-Prüfung auf Grundlage eines umfassenden Qualitätssicherungssystems mit Entwurfsprüfung

Der Antragsteller muss eines der Module oder eine der Modulkombinationen wählen, die in Tabelle 17 aufgeführt sind.

Tabelle 17: Modulkombinationen für die EG-Prüfung von Teilsystemen

Zu bewertendes Teil system Module SB + SD Module SB + SF Modul SG Modul SH1
Teilsystem "" X X X
Teilsystem "" X X

Die während der einzelnen Phasen zu bewertenden Merkmale des Teilsystems sind Anlage E zu entnehmen (Tabelle E.1 für das Teilsystem "" und Tabelle E.2 für das Teilsystem ""). Der Antragsteller muss bestätigen, dass jedes produzierte Teilsystem mit dem Baumuster übereinstimmt.

6.2.3.Besondere Bewertungsverfahren

6.2.3.1. Rollstuhl-Transfersitze

Bei der Bewertung der Vorschrift über die Bereitstellung von Transfersitzen ist lediglich zu überprüfen, ob diese vorhanden und mit beweglichen Armlehnen ausgestattet sind. Insbesondere die Methode des Transfers ist von dieser Bewertung ausgenommen.

6.2.3.2 Position von Stufen zum Ein- und Ausstieg

Die Validierung dieser Anforderung erfolgt durch Berechnung anhand der Nennwerte aus der Konstruktionszeichnung des Fahrzeugs sowie der Nennwerte der Bahnsteige, an denen das Fahrzeug planmäßig hält. Die Außenkante des Fußbodens an der Einstiegstür gilt als Stufe.

6.2.4.Technische Lösungen, die in der Entwurfsphase eine Konformitätsvermutung begründen

Für die Zwecke dieser TSI kann das Teilsystem "" als eine Zusammensetzung von verschiedenen wiederkehrenden Teilen verstanden werden, darunter

  • Parkplätze,
  • Türen und Eingänge, transparente Hindernisse und deren Kennzeichnung,
  • taktile Bodenindikatoren, taktile Informationen auf hindernisfreien Wegen,
  • mit Handläufen versehene Rampen und Treppen,
  • Aufbau und Hervorhebung von Einrichtungsgegenständen,
  • Fahrkarten-/Informationsschalter,
  • Fahrkartenverkaufsautomaten und Fahrkartenkontrollgeräte,
  • visuelle Informationen: Wegweiser, Piktogramme und dynamische Informationen,
  • Bahnsteige, einschließlich der Bahnsteigenden und -kanten, Unterstellmöglichkeiten und Wartebereiche, falls vorhanden,
  • schienengleiche Bahnübergänge.

Für diese Teilkomponenten des Teilsystems "" kann die Konformitätsvermutung bereits in der Entwurfsphase vor und unabhängig von spezifischen Projekten geprüft werden. In der Entwurfsphase ist von der benannten Stelle eine Zwischenprüfbescheinigung (Intermediate Statement of Verification, ISV) auszustellen.

6.2.5.Bewertung der Instandhaltung

Gemäß Artikel 18 Absatz 3 der Richtlinie 2008/57/EG ist eine benannte Stelle dafür verantwortlich, das technische Dossier zu erstellen, das die für den Betrieb und die Instandhaltung geforderten Unterlagen enthält.

Die benannte Stelle muss lediglich überprüfen, dass die für den Betrieb und die Instandhaltung geforderten Unterlagen gemäß Abschnitt 4.5 dieser TSI vorhanden sind. Die eigentlichen Informationen, die in den vorgelegten Unterlagen enthalten sind, müssen von der benannten Stelle nicht geprüft werden.

6.2.6.Bewertung betrieblicher Regelungen

Gemäß den Artikeln 10 und 11 der Richtlinie 2004/49/EG müssen Eisenbahnunternehmen und Infrastrukturbetreiber bei Beantragung einer neuen oder der Änderung einer bestehenden Sicherheitsbescheinigung bzw. Sicherheitsgenehmigung nachweisen, dass sie im Rahmen ihres Sicherheitsmanagementsystems die betrieblichen Anforderungen dieser TSI erfüllen.

Für die Zwecke dieser TSI prüft die benannte Stelle keine betrieblichen Regelungen, auch dann nicht, wenn solche Regelungen in Abschnitt 4.4 aufgeführt sind.

6.2.7.Bewertung von Einheiten, die für den Einsatz im allgemeinen Fahrbetrieb ausgelegt sind

Werden anstatt fester Zugeinheiten Einzelfahrzeuge bereitgestellt, so sind diese Fahrzeuge auf die entsprechenden Abschnitte dieser TSI hin zu prüfen. Dabei wird akzeptiert, dass möglicherweise nicht jedes Fahrzeug über Rollstuhlplätze, rollstuhlgerechte Einrichtungen oder eine Universaltoilette verfügt.

Der Einsatzbereich im Hinblick auf die Art der Fahrzeuge, die an die zu bewertende Einheit gekuppelt sind, damit der Zug die TSI vollständig erfüllt, wird von der benannten Stelle nicht geprüft.

Nach Genehmigung der Inbetriebnahme des Fahrzeugs muss das Eisenbahnunternehmen sicherstellen, dass bei der Zugbildung mit anderen kompatiblen Fahrzeugen der gesamte Zugverband die Anforderungen in Abschnitt 4.2 dieser TSI entsprechend den Bestimmungen in Abschnitt 4.2.2.5 (Zugbildung) der TSI OPE erfüllt.

7. Umsetzung der TSI

7.1. Anwendung dieser TSI auf neue Infrastruktur und Fahrzeuge

7.1.1.Neue Infrastruktur

Diese TSI gilt für alle neuen Bahnhöfe, die in ihren Anwendungsbereich fallen.

Diese TSI gilt nicht für neue Bahnhöfe, die bei Inkrafttreten dieser TSI bereits über eine Baugenehmigung verfügen oder Gegenstand eines bereits unterzeichneten oder in der Endphase einer Ausschreibung befindlichen Bauauftrags sind. Allerdings ist auch in diesen Fällen die TSI PRM von 2008 4 in ihrem festgelegten Anwendungsbereich maßgeblich. Bei den Bahnhofsprojekten, bei denen die TSI PRM von 2008 anzuwenden ist, ist es zulässig (wenn auch nicht vorgeschrieben), die geänderte Fassung, entweder ganz oder nur für bestimmte Abschnitte, zu verwenden. Ist die Anwendung nur auf bestimmte Abschnitte beschränkt, so muss der Antragsteller nachweisen und dokumentieren, dass die geltenden Anforderungen weiterhin kohärent sind, was wiederum von der benannten Stelle bestätigt werden muss.

Die erneute Inbetriebnahme von Bahnhöfen, die lange Zeit für den Personenverkehr geschlossen waren, kann als eine Erneuerung oder Umrüstung im Sinne von Abschnitt 7.2 betrachtet werden.

Bei sämtlichen Neubauvorhaben sollte sich der Bahnhofsbetreiber mit den für die Verwaltung des umgebenden Geländes zuständigen Stellen beraten, um sicherzustellen, dass die Anforderungen an die Zugänglichkeit nicht nur innerhalb des Bahnhofs, sondern auch auf den Zugangswegen erfüllt werden. Bei multimodalen Bahnhöfen sollten in Bezug auf die Verbindungen zwischen der Eisenbahn und den anderen Verkehrsträgern auch andere Verkehrsverwaltungen konsultiert werden,

7.1.2.Neue Fahrzeuge

Diese TSI gilt für alle in ihren Anwendungsbereich fallenden Fahrzeuge, die nach ihrem Inkrafttreten in Betrieb genommen werden, außer in den in Abschnitt 7.1.1.2 (Übergangszeitraum) und 7.1.3.1 (Teilsystem "") der genannten Fällen.

7.2. Anwendung der TSI auf bestehende Infrastruktur und Fahrzeuge

7.2.1.Etappen bis zum Erreichen des Zielsystems

Diese TSI gilt für Teilsysteme, wenn diese erneuert oder umgerüstet werden.

Diese TSI gilt nicht für Erneuerungen oder Umrüstungen von Bahnhöfen, die bei Inkrafttreten dieser TSI bereits über eine Baugenehmigung verfügen oder Gegenstand eines bereits unterzeichneten oder in der Endphase einer Ausschreibung befindlichen Bauauftrags sind.

Diese TSI gilt nicht für erneuerte oder umgerüstete Fahrzeuge, die bei Inkrafttreten der TSI Gegenstand eines bereits unterzeichneten oder in der Endphase einer Ausschreibung befindlichen Vertrags sind.

Bezüglich der bereits vorhandenen Infrastruktur und Fahrzeuge besteht das übergeordnete Ziel der TSI darin, Konformität mit der TSI herzustellen, indem bestehende Zugangshindernisse identifiziert und schrittweise beseitigt werden.

Die Mitgliedstaaten sorgen dafür, dass Anlagenverzeichnisse erstellt werden, und beschließen Umsetzungspläne, um das Ziel dieser Verordnung zu erreichen.

7.2.1.1. Bestandsregister - Infrastruktur19

7.2.1.1.1 Funktionale und technische Architektur19

Das Bestandsregister hat folgende Funktionen:

  1. Feststellung der bestehenden Hindernisse und Barrieren der Zugänglichkeit,
  2. Bereitstellung praktischer Informationen für die Nutzer,
  3. Überwachung und Bewertung der Fortschritte auf dem Gebiet der barrierefreien Zugänglichkeit.

Die Architektur für den Austausch von Barrierefreiheitsdaten ist in der Verordnung (EU) Nr. 454/2011 (TSI TAP) festgelegt worden.

Für das Format und den Austausch von Barrierefreiheitsdaten gelten folgende Normen:

  1. CEN/TS 16614-1:2014 Öffentlicher Verkehr - Netzwerk- und Fahrplan-Austausch (NeTEx) - Teil 1: Austauschformat für Netzwerk-topologie im öffentlichen Verkehr 14.5.2014
  2. EN 12896-1:2016 Öffentlicher Verkehr - Datenreferenzmodell. Gemeinsame Konzepte (Transmodel) Für den vorgesehenen besonderen Verwendungszweck wird ein harmonisiertes, spezifisches Transmodel-Profil gemäß den in Anlage O Index 1 genannten technischen Dokumenten verwendet.

7.2.1.1.2 Vorschriften für die Eingabe und Selbstbewertung von Barrierefreiheitsdaten19

Für die Eingabe und Selbstbewertung von Barrierefreiheitsdaten gelten folgende Vorschriften:

  1. Stellen, die Barrierefreiheitsdaten über Anlagen bzw. Einrichtungen erfassen, brauchen nicht unabhängig von der täglichen Verwaltung dieser Anlagen bzw. Einrichtungen zu sein.
  2. Bei der ersten Erfassung von Barrierefreiheitsdaten nach dem Inkrafttreten der Durchführungsverordnung (EU) 2019/772 der Kommission 5 kann der Stand der Konformität der Bahnhöfe mit dieser TSI als ungeprüft ausgewiesen werden.
  3. Werden an einem Bahnhof oder Teilen davon Umrüstungen, Erneuerungen oder sonstige Arbeiten durchgeführt, die in einem nationalen Umsetzungsplan für diese TSI vorgesehen sind, so werden gegebenenfalls die betreffenden Barrierefreiheitsdaten einschließlich des Stands der Konformität mit dieser TSI aktualisiert.
  4. Der Stand der Konformität mit dieser TSI kann aufgrund einer Zwischenprüfbescheinigung gemäß Abschnitt 6.2.4 dieser TSI aktualisiert werden.
  5. Die Betriebsfähigkeit der Ausrüstung braucht nicht erfasst zu werden.

Ein Datenerfassungsinstrument, dessen Funktionsweise in den technischen Dokumenten gemäß Anlage O Index 2 beschrieben ist, wird von der Kommission zur Verfügung gestellt.

Alternativ können strukturierte Barrierefreiheitsdaten, falls sie vorhanden sind und in das harmonisierte Profil konvertiert werden können, nach ihrer Konvertierung übermittelt werden. Die Methodik für die Konvertierung vorhandener Barrierefreiheitsdaten und das Kommunikationsprotokoll sind in den technischen Dokumenten gemäß Anlage O Index 3 beschrieben.

7.2.1.1.3 Vorschriften für die Datenabfrage19

Aus der ERSAD-Datenbank:

  1. Die Öffentlichkeit kann von einer öffentlich zugänglichen Website der Eisenbahnagentur der Europäischen Union auf Informationen zugreifen.
  2. Die registrierten nationalen Behörden können alle für den Mitgliedstaat relevanten Barrierefreiheitsdaten abrufen.
  3. Die Kommission und die Agentur können alle Barrierefreiheitsdaten abrufen.

Die von der Agentur bereitgestellte ERSAD-Datenbank darf nicht mit anderen Datenbanken verknüpft werden.

7.2.1.1.4 Vorschriften für die Verwaltung von Rückmeldungen der Nutzer19

Rückmeldungen der Nutzer sind in folgender Form möglich:

  1. Institutionelle Rückmeldungen von Nutzerverbänden, einschließlich Organisationen, die Menschen mit Behinderungen vertreten: Bestehende Strukturen können verwendet werden, soweit sie Vertreter von Organisationen von Personen mit Behinderungen und Personen mit eingeschränkter Mobilität einschließen und die Situation auf einer geeigneten Ebene - nicht unbedingt auf nationaler Ebene - angemessen widerspiegeln. Das Verfahren für Rückmeldungen der Nutzer wird so gestaltet, dass es die gleichberechtigte Beteiligung solcher Organisationen ermöglicht.
  2. Individuelle Rückmeldungen: Website-Besucher bekommen die Möglichkeit, fehlerhafte Informationen über die barrierefreie Zugänglichkeit eines bestimmten Bahnhofs zu melden und erhalten dafür eine Eingangsbestätigung.

Die Rückmeldungen der Nutzer werden in beiden Fällen von den für Erfassung, Pflege und Austausch der Daten zuständigen Stellen angemessen berücksichtigt.

7.2.2.Anwendung dieser TSI auf bestehende Infrastruktur

Werden im Bereich der Infrastruktur Teile erneuert oder umgerüstet, so müssen diese der vorliegenden TSI entsprechen. In der TSI wird allerdings eingeräumt, dass aufgrund der Merkmale des bestehenden Eisenbahnsystems die Konformität der vorhandenen Infrastruktur auch durch eine schrittweise Verbesserung der Zugänglichkeit hergestellt werden kann.

Neben diesem Stufenkonzept sind für das Zielsystem in Bezug auf die vorhandene Infrastruktur folgende Ausnahmen zulässig:

  • Werden beim Bau eines hindernisfreien Weges bereits vorhandene Fußgängerüberführungen, Treppen und Unterführungen, einschließlich Türen, Aufzügen und Fahrkartenkontrollgeräten, mit einbezogen, so müssen die für diese Elemente vorgeschriebenen Breiten nicht eingehalten werden.
  • An bestehenden Bahnhöfen muss die Mindestbreite der Bahnsteige nicht eingehalten werden, wenn der Grund für die Abweichung auf bestimmte Hindernisse (z.B. tragende Säulen, Treppenschächte, Aufzüge) oder vorhandene Gleise, die sich nicht versetzen lassen, zurückzuführen ist.
  • Sind bestehende Bahnhöfe oder Teile davon als historische Gebäude eingestuft und durch nationale Gesetze geschützt, so dürfen die Anforderungen dieser TSI angepasst werden, um das betreffende nationale Denkmalschutzgesetz nicht zu verletzen.

7.2.3.Anwendung dieser TSI auf vorhandene Fahrzeuge

Werden an Fahrzeugen Teile erneuert oder umgerüstet, so sind im Hinblick auf die Konformität mit der vorliegenden TSI die Anforderungen in Anlage F anwendbar.

7.3. Sonderfälle

7.3.1.Allgemeines

Die in Abschnitt 7.3.2 aufgeführten Sonderfälle sehen spezielle Bestimmungen vor, die für bestimmte Streckennetze der Mitgliedstaaten erforderlich und zulässig sind.

Die Sonderfälle sind in folgende Kategorien unterteilt:

  • permanente "P-Fälle",
  • temporäre "T-Fälle", in denen eine Verwirklichung des Zielsystems in der Zukunft vorgesehen ist.

7.3.2.Liste der Sonderfälle

7.3.2.1. Vorrangsitze (Abschnitt 4.2.2.1)

Sonderfälle Deutschland und Dänemark ("P")

10 % aller Sitzplätze müssen Vorrangsitze sein. In Zügen mit optionaler und obligatorischer Sitzplatzreservierung müssen mindestens 20 % dieser Vorrangsitze über ein Piktogramm verfügen. Die übrigen 80 % der Vorrangsitze können im Voraus gebucht oder reserviert werden.

In Zügen ohne Reservierungsmöglichkeit müssen alle Vorrangsitze über ein entsprechendes Piktogramm gemäß Abschnitt 4.2.2.1.2.1 verfügen.

7.3.2.2. Rollstuhlplätze (Abschnitt 4.2.2.2)

Sonderfall Frankreich ("P") für das Netz der Region Île de France

In allen Einheiten, die für die RER-Linien A, B, C, D und E in der Region Île de France ausgelegt sind, ist die Anzahl der Rollstuhlplätze, unabhängig von der Länge der Einheit, auf zwei begrenzt.

7.3.2.3 Außentüren (Abschnitt 4.2.2.3.2)

Sonderfall Frankreich ("P") für das Netz der Region Île de France

In allen Einheiten, die für die RER-Linien A, B, C, D und E in der Region Île de France ausgelegt sind, muss wegen der kurzen Haltezeiten/Fahrtzeiten an/zwischen den Bahnhöfen kein akustisches Signal gegeben werden, wenn eine Einstiegstür zum Öffnen freigegeben wird.

7.3.2.4. Lichte Räume (Abschnitt 4.2.2.6)

Sonderfall Großbritannien, Nordirland und Irland ("P")

Aufgrund des eingeschränkten Lichtraumprofils, der Gleiskrümmung und der dadurch eingeschränkten Fahrzeugbreite ist es zulässig, die Bestimmung in Abschnitt 4.2.2.6 (erster Gedankenstrich) nur auf den Zugang zu den Vorrangsitzen zu beschränken.

Dieser Sonderfall steht dem Zugang TSI-konformer Fahrzeuge zum nationalen Netz nicht entgegen.

7.3.2.5. Niveauwechsel (Abschnitt 4.2.2.8)

Sonderfall Frankreich ("P") für das Netz der Region Île de France

Stufen im Innern von Doppelstockzügen (mit Ausnahme der Einstiegsstufen) dürfen maximal 208 mm hoch und müssen mindestens 215 mm tief sein, gemessen auf der Mittelachse der Stufen.

7.3.2.6 Position von Stufen zum Ein- und Ausstieg (Abschnitt 4.2.2.11)

Sonderfall Estland, Lettland und Litauen ("P") für alle Fahrzeuge, die im Normalbetrieb planmäßig an Bahnsteigen mit einer Höhe von 200 mm halten

In diesem Sonderfall müssen δh, δν + und δν-die Werte der folgenden Tabelle haben:

Tabelle 18: Werte von δh, δν+ und δν- für den Sonderfall Estland, Lettland und Litauen

δh (mm) δν+ (mm) δν- (mm)
Auf geradem, ebenem Gleis 200 400 entfällt

Sonderfall Finnland ("P")

Eine zusätzliche Stufe ist erforderlich, wenn das Fahrzeug in Finnland eingesetzt wird. Die erste nutzbare Stufe muss so gestaltet sein, dass die maximale Fahrzeugbegrenzungslinie den Anforderungen der in Anlage A Ziffer 14 genannten Spezifikation entspricht und δh, δν+ und δν- die Werte der folgenden Tabelle haben:

Tabelle 19: Werte von δh, δν+ und δν- für den Sonderfall Finnland

δh (mm) δν+ (mm) δν- (mm)
Auf geradem, ebenem Gleis 200 230 160
Auf einem Gleis mit Bogenhalbmesser 300 m 410 230 160

Sonderfall Deutschland ("P") für alle Fahrzeuge, die im Normalbetrieb planmäßig an Bahnsteigen mit einer Höhe von 960 mm halten

In diesem Sonderfall müssen δh, δν+ und δν- die Werte der folgenden Tabelle haben:

Tabelle 20: Werte von δh, δν+ und δν- für den Sonderfall Deutschland

δh(mm) δν+ (mm) δν- (mm)
Auf geradem, ebenem Gleis 200 230 230
Auf einem Gleis mit Bogenhalbmesser 300 m 290 230 230

Sonderfall Österreich und Deutschland ("P") für alle Fahrzeuge, die im Normalbetrieb planmäßig an Bahnsteigen mit einer Höhe unter 550 mm halten

Neben der Erfüllung der Anforderungen in Abschnitt 4.2.2.11.1(2) muss in diesem Fall auch eine Stufe vorhanden sein, so dass die Werte von δh, δν+ und δν- die Werte der folgenden Tabelle haben:

Tabelle 21: Werte von δh, δν+ und δν- für den Sonderfall Österreich und Deutschland bei niedrigen Bahnsteigen

δh(mm) δν+(mm) δν- (mm)
Auf geradem, ebenem Gleis 200 310 entfällt
Auf einem Gleis mit Bogenhalbmesser 300 m 290 310 entfällt

Sonderfall Irland ("P") für alle Fahrzeuge, die im Normalbetrieb planmäßig an Bahnsteigen mit einer Höhe von 915 mm halten

In diesem Sonderfall müssen δh, δν+ und δν- die Werte der folgenden Tabelle haben:

Tabelle 22: Werte von δh, δν+ und δν- für den Sonderfall Irland

δh (mm) δν+ (mm) δν- (mm)
Auf geradem, ebenem Gleis 275 250 -
Auf einem Gleis mit Bogenhalbmesser 300 m 275 250 -

Sonderfall Portugal ("P") für das Netz mit Spurweite 1.668 mm

In Fahrzeugen, die im Netz mit Spurweite 1.668 mm betrieben werden sollen, muss die erste nutzbare Stufe den Werten in Abschnitt 4.2.2.11.1(5) Tabelle 9 entsprechen; dies gilt auch für Fahrzeuge, die für unterschiedliche Spurweiten ausgelegt sind und Dreischienengleise mit Spurweite 1.668 mm oder 1.435 mm befahren können.

Im Netz mit Regelspurweite 1.668 mm beträgt die zulässige Bahnsteighöhe 685 mm oder 900 mm über der Schienenoberkante.

Die Konstruktion der Einstiegstürschwellen von Neufahrzeugen für den Nahverkehr ist für den Einstieg von Bahnsteigen mit einer Höhe von 900 mm zu optimieren.

Sonderfall Spanien ("P") für das Netz mit Spurweite 1.668 mm

In Fahrzeugen, die auf Strecken in Spanien mit Spurweite 1.668 mm betrieben werden sollen, entspricht die Position der ersten nutzbaren Stufe je nach Begrenzungslinie der betreffenden Strecke und der Bahnsteighöhe den Maßen in folgenden Tabellen:

Tabelle 23: Sonderfall Spanien - Werte von δh, δν+ und δν- und bq0auf geradem, ebenem Gleis

Auf geradem, ebenem Gleis
Position der Stufe Begrenzungslinie der Strecke
GEC16 oder GEB16 GHE16 Dreischienengleis
(Anmerkung 1)
760 oder 680 mm 550 mm
δh (mm) 275 275 255 316,5
δν+ (mm) 230
δν- (mm) 160
bq0 1.725 1.725 1.705 1.766,5

Tabelle 24: Sonderfall Spanien - Werte von δh, δν+ und δν-und bq0 auf einem Gleis mit Bogenhalbmesser 300 m

Auf einem Gleis mit Bogenhalbmesser 300 m
Position der Stufe Begrenzungslinie der Strecke
GEC16 oder GEB16 GHE16 Dreischienengleis
(Anmerkung 1)
760 oder 680 mm 550 mm
δh(mm) 365 365 345 406,5
δν+ (mm) 230
δν- (mm) 160
bq0 1.737,5 1.737,5 1.717,5 1.779
Anmerkung 1: Diese Werte gelten dann, wenn die für beide Spurweiten genutzte Schiene sich unmittelbar neben dem Bahnsteig befindet. Liegt jedoch die für beide Spurweiten genutzte Schiene am weitesten vom Bahnsteig entfernt, so entspricht die Position der ersten nutzbaren Stufe je nach Begrenzungslinie der betreffenden Strecke und der Bahnsteighöhe den Maßen, die in den Spalten für die Spurweite 1.668 mm mit zwei Schienen angegeben sind.

Sonderfall Vereinigtes Königreich ("P") für alle Fahrzeuge, die im Normalbetrieb planmäßig an Bahnsteigen mit einer Höhe von 915 mm halten

Die Einstiegsstufen können so gestaltet sein, dass bei stillstehendem Fahrzeug an britischen Bahnsteigen mit einer Nennhöhe von 915 mm die nachstehenden Werte eingehalten werden.

Die Werte von δh, δν+ und δν- der folgenden Tabelle:

Tabelle 25: Werte von δh, δν+ und δν- für den Sonderfall Vereinigtes Königreich

δh(mm) δν+ (mm) δν- (mm)
Auf geradem, ebenem Gleis 200 230 160
Auf einem Gleis mit Bogenhalbmesser 300 m 290 230 160

Alternativ kann die Position auch den zu diesem Zweck notifizierten nationalen technischen Vorschriften entsprechen.

____________________

1) Verordnung (EG) Nr. 1371/2007 des Europäischen Parlaments und des Rates vom 23. Oktober 2007 über die Rechte und Pflichten der Fahrgäste im Eisenbahnverkehr (ABl. L 315 vom 03.12.2007 S. 14).

2) Durchführungsbeschluss 2011/633/EU der Kommission vom 15. September 2011 zu den gemeinsamen Spezifikationen des Eisenbahn-Infrastrukturregisters (ABl. L 256 vom 01.10.2011 S. 1).

3) Durchführungsbeschluss 2011/665/EU der Kommission vom 4. Oktober 2011 über das Europäische Register genehmigter Schienenfahrzeugtypen (ABl. L 264 vom 08.10.2011 S. 32).

4) Entscheidung 2008/164/EG der Kommission vom 21. Dezember 2007 über die technische Spezifikation für die Interoperabilität bezüglich eingeschränkt mobiler Personen im konventionellen transeuropäischen Eisenbahnsystem und im transeuropäischen Hochgeschwindigkeitsbahnsystem (ABl. L 64 vom 07.03.2008 S. 72.)

5) Durchführungsverordnung (EU) 2019/772 der Kommission vom 16. Mai 2019 zur Änderung der Verordnung (EU) Nr. 1300/2014 bezüglich des Bestandsregisters im Hinblick auf die Feststellung von Zugänglichkeitsbarrieren, die Information der Nutzer und die Überwachung und Bewertung der Fortschritte auf dem Gebiet der Zugänglichkeit (ABl. L 139 I vom 27.05.2019 S. 1).

.

Normen oder Dokumente mit normativem Charakter, auf die in dieser TSI verwiesen wird Anlage A


TSI Normatives Dokument
Ziffer Zu bewertende Merkmale Abschnitt
dieses Anhangs
Nummer des Dokuments Verbindliche
Bestimmungen
1 Abmessungen der Hublifte
Taktile Zeichen
4.2.1.2.2
4.2.1.10
EN 81-70:2003+A1:2004 Abschnitt 5.3.1,
Tabelle 1

Anhang E.4

2 Bauweise von Fahrtreppen und Fahrsteigen 4.2.1.2.2 EN 115-1:2008+A1:2010
3 Beleuchtung auf Bahnsteigen 4.2.1.9 EN 12464-2:2014 Tabelle 5.12, außer den Nummern 5.12.16 und 5.12.19
4 Beleuchtung auf Bahnsteigen 4.2.1.9 EN 12464-1:2011 Abschnitt 5.53.1
5 Sprachübertragungsindex, Bahnhöfe und Fahrzeuge 4.2.1.11
4.2.2.7.4
EN 60268-16:2011 Anhang B
6 Beleuchtung in Fahrzeugen 4.2.2.4 EN 13272:2012 Abschnitt 4.1.2
7 Sicherheits-, Warn-, Gebots- und Verbotszeichen 4.2.2.7.2 ISO 3864-1:2011 Gesamtes Dokument
8 Berechnung von bq0 4.2.2.11.1 EN 15273-1:2013 Abschnitt H.2.1.1
9 Bewertung des Universaltoilettenmoduls 6.1.3.1 TS 16635:2014 Gesamtes Dokument
10 Farbdefinitionen 5.3.2.6 ISO 3864-1:2011
ISO 3864-4:2011
Kapitel 11
11 Mechanische Festigkeit der Einstiegsvorrichtung

Hinderniserkennung

5.3.2.8
5.3.2.8
FprEN 14752:2014 Abschnitt 4.2.2
Abschnitt 5.4
12 Symbol für die Kennzeichnung rollstuhlgerechter Bereiche Anlage N N.3 ISO 7000:2004
ISO 7001:2007
Symbol 0100 Symbol PIPF 006
13 Kennzeichnung von Induktionsschleifen Anlage N N.3 ETSI EN 301.462
(2000-03)
4.3.1.2
14 Sonderfall Finnland 7.3.2.6 EN 15273-2:2013 Anhang F

.

Befristete Vorrangregelung für die Umrüstung/Erneuerung von Bahnhöfen Anlage B


Werden bestehende Bahnhöfe mit einem täglichen Fahrgastaufkommen von maximal 1.000 Personen (abreisende und ankommende Fahrgäste zusammen, gemittelt über zwölf Monate) erneuert oder umgerüstet, müssen für diese Bahnhöfe keine Aufzüge oder Rampen vorgesehen werden, die andernfalls zur Bereitstellung eines stufenfreien Wegs erforderlich wären, sofern in einem anderen Bahnhof im Umkreis von 50 km an derselben Strecke ein hindernisfreier Weg vorhanden ist, der den Anforderungen vollauf entspricht. In solchen Fällen muss der Entwurf der Bahnhofsgestaltung die Möglichkeit beinhalten, Aufzüge und/oder Rampen zu einem späteren Zeitpunkt nachzurüsten, um den Bahnhof für Menschen mit Behinderungen und Menschen mit eingeschränkter Mobilität zugänglich zu machen. Für die Abwicklung der Beförderung von Menschen mit Behinderungen und Menschen mit eingeschränkter Mobilität mit Hilfe eines zugänglichen Mittels zwischen einem nicht zugänglichen Bahnhof und dem nächsten zugänglichen Bahnhof an derselben Strecke sind nationale Vorschriften anzuw enden.

.

Vorgeschriebene Angaben im nationalen Umsetzungsplan Anlage C

Kontext

  • Hintergrund (Zahlen und Fakten - Sozialdaten - Entwicklung der Mobilitätsbedürfnisse und -einschränkungen)
  • Rechtlicher Hintergrund
  • Methodik für die Ausarbeitung der nationalen Umsetzungspläne (konsultierte Verbände, konsultierte örtliche Verkehrsbehörden, Schnittstellen zu anderen nationalen Umsetzungsplänen usw.)

Aktuelle Situation

  • Bestandsübersicht: Bahnhöfe
  • Bestandsübersicht: Fahrzeuge
  • Bestandsübersicht: Betriebliche Regelungen

Strategiebestimmung

  • Vorrangregelung
  • Kriterien, nach denen Teilsysteme in dem Plan behandelt werden

Technische und betriebliche Mittel

  • Umfang der Umrüstung oder Erneuerung von Bahnhöfen und Fahrzeugen
  • Alle sonstigen Arbeiten zur Beseitigung von Zugangsbarrieren, die nicht unter Artikel 20 der Richtlinie 2008/57/EG fallen
  • Einsatz betrieblicher Maßnahmen (Hilfeleistung) als Ausgleich für noch bestehende Zugangsbarrieren

Finanzierung

  • Verweise auf vertragliche Vereinbarungen (Artikel 30 der Richtlinie 2012/34/EU 1) und öffentliche Dienstleistungsaufträge (Verordnung (EG) Nr. 1370/2007 2)
  • Sonstige Ressourcen

Folgemaßnahmen und Feedback

  • Aktualisierung des Anlagenverzeichnisses und Zielabgleich
  • Aktualisierung des Plans

_________

1) Richtlinie 2012/34/EU des Europäischen Parlaments und des Rates vom 21. November 2012 zur Schaffung eines einheitlichen europäischen Eisenbahnraums (ABl. Nr. L 342 vom 14.12.2012 S. 32).

2) Verordnung (EG) Nr. 1370/2007 des Europäischen Parlaments und des Rates vom 23. Oktober 2007 über öffentliche Personenverkehrsdienste auf Schiene und Straße und zur Aufhebung der Verordnungen (EWG) Nr. 1191/69 und (EWG) Nr. 1107/70 des Rates (ABl. Nr. L 315 vom 03.12.2007 S. 1).

.

Bewertung von Interoperabilitätskomponenten Anlage D


D.1 Inhalt

In dieser Anlage werden die Konformitäts- und die Gebrauchstauglichkeitsbewertung von Interoperabilitätskomponenten behandelt.

D.2 Merkmale

Die in der Entwurfs-, Entwicklungs- und Produktionsphase von Interoperabilitätskomponenten zu bewertenden Merkmale sind in Tabelle D.1 mit "X" gekennzeichnet.

Tabelle D.1 Bewertung von Interoperabilitätskomponenten

1 2 3 4 5
Bewertung in folgender Phase: Entwurfs- und Entwicklungsphase
Produktionsphase Zu bewertende
Interoperabilitäts-
komponenten
und Merkmale
Entwurfs-Review
und/oder
Entwurfsprüfung
Prüfung des
Herstellungs-
prozesses
Baumuster-
prüfung
Prüfung der
Konformität mit
dem Baumuster
5.3.1.1 Anzeigen X X X
5.3.1.2 Bahnsteigseitige Rampen X X X
5.3.1.3 Bahnsteigseitige Hublifte X X X
5.3.2.1 Bedienelemente von Türen X X X
5.3.2.2 und 5.3.2.3 Standardtoiletten X X X
5.3.2.2 und 5.3.2.4 Universaltoiletten X X X
5.3.2.5 Wickeltische X X X
5.3.2.6 Hilferufvorrichtungen X X X
5.3.2.7 Anzeigen X X X
5.3.2.8 Bewegliche Trittstufen und Überfahrbrücken X X X
5.3.2.9 Fahrzeugseitige Rampen X X X
5.3.2.10 Fahrzeugseitige Hublifte X X X

.

Bewertung der Teilsysteme Anlage E

E.1 Inhalt

Gegenstand dieser Anlage ist die Konformitätsbewertung der Teilsysteme.

E.2 Merkmale und Module

Die in der Entwurfs-, Entwicklungs- und Produktionsphase von Teilsystemen zu bewertenden Merkmale sind in Tabelle E.1 (Infrastruktur) und in Tabelle E.2 (Fahrzeuge) mit "X" gekennzeichnet.

Tabelle E.1 Bewertung des Teilsystems "Infrastruktur" (als einzelne Einheit gebaut und geliefert)

1 2 3
Zu bewertende Merkmale Entwurfs- und
Entwicklungsphase
Bauphase
Entwurfs-Review
und/oder
Entwurfsprüfung
Prüfung vor Ort
Parkmöglichkeiten für Menschen mit Behinderungen und Menschen mit eingeschränkter Mobilität X (X) *
Hindernisfreie Wege X (X) *
Kennzeichnung der Wege X (X)( *
Türen und Eingänge X (X) *
Fußböden X (X) *
Transparente Hindernisse X (X) *
Toiletten X (X) *
Einrichtungsgegenstände und frei stehende Objekte X (X) *
Fahrkartenschalter/Fahrkartenautomaten, Informationsschalter, Fahrkartenkontrollgeräte, Drehkreuze, Kundenbetreuungsschalter X (X) *
Beleuchtung X X
Visuelle Informationen: Wegweiser, Piktogramme und dynamische Informationen X (X) *
Gesprochene Informationen X X
Breite des Bahnsteigs und Bahnsteigkante X (X) *
Bahnsteigende X (X) *
Schienengleiche Bahnübergänge in Bahnhöfen X (X) *
*) Weichen die geprüften Entwurfsvorgaben oder Konstruktionszeichnungen und die tatsächliche Ausführung voneinander ab, so sind die Zeichnungen des Ist-Zustandes bereitzustellen oder Vor-Ort-Prüfungen durchzuführen.

Tabelle E.2 Bewertung des Teilsystems "Fahrzeuge" (als Serienprodukte gebaut und geliefert)

1 2 3 4
Zu bewertende Merkmale Entwurfs- und Entwicklungsphase Produktions-
phase
Entwurfs-Review
und/oder Entwurfs-
prüfung
Baumuster-
prüfung
Serien-
prüfung
Sitze
Allgemeines X X
Vorrangsitze allgemein X
Sitze in Reihenanordnung X X
Sitze in Visà-vis-Anordnung X X
Rollstuhlplätze X X
Türen
Allgemeines X X
Außentüren X X
Innentüren X X
Beleuchtung X
Toiletten X
Lichte Räume X
Kundeninformationen
Allgemeines X X
Zeichen, Piktogramme und taktile Informationen X X
Dynamische visuelle Informationen X X
Dynamische akustische Informationen X X
Niveauwechsel X
Handläufe X X
Rollstuhlgerechte Schlafgelegenheiten X X
Position von Stufen zum Ein- und Ausstieg
Allgemeine Anforderungen X
Stufen zum Ein- und Ausstieg X
Einstiegshilfen X X X

.

Erneuerung oder Umrüstung von Fahrzeugen Anlage F

Bei der Erneuerung oder Umrüstung von Fahrzeugen müssen diese mit der vorliegenden TSI in Einklang gebracht werden. In folgenden Fällen ist die Einhaltung der TSI jedoch nicht vorgeschrieben:

Fahrzeugstruktur

Die Konformität ist nicht vorgeschrieben, wenn die Arbeiten strukturelle Änderungen an Türportalen (innen oder außen), Drehgestellen, Fahrzeugsäulen, Wagenkästen und Überfahrschutzvorrichtungen oder generell eine erneute Prüfung der strukturellen Integrität des Fahrzeugs erfordern würden.

Sitze

Die Anforderungen in Abschnitt 4.2.2.1 in Bezug auf Haltegriffe an der Rückseite von Sitzen sind nur dann zu erfüllen, wenn im gesamten Fahrzeug die Sitzgestelle erneuert oder umgerüstet werden.

Die Anforderungen in Abschnitt 4.2.2.1.2 in Bezug auf die Abmessungen von Vorrangsitzen und des Umfelds sind nur dann zu erfüllen, wenn im gesamten Zug die Sitzanordnung geändert wird und dadurch die bestehende Kapazität des Zuges nicht verringert werden muss. In letzterem Fall ist die Höchstanzahl von Vorrangsitzen bereitzustellen, ohne die bestehende Kapazität zu verändern.

Die Anforderungen an die lichte Höhe über den Vorrangsitzen müssen nicht erfüllt werden, wenn die lichte Höhe durch Gepäckablagen, die im Rahmen der Erneuerung/Umrüstung strukturell nicht verändert werden, begrenzt wird.

Rollstuhlplätze

Die Bereitstellung von Rollstuhlplätzen ist nur dann gefordert, wenn im gesamten Zug die Sitzplatzanordnung geändert wird. Ist es jedoch nicht möglich, die Einstiegstür oder die lichten Räume rollstuhlgerecht anzupassen, so muss bei einer Änderung der Sitzanordnung kein Rollstuhlplatz vorgesehen werden. In vorhandenen Fahrzeugen geschaffene Rollstuhlplätze dürfen gemäß Anlage I Abbildung I4 angeordnet werden.

Hilferufvorrichtungen an Rollstuhlplätzen sind nicht vorgeschrieben, wenn das Fahrzeug über kein elektrisches Kommunikationssystem verfügt, das an eine solche Hilferufvorrichtung angepasst werden kann.

Die Bereitstellung eines Transfersitzes ist nur dann vorgeschrieben, wenn die Anordnung eines vorhandenen Rollstuhlplatzes dadurch nicht verändert werden muss.

Außentüren

Die Vorschrift, die Position von Außentüren im Fahrzeuginnern durch eine in Kontrast stehende Bodenmarkierung zu kennzeichnen, ist nur dann zu erfüllen, wenn der Fußbodenbelag erneuert oder umgerüstet wird.

Die Anforderung, die Signalgebung beim Öffnen und Schließen von Türen vorzusehen, ist nur dann zu erfüllen, wenn die Türsteuerungsanlage erneuert oder umgerüstet wird.

Die Anforderungen an die Position und die Beleuchtung von Türbedienelementen sind nur dann vollständig zu erfüllen, wenn die Türsteuerungsanlage erneuert oder umgerüstet wird und die Bedienelemente ohne Veränderung des Fahrzeugrahmens oder der Tür neu positioniert werden können. Allerdings sind in diesem Fall die erneuerten oder umgerüsteten Bedienelemente so nah wie möglich an der vorgeschriebenen Stelle anzubringen.

Innentüren

Die Anforderungen bezüglich des Kraftaufwands zum Betätigen der Türbedienelemente und bezüglich ihrer Position sind nur dann zu erfüllen, wenn die Tür und der Türmechanismus und/oder die Türbedienelemente erneuert oder umgerüstet werden.

Beleuchtung

Die Anforderungen müssen nicht erfüllt werden, wenn nachgewiesen werden kann, dass die Kapazität der elektrischen Anlage zur Aufnahme einer zusätzlichen Last nicht ausreicht oder dass die Beleuchtung nur durch bauliche Veränderungen (Türöffnungen usw.) realisiert werden kann.

Toiletten

Die Anforderungen an die Bereitstellung einer vollständig konformen Universaltoilette sind nur dann zu erfüllen, wenn vorhandene Toiletten vollständig erneuert oder umgerüstet werden, ein Rollstuhlplatz vorhanden ist und eine konforme Universaltoilette ohne bauliche Veränderungen des Wagenkastens installiert werden kann.

Eine Hilferufvorrichtung in Universaltoiletten ist nicht vorgeschrieben, wenn das Fahrzeug über kein elektrisches Kommunikationssystem verfügt, das an eine solche Hilferufvorrichtung angepasst werden kann.

Lichte Räume

Die Anforderungen in Abschnitt 4.2.2.6 sind nur dann zu erfüllen, wenn im gesamten Fahrzeug die Sitzanordnung geändert wird und ein Rollstuhlplatz vorhanden ist.

Die Anforderungen in Bezug auf die lichten Räume zwischen miteinander verbundenen Fahrzeugen sind nur dann zu erfüllen, wenn der Wagenübergang erneuert oder umgerüstet wird.

Informationen

Die Anforderungen in Abschnitt 4.2.2.7 in Bezug auf Streckeninformationen müssen bei Erneuerungs- oder Umrüstungsmaßnahmen nicht erfüllt werden. Wird im Rahmen eines Erneuerungs- oder Umrüstungsprogramms jedoch ein automatisches Streckeninformationssystem installiert, so muss dieses den Anforderungen des genannten Abschnitts entsprechen.

Die übrigen Anforderungen des Abschnitts 4.2.2.7 sind zu erfüllen, wenn Zeichen oder Inneneinrichtungen erneuert oder umgerüstet werden.

Niveauwechsel

Die Anforderungen in Abschnitt 4.2.2.8 müssen bei Erneuerungs- oder Umrüstungsmaßnahmen nicht erfüllt werden, mit der Ausnahme, dass bei der Erneuerung oder Umrüstung von Stufenbelägen die Stufenkanten mit in Kontrast stehenden Warnbändern zu versehen sind.

Handläufe

Die Anforderungen in Abschnitt 4.2.2.9 sind nur dann zu erfüllen, wenn bereits vorhandene Handläufe erneuert oder umgerüstet werden.

Rollstuhlgerechte Schlafgelegenheiten

Die Anforderungen an die Bereitstellung rollstuhlgerechter Schlafgelegenheiten sind nur dann zu erfüllen, wenn bereits vorhandene Schlafgelegenheiten erneuert oder umgerüstet werden.

Hilferufvorrichtungen in rollstuhlgerechten Schlafgelegenheiten sind nicht vorgeschrieben, wenn das Fahrzeug über kein elektrisches Kommunikationssystem verfügt, das an eine solche Hilferufvorrichtung angepasst werden kann.

Stufenposition, Stufen und Einstiegshilfen

Die Anforderungen in den Abschnitten 4.2.2.11 und 4.2.2.12 müssen bei Erneuerungs- oder Umrüstungsmaßnahmen nicht erfüllt werden, mit der Ausnahme, dass beim Einbau beweglicher Trittstufen oder anderer integrierter Einstiegshilfen diese den jeweiligen Unterabschnitten der genannten Abschnitte entsprechen müssen.

Wird im Rahmen der Erneuerung oder Umrüstung jedoch ein Rollstuhlplatz gemäß Abschnitt 4.2.2.3 eingerichtet, so muss eine den Anforderungen in Abschnitt 4.4.3 entsprechende Einstiegshilfe bereitgestellt werden.

.

Akustische Warnsignale für Fahrgast-Außentüren Anlage G

Öffnen der Tür - Merkmale

  • Langsam pulsierender (bis zu zwei Impulse pro Sekunde) Mehrklangton aus zwei aufeinander folgenden Tönen.
  • Frequenzen
    • 2.200 Hz ± 100 Hz
  • und
    • 1.760 Hz ± 100 Hz
  • Schalldruckpegel
    • Entweder durch
    • eine geregelte akustische Warneinrichtung, eingestellt auf mindestens 5 dB LAeq über Umgebungsgeräusch bis max. 70 dB LAeq,T (+ 6/- 0),
    • oder eine ungeregelte Warneinrichtung, eingestellt auf 70 dB LAeq,T (+ 6/- 0).
    • Im Innern gemessen am Mittelpunkt des Vorraums 1,5 m über dem Boden. (T = Gesamtdauer des Signals) Verwendung einer Messanordnung (horizontal und anschließend vertikal) und gemittelter Messwerte.
    • Außerhalb des Fahrzeugs gemessen 1,5 m von der Mittellinie der Türaußenseite entfernt in einer Höhe von 1,5 m über dem Bahnsteig. (T = Gesamtdauer des Signals) Verwendung einer (horizontalen) Messanordnung und gemittelter Messwerte.

Schließen der Tür - Merkmale

  • Schnell pulsierender Ton (sechs bis zehn Impulse pro Sekunde)
  • Frequenz
    • 1.900 Hz ± 100 Hz
  • Schalldruckpegel
    • Entweder durch
    • eine geregelte akustische Warneinrichtung, eingestellt auf mindestens 5 dB LAeq über Umgebungsgeräusch bis max. 70 dB LAeq,T (+ 6/- 0),
    • oder eine ungeregelte Warneinrichtung, eingestellt auf 70 dB LAeq,T (+ 6/- 0).
    • Im Innern gemessen am Mittelpunkt des Vorraums 1,5 m über dem Boden. (T = Gesamtdauer des Signals) Verwendung einer Messanordnung (horizontal und anschließend vertikal) und gemittelter Messwerte.
    • Außerhalb des Fahrzeugs gemessen 1,5 m von der Mittellinie der Türaußenseite entfernt in einer Höhe von 1,5 m über dem Bahnsteig. (T = Gesamtdauer des Signals) Verwendung einer (horizontalen) Messanordnung und gemittelter Messwerte.

Messung akustischer Warnsignale für Fahrgasttüren (Öffnen und Schließen) im Innern

  • Die Versuche sind im Vorraum unter Verwendung des Mittelwerts aus einer Messanordnung mit mehreren Mikrofonen durchzuführen (wie bei Messung des Signalhorn-Schalldrucks im Führerstand gemäß der TSI "Lärm", Entscheidung 2006/66/EG 1); die Messanordnung besteht aus acht Mikrofonen, die auf einem Kreis mit einem Durchmesser von 250 mm gleichmäßig verteilt sind.
  • Die Messungen sind mit horizontaler Messanordnung durchzuführen (alle Mikrofone auf gleicher Höhe über dem Boden, siehe Abb. G1). Zur Bewertung wird der aus den Werten aller acht Mikrofone bestimmte Mittelwert herangezogen.

Abbildung G1 Horizontale Messanordnung

Messung akustischer Warnsignale für Fahrgasttüren (Öffnen und Schließen) außerhalb des Fahrzeugs

  • Die Versuche sind unter Verwendung des Mittelwerts aus einer Messanordnung mit mehreren Mikrofonen durchzuführen (wie bei Messung des Signalhorn-Schalldrucks im Führerstand gemäß der TSI "Lärm", Entscheidung 2006/66/EG); die Messanordnung besteht aus acht Mikrofonen, die auf einem Kreis mit einem Durchmesser von 250 mm gleichmäßig verteilt sind.
  • Bei der Außenmessung sollte sich die zugrunde gelegte Bahnsteighöhe nach der Strecke richten, auf der das Fahrzeug eingesetzt werden soll (bei verschiedenen Bahnsteighöhen ist die geringere Höhe zu verwenden; befinden sich an der Strecke zum Beispiel 760 mm und 550 mm hohe Bahnsteige, so ist der Versuch für die geringere Bahnsteighöhe von 550 mm durchzuführen).
  • Die Messungen sind mit horizontaler Messanordnung durchzuführen (alle Mikrofone auf gleicher Höhe über dem Bahnsteig). Zur Bewertung wird der aus den Werten aller acht Mikrofone bestimmte Mittelwert herangezogen.

Bei Verwendung einer geregelten akustischen Warneinrichtung muss diese vor Aussendung des Warntons zunächst den Schallpegel der Umgebungsgeräusche bestimmen, und zwar in einem Frequenzbereich von 500 Hz bis 5.000 Hz.

Die Messungen für den Konformitätsnachweis müssen an drei verschiedenen Türen im Zug durchgeführt werden.

Anmerkung: Für den Schließversuch muss die Tür vollständig geöffnet und für den Öffnungsversuch vollständig geschlossen sein.

____________

1) Entscheidung 2006/66/EG der Kommission vom 23. Dezember 2005 über die Technische Spezifikation für die Interoperabilität (TSI) zum Teilsystem Fahrzeuge - Lärm des konventionellen transeuropäischen Bahnsystems (ABl. Nr. L 37 vom 08.02.2006 S. 1).

.

Schematische Darstellung von Vorrangsitzen Anlage H

Legende zu den Abbildungen H1 bis H4

1 - Messebene für Sitzflächen

2 - Abstand zwischen Visà-vis-Sitzen

3 - Lichte Höhe über den Sitzen

Abbildung H1 Lichte Höhe über den Vorrangsitzen

Abbildung H2 Vorrangsitze in Reihenanordnung

Abbildung H3 Vorrangsitze in Visà-vis-Anordnung

Abbildung H4 Visà-vis-Vorrangsitze mit weggeklapptem Tisch

.

Schematische Darstellung von Rollstuhlplätzen Anlage I


Abbildung I1 Rollstuhlplatz mit Visà-vis-Sitzanordnung

1 - Aufbau hinter dem Rollstuhlplatz

2 - Vorderkante des Fahrgastsitzpolsters

3 - Rollstuhlplatz

Abbildung I2 Rollstuhlplatz in Reihenanordnung

1 - Aufbau hinter dem Rollstuhlplatz

2 - Rückseite des vorderen Fahrgastsitzes

3 - Rollstuhlplatz

Abbildung I3 Zwei Visà-vis-Rollstuhlplätze

1 - Aufbau hinter dem Rollstuhlplatz

2 - Mindestabstand zwischen Rollstuhlplätzen 250 mm

3 - Rollstuhlplatz

Abbildung I4 Zwei nebeneinander angeordnete Rollstuhlplätze (gilt nur für umgerüstete/erneuerte Fahrzeuge)

1 - Aufbau hinter dem Rollstuhlplatz

2 - Struktur vor dem Rollstuhlplatz

3 - Doppelter Rollstuhl platz

.

Schematische Darstellung der lichten Räume Anlage J

Abbildung J1 Mindestbreite des lichten Raums vom Boden bis zu einer Höhe von 1.000 mm

1 - Lichter Raum im Längsschnitt

2 - Draufsicht (25-975 mm über dem Boden)

Abbildung J2 Mindestlichtraum der Übergänge zwischen miteinander verbundenen Wagen eines Zugteils

Abbildung J3 Mindestlichtraum der Verbindungen zwischen Rollstuhlplätzen

.

Gangbreite in rollstuhlgerechten Fahrzeugbereichen Anlage K

Tabelle K1

Lichte Gangbreite (mm) 1200 1100 1000 900 850 800
Nutzbare Türbreite oder lichte Breite des Querganges (mm) 800 850 900 1000 1100 1200

.

Reichweite von Rollstuhlfahrern Anlage L

Abbildung L1 Reichweite von Rollstuhlfahrern

1 - Bequeme Reichweite

2 - Sitzbezugspunkt

.

Im Zug transportierbare Rollstühle Anlage M


M.1 Inhalt

Diese Anlage enthält die Grenzwerte für die technische Ausführung im Zug transportierbarer Rollstühle.

M.2 Merkmale

Technische Mindestanforderungen:

Grundlegende Abmessungen

  • Breite 700 mm zuzüglich 50 mm an jeder Seite für die Hände bei Fortbewegung
  • Länge 1.200 mm zuzüglich 50 mm für die Füße

Räder

  • Das kleinste Rad muss einen Spalt mit 75 mm horizontaler und 50 mm vertikaler Abmessung überwinden können.

Höhe

  • Höchstens 1.375 mm einschließlich eines männlichen Rollstuhlfahrers (95. Perzentil)

Wendekreis

  • 1.500 mm

Gewicht

  • Elektro-Rollstühle, die ohne Schiebehilfe eine Einstiegshilfe überqueren können: Höchstgewicht 300 kg für Rollstuhl

mit Rollstuhlfahrer (einschließlich Gepäck)

  • Handrollstühle: Höchstgewicht 200 kg für Rollstuhl mit Rollstuhlfahrer (einschließlich Gepäck)

Überwindbare Hindernishöhe und Bodenfreiheit

  • Maximale Höhe eines überwindbaren Hindernisses: 50 mm
  • Bei einem Steigungswinkel von 10° muss die Bodenfreiheit für die Vorwärtsfahrt am Ende der Steigung mindestens 60 mm (unter der Fußstütze) betragen.

Maximaler Neigungswinkel, bei dem der Rollstuhl stabil bleibt

  • Dynamische Stabilität in allen Richtungen bei einem Winkel von 6 Grad
  • Statische Stabilität in allen Richtungen (auch bei angezogener Bremse) bei einem Winkel von 9 Grad

.

Zeichen für Menschen mit Behinderungen und Menschen mit eingeschränkter Mobilität Anlage N

N.1 Inhalt

In dieser Anlage werden die spezifischen Zeichen festgelegt, die sowohl im Bereich der Infrastruktur wie auch in den Fahrzeugen zu verwenden sind.

N.2 Abmessungen der Zeichen

Infrastruktur-Zeichen für Menschen mit Behinderungen und Menschen mit eingeschränkter Mobilität sind nach folgender Formel zu bemessen:

  • Leseabstand in mm geteilt durch 250, multipliziert mit 1,25 = Rahmengröße in mm, sofern ein Rahmen verwendet wird.

Zeichen für Menschen mit Behinderungen und Menschen mit eingeschränkter Mobilität im Fahrzeuginnern müssen eine Kantenlänge von mindestens 60 mm haben. Davon ausgenommen sind Zeichen für Toiletten- oder Kleinstkindversorgungseinrichtungen, die kleiner sein dürfen.

Zeichen für Menschen mit Behinderungen und Menschen mit eingeschränkter Mobilität an der Fahrzeugaußenseite müssen eine Kantenlänge von mindestens 85 mm haben.

N.3 Auf den Zeichen zu verwendende Symbole

Die Zeichen gemäß Abschnitt 4.2.1.10 müssen ein weißes Symbol auf nachtblauem Hintergrund haben. Der relative Kontrast von Nachtblau zu Weiß muss 0,6 betragen.

Werden die Zeichen auf einer nachtblauen Tafel angebracht, so dürfen die Farben invertiert werden, d. h. nachtblaues Symbol auf weißem Hintergrund.

Internationales Rollstuhlzeichen

Das Zeichen zur Markierung rollstuhlgerechter Bereiche muss ein Symbol gemäß der in Anlage A Ziffer 12 genannten Spezifikation enthalten.

Kennzeichnung von Induktionsschleifen

Das Zeichen, das die Lage von Induktionsschleifen anzeigt, muss ein Symbol gemäß der in Anlage A Ziffer 13 genannten Spezifikation enthalten.

Kennzeichnung von Vorrangsitzen

Das Zeichen, das die Lage von Vorrangsitzen anzeigt, muss auch die in Abbildung N1 gezeigten Symbole enthalten.

Abbildung N1 Symbole für Vorrangsitze



.

Liste der technischen Dokumente Anlage O


Index Bezeichnung
1 Harmonisiertes spezifisches Profil für den Netzwerk- und Fahrplan-Austausch (NeTEx), das für die Beschreibung von Bahnhöfen verwendet wird
2 Betriebsarten des Datenerfassungsinstruments
3 Methodik für die Konvertierung vorhandener Barrierefreiheitsdaten mit Beschreibung der externen Schnittstelle und des Kommunikationsprotokolls


ENDE

umwelt-online - Demo-Version


(Stand: 30.11.2023)

Alle vollständigen Texte in der aktuellen Fassung im Jahresabonnement
Nutzungsgebühr: 90.- € netto (Grundlizenz)

(derzeit ca. 7200 Titel s.Übersicht - keine Unterteilung in Fachbereiche)

Preise & Bestellung

Die Zugangskennung wird kurzfristig übermittelt

? Fragen ?
Abonnentenzugang/Volltextversion