umwelt-online: Verordnung (EU) Nr. 1302/2014 über eine technische Spezifikation für die Interoperabilität des Teilsystems "Fahrzeuge - Lokomotiven und Personenwagen" des Eisenbahnsystems in der Europäischen Union (3)
![]() |
![]() |
6.2.3.6. Entwurfswerte für neue Radprofile (Abschnitt )19
(1) Bei Einheiten, die in Netzen mit einer Spurweite von 1.435 mm betrieben werden sollen, sind das Radprofil und das Spurmaß (Maß SR in Abschnitt Abb. 1) so zu wählen, dass die in der folgenden Tabelle 11 angegebenen Grenzwerte für die äquivalente Konizität nicht überschritten werden, wenn der konstruierte Radsatz mit jedem Satz von Gleisparametern kombiniert wird, der in der folgenden Tabelle 12 aufgeführt ist.
Die Ermittlung der äquivalenten Konizität wird in der in Anlage J-1 Ziffer 107 genannten Spezifikation beschrieben.
Tabelle 11: Grenzwerte für die äquivalente Konizität beim Entwurf
| Maximale Betriebsgeschwindigkeit des Fahrzeugs (km/h) | Grenzwerte für die äquivalente Konizität | Prüfbedingungen (siehe Tabelle 12) |
| d 60 | - | - |
| > 60 und < 190 | 0,30 | Alle |
| ≥ 190 und ≤ 230 | 0,25 | 1, 2, 3, 4, 5 und 6 |
| > 230 und ≤ 280 | 0,20 | 1, 2, 3, 4, 5 und 6 |
| > 280 und ≤ 300 | 0,10 | 1, 3, 5 und 6 |
| > 300 | 0,10 | 1 und 3 |
Tabelle 12: Gleis-Prüfbedingungen für die äquivalente Konizität zur Repräsentation des Eisenbahnnetzes; Definition sämtlicher Schienenprofile in der in Anlage J-1 Ziffer 85 genannten Spezifikation
| Prüfbedingung Nr. | Schienenkopfprofil | Schieneneinbauneigung | Spurweite |
| 1 | Schienenprofil 60 E 1 | 1:20 | 1.435 mm |
| 2 | Schienenprofil 60 E 1 | 1:40 | 1.435 mm |
| 3 | Schienenprofil 60 E 1 | 1:20 | 1.437 mm |
| 4 | Schienenprofil 60 E 1 | 1:40 | 1.437 mm |
| 5 | Schienenprofil 60 E 2 | 1:40 | 1.435 mm |
| 6 | Schienenprofil 60 E 2 | 1:40 | 1.437 mm |
| 7 | Schienenprofil 54 E1 | 1:20 | 1.435 mm |
| 8 | Schienenprofil 54 E1 | 1:40 | 1.435 mm |
| 9 | Schienenprofil 54 E1 | 1:20 | 1.437 mm |
| 10 | Schienenprofil 54 E1 | 1:40 | 1.437 mm |
Es wird davon ausgegangen, dass die Anforderungen dieses Abschnitts von Radsätzen erfüllt werden, die unverschlissene Profile S1002 oder GV 1/40 nach der Definition in der in Anlage J-1 Ziffer 86 genannten Spezifikation und ein Spurmaß zwischen 1.420 mm und 1.426 mm aufweisen.
(2) Bei Einheiten, die für den Betrieb auf einer Spurweite von 1.524 mm konstruiert sind, müssen Radprofil und Spurmaß anhand der folgenden (in den Tabellen 13 und 14 genannten) Eingangsparameter ausgewählt werden:
Tabelle 13: Grenzwerte für die äquivalente Konizität beim Entwurf
| Maximale Betriebsgeschwindigkeit des Fahrzeugs (km/h) | Grenzwerte für die äquivalente Konizität | Prüfbedingungen (siehe Tabelle 14) |
| ≤ 60 | - | - |
| > 60 und ≤ 190 | 0,30 | 1, 2, 3, 4, 5 und 6 |
| > 190 und ≤ 230 | 0,25 | 1, 2, 3 und 4 |
| > 230 und ≤ 280 | 0,20 | 1, 2, 3 und 4 |
| > 280 und ≤ 300 | 0,10 | 3, 4, 7 und 8 |
| > 300 | 0,10 | 7 und 8 |
Tabelle 14: Gleis-Prüfbedingungen, Definition sämtlicher Schienenprofile in der in Anlage J-1 Ziffer 85 genannten Spezifikation
| Prüfbedingung Nr. | Schienenkopfprofil | Schieneneinbauneigung | Spurweite |
| 1 | Schienenprofil 60 E 1 | 1:40 | 1.524 mm |
| 2 | Schienenprofil 60 E 1 | 1:40 | 1.526 mm |
| 3 | Schienenprofil 60 E 2 | 1:40 | 1.524 mm |
| 4 | Schienenprofil 60 E 2 | 1:40 | 1.526 mm |
| 5 | Schienenprofil 54 E1 | 1:40 | 1.524 mm |
| 6 | Schienenprofil 54 E1 | 1:40 | 1.526 mm |
| 7 | Schienenprofil 60 E 1 | 1:20 | 1.524 mm |
| 8 | Schienenprofil 60 E 1 | 1:20 | 1.526 mm |
Es wird davon ausgegangen, dass die Anforderungen dieses Abschnitts von Radsätzen erfüllt werden, die unverschlissene Profile S1002 oder GV 1/40 nach der Definition in der in Anlage J-1 Ziffer 86 genannten Spezifikation und ein Spurmaß von 1.510 mm aufweisen.
(3) Bei Einheiten, die für den Betrieb auf einer Spurweite von 1.668 mm konstruiert sind, müssen Radprofil und Spurmaß anhand der folgenden (in den Tabellen 15 und 16 genannten) Eingangsparameter ausgewählt werden:
Tabelle 15: Grenzwerte für die äquivalente Konizität beim Entwurf
| Maximale Betriebsgeschwindigkeit des Fahrzeugs (km/h) | Grenzwerte für die äquivalente Konizität | Prüfbedingungen (siehe Tabelle 16) |
| ≤ 60 | - | - |
| > 60 und < 190 | 0,30 | Alle |
| ≥ 190 und ≤ 230 | 0,25 | 1 und 2 |
| > 230 und ≤ 280 | 0,20 | 1 und 2 |
| > 280 und ≤ 300 | 0,10 | 1 und 2 |
| > 300 | 0,10 | 1 und 2 |
Tabelle 16: Gleis-Prüfbedingungen für die äquivalente Konizität; Definition sämtlicher Schienenprofile in der in Anlage J-1 Ziffer 85 genannten Spezifikation
| Prüfbedingung Nr. | Schienenkopfprofil | Schieneneinbauneigung | Spurweite |
| 1 | Schienenprofil 60 E 1 | 1:20 | 1.668 mm |
| 2 | Schienenprofil 60 E 1 | 1:20 | 1 670 mm |
| 3 | Schienenprofil 54 E1 | 1:20 | 1.668 mm |
| 4 | Schienenprofil 54 E1 | 1:20 | 1 670 mm |
Es wird davon ausgegangen, dass die Anforderungen dieses Abschnitts von Radsätzen erfüllt werden, die unverschlissene Profile S1002 oder GV 1/40 nach der Definition in der in Anlage J-1 Ziffer 86 genannten Spezifikation und ein Spurmaß zwischen 1.653 mm und 1.659 mm aufweisen.
6.2.3.7. Mechanische und geometrische Eigenschaften von Radsätzen (Abschnitt )
Radsätze:
(1) Der Nachweis der Konformität der Baugruppe muss auf der in Anlage J-1 Ziffer 87 genannten Spezifikation beruhen, in der Grenzwerte für die Axialkraft sowie die damit verbundenen Versuche festgelegt sind.
Radsatzwellen:
(2) Die Einhaltung der Anforderung an die mechanische Festigkeit und die Ermüdung des Radsatzes muss für Laufradsatzwellen gemäß den Abschnitten 4, 5 und 6 der in Anlage J-1 Ziffer 88 genannten Spezifikation und für Treibradsatzwellen gemäß den Abschnitten 4, 5 und 6 der in Anlage J-1 Ziffer 89 genannten Spezifikation nachgewiesen werden.
Die Entscheidungskriterien im Hinblick auf die höchstzulässige Spannung werden für Laufradsatzwellen in Abschnitt 7 der in Anlage J-1 Ziffer 88 genannten Spezifikation und für Treibradsatzwellen in Abschnitt 7 der in Anlage J-1 Ziffer 89 genannten Spezifikation angegeben.
(3) Die Lastzustände für die durchzuführenden Berechnungen sind in der in Abschnitt dieser TSI beschriebenen technischen Dokumentation ausdrücklich festgelegt.
Prüfung der hergestellten Räder:
(4) Bei der Herstellung ist ein Prüfverfahren durchzuführen, das sicherstellt, dass die Sicherheit nicht durch Defekte aufgrund von Veränderungen der mechanischen Eigenschaften der Radsatzwelle beeinträchtigt wird.
(5) Zu prüfen sind die Zugfestigkeit des Materials, die Schlagfestigkeit, die Unversehrtheit der Oberfläche, die Materialeigenschaften und die Materialreinheit.
Im Prüfverfahren sind für jedes zu prüfende Merkmal die vorgenommenen Stichproben anzugeben.
Radsatzlager:
(6) Die Erfüllung der Anforderungen an die mechanische Festigkeit und das Ermüdungsverhalten der Radsatzlager ist gemäß der in Anlage J-1 Ziffer 90 genannten Spezifikation nachzuweisen.
(7) Methode zur Konformitätsbewertung wie bei Radsätzen, Achsen und Rädern, wenn die europäischen Normen (EN) für die vorgeschlagene technische Lösung nicht maßgeblich sind:
Die Zugrundelegung anderer Normen ist zulässig, wenn die europäischen Normen auf die vorgeschlagene technische Lösung nicht anwendbar sind; in diesem Fall weist die benannte Stelle nach, dass die alternativen Normen Bestandteil einer technisch konsistenten Gruppe von Normen sind, die auf die jeweilige Gestaltung, Konstruktion und Prüfung der Radsätze, Räder, Achsen und Radsatzlager anwendbar sind und folgende Parameter betreffen:
Im oben vorgeschriebenen Nachweis kann nur auf öffentlich zugängliche Normen Bezug genommen werden.
(8) Sonderfall Radsätze, Achsen und Radsatzlager, die nach einem bestehenden Baumuster hergestellt werden:
Wenn Produkte nach einem Baumuster hergestellt werden, das entwickelt und bereits vor Inkrafttreten der maßgeblichen TSI für die betreffenden Produkte genutzt wurde, um Produkte in Verkehr zu bringen, kann der Antragsteller vom oben beschriebenen Verfahren zur Konformitätsbewertung abweichen und die Konformität mit den Anforderungen dieser TSI auch durch die Bezugnahme auf die Entwurfsprüfung und die Baumusterprüfung nachweisen, die in Verbindung mit früheren Anträgen unter vergleichbaren Bedingungen durchgeführt wurden. Dieser Nachweis ist zu dokumentieren. Dem Nachweis wird dasselbe Beweisniveau zugebilligt wie Modul oder einer Konstruktionsprüfung gemäß Modul .
6.2.3.7a Automatisches Umspursystem19
(1) Die in Nummer 5 vorgesehene und auf Ebene der Interoperabilitätskomponenten durchgeführte Sicherheitsanalyse ist auf Ebene der Einheit (Fahrzeug) zu konsolidieren; insbesondere die Annahmen gemäß Nummer 3 sind möglicherweise zu prüfen, um das Fahrzeug und dessen Einsatzzweck zu berücksichtigen.
(2) Die Bewertung der Integration der Interoperabilitätskomponente in das Fahrwerk/die Einheit und der technischen Kompatibilität mit der Umspuranlage umfasst:
6.2.3.8. Notbremsung (Abschnitt )
(1) Die zu prüfende Bremsleistung entspricht dem Bremsweg gemäß Anlage J-1 Ziffer 91. Die Verzögerung wird anhand des Bremsweges bewertet.
(2) Versuche müssen auf trockener Schiene mit folgenden Ausgangsgeschwindigkeiten (sofern niedriger als die vorgesehene Höchstgeschwindigkeit) durchgeführt werden: 30 km/h, 100 km/h, 120 km/h, 140 km/h, 160 km/h, 200 km/h, von 200 km/h bis zur vorgesehenen Höchstgeschwindigkeit der betreffenden Einheit in Schritten von höchstens 40 km/h.
(3) Versuche müssen für die Lastzustände der Einheiten "Auslegungsmasse, betriebsbereites Fahrzeug" und "Auslegungsmasse bei normaler Zuladung" und "maximale Bremsleistung" (gemäß den Abschnitten und ) durchgeführt werden.
(4) Wenn zwei der oben genannten Lastzustände zu ähnlichen Bedingungen für die Bremsprüfung führen wie in den maßgeblichen europäischen Normen oder in den sonstigen normativen Dokumenten, kann die Anzahl der Prüfbedingungen von drei auf zwei reduziert werden. Versuchsergebnisse müssen anhand einer Methodik evaluiert werden, die folgende Aspekte berücksichtigt:
6.2.3.9. Betriebsbremsung (Abschnitt )
(1) Die zu prüfende maximale Betriebsbremsleistung entspricht dem Bremsweg gemäß Anlage J-1 Ziffer 92. Die Verzögerung wird anhand des Bremsweges bewertet.
(2) Der Lastzustand der Einheit entspricht einem der in Abschnitt definierten Lastzustände.
(3) Versuchsergebnisse müssen anhand einer Methodik evaluiert werden, die folgende Aspekte berücksichtigt:
6.2.3.10. Gleitschutzsystem (Abschnitt )
(1) Wenn eine Einheit mit einem Gleitschutzsystem ausgerüstet ist, wird die Einheit unter geringem Kraftschluss einem Versuch gemäß der in Anlage J-1 Ziffer 93 genannten Spezifikation unterzogen, um das Verhalten des in die Einheit eingebauten Gleitschutzsystems zu prüfen (maximale Verlängerung des Bremswegs gegenüber dem Bremsweg auf trockener Schiene).
6.2.3.11. Sanitäre Systeme (Abschnitt )
(1) Wenn das sanitäre System die Freisetzung von Flüssigkeiten in die Umgebung (z.B. auf die Gleise) erlaubt, kann die Konformitätsbewertung auf vorherigen Betriebsversuchen basieren, wenn folgende Bedingungen erfüllt sind:
Wenn keine geeigneten Ergebnisse von Betriebsversuchen vorliegen, müssen Baumusterprüfungen durchgeführt werden.
6.2.3.12. Luftqualität im Inneren (Abschnitt und Abschnitt )
(1) Die Konformitätsbewertung des CO2-Niveaus kann bei Annahme einer Außenluftqualität mit 400 ppm CO2 und einer Emission von 32 g CO2 pro Fahrgast und Stunde durch die Berechnung der Frischluftvolumina ermittelt werden. Die zu berücksichtigende Anzahl der Fahrgäste wird von der Besetzung im Lastzustand "Auslegungsmasse bei normaler Zuladung" nach Abschnitt dieser TSI abgeleitet.
6.2.3.13. Auswirkungen der Wirbelzone auf Personen am Bahnsteig und auf Gleisarbeiter (Abschnitt )19
(1) Der Nachweis der Konformität mit dem in Abschnitt dieser TSI festgelegten Grenzwert der maximal zulässigen Luftgeschwindigkeit am Gleis ist anhand von Versuchen im 1:1 Maßstab auf geradem Gleisabschnitt, die gemäß Abschnitt 6.2.2.1 der in Anlage J-1 Ziffer 94 genannten Spezifikation durchgeführt werden, zu erbringen.
(2) Anstatt der vorgenannten vollständigen Bewertung ist es bei Fahrzeugen, deren Konstruktion der Konstruktion von Fahrzeugen ähnelt, für die die vollständige Bewertung nach dieser TSI durchgeführt wurde, zulässig, eine vereinfachte Bewertung durchzuführen. In solchen Fällen kann die in der in Anlage J-1 Ziffer 94 genannten Spezifikation festgelegte vereinfachte Konformitätsbewertung angewendet werden, sofern die Konstruktionsunterschiede innerhalb der Grenzen in Tabelle 7 der in Anlage J-1 Ziffer 94 genannten Spezifikation liegen.
6.2.3.14. Druckimpuls an der Zugspitze (Abschnitt )19
(1) Die Konformität wird auf der Grundlage umfassender Versuche unter den Bedingungen gemäß Abschnitt 6.1.2.1 der in Anlage J-1 Ziffer 95 genannten Spezifikation bewertet. Alternativ kann die Konformität auch durch Anwendung validierter numerischer Strömungssimulation (Computational Fluid Dynamics, CFD) gemäß Abschnitt 6.1.2.4 der in Anlage J-1 Ziffer 95 genannten Spezifikation oder anhand von Versuchen mit bewegten Modellen gemäß Abschnitt 6.1.2.2 der in Anlage J-1 Ziffer 95 genannten Spezifikation bewertet werden.
(2) Anstatt der vorgenannten vollständigen Bewertung ist es bei Fahrzeugen, deren Konstruktion der Konstruktion von Fahrzeugen ähnelt, für die die vollständige Bewertung nach dieser TSI durchgeführt wurde, zulässig, eine vereinfachte Bewertung durchzuführen. In solchen Fällen kann die in Abschnitt 4.1.4 der in Anlage J-1 Ziffer 95 genannten Spezifikation festgelegte vereinfachte Konformitätsbewertung angewendet werden, sofern die Konstruktionsunterschiede innerhalb der Grenzen in Tabelle 4 der in Anlage J-1 Ziffer 95 genannten Spezifikation liegen.
6.2.3.15. Maximale Druckschwankungen in Tunneln (Abschnitt )
(1) Die Konformität ist aufgrund umfassender Versuche nachzuweisen, die mindestens bei der Bezugsgeschwindigkeit in einem Tunnel mit einem Querschnitt durchgeführt werden, der dem im Referenzfall genannten Querschnitt möglichst nahe kommt. Die Übertragung auf die Referenzbedingung erfolgt mit einer validierten Simulationssoftware.
(2) Bei der Bewertung der Konformität vollständiger Züge oder Zugeinheiten wird von der maximalen Länge des jeweiligen Zugs oder der gekuppelten Zugeinheiten bis zu einer Länge von 400 m ausgegangen.
(3) Die Bewertung der Konformität von Lokomotiven oder von Steuerwagen erfolgt aufgrund von zwei beliebigen Zusammenstellungen mit einer Länge von mindestens 150 m. Bei einer Zusammenstellung muss sich eine Lokomotive oder ein Steuerwagen am Anfang (zur Prüfung von ΔpN) und bei der anderen eine Lokomotive oder ein Steuerwagen am Ende befinden (zur Prüfung von ΔpT).ΔpFr wird auf 1.250 Pa (bei Zügen mit vtr,max < 250 km/h) bzw. auf 1.400 Pa (bei Zügen mit vtr,max ≥ 250 km/h) eingestellt.
(4) Die Bewertung der Konformität von Reisezugwagen erfolgt an einem 400 m langen Zug. ΔpN wird auf 1.750 Pa und ΔpT auf 700 Pa (bei Zügen mit vtr,max < 250 km/h) bzw. auf 1.600 Pa und 1.100 Pa (bei Zügen mit vtr,max ≥ 250 km/h) eingestellt.
(5) Zum Abstand xp zwischen der Tunneleinfahrt und der Messposition sowie zu den Definitionen von ΔpFr, ΔpN, ΔpT, zur Mindestlänge des Tunnels und zu weiteren Informationen über die Ableitung der charakteristischen Druckschwankung siehe in Anlage J-1 Ziffer 96 genannte Spezifikation.
(6) Die Druckschwankung aufgrund der Änderungen zwischen dem Punkt der Tunneleinfahrt und dem Punkt der Tunnelausfahrt wird bei der Bewertung nicht berücksichtigt.
6.2.3.16. Seitenwind (Abschnitt )
(7) Das Verfahren zur Konformitätsbewertung wird in Abschnitt umfassend beschrieben.
6.2.3.17. Schalldruckpegel von Signalhörnern (Abschnitt )
(1) Die Schalldruckpegel des Signalhorns sind gemäß Abschnitt der in Anlage J-1 Ziffer 97 genannten Spezifikation zu prüfen.
6.2.3.18 Maximal zulässige Leistungs- und Stromaufnahme aus der Oberleitung (Abschnitt )
(1) Die Konformität der Luftabsperrhähne ist gemäß der in Anlage J-1 Ziffer 98 genannten Spezifikation zu bewerten.
6.2.3.19. Leistungsfaktor (Abschnitt )
(1) Die Konformitätsbewertung ist gemäß der in Anlage J-1 Ziffer 99 genannten Spezifikation durchzuführen.
6.2.3.19a. Fahrzeugseitiges Energiemesssystem (Abschnitt )18
(1) Energiemessfunktion (EMF)
Die Genauigkeit der einzelnen Geräte mit einer oder mehreren Teilfunktionen der EMF ist durch Prüfung der jeweiligen Funktionen unter Referenzbedingungen und anhand der Methode gemäß den Abschnitten 5.4.3.4.1, 5.4.3.4.2 und 5.4.4.3.1 der in Anlage J-1 Ziffer 117 genannten Spezifikation zu bewerten. Die Eingangsgrößen und der Leistungsfaktorbereich müssen bei der Prüfung den Werten in Tabelle 3 der in Anlage J-1 Ziffer 117 genannten Spezifikation entsprechen.
Die Auswirkungen der Temperatur auf die Genauigkeit der einzelnen Geräte mit einer oder mehreren Teilfunktionen der EMF sind durch Prüfung der jeweiligen Teilfunktionen unter Referenzbedingungen (mit Ausnahme der Temperatur) und anhand der relevanten Methode gemäß den Abschnitten 5.4.3.4.3.1 und 5.4.4.3.2.1 der in Anlage J-1 Ziffer 117 genannten Spezifikation zu bewerten.
Der mittlere Temperaturkoeffizient der einzelnen Geräte mit einer oder mehreren Teilfunktionen der EMF ist durch Prüfung der jeweiligen Teilfunktionen unter Referenzbedingungen (mit Ausnahme der Temperatur) und anhand der relevanten Methode gemäß den Abschnitten 5.4.3.4.3.2 und 5.4.4.3.2.2 der in Anlage J-1 Ziffer 120 genannten Spezifikation zu bewerten.
(2) Datenverarbeitungssystem (DHS)
Die Zusammenfassung und Verarbeitung der Daten innerhalb des DHS ist durch Prüfung anhand der Methode zu bewerten, die in der in Anlage J-1 Ziffer 121 genannten Spezifikation beschrieben ist.
(3) Fahrzeugseitiges Energiemesssystem (EMS)
Das EMS ist durch Prüfung gemäß der in Anlage J-1 Ziffer 122 genannten Spezifikation zu bewerten.
6.2.3.20. Dynamisches Verhalten der Stromabnehmer (Abschnitt )
(1) Wenn ein Stromabnehmer mit einer EG-Konformitäts- oder Gebrauchstauglichkeitserklärung als Interoperabilitätskomponente in eine Fahrzeugeinheit integriert ist, die nach der TSI LOC&PAS bewertet wird, werden dynamische Versuche zur Messung der mittleren Kontaktkraft und der Standardabweichung oder des prozentualen Anteils von Lichtbögen gemäß der in Anlage J-1 Ziffer 100 genannten Spezifikation bis zur Auslegungsgeschwindigkeit der Einheit durchgeführt.
(2) Bei einer Einheit, die für die Spurweiten 1.435 mm und 1.668 mm ausgelegt ist, werden die Versuche für jeden installierten Stromabnehmer in beiden Fahrtrichtungen durchgeführt und beinhalten Streckenabschnitte mit niedriger Fahrdrahthöhe (gemäß Definition zwischen 5,0 m und 5,3 m) und Streckenabschnitte mit hoher Fahrdrahthöhe (gemäß Definition zwischen 5,5 m und 5,75 m).
Bei Einheiten, die für die Spurweiten 1.520 mm und 1.524 mm ausgelegt sind, beinhalten die Prüfungen Streckenabschnitte mit Fahrdrahthöhen zwischen 6,0 und 6,3 m.
(3) Die Versuche werden mit mindestens drei Geschwindigkeitserhöhungen bis zu und einschließlich der Höchstgeschwindigkeit der Einheit gemäß Auslegung durchgeführt. Der Geschwindigkeitsunterschied zwischen den aufeinanderfolgenden Versuchen darf 50 km/h nicht überschreiten.
(4) Während des Versuchs ist die statische Kontaktkraft für jedes einzelne Energieversorgungssystem auf den in Abschnitt genannten Bereich einzustellen.
(5) Die Messergebnisse müssen entweder im Hinblick auf die mittlere Kontaktkraft und die Standardabweichung oder im Hinblick auf den prozentualen Anteil von Lichtbögen den Anforderungen in Abschnitt entsprechen.
6.2.3.21. Anordnung der Stromabnehmer (Abschnitt )
(1) Die Merkmale in Bezug auf das dynamische Verhalten der Stromabnehmer müssen gemäß dem vorstehenden Abschnitt 6.2.3.20 überprüft werden.
6.2.3.22. Stirnscheibe (Abschnitt )
(1) Die Merkmale der Stirnscheibe sind zu prüfen, wie in der in Anlage J-1 Ziffer 101 genannten Spezifikation beschrieben.
6.2.3.23. Brandmeldeeinrichtungen (Abschnitt )
(1) Die Anforderung in Abschnitt (1) gilt als erfüllt, wenn nachgewiesen wurde, dass das
betreffende Fahrzeug in folgenden Bereichen mit einer Brandmeldeeinrichtung ausgerüstet ist:
6.2.4. Projektphasen, die eine Bewertung erfordern
(1) In Anlage H dieser TSI wird erläutert, in welcher Projektphase eine Bewertung zu erfolgen hat:
Die mit der Bewertung der Routineversuche beauftragte Prüfstelle ist entsprechend dem gewählten Bewertungsmodul zu bestimmen.
(2) Anlage H ist gemäß Abschnitt strukturiert, der die Anforderungen und ihre auf das Teilsystem "Fahrzeuge" anzuwendende Bewertung festlegt; bei Bedarf wird auch auf einen Unterabschnitt des oben genannten Abschnitts 6.2.2.2 verwiesen.
Insbesondere wenn eine Baumusterprüfung in Anlage H festgelegt wird, müssen die Bedingungen und Anforderungen für diesen Versuch in Abschnitt berücksichtigt werden.
(3) Wenn mehrere EG-Prüfungen (z.B. nach mehreren für dasselbe Teilsystem maßgeblichen TSI) eine Prüfung auf Grundlage derselben Produktionsbewertung (Modul oder ) erfordern, dürfen mehrere SB-Modulbewertungen mit einer Produktionsmodulbewertung (oder ) kombiniert werden. In diesem Fall werden ZPBs für die Entwurfs- und Entwicklungsphase gemäß Modul ausgegeben.
(4) Bei Verwendung des Moduls muss die Gültigkeit der EG-Teilsystem-Zwischenprüferklärung in Übereinstimmung mit den Bestimmungen für Phase B von Abschnitt 7.1.3 "Regelungen zu Baumuster- oder Konstruktionsprüferklärungen" dieser TSI angezeigt werden.
6.2.5. Innovative Lösungen
(1) Wird für das Teilsystem "Fahrzeuge" eine innovative Lösung (gemäß Artikel ) vorgeschlagen, so muss der Antragsteller das in Artikel beschriebene Verfahren anwenden.
6.2.6. Bewertung der für Betrieb und Instandhaltung geforderten Dokumentation19
(1) Gemäß Artikel 15 Absatz 4 der Richtlinie (EU) 2016/797 ist eine benannte Stelle für die Zusammenstellung des technischen Dossiers mit der für den Betrieb und die Instandhaltung geforderten Dokumentation verantwortlich.
(2) Die benannte Stelle hat lediglich zu verifizieren, dass die für den Betrieb und die Instandhaltung geforderte Dokumentation gemäß Abschnitt dieser TSI vorliegt. Die eigentliche Information in der vorgelegten Dokumentation muss von der benannten Stelle nicht geprüft werden.
6.2.7. Bewertung von Einheiten, die für den Einsatz im allgemeinen Fahrbetrieb ausgelegt sind
(1) Wenn eine neue, erneuerte oder umgerüstete Einheit, die für den allgemeinen Fahrbetrieb eingesetzt werden soll, im Rahmen dieser TSI (gemäß Abschnitt ) zu bewerten ist, erfordern einige der Anforderungen der TSI einen Referenzzug zu deren Bewertung. Solche Fälle werden für die entsprechenden Bestimmungen in Abschnitt dieser TSI beschrieben. Auch gewisse Anforderungen der TSI auf Zugebene können nicht auf Einheitsebene bewertet werden. Solche Fälle werden für die entsprechenden Anforderungen in Abschnitt dieser TSI beschrieben.
(2) Der Einsatzbereich hinsichtlich der an die zu bewertende Einheit gekuppelten Fahrzeugbaumuster, der gewährleistet, dass der Zug die Anforderungen der TSI erfüllt, wird von der benannten Stelle nicht geprüft.
(3) Sobald solch eine Einheit die Zulassung für die Inbetriebnahme erhält, wird mit ihrer Verwendung in einem Zugverband (unabhängig davon, ob diese Zusammenstellung die TSI erfüllt oder nicht) unter der Verantwortung des Eisenbahnunternehmens gemäß den Vorschriften in Abschnitt 4.2.2.5 der TSI OPE (Zusammenstellung von Zügen) verfahren.
6.2.7a Zusätzliche optionale Anforderungen für Einheiten, die für den Einsatz im freizügigen Fahrbetrieb ausgelegt sind19
(1) Die Erfüllung der nachstehenden Bedingungen 2 bis 9 ist freigestellt und dient ausschließlich der Erleichterung des Austausches von Einheiten, die für den allgemeinen Fahrbetrieb ausgelegt sind. Durch die Einhaltung dieser Bestimmungen wird keine vollständige Austauschbarkeit der Einheiten garantiert und das Eisenbahnunternehmen wird nicht von seinen Verantwortungen betreffend die Verwendung dieser Einheiten in einem Zugverband gemäß Abschnitt 6.2.7 entbunden. Entscheidet sich der Auftraggeber für diese Option, so muss die Erfüllung von einer benannten Stelle im Rahmen des EG-Prüfverfahrens bewertet werden. Dies ist in der Bescheinigung und der technischen Dokumentation anzugeben.
(2) Die Einheit muss mit einem manuellen Kupplungssystem gemäß Buchstabe b und ausgerüstet sein.
(3) Die Einheit muss mit einem EN-UIC-Bremssystem gemäß der in Anlage J-1 Ziffer 22 genannten Spezifikation ausgerüstet sein.
(4) Die Einheit muss die Anforderungen dieser TSI mindestens im Temperaturbereich T1 (- 25 °C bis + 40 °C; Nenntemperatur) gemäß dieser TSI und der in Anlage J-1 Ziffer 34 genannten Spezifikation erfüllen.
(5) Die in vorgeschriebenen Schlusslichter sind als fest eingebaute Schlusslichter auszulegen.
(6) Wenn die Einheit mit einem Übergang ausgerüstet ist, muss der Übergang die in Anlage J-1 Ziffer 113 genannte Spezifikation einhalten.
(7) Die Energieversorgung muss gemäß Nummer 4 gestaltet sein.
(8) Mit der physischen Schnittstelle für die Signalübertragung zwischen Einheiten muss gewährleistet sein, dass Kabel und Stecker von mindestens einer Leitung mit dem 18-adrigen Kabel gemäß Abbildung 2 der in Anlage J-1 Ziffer 114 genannten Spezifikation kompatibel sind.
(9) Gemäß der in Anlage J-1 Ziffer 115 genannten Spezifikation sind an der Einheit mindestens folgende Kennzeichnungen anzubringen:
6.2.8. Bewertung von Einheiten, die für den Einsatz in vordefinierten Zugverbänden ausgelegt sind
(1) Wenn eine neue, erneuerte oder umgerüstete Einheit, die in eine vordefinierte Zusammenstellung eingestellt werden soll, zu bewerten ist (gemäß Abschnitt ), muss die EG-Prüfbescheinigung den Zugverband (die Zugverbände) angeben, für die die Bewertung gilt: Baumuster des Fahrzeugs, das an die zu bewertende Einheit gekuppelt wird, Anzahl der Einzelfahrzeuge des Zugverbands und Anordnung der Einzelfahrzeuge in dem Zugverband; auf diese Weise wird gewährleistet, dass der Zugverband diese TSI einhält.
(2) Die Anforderungen der TSI auf der Ebene des Zuges sind anhand eines Referenz-Zugverbandes gemäß der Spezifikation in dieser TSI (sofern vorhanden) zu bewerten.
(3) Wenn eine solche Einheit die Zulassung für die Inbetriebnahme erhält, kann sie an andere Einheiten gekuppelt werden und damit die Zusammenstellungen bilden, die in der EG-Prüfbescheinigung angegeben sind.
6.2.9. Sonderfall: Bewertung von Einheiten, die für die Einstellung in eine bestehende nicht trennbare Zusammenstellung ausgelegt sind
6.2.9.1. Hintergrund
(1) Dieser besondere Fall der Bewertung tritt ein, wenn ein Teil einer nicht trennbaren Zusammenstellung ausgetauscht wird, die bereits in Betrieb genommen wurde.
Im Folgenden werden zwei Fälle beschrieben (je nach TSI-Status der nicht trennbaren Zusammenstellung).
Im nachstehenden Text wird der zu bewertende Teil der nicht trennbaren Zusammenstellung als "Einheit" bezeichnet.
6.2.9.2. Fall: Nicht trennbare Zusammenstellung, die die TSI erfüllt
(1) Wenn eine neue, erneuerte oder umgerüstete Einheit, die in eine bestehende nicht trennbare Zusammenstellung eingestellt werden soll, im Rahmen dieser TSI zu bewerten ist und für die bestehende nicht trennbare Zusammenstellung eine gültige EG-Prüfbescheinigung vorliegt, ist eine TSI-Bewertung lediglich für den neuen Teil der nicht trennbaren Zusammenstellung durchzuführen, um die Bescheinigung der bestehenden nicht trennbaren Einheit zu aktualisieren, die in diesem Fall als umgerüstet gilt (siehe auch Abschnitt 7.1.2.2).
6.2.9.3. Fall: Nicht trennbare Zusammenstellung, die die TSI nicht erfüllt
(1) Wenn eine neue, erneuerte oder umgerüstete Einheit, die in eine bestehende nicht trennbare Zusammenstellung eingestellt werden soll, im Rahmen dieser TSI zu bewerten ist und für die bestehende nicht trennbare Zusammenstellung keine gültige EG-Prüfbescheinigung vorliegt, muss in der EG- Prüfbescheinigung angegeben werden, dass die Bewertung lediglich die Anforderungen für die bewertete Einheit, nicht aber die TSI-Anforderungen für die nicht trennbare Zusammenstellung abdeckt.
6.3. Teilsystem mit Interoperabilitätskomponenten ohne EG-Erklärung
6.3.1. Bedingungen
(1) Auch wenn für bestimmte Interoperabilitätskomponenten des Teilsystems die betreffenden EG-Konformitäts- oder Gebrauchstauglichkeitserklärungen gemäß dieser TSI nicht vorliegen (nicht zertifizierte IK), können die benannten Stellen während des am 31. Mai 2017 endenden Übergangszeitraums eine EG-Prüfbescheinigung für Teilsysteme ausstellen, wenn folgende Kriterien erfüllt sind:
(2) Für Interoperabilitätskomponenten, die in dieser Weise bewertet werden, sind keine EG-Konformitäts- oder EG-Gebrauchstauglichkeitserklärungen auszustellen.
6.3.2. Dokumentation19
(1) In der Konformitätsbescheinigung muss in eindeutiger Form angegeben werden, welche Interoperabilitätskomponenten von der benannten Stelle im Rahmen der Teilsystem-Überprüfung bewertet wurden.
(2) Die EG-Prüferklärung für das Teilsystem muss folgende Angaben bzw. Bestandteile in eindeutiger Form umfassen:
6.3.3. Instandhaltung der gemäß Abschnitt 6.3.1 zertifizierten Teilsysteme
(1) Während des Übergangszeitraums sowie darüber hinaus können die Interoperabilitätskomponenten ohne EG-Konformitäts- oder EG-Gebrauchstauglichkeitserklärung des jeweils gleichen Typs auf Verantwortung der für die Instandhaltung zuständigen Stelle (Entity in Charge of Maintenance, ECM) bis zur Umrüstung, zur Erneuerung oder zum Austausch des betreffenden Teilsystems (unter Berücksichtigung der Entscheidung der Mitgliedstaaten zur Anwendung der TSI) für einen Austausch im Zuge von Instandhaltungsarbeiten (als Ersatzteile) für das jeweilige Teilsystem verwendet werden.
(2) Die ECM muss in jedem Fall sicherstellen, dass die Komponenten für einen Austausch im Zuge von Instandhaltungsarbeiten für ihren Verwendungszweck geeignet sind und innerhalb ihres Anwendungsbereichs eingesetzt werden, die Verwirklichung der Interoperabilität des Eisenbahnsystems ermöglichen und gleichzeitig den grundlegenden Anforderungen entsprechen. Die betreffenden Komponenten müssen zurückverfolgt werden können und nach einer nationalen oder internationalen Norm oder einer im Eisenbahnbereich weithin anerkannten Regel der Technik zertifiziert sein.
7. Umsetzung
7.1. Allgemeine Umsetzungsvorschriften
7.1.1. Anwendung auf neu hergestellte Fahrzeuge
7.1.1.1. Allgemeines19
(1) Diese TSI gilt für alle Fahrzeuge im Anwendungsbereich dieser TSI, die nach dem in Artikel genannten Antragsdatum in Betrieb genommen werden, es sei denn, die folgenden Abschnitte 7.1.1.2 "Übergangszeitraum", 7.1.1.3 "Anwendung auf Spezialfahrzeugen, z.B. Gleisbaumaschinen" oder 7.1.1.4 "Anwendung auf ausschließlich zum Betrieb auf der Spurweite 1.520 mm ausgelegte Fahrzeuge" kommen zur Anwendung.
(2) Diese TSI gilt nicht für bestehende Einheiten, die bereits im Netz (oder in Teilen des Netzes) eines Mitgliedstaats betrieben wurden, wenn diese TSI in Kraft tritt, sofern diese nicht erneuert oder umgerüstet werden (siehe Abschnitt 7.1.2).
(3) Fahrzeuge, die nach einem Entwurf gebaut werden, der nach dem Inkrafttreten dieser TSI entwickelt wurde, müssen dieser TSI entsprechen.
7.1.1.2. Übergangszeitraum
7.1.1.2.1. Anwendung der TSI während des Übergangszeitraums19
(1) Eine erhebliche Anzahl von Projekten bzw. Aufträgen, die vor Inkrafttreten dieser TSI begonnen haben, können zur Produktion von Fahrzeugen führen, die dieser TSI nicht vollständig entsprechen. Für von diesen Projekten oder Aufträgen betroffene Fahrzeuge ist gemäß Artikel 4 Absatz 3 Buchstabe f der Richtlinie (EU) 2016/797 ein Übergangszeitraum vorgesehen, in dem diese TSI noch nicht angewendet werden muss.
(2) Der Übergangszeitraum gilt für:
(3) Bei Fahrzeugen, die einem der drei oben genannten Fälle zuzuordnen sind, muss diese TSI nicht angewendet werden, wenn eine der folgenden Bedingungen gegeben ist:
(4) Entscheidet der Antragsteller während des Übergangszeitraums, diese TSI nicht anzuwenden, so wird darauf hingewiesen, dass die übrigen TSI (siehe Abschnitt ) und/oder notifizierte nationale Vorschriften gemäß ihrem jeweiligen Anwendungsbereich und den Umsetzungsvorschriften für Genehmigungen für das Inverkehrbringen gemäß Artikel 21 der Richtlinie (EU) 2016/797 Anwendung finden.
Insbesondere TSI, die durch die vorliegende TSI aufgehoben werden sollen, sind unter den in Artikel genannten Bedingungen weiterhin gültig.
7.1.1.2.2. Begriffsbestimmung "Projekte in einem fortgeschrittenen Entwicklungsstadium"19
(1) Fahrzeuge werden im Rahmen eines Projekts entwickelt und gebaut, das sich gemäß Artikel 2 Absatz 23 der Richtlinie (EU) 2016/797 in einem fortgeschrittenen Entwicklungsstadium befindet.
(2) Das Projekt befindet sich bei Inkrafttreten dieser TSI in einem fortgeschrittenen Entwicklungsstadium.
7.1.1.2.3 Begriffsbestimmung "in Ausführung befindliche Aufträge"
(1) Fahrzeuge werden im Rahmen eines Auftrags entwickelt und hergestellt, der vor Inkrafttreten dieser TSI unterzeichnet wurde.
(2) Der Antragsteller muss einen Nachweis über das Unterzeichnungsdatum des betreffenden Originalauftrags erbringen. Das Datum etwaiger Zusätze in Form von Änderungen am Originalauftrag wird bei der Bestimmung des Unterzeichnungsdatums des betreffenden Auftrags nicht berücksichtigt.
7.1.1.2.4. Begriffsbestimmung "Fahrzeuge eines bestehenden Baumusters"
(1) Die Fahrzeuge werden nach einem Baumuster hergestellt, das vor Inkrafttreten dieser TSI entwickelt und daher nicht nach dieser TSI bewertet wurde.
(2) Zum Zweck dieser TSI kann ein Fahrzeug als "gemäß einem bestehenden Baumuster gebaut" eingestuft werden, wenn eine der beiden folgenden Bedingungen erfüllt ist:
Der Antragsteller muss der nationalen Sicherheitsbehörde nachweisen, dass die Bedingungen im entsprechenden Absatz dieses Abschnitts (je nach Situation) erfüllt werden.
(3) Für Änderungen an einem bestehenden Baumuster gelten bis zum 31. Mai 2017 die folgenden Bestimmungen.
7.1.1.3. Anwendung auf Spezialfahrzeuge, z.B. Gleisbaumaschinen19
(1) Die Anwendung dieser TSI auf mobile Ausrüstungen für Bau und Instandhaltung von Eisenbahninfrastrukturen (gemäß den Abschnitten und ) ist nicht zwingend erforderlich.
(2) Das Verfahren zur Konformitätsbewertung gemäß Abschnitt kann von einem Antragsteller auf freiwilliger Basis verwendet werden, um eine EG-Prüferklärung nach dieser TSI auszustellen. Diese EG-Prüferklärung wird von den Mitgliedstaaten als solche anerkannt.
(3) Entscheidet sich der Antragsteller gegen die Anwendung dieser TSI, können die mobilen Ausrüstungen für Bau und Instandhaltung von Eisenbahninfrastrukturen gemäß Artikel 21 der Richtlinie (EU) 2016/797 nach nationalen Vorschriften in Bezug auf die Eckwerte dieser TSI genehmigt werden.
7.1.1.4 Anwendung auf ausschließlich zum Betrieb auf der Spurweite 1.520 mm ausgelegte Fahrzeuge19
(1) Auf Fahrzeuge, die ausschließlich zum Betrieb auf Infrastrukturen mit der Spurweite 1.520 mm ausgelegt sind, muss diese TSI während eines Übergangszeitraums, der sechs Jahre nach Inkrafttreten dieser TSI ausläuft, nicht angewendet werden.
(2) Das Verfahren zur Konformitätsbewertung gemäß Abschnitt kann von einem Antragsteller auf freiwilliger Basis verwendet werden, um eine EG-Prüferklärung auszustellen. Diese EG-Prüferklärung wird von den Mitgliedstaaten als solche anerkannt.
(3) Entscheidet sich der Antragsteller gegen die Anwendung dieser TSI, kann das Fahrzeug gemäß Artikel 21 der Richtlinie (EU) 2016/797 nach nationalen Vorschriften in Bezug auf die Eckwerte dieser TSI genehmigt werden.
7.1.1.4a. Übergangsmaßnahme für die Anforderungen an fahrzeugseitige Energiemesssysteme18 19
Die Anforderungen in Abschnitt sind für Projekte, bei denen es sich am 14. Juni 2018 um Projekte in einem fortgeschrittenen Entwicklungsstadium, bereits in Ausführung befindliche Aufträge oder Fahrzeuge eines bestehenden Baumusters gemäß Abschnitt 7.1.1.2 dieser TSI handelt, während eines Übergangszeitraums, der am 1. Januar 2022 endet, nicht verbindlich vorgeschrieben.
Werden die Anforderungen in Abschnitt nicht angewandt, so finden für die Spezifikationen bezüglich der Schnittstellenprotokolle und des Formats der übertragenen Daten nationale Vorschriften Anwendung und es ist eine Beschreibung der Bord-Boden-Kommunikation in die technische Dokumentation aufzunehmen.
7.1.1.5. Übergangsmaßnahme für die Erfüllung der Brandschutzanforderungen19
(1) Während eines Übergangszeitraums, der am 1. Januar 2018 ausläuft, kann die Konformität mit den Brandschutzanforderungen an die betreffenden Werkstoffe alternativ zu den Werkstoffanforderungen in Abschnitt dieser TSI (für die jeweilige Betriebskategorie) nach den jeweils notifizierten nationalen Vorschriften auch anhand einer der folgenden Normen(reihen) nachgewiesen werden:
(2) der britischen Normen der Reihe BS6853, GM/RT2130, Ausgabe 3,
(3) der französischen Normen NF F 16-101:1988 und NF F 16-102/1992,
(4) der deutschen Norm DIN 5510-2:2009 einschließlich Toxizitätsmessungen,
(5) der italienischen Normen UNI CEI 11170-1:2005 und UNI CEI 11170-3:2005,
(6) der polnischen Normen PN-K-02511:2000 und PN-K-02502:1992 und
(7) der spanischen Norm DT-PCI/5A;
(8) einzelne Werkstoffe können in diesem Zeitraum durch Werkstoffe ersetzt werden, die im Einklang mit EN 45545-2:2013 stehen (gemäß Abschnitt dieser TSI).
7.1.1.6. Übergangsmaßnahme für die Lärmschutzanforderungen gemäß der TSI RST HS 2008
(1) Für Einheiten mit einer vorgesehenen Höchstgeschwindigkeit von mindestens 190 km/h, die für den Betrieb im transeuropäischen Hochgeschwindigkeitsbahnnetz ausgelegt sind, gelten die Anforderungen gemäß den Abschnitten 4.2.6.5 "Außengeräusch" und 4.2.7.6 "Innengeräusch" der TSI RST HS 2008.
(2) Diese Übergangsmaßnahme ist bis zum Inkrafttreten einer geänderten TSI Lärm für alle Arten von Fahrzeugen anzuwenden.
7.1.1.7. Übergangsmaßnahme für die Anforderungen an Seitenwinde gemäß der TSI RST HS 2008
(1) Für Einheiten mit einer vorgesehenen Höchstgeschwindigkeit von 250 km/h oder darüber, die für den Betrieb im transeuropäischen Hochgeschwindigkeitsbahnnetz ausgelegt sind, gelten die Anforderungen gemäß Abschnitt 4.2.6.3 "Seitenwind" der TSI RST HS 2008, wie in dieser TSI in Abschnitt vorgesehen.
(2) Diese Übergangsmaßnahme ist anzuwenden, bis Abschnitt geändert wird.
7.1.1.8 Übergangsmaßnahme für die Erfüllung der Anforderung an die passive Sicherheit19
Die Anforderungen in Nummer 6 sind für Lokomotiven mit einem einzigen "Mittelführerraum", bei denen es sich am 27. Mai 2019 um Projekte in einem fortgeschrittenen Entwicklungsstadium, bereits in Ausführung befindliche Aufträge oder Fahrzeuge eines bestehenden Baumusters gemäß Abschnitt 7.1.1.2 dieser TSI handelt, während eines Übergangszeitraums, der am 1. Januar 2022 endet, nicht verbindlich vorgeschrieben.
Wenn die Anforderungen in Nummer 6 nicht angewendet werden, kann die Erfüllung der Anforderung gemäß Szenario 3 in Nummer 5 auch nachgewiesen werden, indem die Erfüllung der folgenden Kriterien belegt wird:
7.1.2. Änderungen an einem bestehenden Fahrzeug oder Fahrzeugtyp19
7.1.2.1. Einleitung19
(1) In diesem Abschnitt 7.1.2 werden die Grundsätze festgelegt, die gemäß dem in Artikel 15 Absatz 9, Artikel 21 Absatz 12 und Anhang IV der Richtlinie (EU) 2016/797 beschriebenen EG-Prüfverfahren durch die Änderungsverwaltungsstelle und die Genehmigungsstellen angewendet werden. Dieses Verfahren wird in Artikel 13, 15 und 16 der Durchführungsverordnung (EU) 2018/545 der Kommission 15 und in Beschluss 2010/713/EU 16 weiter ausgeführt.
(2) Dieser Abschnitt 7.1.2 gilt im Falle von Änderungen, einschließlich Erneuerung und Aufrüstung, an einem bestehenden Fahrzeug oder Fahrzeugtyp. Er gilt nicht im Falle von Änderungen, die
Der Inhaber der Fahrzeugtypgenehmigung muss der Änderungsverwaltungsstelle unter vertretbaren Bedingungen die Informationen bereitstellen, die für die Bewertung der Änderungen notwendig sind.
7.1.2.2. Vorschriften zum Umgang mit Änderungen an Fahrzeug und Fahrzeugtyp19
(1) Von der/den Änderung(en) nicht betroffene Teile und Eckwerte des Fahrzeugs sind von der Konformitätsbewertung im Rahmen dieser TSI ausgenommen.
(2) Unbeschadet des Abschnitts 7.1.2.2a ist die Erfüllung der Anforderungen dieser TSI, der TSI Lärm (Verordnung Nr. der Kommission, siehe der TSI Lärm) und der TSI PRM (Verordnung (EU) Nr. der Kommission 17, siehe der TSI PRM) nur für diejenigen Eckwerte dieser TSIen erforderlich, die von der/den Änderung(en) betroffen sind.
(3) Im Einklang mit Artikel 15 und 16 der Durchführungsverordnung (EU) 2018/545 der Kommission und Beschluss 2010/713/EU und unter Anwendung der Module SB, SD/SF oder SH1 für die EG-Prüfung und gegebenenfalls im Einklang mit Artikel 15 Absatz 5 der Richtlinie (EU) 2016/797 unterrichtet die Änderungsverwaltungsstelle eine benannte Stelle über alle die Konformität des Teilsystems betreffenden Änderungen und die Anforderungen der einschlägigen TSI, die neue Prüfungen durch eine benannte Stelle erforderlich machen. Diese Informationen sind von der Änderungsverwaltungsstelle unter entsprechender Bezugnahme auf die technischen Unterlagen in Verbindung mit der bestehenden EG-Baumuster- oder Entwurfsprüfbescheinigung zur Verfügung zu stellen.
(4) Unbeschadet der in Artikel 21 Absatz 12 Buchstabe b der Richtlinie (EU) 2016/797 vorgeschriebenen Beurteilung der Gesamtsicherheit ist für den Fall, dass bei Änderungen eine Neubewertung der Sicherheitsanforderungen in , , , , und notwendig ist, das Verfahren gemäß anzuwenden. Tabelle 17 ist zu entnehmen, wann eine neue Genehmigung erforderlich ist.
| Ursprüngliche Bewertung des Fahrzeugs gemäß | ||||
| Methode 1 in Absatz 3 | Methode 2 in Absatz 3 | Keine CSM on Ra angewendet | ||
| Bewertung der Änderung gemäß | Methode 1 in Absatz 3 | Keine neue Genehmigung notwendig | Prüfung * | Keine neue Genehmigung notwendig |
| Methode 2 in Absatz 3 | Prüfung * | Prüfung * | Prüfung * | |
| Keine CSM on Ra angewendet | Nicht möglich | Nicht möglich | Nicht möglich | |
| *) Der Ausdruck "Prüfung" in Tabelle 17 bedeutet, dass der Antragsteller Anhang I der CSM on Ra anwendet, um nachzuweisen, dass das geänderte Fahrzeug ein gleichwertiges oder höheres Sicherheitsniveau gewährleistet. Dieser Nachweis unterliegt einer unabhängigen Bewertung durch eine Bewertungsstelle gemäß der CSM on RA. Wenn die Stelle zu dem Schluss kommt, dass die neue Sicherheitsbewertung ein niedrigeres Sicherheitsniveau gewährleistet oder das Ergebnis nicht eindeutig ist, muss der Antragsteller eine Genehmigung für das Inverkehrbringen beantragen. | ||||
(4a) Unbeschadet der in Artikel 21 Absatz 12 Buchstabe b der Richtlinie (EU) 2016/797 vorgeschriebenen Beurteilung der Gesamtsicherheit wird im Falle von Änderungen, die sich auf die Anforderungen gemäß , und auswirken, nach denen eine neue Zuverlässigkeitsuntersuchung notwendig ist, eine neue Genehmigung für das Inverkehrbringen erforderlich, es sei denn, die benannte Stelle kommt zu dem Ergebnis, dass die von der Zuverlässigkeitsuntersuchung abgedeckten sicherheitsbezogenen Anforderungen verbessert oder beibehalten wurden. Die benannte Stelle berücksichtigt bei ihrer Beurteilung gegebenenfalls die geänderte Instandhaltungs- und Betriebsdokumentation.
(5) Nationale Migrationsstrategien im Zusammenhang mit der Umsetzung anderer TSI (z.B. TSIen, die ortsfeste Einrichtungen beinhalten) sind bei der Bestimmung des Umfangs, in dem die TSI für Fahrzeuge anzuwenden sind, zu berücksichtigen.
(6) Die grundlegenden Konstruktionsmerkmale der Fahrzeuge sind in Tabelle 17a und Tabelle 17b festgelegt. Auf Grundlage dieser Tabellen und der in Richtlinie (EU) 2016/797 Artikel 21Absatz 12 Buchstabe b vorgeschriebenen Beurteilung der Sicherheit sind die Änderungen folgendermaßen einzustufen:
Die Bestimmung, ob die Änderungen außerhalb der bzw. über den vorgenannten Schwellenwerten liegen, erfolgt unter Bezugnahme auf die Werte der Parameter zum Zeitpunkt der letzten Genehmigung des Fahrzeugs oder des Fahrzeugtyps.
(7) Bei Änderungen, die nicht Gegenstand des Abschnitts 7.1.2.2 Nummer 6 sind, wird davon ausgegangen, dass sie keine Auswirkungen auf die grundlegenden Konstruktionsmerkmale haben; sie werden als Änderungen nach Artikel 15 Absatz 1 Buchstabe a oder Artikel 15 Absatz 1 Buchstabe b der Durchführungsverordnung (EU) 2018/545 der Kommission eingestuft, sofern sie nach der in Artikel 21 Absatz 12 Buchstabe b der Richtlinie (EU) 2016/797 vorgeschriebenen Beurteilung der Sicherheit nicht unter Artikel 15 Absatz 1 Buchstabe d einzustufen sind.
(8) Die in Artikel 21 Absatz 12 Buchstabe b der Richtlinie (EU) 2016/797 vorgeschriebene Beurteilung der Sicherheit umfasst Änderungen, die die Eckwerte in der Tabelle in Abschnitt 3.1 in Bezug auf alle grundlegenden Anforderungen, insbesondere auf die Anforderungen "Sicherheit" und "Technische Kompatibilität", betreffen.
(9) Unbeschadet des Abschnitts 7.1.2.2a müssen alle Änderungen unabhängig von ihrer Einstufung weiterhin die geltenden TSI erfüllen.
(10) Bei dem Austausch von einem oder mehreren Fahrzeug(en) innerhalb eines nicht trennbaren Zugverbands aufgrund eines schweren Schadens ist keine Konformitätsbewertung nach dieser TSI erforderlich, sofern sich die technischen Parameter und die Funktion der Einheit oder des Fahrzeugs/der Fahrzeuge nicht von denen der ausgetauschten Elemente unterscheiden. Die betreffenden Einheiten müssen zurückverfolgt werden können und gemäß einer nationalen oder internationalen Regelung oder im Eisenbahnbereich weithin anerkannten Regeln der Technik zertifiziert sein.
Tabelle 17a Grundlegende Konstruktionsmerkmale in Verbindung mit in der LOC&PAS festgelegten Eckwerten19
| 1. TSI-Abschnitt | 2. Zugehörige(s) grundlegende(s) Konstruktionsmerkmal(e) | 3. Änderungen, die sich auf das grundlegende Konstruktionsmerkmal auswirken und nicht unter Artikel 21 Absatz 12 Buchstabe a der Richtlinie (EU) 2016/797 fallen | 4. Änderungen, die sich auf das grundlegende Konstruktionsmerkmal auswirken und unter Artikel 21 Absatz 12 Buchstabe a der Richtlinie (EU) 2016/797 fallen |
| Endkupplung | Art der Endkupplung | Änderung der Art der Endkupplung | n. z. |
| Lastzustände und gewogene Masse
Radsatzlast |
Auslegungsmasse, betriebsbereites Fahrzeug | Änderung eines der entsprechenden grundlegenden Konstruktionsmerkmale, die zu einer Änderung der Streckenklasse(n) führt, mit der das Fahrzeug kompatibel ist | n. z. |
| Auslegungsmasse bei normaler Zuladung | |||
| Auslegungsmasse bei außergewöhnlicher Zuladung | |||
| Vorgesehene Höchstgeschwindigkeit (km/h) | |||
| Statische Radsatzlast im Betriebszustand | |||
| Statische Radsatzlast bei außergewöhnlicher Zuladung | |||
| Fahrzeuglänge | |||
| Statische Radsatzlast bei normaler Zuladung | |||
| Position der Radsätze entlang der Einheit (Radsatzabstände) | |||
| Gesamtmasse des Fahrzeugs (für jedes Fahrzeug der Einheit), | Änderung eines der entsprechenden grundlegenden Konstruktionsmerkmale, die zu einer Änderung der Streckenklasse(n) führt, mit der das Fahrzeug kompatibel ist | Änderung um mehr als ± 10 % | |
| Masse pro Rad | Änderung eines der entsprechenden grundlegenden Konstruktionsmerkmale, die zu einer Änderung der Streckenklasse(n) führt, mit der das Fahrzeug kompatibel ist, oder
Änderung um mehr als ± 10 % |
n. z. | |
| Begrenzungslinie | Bezugsprofil | n. z. | Änderung des Bezugsprofils, dem das Fahrzeug entspricht |
| Kleinster befahrbarer konvexer Ausrundungsradius | Änderung des kleinsten befahrbaren Radius konvexer vertikaler Bögen, mit dem das Fahrzeug kompatibel ist, um mehr als 10 % | n. z. | |
| Kleinster befahrbarer konkaver Ausrundungsradius | Änderung des kleinsten befahrbaren Radius konkaver vertikaler Bögen, mit dem das Fahrzeug kompatibel ist, um mehr als 10 % | n. z. | |
| Fahrzeugmerkmale für die Kompatibilität mit Zugortungs-/Gleisfreimeldeanlagen | Kompatibilität mit Zugortungs-/Gleisfreimeldeanlagen | n. z. | Änderung der erklärten Kompatibilität mit einer oder mehreren der drei Arten von Zugortungs-/Gleisfreimeldeanlagen:
|
| Überwachung des Zustands der Radsatzlager | fahrzeugseitiges Überwachungssystem | Einbau eines fahrzeugseitigen Überwachungssystems | Ausbau des angegebenen fahrzeugseitigen Überwachungssystems |
| Dynamisches Verhalten der Fahrzeuge | Kombination aus Höchstgeschwindigkeit und maximalem Überhöhungsfehlbetrag, bei dem das Fahrzeug bewertet wurde. | n. z. | Erhöhung der Höchstgeschwindigkeit um mehr als 15 km/h oder Änderung des maximal zulässigen Überhöhungsfehlbetrags um mehr als ± 10 % |
| Schienenneigung | n. z. | Änderung der Schienenneigung(en), mit der/denen das Fahrzeug kompatibel ist * | |
| Mechanische und geometrische Eigenschaften von Radsätzen | Spurweite des Radsatzes | n. z. | Änderung der Spurweite, mit der der Radsatz kompatibel ist |
| Eigenschaften von Rädern | Mindestens erforderlicher Raddurchmesser im Betrieb | Änderung des mindestens erforderlichen Raddurchmessers im Betrieb um mehr als ± 10 mm | n. z. |
| Automatische Umspursysteme | Umspuranlage für den Radsatz | Änderung des Fahrzeugs, die zu einer Änderung der Umspuranlage(n) führt, mit der der Radsatz kompatibel ist | Änderung der Spurweite(n), mit der der Radsatz kompatibel ist |
| Minimaler Bogenhalbmesser | Minimaler Bogenhalbmesser, der befahren werden kann | Erhöhung des minimalen Bogenhalbmessers um mehr als 5 m | n. z. |
| Bremsvermögen - Allgemeine Anforderungen | Maximale durchschnittliche Verzögerung | Änderung der maximalen durchschnittlichen Bremsverzögerung um mehr als ± 10 % | n. z. |
| Bremsvermögen - Schnellbremsung | Bremsweg und Verzögerungsprofil für jeden Lastzustand bei vorgesehener Höchstgeschwindigkeit. | Änderung des Bremsweges um mehr als ± 10 %
Hinweis: Das Bremshundertstel (auch "Lambda" oder "Bremsverhältnis" genannt) und das "Bremsgewicht" können ebenfalls verwendet und durch Berechnung (direkt oder über den Bremsweg) aus Verzögerungsprofilen abgeleitet werden. Es gilt die gleiche zulässige Änderung (± 10 %) |
n. z. |
| Bremsvermögen - Betriebsbremsung | Bremsweg und Verzögerungsprofil für den Lastzustand "Auslegungsmasse bei normaler Zuladung" bei vorgesehener Höchstgeschwindigkeit. | Änderung des Bremsweges um mehr als ± 10 % | n. z. |
| Bremsvermögen - thermische Belastbarkeit | Maximale thermische Belastbarkeit der Bremse | n. z. | Änderung der maximalen thermischen Belastbarkeit der Bremse >= 10 % |
| oder | |||
| thermische Belastbarkeit angegeben durch maximales Streckengefälle, zugehörige Länge und Betriebsgeschwindigkeit | Änderung des maximalen Streckengefälles, der zugehörigen Länge oder der Betriebsgeschwindigkeit, für die das Bremssystem angesichts der thermischen Belastbarkeit der Bremse ausgelegt ist | ||
| Bremsvermögen - Feststellbremse | Maximales Gefälle, auf dem das Fahrzeug nur von der Feststellbremse (falls das Fahrzeug mit dieser ausgestattet ist) gehalten wird | Änderung des angegebenen maximalen Gefälles um mehr als ± 10 % | n. z. |
| Gleitschutzsystem | Gleitschutzsystem | n. z. | Ein-/Ausbau der Funktion einer Gleitschutzeinrichtung |
| Magnetschienenbremse | Magnetschienenbremse | n. z. | Ein-/Ausbau der Funktion einer Magnetschienenbremse |
| Möglichkeit, den Einsatz der Magnetschienenbremse zu verhindern | n. z. | Ein-/Ausbau der Bremssteuerung, mit der die Aktivierung/Deaktivierung der Magnetschienenbremse ermöglicht wird | |
| Wirbelstrombremse | Wirbelstrombremse | n. z. | Ein-/Ausbau der Funktion einer Wirbelstrombremse |
| Möglichkeit, den Einsatz der Wirbelstrombremse zu verhindern | n. z. | Ein-/Ausbau der Bremssteuerung, mit der die Aktivierung/Deaktivierung der Wirbelstrombremse ermöglicht wird | |
| Temperatur | Temperaturbereich | Änderung des Temperaturbereichs (T1, T2, T3) | n. z. |
| Schnee, Eis und Hagel | Bedingungen Schnee, Eis und Hagel | Änderung des gewählten Bereichs, Schnee, Eis und Hagel" (nominal oder strengere Anforderungen) | n. z. |
| Betrieb innerhalb des Spannungs- und Frequenzbereichs | Energieversorgungssystem (Spannung und Frequenz) | n. z. | Änderung der Spannung(en)/Frequenz(en) des Energieversorgungssystems
(AC 25kV-50Hz, AC 15kV-16,7Hz, DC 3kV, DC 1,5kV, DC 750V, dritte Schiene, sonstige) |
| Nutzbremse mit Rückführung der Energie in die Oberleitung | Nutzbremse | n. z. | Ein-/Ausbau der Funktion einer Nutzbremse |
| Möglichkeit, den Einsatz der Nutzbremse nach Einbau zu verhindern | Ein-/Ausbau der Möglichkeit, den Einsatz der Nutzbremse zu verhindern | n. z. | |
| Maximal zulässige Leistungs- und Stromaufnahme aus der Oberleitung | Nur für elektrische Einheiten mit Leistungen von über 2 MW anwendbar:
Leistungs- oder Strombegrenzungsfunktion |
Ein-/Ausbau einer Leistungs- oder Strombegrenzungsfunktion | n. z. |
| Maximale Stromaufnahme bei Stillstand für Gleichstromsysteme | Maximale Stromaufnahme bei Stillstand je Stromabnehmer für jedes Gleichstromsystem, für das das Fahrzeug ausgerüstet ist | Änderung des Werts der maximalen Stromaufnahme um 50 A, ohne dass der in der TSI festgelegte Grenzwert überschritten wird | n. z. |
| Höhe für das Zusammenwirken mit Fahrdrähten (Fahrzeugebene) | Höhe für das Zusammenwirken des Stromabnehmers mit den Fahrdrähten (ab Schienenoberkante) | Änderung der Höhe für das Zusammenwirken, durch die der mechanische Kontakt am Fahrdraht in einem der folgenden Höhenbereiche über der Schienenoberkante ermöglicht/nicht mehr ermöglicht wird:
4.800 mm und 6.500 mm |
n. z. |
| Geometrie der Stromabnehmerwippe (Ebene der Interoperabilitätskomponente) | Geometrie der Stromabnehmerwippe | n. z. | Änderung Geometrie der Stromabnehmerwippe von oder zu einem in den Abschnitten , oder definierten typen |
| Schleifstück-Werkstoff | Schleifstück-Werkstoff | Neuer Schleifstück-Werkstoff gemäß Abschnitt Absatz 3 | n. z. |
| Kontaktkraft und dynamisches Verhalten der Stromabnehmer | Kurve der mittleren Kontaktkraft | Änderung, die eine Neubewertung des dynamischen Verhaltens der Stromabnehmer erforderlich macht. | n. z. |
| Anordnung der Stromabnehmer (Fahrzeugebene) | Anzahl der Stromabnehmer und kleinster Abstand zwischen zwei Stromabnehmern | n. z. | Wenn der Abstand zwischen zwei aufeinanderfolgenden Stromabnehmern der bewerteten Einheit in nicht trennbaren oder vordefinierten Zugverbänden reduziert wird, indem ein Fahrzeug entfernt wird |
| Absenken der Stromabnehmer (Fahrzeugebene) | Vorrichtung zur automatischen Absenkung | Ein-/Ausbau einer Vorrichtung zur automatischen Absenkung | n. z. |
| Allgemeines und Kategorisierung | Brandschutzkategorie | n. z. | Änderung der Brandschutzkategorie |
| Allgemeine Dokumentation - Anzahl der Einheiten bei Mehrfachtraktion | Maximale Anzahl von Triebzügen oder gekuppelten Lokomotiven bei Mehrfachtraktion | n. z. | Änderung der maximal zulässigen Anzahl von Triebzügen oder gekuppelten Lokomotiven bei Mehrfachtraktion |
| Allgemeine Dokumentation - Anzahl der Fahrzeuge in einer Einheit | Nur für nicht trennbare Zugverbände:
Fahrzeuge, die den nicht trennbaren Zugverband bilden |
n. z. | Änderung der Anzahl der Fahrzeuge, die den nicht trennbaren Zugverband bilden |
*) Fahrzeuge, die eine der folgenden Bedingungen erfüllen, gelten als mit allen Schienenneigungen kompatibel:
|
|||
Tabelle 17b Grundlegende Konstruktionsmerkmale in Verbindung mit in der TSI PRM festgelegten Eckwerten19
| 1. TSI-Abschnitt | 2. Verbundene(s) grundlegende(s) Konstruktionsmerkmal(e) | 3. Änderungen, die sich auf das grundlegende Konstruktionsmerkmal auswirken und nicht unter Artikel 21 Absatz 12 Buchstabe a der Richtlinie (EU) 2016/797 fallen | 4. Änderungen, die sich auf das grundlegende Konstruktionsmerkmal auswirken und unter Artikel 21 Absatz 12 Buchstabe a der Richtlinie (EU) 2016/797 fallen |
| 4.2.2.11. Position von Stufen zum Ein- und Ausstieg | Bahnsteighöhe, für die das Fahrzeug ausgelegt ist | n. z. | Änderung der Bahnsteighöhe, mit der das Fahrzeug kompatibel ist. |
(11) Für die Ausstellung der EG-Baumuster- oder Entwurfsprüfbescheinigung kann sich die von der Änderungsverwaltungsstelle gewählte benannte Stelle auf Folgendes beziehen:
(12) In jedem Fall muss die Änderungsverwaltungsstelle sicherstellen, dass die technischen Unterlagen für die EG-Baumuster- oder Entwurfsprüfbescheinigung entsprechend aktualisiert wird.
(13) In dem der EG-Prüferklärung beigefügten technischen Dossier, das von der Stelle ausgestellt wird, die für die Änderung des als mit dem geänderten Baumuster konform erklärten Fahrzeugs zuständig ist, wird auf die aktualisierte technische Dokumentation zur EG-Baumuster- oder Entwurfsprüfbescheinigung verwiesen.
7.1.2.2a Besondere Vorschriften für vorhandene Fahrzeuge, die nicht von einer EG-Prüferklärung abgedeckt sind und deren erste Inbetriebnahmegenehmigung vor dem 1. Januar 2015 erteilt wurde19
(1) Für vorhandene Fahrzeuge, deren erste Inbetriebnahmegenehmigung vor dem 1. Januar 2015 erteilt wurde, gelten zusätzlich zu Abschnitt 7.1.2.2 die folgenden Vorschriften, wenn der Umfang der Änderung Auswirkungen auf Eckwerte hat, die nicht Gegenstand der EG-Erklärung sind.
(2) Die technischen Anforderungen dieser TSI gelten als erfüllt, wenn ein Eckwert in Richtung der in der TSI definierten Anforderung verbessert wird und die Änderungsverwaltungsstelle nachweist, dass die zugehörigen grundlegenden Anforderungen eingehalten und das Sicherheitsniveau beibehalten und, soweit unter vertretbaren Umständen möglich, verbessert wird. Die Änderungsverwaltungsstelle muss die Gründe für das Nichterreichen der definierten Leistung angeben, wobei Abschnitt 7.1.2.2 Absatz 3 zu berücksichtigen ist. Die Begründung ist im technischen Dossier (sofern vorhanden) oder in den ursprünglich vorgelegten technischen Unterlagen des Fahrzeugs anzugeben.
(3) Die in Nummer 2 festgelegte besondere Vorschrift gilt nicht für Änderungen an Eckwerten, die in Tabelle 17c und Tabelle 17d als Änderungen nach Artikel 21 Absatz 12 Buchstabe a eingestuft sind. Für diese Änderungen ist die Einhaltung der TSI-Anforderungen verpflichtend.
Tabelle 17c Änderungen an Eckwerten, bei denen die Einhaltung der TSI-Anforderungen für Fahrzeuge, die nicht über eine EG-Baumuster- oder Entwurfsprüfbescheinigung verfügen, verpflichtend ist19
| TSI-Abschnitt | Verbundene(s) grundlegende(s) Konstruktionsmerkmal(e) | Änderungen, die sich auf das grundlegende Konstruktionsmerkmal auswirken und unter Artikel 21 Absatz 12 Buchstabe a der Richtlinie (EU) 2016/797 fallen |
| Begrenzungslinie | Bezugsprofil | Änderung des Bezugsprofils, dem das Fahrzeug entspricht |
| Fahrzeugmerkmale für die Kompatibilität mit Zugortungs-/Gleisfreimeldeanlagen | Kompatibilität mit Zugortungs-/Gleisfreimeldeanlagen | Änderung der erklärten Kompatibilität mit einer oder mehreren der drei Arten von Zugortungs-/Gleisfreimeldeanlagen:
|
| Überwachung des Zustands der Radsatzlager | fahrzeugseitiges Überwachungssystem | Ein-/Ausbau des angegebenen fahrzeugseitigen Überwachungssystems |
| . Mechanische und geometrische Eigenschaften von Radsätzen | Spurweite des Radsatzes | Änderung der Spurweite, mit der der Radsatz kompatibel ist |
| Automatische Umspursysteme | Umspuranlage für den Radsatz | Änderung der Spurweite(n), mit der der Radsatz kompatibel ist |
| Nutzbremse mit Rückführung der Energie in die Oberleitung | Nutzbremse | Ein-/Ausbau der Funktion einer Nutzbremse |
Tabelle 17d Änderungen an Eckwerten der PRM TSI, bei denen die Einhaltung der TSI-Anforderungen für Fahrzeuge, die nicht über eine EG-Baumuster- oder Entwurfsprüfbescheinigung verfügen, verpflichtend ist19
| TSI-Abschnitt | Verbundene(s) grundlegende(s) Konstruktionsmerkmal(e) | Änderungen, die sich auf das grundlegende Konstruktionsmerkmal auswirken und unter Artikel 21 Absatz 12 Buchstabe a der Richtlinie (EU) 2016/797 fallen |
| 4.2.2.11. Position von Stufen zum Ein- und Ausstieg | Bahnsteighöhe, für die das Fahrzeug ausgelegt ist | Änderung der Bahnsteighöhe, mit der das Fahrzeug kompatibel ist. |
7.1.2.2b. Sondervorschriften für Fahrzeuge, die für einen begrenzten Zeitraum geändert werden, um die Leistung oder Zuverlässigkeit von technologischen Innovationen zu testen19
(1) Die folgenden Vorschriften gelten zusätzlich zu Abschnitt 7.1.2.2 im Falle von Änderungen an einzelnen genehmigten Fahrzeugen zum Zweck des Tests der Leistung und Zuverlässigkeit von technologischen Innovationen, wobei die Änderungen auf einen Zeitraum von höchstens einem Jahr begrenzt sind. Sie gelten nicht, wenn die gleichen Änderungen an mehreren Fahrzeugen vorgenommen werden.
(2) Die technischen Anforderungen dieser TSI gelten als erfüllt, wenn ein Eckwert unverändert bleibt oder in Richtung der in der TSI definierten Anforderung verbessert wird und die Änderungsverwaltungsstelle nachweist, dass die zugehörigen grundlegenden Anforderungen eingehalten und das Sicherheitsniveau beibehalten und, soweit unter vertretbaren Umständen möglich, verbessert wird.
7.1.2.3. Umrüstung
Bei der Entscheidung, inwieweit die TSI im Falle einer Umrüstung angewendet wird, richtet sich der Mitgliedstaat nach den folgenden Grundsätzen:
(1) Von den Umrüstungsarbeiten nicht betroffene Teile und Eckwerte des Teilsystems sind von der Konformitätsbewertung im Rahmen dieser TSI ausgenommen.
(2) Eine Neubewertung hinsichtlich der Anforderungen dieser TSI ist nur für die Eckwerte dieser TSI erforderlich, deren Eigenschaften durch die Änderung(en) beeinflusst werden.
(3) Wenn bei einer Umrüstung die Erfüllung der TSI-Anforderungen wirtschaftlich nicht realisierbar ist, kann die Umrüstung akzeptiert werden, wenn eindeutig ist, dass ein Eckwert in Richtung der in der TSI definierten Leistung verbessert wird.
(4) Der Anwendungsleitfaden enthält Richtlinien für den Mitgliedstaat hinsichtlich der Veränderungen, die als Umrüstungen eingestuft werden.
(5) Nationale Migrationsstrategien im Zusammenhang mit der Umsetzung anderer TSI (z.B. der TSI für ortsfeste Vorrichtungen) können sich auf den Umfang auswirken, in dem diese TSI anzuwenden ist.
(6) Bei einem Projekt mit nicht TSI-konformen Elementen müssen die Verfahren zur Konformitätsbewertung und die Verfahren der anzuwendenden EG-Prüfung mit dem Mitgliedstaat vereinbart werden.
7.1.3. Vorschriften zu EG-Baumuster- oder Entwurfsprüfbescheinigungen19
7.1.3.1. Teilsystem "Fahrzeuge"19
(1) Dieser Abschnitt behandelt Fahrzeugtypen (Typ einer Einheit im Kontext dieser TSI) gemäß Artikel 2 Absatz 26 der Richtlinie (EU) 2016/797, die einem EG-Baumuster- oder Entwurfsprüfverfahren gemäß dieser TSI unterliegen. Er gilt auch für das EG-Baumuster- oder Entwurfsprüfverfahren gemäß der TSI Lärm (Verordnung (EU) Nr. der Kommission 18) und der TSI PRM (Verordnung (EU) Nr. ), in denen in Bezug auf den Anwendungsbereich für Lokomotiven und Personenwagen auf diese TSI verwiesen wird.
(2) Die TSI-Bewertungsgrundlage für eine "EG-Baumuster- oder Entwurfsprüfung" wird in den Spalten 2 und 3 ("Entwurfsprüfung" und "Baumusterprüfung") der Tabelle in Anlage H dieser TSI definiert.
Phase A
(3) Phase a beginnt mit der Festlegung einer benannten Stelle, die für die EG-Prüfung verantwortlich ist, durch den Antragsteller und endet mit der Ausstellung der EG-Baumuster- oder Entwurfsprüfbescheinigung.
(4) Die TSI-Bewertungsgrundlage für einen Typ ist für eine Phase a mit einer Dauer von maximal sieben Jahren festgelegt. Während der Phase a bleibt die Bewertungsgrundlage für die EG-Prüfung, die von der benannten Stelle anzuwenden ist, unverändert.
(5) Wenn in Phase a eine überarbeitete Fassung dieser TSI oder der oder der in Kraft tritt, ist es zulässig (jedoch nicht obligatorisch), die überarbeitete Fassung entweder vollständig oder bezogen auf bestimmte Abschnitte zu verwenden, sofern in der überarbeiteten TSI-Fassung nicht ausdrücklich etwas anderes festgelegt ist; beschränkt sich die Anwendung auf bestimmte Abschnitte, muss der Antragsteller nachweisen und dokumentieren, dass geltende Anforderungen unverändert erfüllt werden. Dies ist von der benannten Stelle zu bestätigen.
Phase B
(6) Phase B legt den Gültigkeitszeitraum der EG-Baumuster- oder Entwurfsprüfbescheinigung nach deren Ausstellung durch die benannte Stelle fest. Während dieser Zeit können Einheiten auf Basis der typenkonformität EG-zertifiziert werden.
(7) Die EG-Baumuster- oder Entwurfsprüfbescheinigung der EG-Prüfung für das Teilsystem gilt ab ihrem Ausstellungsdatum für eine Dauer von sieben Jahren für Phase B, auch wenn während dieses Zeitraums eine überarbeitete Fassung dieser TSI oder der oder der in Kraft tritt, sofern in den überarbeiteten Fassungen dieser TSI nicht ausdrücklich etwas anderes festgelegt ist. Während dieses Gültigkeitszeitraums kann ein neues Fahrzeug des gleichen Typs auf der Grundlage einer EG-Prüferklärung, die auf die Baumusterprüfbescheinigung verweist, in Verkehr gebracht werden.
7.1.3.2. Interoperabilitätskomponenten
(1) Dieser Abschnitt gilt für Interoperabilitätskomponenten, die der Baumusterprüfung (Modul ) oder der Gebrauchstauglichkeitsbewertung (Modul ) unterliegen.
(2) Die Baumuster- oder Konstruktionsprüfbescheinigung bzw. die Gebrauchstauglichkeitserklärung gilt für einen Zeitraum von fünf Jahren. Während dieses Zeitraums können neue Komponenten des gleichen Baumusters ohne neue Baumusterbewertung in Betrieb genommen werden. Vor Ablauf des Zeitraums von fünf Jahren ist eine Komponente gemäß der zum betreffenden Zeitpunkt gültigen TSI hinsichtlich der Anforderungen zu bewerten, die sich im Vergleich zur Zulassungsgrundlage verändert haben oder neu sind.
7.2. Kompatibilität mit anderen Teilsystemen19
(1) Diese TSI wurde unter Berücksichtigung weiterer Teilsysteme entwickelt, die mit den jeweils maßgeblichen TSI konform sind. Dementsprechend werden Schnittstellen mit den Teilsystemen für ortsfeste Einrichtungen (Infrastruktur, Energie sowie Zugsteuerung, Zugsicherung und Signalgebung) für Teilsysteme behandelt, die die , die TSI ENE und die TSI ZZS einhalten.
(2) Daher hängen die für die Fahrzeuge relevanten Umsetzungsmethoden und -phasen vom Fortschritt der Umsetzung der , der TSI ENE und der TSI ZZS ab.
(3) Außerdem beziehen sich die für ortsfeste Vorrichtungen maßgeblichen TSI auf eine Reihe technischer Merkmale (z.B. den "Traffic Code" der oder das "Energieversorgungssystem" der TSI ENE).
(4) Bei Fahrzeugen sind die entsprechenden technischen Merkmale gemäß Artikel 48 der Richtlinie (EU) 2016/797 und nach dem Durchführungsbeschluss 2011/665/EU im "Europäischen Fahrzeugregister zugelassener Fahrzeugtypen" einzutragen (siehe auch Abschnitt dieser TSI).
(5) Ortsfeste Vorrichtungen sind Bestandteil der gemäß Artikel 48 der Richtlinie (EU) 2016/797 und der Durchführungsverordnung (EU) 2019/777 der Kommission 10 im "Infrastrukturregister" eingetragenen wesentlichen Funktionen.
7.3. Sonderfälle
7.3.1. Allgemeines19
(1) Die im nachstehenden Abschnitt definierten Sonderfälle beschreiben spezielle Bestimmungen, die in bestimmten Streckennetzen der einzelnen Mitgliedstaaten erforderlich sind und genehmigt werden.
(2) Diese Sonderfälle gehören den folgenden Kategorien an:
Alle Sonderfälle und die zugehörigen Fristen sind im Laufe zukünftiger Änderungen der TSI zu überprüfen, um ihren technischen und geografischen Anwendungsbereich auf Grundlage einer Bewertung ihrer Auswirkungen auf Sicherheit, Interoperabilität und grenzüberschreitende Verkehrsdienste, TEN-V-Korridore sowie der praktischen und wirtschaftlichen Auswirkungen ihrer Beibehaltung oder Aufhebung zu begrenzen. Dabei ist der Verfügbarkeit von EU-Mitteln besonders Rechnung zu tragen.
Sonderfälle sind auf die Strecke oder das Netz zu beschränken, auf der bzw. dem sie absolut erforderlich sind; sie sind bei Streckenkompatibilitätsverfahren zu berücksichtigen.
(3) Alle Sonderfälle für Fahrzeuge, die in den Anwendungsbereich dieser TSI fallen, müssen in dieser TSI erfasst sein.
(4) Für bestimmte Sonderfälle bestehen Schnittstellen mit anderen TSI. Wenn ein Abschnitt dieser TSI auf eine andere TSI verweist, für die ein Sonderfall gilt, oder wenn für ein Fahrzeug ein Sonderfall gilt, da in einer anderen TSI ein Sonderfall beschrieben wurde, werden diese Sonderfälle auch in dieser TSI behandelt.
(5) Ferner wird bei einigen Sonderfällen der Zugang TSI-konformer Fahrzeuge zum nationalen Netz nicht verhindert. In diesem Fall wird dies im betreffenden Absatz des nachfolgenden Abschnitts 7.3.2 explizit angegeben.
(6) Im Falle eines Sonderfalles, der für eine Komponente gilt, die gemäß dieser TSI als Interoperabilitätskomponente definiert ist, ist die Konformitätsbewertung im Einklang mit Nummer 3 durchzuführen.
7.3.2. Verzeichnis der Sonderfälle
7.3.2.1. Mechanische Schnittstellen ()
Sonderfall Irland und Vereinigtes Königreich (Nordirland) ("P")
Endkupplung, Höhe über der Schiene (Abschnitt , Anlage A)
A.1 Puffer
Unabhängig von den Last- und Abnutzungsbedingungen muss die Höhe der Mittellinie der Puffer 1.090 mm (+ 5/- 80 mm) über der Schienenoberkante liegen.
A.2 Schraubenkupplung
Unabhängig von den Last- und Abnutzungsbedingungen muss die Höhe der Mittellinie der Puffer 1.070 mm (+ 25/- 80 mm) über der Schienenoberkante liegen.
Sonderfall Vereinigtes Königreich (Großbritannien) ("P")
Zugang des Zugpersonals bei Kupplungs- und Entkupplungsvorgängen (Abschnitt )
Mit manuellen Kupplungssystemen (gemäß Abschnitt Buchstabe b) ausgerüstete Fahrzeuge können alternativ den zu diesem Zweck notifizierten nationalen technischen Vorschriften entsprechen.
Der Zugang TSI-konformer Fahrzeuge zum nationalen Netz wird durch diesen Sonderfall nicht ausgeschlossen.
7.3.2.2. Begrenzungslinie ()
Sonderfall Irland und Vereinigtes Königreich (Nordirland) ("P")
Das Bezugsprofil des oberen und des unteren Teils der Einheit kann gemäß den zu diesem Zweck notifizierten nationalen technischen Vorschriften nachgewiesen werden.
Sonderfall Vereinigtes Königreich (Großbritannien) ("P")
Um die technische Kompatibilität mit dem bestehenden Netz sicherzustellen, kann das Bezugsprofil des oberen und des unteren Teils der Einheit zusammen mit dem Lichtraum für Oberleitungen gemäß den zu diesem Zweck notifizierten nationalen technischen Vorschriften nachgewiesen werden.
Der Zugang TSI-konformer Fahrzeuge zum nationalen Netz wird durch diesen Sonderfall nicht ausgeschlossen.
7.3.2.3. Anforderungen an die Kompatibilität von Fahrzeugen mit streckenseitigen Ausrüstungen ()19
Sonderfall Finnland ("P")
Bei Fahrzeugen, die für das finnische Eisenbahnnetz (Spurweite 1.524 mm) ausgelegt sind und zur Überwachung des Zustands der Radsatzlager streckenseitige Ausrüstung benötigen, müssen die Zielbereiche auf der Unterseite eines Radsatzlagers, die zur Beobachtung durch eine gleisseitige Heißläuferortungsanlage frei bleiben müssen, den Maßen in EN 15437-1:2009 entsprechen. Die betreffenden Werte sind durch die im Folgenden genannten Werte zu ersetzen:
System auf Grundlage streckenseitiger Ausrüstung:
Die Maße in den Abschnitten 5.1 und 5.2 von EN 15437-1:2009 werden durch die folgenden Abmessungen ersetzt. Es werden zwei verschiedene Zielbereiche (I und II) definiert, einschließlich der jeweils frei zu lassenden Bereiche und ihrer Messbereiche:
Maße für Zielbereich I:
Maße für Zielbereich II:
Sonderfall Irland und Vereinigtes Königreich (für Nordirland) ("P")
Bei Fahrzeugen, die auf streckenseitige Ausrüstungen zur Überwachung der Radsatzlager angewiesen sind, müssen hinsichtlich der Unterseite der Radsatzlager die nachstehenden Zielbereiche gegeben sein (Abmessungen gemäß EN 15437-1:2009):
Tabelle 18: Zielbereiche
| YTA [mm] | WTA [mm] | LTA [mm] | YPZ [mm] | WPZ [mm] | LPZ [mm] | |
| 1.600 mm | 1.110 ± 2 | ≥ 70 | ≥ 180 | 1.110 ± 2 | ≥ 125 | ≥ 500 |
Sonderfall Schweden ("T1")
Dieser Sonderfall gilt für alle Einheiten, die nicht mit fahrzeugseitiger Ausrüstung zur Überwachung des Zustands der Radsatzlager ausgerüstet sind und die für den Betrieb auf Strecken ausgelegt sind, auf denen die Vorrichtungen zur Erkennung der Radsatzlager nicht umgerüstet wurden. Diese Strecken werden in dieser Hinsicht im Infrastrukturregister als nicht TSI-konform angegeben.
Die beiden in der folgenden Tabelle unter Bezug auf die Parameter in EN 15437-1:2009 angegebenen Bereiche unter dem Radsatzlager/Achsschenkel müssen frei sein, um die vertikale Überwachung durch streckenseitige Heißläuferortungsanlagen zu ermöglichen.
Tabelle 19: Zielbereich und Sperrbereich für Einheiten in Schweden
| YTA [mm] | WTA [mm] | LTA [mm] | YPZ [mm] | WPZ [mm] | LPZ [mm] | |
| System 1 | 862 | ≥ 40 | gesamte Länge | 862 | ≥ 60 | ≥ 500 |
| System 2 | 905 ± 20 | ≥ 40 | gesamte Länge | 905 | ≥ 100 | ≥ 500 |
Die Konformität mit diesen Systemen ist in der technischen Dokumentation des jeweiligen Fahrzeugs zu beschreiben.
Sonderfall Vereinigtes Königreich (Großbritannien) ("P")
Die Konformität mit anderen streckenseitigen Ausrüstungen als in der in Anlage J-1 Ziffer 15 genannten Spezifikation ist zulässig. In den betreffenden Fällen stehen die Merkmale der streckenseitigen Ausrüstung einer Einheit in Einklang mit der beschriebenen technischen Dokumentation (gemäß Abschnitt Absatz (4)).
7.3.2.4. Sicherheit gegen Entgleisen in Gleisverwindungen ()19
Sonderfall Vereinigtes Königreich (Großbritannien) ("P")
Bei allen Einheiten und in allen Fällen ist die Anwendung der in EN 14363:2016 Abschnitt 6.1.5.3.1 beschriebenen Methode 3 zulässig.
Der Zugang TSI-konformer Fahrzeuge zum nationalen Netz wird durch diesen Sonderfall nicht ausgeschlossen.
7.3.2.5. Dynamisches Laufverhalten (, )19
Sonderfall Finnland ("P")
Die folgenden Änderungen der für das dynamische Fahrverhalten maßgeblichen Abschnitte der TSI gelten für Fahrzeuge, die ausschließlich im finnischen Netz mit einer Spurweite von 1.524 mm betrieben werden sollen:
Sonderfall Irland und Vereinigtes Königreich (für Nordirland) ("P")
Um die technische Kompatibilität mit dem bestehenden Netz zu gewährleisten, dürfen die notifizierten nationalen technischen Regeln für die Bewertung des dynamischen Fahrverhaltens zugrunde gelegt werden.
Sonderfall Spanien ("P")
Für Fahrzeuge, die für einen Betrieb auf Netzen mit einer Spurweite von 1.668 mm ausgelegt sind, ist der Grenzwert für die quasistatische Führungskraft Yqst für Bogenhalbmesser
250 m ≤ Rm < 400 m zu ermitteln.
Folgender Grenzwert ist einzuhalten: (Yqst)lim = 66 kN.
Für die Normalisierung des Schätzwertes auf den Radius Rm = 350 m gemäß EN 14363:2016 Abschnitt 7.6.3.2.6 Nummer 2 wird die Formel "Ya,nf,qst = Ya,f,qst - (10.500 m/Rm - 30) kN" ersetzt durch "Ya,nf,qst = Ya,f,qst - (11.550 m/Rm - 33) kN".
Die Anpassung der Überhöhungsfehlbetragswerte auf eine Spurweite von 1.668 mm erfolgt durch Multiplikation der entsprechenden Parameterwerte für 1.435 mm mit dem folgenden Umrechnungsfaktor: 1.733/1.500.
Sonderfall Vereinigtes Königreich (Großbritannien) ("P")
Um die technische Kompatibilität mit dem bestehenden Netz zu gewährleisten, dürfen nationale technische Regeln zur Änderung der Anforderungen in EN 14363 angewandt werden, die zum Zweck der Beurteilung des dynamischen Laufverhaltens notifiziert wurden. Der Zugang TSI-konformer Fahrzeuge zum nationalen Netz wird durch diesen Sonderfall nicht ausgeschlossen.
7.3.2.6. Mechanische und geometrische Eigenschaften von Radsätzen und Rädern (und )
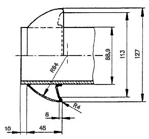
Sonderfall Estland, Lettland, Litauen und Polen für die Spurweite 1.520 mm ("P")
Die geometrischen Abmessungen der Räder nach der Definition in Abbildung müssen die in Tabelle 20 definierten Grenzwerte einhalten:
Tabelle 20: Betriebsgrenzmaße für die geometrischen Abmessungen der Räder
| Bezeichnung | Raddurchmesser D (mm) |
Mindestwert (mm) | Höchstwert (mm) |
| Radkranzbreite (BR+ Grat) | 400 ≤ D ≤ 1.220 | 130 | 146 |
| Spurkranzdicke (Sd) | 21 | 33 | |
| Spurkranzhöhe (Sh) | 28 | 32 |
Sonderfall Finnland ("P")
Der Raddurchmesser muss mindestens 400 mm betragen.
Für Fahrzeuge, die für den Verkehr zwischen dem finnischen Streckennetz mit einer Spurweite von 1.524 mm und Streckennetzen von Drittländern mit einer Spurweite von 1.520 mm vorgesehen sind, können spezielle Radsätze verwendet werden, die konstruiert wurden, um die Unterschiede der Spurweiten abzudecken.
Sonderfall Irland ("P")
Die geometrischen Abmessungen der Räder (wie in Abb. definiert) müssen den in Tabelle 21 definierten Grenzwerten entsprechen:
Tabelle 21: Betriebsgrenzmaße für die geometrischen Abmessungen der Räder19
| "Bezeichnung | Raddurchmesser D (mm) | Mindestwert (mm) | Höchstwert (mm) | |
| 1.600 mm | Radkranzbreite (BR) (mit einem Grat von maximal 5 mm) | 690 ≤ D ≤ 1.016 | 137 | 139 |
| Spurkranzdicke (Sd) | 690 ≤ D ≤ 1.016 | 26 | 33 | |
| Spurkranzhöhe (Sh) | 690 ≤ D ≤ 1.016 | 28 | 38 | |
| Spurkranzflankenmaß (qR) | 690 ≤ D ≤ 1.016 | 6,5 | -" |
Sonderfall Vereinigtes Königreich (Nordirland) ("P")
Die geometrischen Abmessungen der Radsätze und der Räder (wie in den Abbildungen und definiert) müssen die in Tabelle 22 definierten Grenzwerte einhalten:
Tabelle 22: Betriebsgrenzmaße für die geometrischen Abmessungen der Radsätze und Räder19
| 1.600mm | Spurmaß (SR) SR = AR+Sd,links+Sd,rechts |
690 ≤ D ≤ 1.016 | 1.573 | 1.593,3 |
| Radrückenabstand (AR) | 690 ≤ D ≤ 1.016 | 1.521 | 1.527,3 | |
| Radkranzbreite (BR) (mit einem Grat von maximal 5 mm) |
690 ≤ D ≤ 1.016 | 127 | 139 | |
| Spurkranzdicke (Sd) | 690 ≤ D ≤ 1.016 | 24 | 33 | |
| Spurkranzhöhe (Sh) | 690 ≤ D ≤ 1.016 | 28 | 38 | |
| Spurkranzflankenmaß (qR) | 690 ≤ D ≤ 1.016 | 6,5 | - |
Sonderfall Spanien für die Spurweite 1.668 mm ("P")
Die Spurkranzdicke (Sd) muss bei einem Raddurchmesser D > 840 mm mindestens 25 mm betragen.
Bei Raddurchmessern von 330 mm ≤ D < 840 mm ist der Mindestwert von 27,5 mm anzuwenden.
Sonderfall Vereinigtes Königreich (Großbritannien) ("P")
Es ist zulässig, dass die geometrischen Abmessungen der Räder alternativ die zu diesem Zweck notifizierten nationalen technischen Regeln einhalten.
Der Zugang TSI-konformer Fahrzeuge zum nationalen Netz wird durch diesen Sonderfall nicht ausgeschlossen.
7.3.2.6a Minimaler Bogenhalbmesser ()19
Sonderfall Irland ("P")
Bei der Spurweite 1.600 mm müssen alle Einheiten einen Bogenhalbmesser von mindestens 105 m bewältigen.
7.3.2.7. Notbremsung ()
Sonderfall Vereinigtes Königreich (Großbritannien) ("P")
Bei Einheiten, die in einem nicht trennbaren oder einem vordefinierten Zugverband für eine vorgesehene Höchstgeschwindigkeit von 250 km/h oder darüber zu bewerten sind, kann der Bremsweg bei der Prüfung der "Notbremsleistung im Normalbetrieb" von den in Abschnitt Nummer 9 genannten Mindestwerten abweichen.
7.3.2.8. Aerodynamische Wirkungen ()
Sonderfall Vereinigtes Königreich (Großbritannien) ("P")
Druckimpuls an der Zugspitze ()
Bei Einheiten mit einer maximalen Betriebsgeschwindigkeit von mehr als 160 km/h und weniger als 250 km/h, die im Freien mit ihrer jeweiligen maximalen Betriebsgeschwindigkeit eingesetzt werden, dürfen die Spitze-Spitze-Druckänderungen den in der jeweiligen nationalen technischen Vorschrift für den betreffenden Zweck genannten Wert nicht überschreiten.
Sonderfall Italien ("P")
Maximale Druckschwankungen in Tunneln ():
Für den uneingeschränkten Betrieb auf den bestehenden Strecken und unter Berücksichtigung der zahlreichen Tunnel mit einem Querschnitt von 54 m2, die mit einer Geschwindigkeit von 250 km/h durchfahren werden, sowie der Tunnel mit einem Querschnitt von 82,5 m2, die mit 300 km/h durchfahren werden, müssen Einheiten mit vorgesehenen Höchstgeschwindigkeiten von mindestens 190 km/h die in Tabelle 23 genannten Anforderungen erfüllen:
Tabelle 23: Anforderungen an einzeln fahrende interoperable Züge in einem röhrenförmigen Tunnel ohne Neigung
| Begrenzungslinie | Referenzfall | Anforderungen für diesen Referenzfall | Zulässige Höchstgeschwindigkeit [km/h] |
||||
| Vtr [km/h] |
Atu [m2] |
ΔpN [Pa] |
ΔpN + ΔpFr [Pa] |
ΔpN+ΔpFr+ΔpT [Pa] |
|||
| Vtr,max < 250 km/h | Ga oder kleiner |
200 | 53,6 | ≤ 1.750 | ≤ 3.000 | ≤ 3.700 | ≤ 210 |
| GB | 200 | 53,6 | ≤ 1.750 | ≤ 3.000 | ≤ 3.700 | ≤ 210 | |
| GC | 200 | 53,6 | ≤ 1.750 | ≤ 3.000 | ≤ 3.700 | ≤ 210 | |
| Vtr,max < 250 km/h | Ga oder kleiner |
200 | 53,6 | ≤ 1.195 | ≤ 2.145 | ≤ 3.105 | < 250 |
| GB | 200 | 53,6 | ≤ 1.285 | ≤ 2.310 | ≤ 3.340 | < 250 | |
| GC | 200 | 53,6 | ≤ 1.350 | ≤ 2.530 | ≤ 3.455 | < 250 | |
| Vtr,max ≥ 250 km/h | Ga oder kleiner |
250 | 53,6 | ≤ 1.870 | ≤ 3.355 | ≤ 4.865 | 250 |
| Vtr,max ≥ 250 km/h | Ga oder kleiner |
250 | 63,0 | ≤ 1.460 | ≤ 2.620 | ≤ 3.800 | > 250 |
| GB | 250 | 63,0 | ≤ 1.550 | ≤ 2.780 | ≤ 4.020 | > 250 | |
| GC | 250 | 63,0 | ≤ 1.600 | ≤ 3.000 | ≤ 4.100 | > 250 | |
Wenn ein Fahrzeug die in der vorstehenden Tabelle genannten Werte nicht einhält (z.B. ein mit der TSI konformes Fahrzeug), können unter Umständen Betriebsvorschriften (z.B. Geschwindigkeitsbeschränkungen) zur Anwendung kommen.
7.3.2.9. Schalldruckpegel von Signalhörnern ()
Sonderfall Vereinigtes Königreich (Großbritannien) ("P")
Bei Fahrzeugen, die nur national genutzt werden, können die Schalldruckpegel von Signalhörnern den zu diesem Zweck in Großbritannien notifizierten nationalen technischen Vorschriften entsprechen.
Bei Zügen, die für den internationalen Betrieb vorgesehen sind, müssen die Schalldruckpegel von Signalhörnern Abschnitt dieser TSI entsprechen.
Dieser Sonderfall steht dem Zugang TSI-konformer Fahrzeuge zum nationalen Netz nicht entgegen.
7.3.2.10. Energieversorgung - Allgemeines ()19
Sonderfall Vereinigtes Königreich (Großbritannien) ("P")
Elektrische Einheiten können für den Betrieb ausschließlich auf Strecken ausgelegt sein, die gemäß der TSI ENE über ein System mit 600/750 V DC versorgt werden und bei denen drei- oder vierreihige Boden-Stromschienen verwendet werden. In diesem Fall sind die zu diesem Zweck notifizierten nationalen technischen Vorschriften anzuwenden.
7.3.2.11. Betrieb innerhalb des Spannungs- und Frequenzbereichs ()19
Sonderfall Estland ("T1")
Elektrische Einheiten, die für den Betrieb auf Strecken mit 3,0 kV Gleichstrom ausgelegt sind, müssen in den in der TSI ENE genannten Spannungs- und Frequenzbereichen eingesetzt werden können.
Sonderfall Frankreich ("T2")
Elektrische Einheiten, die für den Betrieb auf bestehenden Strecken mit 1,5 kV Gleichstrom ausgelegt sind, müssen in den in der TSI ENE genannten Spannungs- und Frequenzbereichen eingesetzt werden können.
Der maximal zulässige Strom bei stehendem Fahrzeug pro Stromabnehmer () auf bestehenden Strecken mit 1,5 kV Gleichstrom kann geringer sein als in der TSI ENE in Abschnitt 4.2.5 vorgeschrieben. Der Strom bei stehendem Fahrzeug pro Stromabnehmer ist entsprechend den für den Betrieb auf diesen Strecken ausgelegten elektrischen Einheiten zu begrenzen.
Sonderfall Lettland ("T1")
Elektrische Einheiten, die für den Betrieb auf Strecken mit 3,0 kV Gleichstrom ausgelegt sind, müssen in den in der TSI ENE genannten Spannungs- und Frequenzbereichen eingesetzt werden können.
Sonderfall Vereinigtes Königreich (Großbritannien) ("P")
Elektrische Einheiten können mit einer automatischen Regulierung bei anormaler Betriebsspannung gemäß der zu diesem Zweck notifizierten nationalen technischen Vorschrift ausgerüstet werden.
Dieser Sonderfall steht dem Zugang TSI-konformer Fahrzeuge zum nationalen Netz nicht entgegen.
7.3.2.12. Verwendung der Nutzbremse ()19
Sonderfall Belgien ("T1")
Um die technische Kompatibilität mit dem bestehenden System sicherzustellen, darf die in Fahrleitungsmasten geleitete Spannung (Umax2 gemäß EN 50388:2012 Abschnitt 12.1.1) in 3-kV-Netzen höchstens 3,8 kV betragen.
Sonderfall Tschechische Republik ("T1")
Um die technische Kompatibilität mit dem bestehenden System sicherzustellen, darf die in Fahrleitungsmasten geleitete Spannung (Umax2 gemäß EN 50388:2012 Abschnitt 12.1.1) in 3-kV-Netzen höchstens 3,55 kV betragen.
Sonderfall Schweden ("T1")
Um die technische Kompatibilität mit dem bestehenden System sicherzustellen, darf die in Fahrleitungsmasten geleitete Spannung (Umax2 gemäß EN 50388:2012 Abschnitt 12.1.1) in 15-kV-Netzen höchstens 17,5 kV betragen.
7.3.2.13 Höhe für das Zusammenwirken mit Fahrdrähten (Fahrzeugebene) ()
Sonderfall Vereinigtes Königreich (Großbritannien) ("P")
Um die technische Kompatibilität mit bestehenden Strecken sicherzustellen, müssen Stromabnehmer so an einer elektrischen Einheit angebracht sein, dass gemäß den zu diesem Zweck notifizierten nationalen technischen Vorschriften auch bei erweiterten Fahrdrahthöhen ein mechanischer Kontakt möglich ist.
7.3.2.14. Geometrie der Stromabnehmerwippe ()19
Sonderfall Kroatien ("T1")
Für den Betrieb im bestehenden 3-kV-Gleichstromnetz können elektrische Einheiten gemäß EN 50367:2012 Anhang B.2 Abbildung B.1 (alternativ zur Anforderung in Abschnitt ) mit einem Stromabnehmer, dessen Wippe 1.450 mm lang ist, ausgerüstet sein.
Sonderfall Frankreich ("T2")
Um die technische Kompatibilität mit dem bestehenden Netz sicherzustellen, darf die Stromabnehmerwippe höchstens 0,422 m breit sein.
Sonderfall Frankreich ("T")
Für den Betrieb im bestehenden Netz, insbesondere auf Oberleitungsstrecken, die nur mit schmalen Stromabnehmern kompatibel sind, sowie für den Einsatz in Frankreich und in der Schweiz können elektrische Einheiten gemäß EN 50367:2012 Anhang B.2 Abbildung B.1 (alternativ zur Anforderung in Abschnitt ) mit einem Stromabnehmer, dessen Wippe 1.450 mm lang ist, ausgerüstet sein.
Sonderfall Italien ("T0")
Für den Betrieb im bestehenden 3-kV-Gleichstromnetz (sowie für den Einsatz in der Schweiz mit 15-kV-AC-Systemen) können elektrische Einheiten gemäß EN 50367:2012 Anhang B.2 Abbildung B.1 (alternativ zur Anforderung in Abschnitt ) mit einem Stromabnehmer, dessen Wippe 1.450 mm lang ist, ausgerüstet sein.
Sonderfall Portugal ("T0")
Für den Betrieb im bestehenden 25-kV-Netz (50 Hz) können elektrische Einheiten gemäß EN 50367:2012 Anhang B.2 Abbildung B.1 (alternativ zur Anforderung in Abschnitt ) mit einem Stromabnehmer, dessen Wippe 1.450 mm lang ist, ausgerüstet sein.
Für den Betrieb im bestehenden 1,5-kV-Gleichstromnetz können elektrische Einheiten (alternativ zur Anforderung in Abschnitt ) mit einem Stromabnehmer, dessen Wippe 2.180 mm lang ist, ausgerüstet sein.
Sonderfall Slowenien ("T0")
Für den Betrieb im bestehenden 3-kV-Gleichstromnetz können elektrische Einheiten gemäß EN 50367:2012 Anhang B.2 Abbildung B.1 (alternativ zur Anforderung in Abschnitt ) mit einem Stromabnehmer, dessen Wippe 1.450 mm lang ist, ausgerüstet sein.
Sonderfall Schweden ("T1")
Für den Betrieb im bestehenden Netz können elektrische Einheiten gemäß EN 50367:2012 Anhang B.2 Abbildung B.5 (alternativ zur Anforderung in Abschnitt ) mit einem 1 800 mm langen Stromabnehmer ausgerüstet sein.
Sonderfall Vereinigtes Königreich (Großbritannien) ("P")
Für den Betrieb im bestehenden Netz können elektrische Einheiten gemäß EN 50367:2012 Anhang B.2 Abbildung B.6 (alternativ zur Anforderung in Abschnitt ) mit einem Stromabnehmer, dessen Wippe 1.600 mm lang ist, ausgerüstet sein.
7.3.2.15. Schleifstück-Werkstoffe ()
Sonderfall Frankreich ("P")
Der Metallgehalt der Kohle-Schleifstücke darf auf Strecken mit 1.500 V Gleichstrom um bis zu 60 % erhöht sein.
7.3.2.16. Kontaktkraft und dynamisches Verhalten der Stromabnehmer ()19
Sonderfall Frankreich ("T2")
Um die technische Kompatibilität mit dem bestehenden Netz sicherzustellen, muss nachgewiesen werden, dass elektrische Einheiten, die in 1,5-kV-Gleichstromnetzen betrieben werden sollen, zusätzlich zur Anforderung nach Abschnitt , eine mittlere Kontaktkraft im folgenden Bereich einhalten: 70 N < Fm< 0,00178 * v11 + 110 N bei einer Kraft von 140 N bei stehender Einheit.
Das Verfahren zur Konformitätsbewertung (Simulation und/oder Prüfung gemäß den Abschnitten und 6.2.3.20) muss die folgenden Umweltbedingungen berücksichtigen:
Sonderfall Schweden ("T1")
Um die technische Kompatibilität mit dem bestehenden Netz in Schweden sicherzustellen, muss die statische Kontaktkraft des Stromabnehmers die Anforderungen gemäß EN 50367:2012 Anhang B Tabelle B3 Spalte SE erfüllen (55 N). Die Einhaltung dieser Anforderungen ist in der technischen Akte des jeweiligen Fahrzeugs zu dokumentieren.
Sonderfall Vereinigtes Königreich (Großbritannien) ("P")
Um die technische Kompatibilität mit bestehenden Strecken sicherzustellen, muss bei der Prüfung auf Ebene der Interoperabilitätskomponente (Abschnitte und .) nachgewiesen werden, dass der Stromabnehmer den Strom auch bei den erweiterten Fahrdrahthöhen von 4.700 mm bis 4.900 mm abnimmt.
Sonderfall Kanaltunnel ("P")
Um die technische Kompatibilität mit bestehenden Strecken sicherzustellen, muss bei der Prüfung auf Ebene der Interoperabilitätskomponente (Abschnitte und .) nachgewiesen werden, dass der Stromabnehmer den Strom auch bei den erweiterten Fahrdrahthöhen von 5.920 mm bis 6.020 mm abnimmt.
7.3.2.17. Notausstieg im Führerraum ()
Sonderfall Vereinigtes Königreich (Großbritannien) ("P")
Der Zugangsbereich und der Lichtraum des Ausstiegs zum Innenbereich müssen in der Höhe und in der Breite mindestens die Anforderungen der zu diesem Zweck notifizierten Vorschriften erfüllen.
Dieser Sonderfall steht dem Zugang TSI-konformer Fahrzeuge zum nationalen Netz nicht entgegen.
7.3.2.18. Sicht nach vorn ()
Sonderfall Vereinigtes Königreich (Großbritannien) ("P")
Anstelle der in Abschnitt dargelegten Anforderungen gilt für Fahrzeuge, die für den Betrieb in Großbritannien vorgesehen sind, der folgende Sonderfall.
Der Führerraum muss gemäß der nationalen technischen Vorschrift GM/RT2161 "Anforderungen an Führerstände von Schienenfahrzeugen" so konstruiert sein, dass der Triebfahrzeugführer von seiner sitzenden Fahrposition aus eine klare und uneingeschränkte Sichtlinie auf die ortsfesten Signale hat,
Dieser Sonderfall steht dem Zugang TSI-konformer Fahrzeuge zum nationalen Netz nicht entgegen.
7.3.2.19. Fahrpult - Ergonomie ()
Sonderfall Vereinigtes Königreich (Großbritannien) ("P")
Sollten die Anforderungen im letzten Absatz von Abschnitt zur Bewegungsrichtung des Hebels für Bremsen und/oder Traktion nicht mit dem Sicherheitsmanagementsystem des britischen Eisenbahnunternehmens kompatibel sein, kann die Bewegungsrichtung für Bremsen und Traktion umgekehrt werden.
7.3.2.20. Brandschutz und Evakuierung ()19
Sonderfall Italien ("T0")
Im Folgenden sind zusätzliche Spezifikationen für Einheiten aufgeführt, die in den bestehenden italienischen Tunneln eingesetzt werden sollen.
Brandmeldeeinrichtungen (Abschnitte und 6.2.3.23)
Außer in den in Abschnitt 6.2.3.23 genannten Bereichen sind Brandmeldeeinrichtungen auch in sämtlichen Fahrgast- und Personalbereichen einzubauen.
Systeme zur Eindämmung und Bekämpfung von Bränden in Personenwagen (Abschnitt )
Zusätzlich zu den Anforderungen gemäß Abschnitt sind Einheiten mit Personenwagen der Kategorien a und B mit aktiven Systemen zur Eindämmung und zur Bekämpfung von Bränden(Fire Containment and Control Systems, FCCS) auszurüsten.
FCCS sind gemäß den notifizierten nationalen Vorschriften für automatische Feuerlöschsysteme zu bewerten.
Zusätzlich zu den Anforderungen in Abschnitt sind Einheiten mit Personenwagen der Kategorien a und B in allen technischen Bereichen mit automatischen Feuerlöschsystemen auszurüsten.
Güterzuglokomotiven und Triebfahrzeuge für den Güterverkehr: Maßnahmen zur Eindämmung von Bränden (Abschnitt ) und Fahrfähigkeit (Abschnitt )
Zusätzlich zu den Anforderungen gemäß Abschnitt sind Güterzuglokomotiven und Triebfahrzeuge für den Güterverkehr in allen technischen Bereichen mit automatischen Feuerlöschsystemen auszurüsten.
Zusätzlich zu den Anforderungen gemäß Abschnitt muss bei Güterzuglokomotiven und bei Triebfahrzeugen für den Güterverkehr eine Fahrfähigkeit sichergestellt sein, die der für Personenwagen der Kategorie B geforderten Fahrfähigkeit entspricht.
Überprüfungsklausel:
Bis spätestens zum 31. Juli 2025 müssen die Mitgliedstaaten der Kommission einen Bericht über mögliche Alternativen zu den vorgenannten Spezifikationen vorlegen, um die Einschränkungen für Fahrzeuge, die dadurch verursacht werden, dass die Tunnel nicht die TSI erfüllen, zu beseitigen oder wesentlich zu reduzieren.
7.3.2.21. Fahrfähigkeit () und Systeme zur Eindämmung und zur Bekämpfung von Bränden ()19
Sonderfall Kanaltunnel ("P")
Für den Betrieb im Kanaltunnel ausgelegte Personenwagen müssen angesichts der Länge des Tunnels der Kategorie B entsprechen.
Da keine Brandbekämpfungsstationen mit sicheren Bereichen vorhanden sind (siehe TSI SRT Abschnitt 4.2.1.7), werden nachstehende Abschnitte wie folgt geändert:
7.3.2.22. Schnittstelle der Toilettenentsorgungsanlage ()
Sonderfall Finnland ("P")
Alternativ oder zusätzlich zu den Angaben in Abschnitt ist es zulässig, Anschlüsse für die Toilettenentsorgung und zum Spülen der Sanitärtanks zu installieren, die mit den streckenseitigen Ausrüstungen im finnischen Schienennetz gemäß Abbildung AI1 kompatibel sind.
Figure a I1. Emptying connections for toilet tank.
Schnellanschluss SFS 4428, Anschlussteil A, Größe DN80
Werkstoff: säurefester Edelstahl
Dichtung auf der Gegenseite des Anschlusses
Spezifische Definition in der Norm SFS 4428
7.3.2.23. Schnittstelle für Wasserbefüllung ()
Sonderfall Finnland ("P")
Alternativ oder zusätzlich zu den Angaben in Abschnitt können Wasserfüllanschlüsse installiert werden, die gemäß Abbildung AII1 mit der streckenseitigen Ausrüstung im finnischen Schienennetz kompatibel sind.
Figure a II1 The water filling adapters
Typ: Anschluss C für Brandbekämpfung NCU1
Werkstoff: Messing oder Aluminium
Spezifische Definition in der Norm SFS 3802 (Definition der Dichtung je nach Anschlusshersteller)
Sonderfall Irland und Vereinigtes Königreich (für Nordirland) ("P")
Alternativ oder zusätzlich zu den Angaben in Abschnitt dieser TSI ist es zulässig, eine düsenförmige Schnittstelle für die Wasserbefüllung zu montieren. Diese düsenförmige Schnittstelle für die Wasserbefüllung muss die Anforderungen der zu diesem Zweck notifizierten nationalen technischen Vorschriften erfüllen.
7.3.2.24. Besondere Anforderungen für das Abstellen der Züge ()
Sonderfall Irland und Vereinigtes Königreich (Nordirland) ("P")
Ortsfeste Stromversorgungen für abgestellte Züge müssen die Anforderungen der zu diesem Zweck notifizierten nationalen technischen Vorschriften erfüllen.
Sonderfall Vereinigtes Königreich (Großbritannien) ("P")
Die lokale externe Hilfsenergieversorgung (400 V) kann gemäß den zu diesem Zweck notifizierten nationalen technischen Vorschriften bereitgestellt werden.
7.3.2.25. Betankungsanlagen ()
Sonderfall Finnland ("P")
Zur Betankung im finnischen Schienennetz muss der Kraftstofftank von Einheiten mit einer Dieselbetankungsschnittstelle mit Überlaufkontrolle nach den Normen SFS 5684 und SFS 5685 ausgerüstet sein.
Sonderfall Irland und Vereinigtes Königreich (Nordirland) ("P")
Diese Schnittstelle der Betankungsanlage muss die Anforderungen der zu diesem Zweck notifizierten nationalen technischen Vorschriften erfüllen.
7.3.2.26. Fahrzeuge aus Drittländern (allgemein)
Sonderfall Finnland
Die Anwendung nationaler technischer Regelungen anstelle der Anforderungen dieser TSI ist für Fahrzeuge aus Drittländern zulässig, die im Verkehr zwischen dem finnischen Netz mit einer Spurweite von 1.524 mm und Netzen in Drittländern mit einer Spurweite von 1.520 mm eingesetzt werden.
7.3.2.27. Vorschriften zum Umgang mit Änderungen an Fahrzeug und Fahrzeugtyp (7.1.2.2)19
Sonderfall Vereinigtes Königreich (Großbritannien) ("P")
Jede Änderung des Hüllraums eines Fahrzeugs wie in den für den Prozess betreffend Begrenzungslinien notifizierten technischen Vorschriften definiert (z.B. wie in RIS-2773-RST beschrieben) wird als Änderung nach Artikel 15 Absatz 1 Buchstabe c der Durchführungsverordnung (EU) 2018/545 der Kommission und nicht als Änderung nach Artikel 21 Absatz 12 Buchstabe a der Richtlinie (EU) 2016/797 eingestuft.
7.4. Spezielle Umweltbedingungen
Besondere Bedingungen für Österreich
In Österreich ist bei winterlicher Witterung ein ungehinderter Zugang gewährleistet, wenn die folgenden Anforderungen erfüllt sind:
Besondere Bedingungen für Estland
Für einen uneingeschränkten Zugang von Fahrzeugen zum estnischen Schienennetz unter winterlichen Bedingungen muss nachgewiesen werden, dass das Fahrzeug die folgenden Anforderungen erfüllt:
Besondere Bedingungen für Finnland
Für einen uneingeschränkten Zugang von Fahrzeugen zum finnischen Schienennetz unter winterlichen Bedingungen muss nachgewiesen werden, dass das Fahrzeug die folgenden Anforderungen erfüllt:
Besondere Bedingungen für Frankreich
In Frankreich ist bei winterlicher Witterung ein ungehinderter Zugang gewährleistet, wenn die folgenden Anforderungen erfüllt sind:
Besondere Bedingungen für Griechenland
Für den uneingeschränkten Zugang der Fahrzeuge zum griechischen Schienennetz unter sommerlichen Bedingungen muss die Temperaturzone T3 gemäß Abschnitt ausgewählt werden.
Besondere Bedingungen für Deutschland
In Deutschland ist bei winterlicher Witterung ein ungehinderter Zugang gewährleistet, wenn die folgenden Anforderungen erfüllt sind:
Besondere Bedingungen für Portugal
Für den uneingeschränkten Zugang der Fahrzeuge zum portugiesischen Schienennetz unter sommerlichen Bedingungen muss die Temperaturzone T3 gemäß Abschnitt ausgewählt werden.
Besondere Bedingungen für Spanien
Für den uneingeschränkten Zugang der Fahrzeuge zum spanischen Schienennetz unter sommerlichen Bedingungen muss die Temperaturzone T3 gemäß Abschnitt ausgewählt werden.
Besondere Bedingungen für Schweden
Für den uneingeschränkten Zugang von Fahrzeugen zum schwedischen Schienennetz unter winterlichen Bedingungen muss nachgewiesen werden, dass das Fahrzeug die folgenden Anforderungen erfüllt:
7.5. Im Zuge der Überarbeitung oder bei anderen Aktivitäten der Agentur zu berücksichtigende Aspekte
Zusätzlich zu der Analyse, die im Entwurfsstadium dieser TSI durchgeführt wurde, wurden bestimmte Aspekte bestimmt, die für die zukünftige Entwicklung des Eisenbahnsystems der EU von Interesse sind.
Diese Aspekte lassen sich in drei verschiedene Gruppen gliedern:
(1) Aspekte, die bereits Teil eines Eckwertes der TSI sind und die bei der Überarbeitung der TSI zu einer Weiterentwicklung der entsprechenden Spezifikation führen können;
(2) Aspekte, die beim derzeitigen Stand nicht als Eckwert betrachtet werden, aber dennoch Gegenstand von Forschungsprojekten sind;
(3) Aspekte, die im Rahmen laufender Studien zum EU-Eisenbahnsystem relevant sind und nicht in den Anwendungsbereich von TSI fallen.
Diese Aspekte werden nachfolgend aufgeführt und gemäß der Gliederung in Abschnitt der TSI klassifiziert.
7.5.1. Aspekte in Bezug auf Eckwerte dieser TSI
7.5.1.1. Radsatzlast (Abschnitt )
Dieser Eckwert betrifft die Schnittstelle zwischen Infrastruktur und Fahrzeug in Bezug auf Vertikallasten.
Gemäß der werden die Strecken gemäß der Norm EN 15528:2008 klassifiziert. Diese Norm umfasst auch eine Kategorisierung von Schienenfahrzeugen, und zwar Güterwagen und besondere Arten von Lokomotiven und Personenwagen. Sie wird so überarbeitet, dass sie alle Arten von Fahrzeugen sowie Hochgeschwindigkeitsstrecken erfasst.
Wenn diese überarbeitete Fassung zur Verfügung steht, könnte es von Interesse sein, die "Konstruktionsklassifizierung" der bewerteten Einheit in die EG-Bescheinigung der benannten Stelle aufzunehmen:
Dieser Aspekt muss bei der Überarbeitung dieser TSI berücksichtigt werden, die bereits in ihrer vorliegenden Fassung die Aufzeichnung aller zur Ermittlung dieser Klassifizierungen erforderlichen Daten vorschreibt.
Es ist zu beachten, dass die Anforderung an die Eisenbahnunternehmen, die betriebliche Zuladung gemäß Abschnitt 4.2.2.5 der TSI OPE zu definieren und zu kontrollieren, unverändert bleibt.
7.5.1.2. Aerodynamische Wirkungen - Seitenwind (Abschnitt )
Anforderungen betreffend "Seitenwind" wurden für Einheiten mit vorgesehenen Höchstgeschwindigkeiten von 250 km/h oder darüber mit zwei Optionen aufgestellt:
Dies muss überprüft werden, wenn die beiden Gruppen charakteristischer Windkennkurven in der TSI HS RST (2008) zusammengeführt werden.
7.5.1.3. Aerodynamische Wirkungen bei Schottergleisen ()19
Anforderungen betreffend aerodynamische Wirkungen auf Schottergleise wurden für Einheiten mit vorgesehenen Höchstgeschwindigkeiten von über 250 km/h aufgestellt.
Da es nach dem derzeitigen Stand nicht möglich ist, eine harmonisierte Anforderung oder Bewertungsmethode aufzustellen, ist die Anwendung nationaler Vorschriften nach der TSI zulässig.
Eine Überprüfung ist notwendig, um Folgendes zu berücksichtigen:
7.5.2 Aspekte, die mit keinem Eckwert dieser TSI in Zusammenhang stehen, aber Gegenstand von Forschungsprojekten sind
7.5.2.1. Weitere sicherheitsbedingte Anforderungen
Der Innenraum der Fahrzeuge, die Schnittstellen zwischen Fahrgästen und Zugpersonal bilden, sollte die Insassen im Fall eines Zusammenstoßes durch folgende Merkmale schützen:
2006 wurden einige EU-Forschungsprojekte ins Leben gerufen, um die Folgen von Eisenbahnunfällen (Kollision, Entgleisung usw.) für Fahrgäste zu untersuchen und so insbesondere die Risiken und den Grad der Verletzungen zu evaluieren. Ziel ist es, Anforderungen und entsprechende Verfahren zur Konformitätsbewertung im Hinblick auf die Innenausstattung und Bestandteile von Schienenfahrzeugen festzulegen.
Diese TSI enthält bereits eine Reihe von Spezifikationen bezüglich dieser Risiken, z.B. in den Abschnitten , , und .
Kürzlich wurden auf Ebene der Mitgliedstaaten und der Europäischen Union (durch die Gemeinsame Forschungsstelle der Kommission) Studien zum Schutz der Fahrgäste im Falle eines Terroranschlags in Auftrag gegeben.
Die Agentur wird diese Studien verfolgen und anhand ihrer Ergebnisse entscheiden, ob der Kommission weitere Eckwerte oder Anforderungen empfohlen werden müssen, die das Verletzungsrisiko von Fahrgästen bei einem Unfall oder einem Terroranschlag abdecken. Bei Bedarf muss diese TSI überarbeitet werden.
Bis zur Überarbeitung dieser TSI können die Mitgliedstaaten nationale Regelungen anwenden, um diese Risiken abzudecken. Dies steht jedoch dem Zugang TSI-konformer, im grenzüberschreitenden Verkehr betriebener Fahrzeuge zu den nationalen Schienennetzen in keinem Fall entgegen.
7.5.2.2. Bedingungen für Genehmigungen für das Inverkehrbringen ohne Beschränkung auf bestimmte Netze19
Um den freien Verkehr von Lokomotiven und Reisezugwagen zu erleichtern, wurden während der Vorbereitung der Empfehlung ERA-REC-111-2015-REC der ERa vom 17. Dezember 2015 Bedingungen für Genehmigungen für das Inverkehrbringen ohne Beschränkung auf bestimmte Netze ausgearbeitet.
Diese Bestimmungen sind weiter auszuarbeiten, um sie an die Richtlinie (EU) 2016/797 anzupassen und die Bereinigung nationaler technischer Vorschriften zu berücksichtigen, wobei die besondere Aufmerksamkeit auf Reisezugwagen liegt.
7.5.2.3. Vorschriften für die Erweiterung des Verwendungsgebiets für bestehende Fahrzeuge, die nicht von einer EG-Prüferklärung abgedeckt sind19
Gemäß Artikel 54 Absätze 2 und 3 der Richtlinie (EU) 2016/797 erhalten Fahrzeuge, deren Inbetriebnahme vor dem 15. Juni 2016 genehmigt wurde, eine Genehmigung für das Inverkehrbringen gemäß Artikel 21 der Richtlinie (EU) 2016/797, damit sie auch auf Netzen, auf die sich ihre Genehmigung noch nicht erstreckt, betrieben werden können. Solche Fahrzeuge müssen somit dieser TSI entsprechen oder die Nichtanwendung dieser TSI gemäß Artikel 7 Absatz 1 der Richtlinie (EU) 2016/797 in Anspruch nehmen.
Um den freien Verkehr von Fahrzeugen zu erleichtern, sind Bestimmungen auszuarbeiten, um festzulegen, welches Flexibilitätsniveau diesen Fahrzeugen sowie Fahrzeugen, die keiner Genehmigung bedurften, im Hinblick auf die Einhaltung der Anforderungen der TSI bei Erfüllung der grundlegenden Anforderungen sowie der Beibehaltung und (soweit unter vertretbaren Umständen möglich) der Verbesserung des angemessenen Sicherheitsniveaus zugestanden werden könnte.
7.5.3. Aspekte, die für das EU-Eisenbahnsystem relevant sind, jedoch nicht in den Anwendungsbereich von TSI fallen
7.5.3.1. Fahrzeug-Fahrweg-Wechselwirkung (Abschnitt ) - Spurkranz- oder Schienenschmierung19
Im Rahmen des Entwurfsstadiums dieser TSI wurde beschlossen, dass die "Spurkranz- oder Schienenschmierung" keinen Eckwert darstellt (kein Bezug zu grundlegenden Anforderungen gemäß der Richtlinie (EU) 2016/797).
Dennoch hat sich herausgestellt, dass die Akteure im Eisenbahnsektor (IB, EVU, NSB) Unterstützung von der Agentur benötigen, um von der aktuellen Praxis zu einem Ansatz zu kommen, der für Transparenz sorgt und ungerechtfertigte Hürden für den Betrieb der Fahrzeuge im Schienennetz der EU vermeidet.
Zu diesem Zweck hat die Agentur vorgeschlagen, gemeinsam mit dem Eisenbahnsektor eine Studie in Auftrag zu geben, in der die wesentlichen technischen und wirtschaftlichen Aspekte dieser Funktion - unter Berücksichtigung der aktuellen Situation - geklärt werden sollen:
In jedem Fall ist geplant, Informationen zur "Spurkranz- oder Schienenschmierung" in das "Infrastrukturregister" aufzunehmen. Außerdem wird das "Europäische Register genehmigter Fahrzeugtypen" darüber Auskunft geben, ob ein Fahrzeug über eine fahrzeugseitige Spurkranzschmierung verfügt. Die erwähnte Studie wird betriebliche Regelungen präzisieren.
In der Zwischenzeit können die Mitgliedstaaten weiterhin nationale Regelungen anwenden, um diesen Aspekt der Fahrzeug-Fahrweg-Schnittstelle abzudecken. Diese Regelungen sind entweder durch Notifizierung bei der Kommission gemäß gemäß Artikel 14 der Richtlinie (EU) 2016/797 oder durch das Infrastrukturregister gemäß Artikel 49 jener Richtlinie zur Verfügung zu stellen.
____
1) Richtlinie 98/83/EG des Rates vom 3. November 1998 über die Qualität von Wasser für den menschlichen Gebrauch (ABl. Nr. L 330 vom 05.12.1998 S. 32).
2) Richtlinie 2006/7/EG des Europäischen Parlaments und des Rates über die Qualität der Badegewässer und deren Bewirtschaftung und zur Aufhebung der Richtlinie 76/160/EWG (ABl. Nr. L 64 vom 04.03.2006 S. 37).
3) Richtlinie 2006/11/EG des Europäischen Parlaments und des Rates betreffend die Verschmutzung infolge der Ableitung bestimmter gefährlicher Stoffe in die Gewässer der Gemeinschaft (ABl. Nr. L 64 vom 04.03.2006 S. 52).
4) Richtlinie 2009/30/EG des Europäischen Parlaments und des Rates vom 23. April 2009 zur Änderung der Richtlinie 98/70/EG im Hinblick auf die Spezifikationen für Otto-, Diesel- und Gasölkraftstoffe und die Einführung eines Systems zur Überwachung und Verringerung der Treibhausgasemissionen sowie zur Änderung der Richtlinie 1999/32/EG des Rates im Hinblick auf die Spezifikationen für von Binnenschiffen gebrauchte Kraftstoffe und zur Aufhebung der Richtlinie 93/12/EWG (ABl. Nr. L 140 vom 05.06.2009 S. 88).
5) Richtlinie 2007/59/EG des Europäischen Parlaments- und des Rates vom 23. Oktober2007 über die Zertifizierung von Triebfahrzeugführern, die Lokomotiven und Züge im Eisenbahnsystem in der Gemeinschaft führen (ABl. Nr. L 315 vom 03.12.2007 S. 51).
6) Durchführungsbeschluss 2011/665/EU der Kommission vom 4. Oktober 2011 über das Europäische Register genehmigter Schienenfahrzeugtypen (ABl. Nr. L 264 vom 08.10.2011 S. 32).
7) Beschluss 2010/713/EU der Kommission vom 9. November 2010 über Module für die Verfahren der Konformitäts- und Gebrauchstauglichkeitsbewertung sowie der EG-Prüfung, die in den gemäß Richtlinie 2008/57/EG des Europäischen Parlaments und des Rates angenommenen technischen Spezifikationen für die Interoperabilität zu verwenden sind (ABl. Nr. L 319 vom 04.12.2010 S. 1).
8) Empfehlung der Kommission vom 20. September 2011 zum Verfahren für den Nachweis des Umgangs der Übereinstimmung bestehender Eisenbahnstrecken mit den Eckwerten der technischen Spezifikationen für die Interoperabilität (ABl. Nr. L 243 vom 21.09.2011 S. 23).
9) Verordnung (EG) Nr. 352/2009 der Kommission vom 24. April 2009 über die Festlegung einer gemeinsamen Sicherheitsmethode für die Evaluierung und Bewertung von Risiken gemäß Artikel 6 Absatz 3 Buchstabe a der Richtlinie 2004/49/EG des Europäischen Parlaments und des Rates (ABl. Nr. L 108 vom 29. April 2009, S. 4).
10) Durchführungsverordnung (EU) 2019/777 der Kommission vom 16. Mai 2019 über die gemeinsamen Spezifikationen des Eisenbahn-Infrastrukturregisters und zur Aufhebung des Beschlusses /EU (RINF) (ABl. L 139 I vom 27.05.2019 S. 312).
11) Richtlinie 98/83/EG des Rates vom 3. November 1998 über die Qualität von Wasser für den menschlichen Gebrauch (ABl. Nr. L 330 vom 05.12.1998 S. 32).
12) Richtlinie (EU) 2016/798 des Europäischen Parlaments und des Rates vom 11. Mai 2016 über Eisenbahnsicherheit (ABl. L 138 vom 26.05.2016 S. 102.)
13) Durchführungsverordnung (EU) 2019/773 der Kommission vom 16. Mai 2019 über die technische Spezifikation für die Interoperabilität des Teilsystems "Verkehrsbetrieb und Verkehrssteuerung" des Eisenbahnsystems in der Europäischen Union und zur Aufhebung des Beschlusses 2012/757/EU (ABl. L 139 I vom 27.05.2019 S. 5).
14) Durchführungsverordnung (EU) Nr. 402/2013 der Kommission vom 30. April 2013 über die gemeinsame Sicherheitsmethode für die Evaluierung und Bewertung von Risiken und zur Aufhebung der Verordnung (EG) Nr. 352/2009 gemäß Artikel 6 Absatz 3 Buchstabe a der Richtlinie 2004/49/EG des Europäischen Parlaments und des Rates (ABl. L 121 vom 03.05.2013 S. 8).
15) Durchführungsverordnung (EU) 2018/545 der Kommission vom 4. April 2018 über die praktischen Modalitäten für die Genehmigung für das Inverkehrbringen von Schienenfahrzeugen und die Genehmigung von Schienenfahrzeugtypen gemäß der Richtlinie (EU) 2016/797 des Europäischen Parlaments und des Rates (ABl. L 90 vom 06.04.2018 S. 66)."
16) Beschluss der Kommission vom 9. November 2010 über Module für die Verfahren der Konformitäts- und Gebrauchstauglichkeitsbewertung sowie der EG-Prüfung, die in den gemäß Richtlinie 2008/57/EG des Europäischen Parlaments und des Rates angenommenen technischen Spezifikationen für die Interoperabilität zu verwenden sind (ABl. L 319 vom 04.12.2010 S. 1)"
17) Verordnung (EU) Nr. der Kommission vom 18. November 2014 über die technischen Spezifikationen für die Interoperabilität bezüglich der Zugänglichkeit des Eisenbahnsystems der Union für Menschen mit Behinderungen und Menschen mit eingeschränkter Mobilität (ABl. L 356 vom 12.12.2014 S. 110).
18) Verordnung (EU) Nr. der Kommission vom 26. November 2014 über die technische Spezifikation für die Interoperabilität des Teilsystems "Fahrzeuge - Lärm" sowie zur Änderung der Entscheidung 2008/232/EG und Aufhebung des Beschlusses 2011/229 (ABl. L 356 vom 12.12.2014 S. 421).
| - gestrichen - | Anlage A19 |
| Spurweite 1.520 mm "T" | Anlage B |
Bezugsprofil im oberen Teil für die Spurweite 1.520 mm ("T") (Fahrzeuge)
Bezugsprofil im unteren Teil
Hinweis: Fahrzeuge, die für den Einsatz auf einer Spurweite von 1.520 mm vorgesehen sind (außer beim Überfahren von Ablaufbergen mit Gleisbremsen).
Bezugsprofil im unteren Teil
Hinweis: Fahrzeuge, die für den Einsatz auf einer Spurweite von 1.520 mm vorgesehen sind, müssen in der Lage sein, über Ablaufberge und über Gleisbremsen zu fahren.
| Sonderbestimmungen für Gleisbaumaschinen | Anlage C |
C.1 Festigkeit der Fahrzeugstruktur
Die Anforderungen des Abschnitts dieser TSI werden wie folgt ergänzt:
Der Fahrzeugkasten muss den statischen Belastungen gemäß der in Anlage J-1 Ziffer 7 genannten Spezifikation oder den statischen Belastungen nach der in Anlage J-1 Ziffer 102 genannten Spezifikation standhalten, ohne die dort als zulässig genannten Werte zu überschreiten.
In der in Anlage J-1 Ziffer 102 genannten Spezifikation sind die folgenden strukturellen Kategorien vorgesehen:
Die Beschleunigung in x-Richtung gemäß der in Anlage J-1 Ziffer 7 Tabelle 13 genannten Spezifikation oder nach der in Anlage J-1 Ziffer 102 Tabelle 10 genannten Spezifikation beträgt ± 3 g.
C.2 Anheben und Abstützen
Der Fahrzeugkasten muss über Anhebestellen verfügen, an denen das gesamte Fahrzeug sicher angehoben oder abgestützt werden kann. Die Position der Anhebestellen und der Abstützpunkte ist zu definieren.
Zur Erleichterung der Arbeit bei Reparatur- oder Inspektionstätigkeiten oder beim Aufgleisen der Fahrzeuge müssen die Fahrzeuge an beiden Längsseiten über mindestens zwei Anhebestellen verfügen, an denen die Fahrzeuge in leerem oder beladenem Zustand angehoben werden können.
Damit Abstützvorrichtungen positioniert werden können, müssen unter den Anhebestellen freie Räume vorhanden sein, die nicht durch feste Teile behindert werden. Die Lastfälle müssen mit den in Anlage C.1 dieser TSI ausgewählten Lastfällen im Einklang stehen und gelten für das Anheben und Abstützen bei Vorgängen in der Werkstatt und bei Wartungsvorgängen.
C.3 Dynamisches Fahrverhalten19
Es ist zulässig, das dynamische Fahrverhalten durch Fahrversuche oder durch Bezugnahme auf ein zugelassenes Fahrzeug ähnlicher Bauart gemäß dieser TSI oder durch Simulation zu ermitteln.
Abweichend von den Anforderungen der in Anlage J-1 Ziffer 16 genannten Spezifikation sind die folgenden zusätzlichen Regelungen zu berücksichtigen:
Das dynamische Fahrverhalten kann durch eine Simulation der Versuche nachgewiesen werden, die in der in Anlage J-1 Ziffer 16 genannten Spezifikation beschrieben ist (mit den vorstehend beschriebenen Ausnahmen), wenn ein validiertes Modell für repräsentative Strecken und Betriebsbedingungen des Fahrzeugs vorliegt.
Ein Modell des Fahrzeugs, das für die Simulation des dynamischen Fahrverhaltens verwendet wird, ist durch einen Vergleich der Ergebnisse des Modells mit den Ergebnissen eines Fahrversuchs zu validieren, wobei die gleichen Eingabewerte zur Charakterisierung des Fahrwegs zu verwenden sind.
Ein validiertes Modell ist ein Simulationsmodell, das durch einen tatsächlichen Fahrversuch verifiziert wurde, bei dem die Federung in ausreichendem Maße erregt wurde und bei dem auf gleichem Versuchsgleis ein enger Zusammenhang zwischen den Ergebnissen des Fahrversuchs und den Prognosen des Simulationsmodells besteht.
| - gestrichen - | Anlage D18 |
| Anthropometrische Maße des Triebfahrzeugführers | Anlage E |
Die folgenden Daten entsprechen dem Stand der Technik und müssen berücksichtigt werden.
Hinweis: Sie sind künftig Thema einer EN-Norm, die sich derzeit im Entwurfsstadium befindet.
| Sicht nach vorn | Anlage F |
Die folgenden Daten entsprechen dem Stand der Technik und müssen berücksichtigt werden.
Hinweis: Sie sind künftig Thema einer EN-Norm, die sich noch im Entwurfsstadium befindet.
F.1 Allgemeines
Die Auslegung des Führerraums muss die Sicht des Triebfahrzeugführers auf alle externen Informationen unterstützen, die dieser beim Fahren beachten muss, und den Triebfahrzeugführer vor äußeren Einflüssen schützen, die die Sicht beeinträchtigen können. In diesem Zusammenhang sind die folgenden Anforderungen zu erfüllen:
Hinweis: Die oben in Anlage D erwähnte Sitzposition ist als Beispiel zu betrachten. Die TSI schreibt die Position des Sitzes (links, mittig oder rechts) im Führerraum nicht vor. Die TSI fordert die stehende Fahrposition nicht für alle Arten von Einheiten.
Die Vorschriften in dieser Anlage regeln die Sichtbedingungen in jede Fahrtrichtung bei einem geraden Gleis und in Kurven mit einem Bogenhalbmesser von mindestens 300 m. Sie gelten für die Position(en) des Triebfahrzeugführers.
Hinweise:
- Bei einem Führerraum mit zwei Triebfahrzeugführersitzen (Option mit zwei Fahrpositionen) gelten sie für beide Sitzpositionen.
- Für Lokomotiven mit Mittelführerraum und für Gleisbaumaschinen werden in der TSI in Abschnitt besondere Bedingungen beschrieben.
F.2 Referenzposition des Fahrzeugs in Bezug auf das Gleis:
Abschnitt 3.2.1 von UIC 651 (4. Ausgabe, Juli 2002) muss angewendet werden.
Die Vorräte und die Zuladung werden gemäß der in Anlage J-1 Ziffer 13 genannten Spezifikation und nach Abschnitt dieser TSI berücksichtigt.
F.3 Referenzposition für die Augen des Zugpersonals
Abschnitt 3.2.2 von UIC 651 (4. Ausgabe, Juli 2002) muss angewendet werden.
Die Augen des Triebfahrzeugführers müssen bei sitzender Fahrposition mindestens 500 mm von der Stirnscheibe entfernt sein.
F.4 Sichtbedingungen
Abschnitt 3.3 von UIC 651 (4. Ausgabe, Juli 2002) muss angewendet werden.
Hinweis: Abschnitt 3.3.1 von UIC 651 verweist bezüglich der Fahrposition im Stehen auf Abschnitt 2.7.2 (UIC); dort ist ein Mindestabstand von 1,8 m vom Boden bis zur Oberkante der Stirnscheibe vorgesehen.
| Wartung | Anlage G |
Anschlüsse der Toilettenentsorgungsanlage in Fahrzeugen:
Abbildung G1 Entleerungsdüse (innerer Teil)
Allgemeine Toleranzen +/- 0,1
Werkstoff: Edelstahl
Abbildung G2 Optionaler Spülanschluss für den Toilettentank (innerer Teil)
Allgemeine Toleranzen +/- 0,1
Werkstoff: Edelstahl
| Bewertung des Teilsystems "Fahrzeuge" | Anlage H19 |
H.1 Anwendungsbereich19
Diese Anlage beschreibt die Konformitätsbewertung des Teilsystems "Fahrzeuge".
H.2 Merkmale und Module19
Die in den verschiedenen Entwurfs-, Entwicklungs- und Produktionsphasen zu bewertenden Merkmale des Teilsystems "Fahrzeuge" sind in Tabelle H.1 mit "X" gekennzeichnet. Ein "X" in Spalte 4 der Tabelle H.1 weist darauf hin, dass die betreffenden Merkmale durch Prüfung der einzelnen Teilsysteme zu verifizieren sind.
Tabelle H.1 Bewertung des Teilsystems "Fahrzeuge"19
| 1 | 2 | 3 | 4 | 5 | |
| Zu bewertende Merkmale gemäß Abschnitt dieser TSI | Entwurfs- und Entwicklungsphase | Produktions- phase | Besonderes Bewertungs- verfahren |
||
| Entwurfs- prüfung | Baumuster- prüfung | Routine- versuch | |||
| Element des Teilsystems "Fahrzeuge" | Abschnitt | Abschnitt | |||
| Struktur und mechanische Teile | |||||
| Innere Kupplung | X | entf. | entf. | - | |
| Endkupplung | X | entf. | entf. | - | |
| IK Automatische Mittelpufferkupplung | X | X | X | - | |
| IK Manuelle Endkupplung | X | X | X | - | |
| Abschleppkupplung | X | X | entf. | - | |
| IK Abschleppkupplung | X | X | X | ||
| Zugang des Zugpersonals bei Kupplungs- und Entkupplungsvorgängen | X | X | entf. | - | |
| Übergänge | X | X | entf. | - | |
| Festigkeit der Fahrzeugstruktur | X | X | entf. | - | |
| Passive Sicherheit | X | X | entf. | - | |
| Anheben und Abstützen | X | X | entf. | - | |
| Befestigung von Komponenten an der Wagenkastenstruktur | X | entf. | entf. | - | |
| Zugangstüren für Personal und Fracht | X | X | entf. | - | |
| Mechanische Merkmale von Glas | X | entf. | entf. | - | |
| Lastzustände und gewogene Masse | X | X | X | ||
| Fahrzeug-Fahrweg-Wechselwirkung und Fahrzeugbegrenzungslinie | 4.2.3 | ||||
| Begrenzungslinie | X | entf. | entf. | - | |
| Radlast | X | X | entf. | ||
| Kompatibilität der Fahrzeugmerkmale mit Zugortungs-/Gleisfreimeldeanlagen | X | X | X | - | |
| Überwachung des Zustands der Radsatzlager | X | X | entf. | - | |
| Sicherheit gegen Entgleisen bei Fahrbetrieb in Gleisverwindungen | X | X | entf. | ||
| Anforderungen dynamisches Fahrverhalten | a) | X | X | entf. | |
| Aktive Systeme - Sicherheitsanforderung | b) | X | entf. | entf. | |
| Grenzwerte der Fahrsicherheit | X | X | entf. | ||
| Grenzwerte der Fahrwegbeanspruchung | X | X | entf. | ||
| Äquivalente Konizität | X | entf. | entf. | - | |
| Entwurfswerte für neue Radprofile | X | entf. | entf. | 6.2.3.6 | |
| Werte für die äquivalente Radsatzkonizität im Betrieb | X | - | |||
| Strukturelle Konstruktion des Drehgestellrahmens | X | X. | entf. | - | |
| Mechanische und geometrische Eigenschaften von Radsätzen | X | X | X | 6.2.3.7 | |
| Mechanische und geometrische Eigenschaften von Rädern | X | X | X | - | |
| Räder (IK) | X | X | X | ||
| Automatische Umspursysteme | X | X | X | 6.2.3.7a | |
| Automatische Umspursysteme (IK) | X | X | X | ||
| Minimaler Bogenhalbmesser | X | entf. | entf. | - | |
| Bahnräumer | X | entf. | entf. | - | |
| Bremsen | |||||
| Funktionale Anforderungen | X | X | entf. | - | |
| Sicherheitsanforderungen | X | entf. | entf. | ||
| Art des Bremssystems | X | X | entf. | - | |
| Bremsbefehl | 4.2.4.4 | ||||
| Notbremsung | X | X | X | - | |
| Betriebsbremsung | X | X | X | - | |
| Direktbremsbefehl | X | X | X | - | |
| Dynamischer Bremsbefehl | X | X | entf. | - | |
| Feststellbremsbefehl | X | X | X | - | |
| Bremsvermögen | 4.2.4.5 | ||||
| Allgemeine Anforderungen | X | entf. | entf. | - | |
| Notbremsung | X | X | X | 6.2.3.8 | |
| Betriebsbremsung | X | X | X | 6.2.3.9 | |
| Berechnungen in Verbindung mit der thermischen Belastbarkeit | X | entf. | entf. | - | |
| Feststellbremse | X | entf. | entf. | - | |
| Grenzwerte des Profils des Rad-Schiene-Kraftschlusses | X | entf. | entf. | - | |
| Gleitschutzsystem | X | X | entf. | 6.2.3.10 | |
| Gleitschutzsystem (IK) | X | X | X | ||
| Schnittstelle mit dem Antrieb - mit dem Antriebssystem verbundene Bremssysteme (elektrisch, hydrodynamisch) | X | X | X | - | |
| Kraftschluss-unabhängiges Bremssystem | 4.2.4.8 | ||||
| Allgemeines | . | X | entf. | entf. | - |
| Magnetschienenbremse | . | X | X | entf. | - |
| Wirbelstrombremse | X | X | entf. | - | |
| Bremszustands- und Fehleranzeige | X | X | X | - | |
| Anforderungen an die Bremsen zum Abschleppen von Zügen | X | X | entf. | - | |
| Fahrgastspezifische Aspekte | 4.2.5 | ||||
| Sanitäre Systeme | X | entf. | entf. | 6.2.3.11 | |
| Akustische Kommunikationsanlage | X | X | X | - | |
| Fahrgastalarm | X | X | X | - | |
| Fahrgastalarm - Sicherheitsanforderungen | X | entf. | entf. | ||
| Kommunikationseinrichtungen für Fahrgäste | X | X | X | - | |
| Außentüren: Zugang von Fahrgästen für den Einstieg und Ausstieg | X | X | X | - | |
| Außentüren - Sicherheitsanforderungen | X | entf. | entf. | ||
| Konstruktion von Außentürsystemen | X | entf. | entf. | - | |
| Zwischentüren | X | X | entf. | - | |
| Luftqualität im Innern | X | entf. | entf. | 6.2.3.12 | |
| Wagenseitenfenster | X | - | |||
| Umweltbedingungen und aerodynamische Wirkungen | |||||
| Umweltbedingungen | 4.2.6.1 | ||||
| Temperatur | X | entf. X1 | entf. | - | |
| Schnee, Eis und Hagel | X | entf. X1 | entf. | - | |
| 1 Baumusterprüfung, sofern und wie vom Antragsteller definiert. | |||||
| Aerodynamische Wirkungen | 4.2.6.2 | ||||
| Auswirkungen der Wirbelzone auf Personen am Bahnsteig und auf Gleisarbeiter | X | X | entf. | 6.2.3.13 | |
| Druckimpuls an der Zugspitze | X | X | entf. | 6.2.3.14 | |
| Maximale Druckschwankungen in Tunneln | X | X | entf. | 6.2.3.15 | |
| Seitenwind | X | entf. | entf. | 6.2.3.16 | |
| Außenlichter & visuelle und akustische Warnvorrichtungen | |||||
| Außenleuchten an Zugspitze und Zugschluss | 4.2.7.1 | ||||
| Frontscheinwerfer IK | X | X | entf. | - |
|
| Spitzenlichter IK | X | X | entf. | - |
|
| Schlusslichter IK | X | X | entf. | - |
|
| Steuerung der Leuchten | X | X | entf. | - | |
| Signalhorn | 4.2.7.2 | ||||
| Allgemeines - Warnsignal IK | X | X | entf. | - |
|
| Schalldruckpegel von Signalhörnern | X | X | entf. | 6.2.3.17 |
|
| Schutz | X | entf. | entf. | - | |
| Steuerung | X | X | entf. | - | |
| Antriebs- und elektrische Ausrüstung | 4.2.8 | ||||
| Antriebsleistung | 4.2.8.1 | ||||
| Allgemeines | 4.2.8.1.1 | ||||
| Anforderungen an die Leistung | X | entf. | entf. | - | |
| Energieversorgung | 4.2.8.2 | ||||
| Allgemeines | X | entf. | entf. | - | |
| Betrieb innerhalb des Spannungs- und Frequenzbereichs | X | X | entf. | - | |
| Nutzbremse mit Rückführung der Energie in die Oberleitung | X | X | entf. | - | |
| Maximal zulässige Leistungs- und Stromaufnahme aus der Oberleitung | X | X | entf. | 6.2.3.18 | |
| Maximale Stromaufnahme bei Stillstand für Gleichstromsysteme | X | X | entf. | - | |
| Leistungsfaktor | X | X | entf. | 6.2.3.19 | |
| Störungen des Energiesystems | X | X | entf. | - | |
| Messfunktion für den Energieverbrauch | X | X | entf. | - | |
| Anforderungen in Verbindung mit Stromabnehmern | X | X | entf. | 6.2.3.20 & 21 | |
| Stromabnehmer (IK) | X | X | X | ||
| Schleifstücke (IK) | X | X | X | ||
| Elektrischer Schutz des Zuges IK Hauptleistungsschalter | X | X | entf. | - | |
| Verbrennungs- und andere thermische Antriebssysteme | - | - | - | Andere Richtlinie | |
| Schutz gegen elektrische Gefahren | X | X | entf. | - | |
| Führerraum und Betrieb | |||||
| Führerraum | X | entf. | entf. | - | |
| Allgemeines | X | entf. | entf. | - | |
| Ein- und Ausstieg | X | entf. | entf. | - | |
| Ein- und Ausstieg unter Betriebsbedingungen | X | entf. | entf. | - | |
| Notausstieg im Führerraum | X | entf. | entf. | - | |
| Äußere Sichtverhältnisse | X | entf. | entf. | - | |
| Sicht nach vorn | X | entf. | entf. | - | |
| Sicht nach hinten und zur Seite | X | entf. | entf. | - | |
| Innengestaltung | X | entf. | entf. | - | |
| Triebfahrzeugführersitz IK | X X |
entf. X |
entf. X |
- | |
| Führertisch - Ergonomie | X | entf. | entf. | - | |
| Klimasteuerung und Luftqualität | X | X | entf. | 6.2.3.12 | |
| Innenbeleuchtung | X | X | entf. | - | |
| Stirnscheibe - Mechanische Eigenschaften | X | X | entf. | 6.2.3.22 | |
| Stirnscheibe - Optische Eigenschaften | X | X | entf. | 6.2.3.22 | |
| Stirnscheibe - Ausrüstung | X | X | entf. | - | |
| Schnittstelle Triebfahrzeugführer-Maschine | |||||
| Kontrollfunktion über die Aktivität des Triebfahrzeugführers | X | X | X | - | |
| Geschwindigkeitsanzeige | - | - | - | - | |
| Führerraumanzeigegerät und Bildschirme | X | X | entf. | - | |
| Bedienelemente und Anzeigen | X | X | entf. | - | |
| Beschilderung | X | entf. | entf. | - | |
| Funkfernsteuerung durch Personal für das Rangieren | X | X | entf. | - | |
| Fahrzeugseitige Werkzeuge und tragbare Ausrüstung | X | entf. | entf. | - | |
| Aufbewahrungsmöglichkeit für persönliche Gegenstände des Personals | X | entf. | entf. | - | |
| Fahrdatenschreiber | X | X | X | - | |
| Brandschutz und Evakuierung | 4.2.10 | ||||
| Allgemeines und Kategorisierung | X | entf. | entf. | - | |
| Maßnahmen zur Brandverhütung | X | X | entf. | - | |
| Maßnahmen zur Branderkennung/-bekämpfung | X | X | entf. | - | |
| Anforderungen für Notfälle | X | X | entf. | - | |
| Evakuierungsanforderungen | X | X | entf. | - | |
| Wartung | |||||
| Reinigung der Stirnscheibe des Führerraums | X | X | entf. | - | |
| Anschlüsse für Toilettenentsorgungsanlagen IK | X | entf. | entf. | - | |
| Wasserbefüllungsanlagen | X | entf. | entf. | - | |
| Schnittstelle für Wasserbefüllung IK | X | entf. | entf. | - | |
| Besondere Anforderungen für das Abstellen der Züge | X | X | entf. | - | |
| Betankungsanlagen | X | entf. | entf. | - | |
| Innenreinigung der Züge - Energieversorgung | X | entf. | entf. | - | |
| Dokumentation für Betrieb und Instandhaltung | |||||
| Allgemeines | X | entf. | entf. | - | |
| Allgemeine Dokumentation | X | entf. | entf. | - | |
| Instandhaltungsunterlagen | X | entf. | entf. | - | |
| Unterlagen zur Begründung des Instandhaltungskonzepts | X | entf. | entf. | - | |
| Instandhaltungsaufzeichnungen/Dokumentation | X | entf. | entf. | - | |
| Betriebliche Unterlagen | X | entf. | entf. | - | |
| Plan und Anweisungen für Anheben und Abstützen | X | entf. | entf. | - | |
| Bergungsspezifische Beschreibungen | X | entf. | entf. | - | |
| 1) Baumusterprüfung, sofern und wie vom Antragsteller definiert. | |||||
| Aspekte, für die keine technische Spezifikation verfügbar ist (offene Punkte) | Anlage I18 19 |
Offene Punkte im Zusammenhang mit der technischen Kompatibilität zwischen Fahrzeug und Schienennetz:
| Element des Teilsystems "Fahrzeuge" | Abschnitt dieser TSI | Technischer Aspekt, der in der vorliegenden TSI nicht behandelt wird | Bemerkungen |
| Kompatibilität mit Zugortungs-/Gleisfreimeldeanlagen | Siehe Spezifikation in Anlage J-2 Ziffer 1 | Offene Punkte sind auch in der TSI ZZS genannt. | |
| Dynamisches Fahrverhalten bei Fahrzeugen für Spurweite 1.520 mm | Dynamisches Fahrverhalten; äquivalente Konizität | In der TSI genannte normative Dokumente beruhen auf Erfahrungen mit der Spurweite 1.435 mm. | |
| Kraftschluss-unabhängiges Bremssystem | Wirbelstrombremse | Ausrüstung nicht zwingend erforderlich. Elektromagnetische Verträglichkeit mit dem betroffenen Schienennetz. |
|
| Aerodynamische Wirkungen auf Schottergleisen für Fahrzeuge mit bauartbedingter Höchstgeschwindigkeit > 250 km/h | Grenzwert und Konformitätsbewertung zur Begrenzung der Risiken durch Schotterflug | Arbeiten im CEN dauern an. Auch in der ein offener Punkt. |
Offene Punkte, die sich nicht auf die technische Kompatibilität von Fahrzeug und Schienennetz beziehen:
| Element des Teilsystems "Fahrzeuge" | Abschnitt dieser TSI | Technischer Aspekt, der in der vorliegenden TSI nicht behandelt wird | Bemerkungen |
| Systeme zur Eindämmung und Bekämpfung von Bränden | Konformitätsbewertung von FCCS, die nicht in Trennwänden über den gesamten Querschnitt bestehen. | Vom CEN auf Ersuchen der ERa um Veröffentlichung einer entsprechenden Norm entwickeltes Verfahren zur Bewertung der Wirksamkeit von Maßnahmen zur Eindämmung der Ausbreitung von Feuer und Rauch. |
| In dieser TSI genannte technische Spezifikationen | Anlage J19 |
J.1 Normen oder normative Dokumente18 19
| TSI | Normatives Dokument | |||
| Ziffer | Zu bewertende Merkmale | Abschnitt | Dokument Nr. | Obligatorische Punkte |
| 1 | Innere Kupplung bei Gelenktriebwagen | EN 12663-1:2010 + A1:2014 | 6.5.3, 6.7.5 | |
| 2 | Endkupplung - manuelle UIC-Kupplungen - Leitungsschnittstelle | EN 15807:2011 | Maßgeblicher Abschnitt 1 | |
| 3 | Endkupplung - manuelle UIC-Kupplungen - Luftabsperrhähne | EN 14601:2005 + A1:2010 | Maßgeblicher Abschnitt 1 | |
| 4 | Endkupplung - manuelle UIC-Kupplung - seitliche Position von Bremsleitungen und Bremsventilen | UIC 648: Sept. 2001 | Maßgeblicher Abschnitt 1 | |
| 5 | Abschleppkupplung - Schnittstelle mit der zu bergenden Einheit | UIC 648: Sept. 2001 | Maßgeblicher Abschnitt 1 | |
| 6 | Zugang des Zugpersonals bei Kupplungs- und Entkupplungsvorgängen - Bereich für die Rangierbegleiter | EN 16839:2017 | 4 | |
| 7 | Festigkeit der Fahrzeugstruktur - allgemeine | EN 12663-1:2010 + A1:2014 | Maßgeblicher Abschnitt 1 | |
| Festigkeit der Fahrzeugstruktur - Kategorisierung von Fahrzeugen | 5.2 | |||
| Festigkeit der Fahrzeugstruktur - Prüfmethode | 9.2 | |||
| Festigkeit der Fahrzeugstruktur - alternative Anforderungen für Gleisbaumaschinen | Anlage C Abschnitt C.1 |
6.1 bis 6.5 | ||
| 8 | Passive Sicherheit - allgemeine | FprEN 15227:2017 | Maßgeblicher Abschnitt 6 1 Außer Anlage A |
|
| Passive Sicherheit - Kategorisierung | 5 - Tabelle 1 | |||
| Passive Sicherheit - Szenarien | 5 - Tabelle3, 6. | |||
| Passive Sicherheit - Hindernis-Abweiser | 6.5 | |||
| 9 | Anheben und Abstützen - Geometrie permanenter und beweglicher Punkte | EN 16404:2016 | 5.2, 5.3 | |
| 10 | Anheben und Abstützen - Kennzeichnung | EN 15877-2:2013 | 4.5.17 | |
| 11 | Anheben und Abstützen - Methode zur Prüfung der Festigkeit | EN 12663-1:2010 + A1:2014 | 6.3.2, 6.3.3, 9.2 | |
| 12 | Befestigung von Komponenten an der Wagenkastenstruktur | EN 12663-1:2010 + A1:2014 | 6.5.2 | |
| 13 | Lastzustände und gewogene Masse - Lastzustände
Die den Lastzuständen zugrunde liegenden Annahmen |
EN 15663:2009
/AC:2010 |
2.1
Maßgeblicher Abschnitt 1 |
|
| 14 | Fahrzeugbegrenzungslinie - Methode, Bezugsprofile | EN 15273-2:2013 + A1:2016 | Maßgeblicher Abschnitt 1 | |
| Fahrzeugbegrenzungslinie - Methode, Bezugsprofile Prüfung der Wirbelstrombremsen Prüfung des Lichtraums für Oberleitungen |
Absatz 3 | A.3.12 | ||
| Fahrzeugbegrenzungslinie - Methode, Bezugsprofile Prüfung der Wirbelstrombremsen Prüfung des Lichtraums für Oberleitungen |
Maßgeblicher Abschnitt 1 | |||
| 15 | Überwachung der Bedingungen an den Radsatzlagern - von der streckenseitigen Ausrüstung überwachter Bereich | EN 15437-1:2009 | 5.1, 5.2 | |
| 16 | Dynamisches Fahrverhalten | Anlage C |
EN 14363:2016 | Maßgeblicher Abschnitt 1 |
| 17 | Dynamisches Fahrverhalten - Grenzwerte für Fahrsicherheit | EN 14363:2016 | 7.5 | |
| 18 | NICHT VERWENDET | |||
| 19 | Dynamisches Fahrverhalten - Grenzwerte der Fahrwegbeanspruchung | EN 14363: 2016 | 7.5 | |
| 20 | Strukturelle Konstruktion des Drehgestellrahmens | EN 13749:2011 | 6.2 Anlage C |
|
| 21 | Strukturelle Konstruktion des Drehgestellrahmens - Verbindung zwischen Wagenkasten und Drehgestell | EN 12663-1:2010 + A1:2014 | Maßgeblicher Abschnitt 1 | |
| 22 | Bremsen - Art des Bremssystems, UIC-Bremssystem | 6.2.7a |
EN 14198:2016 | 5.4 |
| 23 | Bremsvermögen - Berechnung - Allgemeines | EN 14531-1:2005 oder EN 14531-6:2009 |
Maßgeblicher Abschnitt 1 | |
| 24 | Bremsvermögen - Reibungskoeffizient | EN 14531-1:2005 | 5.3.1.4 | |
| 25 | Leistung der Notbremse - Ansprechzeit/Verzugszeit | EN 14531-1:2005 | 5.3.3 | |
| Leistung der Notbremse - Bremshundertstel | 5.12 | |||
| 26 | Leistung der Notbremse - Berechnung | EN 14531-1:2005 oder EN 14531-6:2009 |
Maßgeblicher Abschnitt 1 | |
| 27 | Leistung der Notbremse - Reibungskoeffizient | EN 14531-1:2005 | 5.3.1.4 | |
| 28 | Leistung der Betriebsbremse - Berechnung | EN 14531-1:2005 oder EN 14531-6:2009 |
Maßgeblicher Abschnitt 1 | |
| 29 | Leistung der Feststellbremse - Berechnung | EN 14531-1:2005 oder EN 14531-6:2009 |
Maßgeblicher Abschnitt 1 | |
| 30 | Gleitschutzsystem - Konstruktion | EN 15595:2009+A1:2011 | 4 | |
| Gleitschutzsystem - Prüfmethode | 5, 6 | |||
| Gleitschutzsystem - Fahrwerküberwachungssystem | 4.2.4.3 | |||
| 31 | Magnetschienenbremse | EN 16207:2014 | Anlage C | |
| 32 | Hinderniserkennung (Türen) - Empfindlichkeit | EN 14752:2015 | 5.2.1.4.1 | |
| Hinderniserkennung (Türen) - maximale Kraft | 5.2.1.4.2.2 | |||
| 33 | Tür-Notöffner - Öffnen einer Tür durch manuelle Kraft | EN 14752:2015 | 5.5.1.5 | |
| 34 | Umweltbedingungen - Temperatur | EN 50125-1:2014 | 4.3 | |
| 35 | Umweltbedingungen - Schnee, Eis und Hagel | EN 50125-1:2014 | 4.7 | |
| 36 | Umweltbedingungen - Hindernis-Abweiser | EN 15227:2008+A1:2011 | Maßgeblicher Abschnitt 1 | |
| 37 | Aerodynamische Wirkungen - Seitenwind, Prüfmethode | EN 14067-6:2010 | 5 | |
| 38 | Frontscheinwerfer - Farbe
voll aufgeblendete Frontscheinwerfer Lichtstärke Einstellung |
EN 15153-1:2013 + A1:2016 | 5.3.3 5.3.5 |
|
| Frontscheinwerfer - abgeblendete Frontscheinwerfer Lichtstärke | 5.3.4 Tabelle 2 Zeile 1 | |||
| Frontscheinwerfer - voll aufgeblendete Frontscheinwerfer Lichtstärke | 5.3.4 Tabelle 2 Zeile 1 | |||
| Frontscheinwerfer - Einstellung | 5.3.5 | |||
| 39 | Spitzenlichter - Farbe | EN 15153-1:2013 + A1:2016 | 5.4.3.1 Tabelle 4 | |
| Spitzenlichter - spektrale Strahlungsverteilung | 5.4.3.2 | |||
| Spitzenlichter - Lichtstärke | 5.4.4 Tabelle 6 |
|||
| 40 | Schlusslichter - Farbe | EN 15153-1:2013 + A1:2016 | 5.5.3 Tabelle 7 |
|
| Schlusslichter- Lichtstärke | 5.5.4 Tabelle 8 |
|||
| 41 | Schalldruckpegel von Signalhörnern | EN 15153-2:2013 | 5.2.2 | |
| 42 | Nutzbremse mit Rückführung der Energie in die Oberleitung | EN 50388:2012 und EN 50388:2012/AC:2013 | 12.1.1 | |
| 43 | Maximal zulässige Leistungs- und Stromaufnahme aus der Oberleitung - automatische Stromregelung | EN 50388:2012 und EN 50388:2012/AC:2013 | 7.2 | |
| 44 | Leistungsfaktor - Prüfmethode | EN 50388:2012 und EN 50388:2012/AC:2013 | 6 | |
| 45 | Störungen des Energiesystems bei Wechselstromsystemen - Oberwellen und dynamische Wirkungen | EN 50388:2012 und EN 50388:2012/AC:2013 | 10.1 | |
| Störungen des Energiesystems bei Wechselstromsystemen - Kompatibilitätsstudie | 10.3 Tabelle 5 Anlage D 10.4 |
|||
| 46 | Arbeitsbereich des Stromabnehmers bezogen auf die Höhe (Ebene der IK) - Merkmale | EN 50206-1:2010 | 4.2, 6.2.3 | |
| 47 | Geometrie der Stromabnehmerwippe | EN 50367:2012 und EN 50367:2012/AC:2013 | 5.3.2.2 | |
| 48 | Geometrie der Stromabnehmerwippe - Typ 1.600 mm | EN 50367:2012 und EN 50367:2012/AC:2013 | Anlage A.2 Abbildung A.6 | |
| 49 | Geometrie der Stromabnehmerwippe - Typ 1.950 mm | EN 50367:2012 und EN 50367:2012/AC:2013 | Anlage A.2 Abbildung A.7 | |
| 50 | Strombelastbarkeit des Stromabnehmers (Ebene der IK) | EN 50206-1:2010 | 6.13.2 | |
| 51 | Absenken der Stromabnehmer (Fahrzeugebene) - Zeitspanne zum Absenken der Stromabnehmer | EN 50206-1:2010 | 4.7 | |
| Absenken der Stromabnehmer (Fahrzeugebene) - Vorrichtung für automatische Absenkung | 4.8 | |||
| 52 | Absenken der Stromabnehmer (Fahrzeugebene) - dynamischer Isolationsabstand | EN 50119:2009 und EN 50119:2009/A1:2013 | Tabelle 2 | |
| 53 | Elektrischer Schutz des Zuges - Abstimmung des Schutzes | EN 50388:2012 und EN 50388:2012/AC:2013 | 11 | |
| 54 | Schutz gegen elektrische Gefahren | EN 50153:2014 | Maßgeblicher Abschnitt 1 | |
| 55 | Stirnscheibe - mechanische Merkmale | EN 15152:2007 | 4.2.7, 4.2.9 | |
| 56 | Stirnscheibe - Winkel zwischen Primär- und Sekundärbild | EN 15152:2007 | 4.2.2 | |
| Stirnscheibe - optische Verzerrung | 4.2.3 | |||
| Stirnscheibe - Trübung | 4.2.4 | |||
| Stirnscheibe - Lichttransmissionsgrad | 4.2.5 | |||
| Stirnscheibe - Farborte | 4.2.6 | |||
| 57 | Aufzeichnungsgerät - Funktionsanforderungen | EN/IEC 62625-1:2013 | 4.2.1, 4.2.2, 4.2.3, 4.2.4 | |
| Aufzeichnungsgerät - Aufzeichnungsleistung | 4.3.1.2.2 | |||
| Aufzeichnungsgerät - Integrität | 4.3.1.4 | |||
| Aufzeichnungsgerät - Schutz der Datenintegrität | 4.3.1.5 | |||
| Aufzeichnungsgerät - Schutzniveau | 4.3.1.7 | |||
| 58 | Maßnahmen zur Brandverhütung - Werkstoffanforderungen | EN 45545-2:2013 + A1:2015 | Maßgeblicher Abschnitt 1 | |
| 59 | Spezielle Maßnahmen für entflammbare Flüssigkeiten | EN 45545-2:2013 + A1:2015 | Tabelle 5 | |
| 60 | Maßnahmen zur Eindämmung von Bränden in Fahrzeugen für den Personenverkehr - Prüfung der Trennwand | EN 1363-1:2012 | Maßgeblicher Abschnitt 1 | |
| 61 | Maßnahmen zur Eindämmung von Bränden in Fahrzeugen für den Personenverkehr - Prüfung der Trennwand | EN 1363-1:2012 | Maßgeblicher Abschnitt 1 | |
| 62 | Notbeleuchtungssystem - Umfang der Beleuchtung | EN 13272:2012 | 5.3 | |
| 63 | Fahrfähigkeit | EN 50553:2012 und EN 50553:2012/AC:2013 | Maßgeblicher Abschnitt 1 | |
| 64 | Schnittstelle für Wasserbefüllung | EN 16362:2013 | 4.1.2 Abbildung 1 |
|
| 65 | Besondere Anforderungen beim Abstellen von Zügen - örtliche externe Hilfsenergieversorgung | EN/IEC 60309-2:1999 und Änderungen EN 60309-2:1999/A11:2004, A1: 2007 und A2:2012 | Maßgeblicher Abschnitt 1 | |
| 66 | Automatische Mittelpufferkupplung - Typ 10 | EN 16019:2014 | Maßgeblicher Abschnitt 1 | |
| 67 | Manuelle Endkupplung - UIC-Kupplung | EN 15551:2017 | Maßgeblicher Abschnitt 1 | |
| 68 | Manuelle Endkupplung - UIC-Kupplung | EN 15566:2016 | Maßgeblicher Abschnitt 1 | |
| 69 | Abschleppkupplung | EN 15020:2006+A1:2010 | Maßgeblicher Abschnitt 1 | |
| 70 | Hauptleistungsschalter - Abstimmung der Schutzfunktionen | EN 50388:2012 und EN 50388:2012/AC:2013 | 11 | |
| 71 | Räder - Prüfmethode Entscheidungskriterien |
EN 13979-1:2003+A2:2011 | 7.2.1, 7.2.2 7.2.3 |
|
| Räder - Prüfmethode Methode zur weiteren Prüfung |
7.3 | |||
| Räder - Prüfmethode thermomechanisches Verhalten |
6 | |||
| 72 | Gleitschutz - Prüfmethode | EN 15595:2009+A1:2011 | 5 | |
| Gleitschutz - Prüfprogramm | nur 6.2.3 in 6.2 | |||
| 73 | Frontscheinwerfer - Farbe | EN 15153-1:2013 + A1:2016 | 6.3 | |
| Frontscheinwerfer - Lichtstärke | 6.4 | |||
| 74 | Spitzenlichter - Farbe | EN 15153-1:2013 + A1:2016 | 6.3 | |
| Spitzenlichter - Lichtstärke | 6.4 | |||
| 75 | Schlusslichter - Farbe | EN 15153-1:2013 + A1:2016 | 6.3 | |
| Schlusslichter - Lichtstärke | 6.4 | |||
| 76 | Signalhorn - akustisches Signal | EN 15153-2:2013 | 6 | |
| Signalhorn - Schalldruckpegel | 6 | |||
| 77 | Stromabnehmer - statische Kontaktkraft | EN 50367:2012 und EN 50367:2012/AC:2013 | 7.2 | |
| 78 | Stromabnehmer - Grenzwert | EN 50119:2009 und EN 50119:2009/A1:2013 | 5.1.2 | |
| 79 | Stromabnehmer - Prüfmethode | EN 50206-1:2010 | 6.3.1 | |
| 80 | Stromabnehmer - dynamisches Verhalten | EN 50318:2002 | Maßgeblicher Abschnitt 1 | |
| 81 | Stromabnehmer - Kennwerte des Zusammenwirkens | EN 50317:2012 und EN 50317:2012/AC:2012 | Maßgeblicher Abschnitt 1 | |
| 82 | Schleifstücke - Prüfmethode | EN 50405:2015 | 7.2, 7.3 7.4, 7.6 7.7 |
|
| 83 | Sicherheit gegen Entgleisen bei Fahrbetrieb in Gleisverwindungen | EN 14363:2016 | 4, 5, 6.1 | |
| 84 | Dynamisches Fahrverhalten - Nachweismethode
Bewertung der Kriterien Der Bewertung zugrunde liegende Bedingungen |
EN 14363:2016 | 4, 5, 7 | |
| 85 | Äquivalente Konizität - Definitionen von Schienenquerschnitten | 6.2.3.6 | EN 13674-1:2011 | Maßgeblicher Abschnitt 1 |
| 86 | Äquivalente Konizität - Radprofildefinitionen | 6.2.3.6 | EN 13715:2006+A1:2010 | Maßgeblicher Abschnitt 1 |
| 87 | Radsatz - Zusammenbau | 6.2.3.7 | EN 13260:2009+A1:2010 | 3.2.1 |
| 88 | Radsatz - Radsatzwelle, Prüfmethode | 6.2.3.7 | EN 13103:2009+A1:2010 + A2:2012 | 4, 5, 6 |
| Radsatz - Radsatzwelle, Entscheidungskriterien | 7 | |||
| 89 | Radsatz - Radsatzwelle, Prüfmethode | 6.2.3.7 | EN 13104:2009+A1:2010 | 4, 5, 6 |
| Radsatz - Radsatzwelle, Entscheidungskriterien | 7 | |||
| 90 | Radsatzlager | 6.2.3.7 | EN 12082:2007+A1:2010 | 6 |
| 91 | Leistung der Notbremse | 6.2.3.8 | EN 14531-1:2005 | 5.11.3 |
| 92 | Leistung der Betriebsbremse | 6.2.3.9 | EN 14531-1:2005 | 5.11.3 |
| 93 | Gleitschutz - Methode der Leistungsprüfung | 6.2.3.10 | EN 15595:2009+A1:2011 | 6.4 |
| 94 | Auswirkungen der Wirbelzone - Versuche im 1:1 Maßstab | 6.2.3.13 | EN 14067-4:2013 | 6.2.2.1 |
| Auswirkungen der Wirbelzone - vereinfachte Bewertung | 4.2.4 und Tabelle 7 | |||
| 95 | Druckimpuls an der Zugspitze - Prüfmethode | 6.2.3.14 | EN 14067-4:2013 | 6.1.2.1 |
| Druckimpuls an der Zugspitze - numerische Strömungssimulation (Computational Fluid Dynamics, CFD) | 6.1.2.4 | |||
| Druckimpuls an der Zugspitze - bewegtes Modell | 6.1.2.2 | |||
| Druckimpuls an der Zugspitze - vereinfachte Bewertungsmethode | 4.1.4 und Tabelle 4 | |||
| 96 | Maximale Druckschwankungen - Abstand xp zwischen der Tunneleinfahrt und der Messposition, Definition der Parameter ΔpFr, ΔpN, ΔpT, Mindestl´nge des Tunnels | 6.2.3.15 | EN 14067-5:2006+A1:2010 | Maßgeblicher Abschnitt 1 |
| 97 | Signalhorn - Schalldruckpegel | 6.2.3.17 | EN 15153-2:2013 + A1:2016 | 5 |
| 98 | Maximal zulässige Leistungs- und Stromaufnahme aus der Oberleitung - Prüfmethode | 6.2.3.18 | EN 50388:2012 und EN 50388:2012/AC:2013 | 15.3 |
| 99 | Leistungsfaktor - Prüfmethode | 6.2.3.19 | EN 50388:2012 und EN 50388:2012/AC:2013 | 15.2 |
| 100 | Stromabnahme, dynamisches Verhalten - dynamische Prüfungen | 6.2.3.20 | EN 50317:2012 und EN 50317:2012/AC:2012 | Maßgeblicher Abschnitt 1 |
| 101 | Stirnscheibe - Merkmale | 6.2.3.22 | EN 15152:2007 | 6.2.1 bis 6.2.7 |
| 102 | Strukturfestigkeit | Anlage C Abschnitt C.1 |
EN 12663-2:2010 | 5.2.1 bis 5.2.4 |
| 103 | NICHT VERWENDET | |||
| 104 | NICHT VERWENDET | |||
| 105 | NICHT VERWENDET | |||
| 106 | NICHT VERWENDET | |||
| 107 | Entwurfswerte für neue Radprofile - Ermittlung der äquivalenten Konizität | 6.2.3.6 | EN 14363:2016 | Anhänge O und P |
| 108 | Auswirkungen der Wirbelzone - Anforderungen | EN 14067-4:2013 | 4.2.2.1, 4.2.2.2, 4.2.2.3 und 4.2.2.4 | |
| 109 | Druckimpuls an der Zugspitze - Anforderungen | EN 14067-4:2013 | 4.1.2 | |
| 110 | Endkupplung - Kompatibilität zwischen Einheiten - manuelle UIC-Kupplung | EN 16839:2017 | 5, 6 7, 8 |
|
| 111 | "Einpolige" Energieversorgungsleitung | CLC/TS 50534:2010 | Anhang A | |
| 112 | Kommunikationsprotokolle | IEC 61375-1:2012 | Maßgeblicher Abschnitt 1 | |
| 113 | Wulstübergänge | 6.2.7a | EN 16286-1:2013 | Anhänge a und B |
| 114 | Physische Schnittstelle für die Signalübertragung zwischen Einheiten | 6.2.7a | UIC 558, Jan. 1996 | Abbildung 2 |
| 115 | Kennzeichnung: Länge über Puffer und Versorgung mit elektrischer Leistung | 6.2.7a | EN 15877-2:2013 | 4.5.5.1 4.5.6.3 |
| 116 | Fahrzeugseitige Ortsbestimmungsfunktion - Anforderungen | EN 50463-3:2017 | 4.4 | |
| 117 | Energiemessfunktion - Genauigkeit zur Messung der Wirkenergie: | EN 50463-2:2017 | 4.2.3.1 und 4.2.3.4 | |
| Energiemessfunktion - Klassenbezeichnungen | 4.3.3.4, 4.3.4.3 und 4.4.4.2 | |||
| Energiemessfunktion - Bewertungsmethode | 6.2.3.19b | 5.4.3.4.1, 5.4.3.4.2, 5.4.4.3.1, Tabelle 3, 5.4.3.4.3.1 und 5.4.4.3.2.1 | ||
| 118 | Energiemessfunktion: ID der Verbrauchsstelle - Definition | EN 50463-1:2017 | 4.2.5.2 | |
| 119 | Protokolle der Schnittstellen zwischen fahrzeugseitigen Energiemesssystemen (EMS) und streckenseitigen Datenerfassungssystemen (DCS) - Anforderungen | EN 50463-4:2017 | 4.3.3.1, 4.3.3.3, 4.3.4, 4.3.5, 4.3.6 und 4.3.7 | |
| 120 | Energiemessfunktion: mittlerer Temperaturkoeffizient der einzelnen Geräte - Bewertungsmethode | 6.2.3.19b | EN 50463-2:2017 | 5.4.3.4.3.2 und 5.4.4.3.2.2 |
| 121 | Zusammenfassung und Verarbeitung der Daten innerhalb des Datenverarbeitungssystems - Bewertungsmethode | 6.2.3.19b | EN 50463-3:2017 | 5.4.8.3, 5.4.8.5 und 5.4.8.6 |
| 122 | Fahrzeugseitiges Energiemesssystem - Tests | 6.2.3.19b | EN 50463-5:2017 | 5.3.3 und 5.5.4 |
| 1) Abschnitte der Norm, die in direktem Zusammenhang mit der Anforderung im in Spalte 3 genannten Abschnitt der TSI stehen. | ||||
J.2 Auf der ERA-Website zugängliche technische Unterlagen16 19
| TSI | Technische Unterlage (ERA) | |||
| Ziffer | Zu bewertende Merkmale | Abschnitt | Erforderlicher Verweis
Dokument Nr. |
Abschnitte |
| 1 | Schnittstelle zwischen streckenseitiger ZZS-Ausrüstung und anderen Teilsystemen | ERA/ERTMS/033281 Rev 4.0 | 3.1 & 3.2 | |
| 2 | Reibungselemente für laufflächengebremste Räder für Güterwagen | 7.1.4.2 | ERA/TD/2013-02/INT V.3.0 | Alle |
![]() |
ENDE | ![]() |
(Stand: 29.03.2021)
Alle vollständigen Texte in der aktuellen Fassung im Jahresabonnement
Nutzungsgebühr: 90.- € netto (Grundlizenz)
(derzeit ca. 7200 Titel s.Übersicht - keine Unterteilung in Fachbereiche)
Die Zugangskennung wird kurzfristig übermittelt
? Fragen ?
Abonnentenzugang/Volltextversion