umwelt-online: Handbuch über Prüfungen und Kriterien (8)
![]() |
zurück | ![]() |
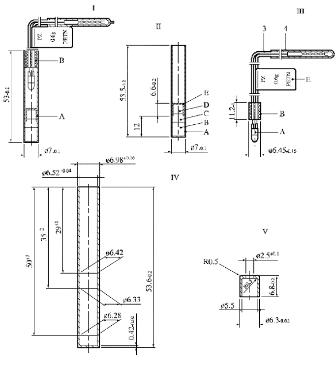
| Spezifikationen von Standarddetonatoren | Anhang 1 |
A1.1 Beschreibung des elektrischen Standarddetonators 0,6 g PETN
| Zeichnung Nr. | Teil Nr . | Teil | Beschreibung | Bemerkungen |
| I | A | Sprengkapsel | ||
| B | Anzündpille | Sie darf keine Komprimierung erfahren. Empfohlene Menge pyrotechnischen Satzes zur Bildung der Pille: 20 mg bis 50 mg | Beispiel: Elektrische Anzündpille von der Fa. DNAG, Deutschland, T 10 - U - mit Aluminium-Überzug | |
| II | A | Hülse | Tiefgezogene Hülse aus reinem Kupfer (5 % Zink) oder anderen Legierungen, deren Zusammensetzung im Bereich zwischen der oben angeführten Legierung und dem vom reinem Kupfer liegen muss. Die Abmessungen der Hülse sind in der Abbildung angegeben. Falls erforderlich, werden die Hülsen für die Herstellung der Standardsprengkapseln durch Überprüfung der genauen Abmessungen jeder zu verwendenden Hülse ausgewählt. | |
| B | (a) Sekundärladung | Basisladung: 0,40 g (± 0,01 g) PETN; bei 440 bar zusammen gepresst; |
Das PETN darf bis zu 0,5 % kohlenstoffhaltige Substanz zur Vermeidung elektrostatischer Aufladung während der Handhabung und zur Verbesserung der Fließeigenschaften enthalten. | |
| C | Zwischenladung 0,20 g (± 0,01 g) PETN; bei 20 bar zusammengepresst. | Gesamthöhe der Sekundärladung 12,3 mm (± 0,6 mm) | ||
| D | Primärladung (Initialladung) | Freie Wahl des Stoffs und seiner Menge. Es sollte jedoch mindestens die doppelte Menge der zur Zündung erforderlichen Mindestmenge verwendet werden. Die Gesamtsauerstoffbilanz der Primär- und Sekundärladung sollte nicht negativer als -9,5 % O2 sein. | Beispiel: 0,30 ± 0,01 g Bleiazid, dextriniert mit einer Reinheit von 88 %, bei 440 bar zusammengepresst | |
| E | Innenhülse (durchlöchert) | - | Es ist nicht notwendig, eine durchlöcherte Innenhülse zu verwenden. Das Pressen der Primärladung auf den hoch verdichteten Teil der Sekundärladung ist ausgeschlossen. | |
| III | A | Anzündpille | - | Beispiel: Elektrische Anzündpille von der Fa. DNAG, Deutschland, T 10 - U - mit Aluminium-Überzug |
| B | Verschlussstopfen | - | Keine speziellen Anforderungen. Er sollte jedoch (zur Vermeidung der Bildung von Kupferazid und zur Sicherstellung der geforderten Zündstärke) absolut dicht abschließen. Die handelsübliche Ausführung ist ausreichend. | |
| C | Zünderdraht | - | Freie Wahl, sofern die elektrischen Risiken (statische Elektrizität, Streuströme) beachtet werden. Jedoch ist die Verwendung einer Isolierhülse aus Kunststoff innerhalb der Sprenghülse nicht erlaubt. | |
| D | Kurzschlusshülse | Kunststoffrohr | ||
| E | Kennzeichen |
Abbildung A1.1: Standarddetonator (europäisch)
![]() |
|||
| I | Elektrische Sprengkapsel (Standardsprengkapsel) | (A) | Sprengkapsel |
| II | Sprengkapsel (Standardsprengkapsel) | (B) | Anzündpille |
| III | Anzündpille | (C) | Zwischenladung |
| IV | Hülse | (D) | Initialladung |
| V | Innenhülse | (E) | Innenhülse |
Abbildung A1.2: Standarddetonator NR. 8 (USA)
![]() |
|
| (A) | Aluminiumhülse (Material - 5052 Aluminiumlegierung; Länge 31,8 mm; Außendurchmesser 7,06 mm; Wandstärke 0,19 mm) |
| (B) | Brückendraht und Anzündladung |
| (C) | Initialladung (0,195 g Bleiazid, dextriniert) |
| (D) | Basisladung (0,447 g PETN gepresst bei 28 MPa) |
| Bruceton- und Probenvergleichsverfahren | Anhang 2 |
A2.1. Bruceton-Verfahren
A2.1.1 Einleitung
Das Bruceton-Verfahren dient der Bestimmung des Niveaus der Anregung, bei der mit 50% Wahrscheinlichkeit ein positives Ergebnis erhalten wird.
A2.1.2 Prüfverfahren
(Stand: 19.11.2025)
Alle vollständigen Texte in der aktuellen Fassung im Jahresabonnement
Nutzungsgebühr: ab 105.- € netto (Grundlizenz)
(derzeit ca. 7200 Titel s.Übersicht - keine Unterteilung in Fachbereiche)
Die Zugangskennung wird kurzfristig übermittelt
? Fragen ?
Abonnentenzugang/Volltextversion