Für einen individuellen Ausdruck passen Sie bitte dieEinstellungen in der Druckvorschau Ihres Browsers an. Regelwerk Immissionsschutz, Lärm |
![]() |
Lichtimmissionen, Messung, Beurteilung und Verminderung
- Nordrhein-Westfalen -
Vom 13. September 2000
(MBl. NRW. 2000 S. 1283; 11.12.2014 14aufgehoben)
Gem. RdErl.
d. Ministeriums für Umwelt und Naturschutz,. Landwirtschaft und Verbraucherschutz VB2-8829-(V Nr. 5/00)-,
d. Ministeriums für Wirtschaft und Mittelstand, Energie und Verkehr - III a 4 - 62 - 03 - u.
d. Ministeriums für Städtebau und Wohnen, Kultur und Sport - 11A4-850.1 -
1 Grundsätzliches
Licht gehört gemäß § 3 Abs. 2 des Gesetzes zum Schutz vor schädlichen Umwelteinwirkungen durch Luftverunreinigungen, Geräusche, Erschütterungen und ähnliche Vorgänge (Bundes-Immissionsschutzgesetz - BImSchG) vom 15. März 1974 (BGBl. I S. 721, 1193) in der Fassung der Bekanntmachung vom 14. Mai 1990 (BGBl. I S. 880), zuletzt geändert durch Artikel 1 des Gesetzes vom 19. Oktober 1998 (BGBl. I S. 3178) zu den Immissionen und gem. § 3 Abs. 3 BImSchG zu den Emissionen i. S. des Gesetzes. Lichtimmissionen gehören nach dem BImSchG zu den schädlichen Umwelteinwirkungen, wenn sie nach Art, Ausmaß oder Dauer geeignet sind, Gefahren, erhebliche Nachteile oder erhebliche Belästigungen für die Allgemeinheit oder für die Nachbarschaft herbeizuführen.
Genehmigungsbedürftige Anlagen sind gemäß § 5 Abs. 1 Nr. 1 und 2 BImSchG so zu errichten und zu betreiben, dass schädliche Umwelteinwirkungen durch Licht nicht hervorgerufen werden können und dass Vorsorge gegen schädliche Umwelteinwirkungen, insbesondere durch die dem Stand der Technik entsprechenden Maßnahmen zur Emissionsbegrenzung getroffen wird.
Nicht genehmigungsbedürftige Anlagen sind gemäß § 22 Abs. 1 Nr. 1 und 2 BImSchG so zu errichten und zu betreiben, dass schädliche Umwelteinwirkungen durch Licht verhindert werden, Regel auf, wenn die angegebenen Immissionsrichtwerte überschritten werden, die nach dem Stand der Technik vermeidbar sind, und dass nach dem Stand der Technik unvermeidbare schädliche Umwelteinwirkungen auf ein Mindestmaß beschränkt werden.
Dieser Erlass dient dem Schutz der Allgemeinheit und der Nachbarschaft vor schädlichen Umwelteinwirkungen durch Licht sowie der Vorsorge gegen schädliche Umwelteinwirkungen durch Licht Er enthält Beurteilungsmaßstäbe zur Konkretisierung der Anforderungen aus § 5 Abs. 1 Nrn. 1 und 2 und § 22 Abs. 1 BImSchG sowie aus § 3 Abs. 3 und § 13 des Gesetzes zum Schutz vor Luftverunreinigungen, Geräuschen und ähnlichen Umwelteinwirkungen (Landes-Immissionsschutzgesetz (LImschG) vom 18. März 1975 (GV. NRW. 1975 S. 232, zuletzt geändert durch Gesetz vom 15. Dezember 1993 GV. NRW. S. 987) zur Abwehr schädlicher Umwelteinwirkungen und zur Vorsorge gegen schädliche Umwelteinwirkungen durch Licht.
Eine für Anlagenbetreiber und Überwachungsbehörden gleichermaßen bundesweit rechtsverbindliche Klärung der Frage) wann Lichtimmissionen als schädliche Umwelteinwirkungen anzusehen sind, existiert nicht. Die Bewertung der Erheblichkeit von Belästigungen durch Lichteinwirkungen i.S. des BImSchG ist daher anhand von Regelwerken sachverständiger Organisationen oder von einzelfallbezogenen Gutachten vorzunehmen. Eine wesentliche Erkenntnisquelle ist die von der Deutschen Lichttechnischen Gesellschaft e. V., Berlin herausgegebene Publikation: "Messung und Beurteilung von Lichtimmissionen künstlicher Lichtquellen", LiTG-Publ. Nr. 12 (1996), ISBN 3-927787-14-0. Hierauf aufbauend hat der Länderausschuss für Immissionsschutz (LAI) am 10.112. Mai 2000 "Hinweise zur Messung, und Beurteilung von Lichtimmissionen" beschlossen, nach denen in Einzelfällen die Schwellen zwischen erheblichen und gerade noch nicht erheblichen Belästigungen im Sinne des BImSchG ermittelt werden können. Diese Hinweise bilden die Basis für wesentliche Inhalte dieses Erlasses.
Die im Immissionsschutz auftretenden Lichteinwirkungen bewegen sich im Bereich der Belästigung. Physische Schäden am Auge können ausgeschlossen werden.
2 Anwendungsbereich
Der Erlass ist zur Beurteilung der Wirkung von Lichtimmissionen auf Menschen durch Licht emittierende Anlagen aller Art anzuwenden, soweit es sich dabei um Anlagen oder Bestandteile von Anlagen i.S. des § 3 Abs. 5 BImSchG handelt, Zu den lichtemittierenden Anlagen zählen künstliche Lichtquellen aller Art wie z.B. Scheinwerfer zur Beleuchtung von Sportstätten, von Verladeplätzen und für Anstrahlungen sowie Lichtreklamen, aber auch hell beleuchtete Flächen wie z.B. angestrahlte Fassaden.
Anlagen zur Beleuchtung des öffentlichen Straßenraumes, Beleuchtungsanlagen von Kraftfahrzeugen und dem Verkehr zuzuordnende Signalleuchten gehören nicht zu den Anlagen i. S. des § 3 Abs. 5 BImSchG.
Er gilt nicht für statische technische oder bauliche Einrichtungen, die das Sonnenlicht reflektieren und nicht für Laser. Für Laser ist eine gesonderte Beurteilung nach den Kriterien des Gesundheitsschutzes erforderlich.
3 Beurteilungsgrundsätze
Schädliche Umwelteinwirkungen liegen dann vor, wenn die Nachbarschaft oder die Allgemeinheit erheblich belästigt wird. Dieser Erlass gibt Maßstäbe zur Beurteilung der Lästigkeitswirkung an. Eine erhebliche Belästigung i. S. des § 5 Abs. 1 Nr. 1 oder des § 22 Abs. 1 BImSchG tritt in der Regel auf, wenn die angegebenen Immissionslichtwerte überschritten werden.
Die Erheblichkeit der Belästigung durch Lichtimmissionen hängt aber auch wesentlich von der Nutzung des Gebietes, auf das sie einwirken, sowie dem Zeitpunkt (Tageszeit) oder der Zeitdauer der Einwirkungen ab, Die Beurteilung orientiert sich nicht an einer mehr oder weniger empfindlichen individuellen Person, sondern an der Einstellung eines durchschnittlich empfindlichen Menschen.
Von Bedeutung für die Beurteilung der Lichtimmissionen von Anlagen ist die Schutzbedürftigkeit der Nutzungen in den diesen Anlagen benachbarten Gebieten. Die Art der in Tabelle 1 bezeichneten Gebiete und Einrichtungen ergibt sich aus den Festlegungen in den Bebauungsplänen. Sonstige in Bebauungsplänen festgesetzte Flächen für Gebiete und Einrichtungen sowie Gebiete und Einrichtungen, für die keine Festsetzungen bestehen, sind entsprechend der Schutzbedürftigkeit zu beurteilen.
Liegen aufgrund baulicher Entwicklungen In der Vergangenheit Wohngebiete und lichtemittierende Anlagen eng zusammen, kann eine besondere Pflicht zur gegenseitigen Rücksichtnahme bestehen. Sofern an belästigenden Anlagen alle verhältnismäßigen Emissionsminderungsmaßnahmen durchgeführt sind, kann die Pflicht zur gegenseitigen Rücksichtnahme dazu führen, dass die Bewohner mehr an Lichtimmissionen hinnehmen müssen als die Bewohner von gleichartig genutzten Gebieten, die fernab derartiger Anlagen liegen. Die Im Einzelfall noch hinzunehmende Lichtimmission hängt von der konkreten Schutzbedürftigkeit der Bewohner des Gebietes und den tatsächlich nicht weiter zu vermindernden Lichtemissionen ab. Die zu duldenden Lichteinwirkungen sollen aber die Immissionsrichtwerte unterschreiten, die für die Gebietsart mit dem nächst niedrigeren Schutzanspruch gelten. Eine Untersagung des Betriebs kommt nur unter den in §§ 20 oder 25 BImSchG genannten Voraussetzungen in Betracht.
Bei Beleuchtungsanlagen, die vor dem Datum der Veröffentlichung dieses Erlasses im Ministerialblatt für das Land Nordrhein-Westfalen baurechtlich genehmigt oder - soweit eine Genehmigung nicht erforderlich war - errichtet wurden, soll von einer Festsetzung von Betriebszeiten absehen werden, wenn die Immissionsrichtwerte für die Gebietsart mit dem nächst niedrigeren Schutzanspruch nicht überschritten werden.
Die Beurteilung umfasst zwei Bereiche:
F in der Fensterebene beschrieben.4 Beurteilung und Messung der Raumaufhellung
4.1 Beurteilung
Mess- und Beurteilungsgröße für die Raumaufhellung ist die nach diesen Hinweisen gemessene mittlere Beleuchtungsstärke EF am Immissionsort. Immissionsrichtwerte der mittleren Beleuchtungsstärke EF, die von einer Beleuchtungsanlage in ihrer Nachbarschaft nicht überschritten werden sollen, sind in Tabelle 1 (s. Anlage) enthalten, soweit die nachfolgenden Ausführungen dem nicht entgegenstehen.
Wird die mittlere Beleuchtungsstärke am Immissionsort maßgeblich durch andere Lichtquellen bestimmt, sollen Maßnahmen an der zu beurteilenden Beleuchtungsanlage solange ausgesetzt werden, wie die Anlage nicht wesentlich zur Gesamt-Beleuchtungsstärke beiträgt.
Tabelle 1 bezieht sich auf zeitlich konstantes und weißes oder annähernd weißes Licht (das Licht von Natriumdampf-Hochdrucklampen gilt noch als annähernd weiß), das mehrmals in der Woche jeweils länger als eine Stunde eingeschaltet ist. Wird die Anlage seltener oder kürzer betrieben bzw. über Bewegungsmelder geschaltet, sind Einzelfallbetrachtungen anzustellen. Dabei soll der Zeitpunkt und die Häufigkeit des Auftretens, die allgemeine Umgebungshelligkeit, die Ortsüblichkeit sowie insbesondere die Möglichkeit für Minderungsmaßnahmen der Störwirkung berücksichtigt werden. Hieraus können gegebenenfalls auch höhere oder niedrigere Immissionsrichtwerte der Beleuchtungsstärke EF als in Tabelle 1 vertreten werden. Bei Beleuchtungsanlagen mit veränderbaren Betriebszuständen ist der Beleuchtungszustand mit der maximalen Beleuchtungsstärke zu bewerten.
Beleuchtungsanlagen, deren Betriebszustände sich nicht schneller als in einem 5-minütigen Rhythmus ändern, gelten als zeitlich konstant abstrahlend. Andern sich die Betriebszustände in weniger als fünf Minuten wesentlich, dann liegt ein Wechsellicht vor. In besonders auffälligen Wechsellichtsituationen (z.B. große Schwankungen der Beleuchtungsstärke, schnelle Hell-Dunkelübergänge, blitzlichtartige Vorgänge, schnelle Folgefrequenzen des Wechsellichtes), die lästiger als zeitlich konstantes Licht empfunden werden, sind bei der Beurteilung der Raumaufhellung die Maximalwerte je nach Auffälligkeit mit einem Faktor 2 bis 5 zu multiplizieren und mit den Immissionsrichtwerten der Tabelle 1 (s. Anlage) zu vergleichen.
Strahlt die Beleuchtungsanlage intensiv farbiges Licht aus, so ist bei besonderer Auffälligkeit (kräftige Farbtöne, die in der Regel lästiger empfunden werden) der Messwert mit einem Faktor 2 zu multiplizieren und mit den Immissionsrichtwerten der Tabelle 1 (s. Anlage) zu vergleichen.
Eine Überschreitung der Immissionsrichtwerte als Anlass für behördliche Anordnungen nach §§ 17 oder 14 BImSchG kann wegen der Fehlergrenzen der Messgeräte (siehe Abschnitt 4.3) erst dann angenommen werden, wenn das Messergebnis mindestens 10 % oberhalb der Immissionsrichtwerte der Tabelle 1 (s. Anlage) liegt.
4.2 Zeit und Ort der Messung
Es soll zu einer Zeit gemessen werden, die für die Lichtimmissionen am Immissionsort typisch ist. Werden die Messwerte z.B. durch Regen, Schnee oder Nebel beeinflusst, so ist nicht zu messen. Messort bei der Beurteilung ist für Aufenthaltsräume bei geöffneten Fenstern die jeweilige Fensterebene, bei Balkonen oder Terrassen sind es sinngemäß die Begrenzungsflächen für die Wohnnutzung. Wird abweichend davon von innen durch die Fensterscheibe gemessen, so muss der Einfluss der Scheibe durch einen Korrekturfaktor berücksichtigt werden. Bei sauberen Scheiben können folgende Korrekturfaktoren näherungsweise eingesetzt werden:
| Einfachverglasung: | 1,1 |
| Doppelverglasung: | 1,25 |
| Dreifachverglasung: | 1,4 |
| beschichtete Wärmeschutzverglasung: | 1,7 |
Die Messzellennormale ist beider Messung der mittleren Beleuchtungsstärke
F parallel zur Normalen der Bezugsfläche auszurichten. Bei örtlich unterschiedlichen Beleuchtungsstärken in der Bezugsfläche ist der arithmetische Mittelwert der Beleuchtungsstärke zu ermitteln. Ist die Bezugsfläche größer als 1,5 m2, dann ist der Mittelwert der am stärksten beleuchteten Fläche von 1,5 m2 maßgebend. Bei der Messung ist die Zimmerbeleuchtung auszuschalten.
Beleuchtungsanteile durch nicht zu beurteilende Lichtquellen aus der Umgebung sind z.B. durch Ausblendung oder Differenzbildung zu beseitigen. Für die Differenzbildung sind die Beleuchtungsstärkewerte EF,i (mit) und EF,i (ohne) an den Messpunkten i zu messen, die sich bei eingeschalteter (d.h. mit) und bei ausgeschalteter (d.h. ohne) Beleuchtungsanlage ergeben. Der durch die zu beurteilende Anlage verursachte mittlere Beleuchtungsstärkewert errechnet sich aus:
F = 1/n Σi[EF,i (mit) - EF,i (ohne)] ( 1)
4.3 Anforderungen an das Beleuchtungsstärkemessgerät
Das Beleuchtungsstärkemessgerät ("Luxmeter") muss gestatten, 0,01 lx zu messen. Die Geräte müssen mindestens den Anforderungen der Klasse B nach DIN 5032-7:1085-12 - Lichtmessung -Klasseneinteilung von Beleuchtungsstärke- und Leuchtdichtemessgeräten mit einem Gesamtfehler< 10 % genügen.
5 Beurteilung und Messung der Blendung
5.1 Beurteilung
Als Konvention zur Berechnung von Werten für die maximal tolerable mittlere Leuchtdichte Lmax einer technischen Blendlichtquelle wird für den Bereich des Immissionsschutzes folgende Beziehung festgelegt:
max = k (Lu/ΩS)0,5 ( 2)
Es bedeuten:
max |
maximal tolerable Leuchtdichte einer Blendlichtquelle in cd/m2, gemittelt über den zugehörigen Raumwinkel ΩS |
| Lu | Maßgebende Leuchtdichte der Umgebung der Blendlichtquelle in cd/m2. Falls die aus Messungen ermittelte Umgebungsleuchtdichte Lu,mess, (siehe Nr. 5.3.2) kleiner als 0,1 cd/m2 ist, wird mit Lu = 0,1 cd/m2 gerechnet. |
| ΩS | Raumwinkel der vom Immissionsort aus gesehenen Blendlichtquelle in sr. |
| k | Proportionalitätsfaktor; er dient zur Festlegung der Immissionsrichtwerte max (s. Anlage, Tabelle 2) |
Die mittlere Leuchtdichte
S der zu beurteilenden Blendquelle (siehe Nr. 5.3.1) soll die nach Gleichung ( 2) und Tabelle 2 berechneten Werte
max nicht überschreiten. Dies gilt für zeitlich konstantes Licht, das mehrmals in der Woche jeweils länger als eine Stunde angeschaltet wird. Bei geringerer Einschaltdauer oder -häufigkeit sind höhere Leuchtdichtewerte als
maxmöglich (z.B. in Sportanlagen). Dies ist je nach Einzelfall gesondert zu behandeln.
Lichtquellen, deren Lichtabstrahlung sich nicht schneller als in einem 5-minütigen Rhythmus verändert, werden zu den zeitlich konstant abstrahlenden Anlagen gerechnet. Ändert sich die Lichtabstrahlung in weniger als 5 Minuten wesentlich, handelt es sich um Wechsellicht. Bei Wechsellicht wird der zeitliche Maximalwert der Leuchtdichte für die Ermittlung von L, zugrunde gelegt. In besonders auffälligen Situationen (z.B. große Schwankungen der Leuchtdichte, schnelle Hell-Dunkel-Übergänge, blitzlichtartige Vorgänge, schnelle Folgefrequenz des Wechsellichtes) werden die Maximalwerte mit einem Faktor 2 bis 5 multipliziert und mit den Immissionsrichtwerten nach Gleichung 2 und Tabelle 2 verglichen.
Der Anwendungsbereich von Gleichung ( 2) wird auf 0,1 cd/m2< Lu 10 cd/m2 und 10-7 sr< ΩS< 10-2 sr beschränkt.
Die Anwendung des Beurteilungsverfahrens gilt nur unter der Voraussetzung, dass vom Immissionsort aus bei üblicher Position der Blick zur Blendquelle hin möglich ist. Als Blickrichtung wird dann dieser Blick zur Blendquelle hin angenommen, weil sich das Auge im Allgemeinen unwillkürlich zur Blendlichtquelle hinwendet, da sie häufig das auffälligste Sehobjekt im Gesichtsfeld ist.
Eine Überschreitung der Immissionsrichtwerte
max als Anlass für behördliche Anordnungen kann wegen der Fehlergrenzen des hier zugrunde gelegten Leuchtdichtemessgerätes (siehe Nr. 5.3.1.2) und bei sorgfältiger Messdurchführung (z.B. korrekte Fokussierung und Positionierung) messtechnisch erst dann festgestellt werden, wenn die festgestellte Leuchtdichte
S der zu beurteilenden Lichtquelle mindestens 40 % oberhalb des entsprechenden Immissionsrichtwertes liegt. Dabei ist für die Messgrößen
S, ΩS,
u,mess ein relativer Fehler von jeweils 20 % zugrunde gelegt.
5.2 Beurteilung mehrerer Blendlichtquellen im Blickfeld
Besteht eine Beleuchtungsanlage aus mehreren einzelnen Leuchten, so muss die Leuchtdichte jeder einzelnen Leuchte zumindest unterhalb der oben beschriebenen Werte liegen. Dabei wird die Störwirkung u.U. zu gering eingestuft, da die Belästigung durch die Gesamtanlage stärker als die durch eine einzelne Leuchte allein ist. Gesicherte Ergebnisse über die Summenwirkung mehrerer Leuchten liegen jedoch bisher nicht vor.
5.3 Messgrößen und Messgeräte
Die Messung von blendungsrelevanten Kenngrößen stellt hohe Anforderungen an die lichttechnischen Kenntnisse und praktischen Messerfahrungen des Sachverständigen sowie dessen Ausstattung mit geeigneten Messgeräten. Daher empfiehlt es sich erforderlichenfalls, einen entsprechend ausgewiesenen Fachmann heranzuziehen.
5.3.1 Leuchtdichte der Blendlichtquelle
Es wird die über den zugehörigen Raumwinkel ΩS (siehe Nr. 5.3.3) gemittelte Leuchtdichte
S der zu beurteilenden Blendlichtquelle bestimmt und mit den Werten
max nach Gleichung ( 2) in Verbindung mit den k-Werten der Tabelle 2 verglichen.
5.3.1.1 Berechnung der Leuchtdichte der Blendlichtquelle
Sind die Daten der Blendlichtquelle (Lichtaustrittsfläche der Leuchte, Lichtstärkeverteilung) sowie der Winkel zwischen der Normalen der Lichtaustrittsfläche und dem Lichtimmissionsort bekannt, so kann die Leuchtdichte der Blendlichtquelle
S berechnet werden:
S = I / Fp (3)
Es bedeutet:
S: |
Mittlere Leuchtdichte der zu beurteilenden Blendlichtquelle in cd/m2 |
| I: | Lichtstärke in cd |
| Fp | Projektion der Lichtaustrittsfläche der Leuchte auf eine Ebene senkrecht zur Verbindungsgeraden Immissionsort-Leuchte in m2 |
Sind diese Daten nicht vorhanden, so ist die Leuchtdichte der Blendlichtquelle durch Messung zu ermitteln.
5.3.1.2 Messung der Leuchtdichte der Blendlichtquelle
Die Messung erfolgt bei Dunkelheit und klarem Wetter vom Immissionsort aus, z.B. vom Aufenthaltsraum bei geöffnetem Fenster, vom Balkon oder von der Terrasse. Das Leuchtdichtemessgerät soll mindestens den Anforderungen der Klasse B nach DIN 5032, Teil 7 mit einem Gesamtfehler< 10 % entsprechen. Es sollten möglichst mehrere Messfeldblenden mit Winkeldurchmessern im Bereich von ca. 10° bis ca. 1° zur Verfügung stehen. Der Anzeigeumfang liegt zweckmäßigerweise etwa im Bereich von 10-2 cd/m2 bis 106 cd/m2.
Bei der Messung ist auf genaue Fokussierung und Ausrichtung des Messgerätes zu achten. Ist der Raumwinkel der Messfeldblende des Messgerätes Ωm größer als der der Lichtquelle ΩS und schließt er ihn vollständig ein, so wird
S wie folgt berechnet:
S =
m ⋅ Ωm/ΩS ( 4)
Es bedeutet:
m |
Angezeigter Messwert, d.h. mittlere Leuchtdichte im Messfeld des Leuchtdichtemessers in cd/m2 |
| Ωm | Raumwinkel des Messfeldes des Leuchtdichtemessers in sr. Es gilt: Ωm = 2 π (1 - cos α /2) für Kreiskegel mit dem vollen Öffnungswinkel α. |
| ΩS | Raumwinkel der Lichtquelle in sr, vom Immissionsort aus gesehen. |
Dabei ist vorausgesetzt, dass die Leuchtdichte im Messfeld außerhalb der Lichtquelle vernachlässigbar ist. Ist der Raumwinkel ΩS der Lichtquelle größer als Ωm und überdeckt er Ωm, vollständig, so wird flächenrepräsentativ an mehreren Punkten der Lichtquelle gemessen und aus den Messwerten der arithmetische Mittelwert gebildet. Dieser Wert gibt die mittlere Leuchtdichte
S der Lichtquelle an.
5.3.2 Umgebungsleuchtdichte
Die Leuchtdichte
u,mess der Umgebung ist die durch Messung ermittelte mittlere Leuchtdichte in einem Winkelbereich von αu = ±10° um die zu beurteilende Lichtquelle.
Bei der Messung ist die Zimmer- bzw. Terrassen- oder Balkonbeleuchtung auszuschalten. Die zu beurteilende Lichtquelle bleibt jedoch eingeschaltet, da diese die Umgebungsleuchtdichte mit beeinflussen kann. Messungen in Wohnräumen sind bei geöffnetem Fenster durchzuführen.
Die Umgebungsleuchtdichte kann mit einem Leuchtdichtemessgerät mit möglichst großer Messfeldblende (Winkeldurchmesser etwa> 1°) ermittelt werden, indem räumlich repräsentativ an mehreren Punkten im Winkelbereich von ±10° um die zu beurteilende Lichtquelle gemessen wird. Die zu beurteilende Lichtquelle selber und ggf. weitere Blendquellen im 20°-Feld bleiben dabei ausgespart.
Sehr helle Lichtquellen wie z.B. Flutlichtstrahler müssen dabei nicht nur außerhalb des Messfeldes, sondern sogar außerhalb des Gesichtsfeldes des Leuchtdichtemessers bleiben, da andernfalls das Streulicht im Objektiv das Messergebnis zu sehr verfälscht. Die Umgebungsleuchtdichte
u,mess, ergibt sich dann als Mittelwert der einzelnen Leuchtdichtemesswerte Li.
5.3.3 Raumwinkel der Blendlichtquelle
Der Raumwinkel ΩS wird bei direkt abstrahlenden Lampen durch die vom Immissionsort aus sichtbaren Lampenabmessungen aufgespannt. Wenn das Licht durch Reflexion, Refraktion oder Streuung an der Leuchte zum Immissionsort gelenkt wird, sind die vom Immissionsort aus sichtbaren lichtabstrahlenden Leuchtenabmessungen ("scheinbare" Leuchtengröße, das heißt die Flächenprojektion auf eine Ebene senkrecht zur Verbindungsgraden Immissionsort-Leuchte) zugrunde zu legen.
Die Ermittlung des Raumwinkels kann rechnerisch aus den Abmessungen der Blendlichtquelle, den Neigungswinkeln relativ zum Beobachter und dem Abstand zwischen der Blendlichtquelle und dem Immissionsort durchgeführt werden.
Der Raumwinkel ΩS der Lichtquelle wird rechnerisch nach folgender Beziehung ermittelt:
ΩS = Fp/R2 ( 5)
mit
Fp = F1 ⋅ cos ε
Es bedeuten:
| Fp | Projektion der lichtabstrahlenden Lampen bzw. Leuchtenfläche auf eine Ebene senkrecht zur Verbindungsgeraden Immissionsort-Leuchte ("scheinbare" Leuchtengröße) in m2 |
| R | Direkter Abstand zwischen Lichtquelle und Immissionsort in m |
| F1 | Lichtaustrittsfläche der Leuchte, bzw. des Strahlers in m2 |
| ε | Winkel zwischen Lot auf die Leuchtenfläche und Verbindungsgerade Immissionsort-Leuchte |
Da oft nicht alle Größen (R, F1 und ε ) bekannt oder einfach zu ermitteln sind, können andere Methoden zur Bestimmung des Raumwinkels vorzuziehen sein.
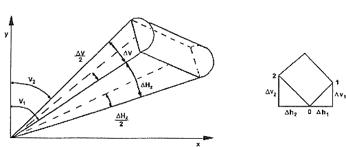
Einfach zu ermitteln ist der Raumwinkel rechteckiger Flächen durch reine Winkelmessungen mittels Theodolit vom Immissionsort. Der Raumwinkel ergibt sich dann aus der Winkeldifferenz der Eckpunkte der Lichtaustrittsfläche zu:
ΩS = 4 sin (ΔV/2) sin (ΔHz/2) ( 6a) oder
ΩS = 4 sin ΔV sin ΔHz ( 6b)
ΔHz, ΔV (s. Anlage, Abb. 1)
Gleichung ( 6b) gilt für nicht zu große Winkel. Der Fehler ist > 0,2 % für Winkel > 5 °, > 1,7 % für E Winkel> 15°.
Liegt das Strahlerfeld verdreht im Messfeld des Theodoliten, dann ergibt sich für kleine Winkel (bzw. Abstand zur Lichtquelle sehr groß im Vergleich zu den Abmessungen):
ΩS = [(sin2Δh1+ sin2Δv1) (sin2Δh2+ sin2Δv2)]1/2 ( 7)
Δh1, Δh2, Δv1, Δv2 (s. Anlage, Abb. 1)
Der mögliche Fehler bei der Raumwinkelbestimmung mit dem Theodoliten bewegt sich je nach Größe des zu ermittelnden Raumwinkels im Bereich von etwa 5 % bis 10 %. Als Theodolit eignen sich alle im Vermessungswesen eingesetzten Geräte. Moderne Geräte mit beleuchteter Messwertanzeige sind vorzuziehen. Zur Messung von Flutlichtstrahlern (sehr hohe Leuchtdichte) ist ein Graufilter notwendig.
Für die Messung des Raumwinkels Ω, aus einer fotografischen Aufnahme, die vom Immissionsort aufgenommen wird, gilt für große Abstände R >> f:
ΩS = FNeg/f2 ( 8)
Es bedeutet:
FNeg: Fläche des Bildes der Lichtquelle auf dem Negativ oder Dia in mm2.
f: Brennweite des Photoobjektivs in mm.
Bei der Aufnahme ist auf genaue Fokussierung und Verwacklungsfreiheit zu achten. Die Objektivbrennweite hängt von der Größe der Lichtquelle und ihrer Entfernung zum Immissionsort ab; sie liegt für das Kleinbildformat in einem Bereich von ca. 135 mm bis 1000 mm, um eine möglichst Format füllende Aufnahme zu erhalten. Ein Fotoapparat zur fotografischen Ermittlung des Raumwinkels ΩS benötigt verschiedene Objektive geeigneter Brennweite. Die Objektivbrennweite muss einmal an einem Objekt bekannter Größe in bekannter Entfernung überprüft werden. Es müssen stets mehrere Aufnahmen mit unterschiedlicher Belichtung gemacht werden, um eine optimal belichtete Aufnahme für die Auswertung zu erhalten.
6 Maßnahmen zur Minderung der Störwirkung
Insbesondere folgende Maßnahmen zur Minderung von Lichtimmissionen haben sich bewährt.
Bei der Festlegung des Leuchtenstandortes ist darauf zu achten, dass die Nachbarschaft möglichst wenig von Lichtimmissionen betroffen wird. Die evtl. Beeinträchtigung der Nachbarschaft ist abhängig von Ort, Neigung und Höhe der Leuchte. Oftmals sind mehrere räumlich verteilte Leuchten aus der Sicht des Nachbarschutzes günstiger als wenige zentrale Leuchten.
Direkte Blickverbindung zur Leuchte sollte vermieden werden. Ist dies nicht möglich, sind zum Schutz der Nachbarschaft Blenden vorzusehen (s. Abb. 2a und 2b im Anhang).
Für größere Plätze, die gleichmäßig ausgeleuchtet werden sollen (z.B. Lager- und Sportplätze), sind Scheinwerfer mit asymmetrischer Lichtverteilung zu verwenden, die oberhalb von 85° Ausstrahlungswinkel (zur Vertikalen) kein Licht abgeben, z.B. Strahler mit horizontaler Lichtaustrittsfläche (s. Abb. 2c im Anhang).
Zeitlich veränderliches Licht (z.B. bei Leuchtreklamen) sollte durch gleichbleibendes Licht ersetzt werden, soweit dies mit dem Zweck der Anlage zu vereinbaren ist.
Lichtimmissionen aus Gebäuden (z.B. beleuchtete Arbeitsräume, Gewächshäuser etc.) können durch geeignete Abdunklungsmaßnahmen (Rollos, Jalousien o. A.) verhindert werden.
| E | Verwendete Abkürzungen Beleuchtungsstärke, gemessen in lx |
F |
mittlere Beleuchtungsstärke am Immissionsort, normalerweise in der Fensterebene, bei Terrassen und Balkonen in der Ebene vertikaler Bezugsflächen |
| f | Brennweite eines Photoobjektivs in mm |
| FNeg | Fläche des Bildes einer Lichtquelle auf einem fotografischen Negativ oder Dia in mm2 |
| Fp | Projektion der Lichtaustrittsfläche der Leuchte auf eine Ebene senkrecht zur Verbindungsgeraden Immissionsort-Leuchte in m2 |
| R | Direkter Abstand zwischen Lichtquelle und Immissionsort in m |
| F1 | Lichtaustrittsfläche der Leuchte in m2 |
| k | Proportionalitätsfaktor zur Festlegung der Werte für die maximal tolerable mittlere Leuchtdichte einer Blendlichtquelle bzw. zur unmittelbaren Beschreibung der Güte der Blendungsbegrenzung |
| L | Leuchtdichte, gemessen in cd/m2 |
s |
Mittlere Leuchtdichte der zu beurteilenden Blendlichtquelle |
u,mess |
Mittlere Leuchtdichte des (20°)-Umfeldes der zu beurteilenden Blendlichtquelle |
| Lu | Messgebende Leuchtdichte der Umgebung der Blendlichtquelle |
max |
Maximal tolerable mittlere Leuchtdichte einer Blendlichtquelle |
m |
Mittlere Leuchtdichte im Messfeld eines Leuchtdichtemessers |
| I | Lichtstärke in cd |
| Ω | Raumwinkel, unter dem eine (leuchtende) Fläche erscheint, gemessen in sr Ω = Fp/R2 (Fp = Flächenprojektion; R = Abstand zur Fläche) Ω = 2 π ⋅ (1-cos α /2) für Kreiskegel mit Öffnungswinkel α |
| Ωs | Raumwinkel, unter dem die zu beurteilende Blendlichtquelle erscheint |
| Ωu | Raumwinkel des Umfeldes; Ωu = 0,095 sr für αu = 20° |
| Ωm | Raumwinkel zum Messfeld eines Leuchtdichtemessers, z.B. Ωm = 0,000239 sr für α = 1° |
| α | Voller Öffnungswinkel eines Kreiskegels, gemessen in Grad |
| αu | Voller Öffnungswinkel des kreisförmigen Umfeldes um die zu beurteilende Blendlichtquelle Festlegung αu = 20° |
| ε | Winkel zwischen der Senkrechten auf der Lichtaustrittsfläche der Leuchte und der Verbindungsgeraden Immissionsort-Leuchte |
| ΔV, ΔHz, Δh1 Δv1, Δv2 Winkeldifferenzen bei Messung mit Theodolit, siehe Abb. 1 |
|
| Anlage |
Tabelle 1: Immissionsrichtwerte der mittleren Beleuchtungsstärke
in der Fensterebene von Wohnungen bzw. bei Balkonen oder Terrassen, den Begrenzungsflächen für die Wohnnutzung, hervorgerufen von Beleuchtungsanlagen; ausgenommen öffentliche Straßenbeleuchtungsanlagen.
| Immissionsort (Einwirkungsort) Gebietsart nach BauNVO)1 | Beleuchtungsstärke F in lx |
|
| 6 Uhr bis 22 Uhr | 22 Uhr bis 6 Uhr | |
| 1 Kurgebiete, Krankenhäuser, Pflegeanstalten2 | 1 | 1 |
| 2 reine Wohngebiete ( § 3) allgemeine Wohngebiete ( § 4) besondere Wohngebiete ( § 4a) Kleinsiedlungsgebiete ( § 2) Erholungsgebiete ( § 10) |
3 | 1 |
| 3 Dorfgebiete ( § 5) Mischgebiete ( § 7) |
5 | 1 |
| 4 Kerngebiete ( § 7)3 Gewerbegebiete ( § 8) Industriegebiete ( § 9) |
15 | 5 |
| 1) Baunutzungsverordnung 1990 - BauNVO 1990 - Fassung vom 23.01.1990 (BGBl. I S. 132)
2) Wird die Beleuchtungsanlage regelmäßig weniger als eine Stunde pro Tag eingeschaltet, gelten auch für die in Zeile 1 genannten Gebiete die Werte der Zeile 2. 3) Kerngebiete können in Einzelfällen bei geringer Umgebungsbeleuchtung |
||
Tabelle 2: Proportionalitätsfaktor k zur Festlegung der maximal zulässigen mittleren Leuchtdichte Lmax technischer Lichtquellen während der Dunkelstunden
| Immissionsort (Einwirkungsort) (Gebietsart nach BauNVO)1 | Proportionalitätsfaktor k | ||
| 22 Uhr bis 22 Uhr | 22 Uhr bis 22 Uhr | Uhr bis 6 Uhr | |
| 1 Kurgebiete, Krankenhäuser, Pflegeanstalten2 | 32 | 32 | 32 |
| 2 reine Wohngebiete ( § 3) allgemeine Wohngebiete ( § 4) besondere Wohngebiete ( § 4a) Kleinsiedlungsgebiete ( § 2) Erholungsgebiete ( § 10) |
96 | 84 | 32 |
| 3 Dorfgebiete ( § 5) Mischgebiete ( § 6) |
160 | 180 | 32 |
| 4 Kerngebiete ( § 7)3 Gewerbegebiete 8) Industriegebiete ( § 9) |
- | - | 160 |
| 1) Baunutzungsverordnung 1990 - BauNVO 1990 - Fassung vom 23.01.1990 (BGBl. I S. 132)
2) Wird die Beleuchtungsanlage regelmäßig weniger als eine Stunde pro Tag eingeschaltet, gelten auch für die In Zeile 1 genannten Gebiete die Werte der Zeile 2. 3) Kerngebiete können in Einzelfällen bei geringer Umgebungsbeleuchtung (Lu,mess< 0,1 cd/m2) auch Zeile 3 zugeordnet werden. |
|||
Abb. 1: Raumwinkelbestimmung durch Winkelmessungen mit Theodolit; links - bei horizontalem Strahler; rechts - bei "verdrehtem" Strahler
Abb. 2: Nicht empfehlenswerte und empfehlenswerte Variante von Leuchten

![]() |
ENDE | ![]() |
(Stand: 06.07.2018)
Alle vollständigen Texte in der aktuellen Fassung im Jahresabonnement
Nutzungsgebühr: ab 105.- € netto
(derzeit ca. 7200 Titel s.Übersicht - keine Unterteilung in Fachbereiche)
Die Zugangskennung wird kurzfristig übermittelt
? Fragen ?
Abonnentenzugang/Volltextversion