![]() |
zurück | ![]() |
| Prüfprogramm der Eignungsprüfung für Federhänger und Federstützen (Experimentelle Prüfungen) |
Anhang B |
B 1 Geltungsbereich
Dieser Anhang gilt für das Prüfprogramm der experimentellen Prüfungen, die im Rahmen der Eignungsprüfung für Federhänger und Federstützen durchzuführen sind.
B 2 Begriffe und Erläuterungen
Die für die Funktion eines Federhängers oder einer Federstütze wesentlichen Erläuterungen sind anhand der in den Bildern B 2-1 und B 2-2 dargestellten Kraft-Weg-Kennlinien aufgezeigt.
B 3 Prüfprogramm
B 3.1 Prüfdurchführung
(1) Es sind je Typ und Größe zwei Federhänger oder zwei Federstützen gemäß Prüfumfang nach Tabelle B 3-1 zu untersuchen.
(2) Federhänger oder Federstützen mit vergleichbaren Merkmalen dürfen zu einer Größe zusammengefasst werden.
(3) Die vorgesehene Einbaulage der Standardhalterung ist bei der Prüfanordnung zu berücksichtigen.
Bild B 2-1: Kraft-Weg-Kennlinie für Federhänger und Federstützen
| FN- Fmin | ||
| F = Fmin+ | ⋅s | |
| SN |
Fist,o: Istkraft bei Belastung
Fist,u: Istkraft bei Entlastung

Bild B 2-2: Einstellbereich für Federhänger und Federstützen

B 3.2 Prüfumfang
B 3.2.1 Quasistatische Prüfungen
(1) An beiden Federhängern oder an beiden Federstützen sind quasistatische Prüfungen durchzuführen.
(2) Bei den Prüfungen mit Schrägzug oder Schrägdruck sind die Gehäuse der Federhänger oder der Federstützen zu fixieren.
B 3.2.2 Schwingungsprüfung
(1) An einem Federhänger oder an einer Federstütze ist eine Schwingungsprüfung durchzuführen.
(2) In Mittelstellung ist der Federhänger oder die Federstütze weggeregelt bei folgenden Wegamplituden und folgenden Richtwerten für die Frequenz in nachstehender Reihenfolge zu belasten:
1,0 ⋅103 Schwingspiele bei ± 20 mm und 1 Hz2,0 ⋅ 10 4 Schwingspiele bei ± 5 mm und 5 Hz
1,8 ⋅10 6 Schwingspiele bei ± 0,5 mm und 15 Hz
2,0 ⋅10 4 Schwingspiele bei ± 5 mm und 5 Hz
1,0 ⋅10 3 Schwingspiele bei ± 20 mm und 1 Hz.
(3) Ist der Nennweg SNkleiner als 40 mm, so sind für 103 Schwingspiele die Versuche bei ± 0,5 ⋅ sNdurchzuführen.
(4) Nach der Schwingungsprüfung sind die quasistatischen Prüfungen mit Ausnahme des Schrägzuges bei Federhängern oder des Schrägdruckes bei Federstützen zu wiederholen.
B 3.2.3 Traglastprüfung
(1) Ein Federhänger oder eine Federstütze müssen zur Bestimmung der Tragsicherheit einer Traglastprüfung unterzogen werden. Anschließend ist der Federhänger oder die Federstütze zu zerlegen und visuell auf eventuelle Schwachstellen zu untersuchen.
(2) Die Traglastprüfung darf bei 5facher Nennlast FNabgebrochen werden.
B 4 Beurteilung der Prüfergebnisse
B 4.1 Quasistatische Prüfungen
(1) Federhänger müssen bei senkrechtem Zug und Federstützen bei senkrechtem Druck ohne bleibende Verformungen 2,5 ⋅FN ertragen (siehe Tabelle 5.3-1).
(2) Federhänger oder Federstützen müssen die im Folgenden aufgeführten Werte über dem Nennweg sNeinhalten:
![]() |
≤ 0,05 | (B 4-1) |
![]() |
≤ 0,05 | (B 4-2) |
![]() |
≤ 0,06 | (B 4-3) |
![]() |
≤ 0,06 | (B 4-4) |
B 4.2 Schwingungsprüfung
(1) Die Schwingungsprüfung gilt als bestanden, wenn die anschließend durchgeführten quasistatischen Prüfungen die Anforderungen des Abschnittes B 4.1 erfüllen.
(2) Verschleißerscheinungen, die keinen Einfluss auf die Funktionsfähigkeit haben, sind zulässig.
B 4.3 Traglastprüfung
Die nach Tabelle 5.3-1 zu ermittelnde zulässige Last muss größer als oder gleich der Nennlast FN sein.
B 5 Dokumentation
Alle Prüfungen sind in Prüfprotokollen aufzunehmen. Diese sind Bestandteil der Dokumentation.
Tabelle B 3-1: Prüfumfang für Federhänger und Federstützen
| Prüfungen | Anzahl der Versuche |
Federhänger Nr. 1 Federstütze Nr. 1 |
Federhänger Nr. 2 Federstütze Nr. 2 |
|
| Quasistatische Prüfungen | ||||
| a) | Belastung 2,5 ⋅ FN (blockiert) | 1 | X | X |
| b) | senkrechter Zug bei Federhänger und senkrechter Druck bei Federstützen bei v ≤ 1 mm/s | 3 | X | X |
| c) | 4° Schrägzug bei Federhängern und 4° Schrägdruck bei Federstützen 1) bei v ≤ 1 mm/s | 3 | X | X |
| d) | Überprüfung der Wegskala | - | X | X |
| Schwingungsprüfung | ||||
| a) | Schwingung | - | X | - |
| b) | Belastung 2,5 ⋅FN | 1 | X | - |
| c) | senkrechter Zug bei Federhängern und senkrechter Druck bei Federstützen bei v ≤ 1 mm/s | 3 | X | - |
| d) | Überprüfung der Wegskala | - | X | - |
| e) | visuelle Prüfung auf Verschleiß | - | X | - |
| f) | Oberflächenrissprüfung | - | X | - |
| Traglastprüfung | ||||
| a) | senkrechter Zug bei Federhängern und senkrechter Druck bei Federstützen | 1 | - | X |
| b) | visuelle Prüfung | - | - | X |
| 1) Es ist auch zulässig, gleichzeitig zur Kraft FN eine seitliche Kraft von 0,07 ⋅FN einzuleiten | ||||
| Prüfprogramm der Eignungsprüfung für Konstanthänger und Konstantstützen (Experimentelle Prüfungen) |
Anhang C |
C 1 Geltungsbereich
Dieser Anhang gilt für das Prüfprogramm der experimentellen Prüfungen, die im Rahmen der Eignungsprüfung für Konstanthänger und Konstantstützen durchzuführen sind.
C 2 Begriffe und Erläuterungen
(1) Die für die Funktion eines Konstanthängers oder einer Konstantstütze wesentlichen Erläuterungen sind anhand der in Bild C 2-1 dargestellten Kraft-Weg-Kennlinien für Konstanthänger und Konstantstützen aufgezeigt.
C 3 Prüfprogramm
C 3.1 Prüfdurchführung
(1) Es sind je Typ und Größe zwei Konstanthänger oder zwei Konstantstützen gemäß Prüfumfang nach Tabelle C 3-1 zu untersuchen.
(2) Die vorgesehene Einbaulage der Standardhalterung ist bei der Prüfanordnung zu berücksichtigen.
C 3.2 Prüfumfang
C 3.2.1 Quasistatische Prüfungen
(1) An beiden Konstanthängern oder an beiden Konstantstützen sind quasistatische Prüfungen durchzuführen.
(2) Bei den Prüfungen mit Schrägzug oder Schrägdruck ist das Gehäuse der Konstanthänger oder der- Konstantstützen zu fixieren. Dieser Versuch ist nur dann durchzuführen, wenn das Gehäuse im Anwendungsfall starr an die Struktur angeschlossen wird.
Bild C 2-1: Kraft-Weg-Kennlinie für Konstanthänger und Konstantstützen
Bild C 2-2: Verstellbereich Konstanthänger
C 3.2.2 Schwingungsprüfung
(1) An einem Konstanthänger oder an einer Konstantstütze sind vor der Schwingungsprüfung bei der Einstellung FN oder (Fs max + Fs min)/2 drei Kraft-Weg-Kennlinien nacheinander aufzunehmen.
(2) Im Anschluss daran ist der Konstanthänger oder die Konstantstütze in Mittelstellung weggeregelt bei folgenden Wegamplituden mit folgenden Richtwerten für die Frequenz in nachstehender Reihenfolge zu belasten:
2,0 ⋅104 Schwingspiele bei ± 5 mm und 5 Hz1,8 ⋅106 Schwingspiele bei ± 0,5 mm und 15 Hz
2,0 ⋅104 Schwingspiele bei ± 5 mm und 5 Hz
1,0 ⋅104 Schwingspiele bei ± 0,4 sNund 1 Hz.
(3) Nach der Schwingungsprüfung sind die quasistatischen Prüfungen a) und b) der Tabelle C 3-1 zu wiederholen.
(4) Außerdem ist zu überprüfen, ob mindestens 15 % Lastreserven (FRin Bild C 2-2) unter Berücksichtigung der zulässigen Lastabweichungen einstellbar sind, ohne dass dabei die Wegreserven eingeschränkt werden.
(5) Abschließend ist der Konstanthänger oder die Konstantstütze zu zerlegen, auf Verschleiß und auf Anrisse mittels Oberflächenrissprüfung zu untersuchen.
C 3.2.3 Temperaturprüfung
Es ist bei einem auf FN eingestellten Konstanthänger oder einer auf diesen Wert ebenfalls eingestellten Konstantstütze nach 48stündiger Beaufschlagung mit 80 °C und nachfolgender Abkühlung auf Raumtemperatur eine Kraft-Weg-Kennlinie zu ermitteln.
C 3.2.4 Traglastprüfung
(1) Ein Konstanthänger oder eine Konstantstütze müssen einer Traglastprüfung unterzogen werden. Anschließend ist der Konstanthänger oder die Konstantstütze zu zerlegen und visuell auf eventuelle Schwachstellen zu untersuchen.
(2) Die Traglastprüfung darf bei 5facher Nennlast FN abgebrochen werden.
C 4 Beurteilung der Prüfergebnisse
C 4.1 Quasistatische Prüfungen
(1) Konstanthänger müssen bei senkrechtem Zug und Konstantstützen bei senkrechtem Druck ohne bleibende Verformung 2,5 ⋅FN ertragen.
(2) Konstanthänger müssen die folgenden aufgeführten Werte über den Nennweg sN einhalten:
![]() |
≤ 0,05 | (C 4-1) |
![]() |
≤ 0,05 | (C 4-2) |
![]() |
≤ 0,06 | (C 4-3) |
![]() |
≤ 0,06 | (C 4-4) |
![]() |
≤ 0,02 | (C 4-5) |
(3) Konstanthänger müssen auch bei den Einstellungen FN und Fminund senkrechtem Zug die oben genannten Toleranzen einhalten. Dies gilt auch für Konstantstützen bei senkrechtem Druck.
C 4.2 Schwingungsprüfung
(1) Die Schwingungsprüfung gilt als bestanden, wenn die anschließend durchgeführten quasistatischen Prüfungen die Anforderungen des Abschnitts C 4.1 erfüllen.
(2) Verschleißerscheinungen, die keinen Einfluss auf die Funktionsfähigkeit haben, sind zulässig.
C 4.3 Temperaturprüfung
Die Temperaturprüfung gilt als bestanden, wenn die Kraft-Weg-Kennlinien innerhalb der Toleranzbereiche der Gleichungen C 4-1, C 4-2 und C 4-5 liegen.
C 4.4 Traglastprüfung
Die nach Tabelle 5.3-1 zu ermittelnde zulässige Last muss größer als oder gleich der Nennlast FN sein.
C 5 Dokumentation
Alle Prüfungen sind in Prüfprotokollen aufzunehmen. Diese sind Bestandteil der Dokumentation.
Tabelle C 3-1: Prüfumfang für Konstanthänger und Konstantstützen
| Prüfungen | Anzahl der Versuche |
Konstanthänger Nr. 1 Konstantstütze Nr. 1 |
Konstanthänger Nr. 2 Konstantstütze Nr. 2 |
|||
| Quasistatische Prüfungen | ||||||
| a) | Belastung 2,5 ⋅FN (blockiert) | 1 | X | X | ||
| b) | senkrechter Zug bei Konstanthänger und senkrechter Druck bei Konstantstützen bei v ≤ 1 mm/s | 3 | X | X | ||
| c) | 4° Schrägzug bei Konstanthängern und 4° Schrägdruck bei Konstantstützen1 bei v ≤ 1 mm/s | 3 | X | X | ||
| d) | senkrechter Zug bei Konstanthänger und senkrechter Druck bei Konstantstützen bei Fmin | 3 | X | X | ||
| e) | senkrechter Zug bei Konstanthänger und senkrechter Druck bei Konstantstützen bei FN | 3 | X | X | ||
| f) | Überprüfung der Lastverstellangaben | 1 | X | X | ||
| Schwingungsprüfungen | ||||||
| a) | senkrechter Zug bei Konstanthängern und senkrechter Druck bei Konstantstützen bei v ≤ 1 mm/s | 3 | X | - | ||
| b) | Schwingung | - | X | - | ||
| c) | Belastung 2,5 ⋅FN (Endausschlag) | 1 | X | - | ||
| d) | senkrechter Zug bei Konstanthängern und senkrechter Druck bei Konstantstützen bei v ≤ 1 mm/s | 3 | X | - | ||
| e) | visuelle Prüfung auf Verschleiß | - | X | - | ||
| f) | Oberflächenrissprüfung | - | X | - | ||
| Temperaturprüfung | ||||||
| a) | senkrechter Zug bei Konstanthängern und senkrechter Druck bei Konstantstützen bei v ≤ 1 mm/ | 3 | - | X | ||
| b) | Temperaturbelastung (48 h, 80 °C) | 1 | - | X | ||
| c) | senkrechter Zug bei Konstanthängern und senkrechter Druck bei Konstantstützen bei v ≤ 1 mm/s | 3 | - | X | ||
| Traglastprüfung | ||||||
| a) | senkrechter Zug bei Konstanthängern und senkrechter Druck bei Konstantstützen | 1 | - | X | ||
| b) | visuelle Prüfung | 1 | - | X | ||
| 1) Es ist auch zulässig, gleichzeitig zur Kraft FN eine seitliche Kraft von 0,07 ⋅FN einzuleiten. | ||||||
| Prüfprogramm der Eignungsprüfung für mechanische und hydraulische Stoßbremsen (Experimentelle Prüfungen) |
Anhang D |
D 1 Geltungsbereich
Dieser Anhang gilt für das Prüfprogramm der experimentellen Prüfungen, die im Rahmen der Eignungsprüfung für mechanische und hydraulische Stoßbremsen, die in Frequenzbereichen von 1 Hz bis 35 Hz eingesetzt werden, durchzuführen sind.
Hinweis:
(1) Zur Stoßbremse selbst gehören auch deren Lagerböcke und Bolzen.
(2) Dieser Anhang deckt Beanspruchungen aus Betriebsschwingungen nicht ab.
D 2 Begriffe und Erläuterungen
Die für die Funktion einer Stoßbremse wesentlichen Erläuterungen sind in Bild D 2-1 aufgezeigt.
Bild D 2-1: Bewegungsmöglichkeiten der Stoßbremse

ss: Sollweg
sR: Reserveweg
sN: max. möglicher Weg
D 3 Prüfprogramm
D 3.1 Prüfdurchführung
(1) Es sind je Typ und Größe drei Stoßbremsen gemäß Prüfumfang nach Tabelle D 3-1 zu untersuchen.
(2) Stoßbremsen sind in horizontaler Lage in Mittelstellung zu prüfen.
D 3.2 Prüfumfang
D 3.2.1 Nachweis der Alterungsbeständigkeit von nichtmetallischen Werkstoffen
(1) Werden in Stoßbremsen Bauteile aus nichtmetallischen Werkstoffen eingesetzt, so sind diese entsprechend ihrer Einsatzdauer und ihren Einsatzbedingungen in Bezug auf Strahlen- und Temperaturbelastung künstlich zu altern. Die Prüfung soll Aufschluss darüber geben welche Einsatzzeit, z.B. für die Dichtungen (mindestens 8 Jahre), vorgegeben werden kann, um eine einwandfreie Funktion der Stoßbremse zu gewährleisten.
(2) Das Programm zum Nachweis der Alterungsbeständigkeit ist werkstoffbezogen festzulegen. Die Funktionsprüfungen und die Dauerbelastungsprüfung sind an einer Stoßbremse je Typ und Größe durchzuführen.
(3) Die Alterungsbeständigkeit ist durch die im Folgenden aufgeführten Prüfungen nachzuweisen:
D 3.2.2 Maßkontrolle
Es ist eine Maßkontrolle anhand der Zeichnung durchzuführen. Zusätzlich sind der Nennweg sN und die Bewegungsmöglichkeit rechtwinklig zur Anschlussbolzenachse zu messen.
D 3.2.3 Funktionsprüfung
D 3.2.3.1 Kräfte und Ansprechverhalten
Es sind bei Raumtemperatur zu messen:
D 3.2.3.2 Wechselbelastungen
(1) Die dynamische Funktion der Stoßbremse ist ausgehend von der Mittelstellung unter schwingender Belastung zu überprüfen. Es sind die Schubstangenwege saund sbzu messen (Bild D 3-1).
(2) Diese Prüfungen sind bei den Frequenzen (jeweils in Hz) von 1, 2, 5, 10, 15, 20, 25, 30 und 35 durchzuführen. Die Belastungsdauer bei jeder Frequenz soll mindestens 10 s betragen.
(3) Kraft und Weg sind sowohl in Zeitabhängigkeit als auch in Parameterdarstellungen (Phasendiagramm) aufzuzeichnen (siehe Bilder D 3-1 und D 3-2).
(4) Hydraulische Stoßbremsen sind während der Versuche im Hinblick auf Ölverluste zu beobachten. Es dürfen keine Öltropfen oder Ölfilme entstehen. Funktionsprüfungen sind auch bei einer Füllmenge von 90 % Öl durchzuführen, sofern bei diesem Füllstand die Funktion noch sicherzustellen ist.
Tabelle D 3-1: Prüfumfang für hydraulische und mechanische Stoßbremsen
| Prüfung | Hydraulische Stoßbremsen Nr. | Mechanische Stoßbremsen Nr. | ||||
| 1 | 2 | 3 | 1 | 2 | 3 | |
| Maßkontrolle | X | X | X | X | X | X |
| Überprüfung der Kennwerte des Hydrauliköls | X | - | - | - | - | - |
| Funktionsprüfung bei RT | X | X | X | X | X | X |
| Funktionsprüfung bei 90% Ölfüllung, falls erforderlich | X | - | - | - | - | - |
| Schwingungsprüfung bei 80 °C | - | X | - | - | X | - |
| Schwingungsprüfung bei 150 °C | - | - | X | - | - | X |
| Funktionsprüfung bei RT | - | X | X | - | X | X |
| Oberflächenrissprüfung | - | X | X | - | X | X |
| Überlastprüfung bei 1,7 ⋅ FN | - | X | - | - | X | - |
| Traglastprüfung auf Zug | - | - | X | - | - | X |
| Traglastprüfung auf Druck | X1 | - | - | - | X1 | - |
| Visuelle Prüfung der Einzelteile | X | X | X | X | X | X |
| Überprüfung der Kennwerte des Hydrauliköls (Öl aus der Stoßbremse) |
- | X | X | - | - | - |
| Alterungsprogramm (hierzu kann die Stoßbremse 1 verwendet werden) |
X | - | - | X | - | - |
| 1) Darf durch rechnerischen Nachweis ersetzt werden. | ||||||
Bild D 3-1: Kraft-Weg-Diagramm
Bild D 3-2: Zeitabhängige Darstellung
D 3.2.4 Schwingungsprüfung
(1) Je Typ und Größe ist eine Stoßbremse bei 80 °C und bei 150 °C mit folgenden Lastspielen und einer Frequenz von etwa 10 Hz zu belasten:
(2) Anschließend ist die Funktionsprüfung zu wiederholen und zu beurteilen.
(3) An Lauf- und Gleitflächen, an lasttragenden Schweißnähten sowie an Gelenkteilen sind Oberflächenrissprüfungen und, falls erforderlich, Maßprüfungen durchzuführen.
(4) Vor und nach den Schwingungsprüfungen sind die Kennwerte des Hydrauliköls auf Übereinstimmung mit den Herstellerangaben zu überprüfen.
D 3.2.5 Überlastprüfung
(1) Eine bei 80 °C bereits geprüfte Stoßbremse ist fünfzig Mal mit der 1,7fachen Last FN bei einer Frequenz größer als oder gleich 3 Hz zu belasten.
(2) Anschließend ist diese Stoßbremse zu zerlegen und auf Anrisse und bleibende Verformungen zu untersuchen.
D 3.2.6 Traglastprüfung
(1) Es ist je eine Traglastprüfung unter Zug- und Druckbeanspruchung durchzuführen. Bei 5facher Nennlast FN darf diese Prüfung abgebrochen werden.
(2) Anschließend ist die Stoßbremse zu zerlegen und visuell auf eventuelle Schwachstellen zu untersuchen.
(3) Eine Traglastprüfung unter Druckbeanspruchung darf durch einen rechnerischen Nachweis ersetzt werden. Dies gilt insbesondere für Stoßbremsen mit Verlängerung.
D 4 Beurteilung der Prüfergebnisse
D 4.1 Nachweis der Alterungsbeständigkeit
Die Alterungsbeständigkeit ist erfüllt, wenn die Funktion der Stoßbremse nach den Schwingungsprüfungen erhalten geblieben ist.
D 4.2 Maßkontrolle
Die Maßangaben des Herstellers sowie die Anforderungen nach Abschnitt 4.3.5 müssen eingehalten sein.
D 4.3 Funktionsprüfung
D 4.3.1 Reibungs- und Anfahrwiderstand
(1) Der Reibungswiderstand muss kleiner sein als das Maximum aus 0,02 ⋅FN und 200 N (siehe Bild D 4-1).
(2) Der Anfahrwiderstand muss kleiner sein als das Maximum aus 0,02 ⋅FN und 300 N (siehe Bild D 4-1).
D 4.3.2 Ansprechbeschleunigung
Die Ansprechbeschleunigung muss für mechanische Stoßbremsen bei gleichförmig gesteigerter Beschleunigung zwischen 0,1 m/s2 und 0,22 m/s2 bei Raumtemperatur liegen.
D 4.3.3 Ansprechgeschwindigkeit
Die Ansprechgeschwindigkeit muss für hydraulische Stoßbremsen bei gleichförmig gesteigerter Geschwindigkeit zwischen 3 mm/s und 6 mm/s bei Raumtemperatur liegen.
D 4.3.4 Nachlaufgeschwindigkeit
(1) Die Nachlaufgeschwindigkeit nach Ansprechen der hydraulischen Stoßbremse bei der Nennlast FN bei unverändert gleichförmiger Bewegung darf zwischen 0,2 mm/s und 2 mm/s bei Raumtemperatur liegen.
(2) Bei mechanischen Stoßbremsen, die bei Ansprechen schließen und nachführend öffnen, darf die Nachlaufgeschwindigkeit kurzfristig Null sein.
D 4.3.5 Schubstangenweg
Hinweis:
Der Schubstangenweg setzt sich additiv zusammen aus:
(1) Der Schubstangenweg sb darf bei Wechsel der Lastrichtung bis zur Last FN kleiner als oder gleich 750 kN die Werte nach Tabelle D 4-1 nicht überschreiten (siehe Bild D 3-1):
Tabelle D 4-1: Schubstangenweg in Abhängigkeit von Temperatur und Frequenz
| Temperatur | Frequenz | |
| 1 Hz bis 3 Hz | > 3 Hz | |
| Raumtemperatur | ± 0,025 ⋅sN max. 8 mm |
± 0,02 ⋅sN |
| 150 °C | ± 0,04 ⋅sN max. 12 mm |
± 0,04 ⋅sN |
(2) Der Schubstangenweg sadarf bei Wechsel der Lastrichtung bis zum Beginn des Lastaufbaus den Wert von 0,5 mm nicht unterschreiten (siehe Bild D 3-1).
(3) Bei Stoßbremsen mit FN größer als 750 kN ist eine Abstimmung mit dem Sachverständigen über die zulässigen Werte von saund sberforderlich.
D 4.4 Schwingungsprüfung
Die Schwingungsprüfung gilt als bestanden, wenn in der anschließend durchgeführten Funktionsprüfung die Anforderungen des Abschnitts D 4.3 erfüllt werden.
D 4.5 Überlastprüfung
Nach der Überlastprüfung darf die Stoßbremse keine bleibende Verformung aufweisen. Risse sind nicht zulässig.
D 4.6 Traglastprüfung
Die nach Tabelle 5.3-1 zu ermittelnde zulässige Last muss größer als oder gleich der Nennlast FN sein.
D 5 Dokumentation
Alle Prüfungen sind in Prüfprotokollen aufzunehmen. Diese sind Bestandteil der Dokumentation.
Bild D 4-1: Reibungswiderstand und Anfahrwiderstand
| Prüfprogramm der Eignungsprüfung für viskoelastische Schwingungsdämpfer (Dämpfer) (Experimentelle Prüfungen) |
Anhang E |
E 1 Geltungsbereich
Dieser Anhang gilt für das Prüfprogramm der experimentellen Prüfungen, die im Rahmen der Eignungsprüfung für viskoelastische Schwingungsdämpfer (Dämpfer), die im Frequenzbereich zwischen 1 Hz und 35 Hz eingesetzt werden, durchzuführen sind.
E 2 Begriffe und Erläuterungen
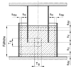
(1) Die für die Funktion eines Dämpfers wesentlichen Erläuterungen sind in Bild E 2-1 aufgezeigt.
Bild E 2-1: Bewegungsmöglichkeiten des Dämpfers
: |
Mittenstellung im Betriebszustand (Warmzustand) |
| sV: | Max. zulässiger Weg vertikal |
| sH: | Max. zulässiger Weg horizontal |
| sRV: | Wegreserve vertikal, mindestens 10 mm |
| sRH: | Wegreserve horizontal, mindestens 10 mm |
| TB: | Toleranzbereich Mittenstellung |
Zulässige Abweichung von der Mittenstellung im Betriebszustand wird im Prüfbescheid der Eignungsprüfung dämperspezifisch festgelegt.
(2) Betriebstemperatur des Dämpfungsmediums
Die Betriebstemperatur des Dämpfungsmediums ist die Temperatur, die sich für den vorgesehenen Lastfall im Dauerbetrieb im Dämpfungsmedium einstellt.
(3) Dynamische Kennwerte
E 3 Prüfprogramm
E 3.1 Prüfdurchführung
(1) Es sind je Typ und Größe zwei Dämpfer gemäß Prüfumfang nach Tabelle E 3-1 zu untersuchen.
(2) Die vorgesehene Einbaulage der Dämpfer ist bei der Prüfanordnung zu berücksichtigen.
(3) Bei der horizontalen Belastungsrichtung soll die Kraft in Höhe der halben Eintauchtiefe des Dämpferstempels angreifen.
E 3.2 Prüfumfang
E 3.2.1 Nachweis der Alterungsbeständigkeit von nichtmetallischen Werkstoffen
Der Prüfumfang zum Nachweis der Alterungsbeständigkeit ist werkstoffbezogen festzulegen. Diese Prüfung soll Aufschluss darüber geben, welche Einsatzzeit für die Manschetten und das Dämpfungsmedium vorgegeben werden kann.
E 3.2.2 Maßkontrolle
Anhand der Zeichnungen ist eine Maßkontrolle durchzuführen. Außerdem sind der Nennweg, die Wegreserve, auch beim Kippen, sowie der Kippwinkel zu ermitteln.
E 3.2.3 Dämpfungsmedium
Die Kennwerte des Dämpfungsmediums, insbesondere die Viskosität, sind in Abhängigkeit von der Temperatur nach den Angaben des Herstellers zu überprüfen.
Tabelle E 3-1: Prüfumfang für Dämpfer
| Prüfung | Dämpfer Nr. 1 | Dämpfer Nr. 2 |
| Nachweis der Alterungsbeständigkeit | X | X |
| Maßkontrolle | X | X |
| Dämpfungsmedium, Kennwerte | X | X |
| Funktionsprüfung | - | - |
| Dynamische Kennwerte | ||
| Dämpfungswiderstand | X | X |
| Ersatzsteifigkeit | X | X |
| Verstellwiderstand | ||
| Medium bei Raumtemperatur | X | - |
| Medium bei Betriebstemperatur | - | X |
| Schwingungsprüfung | X | X |
| Überlastprüfung | X | X |
| visuelle Kontrolle und Oberflächenrissprüfung der Schweißnähte | X | X |
| Traglastprüfung1 | X | X |
| 1) Darf durch Rechnung ersetzt werden | ||
E 3.2.4 Funktionsprüfung
E 3.2.4.1 Dynamische Kennwerte
(1) Die dynamischen Kennwerte entsprechend E 2 (3) sind zu ermitteln.
(2) Folgende Untersuchungen sind für jeweils Raumtemperatur und für die maximal spezifizierte Betriebstemperatur in Abhängigkeit vom eingesetzten Dämpfungsmedium in vertikaler und horizontaler Belastungsrichtung von der Mittellage des Dämpferstempels durchzuführen:
| 1 | 2 | 5 | 10 | 20 | 30 | 35 | Hz |
| 10 | 5 | 3 | 2 | 0,75 | 0,25 | 0,1 | mm |
(3) Zwischen jeweils 2 Versuchen darf bei großen Prüfamplituden eine Pause bis zu 30 min, bei kleinen Prüfamplituden eine solche bis zu 5 min eingelegt werden.
(4) Die Auswertamplituden sind für jede auszuwertende Größe einzeln als Mittelwert aus den Amplituden des Druck- und des Zugbereiches zu bilden.
E 3.2.5 Schwingungsprüfung
Bei einer Frequenz von 15 Hz und einer Amplitude von 0,1 mm sind 2 ⋅10 6 Lastspiele zu fahren.
E 3.2.6 Überlastprüfung
(1) Es ist durch eine Überlastprüfung in einem angegebenen Frequenzbereich durch weg- oder kraftgeregelte 4-cyclebeat-Anregungen (modulierter Sinus nach DIN EN 60068-2-59) oder Dauersinusbelastung jeweils die vom Hersteller angegebene Nennlast nachzuweisen. Dabei sollen unter Berücksichtigung der zulässigen Auslenkung die Prüffrequenz die Prüfamplitude so eingestellt werden, dass mindestens die 1,7fache Nennlast erreicht wird.
(2) Nach dieser Prüfung sollen die Einzelteile einer visuellen Kontrolle einschließlich einer Oberflächenrissprüfung der Schweißnähte unterzogen werden.
E 3.2.7 Traglastprüfung
Die Traglastprüfung darf durch Rechnung ersetzt werden.
E 4 Beurteilung der Prüfergebnisse
E 4.1 Nachweis der Alterungsbeständigkeit
Die Alterungsbeständigkeit ist erfüllt, wenn die Funktion des Dämpfers nach den Prüfungen erhalten geblieben ist.
E 4.2 Maßkontrolle
Die Maßangaben des Herstellers müssen eingehalten sein.
E 4.3 Dämpfungsmedium
Das Dämpfungsmedium muss die spezifizierten Anforderungen des Herstellers erfüllen.
E 4.4 Funktionsprüfung
(1) Der Dämpfungswiderstand und die Ersatzsteifigkeit sind in Abhängigkeit von der Frequenz darzustellen und müssen den vom Hersteller spezifizierten Anforderungen genügen.
(2) Der Verstellwiderstand darf 2 % der Betriebslast nicht überschreiten.
E 4.5 Überlastprüfung
Nach der Überlastprüfung dürfen keine bleibende Verformungen und keine Risse vorhanden sein.
E 5 Dokumentation
Alle Prüfungen sind in Prüfprotokollen aufzunehmen. Diese sind Bestandteil der Dokumentation.
| Prüfprogramm der Eignungsprüfung für Gelenkstreben (Lenker) (Experimentelle Prüfungen) |
Anhang F |
F 1 Geltungsbereich
Dieser Anhang gilt für das Prüfprogramm der experimentellen Prüfungen, die im Rahmen der Eignungsprüfung für Gelenkstreben (Lenker) durchzuführen sind.
F 2 Begriffe und Erläuterungen
(1) Die für eine Gelenkstrebe wesentlichen Erläuterungen sind in Bild F 2-1 aufgezeigt.
Bild F 2-1: Gelenkstrebe
Exzentrizität v0 ≤ max (1 mm; L/1000)

(2) Gelenkstreben bestehen aus einem starren Bauteil als Verbindungsstück und zwei Gelenkköpfen.
(3) Die Exzentrizität aus Vorauslenkung oder Achsversatz darf die in Abschnitt 4.3.5 (9) angegebenen Werte nicht überschreiten.
F 3 Prüfprogramm
F 3.1 Prüfdurchführung
(1) Es sind je Typ und Größe zwei Gelenkstreben gemäß Prüfumfang nach Tabelle F 3-1 zu untersuchen.
Tabelle F 3-1: Prüfumfang für Gelenkstreben
| Prüfung | Gelenkstrebe Nr. 1 |
Gelenkstrebe Nr. 2 |
| Maßkontrolle | X | X |
| Messen der Exzentrizität | - | X |
| Messung des Spiels | X | - |
| Schwingungsprüfung | X | - |
| Oberflächenrissprüfung | X | - |
| Traglastprüfung | ||
| a) Zug (5°-Auslenkung) | X | - |
| b) Druck (größte Länge) | - | X |
(2) Die Gelenkstrebe ist an beiden Enden mit den entsprechenden Anschlussteilen zu verbinden und in dieser Form zu prüfen
(3) Die Gelenkstreben sind sowohl auf Zug wie auch auf Druck zu belasten, wobei die Druckbelastungsversuche bei der größten Länge durchzuführen sind.
(4) Die Prüfungen sind, sofern im Einzelfall nicht anders geregelt, bei Raumtemperatur in horizontaler Einbaulage durchzuführen.
F 3.2 Prüfumfang
F 3.2.1 Maßkontrolle
Anhand von Zeichnungen ist eine Maßkontrolle einschließlich der Messung des Spiels vorzunehmen.
F 3.2.2 Schwingungsprüfung
(1) An einer Gelenkstrebe ist je Typ und Größe ein Schwingungsversuch bei etwa 10 Hz mit folgenden Belastungen und Lastspielen durchzuführen:
1,5 ⋅FN 25 Lastspiele1,0 ⋅FN 3.300 Lastspiele
0,5 ⋅FN 47.000 Lastspiele
0,1 ⋅FN 330.000 Lastspiele
Vorstehendes Lastkollektiv entspricht 1,0 FN bei 10.000 Lastspielen.
(2) Nach der Schwingungsprüfung sind Oberflächenrissprüfungen an den Gelenkköpfen und Schweißnähten durchzuführen und das Spiel der Halterungsanordnung zu messen.
F 3.2.3 Traglastprüfung
(1) Es ist je eine Gelenkstrebe durch Zug- und durch Druckkräfte bis zum Versagen zu belasten. Die Zugbelastung ist an der Gelenkstrebe, die auch dem Schwingungsversuch unterworfen wurde, aufzubringen.
(2) Die Gelenkköpfe sind für die ungünstigste Lastrichtung bei 150 °C zu prüfen.
(3) Für die Prüfung mit Zugbelastungen ist das Auge des Gelenkkopfes um 5° relativ zur Gelenkkopfebene auszulenken, für die Druckbelastungsversuche ist 0° vorzusehen.
F 3.2.4 Zusatzprüfungen
(1) Sofern für die Bemessungsklassen HZ die 1,5fache Nennlast und für HS die 1,7fache Nennlast zugelassen werden sollen, so sind je Größe folgende Zusatzprüfungen durchzuführen:
(2) Die zu prüfenden Gelenkstreben müssen aus den gleichen Chargen hergestellt worden sein wie die Gelenkstreben, an denen die Traglast ermittelt wurde.
(3) Die dynamischen Versuche sind bei einer Frequenz von 6 Hz mit mindestens 7 Lastspielen durchzuführen.
F 4 Beurteilung der Prüfergebnisse
F 4.1 Maßkontrolle
Die Maßangaben des Herstellers sowie die Anforderungen an Spiel und Exzentrizität müssen eingehalten sein.
F 4.2 Schwingungsprüfung
(1) Die Schwingungsprüfung gilt als bestanden, wenn die anschließende Messung des Gesamtspiels keinen größeren Wert als 2 % des Bolzendurchmessers, jedoch nicht mehr als 1,5 mm ergibt.
(2) Als Ergebnis der Oberflächenrissprüfung dürfen keine Risse auftreten.
F 4.3 Traglastprüfung
(1) Die nach Tabelle 5.3-1 zu ermittelnde zulässige Last muss größer als oder gleich der Nennlast FN sein.
(2) Es ist zulässig, die Knicklast PK unter Zuhilfenahme einer Lastverformungsmessung aus der kritischen Knicklast PKrzu bestimmen (Bild F 4-1).
Bild F 4-1: Lastverformungsdiagramm geknickter Stäbe

F 4.4 Zusatzprüfungen
Die Zusatzprüfungen gelten als bestanden, wenn das Spiel der Gesamtanordnung nach den Belastungen nicht mehr als 3 mm beträgt.
F 5 Dokumentation
Alle Prüfungen sind in Prüfprotokollen aufzunehmen. Diese sind Bestandteil der Dokumentation.
| Bestimmungen, auf die in dieser Regel verwiesen wird | Anhang G |
(Bestimmungen gelten nur in der in diesem Anhang angegebenen Fassung. Darin enthaltene Zitate von
Bestimmungen beziehen sich jeweils auf die Fassung, die vorlag, als die verweisende Bestimmung
aufgestellt oder ausgegeben wurde)
| AtG | Gesetz über die friedliche Verwendung der Kernenergie und den Schutz gegen ihre Gefahren (Atomgesetz - AtG) vom 23. Dezember 1959, Neufassung vom 15. Juli 1985 (BGBl. I 1985, Nr. 41), zuletzt geändert am31. Oktober 2006 (BGBl. I 2006, Nr.50) | |
| KTA 1401 | ( 6/96) | Allgemeine Forderungen an die Qualitätssicherung |
| KTA 3205.1 | ( 6/02) | Komponentenstützkonstruktionen mit nichtintegralen Anschlüssen; Teil 1: Komponentenstützkonstruktionen mit nichtintegralen Anschlüssen für Primärkreiskomponenten in Leichtwasserreaktoren |
| KTA 3205.2 | ( 6/90) | Komponentenstützkonstruktionen mit nichtintegralen Anschlüssen; Teil 2: Komponentenstützkonstruktionen mit nichtintegralen Anschlüssen für druck- und aktivitätsführende Komponenten in Systemen außerhalb des Primärkreises |
| DIN 267-13 | ( 8/93) | Mechanische Verbindungselemente - Technische Lieferbedingungen Teil 13: Teile für Schraubenverbindungen mit besonderen mechanischen Eigenschaften zum Einsatz bei Temperaturen von -200 °C bis + 700 °C |
| DIN EN ISO 898-1 | (11/99) | Mechanische Eigenschaften von Verbindungselementen aus Kohlenstoffstahl und legiertem Stahl - Teil 1: Schrauben (ISO 898-1:1999) Deutsche Fassung EN ISO 898-1:1999 |
| DIN EN 10.025-1 | ( 2/05) | Warmgewalzte Erzeugnisse aus Baustählen - Teil 1: Allgemeine technische Lieferbedingungen; Deutsche Fassung EN 10.025-1:2004 |
| DIN EN 10.164 | ( 3/05) | Stahlerzeugnisse mit verbesserten Verformungseigenschaften senkrecht zur Erzeugnisoberfläche; Technische Lieferbedingungen; Deutsche Fassung EN 10.164:2004 |
| DIN EN 10.204 | ( 1/05) | Metallische Erzeugnisse - Arten von Prüfbescheinigungen; Deutsche Fassung EN 10.204:2004 |
| DIN EN 10.269 | (07/06) | Stähle und Nickellegierungen für Befestigungselemente für den Einsatz bei erhöhten und/oder tiefen Temperaturen; Deutsche Fassung EN 10.269:1999 |
| DIN EN 13.906-1 | ( 7/02) | Zylindrische Schraubenfedern aus runden Drähten und Stäben - Berechnung und Konstruktion - Teil 1: Druckfedern; Deutsche Fassung EN 13.906-1:2002 |
| DIN EN 13.906-2 | ( 7/02) | Zylindrische Schraubenfedern aus runden Drähten und Stäben - Berechnung und Konstruktion - Teil 2: Zugfedern; Deutsche Fassung EN 13.906-2:2001 |
| DIN 18.800-1 | (11/90) | Stahlbauten; Bemessung und Konstruktion |
| DIN 18.800-7 | ( 9/02) | Stahlbauten - Teil 7: Ausführung und Herstellerqualifikation |
| DIN EN 20.898-2 | ( 2/94) | Mechanische Eigenschaften von Verbindungselementen; Teil 2: Muttern mit festgelegten Prüfkräften; Regelgewinde (ISO 898-2:1992); Deutsche Fassung EN 20.898-2:1993 |
| DIN EN 60.068-2-59 | ( 3/95) | Umweltprüfungen; Teil 2: Prüfungen; Prüfung Fe: Schwingen, Sinusimpulse (IEC 60.068-2-59: 1990); Deutsche Fassung EN 60.068-2-59: 1993 |
| AD 2000-Merkblatt W 7 | ( 2/05) | Schrauben und Muttern aus ferritischen Stählen |
| VdTÜV MB 1153 | ( 1/06) | Richtlinien für die Eignungsprüfung von Schweißzusätzen |
Abmessungen
Anlagenlieferer 3.2
Antrag, Eignungsprüfung 3.2
Arbeits- und Prüfanweisung 3.3 d)
Aufbewahrungsfrist 13 (3), Tabelle 13-1
Auslegung 4
Auslegungsdatenblatt 3.3 h)
Auslegungstemperatur 1, 4.2
Bauprüfplan 10.3
Bauprüfung 8.3 (1) c), 10.1 (2), 10.3, Tabelle 13-1
Baustelle 10.3
Beanspruchungen 5.2
Belastungen 5.1
Bemessungserdbeben 5.3 (5)
Bemessungsklassen 1 (4), 4.1, 5.3, Tabelle 5.3-1, a 4 (2), F 3.2.4 (1)
Bescheinigung
Bewegungsbereich
Bolzen 4.3.3 (3)
Dämpfer 4.3.6, 5.3 (6)
Dämpfermedium 6 (7), 6 (8)
Dekontamination 4.3.1 (2)
Dokumentation 13
Druckfeder 4.3.4 (3)
Eignung, Verwendungszweck 3.8
Eignungsnachweis 7 (1)
Eignungsprüfung 3, 3.7 (2), 6 (2)
Einrichtungen 7 (5), 7 (6)
Einschraublänge 4.3.1 (6)
Ermittlung Lasten 5.3
Exzentrizität 4.3.5 (9)
Federhänger 1 (3), 4.3.4 (7), 8.2.2, Anhang B Federn 4.3.4 (2), 4.3.4 (3), 8.2.2
Federstütze 1 (3), 4.3.4 (8), 4.3.4 (9), 8.2.2, Anhang B Formelzeichen 2
Funktionsprüfung, wiederkehrende 11.2 (3)
Gebrauchsanweisung 3.3 m)
Gelenkstrebe 3.4 (3), 4.3.5, 5.3 (7), Anhang F
Gleitlager 4.3.1 (10)
Gültigkeitsdauer
Hänger 4.1 (3), 4.3.4, 5.3 (9), 8.2.2
Hersteller 3.2.7, 8.2.1, 8.2.2, 8.2.3, 8.2.4, 8.3, 9, 10.2 (2), 11.2
Herstellung 7 (6)
Hydrauliköl 6 (7), 6 (8), 10.2 (6)
Inbetriebsetzung 10
Kaltumformgrad 4.3.2 (6)
Kehlnähte 4.3.1 (3)
Kennwerte
Kennzeichnung
Konstanthänger 4 1 (3), 4.3.4, 8.2.2
Konstantstütze 4.3.4 (8), 4.3.4 (9)
Konstruktion 4, 4.3.4 (3)
Konstruktive Gestaltung 4.3
Lagesicherung 4.3,7
Langloch 4.3.1 (9)
Last-Weg-Kurve 8.2.2 b)
Lasten 4.1, 5.3, Tabelle 5.3-1
Lastkette 2 (1), 4.1 (4)
Lastverstellungen 10.2 (4), 10.4
Lastwechselversuch 3.4 (3)
Maßkontrolle 8.2.1 Montage 4.3.6 (9), 10
Montage, Unterlagen 10.1, 13 (1)
Oberflächengüte 4.3.1 (2)
Personal 7 (2), 7 (6), 10.2
Prüfbescheinigung, Eignungsprüfung 3.5
Prüfhandbuch 11.2
Prüfplan 3.3 c), 8.1
Prüfprogramm
Prüfungen nach Fertigung 8
Qualitätssicherungssystem 3.3 a), 6 (3)
Qualitätsstelle 6 (4), 8.1
Radien 4.3.2 (6)
Reduktionsfaktor 5.2 (2), Bild 5.2-1
Rohrlager 4.3.2 (9), 4.3.7 (1)
Sachverständiger 3.2, 3.4 (4), 3.7 (1), 3.8, 8.1, 8.2.2 (2), 8.2.2 (3), 8.2.3 (2), 8.2.3 (5), 8.2.4 (2), 11.2 (3)
Schellen 4.3.7
Schlankheitsgrad 4.3.1 (8)
Schrauben 4.3.3 (1), 4.3.3 (2), 6 (5)
Schweißarbeiten 10.2 (2), 10.2 (3)
Schweißpläne 3.3 e)
Schweißverbindungen 4.3.1 (3), 4.3.1 (3)
Spiel 4.3.2 (10), 4.3.3 (3), 4.3.5 (7), 4.3.6 (6)
Standardhalterung
statische Beanspruchung 3.4 (2)
Stoßbremse 3.4 (3), 4.3.5, 5.3, 8.2.3, Anhang D
Strahlenbelastung 4.3.1 (10)
Stückliste 3.3 j)
Temperaturverteilung 4.2 (2), Bild 4-1
Toleranzen 4.3.1 (11)
Verbindungsmittel 1 (4), 4.3.3, 6 (5)
Verwendungszweck, Standardhalterung 3.8 (1)
Wegreserve
Werkstoffe 3.3 b), 6
Werkstoffprüfung 6 (3)
Wiederkehrende Prüfungen 11, 13 (1)
Winkligkeit 4.3.2 (4)
Zeugnisbelegung 6 (3)
Bekanntmachung von sicherheitstechnischen Regeln des Kerntechnischen Ausschusses
Regel KTA 3205.3
Vom 24. Juli 2007
(BAnz. Nr. 163a vom 31.08.2007 S. 1)
Gemäß § 7 Abs. 6 der Bekanntmachung über die Neufassung der Bekanntmachung über die Bildung eines Kerntechnischen Ausschusses vom 20. Juli 1990 (BAnz. S. 3981) gebe ich nachstehend die vom Kerntechnischen Ausschuss am 7. November 2006 beschlossene Regel (Regeländerung)
KTA 3205.3 Komponentenstützkonstruktionen mit nichtintegralen Anschlüssen; Teil 3: Serienmäßige Standardhalterungen
in der Fassung 11/06 bekannt.
![]() |
ENDE | ![]() |
(Stand: 16.05.2019)
Alle vollständigen Texte in der aktuellen Fassung im Jahresabonnement
Nutzungsgebühr: ab 105.- € netto
(derzeit ca. 7200 Titel s.Übersicht - keine Unterteilung in Fachbereiche)
Die Zugangskennung wird kurzfristig übermittelt
? Fragen ?
Abonnentenzugang/Volltextversion