Für einen individuellen Ausdruck passen Sie bitte die
Einstellungen in der Druckvorschau Ihres Browsers an.
Regelwerk

Technische Regeln Druckgase
TRG 602 - Campingflaschen

Ausgabe Januar 1985
(BArbBl. 1/1985 S. 50 aufgehoben)



Nachfolgeregelung: TRBS Technische Regeln für Betriebssicherheit

Vorbemerkung:

Die in dieser TRG festgelegten Anforderungen stimmen mit den Anforderungen der in den Übergangsregeln aufgeführten Ziffern der Technischen Grundsätze (TG) überein.

1 Allgemeines

1.1 Campingflaschen sind Behälter für Propan, Butan und deren Gemische,

  1. deren zulässiges Höchstgewicht der Füllung nicht größer sein darf als 2,5 kg bei Propan und 3 kg bei Butan 1,
  2. deren Versuchsdruck (Prüfdruck) entweder dem für Butan oder dem für Propan festgesetzten Wert entspricht und
  3. die mit einem Rückschlagventil zur Absperrung des Behälters ausgerüstet sind.

1.2 Campingflaschen, die nicht mit einem Sicherheitsventil ausgerüstet sind, dürfen nur im Freien verwendet werden. Campingflaschen, die mit einem Sicherheitsventil ausgerüstet sind, dürfen auch für andere als Campingzwecke, aber nicht in Wohnwagen verwendet werden.

2 Baubestimmungen

2.1 Jede Campingflasche muß einen rundum angeschweißten Fuß haben, dessen äußerer Durchmesser nicht kleiner sein darf als der äußere Durchmesser der Flasche. Abweichend von Satz 1 darf der Fuß einen äußeren Durchmesser haben, der das 0,9fache des äußeren Durchmessers der Flasche nicht unterschreitet, wenn die Höhe des Flaschenkörpers das 1,25fache des äußeren Durchmessers der Flasche nicht überschreitet. Der Fuß muß am oberen Rand abgewinkelt 2 sein und entweder am oberen Rand Aussparungen oder am zylindrischen Teil Belüftungsöffnungen haben. Füße mit Aussparungen am oberen Rand müssen mindestens 3 Stege ausreichender Länge 3 haben. Die Stege müssen jeweils auf ganzer Länge, der obere Rand nicht ausgesparter Füße muß rundum angeschweißt sein.

2.2 Jede Campingflasche darf nur eine Öffnung haben; die Öffnung muß zentrisch im oberen Boden liegen. Zum unmittelbaren Anschluß der Armatur (Rückschlagventil) muß in die Öffnung eine ausreichend bemessene Ventilmuffe eingeschweißt oder eingelötet sein. Das Innengewinde der Ventilmuffe muß als Gegenanschluß zum Rückschlagventil (s. Abschn. 2.3 Abs. 3) ausgeführt sein.

3 Armaturen

3.1 Jede Campingflasche muß im betriebsfertigen Zustand mit einem Rückschlagventil nach DIN 477 Blatt 4 und einem zugehörigen Schraubstöpsel oder einer Schraubkappe ausgerüstet sein.

3.2 Zur betriebsmäßigen Entnahme von Gas dürfen Verbrauchsgeräte nur mit einem Entnahmestutzen nach DIN 477 Blatt 4 an die Campingflasche angeschlossen werden. Die Ausrüstung mit einem Sicherheitsventil ist zulässig.

Rückschlagventile müssen folgende Gewindeanschlüsse haben:

Anschluß zur

Flasche ohne
Sicherheitsventil

Flasche mit Sicherheitsventil

Propan/Butan Butan

Propan/Butan

Verbindung des Ventils mit der Flasche

Außengewinde
M 16 × 1,25
links

Außengewinde
M 22 × 1,25

Außengewinde
M 22 × 1

Gasentnahme

Außengewinde
W 21,80 × 1/14"
links

Innengewinde
M 16 × 1,5

Innengewinde
M 14 x 1,5

3.3 Die Armaturen müssen aus fehlerfreien geeigneten Werkstoffen hergestellt sein. Für Dichtungen dürfen nur Propan-/Butan-beständige Werkstoffe verwendet werden. Federn müssen aus nicht rostendem Stahl hergestellt sein.

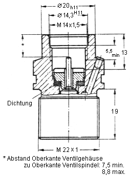
Das Rückschlagventil und der Entnahmestutzen müssen so bemessen sein, daß sie einem Druck von mindestens 45 bar genügen; ihre Abmessungen müssen entsprechen bei Flaschen

  1. ohne Sicherheitsventil: der Norm DIN 477 Blatt 4,
  2. mit Sicherheitsventil: der Abbildung zu Abschnitt 3.

3.4 Das Rückschlagventil muß unter dem Gasüberdruck in der Flasche und durch Federkraft schließen. Die Schließkraft der Feder muß so groß sein, daß der gasdichte Abschluß gegen die Atmosphäre (etwa 1013 mbar) auch bei einem absoluten Druck in der Flasche von etwa 400 mbar gewährleistet ist. Für jede Bauart muß ein Mindestgewicht festgelegt sein. Das festgelegte Mindestgewicht darf nicht unterschritten werden.

3.5 Schraubstöpsel und Schraubkappen müssen

  1. aus Metall 4 hergestellt sein,
  2. das Gewinde des Entnahmeanschlusses vor Beschädigung schützen,
  3. bei Undichtheiten im Sitz des Rückschlagventiles den gasdichten Abschluß gegen die Atmosphäre gewährleisten,
  4. durch eine mit ihnen verbundene Öse o.ä. das Tragen der Flasche ermöglichen; die Vorrichtung zum Tragen darf statt am Schraubstöpsel oder an der Schraubkappe auch mit der Ventilmuffe verbunden sein.

Schraubstöpsel und Schraubkappen dürfen nur während des Füllvorganges und zum Zweck der Gasentnahme entfernt werden.

3.6 Die Verbindung zwischen Rückschlagventil und Entnahmestutzen muß doppelt gedichtet und bei allen betriebsmäßig möglichen Temperaturen und Drücken gasdicht sein. Beim Ein- oder Aufschrauben des Entnahmestutzens muß eine erste gasdichte Verbindung des Stutzens zum Rückschlagventil bereits vor dem Öffnen des Ventiles hergestellt sein; das gleiche gilt sinngemäß für das Lösen der Verbindung.

.

Rückschlagventil
für Campingflaschen mit Sicherheitsventil
Abbildung
zu Abschnitt 3

4 Farbkennzeichnung

4.1 Auf dem Behältermantel müssen wiedergegeben sein:

  1. in halber Höhe der Flasche das der Anlage entsprechende Sicherheitszeichen mit dem Symbol "Flamme",
  2. auf der dem Sicherheitszeichen gegenüberliegenden Seite in einer Schrifthöhe von mindestens 5 mm in Großbuchstaben die Hinweise
    1. bei einer Flasche ohne Sicherheitsventil:
      VERWENDUNG NUR IM FREIEN ZULÄSSIG

      NICHT DER SONNENBESTRAHLUNG AUSSETZEN

    2. bei einer Flasche mit Sicherheitsventil:
      VERWENDUNG IN WOHNWAGEN UNZULÄSSIG

      NICHT DER SONNENBESTRAHLUNG AUSSETZEN

Die zusätzliche Beschriftung mit ähnlichen Hinweisen in anderen Sprachen ist zulässig.

Der Untergrund des Sicherheitszeichens und des umrandeten Schriftfeldes müssen in der Farbe Gelb (Farbton 1004 nach dem Farbtonregister RAL 840 R), das Sicherheitszeichen, die Schrift und die Umrandungen müssen in der Farbe Schwarz (RAL-Farbton 9005) ausgeführt sein.

4.2 Ober- und unterhalb der in Nummer 4.1 genannten Hinweise und Zeichen dürfen andere Hinweise und Zeichen nicht angebracht sein.

4.3 Die nach Nummer 4.1 vorgeschriebenen Zeichen und Texthinweise können durch Aufschablonieren oder durch Klebefolien aufgebracht werden. Die Zeichen, die Schrift und die Kunststoffe müssen ausreichend widerstandsfähig gegenüber Witterungseinflüssen und Betriebsbeanspruchungen sein.

.

Sicherheitszeichen "Flamme"
für Campingflaschen
Abbildung
zu Nummer 4.1

Außendurchmesser des Behälters

Sicherheitszeichen

Da a b c
< 100 50 3 19
> 100 bis 400 100 6 38

5 Schutzanstrich

Jede Campingflasche muß auf gut vorbereitetem Untergrund einen gegen Korrosion schützenden Außenanstrich haben. Der Farbton des Schutzanstriches ist freigestellt.

6 Füllen

6.1 Jede gefüllte Flasche muß im Anschluß an die Kontrollwägung

  1. der Funktionsprüfung des Rückschlagventiles,
  2. der Dichtheitsprüfung in einem Wasserbad (mindestens 10 °C)
    1. des Rückschlagventiles vor und nach der Funktionsprüfung,
    2. der Ventileindichtung,
    3. des Behälters, insbesondere der Schweißnähte,

unterzogen werden. Ist eine Flasche mit einem Sicherheitsventil ausgerüstet, so erstreckt sich die Dichtheitsprüfung auch auf das Sicherheitsventil.

Bei der Funktionsprüfung ist das Rückschlagventil mit einer geeigneten Vorrichtung 3- bis 4mal zu öffnen.

Die Dichtheitsprüfungen sind auszuführen, wenn das eingefüllte Gas eine Temperatur von mindestens 10 °C angenommen hat.

6.2 Ist die Flasche vor dem Füllen nicht evakuiert worden, so muß vor der Funktionsprüfung die Flasche während einer Zeit von 3 bis 4 sec bei voll geöffnetem Ventil entlüftet werden. Bei fabrikneuen Flaschen, die erstmals gefüllt werden, und bei Flaschen, die erstmals nach einer Reparatur gefüllt werden, muß die Entlüftungszeit 10 bis 15 sec betragen.

7 Gebrauchsanweisung

7.1 Jeder gefüllten Campingflasche ist bei der Abgabe an einen Betreiber eine Gebrauchsanweisung beizugeben.

Gebrauchsanweisungen für Flaschen ohne Sicherheitsventil müssen deutlich folgende Hinweise enthalten:

VERWENDUNG NUR IM FREIEN ZULÄSSIG

NICHT DER SONNENBESTRAHLUNG ODER ANDERER STARKER ERWÄRMUNG AUSSETZEN

BEI BEFÖRDERUNG UND LAGERUNG SCHRAUBSTÖPSEL (bzw. SCHRAUBKAPPE) AUFSETZEN

ANSCHLUSS DER VERBRAUCHSGERÄTE NUR MIT ZU GELASSENEM ENTNAHMESTUTZEN ERLAUBT

BEI DER ENTNAHME DEN ENTNAHMESTUTZEN DICHT ANZIEHEN

NICHT IN KELLERRÄUMEN o. ä. LAGERN

7.2 Auf Gebrauchsanweisungen für Flaschen mit Sicherheitsventil findet Absatz 2 mit der Maßgabe Anwendung, daß der erste Hinweis lauten muß:

VERWENDUNG IN WOHNWAGEN UNZULÄSSIG

Übergangsregeln

Mit der Anwendung der TRG 602 werden folgende Ziffern der Technischen Grundsätze (TG) gegenstandslos:
Ziffer 62
Ziffer 63 Abs. 2 bis 5
Ziffer 64 Abs. 1 bis 7
Ziffer 66
Ziffer 67
Ziffer 68
Ziffer 70

   

  

1) Höchstzulässiger Nenninhalt einer Flasche: etwa 6,2 l

2) Vgl. als Beispiel DIN 4669 Blatt 2 August 1960.

3) Bei 3 Stegen wird als ausreichende Länge eines Steges eine solche von Da/3 angesehen. Bei 6 Stegen ist die Stegbreite nach DIN 4669 zu wählen.

4) Die Verwendung von Kunststoff als Werkstoff für Schraubstöpsel oder -kappen kann von der nach Landesrecht zuständigen Behörde als Ausnahme genehmigt werden, wenn der Nachweis der Eignung des Kunststoffes und der aus ihm gefertigten Teile durch das Gutachten der Bundesanstalt für Materialprüfung in Berlin erbracht worden ist.

   

   

   

   

   

   

   

umwelt-online - Demo-Version


(Stand: 20.08.2018)

Alle vollständigen Texte in der aktuellen Fassung im Jahresabonnement
Nutzungsgebühr: ab 105.- € netto

(derzeit ca. 7200 Titel s.Übersicht - keine Unterteilung in Fachbereiche)

Preise & Bestellung

Die Zugangskennung wird kurzfristig übermittelt

? Fragen ?
Abonnentenzugang/Volltextversion