umwelt-online: BGV D12 - Schleif- und Bürstwerkzeuge (3)
zurück

Durchführungsanweisungen:

04/02



Zu § 1:

Zugehörige Einrichtungen sind z.B. Abrichtwerkzeuge, Zwischenlagen, Stützteller, Aufnahmevorrichtung für Schleifhülsen und Einrichtungen zum Lagern und Transportieren.

Zu § 2 Abs. 1:

Siehe DIN 8589 Fertigungsverfahren Spanen; ...

Teil 0 ... Einordnung, Unterteilung, Begriffe,
Teil 11 ... Schleifen mit rotierendem Werkzeug; Einordnung, Unterteilung, Begriffe,
Teil 12 ... Bandschleifen; Einordnung, Unterteilung, Begriffe,
Teil 14 ... Honen; Einordnung, Unterteilung, Begriffe,
Teil 15 ... Läppen; Einordnung, Unterteilung, Begriffe.

Polieren ist ein Fertigungsverfahren, durch das im wesentlichen ohne Spanabnahme Werkstoffteilchen der Oberfläche verschoben werden und die Oberfläche glättend eingeebnet wird.

Zu § 2 Abs. 1 Nr. 1:

Schleifkörper aus gebundenem Schleifmittel sind z.B. Schleifscheiben und Trennschleifscheiben, Schleifkörper auf Tragscheiben, Schleifteller, Schleifsegmente, Schleifstifte, Schleiftöpfe, Schleifkegel, gekröpfte Schleifscheiben, Honsteine, Schleifstäbe, Abziehsteine, Natursteine.

Siehe auch DIN 69111 "Schleifkörper aus gebundenem Schleifmittel; Einteilung, Übersicht" und DIN 69100-1 "Schleifkörper aus gebundenem Schleifmittel; Bezeichnung, Formen, Maßbuchstaben, Werkstoffe".

Zu § 2 Abs. 1 Nr. 2:

Die Schleifkörper können sowohl aus Vollkörpern bestehen, in denen das Schleifmittel eingebunden ist, als auch aus Grundkörpern mit aufgebrachten Schleifmittelbelägen.

Schleifmittelbeläge können z.B. durch Pressen, Kleben, Löten, Schweißen, Sintern oder galvanisches Beschichten aufgebracht sein. Der Grundkörper kann z.B. aus Metall, Keramik oder Kunstharzmassen bestehen.

Siehe auch DIN 69800 - 1 "Schleifkörper mit Schleifbelag aus Diamant oder Bornitrid; Übersicht, Benennung" und DIN 69800-2 "Schleifkörper mit Schleifbelag aus Diamant und Bornitrid; Formschlüssel, Bezeichnung".

Zu § 2 Abs. 1 Nr. 3:

Schleifmittel auf Unterlage sind z.B. Vulkanfiberschleifscheiben, Fächerschleifscheiben, Schleifblätter, Schleifbänder, Schleifhülsen, Lamellenschleifscheiben und -schleifstifte.

Siehe auch DIN 69183 " Lamellenschleistifte" und DIN 69184 "Lamellenschleifscheiben".

Zu § 2 Abs. 1 Nr. 4:

Schleifmittel aus Faservlies mit Schleifmittel sind z.B. Scheiben mit und ohne Vulkanfiberrücken, Stützteller oder Schaft, bei denen das Schleifmittel in ein synthetisches Faservlies eingebunden ist.

Zu § 2 Abs. 1 Nr. 5

Schleifmittelträger sind z.B. Pließt-, Polier- und Läppscheiben. Antriebs- oder Umlenkontrollen von z.B. Bandschleifmaschinen sind keine Schleifmittelträger.

In Schleifpasten sind feinkörnige Schleifmittel, z.B. Korund, Siliciumcarbin, Bornitrid, Diamant pastös gebunden und homogen verteilt.

Zu § 2 Abs. 3:

Siehe auch DIN 8589-11 "Fertigungsverfahren Spanen; Schleifen mit rotierendem Werkzeug; Einordnung, Unterteilung, Begriffe".

Zu § 2 Abs. 4 und 5:

Siehe auch

DIN EN 1083-1 "Kraftbetriebene Bürstwerkzeuge; Teil 1: Definitionen und Nomenklatur",
DIN 8589-8 Fertigungsverfahren Spanen; Bürstspanen; Einordnung, Unterteilung, Begriffe",
DIN 8592
"Fertigungsverfahren Reinigen; Einordnung, Unterteilung, Begriffe",
insbesondere
Abschnitt 3.6.2.2 "Bürsten",
Abschnitt 3.6.2.4 "Reinigungsschleifen".

Zu § 2 Abs. 6 und 7:

Arbeitshöchstgeschwindigkeit vzul und zulässige Drehzahl nzul eines rotierenden oder umlaufenden Schleif- oder Bürstwerkzeuges sind bestimmt durch:

  D × nzul × 3,14  
vzul =
in m/s
  60 × 1000  
   
  vzul× 60 × 1000  
nzul =
in 1/min
  D × 3,14  

In den vorgenannten Gleichungen sind einzusetzen:

vzul in m/s
nzul in 1/min
D (Außendurchmesser des Schleifwerkzeuges) in mm.

Zu § 4 Abs. 1 Satz 1:

Die Kennzeichnung mit der zulässigen Drehzahl nach Anlage 1 schließt bei Schleifstiften und Lamellenschleifstiften Drehzahlangaben in Abhängigkeit von der offenen Schaftlänge und Angaben zur erforderlichen Mindesteinspannlänge des Schaftes ein.

Zu § 4 Abs. 1 Nr. 2:

Eine Bestätigung der Übereinstimmung ist z.B. die Angabe "Entspricht BGV Dl 2". Mit dieser Angabe bestätigt der Hersteller, Lieferer oder Einführer, dass die entsprechend gekennzeichneten Schleifwerkzeuge die Anforderungen der §§ 4, 5 und 6 erfüllen.

Die Forderung noch Bestätigung der Übereinstimmung gilt auch als erfüllt, wenn die Schleifwerkzeuge mit der Angabe "EN 12413" bzw. "EN 13236" gekennzeichnet sind.

Siehe auch

DIN EN 1241 3 "Sicherheitsanforderungen für Schleifkörper aus gebundenem Schleifmittel",
DIN EN 13 236 "Sicherheitsanforderungen für Schleifkörper und sonstige Schleifwerkzeuge mit Diamant oder Bornitrid",

Zu § 4 Abs. 1 Nr. 3

Farbstreifen für Arbeitshöchstgeschwindigkeiten sind:

Arbeitshöchstge-      
schwindigkeit
in m/s
Anzahl und Kennfarbe
50 1 × blau
63 1 × gelb
80 1 × rot
100 1 × grün
125 1 × blau
  1 × gelb
140 1 × blau
  1 × rot
160 1 × blau
  1 × grün
180 1 × gelb
  1 × rot
200 1 × gelb
  1 × grün
225 1 × rot
  1 × grün
250 2 × blau
280 2 × gelb
320 2 × rot
360 2 × grün

Zu § 4 Abs. 1 Satz 3:

Hinsichtlich der Gestaltung und Anbringung der Kenndaten auf Schleifwerkzeugen und Etiketten sowie des Beifügens von Etiketten siehe Anhang 1.

Zu § 4 Abs. 5:

Verwendungseinschränkungen (VE) für Schleifwerkzeuge sind z.B.:

VE 3: nicht zulässig für Nassschleifen,
VE 5: nicht zulässig ohne Absaugung.

Verwendungseinschränkungen (VE) für Schleifwerkzeuge nach § 5 Abs. 2 sind z.B.:

VE 1: nicht zulässig für Freihand- und handgeführtes Schleifen,
VE 2: nicht zulässig für Freihandtrennschleifen,
VE 3: nicht zulässig für Naßschleifen,
VE 4: zulässig nur für geschlossenen Arbeitsbereich,
VE 5: nicht zulässig ohne Absaugung,
VE 6: nicht zulässig für Seitenschleifen,
VE 7: nicht zulässig für Freihandschleifen,
VE 8: nicht zulässig ohne Stützteller,
VE 10: nicht zulässig für Trockenschleifen
VE 11: nicht zulässig für Freihand- und handgeführtes Trennschleifen.

Erläuterungen zu den Verwendungseinschränkungen

VE 1: Diese Schleifkörper dürfen nur auf ortsfesten Schleifmaschinen verwendet werden, auf denen sowohl der Schleifkörper als auch das Werkstück zwangsweise geführt sind.
VE 2: Diese Schleifkörper dürfen nicht auf Pendeltrennschleifmaschinen und Handtrennschleifmaschinen verwendet werden.
VE 3: Diese Schleifwerkzeuge dürfen nur auf ortsfesten Schleifmaschinen für das Trockenschleifen verwendet werden.
VE 4: Diese Schleifkörper dürfen nur auf ortsfesten Schleifmaschinen mit geschlossenem Arbeitsbereich eingesetzt werden. Geschlossene Arbeitsbereiche sind gesicherte Bereiche, die um die Schleifwerkzeuge so gebildet werden, daß in ihnen die Bearbeitungsvorgänge, einschließlich der Zu- und Abführungen von Werkstücken, durchgeführt werden können und Personen vor Gefährdungen, die beim Bruch eines Schleifwerkzeuges entstehen, geschützt werden.
VE 5: Diese Schleifkörper dürfen nur auf ortsfesten Schleif- und Trennschleifmaschinen verwendet werden, die mit Einrichtungen zur Luftreinhaltung ausgerüstet sind.
VE 6: Diese Schleifkörper dürfen nur für das Umfangschleifen (Trennschleifen) und nicht für das Seitenschleifen (Schruppschleifen) verwendet werden.
VE 7: Diese Schleifwerkzeuge dürfen nur auf ortsfesten Schleifmaschinen beim zwangs- oder handgeführten Schleifen verwendet werden.
VE 8: Diese Schleifwerkzeuge dürfen nur mit zusätzlichem, zugehörigem Stützteller verwendet werden.
VE 10: Diese Trennschleifscheiben dürfen nur für das Naßtrennschleifen verwendet werden.
VE 11: Diese Trennschleifscheiben dürfen nur auf ortsfesten Trennschleifmaschinen verwendet werden, auf denen sowohl der Schleifkörper als auch das Werkstück zwangsgeführt werden.

Zu § 4 Abs. 8:

Zu den Angaben ohne sicherheitstechnischen Inhalt zählen nicht Auftrags- oder Fabrikationsnummern.

Zu § 5 Abs. 1:

Der Sicherheitsfaktor gegen Bruch durch Fliehkraft ist definiert als

Vbr2
Sbr =
Vzul2

Vbr = Umfangsgeschwindigkeit beim Bruch (Bruchgeschwindigkeit)

Vzul = Arbeitshöchstgeschwindigkeit (zulässige Umfangsgeschwindigkeit)

Der Nachweis über die Erfüllung der Anforderungen kann durch die Anwendung der jeweiligen Prüfverfahren nach den folgenden BG-Grundsätzen erfolgen:

Zu § 5 Abs. 2:

Der Nachweis über die Erfüllung der Anforderungen kann durch die Anwendung der jeweiligen Prüfverfahren nach den folgenden BG-Grundsätzen erfolgen:

Hinsichtlich der Definition der Sicherheitsfaktoren siehe DUrchführungsanweisungen zu Absatz 1.

Zu § 5 Abs. 2 Nr. 1:

Die Forderung nach ausreichender Seitenbelastbarkeit ist z.B. erfüllt, wenn die Schleifkörper die Mindestwerte nach Tabelle 1 aufweisen.

Tabelle 1: Seiten Belastbarkeit

  Seitenbelastbarkeit
Schleifkörper

 


Arbeitshöchstgeschwindigkeit

 

Vzul
in m/s

Außendurchmesser

 


D
in mm

Einpunktseitenlastversuch Dreipunktseitenlastversuch Schlagversuch
Einpunktseitenlast

FS1
in N

Dreipunktseitenlast

FS3
in N

Arbeitsvermögen

Ap
in Nm

Gekröpfte Schleifscheiben 80 < 125
150
180
230
290
290
290
290
-
-
-
-
-
-
-
-
Gerade und gekröpfte Treenschleifscheiben 80 < 125
150
180
230
40
50
50
50
-
-
-
-
-
1,2
1,5
2,0
80 300
350
400
125
125
125
150
150
150
5,4
5,4
5,4
100 300
350
400
125
125
125
150
150
150
5,4
5,4
5,4

Zu § 5 Abs. 2 Nr. 2:

Die Forderung nach ausreichender Festigkeit gegen Biegebeanspruchung ist z.B. erfüllt, wenn

aufweisen.

Zu § 5 Abs. 2 Nr. 3:

Die Forderung nach ausreichender Festigkeit gegen Abscheren des Schleifbelages ist z.B. erfüllt, wenn die erforderliche Abscherkraft F = 6400 N beträgt."

Zu § 5 Abs. 2 Nr. 4:

Die Forderung nach ausreichendem Widerstand gegen plastische Verformung des Grundkörpers ist z.B. erfüllt, wenn die Durchmesserzunahme des Schleifkörpers - bezogen auf den ursprünglichen Außendurchmesser - nach einer Fliehkraftbeanspruchung bei derjenigen Umfangsgeschwindigkeit, die bei dem geforderten Sicherheitsfaktor ohne Bruch erreicht werden muss, die Werte der Grundtoleranz IT 11 nach DIN 150 286-2 "ISO-System für Grenzmaße und Passungen; Tabellen der Grundtoleranzgrade und Grenzabmaße für Bohrungen und Wellen" nicht überschreitet.

Zu § 5 Abs. 3:

Hinsichtlich der Definition des Sicherheitsfaktors gegen Bruch durch Fliehkraft siehe Durchführungsanweisungen zu Absatz 1.

Der Sicherheitsfaktor gegen Abbiegen des Schaftes ist definiert als

nab
Sab =
nzul

nab = Drehzahl beim Abbiegen des Schaftes (Abbiegedrehzahl)

nzul = Zulässige Drehzahl (Drehzahl bei Arbeitshöchstgeschwindigkeit)

Der Nachweis über die Erfüllung der Anforderungen kann durch die Anwendung der jeweiligen Prüfverfahren nach den folgenden BG-Grundsätzen erfolgen:

Zu § 5 Abs. 4:

Der Stufensprung der Zahlreihe von 16 bis 1 25 beträgt  - ausgenommen bei 35 m/s - 1 ,25 und der Stufensprung der Zahlenreihe über 1 25 beträgt 1,1 2 entsprechend DIN 323-1 "Normzahlen, Normzahlreihen; Hauptwerte, Genauwerte, Rundwerte".

Zu § 5 Abs. 5:

Der Sicherheitsfaktor gegen Zerreißen durch Zugkraft ist definiert als

Fr
Sz =
Fzul

Fr= Reißkraft des Schleifbandes

Fzul = zulässige Zugkraft im Schleifband

Die Zuordnung von Festigkeitsklassen und zulässigen Zugkräften für Schleifbänder und Schleifhülsen erfolgt nach Tabelle 2.

Tabelle 2: Sicherheitsfaktor und Festigkeitsklassen für Schleifbänder und Schleifhülsen

Sicherheitsfaktor Festigkeitsklasse Zulässige Zugkraft in N je 50 mm Breite Schleifmittel auf Unterlage
 

  

1,5

I 140 A-, B- und C - Papier
II 280 D-, E-, F - Papier und schwereren; leichteren Kombinationen
III 400 X - Unterlagen und leichtere
IV 530 Y - Unterlagen und schwerer; übrige Kombinationen

Zu § 5 Abs. 7:

Die Sicherheitsfaktoren sind definiert als

nbr2 nab
Sbr =
Sab =
nzul2 nzul

nbr:  Drehzahl beim Bruch (Bruchdrehzahl)

nab:  Drehzahl beim Abbiegen des Schaftes (Abbiegedrehzahl)

nzul:  Zulässige Drehzahl (Drehzahl bei Arbeitshöchstgeschwindigkeit)

Teile des Besteckungsmaterials sind Büschel oder Zöpfe, nicht aber Einzeldrähte oder Einzelfasern; siehe auch DIN EN 1083-1 Kraftbetriebene Bürstwerkzeuge; Teil 1: Definitionen und Nomenklatur".

Zu § 7 Abs. 1:

Diese Forderung wird z.B. erfüllt, wenn Zwischenlagen aus Gummi, Pappe, Filz, r Leder oder Kunststoff bestehen.

Bei feinkörnigen Schleifscheiben in Kunstharzbindung, z.B. für das Außenrundschleifen von Walzen und für das spitzenlose Außenrundschleifen mit wässerigen Kühlschmierstoffen sind Zwischenlagen aus Kunststoff oder Gummi vorzuziehen. Die Dicke der einzelnen Zwischenlagen beträgt:

Zwischenlagen sind den betreffenden Schleifkörpern im Allgemeinen beigefügt. Sie sind entweder fest mit dem Schleifkörper verbunden oder lose dem Schleifkörper beigefügt. Herstellerseits können Etiketten auch als Zwischenlagen vorgesehen sein. Im Allgemeinen sind je Schleifkörper zwei Zwischenlagen mit gleichem Werkstoff und gleichen Maßen beigefügt. Bei Trennschleifscheiben in Kunstharzbindung ist die einmalige Wiederverwendung der Zwischenlagen möglich.

Zu § 7 Abs. 2:

Abrichtwerkzeuge für Schleifkörper sind z.B. Abziehsteine, Abrichtrollen, Diamantabrichter.

Zu § 8 Abs. 1:

Einseitige Erwärmungen und einseitige Abkühlungen können zu Spannungsrissen führen.

Bezüglich der Lagerung von Bürstwerkzeugen siehe auch DIN EN 1083-2 "Kraftbetriebene Bürstwerkzeuge; Teil 2: Sicherheitstechnische Anforderungen".

Zu § 8 Abs. 3:

Durch Transportmittel werden mechanische Beschädigungen, z.B. durch Stöße, Umfallen oder Herabfallen, verhindert.

Zu § 9 Abs. 2 Nr. 1

Diese Forderung ist z.B. erfüllt, wenn die Nennleerlaufdrehzahl der Schleifspindel nicht höher ist als die auf dem Schleifwerkzeug angegebene Drehzahl.

Diese Forderung schließt ein, daß bei mehrstufigen bzw. stufenlos einstellbaren Antrieben die zulässige Drehzahl des neuen Schleifwerkzeuges entsprechend der Abnutzung des Schleifwerkzeuges nur so weit gesteigert werden kann, daß die angegebene Arbeitshöchstgeschwindigkeit nicht überschritten wird.

Zu § 9 Abs. 2 Nr. 3:

Verwendungseinschränkungen siehe § 4 Abs. 5.

Zu § 9 Abs. 2 Nr. 5:

Als freie kristalline Kieselsäure werden die kristallinen SiO2-Modifikationen Quarz, Cristobalit und Tridymit bezeichnet.

Zu § 9 Abs. 2 Nr. 6:

Gesundheitsschädlich sind solche Bestandteile, die nach Einatmen, Verschlucken oder Aufnahme durch die Haut Gesundheitsschäden verursachen können.

Siehe auch Technische Regeln für Gefahrstoffe TRGS 900 "Grenzwerte in der Luft am Arbeitsplatz; Luftgrenzwerte" und "Regeln für Sicherheit und Gesundheitsschutz an Arbeitsplätzen mit Arbeitsplatzlüftung" (BGR 121).

Zu § 9 Abs. 2 Nr. 8:

Eine Unterschreitung des Sicherheitsfaktors ist in der Regel nicht zu erwarten, wenn

Zu § 9 Abs. 3:

Zusätzliche Gefährdungen können z.B. auftreten durch

Siehe auch

Zu § 9 Abs. 5:

Solche Veränderungen sind z.B.

Zu § 10 Abs. 1:

Einflüsse, die die Festigkeit beeinträchtigen können, sind bei

Es empfiehlt sich, Werkzeuge so zu lagern, daß diese entsprechend der Reihenfolge der Anlieferung entnommen werden können.

Zu § 11 Abs. 2 Nr. 2 und 3:

Erkennbare Mängel bei Schleifwerkzeugen können z.B. sein: Risse, Ausbrüche, Veränderungen im äußeren Erscheinungsbild.

Die Prüfung erfolgt im Allgemeinen durch eine Sichtprüfung.

Bei

mit D > 80 mm erfolgt zusätzlich eine Klangprüfung zur Feststellung eventueller Risse. Davon ausgenommen sind verklebte oder verschraubte Schleifkörper, Schleifsegmente, Schleifstifte und Schleifkegel.

Bei keramisch gebundenen Schleifkörpern, mit Ausnahme von verklebten oder verschraubten Schleifkörpern, Schleifsegmenten, Schleifstiften und Schleifkegeln, können Risse durch eine Klangprüfung festgestellt werden.

Erkennbare Mängel an Spannzeugen können z.B. sein

Zu § 11 Abs. 2 Nr. 4:

Diese Forderung ist z.B. erfüllt, wenn die Schleifwerkzeuge leicht aufgebracht werden und ein Preßsitz vermieden ist.

Zu § 11 Abs. 2 Nr. 5:

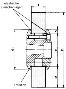
Die Auswahl der richtigen Spannflansche ist z.B. nach der folgenden Tabelle 3 sowie den Bildern 1 und 2 durchzuführen:

Tabelle 3: Spannflanschdurchmesser für Schleifkörper nach § 2 Abs. 1 Nr. 1 und Schleifkörper nach § 2 Abs. 1 Nr. 1 aus Keramik in Abhängigkeit von Schleifkörperform, Schleifkörpermaßen, Schleifkörperbindung und Maschinenart

Maschinenart Schleifkörper Arbeitshöchst- geschwindigkeit

vzul in m/s

Außendurchmesser der Spannflansche
df in mm
Benennung Maße in mm Bindung
Ortsfeste und Hand-Schleifmaschinen Gerade Schleifscheiben,
Schleifteller, Schleiftöpfe
H< 0,2 × D alle alle < 0,33 × D
H > 0,2 × D < H + 2 (0,17 × M)
Ortsfeste Schleifmaschinen ohne Schutzhaube Gerade Schleifscheiben D< 400
T< 40
alle < 40 0,67 × D
Handschleifmaschinen ohne Schutzhaube Zweiseitig konische

Schleifscheiben

D< 200 B < 50 > 0,5 × D
Neigung 1 :16
BF < 80
Handschleif- und Handtrennschleifmaschinen Gerade und gekröpfte Schleif- und Trennschleifscheiben D< 100  BF  < 80 19
100 < D< 230 41
Ortsfeste Trennschleifmaschinen Gerade Trennschleifscheiben D< 800 B, BF < 63 > 0,20
80 × 100 > 0,25 D
125 > 0,33 0
D>800 BF < 63 > 0,2D
80 × 125 > 0,33 D
Gekröpfte Trennschleifscheiben alle D BF < 100 > 0,25 D
mindestens
H + 2 × (0,17 × M)
Pendeltrennschleifmaschinen Gerade und gekröpfte trennschleifscheiben 400< D< 600 BF < 80
Handtrennschleifmaschinen D = 300, 350, 400 < 100
Trennschleifmaschinen Trennschleifscheiben aus Diamant, Bornitrid oder Werkstoffen vergleichbarer Eigenschaften D< 1500 - < 125 0,18 × D>
D < 1500 0,10 × D> 270
D = Außendurchmesser des Schleifkörpers
H = Bohrungsdurchmesser des Schleifkörpers
T = Breite des Schleifkörpers
M= Höhe der Ringfläche des Schleifkörpers


Bild 1: Ringflächenhöhe r von Spannflanschen bei Schleifscheiben H< 0,2 D
   
r = 1/6 df Höhe der ringförmigen Anlagefläche
des Spannflansches
D = Außendurchmesser der Schleifscheibe
H = Bohrungsdurchmesser der Schleifscheibe
T = Breite der Schleifscheibe
df = Außendurchmesser der Spannflansche
Bild 2:Ringflächenhöhe h von Spannflanschen bei Schleifscheiben H > 0,2 D
 
D = Außendurchmesser der Schleifscheibe

H = Bohrungsdurchmesser der Schleifscheibe

T = Breite der Schleifscheibe

df = Außendurchmesser der Spannflansche

h = Höhe der von den Spannflanschen
überdeckten Schleifkörperringfläche> 1/6 M

M = Höhe der Ringfläche von Schleifscheiben

Beim Aufspannen der Trennschleifscheiben entsprechend § 2 Abs. 1 Nr. 2 mit Bündigbohrungen ist darauf zu achten, dass der Spannflansch den Teilkreis, bei mehreren Teilkreisen den größten Teilkreis überdeckt.

Zu § 11 Abs. 2 Nr. 8:

Geeignete Zwischenlagen siehe Durchführungsanweisungen zu § 7 Abs. 1.

Zu § 11 Abs. 2 Nr. 10

Schleifscheiben sind zum Aufspannen in einem Satz geeignet, wenn sie über eine Kennzeichnung entsprechend § 4 Abs. 6 verfügen. Distanzteile sind geeignet, wenn sie hinsichtlich Anlagefläche und Hinterdrehung die gleichen Maße wie die äußeren Spannflansche aufweisen. Beim Aufspannen mehrerer Schleifscheiben mit Distanztei-len sind Zwischenlagen zwischen die Schleifscheiben und die Distanzteile zu legen.

Zu § 12 Abs. 1:

Diese Forderung ist z.B. hinsichtlich der benötigten Einrichtungen erfüllt, wenn Schutzhauben und Einrichtungen, z.B. Stellwände, Auffangeinrichtungen, zum Absperren des Gefahrbereiches vorhanden sind.

Zu § 12 Abs. 2:

Diese Forderung ist erfüllt, wenn folgende Probelaufzeiten mindestens erreicht werden:

Zu § 14 Abs. 2 Nr. 3:

Erkennbare Mängel sind z.B. an Bürstwerkzeugen, wenn das Besteckungsmaterial

Erkennbare Mängel an Spannzeugen siehe Durchführungsanweisungen zu § 11 Abs. 2 Nr. 3.

Zu Anlage 1:

Erläuterungen zu den Spalten 3, 6 und 7:

3 Farbstreifen sind:

blau vzul = 50 m/s
gelb vzul = 63 m/s
rot vzul = 80 m/s
grün vzul = 100 m/s
blau-gelb vzul = 125 m/s
blau-rot vzul = 140 m/s
blau-grün vzul = 160 m/s
gelb-rot vzul = 180 m/s
gelb-grün vzul = 200 m/s
rot-grün vzul = 225 m/s
blau-blau vzul = 250 m/s
gelb-gelb vzul = 280 m/s
rot-rot vzul = 320 m/s
grün-grün vzul = 360 m/s
weiß, Schleifkörper mit Magnesitbindung
6 und 7 Hinsichtlich der Angabe der Nennmaße und des Werkstoffes siehe z.B. DIN 69 100-1 "Schleifkörper aus gebundenem Schleifmittel; Bezeichnung, Formen, Maßbuchstaben, Werkstoffe".

.

Beispiele zur Gestaltung und Anbringung von Kenndaten auf Schleifwerkzeugen und Etiketten und zum Beifügen von Etiketten.  Anhang 1

1 Gestaltung und Anbringung

1.1 Schleifwerkszeuge mit Arbeitshöchstgeschwindigkeit Vzul < 50 m/s

Muster A Muster B
Hersteller/Lieferer/Einführer
Warnzeichen
Sonstige Angaben
Maße
Schleifmittel und Bindung
Zulässige Drehzahl 1/min ...................................
Arbeitshöchstgeschwindigkeit m/s.....................
Sonstige Angaben1
Entspricht BGV D12
Mindestmaße (Höhe x Breite) 52 x 74 mm (DIN A8) Etikettdurchmesser mindestens 20 mm größer als
Mindestdruchmesser der Spannflansche

1) Bei Schleifkörpern mit Magnesitbindung und Außendurchmesser D > 1000 m: Herstellungsdatum.

1.2 Schleiwerkzeuge mit Arbeitshöchstgeschwindigkeit Vzul> 50 m/s

1.2.1 Schleischeiben

Muster C Muster D
Hersteller/Lieferer/Einführer
Warnzeichen
Sonstige Angaben
Maße
Schleifmittel und Bindung
Entspricht BGV D12
Zulässige Drehzahl 1/min ...................................
Arbeitshöchstgeschwindigkeit m/s.....................
Sonstige Angaben, ggf. Verwendungseinnschränkung
Mindestmaße (Höhe x Breite) 52 x 74 mm (DIN a 8) Etikettdurchmesser mindestens 20 mm größer als
Mindestdruchmesser der Spannflansche
Verwendungseinschränkung sollten im vollen Wortlaut angegeben sein.

1.2.2 Schleifstifte

Etikett mit Sicherheitsnachweis auf der Rückseite

Muster E (Vorderseite) Muster E (Rückseite)
Hersteller/Lieferer/Einführer  Warnzeichen
Sonstige Angaben
Maße
Schleifmittel und Bindung
Entspricht BGV D12
Zulässige Drehzahl bei einer offenen
Schaftlänge L0 von
10 mm 15 mm 20 mm
1/ min ................ 1/ min ................ 1/ min ................
Sicherheitshinweis: s. Rückseite
Sicherheitshinweis

Der umseitig beschriebene Schleifstift ist für eine Arbeitshöchstgeschwindigkeit vom 50 m/s bei kürzester offener Schaftlänge LO  ausgelegt.

Die Sicherheit bei der Verwendung dieses Schleifstiftes wird durch folgende Faktoren eingeschränkt.

  1. wenn die Mindesteinspannlänge LO von 10 mm nicht eingehalten wird.
  2. wenn die umseitig angegebene zulässige Drezahlen bei den entsprechenden offenen Schaftlängen LO überschritten werden.

1.2.3 Lamellenschleifscheiben und Vulkanfiberschleifscheiben

Muster G Muster H
Hersteller/Lieferer/Einführer  Warnzeichen
Maße Körnung
Entspricht BGV D12
Zulässige Drehzahl 1/min ...................................
Arbeitshöchstgeschwindigkeit m/s.....................
Sonstige Angaben

Mindestmaße (Höhe x Breite) 25 x 74 mm

1.3 Farbstreifen

Der Farbstreifen soll durch die Mitte und über den gesamten Durchmesser des Schleifwerkzeugs bzw. des Etiketts verlaufen. Die Grundfarbe des Etiketts soll sich deutlich von der vorgeschriebenen Kennfarbe des Farbstreifens abheben und darf die Kennfarbe nicht verändern.

Der Farbstreifen soll gerade und gleichmäßig breit sein. Die Breite soll je Farbstreifen zwischen 5 und 20 mm betragen. Bei einer Kennzeichnung mit zwei Farbstreifen soll deren Abstand mindestens 2 mm betragen und höchstens der Breite eines Farbstreifens entsprechen.

Der Farbstreifen auf dem Etikett kann fehlen, wenn das Etikett auf dem Schleifwerkzeug aufgeklebt und der Farbstreifen auf dem Schleifwerkzeug selbst über den gesamten Durchmesser aufgetragen ist.

2. Beifügen von Etiketten

Schleifwerkzeugen, bei denen die Angabe der Kenndaten auf beigefügten Etiketten zulässig ist, sollen Etiketten mindestens gemäß den folgenden Festlegungen beigefügt sein.

Bei mehreren gleichen Schleifwerkzeugen in einer Verpackungseinheit:

Angabe der Kenndaten auf der Verpackungseinheit und zusätzlich mindestens ein Etikett je 25 Werkzeuge.

Bei mehr als 1000 gleichen Schleifwerkzeugen in einer Verpackungseinheit für einen Verwender: Angabe der Kenndaten auf der Verpackungseinheit und zusätzlich mindestens ein Etikett je 100 Werkzeuge.

Bei mehreren Schleifwerkzeugen verschiedener Werkstoffe, Formen oder Nennmaße in einer Verpackungseinheit: Angabe der Kenndaten für jede Schleifwerkzeugart auf der Verpackungseinheit.

.

Bezugsquellenverzeichnis Anhang 2

umwelt-online - Demo-Version


(Stand: 23.07.2018)

Alle vollständigen Texte in der aktuellen Fassung im Jahresabonnement
Nutzungsgebühr: ab 105.- € netto

(derzeit ca. 7200 Titel s.Übersicht - keine Unterteilung in Fachbereiche)

Preise & Bestellung

Die Zugangskennung wird kurzfristig übermittelt

? Fragen ?
Abonnentenzugang/Volltextversion