![]() |
zurück | ![]() |
Zu § 1 Abs. 2 Nr. 1:
Siehe "Sicherheitsregeln für hochziehbare Personenaufnahmemittel" (ZH 1/461).
Zu § 1 Abs. 2 Nr. 3:
Siehe UVV "Hebebühnen" (VBG 14).
Zu § 1 Abs. 2 Nr. 4:
Siehe Aufzugsverordnung - AufzV (jetzt BetrSichV)
Zu § 1 Abs. 2 Nr. 5:
Siehe UVV "Krane" (BGV D6).
Zu § 2 Nr. 2:
Rahmenstützenaufzug mit Ausleger

Zu § 2a Abs. 2:
Unter den Anwendungsbereich der Richtlinie 89/392/EWG fallen z.B. nicht Ladestellen von Bauaufzügen.
Keine Beschaffenheitsanforderung enthält die Bestimmung des § 9.
Zu § 3 Abs. 3:
Das Schild wird je nach Zweckmäßigkeit am Grundgerät oder am Lastaufnahmemittel angebracht.
Die erforderliche Zugkraft ergibt sich aus der Nutzlast, dem Eigengewicht des Lastaufnahmemittels und dem Eigengewicht des Tragmittels.
Zu § 4 Abs. 1:
Die Forderung ist erfüllt, wenn nach DIN 15018 Teil 1 "Krane; Grundsätze für Stahltragwerke, Berechnung" mindestens Hubklasse H 1, Beanspruchungsgruppe B 2, bei Betriebsgeschwindigkeiten über 1,50 m/s Hubklasse H 3, Beanspruchungsgruppe B 3, zugrunde gelegt werden.
Seilrollenaufzüge und Rahmenstützenaufzüge mit Ausleger bis zu einer Tragfähigkeit von 200 kg gelten als ausreichend bemessen, wenn sie nach den Angaben des Anhanges zu diesen Durchführungsanweisungen gebaut sind.
Zu § 4 Abs. 2 Satz 1:
Die Standsicherheit ist gegeben, wenn
Die Standsicherheit von Seilrollenaufzügen und von Rahmenstützenaufzügen mit Ausleger bis zu einer Tragfähigkeit von 200 kg gilt als ausreichend bemessen, wenn diese Bauaufzüge nach den Angaben des Anhanges zu diesen Durchführungsanweisungen gebaut sind.
Zu § 4 Abs. 2 Satz 2:
Für die Windbelastung siehe DIN 1055 Teil 4 "Lastannahmen für Bauten; Verkehrslasten, Windlasten nicht schwingungsanfälliger Bauwerke".
Zu § 6:
Siehe UVV "Winden, Hub- und Zuggeräte ( BGV D8).
Zu § 7 Abs. 1:
Die Forderung ist erfüllt, wenn Triebwerke mit dem Aufzug fest verbunden oder an ihrem Aufstellungsort durch Fundamente oder andere geeignete Konstruktionen so verankert sind, daß die auftretenden Kräfte sicher abgeleitet werden.
Zu § 10:
Tragmittel können durch Aufsetzen des Lastaufnahmemittels oder durch Überfahren der unteren Betriebsendabschaltung schlaff werden.
Zu § 11:
Die Forderung ist erfüllt, wenn die auftretenden Kräfte durch geeignete Einrichtungen in den Untergrund, in tragfähige Bauwerksteile oder ausreichend dimensionierte und verankerte Gerüste abgeleitet werden.
Die Forderung ist bei Bauaufzügen mit ungeführten Lastaufnahmemitteln erfüllt, wenn Ausleger verankert sind oder Einrichtungen zum Aufbringen von Gegengewichten haben und diese gegen Verschieben und Kippen gesichert sind. Gegengewichte sind. z.B. besonders angefertigte Betonklötze oder entsprechend gefüllte Ballastkästen.
Die Forderung ist bei Schwenkarmaufzügen erfüllt, wenn

Zu § 16:
Die Forderung ist erfüllt, wenn
Zu § 18 Abs. 1:
Lastaufnahmemittel müssen erfahrungsgemäß betreten werden, wenn die Grundfläche mehr als 0,50 m2 beträgt.
Zu § 18 Abs. 2:
Die Forderung ist erfüllt, wenn das Lastaufnahmemittel mit Umwehrungen von mindestens 0,80 m Höhe ausgerüstet ist.
Zu § 19 Absätze 1 und 2:
Ausführung der Sicherheitskennzeichnung nach UVV "Sicherheitskennzeichnung am Arbeitsplatz" ( BGV A8).
Zu § 20 Abs. 2:
Bei Stahldrahtseilen ist mindestens Triebwerkgruppe 2m nach DIN 15020 Teil 1 "Hebezeuge; Grundsätze für Seiltriebe, Berechnung und Ausführung" einzuhalten.
Bei Kettentrieben mit Rundstahlketten siehe DIN 766 "Rundstahlketten für allgemeine Zwecke und Hebezeuge; Kettenenden, geprüft, kurzgliedrig", DIN 5684 "Rundstahlketten für Hebezeuge, lehrenhaltig, geprüft".
Die Forderung hinsichtlich der Befestigung von Stahldrahtseilen ist erfüllt, wenn die freien Seilenden z.B. nach
sind.
Zu § 20 Abs. 3:
Die Forderung ist erfüllt, wenn Tragmittel über Ausgleichswippen mit dem Lastaufnahmemittel verbunden sind.
Zu § 28 Abs. 2:
Die Forderung ist erfüllt, wenn
gegen Verschieben und Kippen gesichert werden,
Das Einspannen von Haltesäulen für Schwenkarmaufzüge zwischen Kragplatten erfüllt die Forderung im allgemeinen nicht.
Zu § 29 Abs. 1:
Mit diesen Arbeiten vertraut sein bedeutet u. a, daß diese Personen außer den einschlägigen Unfallverhütungsvorschriften auch Betriebsanleitungen kennen und ggf. entsprechend unterwiesen worden sind. Der erforderliche Umfang der Unterweisung hängt von der Bauart und der Arbeitsweise der Bauaufzüge ab.
Zu § 29 Abs. 3 Nr. 3:
Mängel, die die Betriebssicherheit gefährden, sind z.B.
Zu § 32 Abs. 2:
Die Forderung ist erfüllt, wenn
Notendhalteinrichtungen nach § 9 sind keine geeigneten Maßnahmen zum genauen Anfahren der Ladestellen.
Zu § 33 Abs. 1:
Geeignete Einrichtungen zur Verständigung sind z.B. Funkanlagen, Fernsprechanlagen.
Geeignete Maßnahmen zur Verständigung sind z.B. Zuruf, Signale.
Zu § 34 Abs. 3:
Die Möglichkeit des Verfangens besteht z.B. an Gebäudeteilen, Gerüsten.
Die Forderung nach geeigneten Maßnahmen gegen Verfangen ist erfüllt, wenn
Zu § 41:
Unbeabsichtigtes und unbefugtes Bewegen des Lastaufnahmemittels wird vermieden, wenn z.B.
Instandhaltungsarbeiten sind nach DIN 31051 "Instandhaltung; Begriffe und Maßnahmen": Wartungsarbeiten, Inspektionsarbeiten und Instandsetzungsarbeiten. Wartungsarbeiten sind Maßnahmen zur Bewahrung des Sollzustandes. Die Wartung umfaßt alle Arbeiten zur Erhaltung des ordnungsgemäßen und betriebsbereiten Zustandes von Bauaufzügen. Dazu gehören z.B.
Instandsetzungsarbeiten sind Maßnahmen zur Wiederherstellung des Sollzustandes. Die Instandsetzungsarbeiten umfassen alle Arbeiten zur Wiederherstellung des ordnungsgemäßen und betriebsbereiten Zustandes von Bauaufzügen.
Zu § 42 Abs. 1:
Die Forderung ist erfüllt, wenn
Zu § 42 Abs. 2:
Die Arbeit wird durch eine vom Unternehmer bestimmte Person geleitet, vgl. § 28 Abs. 1.
Zu § 43 Abs. 1:
Wesentliche Änderungen sind z.B. Erhöhung der Tragfähigkeit, Änderung der Konstruktion, Veränderung der Zugkraft des Triebwerkes, Vergrößerung der Förderhöhe über das vom Hersteller festgelegte Maß hinaus, Schweißungen an tragenden Teilen.
Nicht als wesentliche Änderung ist dagegen ein Ersatz von Teilen gleicher Art anzusehen.
Zu § 43 Abs. 2
Ausrüstungsbestimmungen enthalten die §§ 9 und 23 bis 26.
Zu § 43 Abs. 3:
Sachkundige sind Personen, die aufgrund ihrer fachlichen Ausbildung und Erfahrung ausreichende Kenntnisse auf dem Gebiet der Bauaufzüge haben und mit den einschlägigen staatlichen Arbeitsschutzvorschriften, Unfallverhütungsvorschriften, Richtlinien und allgemein anerkannten Regeln der Technik soweit vertraut sind, daß sie den arbeitssicheren Zustand von Bauaufzügen beurteilen können.
.
| Berechnungsgrundlagen für Regelausführungen von Seilrollenaufzügen und Rahmenstützenaufzügen mit Ausleger bis zu einer Tragfähigkeit von 200 kg. | Anhang 1 |
1 Regelausführung für einen Seilrollenaufzug
![]() |
Kräfte u. Momente | Gleichgewicht | |||||||||||||||
| W | P | ||||||||||||||||
| A | 2P | ||||||||||||||||
| Mr max | 2P × a | ||||||||||||||||
| Mb max | 2P × a × ψ | ||||||||||||||||
| B | (a × A) / b | ||||||||||||||||
|
|||||||||||||||||
Der Träger ist unter Berücksichtigung der zu erwartenden Höchstlast, die mit einem Hublastbeiwert zu vervielfältigen ist, statisch zu berechnen. Für das an der Dach- oder Deckenkante auftretende ungünstigste Moment, das für die Bemessung des Auslegerquerschnittes entscheidend ist, gilt folgende Formel:
Mmax = 2 · ψ · P · a
Hierin ist als Hublastbeiwert zur Aufnahme dynamischer Beanspruchungen nach DIN 15018 anzusetzen:
ψ = 1,3
Unter Zugrundelegung dieser Lastannahmen sind in den Tafeln 1 und 2 die erforderlichen Auslegerquerschnitte für hölzerne und stählerne Ausleger in Abhängigkeit von der zu ziehenden Last bzw. der Auslegerlänge angegeben.
Die Befestigung des Kragträgers ist von den jeweiligen örtlichen Verhältnissen und arbeitstechnischen Gründen abhängig, dabei ist der Träger gegen Abkippen über sein vorderes Auflager zu sichern. Ist eine Verankerung mit Stahlbügeln o. ä. an festen Bauteilen nicht möglich, muß an dem rückwärtigen Ende des Kragträgers ein Gegengewicht (Ballast) angebracht werden. Die Ankerzugkraft bzw. das Ballastgewicht muß mindestens eine 3fache Sicherheit gegen Abkippen bieten (Tafel 3). Der Ballast ist fest mit dem Kragträger zu verbinden (zum Beispiel ausreichend groß bemessener Kasten zum Einlagern des Ballastes; keine losen Steine, Papprollen o. ä. auf das Trägerende auflegen!).
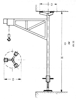
2 Regelausführung für einen Rahmenstützenaufzug mit Ausleger
![]() |
|
Der Dachdecker-Dreibock ist eine besondere Bauart des Seilrollenaufzuges. Das mit der Seilrolle versehene vordere Kragträgerende wird auf einem Stützjoch (auch Schere oder Galgen genannt) aufgelagert, um die hochgezogenen Lasten unmittelbar unterhalb der Rollenaufhängung abnehmen zu können. Dieses Stützjoch ist nach statischen Gesichtspunkten auszubilden und muß standsicher sein (keine Dachlatten, Schalbretter o. ä. verwenden!).
Hierzu gehört:
Tafel 1 Hölzerne Ausleger für Seilrollenaufzüge
Tafel 2
Tafel 3 Beiwert k für Verankerungskräfte bzw. Ballastgewichte
erforderliche Ankerzugkraft bzw. Ballastgewichte bis dreifacher Sicherheit gegen Kippen:
B = 3·a/b · 2·ψ·P = 2·k·P (k=(3·a·ψ)/c)
Beispiel:
hintere Auslegerlänge b = 2,50 m
Länge des Kragarmes a = 1,00 m
k etwa 1,60
B = 2·1,60·P
Tafel 4 Aufhängungen von Seilumlenkrollen
Die Aufhängungen sind unter Berücksichtigung der zu erwartenden Höchstlasten, die mit dem Hublastbeiwert zu vervielfältigen sind, statisch zu berechnen. Die Lastaufnahme errechnet sich nach folgender Formel:
a = 2 × P × ψ
Auf eine besondere Berechnung kann verzichtet werden, wenn für die Aufhängungen die in der folgenden Tafel angegebenen Mindestquerschnitte eingehalten werden.
| Konstruktion
aus: |
Mindestquerschnitt | ||
| bei Last bis 100 kg | bei Last bis 200 kg | ||
| Flachstahl (Bohrung Ø 10 mm) | 20/5 mm |
30/5 mm |
|
| Drahtseil | Ø 8 mm | Ø 10 mm | |
| Faserseil (Hanf) | Ø 18 mm | Ø 28 mm | |
| Rundstahl (Geschlossener Ring) | |||
| Innendurch- messer |
120 mm | Ø 18 mm | Ø 23 mm |
| 140 mm | Ø 19 mm | Ø 25 mm | |
| 160 mm | Ø 20 mm | Ø 26 mm | |
| 180 mm | Ø 22 mm | - | |
![]() |
ENDE | ![]() |
(Stand: 16.06.2018)
Alle vollständigen Texte in der aktuellen Fassung im Jahresabonnement
Nutzungsgebühr: ab 105.- € netto
(derzeit ca. 7200 Titel s.Übersicht - keine Unterteilung in Fachbereiche)
Die Zugangskennung wird kurzfristig übermittelt
? Fragen ?
Abonnentenzugang/Volltextversion