Für einen individuellen Ausdruck passen Sie bitte dieEinstellungen in der Druckvorschau Ihres Browsers an. Regelwerk; BGI/GUV-I / DGUV-I |
![]() |
BGI 867 / DGUV Information 203-032 - Auswahl und Betrieb von Stromerzeugern auf Bau- und Montagestellen
Deutsche Gesetzliche Unfallversicherung (DGUV) Information
(Ausgabe 05/2005; 05/2016; 01/2018zurückgezogen)
| Redaktioneller Hinweis: Berufsgenossenschaften sind gemäß § 210 SGB VII Behörden; ihre amtlichen Veröffentlichungen nach § 15 SGB VII unterliegen gemäß § 5 Abs. 2 UrhG keinem Urheberrechtsschutz. |
Die vorliegende DGUV Information stellt die Anforderungen für Auswahl und Betrieb von Stromerzeugern auf Bau- und Montagestellen, die in verschiedenen Vorschriften, Regeln und Normen festgelegt sind, übersichtlich zusammen und gibt Erläuterungen für den Anwender oder die Anwenderin. Sie ersetzt nicht die erforderliche Betriebsanweisung vor Ort, bietet aber Unterstützung bei deren Erstellung. Ein Beispiel für eine Betriebsanweisung zeigt Anhang 8.
Bau- und Montagestellen werden in den meisten Fällen aus dem öffentlichen Netz mit elektrischer Energie versorgt. Wo dies nicht möglich ist, werden mobile Stromerzeuger eingesetzt. Diese können zur Versorgung einzelner Geräte oder einer ganzen Baustelle oder - bei Ausfall des öffentlichen Netzes - zur Einspeisung in das vorhandene Baustellennetz eingesetzt werden.
Unabhängig davon, wie Stromerzeuger und dazugehörige Anlagen betrieben werden, müssen sie immer den sicherheitstechnischen Anforderungen genügen, z.B. DGUV Information 203-006 "Auswahl und Betrieb elektrischer Anlagen und Betriebsmittel auf Bau- und Montagestellen".
Die in dieser DGUV Information enthaltenen technischen Lösungen schließen andere, mindestens ebenso sichere Lösungen nicht aus, die auch in technischen Regeln anderer Mitgliedsstaaten der Europäischen Union oder anderer Vertragsstaaten des Abkommens über den Europäischen Wirtschaftsraum ihren Niederschlag gefunden haben können.
1 Anwendungsbereich
1.1 Diese DGUV Information findet Anwendung auf Auswahl und Betrieb (Bereitstellung und Benutzung nach §§ 1 und 5 der BetrSichV) von Stromerzeugern auf Bau- und Montagestellen.
1.2 Diese DGUV Information kann auch Anwendung finden bei Auswahl und Betrieb von Stromerzeugern unter vergleichbaren Einsatzbedingungen, z.B. Garten- und Landschaftsbau, Veranstaltungstechnik, Film- und TV-Produktionen.
1.3 Diese DGUV Information findet keine Anwendung beim Einsatz von Netzersatzanlagen im Bereich der öffentlichen Stromversorgung.
2 Begriffe
Im Sinne dieser DGUV Information ist bzw. sind
2.1 Übergabepunkt
ein Punkt, an dem elektrische Energie in die elektrische Anlage der Bau- oder Montagestelle eingespeist wird.
2.2 Anschlusspunkt
ein Punkt, an dem elektrische Energie zum Betreiben von elektrischen Anlagen und Betriebsmitteln auf Bau- oder Montagestellen entnommen wird.
2.3 Stromerzeuger
Niederspannungsstromerzeugungsanlagen, die die elektrische Energieversorgung von Teilnetzen, Verbraucheranlagen oder einzelnen Verbrauchsmitteln nach Ausfall oder Abschaltung der regulären Stromversorgung oder bei Nichtvorhandensein einer solchen übernehmen. Sie setzen sich zusammen aus:
2.4 Zusätzlicher Schutz gegen elektrischen Schlag im Fehlerfall
das Verwenden von Fehlerstrom-Schutzeinrichtungen (RCDs) mit einem BemessungsdifferenzstromIΔn nicht größer als 30 mA. Diese Maßnahme hat sich beim Versagen von Vorkehrungen für den Basisschutz, für den Fehlerschutz oder bei Sorglosigkeit durch Benutzer oder Benutzerinnen bewährt.
2.5 Schutzpotentialausgleich
ein Potentialausgleich zum Zweck der Sicherheit ("Schutzpotentialausgleich" aus VDE 0100-200), abgekürzt PB (engl.: potential bonding).
2.6 Erdung
die Erdung eines Punktes oder mehrerer Punkte eines Netzes, einer Anlage oder eines Betriebsmittels zum Zwecke der elektrischen Sicherheit ("Schutzerdung" aus VDE 0100-200), abgekürzt PE (engl.: protective earth).
2.7 Fehlerstrom-Schutzeinrichtung (RCD)
ein Schaltgerät, das dazu vorgesehen ist, Ströme unter üblichen Betriebsbedingungen einzuschalten, zu führen und auszuschalten und die Öffnung der Kontakte zu veranlassen, wenn der Fehlerstrom einen vorgegebenen Wert erreicht (nach VDE 0664-10 Beiblatt 1). Fehlerstrom-Schutzeinrichtungen werden u. a. charakterisiert durch ihren BemessungsstromIn und ihren BemessungsdifferenzstromIΔn.
Im Folgenden werden Fehlerstrom-Schutzeinrichtungen RCDs (Residual Current protective Device) genannt. Zur Auswahl des geeigneten Typs (A, F, B oder B+) siehe DGUV Information 203-006.
2.8 PRCD (Portable Residual Current protective Device)
eine ortsveränderliche Fehlerstrom-Schutzeinrichtung zur Schutzpegelerhöhung.
2.9 Isolationsüberwachungseinrichtung (IMD)
ein Gerät, das den Isolationswiderstand RF zwischen den aktiven Leitern und dem Bezugspotential überwacht. Im ungeerdeten System ist das Bezugspotential der Potentialausgleich (PB), im IT-System der Schutzleiter (PE).
Unterschreitet der Isolationswiderstand RF den eingestellten Ansprechwert Ra, wird eine Meldung oder ein Schaltbefehl ausgelöst. Isolationsüberwachungseinrichtungen müssen den Anforderungen von DIN EN 61557-8 (VDE 0413-8) entsprechen.
3 Allgemeine Anforderungen
Stromerzeuger sind für den vorgesehenen Einsatz entsprechend dem Leistungsbedarf der zu versorgenden Geräte ausreichend bemessen auszuwählen. Insbesondere sind beim Betrieb von Frequenzumrichter (FU) gesteuerten Antrieben, z.B. Krane, Aufzüge, Winden, die Empfehlungen der Hersteller zu beachten (siehe Anhang 6 "Belastungsgrenzen eines Generators beim Betrieb von Baugeräten mit Frequenzumrichtern").
Die Bedienungsanleitung des Herstellers oder der Herstellerin und die Betriebsanweisung des Betreibers oder der Betreiberin müssen am Verwendungsort vorhanden sein und sind zwingend zu befolgen. Der Betrieb von Stromerzeugern ist in der Gefährdungsbeurteilung zu berücksichtigen. Je nach Anwendung sind entsprechende Schutzmaßnahmen vorzusehen. Die erforderlichen Schutzmaßnahmen müssen durch eine Elektrofachkraft festgelegt werden.
Bei der Auswahl eines Stromerzeugers sind Verwendungszweck, Einsatzbedingungen und Eigenschaften des Gerätes festzulegen und auf die technischen Daten der Verbrauchsmittel abzustimmen. Zur Realisierung der in dieser DGUV Information beschriebenen Maßnahmen sind Stromerzeuger erforderlich, die mindestens den Anforderungen nach ISO 8528-5 entsprechen.
3.1 Kennzeichnung
Stromerzeuger müssen mit einem Typschild versehen sein, auf dem vom Hersteller oder von der Herstellerin mindestens nachfolgende Angaben deutlich erkennbar und dauerhaft angebracht sind:
Die Kennzeichnung des Stromerzeugers (Ausführung "A", "B", "C" oder "D" gemäß Abbildung 5) erfolgt entweder durch den Hersteller oder die Herstellerin oder ist, sofern nicht vorhanden, vor der Inbetriebnahme von einer Elektrofachkraft vorzunehmen.
Damit ist zusammen mit dieser DGUV Information erkennbar, welche Schutzmaßnahmen realisiert werden müssen, damit ein sicherer Betrieb der angeschlossenen Betriebsmittel gewährleistet ist.
Die CE-Kennzeichnung muss entsprechend gesetzlicher Regelungen vorhanden sein. Empfohlen wird, nur Stromerzeuger mit GS-Zeichen zu verwenden.
3.2 Mechanische Anforderungen
Transportable Stromerzeuger müssen mit Tragevorrichtungen ausgerüstet sein.
Ab einer Gesamtmasse von 50 kg müssen Anschlagpunkte für den Hebezeugtransport oder Vorrichtungen für den Transport mit Flurförderzeugen vorhanden sein.
Besteht beim Einsatz von Stromerzeugern mit Kurbelstarteinrichtung, z.B. bei Dieselmotoren, die Gefahr von Verletzungen durch Rückschlag, sind geeignete Rückschlagsicherungen oder Sicherheitskurbeln zu verwenden. Bei Seilstarteinrichtungen ist darauf zu achten, dass eine Seilfangeinrichtung vorhanden ist und das Starten gegen die Drehrichtung des Motors verhindert wird.
Stromerzeuger müssen durch die Gestaltung des Gehäuses oder des Aufstellortes so geschützt sein, dass äußere Einwirkungen durch Fremdkörper, Wasser oder Feuchtigkeit die Sicherheit nicht beeinträchtigen.
Stromerzeuger müssen zur uneingeschränkten Verwendung im Freien mindestens der Schutzart IP 54, bei Verwendung in Gebäuden mindestens der Schutzart IP 43 entsprechen (siehe DGUV Information 203-005 "Auswahl und Betrieb ortsveränderlicher elektrischer Betriebsmittel nach Einsatzbedingungen"). Beim Einsatz von Geräten mit geringerer Schutzart, allerdings mindestens IP 23, sind zusätzliche Maßnahmen, z.B. Einhausung, erforderlich.
3.3 Elektrische Anforderungen
Elektrische Anlagen und Betriebsmittel müssen nach den örtlichen Bedingungen ausgewählt werden. Elektrische Anlagen und Betriebsmittel sind so zu benutzen und so zu betreiben, dass bei bestimmungsgemäßer Verwendung eine elektrische Gefährdung vermieden wird. Bei Vorliegen besonderer Gefährdungen, z.B. erhöhte elektrische Gefährdung, Brand- oder Explosionsgefahr, dürfen elektrische Anlagen und Betriebsmittel nur unter Einhaltung besonderer Bestimmungen benutzt werden.
Zusätzliche Informationen sind unter anderem enthalten in:
Als Schutzeinrichtungen vor Anschlusspunkten müssen grundsätzlich RCDs vom Typ B oder B+ verwendet werden.
RCDs vom Typ a dürfen nur dann eingesetzt werden, wenn sichergestellt ist, dass von den Verbrauchsmitteln keine Ableit- oder Fehlerströme erzeugt werden können, die unverträglich zu RCDs vom Typ a sind. Diese Forderung wird erfüllt, wenn keine Ableit- oder Fehlerströme ungleich 50 Hz und keine glatten Gleichfehlerströme von insgesamt größer als 6 ma erzeugt werden können.
Anmerkung:
Auf Bau- und Montagestellen kann es auf Grund der rauen Betriebsbedingungen zu Fehlersituationen kommen, insbesondere Beschädigungen von Kabeln/Leitungen, die nicht in allen Situationen von allen Schutzeinrichtungen erfasst und abgeschaltet werden können. Aus diesem Grund kann es erforderlich sein, mehr als eine Schutzeinrichtung zu fordern, z.B. IMD und RCD.
In ungeerdeten dreiphasigen Systemen mit Neutralleiter erfolgt in Verbrauchsmitteln der Schutzklasse I im Fall des Erdschlusses eines Außenleiters eine Spannungserhöhung der beiden nicht fehlerbehafteten Außenleiter gegen den Potentialausgleichsleiter um den Faktor 1, 73. Um zu verhindern, dass dadurch einphasige Verbrauchsmittel der Schutzklasse I beschädigt oder zerstört werden, sollte beim Auftreten dieses Fehlers die Spannungsversorgung sofort abgeschaltet werden, z.B. durch eine IMD in Verbindung mit einer Schalteinrichtung.
3.4 Anforderungen an den Aufstellort
Der Aufstellort ist so zu wählen oder vorzubereiten, dass der Stromerzeuger standsicher aufgestellt und bestimmungsgemäß betrieben werden kann und die Schutzart den Anforderungen, die sich aus dem Aufstellort ergeben, genügt.
Stromerzeuger mit Verbrennungsmotor, die innerhalb von Gebäuden betrieben werden, sind in separaten Räumen mit ausreichender Belüftung aufzustellen. Die Abgase sind über Rohre/Schläuche ins Freie abzuleiten. Stromerzeuger kleiner Leistung (bis ca. 10 kW) mit Verbrennungsmotor dürfen grundsätzlich nur im Stillstand betankt werden. Die Anweisungen des Herstellers oder der Herstellerin hierzu sind zu beachten.
4 Technische Ausführungen von Stromerzeugern
4.1 Erdungsanschluss oder Schutzpotentialausgleich
Stromerzeuger haben eine Anschlussklemme/-schraube, die in der Regel mit dem Symbol
gekennzeichnet ist.
Diese dient entweder dem Zweck der Erdung oder der Herstellung eines Schutzpotentialausgleichs. Für eine eindeutige Identifizierung muss das zutreffende Symbol angebracht sein.
Der Verwendungszweck der Anschlussklemme ist
Zur Auswahl der Schutzmaßnahme muss der Unternehmer oder die Unternehmerin vor der Inbetriebnahme eines Stromerzeugers klären, welche technische Ausführung vorliegt.
Nachstehend werden zwei gängige Ausführungen von Stromerzeugern beschrieben.
4.2 Stromerzeuger ohne Erdungsanschluss
Der Schutzpotentialausgleich ist im Stromerzeuger nicht mit einem aktiven Leiter/ Sternpunkt verbunden. Erforderliche Maßnahmen siehe Abschnitt 5.1.
4.3 Stromerzeuger mit Erdungsanschluss
Der herausgeführte PE ist im Stromerzeuger mit einem aktiven Leiter verbunden. Erforderliche Maßnahmen siehe Abschnitt 5.2.
Abb. 1 Symbol 5021 "Schutzpotentialausgleich" nach DIN IEC 60417
Abb. 2 Symbol 5019 "Schutzerdung" nach DIN IEC 60417
Abb. 3 Stromerzeuger 1- und 3-phasig ohne Erdungsanschluss mit Anschluss für Schutzpotentialausgleich (PB)
Abb. 4 Stromerzeuger 1- und 3-phasig mit Erdungsanschluss (PE)
5 Betrieb
Für den sicheren Betrieb einer elektrischen Anlage mit Stromerzeuger ist es zunächst erforderlich zu klären, welches Versorgungssystem (TN, TT oder IT) durch die Bauweise des Stromerzeugers möglich oder vorgegeben ist und welche Schutzmaßnahmen erforderlich sind. Besonders zu beachten ist hierbei, ob aktive Leiter in die Erdung einbezogen sind, da hiervon direkt die Schutzmaßnahmen abhängig sind. Dabei sind auch die Umgebungs- und Einsatzbedingungen zu berücksichtigen (siehe auch Abschnitt 3.4).
Wird der sichere Betrieb durch Aufbau und Funktion des Stromerzeugers gewährleistet, kann dieser von elektrotechnischen Laien in Betrieb genommen werden, da keine definierte Erdverbindung hergestellt werden muss und keine Prüfung vor Inbetriebnahme erforderlich ist (siehe Abschnitt 5.1). Praxisbeispiele für Anschlusskombinationen sind in Anhang 7 dargestellt.
Wird hingegen ein Stromerzeuger eingesetzt, bei dem durch Aufbau und Funktion z.B. der Sternpunkt des Generators unter definierten Bedingungen geerdet werden muss und Errichtungsprüfungen durchzuführen sind, so handelt es sich um die Errichtung einer elektrischen Anlage, die von einer Elektrofachkraft vorgenommen werden muss (siehe Abschnitt 5.2).
Die Länge der Anschlussleitung ist möglichst kurz zu halten, weil die meisten Isolationsfehler durch Beschädigungen an Anschlussleitungen verursacht werden, und mit zunehmender Länge ungeschützt verlegter Leitung die Fehlerwahrscheinlichkeit steigt.
Anmerkung:
Bei längeren Leitungen besteht die Gefahr, dass aufgrund der Leitungslänge die Überstrom-Schutzeinrichtungen im Falle eines zweipoligen Isolationsfehlers (Kurzschluss) nicht mehr auslösen. Auf jeden Fall sind die Empfehlungen des Herstellers oder der Herstellerin des Stromerzeugers bezüglich der Leitungslängen zu beachten.
5.1 Stromerzeuger mit Anschluss für Schutzpotentialausgleich (Ausführungen "A" und "B")
Zur Inbetriebnahme ist eine Elektrofachkraft nicht erforderlich.
Eine Sichtkontrolle durch den Benutzer oder die Benutzerin vor jeder erneuten Inbetriebnahme ist ausreichend. Zu wiederkehrenden elektrotechnischen Prüfungen ist Abschnitt 6.2.4 zu beachten.
Der Stromerzeuger muss entsprechend Abschnitt 4.2 ausgeführt sein, d. h. mit Anschlussmöglichkeit für den Schutzpotentialausgleich. Eine Verbindung des Schutzpotentialausgleichs mit Erde, z.B. durch einen Erdspieß, ist hier nicht erforderlich.
5.1.1 Stromerzeuger mit nur einem angeschlossenen Verbrauchsmittel (Ausführung "A")
Wird an Stromerzeugern dieser Art (siehe Abschnitt 4.1) nur ein Verbrauchsmittel angeschlossen, ist im Fall des ersten Fehlers, z.B. eine Leitungsbeschädigung oder eingedrungene Nässe in einer Steckvorrichtung, eine Körperdurchströmung nicht möglich. Ohne zusätzliche Schutzmaßnahme darf an diesen Stromerzeugern kein weiteres Verbrauchsmittel angeschlossen werden. Ein Schutzpotentialausgleich (PB) ist bei nur einem angeschlossenen Verbrauchsmittel nicht erforderlich (siehe Abbildung 6).
5.1.2 Stromerzeuger bei Verwendung mehrerer Verbrauchsmittel (Ausführungen "A" und "B")
Mit ungeerdeten Stromerzeugern wird ein gegen Erde isoliertes Stromversorgungssystem erzeugt, bei dem der Schutzpotentialausgleich nicht mit Erde verbunden sein muss. Hierbei handelt es sich nicht um "Schutztrennung" im Sinne von VDE 0100-410.
Anmerkung:
"Schutztrennung mit mehr als einem Verbrauchsmittel" unter den Bedingungen nach VDE 0100-410 ist auf Bau- und Montagestellen in der Regel nicht realisierbar, weil die Anforderungen von Anhang C.3 dieser Norm nicht eingehalten werden können.
Abb. 6 Stromerzeuger ohne Erdungsanschluss mit nur einer Steckdose und nur einem angeschlossenen Verbrauchsmittel
Der Schutz gegen elektrischen Schlag bei Anschluss mehrerer Verbrauchsmittel wird durch die nachfolgend aufgeführten Maßnahmen erreicht.
5.1.2.1 Stromerzeuger mit RCD für das zweite und jedes weitere Verbrauchsmittel
Jedem Verbrauchsmittel, bis auf eines, wird eine RCD mitIΔn ≤ 30 ma zugeordnet (Stromkreise mit Steckdosen undIn > AC 32 a sind über RCDs mitIΔn < 500 ma zu betreiben). Fließt im Fall eines zweiten Isolationsfehlers an einem anderen Außenleiter oder in einem anderen Stromkreis ein Fehlerstrom, wird dieser von mindestens einer RCD erkannt und mindestens einer der fehlerbehafteten Stromkreise wird abgeschaltet (siehe Abbildung 7). Vor der Wiederinbetriebnahme sind alle Fehler zu beheben.
Zwei Ausführungen sind möglich:
Die Ausführung 2. "RCD zwischen Steckdose und Verbrauchsmittel" kann realisiert werden durch zwischenschaltbare, für Bau- und Montagestellen geeignete 30-mA-RCDs oder durch Stromverteiler mit jeweils einer 30-mA-RCD pro Steckdose. Hierbei muss jeder Steckdose eine RCD vorgeschaltet sein, weil diese Verteiler auch in geerdeten Systemen betrieben werden können.
Abb. 7 Fehlerstromfluss bei zwei Fehlern in zwei unterschiedlichen Stromkreisen
Abb. 8 Stromerzeuger mit einer 30-mA-RCD vor der zweiten und jeder weiteren Steckdose
Abb. 9 Stromerzeuger mit nachgeschaltetem Verteiler, in dem jeder Steckdose eine RCD vorgeschaltet ist

| Hinweis: Für beide zuvor beschriebenen Ausführungen gilt: Angeschlossene Mehrfachsteckdosen, z.B. Leitungsroller, benötigen wiederum für jede Steckvorrichtung eine eigene 30-mA-RCD oder PRCD. |
5.1.2.2 Stromerzeuger und zusätzliche Trenntransformatoren
Ein Verbrauchsmittel darf direkt angeschlossen werden. Weitere Verbrauchsmittel müssen jeweils über einen separaten Trenntransformator angeschlossen werden (siehe Abbildung 10).
In leitfähigen Bereichen mit begrenzter Bewegungsfreiheit stellt diese Maßnahme eine bewährte Möglichkeit dar, mehrere Verbrauchsmittel an einem Stromerzeuger zu betreiben (siehe Abschnitt 5.4).
5.1.2.3 Stromerzeuger mit IMD und RCDs
Die Isolationsüberwachung erfolgt zwischen den aktiven Leitern und dem Schutzpotentialausgleichsleiter. Alle Körper von Geräten der Schutzklasse I müssen in einen Schutzpotentialausgleich eingebunden sein. Dieser wird durch die Schutzleiter in den Anschlussleitungen der Verbrauchsmittel realisiert.
Eine IMD nach DIN EN 61557-8 (VDE 0413-8), siehe Abbildung 11, muss beim Absinken des Isolationswiderstandswertes unter 100 Ω/V innerhalb 1 s eine Abschaltung bewirken (siehe DIN VDE 0100-551, Abschnitt 551.4.5).
Weil für die Ausführungen "A" und "B" eine Verbindung des Schutzpotentialausgleichs mit Erde, z.B. durch einen Erdspieß, nicht erforderlich ist, kann ein Fehler gegen die leitfähige Umgebung, z.B. Erdreich, durch die Isolationsüberwachung nicht in jedem Fall erkannt werden. Daher ist zusätzlich für das zweite und jedes weitere Verbrauchsmittel eine eigene 30-mA-RCD entsprechend Abschnitt 5.1.2.1 einzusetzen (siehe Abbildung 12).
Alternativ kann auch das zweite und jedes weitere Verbrauchsmittel über einen separaten Trenntransformator angeschlossen werden (siehe auch Abschnitt 5.1.2.2).
Abb. 10 Stromerzeuger mit mehreren Anschlussmöglichkeiten und mehreren Verbrauchsmitteln, ein Verbrauchsmittel direkt und zwei Verbrauchsmittel über Trenntransformatoren angeschlossen
Abb. 11 IMD mit Prüftaste und zugeordneten Steckdosen
Abb. 12 Stromerzeuger mit Isolationsüberwachung (IMD) und einer 30-mA-RCD vor der zweiten und jeder weiteren Steckdose
5.2 Stromerzeuger mit Erdungsanschluss
Eine Elektrofachkraft muss das Versorgungssystem (TN, TT oder IT) festlegen, die erforderliche Schutzmaßnahme auswählen und deren Wirksamkeit prüfen.
5.2.1 TN-System mit RCDs im Stromerzeuger integriert (Ausführung "C")
Im TN-System muss der Schutz gegen elektrischen Schlag im Fehlerfall durch geeignete RCDs realisiert werden. Hinweise zur Auswahl der RCDs bezüglichIΔn und Fehlerstromcharakteristik siehe DGUV Information 203-006 Abschnitt 4.
Im TN-System muss der Generatorsternpunkt - oder bei nicht vorhandenem Sternpunkt ein Außenleiter - geerdet werden. Deshalb muss der Stromerzeuger mit einem Erdanschlusspunkt ausgerüstet sein (siehe Abbildung 13).
Der Erdungsleiter muss an die Leistungsdaten der Anlage angepasst sein, darf jedoch einen Querschnitt von 6 mm2 nicht unterschreiten. Um ein sicheres Auslösen der RCDs zu gewährleisten, muss der Erdungswiderstand RB möglichst klein sein. Auf Bau- und Montagestellen ist ein Wert von maximal 50 Ω praktikabel und ausreichend (siehe Abbildung 15).
Die Wirksamkeit der Schutzmaßnahme ist durch eine Elektrofachkraft zu überprüfen.
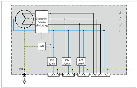
Abb. 13 Stromerzeuger mit 30-mA-RCDs als Anschlusspunkt im TN-S-System
Abb. 14 Anschlussfeld eines Stromerzeugers mit integrierten RCDs
Abb. 15 Stromerzeuger mit Erdungsanschluss und Erdspieß
5.2.2 Stromerzeuger als Übergabepunkt - Elektrofachkraft legt Schutzmaßnahme fest, installiert und prüft (Ausführung "D")
Wird ein Stromerzeuger ohne integrierte zusätzliche Schutzmaßnahme gegen elektrischen Schlag eingesetzt, oder ist eine solche Schutzmaßnahme nicht erkennbar (siehe auch Abschnitt 3.1), darf dieser lediglich als Übergabepunkt genutzt und es dürfen keine Verbrauchsmittel direkt angeschlossen werden (siehe Abbildung 16).
Um einen Anschlusspunkt im Sinne der DGUV Information 203-006 zu schaffen, muss eine Elektrofachkraft die notwendigen Maßnahmen zum Schutz gegen elektrischen Schlag gemäß VDE 0100-410 und die erforderlichen Prüfungen festlegen. Sofern in leitfähigen Bereichen mit begrenzter Bewegungsfreiheit gearbeitet werden muss, ist zusätzlich die DGUV Information 203-004 zu beachten.
5.2.2.1 TN- und TT-System
TN- und TT-Systeme sind durch eine Elektrofachkraft zu errichten, weil die Funktion der Schutzmaßnahmen nach VDE 0100-410 von der Niederohmigkeit der Erdverbindungen (Erdspieß) abhängt. Darüber hinaus muss jedem Endstromkreis mit Steckdosen eine RCD vorgeschaltet sein (siehe Abbildung 17):
Abb. 16 Stromerzeuger mit Überstromschutz, aber ohne integrierte Maßnahmen zum Personenschutz
Abb. 17 Stromerzeuger als Übergabepunkt und angeschlossener Baustromverteiler
5.2.2.2 IT-System
IT-Systeme sind durch eine Elektrofachkraft zu errichten, weil auch hier die Funktion der Schutzmaßnahmen nach VDE 0100-410 von der Ausführung der Erdverbindung (Erdspieß) abhängt.
Alle elektrischen Betriebsmittel der Schutzklasse I müssen durch einen Schutzleiter miteinander und mit dem Anlagenerder verbunden sein (siehe Abbildung 18).
IT-Systeme werden im Regelfall verwendet, wenn eine erhöhte Versorgungssicherheit gefordert wird, z.B. Pumpen der Grundwasserhaltung oder Löscheinrichtungen, also beim Auftreten des ersten Fehlers die Stromversorgung aufrechterhalten werden soll.
Dazu muss eine IMD das Auftreten des ersten Fehlers zwischen einem aktiven Teil und Körpern oder gegen Erde durch ein hörbares oder sichtbares Signal melden. Der Fehler ist umgehend durch eine Elektrofachkraft zu beheben. Die Anlage darf jedoch bis zur Fehlerbehebung weiterbetrieben werden.
Bei Auftreten eines zweiten Fehlers an einem anderen aktiven Leiter muss die automatische Abschaltung erfolgen. Jedes einzelne Verbrauchsmittel muss nach VDE 0100-410, 411.6.3 durch eine eigene RCD geschützt werden:
Abb. 18 IT-System mit IMD zur Anzeige/Meldung des ersten Fehlers und Abschaltung durch RCD beim Auftreten eines zweiten Fehlers
5.3 Weitere Schutzmaßnahmen hinter dem Übergabepunkt
5.3.1 Schutztrennung (Trenntransformator)
Bei unbekannter (oder ungeeigneter) Schutzmaßnahme am Stromerzeuger kann durch einen nachgeschalteten Trenntransformator nach EN 61558-2-4 (VDE 0570-2-4) die Schutzmaßnahme Schutztrennung realisiert werden. Dabei darf an einen Trenntransformator bzw. an jede Sekundärwicklung eines Trenntransformators auf Bau- und Montagestellen nur ein Verbrauchsmittel angeschlossen werden.
5.3.2 Schutzkleinspannung SELV (Sicherheitstransformator)
Ist die Schutzmaßnahme Schutzkleinspannung (SELV) erforderlich, kann diese durch einen nachgeschalteten Sicherheitstransformator nach EN 61558-2-6 (VDE 0570-2-6) realisiert werden.
5.4 Sonderfall: Erhöhte elektrische Gefährdung durch leitfähige Umgebung mit begrenzter Bewegungsfreiheit
Ein leitfähiger Bereich mit begrenzter Bewegungsfreiheit liegt vor, wenn dessen Begrenzung im Wesentlichen aus Metallteilen oder leitfähigen Teilen, z.B. auch feuchtes Erdreich, besteht, eine Person mit ihrem Körper großflächig mit der umgebenden Begrenzung in Berührung stehen kann und die Möglichkeit der Unterbrechung dieser Berührung eingeschränkt ist (siehe DGUV Information 203-004 und DIN VDE 0100-706).
Aufgrund der erhöhten elektrischen Gefährdung darf nur ein Verbrauchsmittel direkt am Stromerzeuger, Ausführung "A" oder "B", angeschlossen werden. Weitere Verbrauchsmittel müssen jeweils über einen separaten Trenntransformator angeschlossen werden (siehe auch Abbildung 10).
Die Trenntransformatoren sind außerhalb des leitfähigen Bereiches aufzustellen.
Die Länge der Zuleitung zum Trenntransformator darf maximal 4 m betragen.
Als elektrische Verbrauchsmittel sind sowohl Geräte der Schutzklasse I als auch der Schutzklasse II zulässig. Aufgrund der verstärkt ausgeführten Isolation werden Geräte der Schutzklasse II (schutzisolierte Ausführung) empfohlen.
Abb. 19 Beispiel für erhöhte elektrische Gefährdung
6.1 Wartung und Instandsetzung
Die Instandsetzung und Wartung von elektrischen Anlagen und Betriebsmitteln darf nur durch Elektrofachkräfte vorgenommen werden.
Elektrische Betriebsmittel, von denen infolge eines Mangels eine Gefährdung ausgeht, müssen sofort wirksam der Benutzung entzogen werden.
6.2 Prüfungen
Prüfen darf nur eine Elektrofachkraft als zur Prüfung befähigte Person.
Sicht- und Funktionsprüfungen dürfen auch vom Benutzer oder von der Benutzerin durchgeführt werden.
6.2.1 Mess- und Prüfgeräte
Geeignete Mess- und Prüfgeräte sind solche nach der Normenreihe VDE 0413. Mess- und Prüfgeräte für die Netzfrequenz 50 Hz (230/400 V) müssen Frequenzabweichungen bis zu ± 10 % erkennen können.
6.2.2 Dokumentation
Die Prüfungen vor jeder ersten Inbetriebnahme am Einsatzort und Wiederholungsprüfungen sind zu dokumentieren.
Ein Muster für ein Prüfprotokoll befindet sich im Anhang 5.
6.2.3 Prüfung vor Inbetriebnahme
Vor jeder Inbetriebnahme muss am Stromerzeuger eine Sichtprüfung auf augenscheinliche Mängel und eine Funktionsprüfung erfolgen.
Zusätzlich muss an Stromerzeugern der Ausführung "C" nach dieser DGUV Information die Wirksamkeit der Schutzmaßnahme mit geeigneten Mess- und Prüfgeräten festgestellt werden.
| Wann | Wie/ Was | Wer |
| Erste Inbetriebnahme am Einsatzort für Ausführungen A und B |
|
Benutzer oder Benutzerin |
| Erste Inbetriebnahme am Einsatzort für Ausführungen C und D |
|
Elektrofachkraft |
| arbeitstägliche Inbetriebnahme (alle Ausführungen) |
|
Benutzer oder Benutzerin |
6.2.4 Wiederholungsprüfungen
Schutzmaßnahmen mit RCD in nichtstationären Anlagen sind mindestens einmal im Monat auf Wirksamkeit durch eine Elektrofachkraft zu prüfen.
Einzuhaltende Grenzwerte und weitere Hinweise zur Prüfung enthält das Muster-Prüfprotokoll im Anhang 5.
| Kurzzeichen und Symbole auf elektrischen Betriebsmitteln |
Anhang 1 |
| Schutzarten nach DIN EN 60529 (VDE 0470-1) |
Anhang 2 |
| Kennzeichnung von Kabeln und Leitungen | Anhang 3 |
Tabelle 1: Kurzzeichen für harmonisierte Leitungen
| *) U0 | Effektivwert der Spannung zwischen Außenleiter und Erde |
| U | Effektivwert der Spannung zwischen Außenleiter und Außenleiter |
Tabelle 2: Beispiele für Leitungsbauarten
| harmonisiert | Leitung | bisher |
| H05V-U H05V-K |
PVC-Verdrahtungsleitung | NYFa NYFAF |
| H07V-U H07V-K |
PVC-Aderleitung | NYa NYAF |
| H03VV-F H03VVH2-F | leichte Kunststoffschlauchleitung | NYLHY |
| H05VV-F | mittlere Kunststoffschlauchleitung | NYMHY |
| H05RR-F | mittlere Gummischlauchleitung | NLH |
| H05RN-F | mittlere Gummischlauchleitung | NMH |
| H07RN-F | schwere Gummischlauchleitung | NMHöu |
| H07BQ-F | EPR-isolierte Schlauchleitung mit Polyurethan-Mantel | NGM11YÖ |
| H03VH -Y | leichte Zwillingsleitung | NLYZ |
| H03VH-H | Zwillingsleitung | NYZ |
| H03RT-F | Gummiaderschnur | NSA |
| nationale Norm | Leitung | |
| NSSHÖU | schwere Gummischlauchleitung für sehr hohe mechanische Beanspruchung und für ständige Verwendung im Freien |
Tabelle 3: Kabel und Leitungen ohne grüngelbe Ader
| Anzahl der Adern |
Farben der Aderna) | ||||
| 2 | Blau | Braun | |||
| 3 | - | Braun | Schwarz | Grau | |
| 3b) | Blau | Braun | Schwarz | ||
| 4 | Blau | Braun | Schwarz | Grau | |
| 5 | Blau | Braun | Schwarz | Grau | Schwarz |
Tabelle 4: Kabel und Leitungen mit grüngelber Ader
| Anzahl der
Adern |
Farben der Adern a) | ||||||||
| Schutzleiter | Aktive Leiter | ||||||||
| 3 | Grün-Gelb | Blau | Braun | ||||||
| 4 | Grün-Gelb | - | Braun | Schwarz | Grau | ||||
| 5 | Grün-Gelb | Blau | Braun | Schwarz | Grau | ||||
|
|||||||||
| Literaturverzeichnis | Anhang 4 |
1. Gesetze, Verordnungen
Bezugsquelle:
Buchhandel und Internet: z.B. www.gesetze-im-internet.de
Betriebssicherheitsverordnung ( BetrSichV)
2. DGUV Vorschriften und Regelwerk für Sicherheit und Gesundheit bei der Arbeit
Bezugsquelle:
Bei Ihrem zuständigen Unfallversicherungsträger und unter www.dguv.de/publikationen
Informationen
3. Normen/VDE-Bestimmungen
Bezugsquelle:
Beuth-Verlag GmbH, Burggrafenstraße 6, 10787 Berlin und VDE-Verlag, Bismarckstraße 33, 10625 Berlin
IEC 60417 (Datenbank)
Graphische Symbole für Betriebsmittel
ISO 8528-5:2013-03
Hubkolben-Verbrennungsmotor angetriebene Stromerzeugungsaggregate - Teil 5: Stromerzeugungsaggregate
DIN VDE 0100-200 (VDE 0100-200):2006-06
Errichten von Niederspannungsanlagen - Teil 200: Begriffe
DIN VDE 0100-410 (VDE 0100-410):2007-06
Errichten von Niederspannungsanlagen - Teil 4-41: Schutzmaßnahmen - Schutz gegen elektrischen Schlag
DIN VDE 0100-551 (VDE 0100-551):2017-02
Errichten von Niederspannungsanlagen - Teil 5-55: Auswahl und Errichtung elektrischer Betriebsmittel - Andere Betriebsmittel - Abschnitt 551: Niederspannungsstromerzeugungseinrichtungen
DIN VDE 0100-600 (VDE 0100-600):2017-06
Errichten von Niederspannungsanlagen - Teil 6: Prüfungen
DIN VDE 0100-706 (VDE 0100-706):2007-10
Errichten von Niederspannungsanlagen - Teil 7-706: Anforderungen für Betriebsstätten, Räume und Anlagen besonderer Art - Leitfähige Bereiche mit begrenzter Bewegungsfreiheit
DIN EN 61557 (VDE 0413) Normenreihe
Elektrische Sicherheit in Niederspannungsnetzen bis AC 1000 V und DC 1500 V - Geräte zum Prüfen, Messen oder Überwachen von Schutzmaßnahmen
DIN EN 61557-8 (VDE 0413-8):2015-12
Elektrische Sicherheit in Niederspannungsnetzen bis AC 1.000 V und DC 1.500 V - Geräte zum Prüfen, Messen oder Überwachen von Schutzmaßnahmen - Teil 8: Isolationsüberwachungsgeräte für IT-Systeme
DIN EN 61558-2-4 (VDE 0570-2-4):2009-12
Sicherheit von Transformatoren, Drosseln, Netzgeräten und dergleichen für Versorgungsspannungen bis 1.100 V - Teil 2-4: Besondere Anforderungen und Prüfungen an Trenntransformatoren und Netzgeräte, die Trenntransformatoren enthalten
DIN EN 61558-2-6 (VDE 0570-2-6):2010-04
Sicherheit von Transformatoren, Drosseln, Netzgeräten und dergleichen für Versorgungsspannungen bis 1.100 V - Teil 2-6: Besondere Anforderungen und Prüfungen an Sicherheitstransformatoren und Netzgeräte, die Sicherheitstransformatoren enthalten
DIN EN 61008-1 (VDE 0664-10)
Beiblatt 1:2012-10 Fehlerstrom-/Differenzstrom-Schutzschalter ohne eingebauten Überstromschutz (RCCBs) für Hausinstallationen und für ähnliche Anwendungen - Teil 1: Allgemeine Anforderungen - Beiblatt 1: Anwendungshinweise zum Einsatz von RCCBs nach DIN EN 61008-1 (VDE 0664-10)
| Muster-Prüfprotokoll | Anhang 5 |
| Prüfprotokoll für mobile Stromerzeuger | Prüfer/Prüferin: |
|||
| Zu prüfendes Gerät: | ||||
| Hersteller/Herstellerin: | ||||
| Typ: | ||||
| Baujahr/Serien-Nr.: | ||||
| Ausführung: | a [ ] | B [ ] | C [ ] | (gemäß DGUV Information 203-032) |
| Für Stromerzeuger der Ausführung D sind umfassendere Prüfungen als die hier genannten erforderlich. Diese sind von einer erfahrenen Elektrofachkraft festzulegen. | ||||
| Betriebsstunden: | ... ... h | |||
| Grund der Prüfung: | Wiederholungsprüfung [ ] | Instandsetzung/Reparatur [ ] | ||
Erforderliche Prüfausstattung:
|
||||
| Sichtprüfung auf: | Mangel / | |
| ja | nein: | |
| Schäden am Gehäuse | ||
| Beschädigung der zugänglichen Verbindungsleitungen | ||
| Mängel an Biegeschutz und Zugentlastung der Verbindungsleitungen | ||
| Anzeichen von Überlastung und unsachgemäßem Gebrauch | ||
| Unzulässige Eingriffe/Änderungen | ||
| Ordnungsgemäßer Zustand der Schutzabdeckungen | ||
| Sicherheitsbeeinträchtigende Verschmutzung oder Korrosion | ||
| Vorhandensein erforderlicher Luftfilter | ||
| Freie Kühlluft-Öffnungen | ||
| Dichtheit von Kraftstoff-, Schmierstoff- und Kühlsystem | ||
| Einwandfreie Lesbarkeit von Aufschriften und Warnhinweisen | ||
| Keine lockeren PE-/PB-Anschlüsse, keine losen Klemm-/Anschlussverbindungen | ||
| Schutzart des Stromerzeugers IP54 gemäß Abschnitt 3.2 | ||
| Sichtprüfung in Ordnung | ||
| Anmerkungen zur Prüfung: | ||
| Messung Widerstand Schutzleiter [ RPE] /Potentialausgleichsleiter [ RPB] | |||
| Messstelle | Grenzwert [Ω] | Istwert [Ω] | Mangel ja / nein: |
| PE/PB der Steckdosen untereinander | < 0,1 | [ ] [ ] | |
| PE/PB der Steckdosen - > Klemme PB/PE | < 0,1 | [ ] [ ] | |
| [ Ausführungen a und B] | ||
| Prüfung Isolationsüberwachung Die Isolationsüberwachung muss auf Funktion überprüft werden. |
Mangel ja / nein: |
|
| Test / Reset | Test / Hauptschalter löst aus | [ ] [ ] |
| Reset | [ ] [ ] | |
| Quittierung (falls vorhanden) | [ ] [ ] | |
| [ Ausführungen a und B ohne Isolationsüberwachung] | |||
| Messung Isolationswiderstand [RISO]
mit 500 V DC zwischen den Steckdosen und der Klemme PB/PE. |
|||
| Messstelle | Grenzwert [MΩ] | Istwert [MΩ] | Mangel ja / nein: |
| aktiver Leiter - > Klemme PB | > 1 | [ ] [ ] | |
| [ Ausführungen a und B] | |||
| Messung Ableitstrom | |||
| Ausführung | Grenzwert [m A] | Istwert [m A] | Mangel ja / nein: |
| ohne Isolationsüberwachung | < 3,5 | [ ] [ ] | |
| mit Isolationsüberwachung | kann entfallen, da IMD ständig überwacht. | ||
| Eine vereinfachte Messmethode ist die direkte Messung während des Betriebes mit einem Strommessgerät und einem Schutzwiderstand von 2 kΩ in Reihe zwischen einem aktiven Leiter und PB. Die Messung ist nacheinander zwischen jedem aktiven Leiter (einschließlich Neutralleiter) und PB durchzuführen. |
|||
| Prüfung Fehlerstrom-Schutzeinrichtung (RCD) | |||
| Typ: a [ ] F [ ] B [ ] B+ [ ]
Zu prüfen ist die Auslösezeit Δt mit dem Bemessungsdifferenzstrom IΔn Bei Typ B und B+ ist die Prüfung zusätzlich auch mit glattem Gleichfehlerstrom in Höhe des zweifachen Bemessungsdifferenzstroms IΔn Die Messungen sind für jede einzelne RCD durchzuführen und zu dokumentieren. |
|||
| RCD Nr. | Grenzwert [ms] | Istwert [ms] | Mangel ja / nein: |
| 1 | ≤ 300 | [ ] [ ] | |
| 2 | ≤ 300 | [ ] [ ] | |
| 3 | ≤ 300 | [ ] [ ] | |
| 4 | ≤ 300 | [ ] [ ] | |
| 5 | ≤ 300 | [ ] [ ] | |
| 6 | ≤ 300 | [ ] [ ] | |
| Erprobungen | |
| Antrieb | Mangel ja / nein: |
| Starten (von Hand und Elektrostart) | [ ] [ ] |
| Runder Motorlauf | [ ] [ ] |
| Regelverhalten bei Lastzuschaltung (wenn möglich), schnelle Ausregelung | [ ] [ ] |
| Abgase ohne übermäßige Rauchentwicklung | [ ] [ ] |
| Anmerkungen: | |
| Spannung und Frequenz | Mangel ja / nein: |
|
Die Ausführungsklassen nach DIN EN 12601 unterteilen die Anforderungen für Stromerzeuger hinsichtlich Spannungs- und Frequenzverhalten in gering (G1), mittel (G2) und hoch (G3).![]() |
Spannung U0 (zwischen Außenleiter und Neutralleiter) ohne Belastung an jeder Steckdose messen
Zulässige Spannungsabweichung Klasse (gemäß Typschild): G1: ± 10 % bei Stromerzeugern ≤ 10 kW, U0,max. 253V G1: ± 5 % bei Stromerzeugern > 10 kW, U0,max. 242V G2: ± 2,5 %, U0,max. 236 V G3: ± 1 %, U0,max. 232 V |
|
| gemessen: _ _ _ _ _ V | [ ] [ ] | |
| Zulässige Frequenzabweichung (darf ohne Belastung gemessen werden) Klasse (gemäß Typschild): G1: ≤ 8 %, f0,max. 54,0 Hz G2: ≤ 5 %, f0,max. 52,5 Hz G3: ≤ 3 %, f0,max. 51,5 Hz |
||
| gemessen: _ _ _ _ _ Hz | [ ] [ ] | |
| Rechtsdrehfeld | [ ] [ ] | |
| Funktion der Anzeigeinstrumente und der Bedienelemente
Anmerkungen: |
[ ] [ ] | |
| Funktion des Betriebsstundenzählers (falls vorhanden)
Anmerkungen: |
[ ] [ ] | |
| Bewertung der Prüfung | ||
| Mangel ja / nein: |
||
| Funktions- und Sicherheitsprüfung mängelfrei? | [ ] [ ] | |
| Prüfplakette angebracht?
Nächster Prüftermin: _ _ _ / _ _ _ / 20 _ _ _ |
[ ] [ ] | |
| Anmerkungen: | ||
| Unterschrift | ||
| Prüfer/Prüferin: | ||
| Ort: | ||
| Prüfdatum: | ||
| Verwendete Prüf- und Messgeräte | kalibriert bis (TT.MM.JJJJ) |
|
| Belastungsgrenzen eines Generators beim Betrieb von Baugeräten mit Frequenzumrichtern | Anhang 6 |
Baugeräte mit Frequenzumrichtern können den Generator eines Stromerzeugers aufgrund einer nicht sinusförmigen Stromaufnahme erheblich belasten. Ein Frequenzumrichter mit einem Leistungsfaktor λ von beispielsweise 0,5 belastet einen Stromerzeuger doppelter Leistung aufgrund der auftretenden Oberschwingungen bereits zu 100 %.
Um unzulässige Verzerrungen der Generatorspannung sowie thermische Überlastungen des Generators zu vermeiden, sollte neben der Nennleistung des Frequenzumrichters auch sein Leistungsfaktor λ bekannt sein und entsprechend berücksichtigt werden.
Werden geeignete vorgeschaltete Oberschwingungsfilter, Drosseln oder aktive Filter verwendet, kann der Generator höher belastet werden.
Bei den obigen Empfehlungen handelt es sich um Richtwerte. Gegebenenfalls sollten daher die Hersteller oder Herstellerinnen des Baugerätes und des Stromerzeugers kontaktiert werden um sicherzustellen, dass eine Überlastung des Generators ausgeschlossen werden kann.
Anmerkung:
Diese Hinweise zur Belastung von Generatoren sollten bei Verwendung aller Baugeräte mit elektronischen Betriebsmitteln beachtet werden, die netzseitig gesteuerte oder ungesteuerte Gleichrichterschaltungen enthalten. Auch kleinere Verbrauchsmittel in größerer Anzahl, z.B. Kompaktleuchtstofflampen, die ebenfalls nicht sinusförmige Stromaufnahmen aufweisen, können den Generator stärker belasten.
Verbrauchsmittel an einem Stromerzeuger mit Asynchrongenerator
Wirkleistungsverbrauchsmittel, z.B. Glühlampen oder Heizgeräte, dürfen ohne Einschränkungen verwendet werden.
Induktive Verbrauchsmittel mit Elektromotor, z.B. Bohrhämmer oder Kreissägen, dürfen Generatoren mit Anlaufverstärkung maximal zu 60 % und Generatoren ohne Anlaufverstärkung maximal zu 30 % belasten.
Kapazitive Verbrauchsmittel, z.B. Entladungslampen, und Baugeräte mit elektronischen Betriebsmitteln, z.B. Frequenzumrichter, sind nicht geeignet.
Verbrauchsmittel an einem Stromerzeuger mit Synchrongenerator
In der Regel können alle Arten von Verbrauchsmitteln verwendet werden. Die Anlaufleistung bei induktiven Verbrauchsmitteln darf üblicherweise das 3-fache der Bemessungsleistung betragen.
Bezüglich geeigneter Verbrauchsmittel sind die Herstellerangaben des Stromerzeugers zu beachten.
| Praxisbeispiele für Anschlusskombinationen an Stromerzeugern der Ausführung "A" | Anhang 7 |
Abb. 20 Ein Betriebsmittel angeschlossen ohne weitere Schutzmaßnahme
Abb. 21 Zwei Betriebsmittel - Abbruchhammer direkt angeschlossen, Säge mit zwischengeschalteter PRCD
Abb. 22 Zwei Betriebsmittel - Abbruchhammer direkt angeschlossen, Winkelschleifer mit zwischengeschalteter RCD in einem Verteiler
Abb. 23 Zwei Betriebsmittel - Abbruchhammer direkt angeschlossen, Baustellenkreissäge mit zwischengeschalteter vierpoliger RCD in einem Verteiler
Abb. 24 Drei Betriebsmittel - Baustellenkreissäge direkt angeschlossen, Abbruchhammer und Winkelschleifer mit jeweils einer zwischengeschalteten PRCD
Abb. 25 Vier Betriebsmittel - Handleuchte direkt angeschlossen, drei weitere Betriebsmittel hinter einem Verteiler mit einer RCD für jede einzelne Steckdose
Abb. 26 Zwei Betriebsmittel - Abbruchhammer direkt angeschlossen, Winkelschleifer hinter zwischengeschaltetem Trenntransformator betrieben
Abb. 27 Drei Betriebsmittel - Baustellenkreissäge direkt angeschlossen, Abbruchhammer und Winkelschleifer hinter jeweils einem Trenntransformator betrieben
| Beispiel einer Betriebsanweisung für mobile Stromerzeuger der Ausführung "A" |
Anhang 8 |
![]() |
ENDE | ![]() |
(Stand: 14.08.2025)
Alle vollständigen Texte in der aktuellen Fassung im Jahresabonnement
Nutzungsgebühr: ab 105.- € netto (Grundlizenz)
(derzeit ca. 7200 Titel s.Übersicht - keine Unterteilung in Fachbereiche)
Die Zugangskennung wird kurzfristig übermittelt
? Fragen ?
Abonnentenzugang/Volltextversion