umwelt-online: ETAG 026 - Teil 3: Linienförmige Fugenabdichtungen und Brandsperren (2)
![]() |
zurück | ![]() |
3 Bewertung und Bescheinigung der Konformität und CE-Kennzeichnung
3.1 System der Konformitätsbescheinigung
Siehe Teil 1 - "Allgemeines".
3.2 Aufgaben und Zuständigkeiten des Herstellers und der notifizierten Stellen
3.2.1 Aufgaben des Herstellers
Die wichtigsten Maßnahmen, die vom Hersteller von Brandschutzprodukten zum Abdichten und Verschließen von Öffnungen und zum Aufhalten von Feuer im Brandfall im Prozess der Konformitätsbescheinigung zu ergreifen sind, sind in Teil 1 - "Allgemeines" und Tabelle 3 aufgeführt.
Tabelle 3 : Prüfplan für den Hersteller; Eckdaten für die Werkseigene Produktionskontrolle (WPK)
Tabelle 3.1: Gewebe
| Nr. | Gegenstand/Art der Prüfung | Prüf- oder Kontrollverfahren | Kriterien, sofern vorhanden | Mindestanzahl an Prüfkörpern 13) | Mindesthäufigkeit der Prüfungen 14) |
| 1 | Art des/der Materials/Materialien | Spezifikation prüfen | - | siehe Fußnote 13) | 1/b* oder 1/Tag |
| 2 | Abmessungen, sofern relevant | B.10 | - | siehe Fußnote 13) | 1/b |
| 3 | Reißfestigkeit des Gewebes | B.5.4.1 | - | siehe Fußnote 13) | 1/b oder 1/Tag |
| 4 | TGa oder DTa 15) | B.2 | - | siehe Fußnote 13) | 1/10b |
| 5 | Gehalt an nicht flüchtigen Anteilen 15) | B.3 | - | siehe Fußnote 13) | 1/10b |
| 6 | Masseverlust durch Erhitzen 15) | B.4 | - | siehe Fußnote 13) | 1/b oder 1/Tag |
| 7 | Reißfestigkeit der Säume, sofern relevant | B.5.4.2 | - | siehe Fußnote 13) | 1/b |
| 8 | Flächengewicht des Gewebes | B.6.6 | - | siehe Fußnote 13) | 1/b oder 1/Tag |
Tabelle 3.2: Vor Ort aufgebrachte Schäume
| Nr. | Gegenstand/Art der Prüfung | Prüf- oder Kontrollverfahren | Kriterien, sofern vorhanden | Mindestanzahl an Prüfkörpern 13) | Mindesthäufigkeit der Prüfungen 14) |
| 1 | TGa oder DTa 15) 16) | B.2 | - | siehe Fußnote 13) | 1/10b |
| 2 | Gehalt an nicht flüchtigen Anteilen 15) | B.3 | - | siehe Fußnote 13) | 1/10b |
| 3 | Masseverlust durch Erhitzen 15) | B.4 | - | siehe Fußnote 13) | 1/10b |
| 4 | Dichte des gehärteten Schaums | B.6.2 | - | siehe Fußnote 13) | 1/b |
| 5 | Schaumfaktor 11), sofern relevant | EOTa TR 024, Abschnitt 3.1.11 | - | siehe Fußnote 13) | 1/b |
| 6 | Härtungsverhalten (Klebfreiheit) | B.9.1 | - | siehe Fußnote 13) | 1/b |
| 7 | Maßhaltigkeit (Volumenänderung) | B.11 | - | siehe Fußnote 13) | 1/10b17 |
Tabelle 3.3: Membranbildende Beschichtungen
| Nr. | Gegenstand/Art der Prüfung | Prüf- oder Kontroll-
verfahren |
Kriterien, sofern vorhanden | Mindestanzahl an Prüfkörpern 13) | Mindesthäufigkeit der Prüfungen 14) |
| 1 | TGa oder DTa 15) | B.2 | - | siehe Fußnote 13) | 1/l0b |
| 2 | Gehalt an nicht flüchtigen Anteilen 15) | B.3 | - | siehe Fußnote 13) | 1/10b |
| 3 | Masseverlust durch Erhitzen 15) | B.4 | - | siehe Fußnote 13) | 1/l0b |
| 4 | Viskosität des flüssigen Baustoffs | B.7 | - | siehe Fußnote 13) | 1/b |
| 5 | Rohdichte des flüssigen Baustoffs | B.6.1 | - | siehe Fußnote 13) | 1/b |
| 6 | Schaumfaktor 11), sofern relevant | EOTa TR 024, Abschnitt 3.1.11 | - | siehe Fußnote 13) | 1/b |
Tabelle 3.4: Mineralfaserplatten/-matten/-streifen
| Nr. | Gegenstand/Art der Prüfung | Prüf- oder Kontrollverfahren | Kriterien, sofern vorhanden | Mindestanzahl an Prüfkörpern 13) | Mindesthäufigkeit der Prüfungen 14) |
| Gemäß EN 13162 18) hergestellte Mineralfaserplatten | |||||
| 1 | siehe EN 13162 | - | siehe Fußnote 13) | ||
| 2 | Rohdichte | B.6.3 | siehe Fußnote 13) | 1/h | |
| 3 | "Schmelzpunkt" | ein Verfahren aus B.8 | - | siehe Fußnote 13) | 1/b des Rohstoffs |
| 4 | Dicke oder Flächengewicht der Deckschicht, sofern vorhanden | B.10.1 | - | siehe Fußnote 13) | decl je Lieferung |
| Mineralfaserplatten/-matten/-streifen, die nicht EN 13162 entsprechen | |||||
| 1 | Rohdichte | B.6.3 | - | siehe Fußnote 13) | 1/h |
| 2 | "Schmelzpunkt" | ein Verfahren aus B.8 | - | siehe Fußnote 13) | 1/b des Rohstoffs |
| 3 | Siehe EN 13162, Anhang B 19) | - | siehe Fußnote 13) | ||
| 4 | Dicke oder Flächengewicht der Deckschicht, sofern vorhanden | B.10.1 | - | siehe Fußnote 13) | decl je Lieferung |
Tabelle 3.5: Mörtel (auf Zement- oder Gipsbasis)
| Nr. | Gegenstand/Art der Prüfung | Prüf- oder Kontrollverfahren | Kriterien, sofern vorhanden | Mindestanzahl an Prüfkörpern 13) | Mindesthäufigkeit der Prüfungen 14) |
| 1 | TGa oder DTa 15) | B.2 | - | siehe Fußnote 13) | 1/10b |
| 2 | Gehalt an nicht flüchtigen Anteilen 15) | B.3 | - | siehe Fußnote 13) | 1/10b |
| 3 | Masseverlust bei Erhitzen 15) | B.4 | - | siehe Fußnote 13) | 1/10b |
| 4 | Schüttdichte, unverdichtet | B.6.4 | - | siehe Fußnote 13) | 1/b |
| 5 | Abbindezeit | B.9.2 | - | siehe Fußnote 13) | 1/b |
| 6 | Druckfestigkeit nach 3 oder 7 Tagen (Zement), sofern relevant | B.5.1 | - | siehe Fußnote 13) | 1/b |
| 7 | Druckfestigkeit nach 28 Tagen (Zement), sofern relevant | B.5.1 | - | siehe Fußnote 13) | 1/6m |
| 8 | Druckfestigkeit nach 24 Stunden - voll gesättigt (Gips), sofern relevant | B.5.1 | - | siehe Fußnote 13) | 1/b |
| 9 | Druckfestigkeit im vollständig getrockneten Zustand (Gips), sofern relevant | B.5.1 | - | siehe Fußnote 13) | 1/6m |
Tabelle 3.6: Fugendichtstoffe und Abdichtungskitte
| Nr. | Gegenstand/Art der Prüfung | Prüf- oder Kontrollverfahren | Kriterien, sofern vorhanden | Mindestanzahl an Prüfkörpern 13) | Mindesthäufigkeit der Prüfungen 14) |
| 1 | TGa oder DTa 15) | B.2 | - | siehe Fußnote 13) | 1/10b |
| 2 | Gehalt an nicht flüchtigen Anteilen 15) | B.3 | - | siehe Fußnote 13) | 1/10b |
| 3 | Masseverlust durch Erhitzen 15) | B.4 | - | siehe Fußnote 13) | 1/10b |
| 4 | Rohdichte des nicht erhärteten("flüssigen") Baustoffs | B.6.1 | - | siehe Fußnote 13) | 1/b |
| 5 | Viskosität des nicht erhärteten("flüssigen") Baustoffs | B.7 | - | siehe Fußnote 13) | 1/b |
| 6 | Härte nach dem Aushärten, sofern relevant | B.5.3.1 | - | siehe Fußnote 13) | 1/10b |
| 7 | Schaumfaktor 10), sofern relevant | EOTa TR 024, Abschnitt 3.1.11 |
- | siehe Fußnote 13) | 1/b |
Tabelle 3.7: komprimierbare Streifen, (einschließlich laminierte, imprägnierte oder aus Verbundbaustoffen)
| Nr. | Gegenstand/Art der Prüfung | Prüf- oder Kontrollverfahren | Kriterien, sofern vorhanden | Mindestanzahl an Prüfkörpern 13) | Mindesthäufigkeit der Prüfungen 14) |
| 1 | Abmessungen | B.10 | - | siehe Fußnote 13) | 1/b |
| 2 | Dichte vor der Laminierung/ Imprägnierung (Imprägnierungsgrad etc.), sofern relevant | B.6.5 | - | siehe Fußnote 13) | 1/b oder decl |
| 3 | Dichte nach der Laminierung/Imprägnierung (Imprägnierungsgrad etc.), sofern relevant | B.6.5 | - | siehe Fußnote 13) | 1/b |
| 4 | Schaumfaktor 10), sofern relevant | EOTa TR 024, Abschnitt 3.1.11 |
- | siehe Fußnote 13) | 1/b |
Tabelle 3.8: Elastomer-Streifen
| Nr. | Gegenstand/Art der Prüfung | Prüf- oder Kontrollverfahren | Kriterien, sofern vorhanden | Mindestanzahl an Prüfkörpern 13) | Mindesthäufigkeit der Prüfungen 14) |
| 1 | TGa oder DTa 15) | B.2 | - | siehe Fußnote 13) | 1/10b |
| 2 | Gehalt an nicht flüchtigen Anteilen 15) | B.3 | - | siehe Fußnote 13) | 1/10b |
| 3 | Masseverlust durch Erhitzen 15) | B.4 | - | siehe Fußnote 13) | 1/l0b |
| 4 | Dichte des gehärteten Materials | B.6.5 | - | siehe Fußnote 13) | 1/b |
| 5 | Härte nach dem Aushärten oder Zugfestigkeit | B.9.1 B.5.2.1 |
- | siehe Fußnote 13) | 1/10b |
Tabelle 3.9: Selbstnivellierende Fugenfüllstoffe (nicht reaktiv)
Siehe Fugendichtstoffe.
3.2.2 Aufgaben der notifizierten Stellen
Die wichtigsten Maßnahmen, die im Prozess der Konformitätsbescheinigung für Brandschutzprodukte zum Abdichten und Verschließen von Öffnungen im Brandfall von der (den) notifizierte(n) Stelle(n) durchgeführt werden müssen, sind in Tabelle 4 aufgeführt.
3.2.2.1 Erstprüfung des Produkts (ITT)
Direkte Prüfungen, die sich auf die im Mandat genannten Eigenschaften beziehen (Feuerwiderstand, Mechanische Festigkeit und Standsicherheit, Adhäsion, Festigkeit gegenüber Stößen/Bewegung, Freisetzung gefährlicher Stoffe), wurden schon als Teil der Zulassungsprüfung gemacht und es wird im Normalfall nicht nötig sein, diese für ITT zu wiederholen. Abhängig davon, bis zu welchem Grad die in der Zulassungsprüfung verwendeten Probekörper repräsentativ für die unter den Bedingungen der laufenden Produktion hergestellten Produkte sind (z.B. wenn Prototypen verwendet werden), kann es jedoch notwendig sein, einige Prüfungen aus der Liste von Tabelle 4 durchzuführen, die die Eigenschaften bestätigen.
3.2.2.2 Erstüberwachung des Werkes und der werkseigenen Produktionskontrolle (WPK)
Die relevanten Eigenschaften sind in der Tabelle 4 aufgeführt.
3.2.2.3 Laufende Überwachung, Bewertung und Beurteilung der werkseigenen Produktionskontrolle (WPK)
Die relevanten Eigenschaften sind in der Tabelle 4 aufgeführt. Die Mindesthäufigkeit der Überwachung beträgt im Normalfall zweimal pro Jahr.
Tabelle 4 : Prüfplan für die notifizierte(n) Stelle(n); Eckdaten
| Nr. | Gegenstand/Art der Prüfung | Prüf- oder Kontrollverfahren | Kriterien, sofern vorhanden |
Mindestanzahl der Proben | Mindesthäufigkeit der Prüfungen |
| Erstprüfung des Produkts (ITT) | |||||
| siehe 2.4.1 bis 2.4.12 und Tabelle 5 | |||||
| Die Zulassungsprüfungen sind akzeptierbar für ITT | |||||
| Erstprüfung des Werks und der werkseigenen Produktionskontrolle (WPK) | |||||
| siehe Teil 1 - "Allgemeines" und Tabelle 3 dieses Teils | |||||
| Laufende Überwachung, Bewertung und Beurteilung der werkseigenen Produktionskontrolle (WPK) | |||||
| siehe Teil 1 - "Allgemeines" und Tabelle 3 dieses Teils | |||||
3.2.3 Spezielle Kontroll- und Prüfverfahren für die Bewertung
Siehe Anhang B.
3.3 CE-Kennzeichnung und Begleitangaben
Siehe Teil 1 - "Allgemeines".
Beispiel für die CE-Kennzeichnung und Begleitangaben:
![]() |
Kennzeichen "CE" |
| 1234 | Identifizierungsnummer der zugelassenen Zertifizierungsstelle |
| Unternehmen XX Straße1, Stadt, Land 04 1234-CPD-0321 |
Name und Anschrift des Herstellers (für die Herstellung verantwortliche juristische Person) Die letzten beiden Ziffern des Jahres, in dem die CE-Kennzeichnung angebracht wurde. Nummer des EG-Konformitätszertifikats |
| ETA-07/XYZZ
ETAG 026- Teil 3
Linienförmige Fugenabdichtung Typ Y2(-5/+70)°C |
Nummer der ETA
Nummer der ETA-Leitlinie
Nutzungskategorie entsprechend ET |
4 Annahmen, unter denen die Brauchbarkeit für den vorgesehenen Verwendungszweck beurteilt wird
4.1 Herstellung des Produkts
Keine besonderen Bestimmungen.
4.2 Verpackung, Transport, Lagerung des Produkts
Allgemeine Hinweise siehe Teil 1 - "Allgemeines".
Wenn das Produkt im Anlieferungszustand eine begrenzte Lagerungsfähigkeit hat, wird davon ausgegangen, dass der Hersteller diese eindeutig angibt, und - sofern zutreffend - Einschränkungen hinsichtlich der Lagerungsbedingungen (z.B. Temperatur, Feuchtigkeit) nennt.
4.3 Einbau des Produkts in das Bauwerk
Begleitangaben zum Produkt
Der Herstellersoll Angaben vorlegen zu:
4.4 Nutzung, Unterhaltung, Instandsetzung
Es wird davon ausgegangen, dass der Hersteller dem Monteur Informationen zu Reparatur oder Austausch zur Verfügung stellt, für den Fall, dass an der linienförmigen Fugenabdichtung bzw. Brandsperre Schaden entsteht.
4.5 Zusatzteile
Siehe Teil 1 - "Allgemeines".
5 Identifizierung des Bauprodukts
5.1 Mittel der Identifizierung
Alle Bestandteile einer Brandschutzfugenabdichtung oder Brandsperre sind in Übereinstimmung mit Abschnitt 5 von Teil 1 dieser Leitlinie - "Allgemeines" eindeutig zu identifizieren. Soweit es möglich ist, sollte eine harmonisierte europäische technische Spezifikation zum Identifizieren der Bestandteile verwendet werden. Wenn das Produkt ein reaktives Material ist, ist der Technische Bericht der EOTa Nr. 024 zu berücksichtigen. Zu Produkten, die von keiner harmonisierten europäischen technischen Spezifikation und auch nicht von dem Technischen Bericht der EOTa Nr. 024 erfasst werden, siehe Teil 1- "Allgemeines" sowie die folgenden Hinweise:
Wenn die Option "Fingerprint" verwendet wird, sind für die meisten Produkte eine IR (Infra-Rot-Spektroskopie) und zusätzlich eine TGa (Thermogravimetrische Analyse) oder eine DTa (Differenzthermoanalyse) die geeigneten Verfahren 20).
Alternativ oder zusätzlich dazu kann der Antragsteller, oder eine dritte Partei auf dessen Aufforderung hin, die Rezeptur der Zulassungsstelle für Identifizierungszwecke zugänglich machen 20).
Zum Prüfen der physikalischen Eigenschaften sind - je nach Art des Produktes - die in Tabelle 5 aufgeführten Eigenschaften zu bestimmen. Die angegebenen Prüfverfahren sind lediglich Empfehlungen 20).
Die Beschreibung des Aussehens, der Materialart und Abmessungen sind hilfreiche Informationen zur Identifikation.
Zeichnungen sind insbesondere für geformte Produkte hilfreich und solche, die aus geformten Bestandteilen bestehen oder für Produkte, für die eine bestimmte geometrische Form oder bestimmte Abmessungen usw. charakteristisch sind.
In vielen Fällen sind die genannten Optionen zu kombinieren, um alle notwendigen Aspekte abzudecken.
Tabelle 5 : Zur Prüfung der Produktidentität herangezogene Produktmerkmale, Nachweisverfahren und Kriterien
Tabelle 5.1: Gewebe
| Nr. | Produktmerkmal | Nachweisverfahren |
| 1 | Abmessungen, sofern relevant | B.10 |
| 2 | Reißfestigkeit des Gewebes und, sofern relevant, der Nähte | B.5.4.1 |
| 3 | Flächengewicht des Gewebes | B.6.6 |
| 4 | Masse pro Längeneinheit des Nahtfadens, sofern relevant |
Tabelle 5.2: Vor-Ort-Schäume
| Nr. | Produktmerkmal | Nachweisverfahren |
| 1 | TGa oder DTa 21) | B.2 |
| 2 | Gehalt an nicht flüchtigen Anteilen 20) | B.3 |
| 3 | Masseverlust durch Erhitzen 20) | B.4 |
| 4 | Härtungsverhalten (Klebfreiheit) | B.9.1 |
| 5 | Dichte des gehärteten Schaums | B.6.2 |
| 6 | Schaumfaktor 20), sofern relevant |
EOTa TR 024, Abs. 3.1.11 |
Tabelle 5.3: Membranbildende Beschichtungen
| Nr. | Produktmerkmal | Nachweisverfahren |
| 1 | TGa oder DTa 21) | B.2 |
| 2 | Gehalt an nicht flüchtigen Anteilen 20) | B.3 |
| 3 | Masseverlust durch Erhitzen 20) | B.4 |
| 4 | Schaumfaktor 11), sofern relevant | EOTa TR 024, Abs. 3.1.11 |
Tabelle 5.4: Mineralfaserplattenlmatten und -streifen
| Nr. | Produktmerkmal | Nachweisverfahren |
| Gemäß EN 13162 hergestellte Mineralfaserplatten, -matten und -streifen 18) | ||
| 1 | siehe EN 13162 | |
| 2 | Rohdichte | B.6.3 |
| 3 | "Schmelzpunkt" | ein Verfahren aus B.8 |
| Mineralfaserplatten, -matten und -streifen, die nicht EN 13162 entsprechen | ||
| 1 | Rohdichte | B.6.3 |
| 2 | "Schmelzpunkt" | B.8 |
| 3 | Siehe EN 13162, Anhang B 22) | |
Tabelle 5.5: Mörtel (auf Zement- oder Gipsbasis)
| Nr. | Produktmerkmal | Nachweisverfahren |
| 1 | TGa oder DTa 21) | B.2 |
| 2 | Gehalt an nicht flüchtigen Anteilen 20) | B.3 |
| 3 | Masseverlust durch Erhitzen 20) | B.4 |
| 4 | Schüttdichte, unverdichtet | B.6.4 |
| 5 | Druckfestigkeit nach 28 Tagen (Zementbasis), sofern relevant | B.5.1 |
| 6 | Druckfestigkeit im vollständig getrockneten Zustand (Gipsbasis), sofern relevant | B.5.1 |
Tabelle 5.6: Fugendichtstoffe und Abdichtungskitte
| Nr. | Produktmerkmal | Nachweisverfahren |
| 1 | TGa oder DTa 21) | B.2 |
| 2 | Gehalt an nicht flüchtigen Anteilen 20) | B.3 |
| 3 | Masseverlust durch Erhitzen 20) | B.4 |
| 4 | Härte nach dem Aushärten, sofern relevant | B.5.3.1 |
| 5 | Schaumfaktor 11), sofern relevant | EOTa TR 024, Abs. 3.1.11 |
Tabelle 5.7: komprimierbare Streifen (einschließlich laminierte, imprägnierte oder aus Verbundbaustoffen)
| Nr. | Produktmerkmal | Nachweisverfahren |
| 1 | Abmessungen (einschließlich Schichten etc.) | B.10 |
| 2 | Dichte nach der Laminierung/ Imprägnierung (Imprägnierungsgrad etc.), sofern relevant | B.6.5 |
| 3 | Schaumfaktor 11), sofern relevant | EOTa TR 024, Abs. 3.1.11 |
Tabelle 5.8: Elastomerstreifen
| Nr. | Produktmerkmal | Nachweisverfahren |
| 1 | TGa oder DTa 21) | B.2 |
| 2 | Gehalt an nicht flüchtigen Anteilen 20) | B.3 |
| 3 | Masseverlust durch Erhitzen 20) | B.4 |
| 4 | Dichte des erhärteten Materials | B.6.5 |
| 5 | Zugfestigkeit | B.5.2.1 |
Tabelle 5.9: Selbstnivellierende Fugenfüllstoffe (nicht reaktiv)
Siehe Fugendichtstoffe.
5.2 Produktmerkmale, die für die Identifizierungsprüfung relevant sind
Siehe Tabellen 5.1 bis 5.9 und die in den Tabellen genannten zugehörigen Prüfverfahren im Anhang B.
6 Muster für die auf der Grundlage dieser Leitlinie zu erteilenden europäischen technischen Zulassungen
Europäische technische Zulassungen, die auf der Grundlage dieser Leitlinie erteilt werden, müssen dem in der Anlage zu dieser Leitlinie vorgegebenen Muster entsprechen.
7 Bezugsdokumente
Dieser 3. Teil der ETA-Leitlinie enthält Vorschriften aus anderen Veröffentlichungen, mit oder ohne Angabe des Ausgabejahres. Die Veröffentlichungen, auf die verwiesen wird, werden an den entsprechenden Stellen im Text erwähnt und sind nachstehend aufgeführt. Bei Hinweisen auf Bezugsdokumente mit Angabe des Ausgabejahres gelten Ergänzungen an oder Überarbeitungen von diesen Veröffentlichungen für diese Leitlinie nur dann, wenn sie durch Ergänzung oder Überarbeitung aufgenommen worden sind. Bei Bezugsdokumenten ohne Datumsangabe gilt die letzte Überarbeitung der Veröffentlichung, auf die Bezug genommen wird.
Weitere Hinweise zu den Bedingungen für die Aktualisierung siehe Vorwort des Teils 1 - "Allgemeines".
7.1 Dokumente der Europäischen Kommission
Entscheidung der Kommission 96/603/EG
Entscheidung der Kommission vom 4. Oktober 1996 zur Festlegung eines Verzeichnisses von Produkten, die in die Kategorien a "Kein Beitrag zum Brand" gemäß der Entscheidung 94/611 /EG zur Durchführung von Artikel 20 der Richtlinie 89/106/EWG des Rates über Bauprodukte einzustufen sind
Entscheidung der Kommission 2000/605/EG
Entscheidung der Kommission vom 26. September 2000 zur Änderung der Entscheidung 96/603/EG zur Festlegung eines Verzeichnisses von Produkten, die in die Kategorien a "Kein Beitrag zum Brand" gemäß der Entscheidung 94/611/EG zur Durchführung von Artikel 20 der Richtlinie 89/106/EWG des Rates über Bauprodukte einzustufen sind
Entscheidung der Kommission 2003/424/EG
Entscheidung der Kommission vom 6. Juni 2003 zur Änderung der Entscheidung 96/603/EG zur Festlegung eines Verzeichnisses von Produkten, die in die Kategorien a "Kein Beitrag zum Brand" gemäß der Entscheidung 94/611/EG zur Durchführung von Artikel 20 der Richtlinie 89/106/EWG des Rates über Bauprodukte einzustufen sind
7.2 Produktspezifikationen
| EN 1396 | Aluminium und Aluminiumlegierungen Bandbeschichtete Bleche und Bänder für allgemeine Anwendungen Spezifikationen |
| EN 10088 | Nichtrostende Stähle -
Teil 1: Verzeichnis der nichtrostenden Stähle Teil 2: Technische Lieferbedingungen für Blech und Band aus korrosionsbeständigen Stählen für allgemeine Verwendung Teil 3: Technische Lieferbedingungen für Halbzeug, Stäbe, Walzdraht, gezogenen Draht, Profile und Blankstahlerzeugnisse aus korrosionsbeständigen Stählen für allgemeine Verwendung |
| EN 10169 | Kontinuierlich organisch beschichtete (bandbeschichtete) Flacherzeugnisse aus Stahl -
Teil 1: Allgemeines (Definitionen, Werkstoffe, Grenzabweichungen, Prüfverfahren) Teil 2: Erzeugnisse für den Bauaußeneinsatz Teil 3: Erzeugnisse für den Bauinneneinsatz |
| EN 13162 | Wärmedämmstoffe für Gebäude - Werkmäßig hergestellte Produkte aus Mineralwolle (MW) - Spezifikation |
| EN 13245 | Kunststoffe - Profile aus weichmacherfreiem Poly(vinylchlorid) (PVC-U) für die Anwendung im Bauwesen -
Teil 1: Bezeichnung von hellfarbigen Profilen Teil 2: Profile für Wand- und Deckenbekleidungen für Innen- und Außenanwendung |
| EN ISO 12944 | Beschichtungsstoffe -Korrosionsschutz von Stahlbauten durch Beschichtungssysteme -
Teil 1: Allgemeine Einleitung Teil 2: Einteilung der Umgebungsbedingungen Teil 3: Grundregeln zur Gestaltung Teil 4: Arten von Oberflächen und Oberflächenvorbereitung Teil 5: Beschichtungssysteme Teil 6: Laborprüfungen zur Bewertung von Beschichtungssystemen Teil 7: Ausführung und Überwachung von Beschichtungsarbeiten Teil 8: Erarbeiten von Spezifikationen für Erstschutz und Instandhaltung |
| EN ISO 14713 | Schutz von Eisen- und Stahlkonstruktionen vor Korrosion - Zink- und Aluminiumüberzüge - Leitfäden |
7.3 Prüfverfahren und Klassifizierungsnormen
| EN 196-3 | Prüfverfahren für Zement -
Teil 3: Bestimmung der Erstarrungszeiten und der Raumbeständigkeit |
| EN 763 | Kunststoff-Rohrleitungs- und Schutzrohrsysteme - Spritzguss-Formstücke aus Thermoplasten - Verfahren für die visuelle Beurteilung der Einflüsse durch Warmlagerung |
| EN 1015-11 | Prüfverfahren für Mörtel für Mauerwerk
Teil 11: Bestimmung der Biegezug- und Druckfestigkeit von Festmörtel |
| EN 1026 | Fenster und Türen - Luftdurchlässigkeit - Prüfverfahren |
| EN 1364-3 | Feuerwiderstandsprüfungen für nichttragende Bauteile -
Teil 3: Vorhangfassaden - Vollständiger Aufbau |
| EN 1364-4 | Feuerwiderstandsprüfungen für nichttragende Bauteile -
Teil 4: Vorhangfassaden - partieller Aufbau |
| EN 1366-4 | Feuerwiderstandsprüfungen für Installationen
Teil 4: Abdichtungssysteme für Bauteilfugen |
| EN 1426 | Bitumen und bitumenhaltige Bindemittel - Bestimmung der Nadelpenetration |
| EN 1602 | Wärmedämmstoffe für das Bauwesen - Bestimmung der Rohdichte |
| EN 1634-3 | Feuerwiderstandsprüfungen für Tür- und Abschlusseinrichtungen
Teil 3: Rauchschutzabschlüsse |
| EN 12092 | Klebstoffe Bestimmung der Viskosität |
| EN 12154 | Vorhangfassaden - Schlagregendichtheit - Leistungsanforderungen und Klassifizierung |
| EN 12155 | Vorhangfassaden - Schlagregendichtheit - Laborprüfung unter Aufbringung von statischem Druck |
| EN 13238 | Prüfungen zum Brandverhalten von Bauprodukten Konditionierungsverfahren und allgemeine Regeln für die Auswahl von Trägerplatten |
| EN 13501-1 | Klassifizierung von Bauprodukten und Bauarten zu ihrem Brandverhalten -
Teil 1: Klassifizierung mit den Ergebnissen aus den Prüfungen zum Brandverhalten von Bauprodukten |
| EN 13501-2 | Klassifizierung von Bauprodukten und Bauarten zu ihrem Brandverhalten -
Teil 2: Klassifizierung mit den Ergebnissen aus den Feuerwiderstandsprüfungen, mit Ausnahme von Lüftungsanlagen |
| EN 13823 | Prüfungen zum Brandverhalten von Bauprodukten - Thermische Beanspruchung durch einen einzelnen brennenden Gegenstand für Bauprodukte mit Ausnahme von Bodenbelägen |
| EN 14706 | Wärmedämmstoffe für die Haustechnik und für betriebstechnische Anlagen - Bestimmung der oberen Anwendungsgrenztemperatur |
| EN ISO 2811 | Beschichtungsstoffe - Bestimmung der Dichte -
Teil 1: Pyknometer-Verfahren Teil 2: Tauchkörperverfahren Teil 3: Schwingungsverfahren |
| EN ISO 3219 | Kunststoffe - Polymere/Harze in flüssigem, emulgiertem oder dispergiertem Zustand - Bestimmung der Viskosität mit einem Rotationsviskosimeter bei definiertem Geschwindigkeitsgefälle |
| EN ISO 3251 | Beschichtungsstoffe und Kunststoffe - Bestimmung des Gehaltes an nichtflüchtigen Anteilen |
| EN ISO 3451 | Kunststoffe - Bestimmung der Asche -
Teil 1: Allgemeine Grundlagen Teil 4: Polyamide Teil 5: PVC |
| EN ISO 11925-2 | Prüfungen zum Brandverhalten von Bauprodukten
Teil 2: Entzündbarkeit bei direkter Flammeneinwirkung |
| EN ISO 13934-1 | Textilien - Zugeigenschaften von textilen Flächengebilden
Teil 1: Bestimmung der Höchstzugkraft und Höchstzugkraft-Dehnung mit dem Streifen-Zugversuch |
| EN ISO 13935 | Textilien - Zugversuche an Nähten in textilen Flächengebilden und Konfektionstextilien -
Teil 1: Bestimmung der Höchstzugkraft von Nähten mit dem Streifen-Zugversuch Teil 2: Bestimmung der Höchstzugkraft von Nähten mit dem Grab-Zugversuch |
| ISO 37 | Elastomere und thermoplastische Elastomere - Bestimmung der Zugfestigkeitseigenschaften |
| ISO 3049 | Gips; Bestimmung der physikalischen Eigenschaften von Gipsmehl |
| ISO 7389 | Hochbau - Fugendichtstoffe - Bestimmung des Rückstellvermögens von Dichtungsmassen |
| ISO 7390 | Hochbau - Fugendichtstoffe Bestimmung des Standvermögens von Dichtungsmassen |
| ISO 7619 | Elastomere oder thermoplastische Elastomere Bestimmung der Härte -
Teil 1: Durometer-Verfahren (Shore-Härte) Teil 2: IRHD-Taschengeräteverfahren |
| ISO 8339 | Hochbau - Fugendichtstoffe - Bestimmung des Zugverhaltens (Dehnung bis zum Bruch) |
| ISO 8340 | Hochbau - Fugendichtstoffe - Bestimmung des Zugverhaltens unter Vorspannung |
| ISO 9046 | Hochbau - Fugendichtstoffe - Bestimmung des Haft- und Dehnverhaltens von Dichtstoffen bei konstanter Temperatur |
| ISO 9047 | Hochbau - Fugendichtstoffe - Bestimmung des Haft- und Dehnverhaltens von Dichtstoffen bei unterschiedlichen Temperaturen |
| ISO 10563 | Hochbau - Fugendichtstoffe -- Bestimmung der Änderung von Masse und Volumen |
| ISO 11600 | Hochbau - Fugendichtstoffe - Einteilung und Anforderungen von Dichtungsmassen |
7.4 Andere Bezugdokumente
| EN ISO 13788 | Wärme- und feuchtetechnisches Verhalten von Bauteilen und Bauelementen - Raumseitige Oberflächentemperatur zur Vermeidung kritischer Oberflächenfeuchte und Tauwasserbildung im Bauteilinneren - Berechnungsverfahren |
| EOTa TR 001 | Determination of impact resistance of panels and panel assemblies |
| EOTa TR 024 | Characterisation, Aspects of Durability and Factory Production Control for Reactive Materials, Components and Products |
| ETAG 018-4 | Leitlinie für europäische technische Zulassungen für Brandschutzprodukte, Teil 4 "Produkte und Bausätze aus verformbaren und nicht verformbaren Brandschutzplatten und aus Brandschutzmatten" |
| ETAG 026-1 | Brandschutzprodukte zum Abdichten und Verschließen von Fugen und Öffnungen und zum Aufhalten von Feuer im Brandfall - Teil 1 "Allgemeines" |
| Festlegungen für Montage und Befestigung für die Prüfung des Brandverhaltens | Anhang A |
A.1 Prüfungen gemäß EN 13823 (SBI)
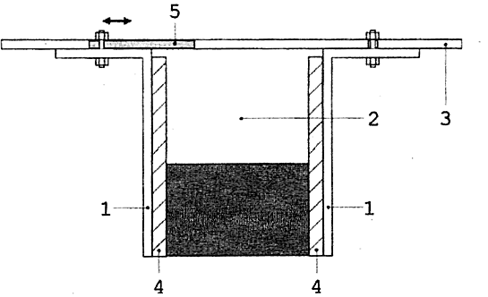
Für einige Gesetzgeber liegt bei linienförmigen Fugenabdichtungen das Hauptaugenmerk auf der vertikalen Brandausbreitung und der Brandausbreitung in Hohlräume hinein. Die vertikale Brandausbreitung stellt kein direktes Leistungsmerkmal im SBI-Test dar. Jedoch können bei Prüfung eines Prüfkörpers, der die gesamte SBI-Prüffläche ausfüllt (siehe Abbildung A.1) im Gegensatz zur normalen Ausführung der Fugenabdichtung die normalen SBI-Daten bei der Beurteilung des Potenzials zur vertikalen Brandausbreitung als Schwellenwert für FIGRa und THR genutzt werden, die sich auf die Situation beziehen, bei der potenziell der gesamte Prüfkörper zur Wärmeabgabe beiträgt.
Die Dicke jeder Komponente der Fugenabdichtung muss repräsentativ für die Einbausituation in der Praxis sein. Die maximale, in EN 13823 angegebene Dicke von 200 mm kann reduziert werden, wenn nach der Prüfung eine mindestens 10 mm dicke unbeeinflusste Schicht des Produkts oder der die Oberfläche bildenden Komponente verbleibt. 23)
In Bezug auf die Größe des Probekörpers wird in der Regel der in Abbildung A.1 gezeigte Standardprüfaufbau verwendet. 24)
Abb. A.1 - Standardprüfaufbau
Abmessungen in Millimeter

Legende
|
Prüffläche |
1 Abschlussplatte
2 Luftspalt
3 Trägerplatte
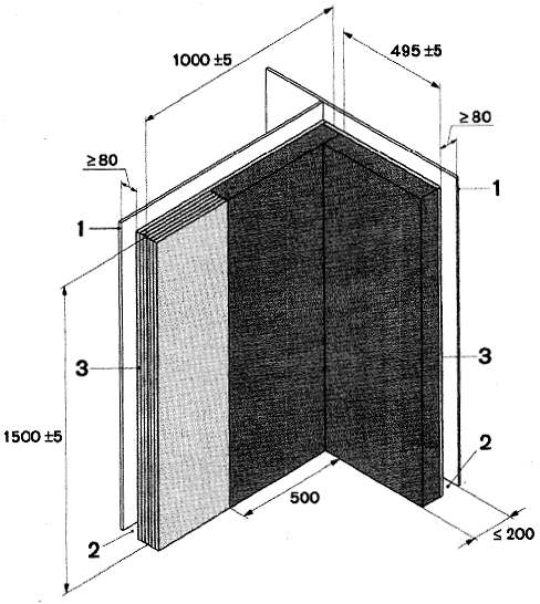
Wenn keine seitliche Brandausbreitung außerhalb der Fläche des langen mit dem Prüfmaterial bedeckten Flügels erwartet wird, kann wahlweise der Prüfaufbau nach Abbildung A.2 angewendet werden. Tritt während der Prüfung mit einem Prüfaufbau gemäß Abbildung A.2 seitliche Brandausbreitung außerhalb der beobachteten Fläche auf, muss die Prüfung mit dem Standardprüfaufbau gemäß Abbildung A.1 wiederholt werden.
In Fällen, bei denen sich der Prüfkörper aus einer großen Anzahl von relativ kleinen Teilen (z.B. Streifen) zusammensetzt, müssen die Teile von der Rückseite aus mechanisch an der Trägerplatte aus Calciumsilikat befestigt werden.
Abb. A.2 - Erweiterter Standardprüfaufbau
Abmessung in Millimeter
Legende
|
Prüffläche |
![]() |
Calciumsilikatplatte |
1 Abschlussplatten
2 Luftspalt
3 Trägerplatte
Bei Verwendung der Konfiguration gemäß Abbildung A.2 muss der Teil des Flügels, der nicht vom Prüfmaterial abgedeckt ist, aus einer Calciumsilikatplatte bestehen.
A.2 Prüfungen gemäß EN ISO 11925-2 (Kleinbrennertest)
Die Prüfung ist nach EN ISO 11925-2 durchzuführen, wobei folgende Bedingungen gelten:
Der verwendete Prüfkörper muss eine Fugenabdichtung simulieren. Die Fugenrandflächen bestehen aus Stahlwinkeln, Calciumsilikatplatte oder Faserzementplatte. Ein Beispiel für den Aufbau wird in Abbildung A.3 gezeigt.
Die Fugenabdichtung darf maximal so breit sein wie beantragt, höchstens jedoch 90 mm. Die Abdichtung ist ohne Hinterfüllung/Träger zu prüfen.
Es ist die kleinste und die größte Fugentiefe* aus dem Antrag zu verwenden. Ist die kleinste Tiefe geringer als 10 mm, muss eine Trägerplatte aus Calciumsilikat verwendet werden.
Jede Oberfläche, die in der Praxis der Beflammung ausgesetzt ist, ist zu prüfen.
Bei zwei benachbarten Flächen, die eine Kante bilden, die in der Praxis der Beflammung ausgesetzt ist, ist eine Kantenbeflammung durchzuführen.
Komprimierte Materialien: Die Prüfung ist mit der in der Kompression durchzuführen, die für die Praxis vorgesehen ist. Das Ergebnis ist gültig für diese oder höhere Kompressionsgrade.
Für filmbildende Beschichtungen auf Mineralwolle (Platten) ist Normmineralwollesubstrat gemäß EN 13238 zu verwenden. Die maximale, vom Antragsteller beantragte Beschichtungsdicke ist zu prüfen. Falls ein weiteres Substrat in der Praxis verwendet werden soll, ist dieses zu prüfen. Im letzteren Fall ist das Ergebnis nur für das Substrat gültig, das in der Prüfung verwendet wurde.
Abb. A.3 - Beispiel für den Prüfaufbau im Kleinbrennertest

Legende
|
Prüfkörper |
1 Stahlwinkel
2 Luftspalt
3 Deckplatte
4 Calciumsilikat(platten)
5 Schlitz zum Einstellen von verschiedenen Prüfbreiten und Kompressionsgraden
| Prüfverfahren | Anhang B |
B.1 IR (Infrarot-Spektroskopie)
Die IR Prüfung ist entsprechend den Angaben der Bedienungsanleitung des Gerätes durchzuführen. Wenn dieses Verfahren zur Identifizierung benutzt wird (Fingerprint) siehe für weitere Hinweise auch EOTa TR 024, Anhang C.
B.2 Thermoanalytische Verfahren
B.2.1 Thermogravimetrische Analyse (TGA) SieheEOTa TR 024, Anhang C.
Anmerkung:
Wenn dieses Verfahren zur Identifizierung angewendet wird, sind die angegebene Erwärmungsgeschwindigkeit, die Größe des Prüfkörpers, das Material des Tiegels und das Spülgas unbedingt einzuhalten.
B.2.2 Differenzial-Thermo-Analyse (DTA)
Anmerkung:
Dieses Verfahren ist für dämmschichtbildende Baustoffe weniger geeignet als die TGA, insbesondere für den "Fingerprint".
B.3 Gehalt an nicht flüchtigen Anteilen
Prüfung gemäß EN ISO 3251.
Der für die Identifizierung angegebene Wert muss dem Mittelwert aus mindestens drei Proben entsprechen.
B.4 Masseverlust durch Erhitzen
Prüfung gemäß EN ISO 3451-1, wobei folgende Bedingungen gelten: Da der Masseverlust durch Erhitzen ein Materialmerkmal darstellt, sollten nach Möglichkeit Schutzfolien oder Beschichtungen entfernt werden. Wenn das Produkt mit einer Schutzfolie oder Beschichtung geprüft wird, sollte dies festgehalten werden, um die Vergleichbarkeit mit zukünftigen Prüfungen sicherzustellen.
Der für die Identifizierung erklärte Wert soll der Mittelwert von mindestens drei Proben sein.
Anmerkung:
Die Norm wurde für Kunststoffe verfasst, andere Materialien können aber ebenfalls in Anlehnung an die Norm geprüft werden.
B.5 Mechanische Eigenschaften
B.5.1 Druckfestigkeit
B.5.1.1 Mörtel (auf Zementbasis)
Prüfung gemäß EN ISO 1015-11.
In Abhängigkeit davon, ob frühhochfester oder normaler Zement verwendet wird, kann die Festigkeit bei 3, 7 oder 28 Tagen ermittelt werden.
B.5.1.2 Putz (auf Gipsbasis)
Prüfung gemäß EN ISO 1015-11.
Dieses Verfahren kann auch für Produkte auf Gipsbasis verwendet werden. Das Produkt ist zu prüfen nach 24 Stunden, nach vollständiger Sättigung und nach Ofentrocknung bis zum Erreichen der Massekonstanz bei 30 bis 35 °C.
B.5.2 Zugfestigkeit
Gummi, Elastomerstreifen
Prüfung gemäß ISO 37 oder EN ISO 527-2.
B.5.3 Härte
B.5.3.1 Fugenabdichtungsstoffe (ausgehärtet)
Prüfung gemäß ISO 7619-1 oder EN ISO 7619-2.
B.5.3.2 Vorgefertigte geschäumte Produkte
Es ist ein Gerät zur Messung der Eindringtiefe zu verwenden, das an der Spitze mit einer Stahlkugel von geeignetem Durchmesser versehen ist. Die Kugel wird auf der Oberfläche der Probe positioniert (frisch geschnittene Oberfläche) und dringt dann mit Hilfe eines oben aufgelegten geeigneten Gewichts in das Material ein. Die Eindringtiefe in die Probe wird bestimmt und in mm angegeben.
Oder EN 1426.
B.5.4 Reißfestigkeit
B.5.4.1 Gewebe
EN ISO 13934-1.
B.5.4.2 Naht
EN ISO 13935-1 oder EN ISO 13935-2.
B.6 Rohdichte
B.6.1 Dichtstoffe, filmbildende Beschichtungen und andere pastöse Baustoffe
Dichtstoffe, Beschichtungen und andere pastöse Baustoffe können in Anlehnung an EN ISO 2811-1 (Pyknometer) geprüft werden. Es sind der Mittelwert von 3 Proben und die Standardabweichung anzugeben.
Für die WPK ist auch EN ISO 2811-2 ein geeignetes Verfahren.
B.6.2 Schäume (vor Ort aufgebracht, in gehärtetem Zustand)
Ein (mit Paraffin beschichteter) Pappbecher wird mit dem Schaum gefüllt (es sollen dabei keine Löcher und Hohlräume entstehen). Der Schaum wird nach dem Härten an der Kante des Bechers abgeschnitten. Die Probe wird bei Umgebungstemperatur verwahrt. Rohdichte = Gesamtmasse - Masse des Bechers/Volumen des Bechers (kg/m3). Es sind der Mittelwert von 3 Proben und die Standardabweichung anzugeben.
B.6.3 Mineralwolle
Prüfung gemäß EN 1602.
B.6.4 Schüttdichte, trocken und unverdichtet (Mörtel)
Prüfung gemäß ISO 3049, unter folgendem Vorbehalt:
wenn bei Vorbereitung des Prüfkörpers der Baustoff nicht durch ein 2-mm-Sieb geht.
B.6.5 Vorgefertigte, geschäumte Produkte
Die Dichte wird aus der Masse und dem Volumen der Probe errechnet. Die Masse der Probe ist mit einer Waage zu bestimmen, deren Messgenauigkeit 0,1 g beträgt. Die Abmessungen können auf den nächsten Millimeter gerundet bestimmt werden, wobei für Produkte mit gleichmäßiger Form ein Längenmaßstab verwendet wird, oder das Volumen wird mit Hilfe einer Wasserverdrängungstechnik bestimmt.
B.6.6 Flächengewicht von Geweben
Prüfung gemäß EN 29073-1.
B.7 Viskosität
B.7.1 Flüssigkeiten mit hoher Viskosität
Prüfung gemäß EN ISO 3219.
B.7.2 Flüssigkeiten mit niedriger Viskosität
Prüfung gemäß EN 12092.
B.8 "Schmelzpunkt" von Mineralwolle
B.8.1 Visuelles Verfahren
Ein Probestück Mineralwolle
Verfahren:
Eine Probe der Mineralwolle ist bei 550 ± 10 °C (Glaswolle) in einem Muffelofen vorzubehandeln, bis alle organischen Bestandteile eliminiert sind. Aus der vorbehandelten Probe sind Probewürfel von 10 mm x 10 mm x 10 mm auszuschneiden.
Die würfelförmigen Prüfkörper sind in einen Brennofen mit einem Innendurchmesser von 25 mm einzusetzen, der auf eine Temperatur von etwa 30 K unter der erwarteten Schmelztemperatur vorgeheizt ist. Dabei ist der Probewürfel auf einen geeigneten Träger (z.B. Metall- oder Keramikstift oder Spatel) zu setzen, der außerhalb des Ofens gestützt wird. Der Prüfkörper ist langsam in die Ofenmitte zu schieben, wo ein Temperatursensor angebracht ist.
Der Probekörper ist für 10 Minuten in dieser Lage zu belassen. Dann ist der Probekörper vorsichtig aus dem Ofen zu entnehmen und es ist zu prüfen, ob der Probekörper bereits geschmolzen ist. Die Temperatur ist aufzuzeichnen.
Ist der Probekörper unverändert, wird die Ofentemperatur um 10 K erhöht. Nachdem sich die Temperatur stabilisiert hat, ist die Prüfung mit einem neuen Probekörper zu wiederholen.
Ist der Probekörper geschmolzen, ist die Temperatur um 10 K abzusenken und die Prüfung mit einem neuen Probekörper zu wiederholen. Die Temperatur, bei der der Prüfkörper zu schmelzen beginnt, wird "Schmelzpunkt" genannt.
Die Abmessungen des Innendurchmessers des Brennofens und der Prüfkörper kann geändert werden, vorausgesetzt, das Verhältnis der Abmessungen wird konstant gehalten.
Abb. B.1 - Prüfaufbau zur Bestimmung des Schmelzpunktes

B.8.2 Thermoanalytische Verfahren (für die WPK)
Es können alle thermoanalytischen Verfahren verwendet werden, z.B. DTa oder TGA.
B.8.3 Chemische Analyse (für die WPK)
Die Einzelheiten (Definition der zu bestimmenden Elemente/Bestandteile) sind zwischen der EOTA-Stelle und dem Hersteller zu vereinbaren und in den Begleitdokumenten der ETa niederzulegen.
B.8.4 Bestimmung des Schmelzpunktes von Dämmmaterial aus Mineralfasern
Dieses Verfahren ist geeignet, um bei Mineralfaserbaustoffen zu prüfen, inwieweit ihr "Schmelzpunkt" unter einer Temperatur von 1000 °C liegt. Vorbereitung:
Für jeden Mineralfaserbaustoff sind 2 trockene Proben zu verwenden. Es sind Probekörper von 500 mm x 500 mm zu schneiden. Die maximale Dicke soll 80 mm betragen. Die Proben sind bei 23 ± 2 °C und 50 f 5 % relative Luftfeuchte bis zum Ausgleich (Änderung der Masse weniger als 0,1 % innerhalb 24 h) zu lagern.
Es ist eine Stahlplatte der Größe 200 mm x 200 mm mit einer Masse von 0,4 kg (bewirkt einen Druck von 0,1 kN/Hinz) aufzulegen, die in der Mitte ein Loch zur Bestimmung der Baustoffdicke hat. Es ist auf den vollen Millimeter aufzurunden.
Die Dichte jedes Prüfkörpers wird berechnet aus Masse und geometrischen Abmessungen. Prüfung:
Beide Seiten jedes Prüfkörpers sind mit einer Stahlplatte von 1 mm Dicke zu bedecken und vertikal in einen Kleinbrennerofen (z.B. nach DIN 4102-8) einzubauen. Die Prüfkörper sind 90 Minuten lang einer Temperaturbeanspruchung nach Einheitstemperaturkurve gemäß EN 13501-2, Abs. 4.2 auszusetzen.
Nach der Beanspruchung ist die Dicke erneut zu messen (siehe Vorbereitung).
Prüfbericht und Auswertung:
Folgende Angaben sind aufzuzeichnen:
![]() |
weiter . | ![]() |
(Stand: 16.06.2018)
Alle vollständigen Texte in der aktuellen Fassung im Jahresabonnement
Nutzungsgebühr: ab 105.- € netto
(derzeit ca. 7200 Titel s.Übersicht - keine Unterteilung in Fachbereiche)
Die Zugangskennung wird kurzfristig übermittelt
? Fragen ?
Abonnentenzugang/Volltextversion