umwelt-online: ETAG 026 - Teil 3: Linienförmige Fugenabdichtungen und Brandsperren (3)
![]() |
zurück | ![]() |
B.9 Verhalten beim Aushärten
B.9.1 Zeit bis zur Klebfreiheit von Schäumen
Eine geeignete Menge des Materials wird in einen Becher gedrückt. In geeigneten Abständen wird die Oberfläche des Schaums mit einem Holzspatel berührt. Die Klebfreiheit ist erreicht, wenn kein Schaum mehr auf dem Spatel verbleibt.
B.9.2 Abbindezeit von Mörtel
Prüfung gemäß EN 196-3, unter folgendem Vorbehalt:
B.10 Abmessungen
B.10.1 Dicke
Die Dicke von Produkten wie Platten, Bleche, Streifen, Gewebe, Folien usw. wird mit Hilfe eines geeigneten Messwerkzeugs an 5 Stellen der Probe auf die nächsten 0,1 mm gerundet bestimmt. Die Mindestgröße der Probe beträgt 10 cm x 10 cm, für Gewebestreifen die Mindestlänge 50 cm.
Für Folien und ähnliche Produkte ist die Dicke auf die nächsten 0,01 mm genau zu bestimmen.
B.10.2 Weitere Abmessungen
Die Abmessungen sind mittels einer geeigneten Lehre mit einer Genauigkeit von 0,5 % zu ermitteln.
B.11 Maßhaltigkeit
B.11.1 Schäume
B.11.1.1 Allgemeines
Maßhaltigkeit ist ein Maß für die Beständigkeit eines ausgehärteten Schaums gegen Schrumpfen oder Nachschäumen, so wie es in dieser Prüfung ermittelt wird. Die folgende Beschreibung gibt an, wie Maßhaltigkeit in einer geregelten Prüfeinrichtung zu messen ist.
B.11.1.2 Erforderliche Prüfausrüstung
B.11.1.3 Versuchsdurchführung
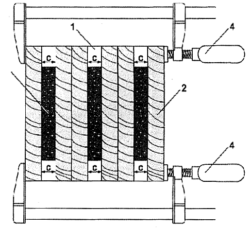
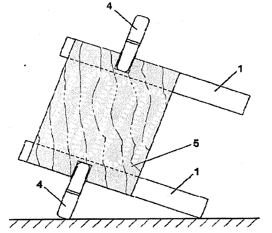
Der Schaum, das Applikationsgerät und der Untergrund sind gemäß EN 13238 bis zu einer konstanten Masse zu konditionieren. Es sind drei Probekörper gemäß den Abbildungen B.2 und B.3 herzustellen. Es ist darauf zu achten, dass die Schraubzwingen direkt an den Abstandshaltern sitzen, so dass sie nicht die Baugruppe zusammendrücken. Der Probekörper soll eine Fuge in der geforderten Breite von etwa 20 mm besitzen. Die schaumbedeckte Nettofläche soll etwa 100 mm x 100 mm betragen. Abbildung B.4 zeigt, wie der Aufbau während des Ausschäumens gelagert und wie der Schaum eingebracht werden soll. Die geraute Seite ist zum Schaum hin zu verwenden. Es ist nochmals darauf zu achten, dass die Schraubzwingen direkt an den Abstandshaltern sitzen. Nach 24 Stunden sind die Schraubzwingen und die Abstandshalter zu entfernen. Der überstehende Schaum, der aus dem Innern der Baugruppe herausgedrückt wurde, ist abzuschneiden, sodass er mit den Kanten des Sperrholzes abschließt. Der anfängliche innere Abstand zwischen den Sperrholzplatten ist auszumessen. Nach der Messung ist die Baugruppe in den erforderlichen Prüfklimaten zu lagern.
Die Prüfklimate sind:
(40 ± 2)°C / (90 ± 5) % relative Luftfeuchtigkeit
(30 ± 2)°C / (30 ± 5) % relative Luftfeuchtigkeit
B.11.1.4 Auswertung
Am 7. und 14. Tag ist der Probekörper aus der jeweiligen Versuchskammer zu entnehmen und mindestens 2 Stunden bei Standard-Bedingungen gemäß EN 13238 zu lagern. An den vier Ecken ist der Abstand zwischen den Platten - so dicht wie möglich an den inneren Schaum-Oberflächen - zu messen (Abstand "c" in Abbildung B.3). Wahlweise kann der Abstand - sofern Unregelmäßigkeiten in den Oberflächen vorhanden sind - genau in der Mitte des Probekörpers gemessen werden; dort wo die zwei Abstandshalter platziert sind (Abbildung B.4). Nach der ersten Messung sind die Probekörper wieder in die betreffende Versuchskammer zurückzulegen.
B.11.1.5 Berechnung der Maßhaltigkeit
Die Maßhaltigkeit d wird als prozentuale Änderung in den Abmessungen der Baugruppe berechnet:
d = (b/c x 100) - 100 (in %)
b (mm) = gemessene Breite des Spaltes nach der Lagerung in der Versuchskammer
c (mm) = Anfangswert vor Lagerung
Die Maßhaltigkeit d eines Probekörpers ergibt sich aus dem Mittelwert der vier bzw. zwei Messstellen. Der Mittelwert jeder Baugruppe und der Mittelwert aus allen Baugruppen sowie zusätzlich die Standardabweichung sind aufzuzeichnen.
Der Gesamt-Mittelwert ist zusammen mit seiner Standardabweichung anzugeben.
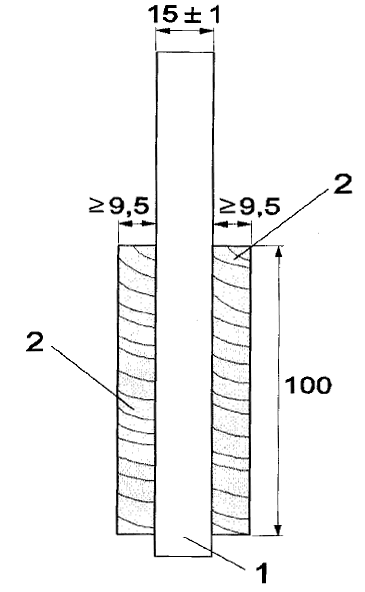
Abb. B.2 - Prüfkörper zur Bestimmung der Maßhaltigkeit - Seitenansicht
Abmessungen in Millimeter
![]() |
![]() |
Legende
1 Abstandshalter
2 Sperrholz
* Stellen, an denen die Dicke nach der Beanspruchung zu bestimmen ist
Abb. B.3 - Prüfkörper zur Bestimmung der Maßhaltigkeit- Draufsicht
Abmessungen in Millimeter

Legende
1 Abstandshalter
2 Sperrholz
3 Schaum
4 Schraubzwingen
c Abmessungen der Probekörper nach der Beanspruchung bestimmt
Abb. B.4 - Aufbau zum Einschäumen
Abmessungen in mm
Legende
1 Abstandshalter
4 Schraubzwingen
5 Ansatzpunkt für das Einschäumen
B.11.2 Quellverhalten beim Abbinden
B.11.2.1 Allgemeines
Das Quellverhalten beim Abbinden ist bei einer kontinuierlichen Feucht-Lagerung mit Hilfe eines einfachen, in Abschnitt B.11.2.2 beschriebenen Extensometers zu bestimmen. Der pure Gipsmörtel ist vor der Prüfung gemäß Abschnitt B.11.2.5 in Standardkonsistenz zu stabilisieren.
B.11.2.2 Extensometer
Das Extensometer besitzt eine offene V-förmige Mulde, die an einem Ende durch eine befestigte und am anderen Ende durch eine bewegliche Platte verschlossen mit einer Messeinrichtung versehen ist, die eine genaue Ablesung auf 1/100 mm erlaubt (siehe Abbildung B.5). Die Mulde ist aus Messing oder Bronze, 100 mm lang, ungefähr 60 mm breit und 25 mm tief, mit einem gewölbten Boden. Die Rückstell-Feder soll leicht und freibeweglich sein.
Um zu verhindern, dass der Gipsmörtel seitlich an der Form kleben bleibt, ist die Mulde vor der Verwendung einzufetten und im Innern mit einem dünnen, nicht absorbierenden Papier mit Oberflächenversiegelung auszulegen. Die Papierauskleidung ist vor jeder Prüfung zu erneuern. Der Gipsmörtel ist gleichmäßig in die Mulde einzufüllen, wobei die bewegliche Platte am Ende festzuhalten ist, bis er mit der Oberkante der Mulde glatt abschließt.
Abb. B.5 - Extensometer
B.11.2.3 Einstellen der Ausgangslage/Null-Lage
Die bewegliche Platte ist sehr langsam vorwärts bis zum Anschlag zu führen, um einen Rückschlag zu vermeiden. Der Mörtel muss fest an der beweglichen Platte anliegen. Auf dem Zifferblatt ist die Ausgangslage/Null-Lage einzustellen bzw. zu markieren.
B.11.2.4 Eichung und Messung
Eine Menge von ungefähr 200 g Gipstrockenmörtel ist angemessen. Diese wird mit soviel Wasser angemacht, dass man die in B.11.2.6 beschriebene Standardkonsistenz erhält. Der abgemessene Mörtel wird sofort in die Muldenform des Extensometers gefüllt und eine Nulleinstellung wie in B.11.2.3 beschrieben justiert. Das Extensometer ist in einen Feuchteschrank zu setzen und die Nullstellung abzulesen. Nach 24 Stunden ungestörtem Verbleib ist eine Endablesung vorzunehmen. Die prozentuale Längenausdehnung ist zu berechnen:
Prozentuale Längenausdehnung = (Differenz der Abmessungen in 1/100 mm ) / 100
B.11.2.5 Vorgehen zur Stabilisierung des Mörtels
Der Mörtel, ausgebracht als Schicht von höchstens 12 mm, ist 3 bis 4 Tage einer Atmosphäre von 65 ± 3 % relativer Luftfeuchte bei 20 ± 5 °C bei starker Luftbewegung über den Probekörpern auszusetzen.
Falls kein klimatisierter Raum zur Verfügung steht, kann die Luftfeuchte über einer breiten flachen Schale mit gesättigter Ammoniumnitrat-Lösung, die noch etwas ungelöstes Salz enthält, aufrechterhalten werden. Diese ist in einen dicht schließenden Schrank zu stellen. Die Luftzirkulation in dem Schrank über der Salzlösung und der Mörtelprobe ist zu gewährleisten.
B.11.2.6 Standardkonsistenz
Die Standardkonsistenz ist mittels Fallkugelpenetrometers (Fallkugeleindringgerät) genau zu bestimmen, wie weiter unten beschrieben.
Eine ringförmige Form aus starrem Material mit einem Innendurchmesser von 100 mm und 25 mm innerer Ringhöhe ist mit der Mörtelmasse zu füllen. Dazu ist die Form auf eine nicht poröse Platte zu stellen. Mit einem biegsamen Spachtel ist die Masse in etwa 10 Portionen so einzufüllen, dass dabei Lunker und Luftblasen vermieden werden. Die Oberfläche ist glatt am Formenrand abzustreichen.
Man lässt eine Kugel aus Methylacrylat mit einem Durchmesser von 25 mm und einer Masse von 9,8 ± 1 g aus einer Höhe von 250 mm - gemessen von Unterseite der Kugel bis zur Oberfläche der Mörtelpaste - fallen, sodass sie etwa in die Mitte des Rings fällt. Aufgezeichnet wird das Eindringen als Abstand vom tiefsten Eindringpunkt der Kugel bis zur Ausgangsoberfläche des Materials.
Die Eindringtiefe ist durch ein geeignetes Verfahren zu messen.
Die Mörtelpaste hat die richtige Konsistenz, wenn die Kugel 15 bis 16 mm eindringt.
Wenn vorzeitiges Ersteifen auftritt, kann dem Anmachwasser für die Bestimmung der Konsistenz 0,1 g Natriumcitrat hinzugefügt werden.
B.12 Visuelle Prüfung
Das äußere Erscheinungsbild des Produktes ist bezüglich der Änderung von z.B. Farbe, Oberflächenstruktur, Form und dem Vorhandensein von Rissen, Spalten usw. zu überprüfen. Sofern sich Änderungen des äußeren Erscheinungsbildes nicht in den Ergebnissen der Prüfungen der anderen Eigenschaften gemäß Abschnitt 2.4.13.1.1.3.2 widerspiegeln, sind die möglichen Folgen der Änderung des Erscheinungsbildes bezüglich der Dauerhaftigkeit im Einzelfall zu bewerten.
B.13 Verfahren für die Ermittlung des Bewegungsvermögens
B.13.1 Allgemeines
Dieser Abschnitt gilt nur für Fugenabdichtungen, deren vorgesehenes Bewegungsvermögen> 7,5 % ist.
Für die Bestimmung des Bewegungsvermögens aller Produkttypen ist eine Zyklusprüfung vorgesehen, außer für Fugendichtstoffe und Dichtungskitte. Für diese wird das Verfahren in ISO 11600 verwendet.
Der Grundsatz dieser Prüfung ist es, eine Fugenabdichtung von mindestens 300 mm Länge, der größten vorgesehenen Nennbreite und entsprechender Tiefe nachzubilden. Die Prüfkörper sind einer Beanspruchung von mindestens 500 Wiederholungen und einer Häufigkeit von mindestens 0,1 cpm und einer Amplitude, die dem vorgesehenen Bewegungsvermögen entspricht, zu unterziehen. Die Bewegung kann eine Längs- oder Scherbewegung sein.
Die Temperatur des Versuchsaufbaus soll im Bereich von (23 + 5) °C beibehalten werden.
Nach dem Beanspruchungszyklus soll sich die Prüfkonstruktion vor der Beurteilung des Prüfkörpers eine Stunde lang ohne Störung stabilisieren. Versagenskriterien sind Kohäsion- oder Adhäsionsversagen, Versagen der Befestigungen bei den Fugenabdichtungstypen AF, MF und Sa und das Ablösen bei Abdichtungstyp FF wird in horizontaler Lage beansprucht. Nach der Ruhephase, die dem Beanspruchungszyklus folgt, ist der Prüfkörper aufrecht zu stellen und zu prüfen, ob die Abdichtung an Ort und Stelle geblieben ist.
B.13.2 Haftende Produkte (AF)
Die maximal vorgesehene Nennbereite der Fuge ist für diese Prüfung vorzusehen. Das Produkt muss der Praxis entsprechend eingebaut werden hinsichtlich Fugentiefe im Verhältnis zur gewählten Fugenbreite (in der Fuge befestigt) oder zum Fugenüberstand (Oberflächenbefestigung), Abdichtungstyp und Klebermenge und Oberflächenvorbereitung der Fugenflächen (z.B. Grundierung).
B.13.3 Kraftschlüssig befestigte Produkte (FF)
Die maximal vorgesehene Nennbreite der Fuge ist für diese Prüfung vorzusehen. Das Produkt muss der Praxis entsprechend eingebaut werden hinsichtlich Fugentiefe im Verhältnis zur gewählten Fugenbreite und dem Kompressionsgrad.
B.13.4 Mechanisch befestigte Produkte (MF)
Die maximal vorgesehene Nennbreite der Fuge ist für diese Prüfung vorzusehen. Das Produkt muss der Praxis entsprechend eingebaut werden hinsichtlich Fugentiefe im Verhältnis zur gewählten Fugenbreite (in der Fuge befestigt) oder zum Fugenüberstand (Oberflächenbefestigung), Abdichtungstyp, Positionierung der Befestigungsmittel sowie Mindestanzahl und Mindestabstand der Befestigungsmittel. Falls erforderlich, kann der Prüfkörper verlängert werden, um ihn mit der Befestigung zu versehen.
B.13.5 Selbsthaftende Produkte (SA)
B.13.5.1 Fugendichtstoffe und Abdichtungskitte
Die folgenden Prüfungen sind durchzuführen, um eine Klassifizierung nach ISO 11600 zu erhalten: Für alle Arten:
| Für Materialien mit einem erwarteten Bewegungsvermögen mc> 12,5 % (elastische Materialien): |
Für Materialien mit einem erwarteten Bewegungsvermögen mc < 12,5 % (plastische Materialien): |
|
|
|
|
B.13.5.2 Weitere
Die maximal vorgesehene Nennbreite der Fuge ist für diese Prüfung vorzusehen. Das Produkt muss der Praxis entsprechend eingebaut werden hinsichtlich Fugentiefe im Verhältnis zur gewählten Fugenbreite (in der Fuge befestigt) oder zum Fugenüberstand (Oberflächenbefestigung) und hinsichtlich Oberflächenvorbereitung der Fugenflächen (z.B. Grundierung).
B.14 Bleibende Druckverformung
Diese Prüfung wird mit der gleichen Art und Größe von Prüfkörpern durchgeführt wie für die Wechselbeanspruchung zur Bestimmung des Bewegungsvermögens, nur dass der Prüfkörper nicht wechselnd beansprucht, sondern mit einer statischen Last belastet wird, die dem vorgesehenen Bewegungsvermögen entspricht. Nach 24 Stunden unter Belastung wird der Prüfkörper auf Nennbreite entlastet. Es werden das gleiche Verfahren und die gleichen Versagenskriterien angewendet wie für die Wechselbeanspruchung zur Bestimmung des Bewegungsvermögens.
B.15 Bestimmung einer "Minderungsrate"
Der Prüfkörper muss eine Mindestlänge von 200 mm, eine Mindestbreite und Tiefe von 100 mm haben. Wenn die Prüfkörperoberfläche durch Schneiden erzeugt wurde, ist sie von losen Partikeln zu reinigen. Die Gesamtoberflächengröße ist, ausgedrückt in m2, zu bestimmen. Danach ist der Prüfkörper gemäß EN 3238 bis zur Massekonstanz zu konditionieren. Die Masse, auf 0,01 g bestimmt, ist zu protokollieren.
Nach Beanspruchung durch das Prüfklima ist der Prüfkörper von losen Partikeln zu befreien und auf 0,01 g zu wägen. Die "Minderungsrate" wird berechnet:
"Minderungsrate" = (Masse vor (in g) - Masse nach (in g)) / (Oberfläche(in m2) x Beanspruchungsdauer (in h) x 8760) * (g/m2. a)
| Wasserdurchlässigkeit - Prüfverfahren | Anhang C |
C.1 Prüfverfahren zur Simulation der Verwendung im Außenbereich (Regen)
Es ist gemäß EN 12155 unter Verwendung der Klassen aus EN 12154 als Nutzungskategorien mit vorbehaltlich des Folgenden zu prüfen:
Es ist eine für das Brandschutzprodukt zum Abdichten und Verschließen von Öffnungen und zum Aufhalten von Feuer im Brandfall repräsentative Fuge, entsprechend der Einbauanweisungen des Herstellers ausgeführt, zu verwenden. Sofern ein Anschlussstoß erforderlich ist, um eine längere Fugenabdichtung auszuführen, sollte ein einzelner Anschlussstoß in den Probekörper integriert werden. Die Länge der Fugenabdichtung muss mindestens 1m betragen. Da die Wasserdichtheit immer für die gesamte Fugenabdichtung relevant ist und nicht nur für das Abdichtungsmaterial, ist die Übergangsstelle mit zu prüfen, d. h. die beanspruchte Unterkonstruktion muss dargestellt werden (z.B. Stahl, dichter Beton, Porenbeton usw.). Diese Darstellung kann erreicht werden, indem für eine Fugenseite ein weiterer Baustoff verwendet wird.
C.2 Prüfverfahren zur Simulation der Verwendung im Innenbereich (Wasserdruckprüfung)
C.2.1 Probe
Es ist eine für das Brandschutzprodukt zum Abdichten und Verschließen von Öffnungen und zum Aufhalten von Feuer im Brandfall repräsentative Fuge, entsprechend der Einbauanweisungen des Herstellers ausgeführt, zu verwenden. Sofern ein Anschlussstoß erforderlich ist, um eine längere Fugenabdichtung auszuführen, sollte ein einzelner Anschlussstoß in den Probekörper integriert werden.
C.2.2 Konditionierung
Der Prüfkörper muss in Übereinstimmung mit EN 13238 bis zur Massekonstanz konditioniert werden.
C.2.3 Versuchseinrichtung
Die Einrichtung zum Prüfen der Wasserdurchlässigkeit muss aus einem Behälter, der an beiden Enden offen ist, bestehen und der an einem Ende wasserdicht mit dem Probekörper abschließt. Der Behälter soll einen Probekörper mit einer Länge von mindestens 1 m und der vorgesehenen Breite sowie ausreichend Teile der Tragekonstruktion aufnehmen.
C.2.4 Versuchsdurchführung
Die Einrichtung zum Prüfen der Wasserdurchlässigkeit muss gegenüber dem Probekörper mit einer nicht erhärtenden Dichtungsmasse, drucksensiblen Klebebändern oder Gummidichtungen mit Klemmeinrichtung abgedichtet werden.
Wasser mit permanent färbenden Partikeln ist in die Wasserdurchlässigkeitsprüfungskammer zu bringen. Das Wasser soll die Fugenabdichtung bis zu der Höhe überdecken, die mit dem vorgesehenen Druck korrespondiert25), der während der Prüfung aufrechtzuerhalten ist.
Die Temperatur der Versuchsanordnung ist im Bereich von (23 ± 5) °C zu halten. Ein weißes Indikationsmedium ist direkt unterhalb des Probekörpers anzuordnen.
Der Versuch ist weiterzuführen, bis Undichtigkeit auftritt, höchstens jedoch 72 Stunden lang.
C.2.5 Bewertung der Prüfergebnisse
Das Durchsickern von Wasser durch die Fugenabdichtung ist durch Vorhandensein von Wasser oder Farbe auf dem Anzeigemedium oder anhand von Tropfen, die an der Unterseite der Prüfeinrichtung auftreten, zu erkennen.
C.2.6 Aufzuzeichnende Versuchswerte
Das Ergebnis wird angegeben mit "wasserdicht bis zu x mm Wassersäule" oder "wasserdicht bis x Pa". Der Prüfbericht muss Folgendes beinhalten:
| Ablaufdiagramm für die Auswahl der relevanten Bedingungen für die Feuerwiderstandsprüfung | Anhang D |

| Anhang E |
Einzelheiten zu den Bedingungen der Feuerwiderstandsprüfung von Abdichtungen von Bewegungsfugen
E.1 Fall a1) gemäß 2.4.2.1.3 : Maximale Nennbreite + Dehnung
Das Produkt ist in Nennbreite ausgewählt gemäß 2.4.2.1.2 auszuführen und mit überlagerter seitlicher Dehnung von 100 % des vom Hersteller angegebenen Bewegungsvermögens zu prüfen (siehe Abb. E.1).
Abb. E.1 - Prüfbedingung mit seitlicher Dehnung bei maximaler Nennbreite

*maximum nominal width (builtin condition)
**maximum nominal width elongated by 100% of the movement capability of 20%=150+0.20x150
elongation = Dehnung
a (cross section) = a (Querschnitt);
B (front view) = B (Vorderansicht);
C (front view) = C (Vorderansicht);
* maximum nominal width (builtin condition) = *max. Nennbreite (eingebaut)
** maximum nominal width elongated by 100 % of the movement capability of 20 % = 150 + 0.20 x 150 =
** max. Nennbreite gedehnt um 100 % des Bewegungsvermögens von 20 % = 150 + 0,20 x 150
Legende
![]() |
Boden - Querschnitt |
![]() |
Wand - Vorderansicht |
![]() |
Fugenverschluss - vor Dehnung |
![]() |
Fugenverschluss - nach Dehnung |
![]() |
Dehnrichtung |
a Fugenverschluss in einem Boden
B Vertikaler Fugenverschluss in einer Wand
C Horizontaler Fugenverschluss in einer Wand
E.2 Fall b) gemäß 2.4.2.1.3 : Maximale Nennbreite + Scherung
Das Produkt ist in Nennbreite auszuführen und mit überlagerter Scherwirkung zu prüfen, sodass Δ100 % des vom Hersteller angegebenen Bewegungsvermögens ausmacht (siehe Abb. E.2)26). Die "Scherauslenkung" x kann mit der unten angegebenen Formel berechnet werden.
x = w√mc/100(2+mc/100)
dabei sind:
x = "Scherauslenkung" (vertikale Verschiebung einer Fugenkante, siehe Abbildung E.2)
w = Nennweite der Fuge
mc = Bewegungsvermögen (%) wie vom Antragsteller gefordert und bestimmt nach B.13
Beispiel mit w = 150 mm und mc = 20%:
x = 150 √20 / 100 (2 + 20 / 100) = 150 √0,2 x 2,2 = 150 x 0,663 = 99,5 mm
Abb. E.2 - Prüfbedingung bei Scherbeanspruchung bei maximaler Nennbreite
Legende
![]() |
Decke/Wand - Schnitt |
![]() |
Fugenabdichtung - vor Verschiebung |
![]() |
Fugenabdichtung - nach Verschiebung |
![]() |
Verschiebungsrichtung |
| Δ | Verschiebung bei 100% des vom Hersteller angegebenen Bewegungsvermögens |
| W | vom Hersteller angegebenes Bewegungsvermögen bei Fugennennweite |
| X | "Scherauslenkung" |
E.3 Kombination von Dehnung und Scherbeanspruchung
Wird eine Kombination aus Dehnungs- und Scherbeanspruchung gewünscht, ist der Prüfkörper gemäß Abbildung E.3 zu behandeln. a soll 100 % des vom Hersteller angegebenen Bewegungsvermögens ausmachen. Der Anteil der "Scherauslenkung" xE kann mit der unten angegebenen Formel für jeden gewählten Wert des Dehungsanteils xE berechnet werden.
xs = √w2 mc/100(2 + mc/100)-2xE (w+xE)
dabei sind:
| xS | = Anteil der "Scherauslenkung" bei Verschiebung (vertikale Verschiebung einer Fugenkante, siehe Abbildung E.3) |
| xE | Dehnungsanteil bei Verschiebung (horizontale Verschiebung einer Fugenkante, siehe Abb. E.3) |
| w | Nennweite der Fuge |
| mc | Bewegungsvermögen (%) wie vom Antragsteller gefordert und bestimmt nach B.13 |
Abbildung E.4 zeigt als Beispiel die Abhängigkeit der Parameter xS und xE für eine Fugenbreite von 100 mm für einige Werte des Bewegungsvermögens für einen speziellen Baustoff.
Abb. E.3 - Prüfbedingungen bei einer Kombination aus seitlicher Dehnung und Scherbeanspruchung bei maximaler Nennbreite

Legende
![]() |
Decke / Wand - Schnitt |
![]() |
Fugenabdichtung vor Verschiebung |
![]() |
Fugenabdichtung - nach Verschiebung |
![]() |
Verschiebungsrichtung |
| Δ | Verschiebung bei 100 % des vom Hersteller angegebenen Bewegungsvermögens |
| w | Fugennennweite |
| xS | "Scherauslenkung" |
| xE | Dehnung |
Abb. E.4 - Beispiel für die Anhängigkeit von xs und xE für einige Werte des Bewegungsvermögens für einen speziellen Baustoff bei einer Fugenbreite von 100 mm
Legende
__ Bewegungsvermögen 7,7 %
__ __ Bewegungsvermögen 12,5 %
- - - - Bewegungsvermögen 20 %
__..__Bewegungsvermögen 25 %
| Regeln für die Bestimmung des Anwendungsbereichs | Anhang F |
F.1 Stützkonstruktion
Die ermittelte Dimensionierung einer speziellen Stützkonstruktion gilt nur für diese bestimmte Art von Trennelementen. Wenn eine in der geltenden Prüfnorm bzw. im vorliegenden Dokument beschriebene Standardstützkonstruktion verwendet wird, kann der Anwendungsbereich erweitert werden.
F.1.1 Trennelemente - Beton oder Mauerwerk
Siehe EN 1366-3 (auf gleiche oder größere Dicke und Dichte übertragbar).
F.1.2 Trennelemente - Leichtbaukonstruktionen
Die Ergebnisse, die mit der flexiblen Standard-Wandkonstruktion gemäß 2.4.2.1.4 erhalten wurden, decken alle flexiblen Wandkonstruktionen gleicher Feuerwiderstandsklasse ab; Folgendes vorausgesetzt:
Die Ergebnisse, die mit der standardmäßigen flexiblen Wandkonstruktion gemäß 2.4.2.1.4 erhalten wurden, gelten auch für flexible Holzständerkonstruktionen (Holzständer: Breite/Tiefe 50 mm x 75 mm), zusammengesetzt in der gleichen Weise und mit mindestens der gleichen Anzahl Schichten, vorausgesetzt, dass kein Teil der linienförmigen Fugenabdichtung sich näher als 100 mm zu einem Ständer befindet und dass der Hohlraum zwischen der linienförmigen Fugenabdichtung und dem Ständer geschlossen ist und 100 mm Dämmstoff zwischen dem Hohlraum und dem Ständer vorgesehen wird.
Eine spezielle Kantenabdichtung wird als Teil der Fugenabdichtung betrachtet. Ergebnisse aus diesen Prüfungen sind in der Praxis nur für gleiche Kantenabdichtungen gültig.
Die flexible Standard-Wandkonstruktion ist nicht übertragbar auf Sandwich-Wandplattenkonstruktionen. Linienförmige Fugenabdichtungen in solchen Konstruktionen sind auf der Grundlage von Einzelfallentscheidungen zu prüfen.
Die Prüfergebnisse, die an der flexiblen Standard-Wandkonstruktion erhalten wurden, können auf Elemente aus Beton oder Mauerwerk mit Dicken gleich oder größer als die der geprüften Elemente übertragen werden.
F.2 Abdichtungstiefe
| Variation | Wirkung | Kommentar |
| Vergrößerung der Verschlusstiefe | = oder + | Akzeptabel |
| Verringerung der Verschlusstiefe | - | Nicht akzeptabel |
F.3 Angrenzende Baustoffe
Dieser Abschnitt bezieht sich auf die Änderung des Materials, das einer Fugenabdichtung bzw. einem Fugendichtstoff als Bestandteil einer linienförmigen Fugenabdichtung hinterlegt ist.
| Material zur Hinterlegung | Wirkung | Kommentar |
| Stäbe aus Polyethylen/Polyurethan | = oder + | Kann durch Mineralwolle ersetzt werden. |
| Glaswolle | = oder + | Kann durch Mineral- oder Keramikwolle ersetzt werden. |
| Mineralwolle | = oder + | Kann durch Keramikwolle ersetzt werden. |
| Keramikwolle (einschl. Keramikalternativen) | = | Kann nur durch Alternativmaterial mit gleichen Materialeigenschaften, z.B. Dichte, Wärmeleitfähigkeit, Schmelzpunkt, Schwinden, Brandverhaltensklasse ersetzt werden; z.B. Erdalkali-Silikatfasern. |
| Vergrößerung der Materialtiefe zur Hinterlegung | + | Akzeptabel für Materialien der Klassen Al und A2 |
| Verringerung der Materialtiefe zur Hinterlegung | - | Nicht akzeptabel |
Anmerkung: Die obigen Kommentare beziehen sich auf Materialien für die gleiche oder größere Tiefe und/oder Dichte.
F.4 Anordnung/Einbau
F.4.1 Allgemeines
Für Abdichtungsschäume (Vor-Ort-Schäume und vorgeschäumt), komprimierbare Streifen (einschließlich Verbundbaustoffen, laminierten, imprägnierten) und Fugendichtstoffen kann der Abstand der Abdichtung von der beanspruchten Oberfläche bei Wänden/Decken aus Beton/Mauerwerk gegenüber dem geprüften vergrößert werden.
Für Mörtelabdichtungen und Abdichtungen auf Basis von Mineralwolle ist eine Änderung der Lage der Abdichtung innerhalb der Dicke des Trennelementes zulässig, wenn die Gesamttiefe der Abdichtung gleich oder größer ist als geprüft.
Für Abdichtungen auf Basis von Mineralwolle ist das Überstehen aus der Fuge zulässig, wenn die Tiefe der in der Fuge verbleibenden Abdichtung gleich oder größer ist als geprüft.
F.4.2 Abstand zwischen Anschlussstößen
Eine Vergrößerung des Abstandes zwischen Anschlussstößen ist zulässig. Eine Verringerung des Abstandes zwischen Anschlussstößen ist nicht zulässig. Abbildung F.1 zeigt ein Beispiel für eine mineralische Abdichtung.
Abb. F.1 Mineralwolle Abstand zwischen Anschlussstoßstellen
Splices = Stoßstellen
F.4.3 Baustoffdicke
Für Gewebe, Elastomerstreifen und filmbildende Beschichtungen kann die Materialdicke erhöht, nicht aber reduziert werden.
F.4.4 Baustoffdichte
Bei Mineralwolle, die mit einer Nenndichte zwischen 50 kg/m3 und 200 kg/m3 geprüft wurde, ist eine Vergrößerung der Dichte auf maximal 200 kg/m3 zulässig.
Eine Verringerung der Dichte ist ohne Prüfnachweise, die die Änderung rechtfertigen, nicht zulässig.
F.4.5 Oberflächenbeschichtungen/Bekleidungen/Kaschierungen
Das nachträgliche Aufbringen einer Beschichtung oder Kaschierung auf Abdichtungen auf Basis von Mineralwolle ist zulässig, vorausgesetzt, die Tiefe der Abdichtung wird nicht verringert. Die Dicke der Oberflächenbeschichtung sollte nicht auf die wirksame Abdichtungstiefe angerechnet werden.
Das Entfernen einer Oberflächenbeschichtung/Kaschierung, die immanenter Bestandteil des geprüften Abdichtungssystems ist, ist nicht zulässig.
| Muster für die auf der Grundlage der ETAG 026 Teil 3 zu erteilenden europäischen technischen Zulassungen | Anlage |
Deckblatt der ETA
Seite 2 der ETA
mit Kopfzeile: Seite 2 der ETA-xx/xxxx, erteilt am TT.MM.JJJJ
I Rechtsgrundlagen und allgemeine Bestimmungen
1 Diese europäische technische Zulassung wird von ...(Name der Zulassungsstelle) erteilt in Übereinstimmung mit:
2 Die ...(Name der Zulassungsstelle) ist ermächtigt nachzuprüfen, ob die Bestimmungen dieser europäischen technischen Zulassung erfüllt werden. Diese Nachprüfung kann vor Ort in der (den) Produktionsstätte(n) erfolgen. Der Inhaber der europäischen technischen Zulassung bleibt jedoch für die Konformität der Produkte mit der europäischen technischen Zulassung und deren Brauchbarkeit für den vorgesehenen Verwendungszweck verantwortlich.
3 Diese europäische technische Zulassung darf nicht auf andere als die auf Seite 1 aufgeführten Hersteller oder Vertreter von Herstellern oder auf andere als die/auf Seite 1/im Kontext/ dieser europäischen technischen Zulassung(Nichtzutreffendes bitte streichen) genannten Herstellwerke übertragen werden.
4 Die ...(Name der Zulassungsstelle) kann diese europäische technische Zulassung widerrufen, insbesondere nach einer Mitteilung der Kommission aufgrund von Artikel 5 Absatz 1 der Richtlinie 89/106/EWG.
5 Diese europäische technische Zulassung darf - auch bei elektronischer Übermittlung - nur ungekürzt wiedergegeben werden. Mit schriftlicher Zustimmung der ...(Name der Zulassungsstelle) kann jedoch eine teilweise Wiedergabe erfolgen. Eine teilweise Wiedergabe ist als solche zu kennzeichnen. Texte und Zeichnungen von Werbebroschüren dürfen weder im Widerspruch zu der europäischen technischen Zulassung stehen noch diese missbräuchlich verwenden.
6 Die europäische technische Zulassung wird von der Zulassungsstelle in ihrer Amtssprache erteilt. Diese Fassung(en) entspricht (entsprechen) der in der EOTa verteilten Fassung. Übersetzungen in andere Sprachen sind als solche zu kennzeichnen.
Seite 3 sowie nachfolgende Seiten der ETA
mit Kopfzeile Seite ... der ETA-xx/xxxx, erteilt am TT.MM.JJJJ [Gültigkeit verlängert am TT.MM.JJJJ]
II Besondere Bestimmungen der Europäischen Technischen Zulassung
1 Beschreibung des Produkts/der Produkte und des Verwendungszwecks
1.1 Beschreibung des Bauprodukts
.....(Spezifischer Text)
1.2 Verwendungszweck
.....(Spezifischer Text)
Die Bestimmungen dieser europäischen technischen Zulassung beruhen auf einer angenommenen Nutzungsdauer der/des ...(Bezeichnung des Produkts) von ... Jahren. Die Angaben über Nutzungsdauer können nicht als Garantie des Herstellers ausgelegt werden, sondern sind lediglich als Hilfsmittel zur Auswahl des richtigen Produkts im Hinblick auf die erwartete wirtschaftlich angemessene Nutzungsdauer des Bauwerks zu betrachten.
2 Merkmale des Produkts/der Produkte und Nachweisverfahren
.....(Spezifischer Text)
In der ETa muss unmissverständlich die geprüfte Baugruppe unter Angabe der verwendeten Komponenten (z.B. Stützkonstruktion, mechanische Befestigungen usw.), der Abmessungen bzw. des Größenbereichs, der Konfiguration usw. angegeben sein.
Der Anwendungsbereich ist unter Berücksichtigung aller relevanten Parameter anzugeben, z.B. Abmessungen des Verschlusses, die Verwendungsbedingungen hinsichtlich der Umgebungsbedingungen (z.B. Verwendung in trockenen Innenräumen), das Verfahren der Vorbereitung der Stützkonstruktion vor Einbau des linearen Fugenverschlusses usw.
Folgende Aussagen können in die ETa aufgenommen werden:
Allgemeines:
"Andere Teile oder Stützkonstruktionen dürfen den Verschluss nicht durchdringen."
"Es sind Vorkehrungen zu treffen, dass nicht auf Bodenfugenverschlüsse getreten werden kann bzw. diese keinen Kräften ausgesetzt sind, die über dem Grenzwert aus den Stoßprüfungen liegen (z.B. durch Abdeckung mit Maschendraht)."
Abgabe gefährlicher Stoffe oder Strahlen
.....(Spezifischer Text)
Anmerkung: In Ergänzung zu den spezifischen Bestimmungen dieser europäischen technischen Zulassung, die sich auf gefährliche Stoffe beziehen, können die Produkte im Geltungsbereich dieser Zulassung weiteren Anforderungen unterliegen (z.B. umgesetzte europäische Gesetzgebung und nationale Rechts- und Verwaltungsvorschriften). Um die Bestimmungen der Bauproduktenrichtlinie zu erfüllen, müssen ggf. diese Anforderungen ebenfalls eingehalten werden.
3 Bewertung und Bescheinigung der Konformität und CE-Kennzeichnung
3.1 System der Konformitätsbescheinigung
Gemäß Entscheidung C (1999) 1481 der Europäischen Kommission 31) vom 22.06.1999 ist das System 1 der Konformitätsbescheinigung anzuwenden.
Dieses System der Konformitätsbescheinigung ist wie folgt definiert:
System 1: Zertifizierung der Konformität des Produkts durch eine zugelassene Zertifizierungsstelle aufgrund von:
(a) Aufgaben des Herstellers:
(1) werkseigener Produktionskontrolle
(2) zusätzlicher Prüfung von im Werk entnommenen Proben durch den Hersteller nach festgelegtem Prüfplan
(b) Aufgaben der zugelassenen Stelle:
(3) Erstprüfung des Produkts
(4) Erstinspektion des Werkes und der werkseigenen Produktionskontrolle
(5) laufender Überwachung, Beurteilung und Anerkennung der werkseigenen Produktionskontrolle.
3.2 Zuständigkeiten
3.2.1 Aufgaben des Herstellers
3.2.1.1 Werkseigene Produktionskontrolle
Der Hersteller soll eine ständige Eigenüberwachung der Produktion durchführen. Alle vom Hersteller vorgegebenen Daten, Anforderungen und Vorschriften sind systematisch in Form schriftlicher Betriebs- und Verfahrensanweisungen festzuhalten, einschließlich der Ergebnisse von durchgeführten Prüfungen. Die werkseigene Produktionskontrolle hat sicherzustellen, dass das Produkt dieser europäischen technischen Zulassung genügt.
Der Hersteller darf nur Ausgangsstoffe/Rohstoffe/Bestandteile(Nichtzutreffendes streichen) verwenden, die in der technischen Dokumentation dieser europäischen technischen Zulassung aufgeführt sind.
Die werkseigene Produktionskontrolle muss mit dem "Kontrollplan vom ...(Datum) für die am ...(Datum) erteilte europäische technische Zulassung ETA-...(Nummer) ", der Teil der technischen Dokumentation dieser europäischen technischen Zulassung ist, übereinstimmen. Der "Kontrollplan" ist im Zusammenhang mit dem vom Hersteller betriebenen werkseigenen Produktionskontrollsystem festgelegt und bei ...(Name der Zulassungsstelle) hinterlegt 32).
Die Ergebnisse der werkseigenen Produktionskontrolle sind festzuhalten und in Übereinstimmung mit den Bestimmungen des "Kontrollplans" auszuwerten.
3.2.1.2 Sonstige Aufgaben des Herstellers
.....(Spezifischer Text, soweit erforderlich)
Zusätzliche Angaben
Der Hersteller hat ein technisches Datenblatt und eine Installationsanleitung mit mindestens folgenden Angaben beizulegen:
Technisches Datenblatt:
Installationsanleitung:
Der Hersteller hat zur Durchführung der Maßnahmen nach Abschnitt 3.3 auf der Grundlage eines Vertrags eine Stelle/Stellen einzuschalten, die für die Aufgaben nach Abschnitt 3.1 für den Bereich der ...(Produktbezeichnung) zugelassen ist/sind. Hierfür hat der Hersteller der zugelassenen Stelle/den zugelassenen Stellen den "Kontrollplan" nach den Abschnitten 3.2.1.1 und 3.2.2 vorzulegen.
Der Hersteller hat eine Konformitätserklärung abzugeben mit der Aussage, dass das Bauprodukt mit den Bestimmungen der am ...(Datum) erteilten europäischen technischen Zulassung ...(Nummer) übereinstimmt.
3.2.2 Aufgaben der zugelassenen Stellen
Die zugelassene Stelle hat/zugelassenen Stellen haben die folgenden Aufgaben durchzuführen:
Dies hat gemäß den im "Kontrollplan vom ...(Datum) für die am ...(Datum) erteilte europäische technische Zulassung ETA-...(Nummer) " zu erfolgen.
Die zugelassene Stelle hat/zugelassenen Stellen haben die wesentlichen Punkte ihrer oben angeführten Maßnahmen festzuhalten und die erzielten Ergebnisse und die Schlussfolgerungen in einem schriftlichen Bericht zu dokumentieren.
Die vom Hersteller eingeschaltete zugelassene Zertifizierungsstelle hat ein EG-Konformitätszertifikat mit der Aussage zu erteilen, dass das Produkt mit den Bestimmungen dieser europäischen technischen Zulassung übereinstimmt.
Wenn die Bestimmungen der europäischen technischen Zulassung und des zugehörigen Kontrollplans nicht mehr erfüllt sind, hat die Zertifizierungsstelle das Konformitätszertifikat zurückzuziehen und unverzüglich die ...(Name der Zulassungsstelle) zu informieren.
3.3 CE-Kennzeichnung
Die CE-Kennzeichnung ist ....(auf dem Produkt selbst - ggf. ist anzugeben, wo auf dem Produkt - auf einem am Produkt angebrachten Etikett, auf der Verpackung oder auf den kommerziellen Begleitpapieren, z.B. der EU-Konformitätserklärung) anzubringen. Hinter der Kennzeichnung "CE" sind ggf. die Kennnummer der zugelassenen Zertifizierungsstelle anzugeben sowie die folgenden zusätzlichen Angaben zu machen:
Beispiel für CE-Kennzeichnung und Begleitangaben für die Fugenabdichtung "YYY":
![]() |
Kennzeichen "CE" |
| 1234 | Identifizierungsnummer der zugelassenen Zertifizierungsstelle |
| Unternehmen XX Straße1, Stadt, Land 04
|
Name und Anschrift des Herstellers (für die Herstellung verantwortliche juristische Person)
Nummer des EG-Konformitätszertifikats |
| ETA-07/XYZZ ETAG 026- Teil 3 Fugenabdichtung "YYY"I type Y2, (-5/+70)°C |
Nummer der europäischen technischen Zulassung
Nummer der Leitlinie für die europäische technische Zulassung Produktbezeichnung (YYY); Nutzungskategorie in Übereinstimmung mit Abschnitt 1 und 2 der ETA
|
.....(Wenn der Inhalt der CE-Kennzeichnung und der Begleitangaben nicht für alle unter die ETa fallenden Produkte identisch ist, müssen gemäß den Regelungen der ETAG für alle möglichen Fälle Beispiele für die CE-Kennzeichnung und die Begleitangaben gegeben werden.)
4 Annahmen, unter denen die Brauchbarkeit des Produkts/der Produkte für den vorgesehenen Verwendungszweck positiv beurteilt wurde
4.1 Herstellung
.....(Spezifischer Text, soweit erforderlich)
Die europäische technische Zulassung wurde für das Produkt auf der Grundlage abgestimmter Daten und Informationen erteilt, die bei ...(Name der Zulassungsstelle) hinterlegt sind und der Identifizierung des beurteilten und bewerteten Produkts dienen. Änderungen am Produkt oder am Herstellungsverfahren, die dazu führen könnten, dass die hinterlegten Daten und Informationen nicht mehr korrekt sind, sind vor ihrer Einführung der ...(Name der Zulassungsstelle) mitzuteilen. Die ...(Name der Zulassungsstelle) wird darüber entscheiden, ob sich solche Änderungen auf die Zulassung und folglich die Gültigkeit der CE-Kennzeichnung aufgrund der Zulassung auswirken oder nicht und ggf. feststellen, ob eine zusätzliche Beurteilung oder eine Änderung der Zulassung erforderlich ist.
4.2 Einbau
.....(Spezifischer Text, soweit erforderlich)
5 Vorgaben für den Hersteller
5.1 Verpackung, Transport und Lagerung
.....(Spezifischer Text, soweit erforderlich)
5.2 Nutzung, Instandhaltung, Instandsetzung
.....(Spezifischer Text, soweit erforderlich)
Anhang - Beschreibung des Produkts/der Produkte
.....(Spezifischer Text und/oder Zeichnungen, soweit erforderlich)
.....(Weitere Anhänge, sofern erforderlich)
Vom 7. Oktober 2008
(BAnz. Nr. 8a vom 16.01.2009 S. 1)
Gemäß § 3 Abs. 1 Satz 2 des Bauproduktengesetzes (BauPG) in der Fassung der Bekanntmachung vom 28. April 1998 (BGBl. I S. 812), das zuletzt durch Artikel 76 der Verordnung vom 31. Oktober 2006 (BGBl. I S. 2407) geändert worden ist, wird die folgende Leitlinie der Europäischen Organisation für Technische Zulassungen EOTa bekannt gemacht. Auf Grund dieser Leitlinie können von dafür anerkannten Stellen europäische technische Zulassungen nach Artikel 8 der Bauproduktenrichtlinie bzw. § 6 des BauPG für Brandschutzprodukte zum Abdichten und Verschließen von Fugen und Öffnungen und zum Aufhalten von Feuer im Brandfall erteilt werden.
Deutsche Stelle für die Erteilung europäischer technischer Zulassungen ist das Deutsche Institut für Bautechnik, Kolonnenstraße 30 L, 10829 Berlin.
____
1) AF = Haftend,
FF= Kraftschlüssig,
MF = Mechanisch befestigt,
Sa = Selbsthaftend
2) Dieses Dokument befasst sich mit Produkten, denen lediglich Wasser beigemengt werden muss.
3) Diese Verwendung gelten für Feuchtigkeitsklasse 5 in Innenräumen gemäß EN ISO 13788
4) Die tatsächliche Nutzungsdauer eines in ein bestimmtes Bauwerk eingebauten Produkts wird von den Umgebungsbedingungen, denen dieses Bauwerk ausgesetzt ist, sowie den speziellen Bedingungen der Bemessung, Ausführung, Nutzung und Instandhaltung dieses Bauwerks bestimmt. Deshalb kann die Möglichkeit nicht ausgeschlossen werden, dass es Fälle gibt, in denen die tatsächliche Nutzungsdauer des Produkts auch kürzer als die angenommene Nutzungsdauer ist.
5) 7,5% ist die niedrigste zulässige Klasse für das Bewegungsvermögen nach ISO 11600.
6) 7,5% ist die niedrigste zulässige Klasse für das Bewegungsvermögen nach ISO 11600.
7) EU-Datenbank siehe: www.Europa.eu.int/comm/enterprise/construction/internal/dangsub/dangmain.htm
8) Obwohl die in EN 1026 beschriebene Prüfung vom Grundaufbau her ähnlich der in EN 1634-3 beschriebenen Prüfung ist, ist sie dennoch hier aufgeführt, weil die unterschiedlichen in EN 1643-3 aufgeführten Luftdrücke sich nur auf solche beziehen, die unter Brandbedingungen auftreten.
9) 625 mm und 200 mm sind Nennwerte.
10) Diese Beurteilung soll nicht dazu dienen, die Dauerhaftigkeit und Dichtheit von Hüllen und Gehäusen für den Schutz von reaktiven Materialien zu prüfen, die für sich genommen nicht dauerhaft sind. Sie werden als Teil des reaktiven Bestandteils bewertet.
11) Nur für dämmschichtbildende Produkte.
12) Nur wenn der Hersteller eine Leistung hinsichtlich Bewegungsvermögen erklärt.
13) Ein Prüfkörper wird i.d.R. als ausreichend angesehen. Die endgültige Anzahl der Prüfkörper muss in der europäischen technischen Zulassung oder den Begleitdokumenten angegeben werden.
14) Die angegebenen Abkürzungen drücken die Häufigkeit der Prüfungen aus:
1/b = einmal je Charge,
1/10b = einmal je 10 Chargen,
1/6m = einmal in 6 Monaten
1/h = einmal pro Stunde,
decl = Übereinstimmungserklärung des Zulieferers der Komponente(n)
*b = Charge: Für eine kontinuierliche Produktion ist die Häufigkeit von der EOTa Zulassungsstelle durch Einzelfallentscheidung in Abhängigkeit von den Besonderheiten des Herstellungsprozesses und der Grad des vorhandenen Qualitätsmanagements festzulegen; für diskontinuierliche Produktion ist eine Charge die spezifische Menge eines, in einer bestimmten Zeit, im gleichen Prozess und unter gleichen Bedingungen hergestellten Materials.
15) Verfahren 1 oder Verfahren 2 plus 3 können alternativ gewählt werden, die Häufigkeit jedoch kam weiter reduziert werden, wenn die Bestandteile/Rohstoffe und ihre zugehörige Masse automatisch erfasst werden (z.B. durch eine Waage mit automatischer Protokollierung) und ein angemessenes Qualitätssicherungssystem eingerichtet ist.
16) (identisch mit Fußnote 15)
17) Abhängig von der Nähe des Ergebnisses der Zulassungsprüfung zum in der Spezifikation angegebenen Schwellenwert.
18) Produkte, die nach EN 13162 gefertigt werden, können für lineare Fugenverschlüsse geeignet sein, aber für dieses Anwendungsgebiet sind Schmelzpunkt und Dichte relevante Eigenschaften, die nicht von EN 13162 abgedeckt sind.
19) Die folgenden Eigenschaften werden für die Leistung "Feuerwiderstand" als nicht wesentlich betrachtet: Wärmedurchlasswiderstand, Wärmeleitfähigkeit, Zugfestigkeit parallel zur Außenfläche, Druckspannung oder Druckfestigkeit, Zugfestigkeit rechtwinklig zur Außenfläche, Punktlast, Kriechdehnung unter Druck, Kurzzeit- und Langzeitwasserabsorptionsverhalten, Wasserdampfdurchgang, dynamische Steifigkeit; Dicke dL, Dicke da und Luftströmungswiderstand.
20) Letztendlich gibt es drei Möglichkeiten" die einzelnen Bestandteile eines Produktes zu identifizieren: durch einen "Fingerprint" (Kombination von TGA/DTa und IR); durch Hinterlegung der Zusammensetzung und der Rezeptur oder durch Überprüfen von charakteristischen Eigenschaften.
21) Verfahren 1 oder Verfahren 2 plus Verfahren 3 können alternativ gewählt werden.
22) Die folgenden Eigenschaften werden als für die Leistung "Feuerwiderstand" als nicht wesentlich betrachtet: Wärmedurchlasswiderstand, Wärmeleitfähigkeit, Zugfestigkeit parallel zur Außenfläche, Druckspannung oder Druckfestigkeit, Zugfestigkeit rechtwinklig zur Außenfläche, Punktlast, Kriechdehnung unter Druck, Kurzzeit- und Langzeitwasserabsorptionsverhalten, Wasserdampfdurchgang, dynamische Steifigkeit; Dicke dL, Dicke d0 und Luftströmungswiderstand.
23) Dies kann z.B. für Streifen und Mehrschichtstreifen relevant sein. Eine Vorprüfung, zum Beispiel unter Verwendung eines Bunsenbrenners, liefert einen Schätzwert für die erforderliche Dicke.
24) Obwohl nicht repräsentativ für die Normalausführung einer Fugenabdichtung in der Praxis, erlaubt die gewählte Übergröße des Prüfkörpers eine bessere Beobachtung der möglichen Brandausbreitung. Siehe auch 2.4.1.1.
25) Anforderung aus der Ausführungsvorschrift einer vergleichbaren Spezifikation
26) Dieses Verfahren ist normalerweise nicht zur Prüfung von streifenförmigen Fugenabdichtungen geeignet.
27) Amtsblatt der Europäischen Gemeinschaften L 40 vom 11.02.1989 S. 12
28) Amtsblatt der Europäischen Gemeinschaften L 220 vom 30.08.1993 S. 1
29) Amtsblatt der Europäischen Union L 284 vom 31.10.2003 S. 1
30) Amtsblatt der Europäischen Gemeinschaften L 17 vom 20.01.1994 S. 34
31) Amtsblatt der Europäischen Gemeinschaften L 178 vom 14.07.1999.
32) Der Prüf- und Überwachungsplan ist ein vertraulicher Bestandteil der Dokumentation dieser europäischen technischen Zulassung und wird nur der/den in das Konfirmationsbescheinigungsverfahren eingeschalteten zugelassenen Stelle/Stellen ausgehändigt. Siehe Abschnitt 3.2.2.
![]() |
ENDE | ![]() |
(Stand: 16.06.2018)
Alle vollständigen Texte in der aktuellen Fassung im Jahresabonnement
Nutzungsgebühr: ab 105.- € netto
(derzeit ca. 7200 Titel s.Übersicht - keine Unterteilung in Fachbereiche)
Die Zugangskennung wird kurzfristig übermittelt
? Fragen ?
Abonnentenzugang/Volltextversion