umwelt-online: Entscheidung 2008/232/EG über die technische Spezifikation für die Interoperabilität des Teilsystems "Fahrzeuge" des transeuropäischen Hochgeschwindigkeitsbahnsystems (11)
![]() |
zurück | ![]() |
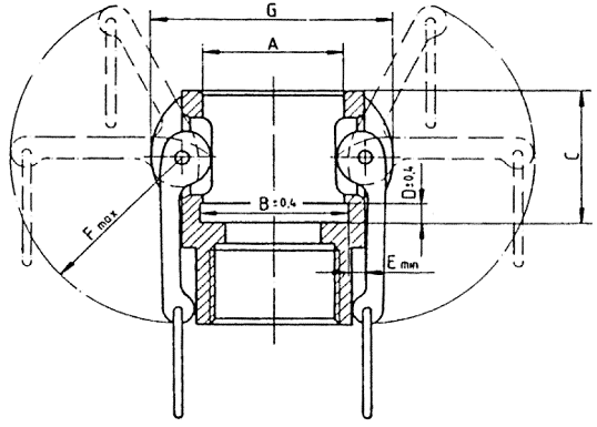
| Dichtungen für die Anschlüsse für Toilettenentsorgungsanlagen | Anhang M IV |

| a [mm] | B [mm] | C [mm] | |
| Dichtungen 3" | 94,45 | 76,20 | 6,35 |
| Dichtungen 1" | 39,69 | 26,98 | 6,35 |
Allgemeine Toleranzen +1- 0,1
Werkstoff: Elastomer, fäkalienresistent, z B. UM (Fluor-Kautschuk)
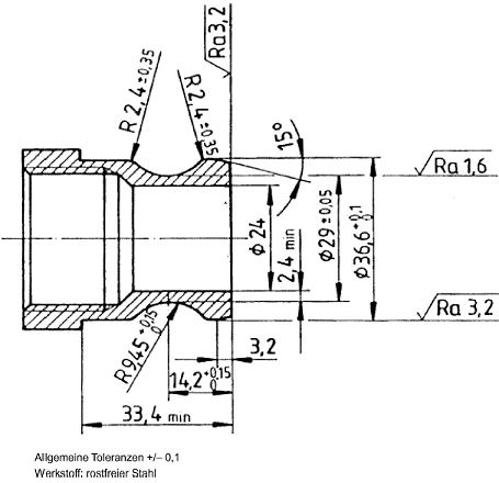
Abbildung M IV.2 Anschluss für Entleerung und 1"-Spilwasseranschluss (Außenteile)

| A | B | C | D | E | F | G | |
| 3"-Kupplung | 92,20 | 104 | 55 | 7,14 | 4 | 82,55 | 133,3 |
| 1"-Kupplung | 37,24 | 40,50 | 37,50 | 7,14 | 2,4 | 44,45 | 65 |
Allgemeine Toleranzen +1- 0,1
Werkstoff: rostfreier Stahl
| Eintrittsstutzen für Wassertanks | Anhang M V |
| Anschlüsse für Toilettenentsorgungsanlagen für Fahrzeuge | Anhang M VI |
Abbildung M VI.1 Entleerungsstutzen (Innenteil)
Abbildung M VI.2 Optionaler 1"-Spülwasseranschluss für Spülkasten (Innenteil)
| Bedingungen für Geräuschmessungen | Anhang N |
N.1 Abweichungen gegenüber EN ISO 3095:2005
N.1.1 Standgeräusch
Standgeräuschmessungen sind nach EN ISO 3095:2005 mit folgenden Abweichungen durchzuführen (siehe Tabelle N1).
Unter Normalbetrieb ist ein Betrieb bei einer Außentemperatur von 20 °C definiert. Konstruktionsparameter sind zur Simulation eines Betriebs mit 20 °C Außentemperatur vom Hersteller bereitzustellen.
Tabelle N1 Standgeräusch, Abweichungen gegenüber EN ISO 3095:2005
| Abschnitt (EN ISO 3095:2005) | Gegenstand | Abweichung (fett und kursiv gesetzt) |
| 6.2.3 | Mikrofonpositionen, Messungen an stehenden Fahrzeugen | Die Messungen sind gemäß EN ISO 3095:2005, Anhang A, Abb. A.1 durchzuführen, wobei mindestens sechs Mikrofone auf jeder Seite des Zuges anzuordnen sind. Wenn keine regelmäßigen Abstände verwendet werden, muss in das energetische Mittel eine Flächengewichtung gemäß folgender Formel einbezogen werden:
wobei Si = Bereich der Messfläche i LpAeq,i = gemessener Pegel am Punkt i N = Gesamtzahl der Messpunkte Stotal = gesamte Messfläche |
| 6.3.1 | Fahrzeugbedingungen | Verschmutzungen von Ein- und Auslassgittern, Filtern und Ventilatoren sind vor den Messungen zu beseitigen. |
| 7.5.1 | Allgemein | Die Messdauer beträgt 60 s. |
| 7.5.2 | Reisezugwagen und elektrische Triebfahrzeuge | Alle Aggregate, die bei stehendem Fahrzeug in Betrieb sein können, ggf. einschließlich des Hauptantriebs, jedoch nicht der Bremsluftkompressor, müssen in Betrieb sein. Die Hilfsaggregate sind unter normaler Last zu betreiben. |
| 7.5.3.1 | Triebfahrzeuge mit Verbrennungsmotoren | Motor läuft im Leerlauf ohne Last, Lüfter laufen mit normaler Drehzahl, Hilfsaggregate laufen unter normaler Last, Bremsluftkompressor läuft nicht. |
| 7.5.3.2 | Triebfahrzeuge mit Verbrennungsmotoren | Diese Bestimmung gilt nicht für Diesellokomotiven und Dieseltriebwagen bzw. -triebzüge. |
| 7.5.1 | Messungen an stehenden Fahrzeugen, allgemein | Der Schalldruckpegel des Standgeräuschs ist das energetische Mittel aller Messwerte, die an den in EN ISO 3095:2005, Anhang A, Abb. A.1 beschriebenen Messpunkten ermittelt wurden. |
N.1.2 Anfahrgeräusch
Anfahrgeräuschmessungen sind nach EN ISO 3095:2005 mit folgenden Abweichungen durchzuführen (siehe Tabelle N2).
Unter Normalbetrieb ist ein Betrieb bei einer Außentemperatur von 20 °C definiert. Konstruktionsparameter sind zur Simulation eines Betriebs mit 20 °C Außentemperatur vom Hersteller bereitzustellen.
Tabelle N2 Anfahrgeräusch, Abweichungen gegenüber EN ISO 3095:2005
| Abschnitt (EN ISO 3095:2005) | Gegenstand | Abweichung (fett und kursiv gesetzt) |
| 6.1.2 | Meteorologische Bedingungen | Verschmutzungen von Ein- und Auslassgittern, Filtern und Ventilatoren sind vor den Messungen zu beseitigen. |
| 6.3.1 | Fahrzeugbedingungen | Messungen von beschleunigenden Fahrzeugen dürfen nur bei trockener Schiene durchgeführt werden. |
| 6.3.3 | Türen, Fenster, Hilfsaggregate | Bei Tests an beschleunigenden Zügen müssen alle Hilfsaggregate mit normaler Last betrieben werden. Die Geräuschemission der Bremsluftkompressoren ist nicht zu berücksichtigen. |
| 7.3.1 | Allgemein | Tests sind mit maximaler Traktionskraft ohne Durchdrehen der Räder und ohne Makroschlupf durchzuführen. Wenn der zu prüfende Zug keine feste Zusammenstellung ist, muss die (Anhänge)-Last definiert werden. Sie muss für den Normalbetrieb typisch sein. |
| 7.3.2 | Züge mit einzelnem Triebfahrzeug | Bei Tests an beschleunigenden Zügen müssen alle Hilfsaggregate mit normaler Last betrieben werden. Die Geräuschemission der Bremsluftkompressoren ist nicht zu berücksichtigen. |
N.1.3 Fahrgeräusch
| Abschnitt (EN ISO 3095:2005) | Gegenstand | Abweichung (fett und kursiv gesetzt) |
| 6.2 | Mikrofonposition | Kein Gleis zwischen dem Prüfgleis und dem Mikrofon |
| 6.3.1 | Fahrzeugbedingungen | Verschmutzungen von Ein- und Auslassgittern, Filtern und Ventilatoren sind vor den Messungen zu beseitigen. |
| 7.2.3 | Prüfverfahren | Es ist ein Tachometer zu verwenden, der ein ausreichend genaues Messen der Fahrgeschwindigkeit erlaubt, wobei eine Zuggeschwindigkeit, die um mehr als ± 3 % von der vorgegebenen Prüfsollgeschwindigkeit abweicht, zuverlässig als außerhalb des Bereichs befindlich erkannt wird und unberücksichtigt bleibt.
Mindesttraktionskraft zur Beibehaltung der konstanten Geschwindigkeit mindestens in den 60 s vor und während der Vorbeifahr-Messung. |
N.1.4 Referenzgleis für Fahrgeräusch
Die Spezifikation des Referenzgleises wurde lediglich untersucht, um eine Bewertung des Fahrgeräuschs von Fahrzeugen zu ermöglichen. Dieser Abschnitt spezifiziert weder die Ausführung noch die Instandhaltung noch die Betriebsbedingungen eines "normalen" Gleises, das kein "Referenzgleis" ist.
Die Anerkennung des Referenzgleises ist nach EN ISO 3095:2005 mit folgenden Abweichungen durchzuführen:
| Abschnitt (EN ISO 3095:2005) | Gegenstand | Abweichung (fett und kursiv gesetzt) |
| D.1.2.2 | Direkte Rauigkeitsmessung | Die Wellenlängenbandbreite sollte mindestens [0,003; 0,10] m betragen.
Die Anzahl der zur Ermittlung der Rauigkeit verwendeten Spuren ist entsprechend der tatsächlichen Fahrfläche zu bestimmen. Die Anzahl der Spuren sollte konsistent sein mit:
Ohne technischen Nachweis der beiden oben stehenden Parameter gilt EN ISO 3095:2005, Abschnitt D.1.2.2. |
| D.2.1 | Direkte Messung | Das Rauigkeitsspektrum (Terzband-Wellenlänge) des Referenzgleises ist als energetischer Mittelwert aus den Spektren der einzelnen Referenzgleisabschnitte zu ermitteln. |
| Abbildung N1 Akustische Schienenrauigkeit - Grenzwertspektrum des Referenzgleises |
Legende 1. Rauigkeit (Terzband), dB |
Abbildung N2 Vertikale und laterale Dämpfungsrate (TDR) - unteres Grenzwertspektrum des Referenzgleises
N.2 Charakterisierung des dynamischen Verhaltens des Referenzgleises
N.2.1 Messverfahren
Das nachfolgende Verfahren ist in jedem Gleisabschnitt, dessen Eigenschaften charakterisiert werden sollen, nacheinander in vertikaler und horizontaler Richtung wie folgt durchzuführen.
Zwei Beschleunigungsaufnehmer werden am Gleis in der Mitte zwischen zwei Schwellen befestigt (angeklebt oder mit Stiftschraube) (siehe Abbildung N3):
Abbildung N3 Anordnung der Beschleunigungsmesser an der Schiene (Querschnitt)
Am Schienenkopf wird in jeder Richtung ein gemessener Kraftimpuls mit einem mit Messinstrumenten versehenen Impuls-Hammer angesetzt, dessen Kopf die entsprechende Härte aufweist, um ein einwandfreies Messen der Kraft und des Frequenzgangs im Frequenzbereich [50; 6.000 Hz] zu ermöglichen. (Dabei ist ein Hammerkopf aus gehärtetem Stahl für den oberen Teil des Frequenzbereichs erforderlich, der gewöhnlich, wenn auch nicht immer, auch im unteren Teil des Frequenzbereichs die erforderliche Kraft aufbringen kann. Kann die Kraft im unteren Teil des Frequenzbereichs mit dem Stahlkopf nicht aufgebracht werden, ist gegebenenfalls eine zusätzliche Messung mit einem weicheren Hammerkopf erforderlich.)
An einer Reihe von Orten entlang der Schiene (die nachfolgend definiert werden) wird die (Übertragungs-)Akzeleranz (die frequenzabhängige Übertragungsfunktion (FÜF) von Beschleunigung/Kraft) oder die (Übertragungs-)Mobilität (Schnelle/Kraft) in vertikaler und in horizontaler Richtung aus Messungen bestimmt, wobei die Richtung der gemessenen Antwort und der eingeleiteten Kraftanregung identisch ist. Es ist nicht notwendig, die Querkorrelation (vertikale Kraftanregung und horizontale Antwort oder umgekehrt) zu messen. Im Falle, dass eine analoge Integration der Beschleunigungssignale zur Verfügung steht, hat sich gezeigt, dass eine bessere Messqualität erreicht wird, wenn die frequenzabhängige Übertragungsfunktion der Mobilität anstatt der Akzeleranz aufgezeichnet wird. Damit wird eine bessere Qualität der Daten bei tiefen Frequenzen erzielt, bei denen die gemessenen Antwortamplituden im Vergleich zu den Antwortamplituden bei hohen Frequenzen sehr gering sind, da sie den Dynamikbereich des Messsignals vor der Aufzeichnung bzw. der Digitalisierung reduziert. Für die Bildung der frequenzabhängigen Übertragungsfunktion ist der Durchschnitt aus mindestens 4 gültigen Impulsen zu verwenden. Die Qualität jeder einzelnen gemessenen Übertragungsfunktion (Reproduzierbarkeit, Linearität usw.) muss durch Anwendung der Kohärenzfunktion überwacht werden. Dies muss ebenfalls aufgezeichnet werden.
Für jede der in Abbildung N4 angegebenen Anregungs-Anschlagpositionen sollte die Übertragungsfunktion zur Position, an der der Beschleunigungsaufnehmer montiert ist, ermittelt werden. Die Messorte können wie nachfolgend beschrieben in die Gruppen "Punktmessung", "Nahfeldmessung" und "Fernfeldmessung" unterteilt werden:
Abbildung N4 Abklingraten - Anordnung der Erregungspunkte
Erfahrungsgemäß ist die Streuung der Ergebnisse so groß, dass die ganze Messung zur Bestimmung der Abklingrate an einer anderen Stelle des Gleises wiederholt werden sollte, wobei jedoch ein Abstand von ca. 10 m zwischen den beiden Positionen der Beschleunigungsaufnehmer ausreicht.
Da die Abklingrate von der Steifigkeit der Zwischenlage abhängt und der Werkstoff der Zwischenlage typischerweise eine signifikante Temperaturabhängigkeit zeigt, muss die Temperatur der Zwischenlage bei der Prüfung aufgezeichnet werden.
N.2.2 Messsystem
Für jeden Messaufnehmer und jedes Datenerfassungssystem muss ein Kalibrierzertifikat nach EN ISO 17025:2000 vorliegen 16.
Das gesamte Messsystem muss vor und nach jeder Messreihe (und insbesondere nach Änderungen am Messsystem, an der Datenerfassung oder am Messpunkt) neu kalibriert werden.
N.2.3 Datenverarbeitung
Die gesamte abgestrahlte Schallleistung einer zur Schwingung angeregten Schiene ist das Produkt aus Abstrahlgrad (Abstrahleffizienz) der Schiene und dem Quadrat der über die Abstrahlfläche summierten Geschwindigkeitsamplitude. Wenn davon ausgegangen wird, dass sowohl die vertikalen als auch die horizontalen Schwingwellen in der Schiene vom Erregungspunkt (Rad-Schiene-Kontaktpunkt) aus mit zunehmender Entfernung entlang der Schiene exponentiell gedämpft werden, dann ist A(z) - A(0)e-βz. Dabei ist βdie Abklingkonstante für die Antwortamplitude A, gemessen in einer Entfernung z entlang der Schiene zum Anregungspunkt. βkann in eine Abklingrate Δ, die in dB pro Meter angegeben wird, umgewandelt werden:
Δ= 20log10 (eβ) = 8,686βdB/m.
Wenn a sich auf die Schwingschnelle-Antwort bezieht, ist die von der Schiene abgestrahlte Schallleistung proportional zu:
Diese Größe ist - entweder für die vertikalen oder für die horizontalen Wellen - über die nachfolgende Beziehung mit der Abklingrate verbunden:
![]() |
( N2.1) |
Dies zeigt auf, wie die Abklingrate mit dem Schallabstrahlvermögen der Gleiskonstruktion (des Gleisoberbaus) zusammenhängt. Ihr Wert muss für jedes Terzband in dB/m angegeben werden.
Die Abklingrate kann im Prinzip als Steigung einer Kurve, in der die Antwortamplitude in dB über der Entfernung z aufgetragen ist, ermittelt werden. In der Praxis ist es jedoch besser, eine Abklingrate basierend auf einer direkten Abschätzung der summierten Werte der Antwortfunktionen zu bestimmen:
![]() |
( N2.2) |
wobei zmax die maximale Messentfernung darstellt und die Summe für die einzelnen Positionen (Orte) der Antwortmessung gebildet wird, wobei Δz den Abstand zwischen den Mittelpunkten und den Messpunkten auf beiden Seiten darstellt. Der Einfluss des Abstands für die Messung bei zmax sollte klein sein, wobei hier jedoch vorgeschrieben ist, dass er symmetrisch zu zmax sein muss.
Somit wird die Abklingrate für den in jedem Terzband berechneten Mittelwert wie folgt bestimmt:
![]() |
( N2.3) |
Daraus ist ersichtlich, dass es unwesentlich ist, ob " die Übertragungsfunktion (Antwortamplitude) als Akzeleranz oder als Mobilität darstellt, da sich die beiden nur durch den Faktor 2πf unterscheiden, wobei G die Frequenz darstellt. Die Mittelwertberechnung des Spektrums über Terzbänder kann entweder vor der Bewertung der Abklingrate für die Übertragungsfunktion (Antwortamplituden) oder danach mit der Funktion Δ (f) erfolgen. Dabei ist die genaue Messung von "(0 ) wichtig, da dieser Wert als konstanter Faktor in der Summierung auftritt. Dies ist effektiv die Übertragungsfunktion, die sich am einfachsten genau messen lässt. Die Erfahrung zeigt, dass dadurch kein signifikanter Fehler auftritt, wenn die Nahfeldwellen bei dieser einfachen Analyse nicht berücksichtigt werden.
Dieses Bewertungsverfahren erweist sich für hohe Abklingraten als robust, kann jedoch Fehlern unterliegen, wenn der Wert von zmax in der Praxis die Übertragungsfunktion in irgendeinem Terzband abschneidet, bevor eine ausreichende Dämpfung erfolgt ist, die gewährleisten könnte, dass die Aufsummierung bis zmax eine gute Annäherung an das Infinitesimalintegral darstellt. Demnach beträgt die minimale Abklingrate, die für einen speziellen Wert von zmax berechnet werden kann:
| Δmin = 4.343 / zmax | ( N2.4) |
Die ermittelte Abklingrate sollte mit diesem Wert verglichen werden. Wenn sie ihm nahe kommt, ist die geschätzte Abklingrate als unsicher anzusehen. Ein Wert von z. für ca. 40 m sollte die Möglichkeit geben, eine Abklingrate zu bestimmen, die dem Mindestwert gemäß Abbildung N2 entspricht. Bei einigen nicht konformen Gleisen liegen die Abklingraten jedoch in bestimmten Bändern wesentlich niedriger. Um einen übermäßigen Messaufwand zu vermeiden, kann es notwendig sein, für bestimmte Bänder auf die Flankensteilheit zurückzugreifen. Bei niedrigen Abklingraten neigen die Übertragungsfunktionen dazu, keine der oben genannten Probleme aufzuweisen. Sie sollten überprüft werden, indem sie zusammen mit der gemessenen Frequenzantwort für jedes Terzband über der Entfernung dargestellt (aufgetragen) werden.
N.2.4 Prüfbericht
Der räumliche Abklingfaktor der Schienenschwingungen (in vertikaler und horizontaler Richtung) muss in Terz-Frequenzbandbreite in einer Grafik nach EN ISO 3740:2000 17 und IEC 60263:1982 18 dargestellt werden, mit einem Maßstabsverhältnis von 3:4 zwischen der horizontalen und der vertikalen Achse bzw. für eine Oktavbandbreite und ein Abklingrateninkrement von 5 dB/m.
| Schutz durch Erdung der Metallteile der Fahrzeuge | Anhang O |
O.1 Erdungsprinzip
Alle Metallteile eines Fahrzeugs:
sind über Verbindungen mit einem Widerstand, wie unten angegeben, auf das gleiche Potential zu setzen wie die Schiene.
O.2 Erdung des Wagenkastens
Der elektrische Widerstand zwischen den Metallteilen des Fahrzeugs und der Schiene darf maximal 0,05 Ohm betragen. Dieser Wert ist mit einem konstant bei 50 a gehaltenen Strom und einer Spannung von maximal 50 V zu messen.
Wenn die Verwendung von Werkstoffen, die schlechte elektrische Leiter sind, zum Beispiel in unteren Drehpfannen oder in Achslagern, nicht ausreicht, um die oben angegebenen Werte einzuhalten, müssen die Fahrzeuge mit folgenden Schutzerdungen versehen werden, wo dies notwendig ist:
Der Wagenkasten ist an mindestens zwei verschiedenen Punkten mit dem Rahmen zu verbinden. Der Rahmen ist mindestens einmal mit jedem Drehgestell zu verbinden.
Jedes Drehgestell muss zuverlässig über mindestens einen Radsatz geerdet werden, beispielsweise über das Gehäuse eines Achslagers oder mittels einer Erdungsbürste.
Wenn keine Drehgestelle vorhanden sind, ist der Rahmen für jeden der beiden Radsätze über mindestens eine Einzelverbindung zuverlässig zu erden.
Die Erdverbindungen, die isoliert oder nicht isoliert ausgeführt werden können, müssen aus einem flexiblen, korrosionsbeständigen Werkstoff bestehen und einen Mindestquerschnitt von 35 mm2 aufweisen. Wenn andere Werkstoffe als Kupfer verwendet werden, müssen diese bei einem Kurzschluss das gleiche oder ein besseres Verhalten zeigen als die 35-mm2-Kupferverbindung, und der oben angegebene elektrische Widerstand darf unter keinen Betriebsbedingungen überschritten werden. Diese Verbindungen sind so zu montieren, dass sie vor mechanischer Zerstörung geschützt sind.
O.3 Erdung der Fahrzeugteile
Alle leitenden Elemente innerhalb des Fahrzeugs, die zugänglich sein können und mit Metallteilen im Dach in Verbindung stehen, müssen über einen Schutzleiter sicher mit dem Wagenkasten verbunden sein.
O.4 Erdung der elektrischen Anlagen
Bei allen elektrischen Anlagen, die mit dem Hauptstromkreis verbunden sind, über berührbare Metallteile verfügen und nicht unter Spannung geschaltet werden, müssen die Metallteile über einen Schutzleiter sicher mit dem Wagenkasten verbunden sein.
Alle sonstigen Metallteile eines Fahrzeugs, bei denen Berührungswahrscheinlichkeit besteht und versehentliches Einschalten möglich ist, auch wenn sie nicht unter Spannung geschaltet werden, müssen über einen Schutzleiter sicher verbunden sein, wenn die Nennspannung des jeweiligen Teils folgende Werte übersteigt:
Der Querschnitt des Erdleiters ist abhängig von der zu leitenden Stromstärke; er muss so bemessen sein, dass eine sichere Funktion der Leistungsschalter gewährleistet ist, wenn sie ausgelöst werden.
O.5 Antennen
Außen an den Fahrzeugen montierte Antennen müssen folgende Bedingungen erfüllen:
| Berechnungsmethode für Verzögerungen bei eingeschränkter Betriebsfähigkeit und widrigen Wetterverhältnissen | Anhang P |
Dieser Anhang beschreibt das Verfahren zur Bestimmung der Verzögerung a i (m/s 2 ) für den Geschwindigkeitsbereich [v i-1, v i ] bei eingeschränkter Betriebsfähigkeit im Fall B gemäß Abschnitt 4.2.4.1 Tabelle 6 und der entsprechenden maximalen Anhaltewege gemäß Tabelle 7 desselben Abschnitts.
Die Verzögerung ai kann durch Berechnung bestimmt werden. Dieser Anhang beschreibt die Methode, nach der jedes Element der eingeschränkten Betriebsfähigkeit durch spezielle experimentelle Versuche zu bewerten ist.
Alternativ kann die Verzögerung ai auch direkt durch Versuche unter den für Fall B beschriebenen Bedingungen ermittelt werden. Die Betätigungsdauer ist zu verifizieren.
Wenn die Verwendung von alternativen Bremskomponenten in einer bestimmten Bremsanlage zulässig ist, muss das in Bezug auf die Bremskrafterzeugung und den Verlust der Bremskraft aufgrund von Feuchtigkeit ungünstigste Bremsverhalten berücksichtigt werden.
P.2 Definition der Versuche
Die Berechnungsmethode zur Bewertung der in Tabelle 6 in Abschnitt 4.2.4.1 angegebenen Verzögerungen beruht auf 4 Versuchsreihen:
P.2.1 Dynamische Versuche
P.2.1.1 Versuchsbedingungen
P.2.1.2 Ergebnisse aus den dynamischen Versuchen
Tabelle P.1 Dynamische Versuche
| Anfangsgeschwindigkeit für die Bremsung (km/h) | ||||
| Höchstgeschwindigkeit | 300 | 230 | 170 | |
| Versuchsreihe 1 | S1vo | S1300 | S1230 | S1170 |
| Versuchsreihe 2 | S2vo | S2300 | S2230 | S2170 |
| Versuchsreihe 3 | S3 vo | S3300 | S3230 | S3170 |
P.2.1.3 Dynamische Versuche für kraftschlussabhängige Bremsen
Jeder der Versuche in den Versuchsreihen 2 und 3 ist ausgehend von den einzelnen Anfangsgeschwindigkeiten (wie in Tabelle P.2 aufgeführt) fünf Mal zu wiederholen. Geschwindigkeit und Bremsweg sind für Intervalle aufzuzeichnen, die eine Sekunde nicht überschreiten. Die Verzögerungswege (Bremswege) Δs [m] für jedes Geschwindigkeitsintervall [vi-1, vi] sind aufzuzeichnen und über die fünf Versuche zu mitteln.
Tabelle P.2 In den Bremsversuchen gemessene Durchschnittswerte Δs
| Versuchsreihe 2 Trockene Verhältnisse |
Versuchsreihe 3 Verminderter Kraftschluss |
|||||||
| Anfangsgeschwindigkeit für die Bremsung (km/h) | Anfangsgeschwindigkeit für die Bremsung (km/h) | |||||||
| Geschwindigkeitsintervall [vi-1, vi] |
Höchstgeschwindigkeit | 300 | 230 | 170 | Höchstgeschwindigkeit | 300 | 230 | 170 |
| Vmax-300 | Δs21 (1) | - | - | - | Δs31 (1) | - | - | - |
| 300-230 | Δs22 (1) | Δs22 (2) | - | - | Δs32 (1) | Δs32 (2) | - | - |
| 230-170 | Δs23 (1) | Δs23 (2) | Δs23 (3) | - | Δs33 (1) | Δs33 (2) | Δs33 (3) | - |
| 170-0 | Δs24 (1) | Δs24 (2) | Δs24 (3) | Δs24 (4) | Δs34 (1) | Δs34 (2) | Δs34 (3) | Δs34 (4) |
| Hinweis: Das erste Intervall Δs zu Beginn der Bremsung (Δs21 (1), Δs22 (2), Δs23 (3),... Δs31 (1), Δs32 (2),...) ist durch den Weg während der Betätigungsdauer (te) zu reduzieren. | ||||||||
P.2.2 Prüfstandversuche zur Bestimmung der Auswirkungen einer verminderten Reibung
Versuche der Versuchsreihe 4 im Bremsprüfstand sind durchzuführen, um den Leistungsverlust von Reibungsbremsen bei nassen Verhältnissen zu bewerten.
Wenn ein Zug mit verschiedenen Arten von Reibungsbremsen ausgerüstet ist, müssen die Versuche für jede Bremsart (Scheibenbremsen, Motzbremsen...) wiederholt werden.
Die Versuche sind gemäß prEN 15328:2005, Anhang a und B (Versuchsprogramme 1 und 5, je nach Anwendung, Bremsfälle 1 bis 50) durchzuführen. Die mittleren Reibungsbeiwerte bei trockenen Bedingungen µmean_dry und bei feuchten Bedingungen µmean_humid sind für die entsprechenden Bremsbetätigungskräfte zu bestimmen, die den Kräften am nächsten kommen, welche die in den Versuchen der Versuchsreihe 1 für den Geschwindigkeitsbereich [vi-1, vi] ermittelten Bremskräfte F11i erzeugen (siehe P.3.1).
P.3 Berechnung der Verzögerungen
P.3.1 Bestimmung der Bremskräfte F
Die von der Bremsanlage erzeugten Bremskräfte werden unter Verwendung der Ergebnisse aus den Versuchen in Versuchsreihe 1 berechnet. Sie sind zu verwenden, um die mittleren Bremskräfte F11i, F12i, F2i und wi für jede Bremsart für die verschiedenen Geschwindigkeitsbereiche [vi-1, vi] zu überprüfen.
Mit:
F11i = Bremskräfte [kN], die von der Reibung durch den Rad-Schiene-Kontakt abhängen
F12i = andere Bremskräfte [kN], die durch den Rad-Schiene-Kontakt wirken
F2i = Bremskräfte [kN], die nicht vom Rad-Schiene-Kontakt abhängen
wi = Widerstand gegen Vorwärtsbewegung [kN] für den Geschwindigkeitsbereich [vi-1, vi]
P.3.2 Ermittlung von kw- Reduktionskoeffizient aufgrund des verminderten Kraftschlusses
Der Bremskraftverlust aufgrund des verminderten Kraftschlusses ist auf der Basis der Werte in Tabelle P.2 für jedes Geschwindigkeitsintervall [vi-1, vi] durch folgende Gleichung zu berechnen:
mit k = l,...,4
P.3.3 Ermittlung von kh- Reduktionskoeffizient aufgrund verminderter Reibung
Der Koeffizient kh_i für den Reibungsverlust aufgrund von Feuchtigkeit für jeden Geschwindigkeitsbereich [vi-1, vi] ist anhand der verminderten Reibungsbeiwerte zu ermitteln, die in den Prüfstandversuchen in Versuchsreihe 4 (Abschnitt P.2.2) gemessen wurden. Dieser Koeffizient kh_i ist für jeden Reibungswerkstoff und für jeden Geschwindigkeitsbereich [vi-1, vi] wie folgt zu berechnen:
| Geschwindigkeitsintervall
[vi-1 vi] |
Bremsbelag Typ 1 | Bremsbelag Typ 2, sofern zutreffend | Kh_i für Bremsbeläge, sofern zutreffend |
| Vmax-300 | kh_1_Pad1 = µmean_humid / µmean_dry
µmean ist ein offener Punkt |
kh_1_Pad2 | kh_1 = Min(kh_1_Pad1; kh_1_Pad2;...) |
| 300-230 | kh_2_Pad1 = µmean_humid / µmean_dry
µmean ist ein offener Punkt |
kh_2_Pad2 | kh_2 = Min(kh_2_Pad1; kh_2_Pad2;...) |
| 230-170 | kh_3_Pad1 = µmean_humid / µmean_dry
µmean ist ein offener Punkt |
kh_3_Pad2 | kh_3 = Min(kh_3_Pad1; kh_3_Pad2;...) |
| 170-0 | kh_4_Pad1 = µmean_humid / µmean_dry
µmean ist der Durchschnittswert der Versuche bei 160 km/h mit Bremsbetätigungskräften, die den Kräften am nächsten kommen, welche die Bremskräfte für den Geschwindigkeitsbereich erzeugen. |
kh_4_Pad2 | kh_4 = Min(kh_4_Pad1; kh_4_Pad2;...) |
Dieses Verfahren ist auch für Bremsklötze zu verwenden, um den Koeffizienten für den Reibungsverlust aufgrund von Feuchtigkeit für die Bremsklötze zu erhalten, sofern der Zug darüber verfügt.
Für Züge der Klasse 1 mit einer Höchstgeschwindigkeit vmax von bis zu 300 km/h sind die beiden ersten Geschwindigkeitsintervalle in der Tabelle ein offener Punkt.
Für Züge der Klasse 2 mit einer Höchstgeschwindigkeit vmax von 230 km/h oder darüber werden die beiden ersten Geschwindigkeitsintervalle ignoriert.
Für Züge der Klasse 2 mit einer Höchstgeschwindigkeit vmax von bis zu 230 km/h werden die beiden ersten Geschwindigkeitsintervalle ignoriert und das Geschwindigkeitsintervall [230-170] wird durch den Bereich [vmax-170] ersetzt.
P.3.4 Berechnung der Verzögerungen
Die Werte ai (m/s2) sind mit folgender Formel für den Geschwindigkeitsbereich [vi-l, vi] zu berechnen:
wobei:
me = äquivalente Masse der Fahrzeuge [t] (einschließlich der Trägheit der rotierenden Masse), die aus der normalen Zuglast gemäß Definition in Abschnitt 4.2.4.1 dieser TSI resultiert
F11i, F12i, F2i, wi = in P.3.1 definierte Bremskräfte
kw_i = in P.3.2 definierter Koeffizient
kh_i = in P.3.3 definierter Koeffizient
kv_i = Koeffizient für die Minderung der Bremskraft für F11i unter Berücksichtigung der Auswirkung von Feuchtigkeit und des Kraftschlussverlustes, der die Mindestwerte von kh_i und kw_i verwendet
| Kennzeichnung der Rückstelleinrichtung für die Fahrgastnotbremse | Anhang Q |
Abbildung Q1 Die Rückstellung erfolgt durch den Vierkantschlüssel
Abbildung Q2 Zur Rückstellung muss der Kasten geöffnet werden
| Sonderfall - Fahrzeugbegrenzungslinie für Finnland | Anhang R |
Finnland, statische Begrenzungslinie FIN1
R.1 Allgemeine Bestimmungen
1.1 Die Fahrzeugbegrenzungslinie bestimmt den Raum, innerhalb dessen sich das Fahrzeug in mittlerer Position auf einem geraden Gleis befinden muss. Die Bezugslinie (FINI) wird in Anhang R.A angegeben.
1.2 Um die tiefste Position der verschiedenen Teile des Fahrzeugs (unterer Teil, Teile in der Nähe der Spurkränze) in Bezug auf das Gleis festzulegen, sind die nachstehend genannten Abstände zu berücksichtigen:
1.3 Für die Festlegung der höchsten Position der verschiedenen Teile des Fahrzeugs gelten folgende Annahmen: Das Fahrzeug ist leer, es liegt kein Verschleiß vor und Montage- und Konstruktionstoleranzen werden berücksichtigt.
R.2 Unterer Teil des Fahrzeugs
Die für die unteren Teile zulässige Mindesthöhe ist gemäß Anhang R.B1 für Fahrzeuge zu erweitern, die Ablaufberge in Rangierbahnhöfen und Gleisbremsen überfahren können.
Für Fahrzeuge, die Ablaufberge in Rangierbahnhöfen und Gleisbremsen nicht überfahren dürfen, kann die Höhe gemäß Anhang R.B2 minimal erweitert werden.
R.3 Fahrzeugteile in der Nähe der Spurkränze
3.1 Fahrzeugteile, die in der Nähe der Spurkränze sitzen, mit Ausnahme der Räder selbst, müssen einen vertikalen Abstand von der Lauffläche von mindestens 55 mm haben. In Kurven müssen diese Teile innerhalb der von den Rädern eingenommenen Zone verbleiben.
Dieser Abstand von 55 mm gilt nicht für die flexiblen Teile der Sandstreuanlage oder für die flexiblen Bürsten.
3.2 Für Fahrzeuge, die durch einen beweglichen, manuell auf die Schiene aufgebrachten Hemmschuh gebremst werden, beträgt als Ausnahme zu Punkt 3.1 der zulässige vertikale Mindestabstand für Teile jenseits der Endachsen 125 mm.
3.3 Der Mindestabstand von Bremskomponenten zur Schiene, die in Kontakt mit der Schiene kommen sollen, kann weniger als 55 mm betragen, wenn es sich bei den Komponenten um unbewegliche Komponenten handelt. Sie müssen innerhalb der Zone zwischen den Achsen liegen und müssen in Kurven innerhalb der von den Rädern eingenommenen Zone verbleiben. Die Komponenten dürfen den Betrieb von Rangiervorrichtungen nicht beeinträchtigen.
R.4 Fahrzeugbreite
4.1 Die Quermaße der halben Breite, die für gerade Gleise und in Kurven zulässig sind, sind gemäß Anhang R.C zu verringern.
R.5 Untere Stufe und nach außen öffnende Einstiegstüren für Reisezugwagen und Triebzuge
5.1 Die Begrenzungslinie für die untere Stufe an Reisezugwagen und Triebzügen ist in Anhang R.D1 angegeben.
5.2 Die Begrenzungslinie der äußeren Position von nach außen öffnenden Einstiegstüren an Reisezugwagen und Triebzügen ist in Anhang R.D2 angegeben.
R.6 Stromabnehmer und nicht isolierte spannungsführende Teile auf dem Dach
6.1 Der in mittlerer Position auf einem geraden Gleis abgesenkte Stromabnehmer darf nicht über die Fahrzeugbegrenzungslinie vorstehen.
6.2 Der in mittlerer Position auf einem geraden Gleis angehobene Stromabnehmer darf nicht über die in Anhang R.E angegebene Fahrzeugbegrenzungslinie vorstehen.
Die Querbewegungen eines Stromabnehmers aufgrund von Schwingungen sowie aufgrund der Gleisneigung und der Gleistoleranzen sind zum Zeitpunkt der Installation der elektrischen Leitung separat zu berücksichtigen.
6.3 Wenn sich der Stromabnehmer nicht über der Mitte des Drehgestells befindet, muss die durch Kurven bedingte seitliche Bewegung ebenfalls berücksichtigt werden.
6.4 Nicht isolierte Teile (25 kV) auf dem Dach dürfen nicht in die in Anhang R.E angegebene Zone hineinragen.
R.7 Vorschriften und künftige Anweisungen
7.1 Neben den Punkten R.1 bis R.6 müssen die für den westlichen Verkehr ausgelegten Fahrzeuge ebenfalls die Vorschriften der UIC-Merkblätter 505-1 oder 506 erfüllen.
Der untere Teil von Fahrzeugen, die auf Fähren fahren können, muss später mit UIC-Merkblatt 507 (Güterwagen) oder 569 (Reisezugwagen und Gepäckwagen) konform sein.
7.2 Neben den Punkten R.1 bis R.6 müssen die für den Verkehr in Russland ausgelegten Fahrzeuge ebenfalls die Vorschriften der Norm GOST 9238-83 erfüllen. Zumindest muss die übliche Begrenzungslinie eingehalten werden.
7.3 Für die Festlegung der Begrenzungslinie von Triebzügen, die aus Fahrzeugen mit Neigetechnik bestehen, gilt eine separate Vorschrift.
7.4 Die Begrenzungslinien werden durch eine separate Vorschrift abgedeckt.
| Fahrzeugbegrenzungslinie | Anhang R.A |
Abbildung R.1 Erweiterung der Fahrzeugbegrenzungslinie (FIN1)
Hinweis: Für Rückspiegel siehe Anhang R.D2, Abschnitt 1; für die Annahme ist eine separate Vorschrift anzuwenden.
1) unterer Teil von Fahrzeugen, die Ablaufberge und Gleisbremsen überfahren können;
2) unterer Teil von Fahrzeugen, die Ablaufberge und Gleisbremsen nicht überfahren können, mit Ausnahme von Drehgestellen von Triebfahrzeugen; siehe 3);
3) unterer Teil der Drehgestelle von Triebfahrzeugen, die Ablaufberge und Gleisbremsen nicht überfahren können;
4) Begrenzungslinie von Fahrzeugen, die auf Strecken fahren können, die in Jtt (technische Spezifikationen zu Sicherheitsstandards bei finnischen Eisenbahnen) dargestellt sind, wo die Begrenzungslinie für Hindernisse entsprechend erweitert wurde.
| Erweiterung der Mindesthöhe des unteren Teils von Fahrzeugen, die Ablaufberge und Gleisbremsen überfahren können | Anhang R.B1 |
Die Höhe des unteren Teils der Fahrzeuge ist um Eas und Eau zu erweitern, damit:
Die Erweiterung der Höhe ist mit folgenden Formeln19 zu berechnen (Werte in Metern):
Für einen Abstand von bis zu 1,445 m von der Gleismittellinie:
Eas = [(an-n2) / 500] - h
Für einen Abstand von über 1,445 m von der Gleismittellinie:
Eau = [(an + n2) / 600]
Eau = [(an + n2) / 600] - (h - 0,275)
Bezeichnungen:
Eas = Erweiterung der Höhe des unteren Teils des Fahrzeugs in Querschnitten zwischen Drehzapfen oder zwischen Endachsen. Eas ist nur zu berücksichtigen, wenn sein Wert positiv ist.
Eau = Erweiterung der Höhe des unteren Teils des Fahrzeugs in Querschnitten jenseits der Drehzapfen oder jenseits der Endachsen. Eau ist nur zu berücksichtigen, wenn sein Wert positiv ist.
a = Abstand zwischen Drehzapfen oder zwischen Endachsen;
n = Abstand zwischen dem betrachteten Querschnitt und dem am nächsten liegenden Drehzapfen (oder der am nächsten liegenden Endachse);
h = Höhe des unteren Teils des Fahrzeugs über der Lauffläche (siehe Anhang R.A).
| Erweiterung der Mindesthöhe des unteren Teils von Fahrzeugen, die Ablaufberge und Gleisbremsen nicht überfahren können | Anhang R.B2 |
Die Höhe des unteren Teils der Fahrzeuge ist um Eas und Eau zu erweitern, damit:
Die Erweiterung der Höhe ist mit folgenden Formeln20 zu berechnen (Werte in Metern):
E'as = [(an - n2) / 1.000] - h
E'au = [(an + n2) / 1.000] - h
Bezeichnungen:
E'as = Erweiterung der Höhe des unteren Teils des Fahrzeugs in Querschnitten zwischen Drehzapfen oder zwischen Endachsen. E'as ist nur zu berücksichtigen, wenn sein Wert positiv ist.
E'au = Erweiterung der Höhe des unteren Teils des Fahrzeugs in Querschnitten jenseits der Drehzapfen oder jenseits der Endachsen. E'au ist nur zu berücksichtigen, wenn sein Wert positiv ist.
a = Abstand zwischen Drehzapfen oder zwischen Endachsen;
n = Abstand zwischen dem betrachteten Querschnitt und dem am nächsten liegenden Drehzapfen (oder der am nächsten liegenden Endachse);
h = Höhe des unteren Teils des Fahrzeugs über der Lauffläche (siehe Anhang R.A).
| Position der Schienenbremsen und anderer Rangiervorrichtungen von Ablaufbergen | Anhang R.B3 |
Überholungsgleise
Auf Überholungsgleisen von Ablaufbergen mit Rmin = 500 m beträgt die Höhe h der Begrenzungslinie für Hindernisse über der Lauffläche über die gesamte Breite der Fahrzeugbegrenzungslinie (= 1.700 mm von der Gleismittellinie) gleich 0 mm. Der längsseitige Bereich, in dem h = 0 ist, erstreckt sich über einen Bereich ab 20 m vor dem konvexen Bereich auf der Spitze des Ablaufhügels bis 20 m nach dem konkaven Bereich im Tal des Ablaufhügels. Für Rangierbahnhöfe kann die Begrenzungslinie für Hindernisse außerhalb dieses Bereichs liegen (RAMO, Abschnitt 2.9 und RAMO 2, Anhang 2 bezüglich Begrenzungslinien für Rangierbahnhöfe, sowie RAMO 2, Anhang 5 bezüglich Kreuzungspunkten).
| Verringerung der halben Breite in Bezug auf die Fahrzeugbegrenzungslinie FIN1 (Formeln zur Verringerung) | Anhang R.C |
1. Allgemeine Bestimmungen
Die Quermaße von Fahrzeugen, die entsprechend der Fahrzeugbegrenzungslinie berechnet wurden (Anhang R.A), sind um die Werte Es oder Eu zu verringern, damit kein Teil des Fahrzeugs um mehr als (36/R + k) von der Gleismittellinie in die halbe Breite der Fahrzeugbegrenzungslinie FINI vorstehen kann, wenn sich das Fahrzeug in seiner ungünstigsten Position (ohne Neigung bezüglich seiner Aufhängung) auf einem Gleis mit dem Radius R = 150 m mit einer Spurweite von 1,544 m befindet.
Die Mittellinie der Fahrzeugbegrenzungslinie fällt mit der Gleismittellinie zusammen, die bei einem überhöhten Gleis geneigt ist.
Die Verringerungswerte werden gemäß den Formeln in Abschnitt 2 berechnet.
2. Formeln zur Berechnung der Verringerungswerte (in Metern)
2.1 Querschnitte zwischen den Drehzapfen oder den Endachsen
2.2 Querschnitte jenseits der Drehzapfen oder der Endachsen (bei einem Überhang der Fahrzeuge)
Bezeichnungen:
Es, Es∞ = Verringerung der halben Breite der Begrenzungslinie für Querschnitte zwischen den Drehzapfen oder zwischen den Endachsen. Es und Es∞ sind nur zu berücksichtigen, wenn ihre Werte positiv sind;
Eu, Eu∞ = Verringerung der halben Breite der Begrenzungslinie für Querschnitte jenseits der Drehzapfen oder der Endachsen. Eu und Eu∞ sind nur zu berücksichtigen, wenn ihre Werte positiv sind;
a = Abstand zwischen Drehzapfen oder zwischen Endachsen21;
n = Abstand zwischen dem betrachteten Querschnitt und dem am nächsten liegenden Drehzapfen oder der am nächsten liegenden Endachse oder dem fiktiven Drehzapfen, wenn das Fahrzeug keinen festgelegten Drehzapfen besitzt;
p = Drehgestellradstand;
q = Summe aus dem Spiel zwischen dem Achslager und der Achse und dem möglichen Spiel zwischen dem Achslager und dem Drehgestellrahmen, gemessen von der mittleren Position beim größten Verschleiß der Komponenten;
wiR = mögliche Querbewegung des Drehzapfens und des Lagers gegenüber dem Drehgestellrahmen oder, bei Fahrzeugen ohne Drehzapfen, mögliche Bewegung des Drehgestellrahmens gegenüber dem Fahrzeugrahmen, gemessen von der mittleren Position in Richtung Kurveninnenseite (variiert je nach Bogenhalbmesser);
waR = wie wiR, jedoch in Richtung Kurvenaußenseite;
w∞= wie wiR, jedoch auf einem geraden Gleis, von der mittleren Position in Richtung beider Seiten;
l = maximale Spurweite eines geraden Gleises und eines betrachteten gekrümmten Gleises = 1,544 m;
d = Abstand zwischen Spurkränzen mit größtem Verschleiß, gemessen 10 mm in Richtung Außenseite des Laufkreises = 1,492 m;
R = Bogenhalbmesser,
Wenn w konstant ist oder linear entsprechend 1/R schwankt, beträgt der zu betrachtende Bogenhalbmesser 150 m.
In Ausnahmefällen ist ein Wert von R ≥ 150 m zu verwenden, was die größte Verringerung ergibt.
k = zulässiges Vorstehen in die Begrenzungslinie (durch die Erweiterung der Begrenzungslinie für Hindernisse um 36/R zu erhöhen) ohne Neigung aufgrund der Flexibilität der Aufhängung:
0 für h < 330 mm für Fahrzeuge, die Schienenbremsen überfahren können (siehe Anhang R.B1);
0,060 m für h < 600 mm;
0,075 m für h ≥ 600 mm.
h = Höhe über der Lauffläche an der betrachteten Position, wobei sich das Fahrzeug in der tiefsten Position befindet.
3. Verringerungswerte
Die halbe Breite der Fahrzeugquerschnitte ist zu verringern:
3.1 Für Querschnitte zwischen den Drehzapfen:
durch den jeweils größeren Wert von Es und Es∞,
3.2 Für Querschnitte jenseits der Drehzapfen:
durch den jeweils größeren Wert von Eu und Eu∞.
| Begrenzungslinie der unteren Stufe des Fahrzeugs | Anhang R.D1 |
1. Dieser Standard betrifft die für hohe (550/ 1.800 mm) oder für niedrige (265/1.600 mm) Bahnsteige verwendete Stufe.
Um einen unnötig breiten Spalt zwischen der Stufe und der Bahnsteigkante zu vermeiden, sowie unter Berücksichtigung der unteren Stufe an den Fahrzeugen und der hohen Bahnsteige (550/1.800 mm) kann der Wert 1,700 - E in Übereinstimmung mit Anhang R.C überschritten werden, wenn es sich um eine feste Stufe handelt. In diesem Fall sind die nachstehenden Berechnungen anzuwenden, durch die geprüft werden kann, ob die Stufe trotz des Vorstehens nicht den Bahnsteig erreicht. Der Reisezugwagen ist in seiner tiefsten Position in Bezug auf die Lauffläche zu untersuchen.
2. Abstand zwischen Gleismittellinie und Bahnsteig:
L = 1,800 + 36/R - t
3. Für die Stufe erforderlicher Raum:
3.1 Stufe sitzt zwischen den Drehzapfen:
3.2 Stufe sitzt jenseits der Drehzapfen:
4. Bezeichnungen (Werte in Metern):
As, Au = Abstand zwischen der Gleismittellinie und der Außenkante einer Stufe;
B = Abstand zwischen der Fahrzeugmittellinie und der Außenkante der Stufe;
a = Abstand zwischen Drehzapfen oder zwischen Endachsen;
n = weitester Abstand des Stufenquerschnitts vom Drehzapfen;
p = Drehgestellradstand;
q = mögliche Querbewegung aufgrund des Spiels zwischen der Achse und dem Achslager zuzüglich des Spiels zwischen dem Achslager und dem Drehgestellrahmen, gemessen von der mittleren Position beim größten Verschleiß der Komponenten;
wiR = mögliche Querbewegung des Drehzapfens und des Lagers, gemessen von der mittleren Position in Richtung Kurveninnenseite;
waR = wie wiR, jedoch in Richtung Kurvenaußenseite;
wiR/aR = Höchstwert beim betrachteten gekrümmten Gleis (für feste Stufen);
= 0,005 m (für steuerbare Stufen, die bei v ≤ 5 km/h automatisch ausfahren);
l = maximale Spurweite eines geraden Gleises und eines betrachteten gekrümmten Gleises = 1,544 m;
d = Abstand zwischen Spurkränzen mit größtem Verschleiß, gemessen 10 mm in Richtung Außenseite des Laufkreises, = 1,492 m;
R = Bogenhalbmesser = 500 m... ∞;
t = zulässige Toleranz (0,020 m) für die Verschiebung der Schiene in Richtung Bahnsteig zwischen zwei Instandhaltungsmaßnahmen.
5. Vorschriften bezüglich des Querabstands zwischen Stufe und Bahnsteig:
5.1 Abstand AV = L - As/u muss mindestes 0,020 m betragen.
5.2 Auf einem geraden Gleis wird bei einem Reisezugwagen in mittlerer Position und einem Bahnsteig in nominaler Position ein Abstand von 150 mm zwischen Fahrzeug und Bahnsteig als ausreichend erachtet. Jedoch ist in jedem Fall der kleinste Wert für diesen Abstand anzustreben. Andernfalls ist die Prüfung auf einem geraden und auf einem gekrümmten Gleis durchzuführen, wo As/u den maximalen Wert hat.
6. Prüfung der Begrenzungslinie
Die Prüfung der Begrenzungslinie für die unteren Stufen ist auf einem geraden Gleis und für eine Kurve von 500 m durchzuführen, wenn der Wert w konstant ist oder linear entsprechend 1 IR schwankt. Andernfalls ist die Prüfung auf einem geraden Gleis und auf einem gekrümmten Gleis durchzuführen, wo As/u den maximalen Wert hat.
7. Darstellung der Ergebnisse
Die verwendeten Formeln und die eingesetzten und resultierenden Werte sind in einfacher und verständlicher Weise darzustellen.
| Begrenzungslinie von nach außen öffnenden Türen und von ausgefahrenen Stufen für Reisezugwagen und Triebzüge | Anhang R.D2 |
1. Um einen unnötig breiten Spalt zwischen der Stufe und der Bahnsteigkante zu vermeiden, kann der Wert 1,700 - E (siehe UIC-Merkblatt 560, Absatz 1.1.4.2) in Übereinstimmung mit Anhang R.C beim Entwurf einer nach außen öffnenden Tür mit einer Stufe in offener oder geschlossener Position, oder wenn Tür und Stufe sich zwischen der offenen und geschlossenen Position bewegen, überschritten werden. In diesem Fall sind die nachstehenden Prüfungen durchzuführen, um unter anderem nachzuweisen, dass, trotz der zusätzlichen Bewegung, weder die Tür noch die Stufe mit der festen Ausrüstung in Konflikt geraten (RAMO Abschnitt 2.9, Anhang 2). In den Berechnungen ist der Reisezugwagen in seiner tiefsten Position in Bezug auf die Lauffläche zu untersuchen.
Im weiteren Verlauf umfasst der Begriff "Tür" ebenfalls die Stufe.
HINWEIS: Anhang R.D2 kann ebenfalls zur Prüfung des äußeren Rückspiegels einer Lokomotive oder eines Triebwagens in ausgefahrener Position verwendet werden. Während des normalen Verkehrs auf der Strecke ist der Spiegel in eine Vertiefung innerhalb der Fahrzeugbegrenzungslinie eingefahren.
2. Der Abstand zwischen der Gleismittellinie und der festen Ausrüstung ist: L = AT + 36/R - t;
AT = 1,800 m, wenn h < 600 mm;
AT = 1,920 m, wenn 600 < h ≤ 1.300 mm;
AT = 2,000 m, wenn h > 1.300 mm.
3. Für die Tür erforderlicher Raum:
3.1 Tür sitzt zwischen den Drehzapfen:
3.2 Tür sitzt jenseits der Drehzapfen:
Bezeichnungen (Werte in Metern):
AT = nominaler Abstand zwischen der Gleismittellinie und der festen Ausrüstung (auf einem geraden Gleis);
h = Höhe über der Lauffläche an der betrachteten Position, wobei sich das Fahrzeug in der tiefsten Position befindet;
Os, Ou = zulässiger Abstand zwischen der Gleismittellinie und der Türkante, wenn die Tür maximal vorsteht;
B = Abstand zwischen der Fahrzeugmittellinie und der Türkante, wenn die Tür maximal vorsteht;
a = Abstand zwischen Drehzapfen oder zwischen Endachsen;
n = weitester Abstand des Türquerschnitts vom Drehzapfen;
p = Drehgestellradstand;
q = mögliche Querbewegung aufgrund des Spiels zwischen der Achse und dem Achslager zuzüglich des Spiels zwischen dem Achslager und dem Drehgestellrahmen, gemessen von der mittleren Position beim größten Verschleiß der Komponenten;
wiR = mögliche Querbewegung des Drehzapfens und des Lagers, gemessen von der mittleren Position in Richtung Kurveninnenseite;
waR = wie WIR, jedoch in Richtung Kurvenaußenseite;
wiR/aR = 0,020 m, maximaler Wert für Geschwindigkeiten von unter 30 km/h (UIC-Merkblatt 560);
1 = maximale Spurweite eines geraden Gleises und eines betrachteten gekrümmten Gleises = 1,544 m;
d = Abstand zwischen Spurkränzen mit größtem Verschleiß, gemessen 10 mm in Richtung Außenseite des Laufkreises, = 1,492 m;
R = Bogenhalbmesser
für h < 600 mm, R = 500 m
für h ≥ 600 mm, R = 150 m
t = zulässige Toleranz (0,020 m) für die Verschiebung der Schiene in Richtung fester Ausrüstung zwischen zwei Instandhaltungsmaßnahmen.
4. Vorschriften bezüglich des Querabstands zwischen Tür und fester Ausrüstung:
Abstand OV = L - Os/u muss mindestes 0,020 m betragen.
5. Prüfung der Begrenzungslinie
Die Prüfung der Türbegrenzungslinie ist auf einem geraden Gleis sowie für eine Kurve von 500/150 m durchzuführen, wenn der Wert w linear entsprechend 1/R schwankt. Andernfalls ist die Prüfung auf einem geraden Gleis und auf einem gekrümmten Gleis durchzuführen, wo Os/u den maximalen Wert hat.
6. Darstellung der Ergebnisse
Die verwendeten Formeln und die eingesetzten und resultierenden Werte sind in einfacher und verständlicher Weise darzustellen.
| Stromabnehmer und nicht isolierte spannungsführende Teile | Anhang R.E |
Nicht isolierte spannungsführende Teile dürfen nicht im schraffierten Bereich sitzen (25 kV).
1. Gemäß Anhang R.C sind Es oder Eu in Querrichtung zu addieren.
![]() |
ENDE | ![]() |
(Stand: 17.08.2022)
Alle vollständigen Texte in der aktuellen Fassung im Jahresabonnement
Nutzungsgebühr: ab 105.- € netto
(derzeit ca. 7200 Titel s.Übersicht - keine Unterteilung in Fachbereiche)
Die Zugangskennung wird kurzfristig übermittelt
? Fragen ?
Abonnentenzugang/Volltextversion