umwelt-online: Beschluss 2011/291/EU über eine technische Spezifikation für die Interoperabilität des Fahrzeug-Teilsystems "Lokomotiven und Personenwagen" des konventionellen transeuropäischen Eisenbahnsystems (3)
![]() |
zurück | ![]() |
6.2.4 Bewertung der für Betrieb und Instandhaltung angeforderten Dokumentation
Gemäß Artikel 18 Absatz 3 der Richtlinie 2008/57/EG ist eine benannte Stelle dafür verantwortlich, das technische Dossier zusammenzustellen, das die für den Betrieb und die Instandhaltung angeforderte Dokumentation enthält.
Die benannte Stelle hat lediglich zu verifizieren, dass die für den Betrieb und die Instandhaltung angeforderte Dokumentation gemäß Abschnitt 4.2.12 dieser TSI vorliegt. Die in der vorgelegten Dokumentation enthaltenen Informationen selbst müssen von der benannten Stelle nicht geprüft werden.
6.2.5 Einheiten, für die EG-Erklärungen im Rahmen der TSI RST HS und dieser TSI erforderlich sind
In diesem Abschnitt wird der Fall eines Baumusters einer Einheit abgedeckt, das im Rahmen dieser TSI zu bewerten ist, und das:
Die Parameter, die von beiden TSI abgedeckt und gleichermaßen spezifiziert werden, werden der unten stehenden Tabelle aufgeführt. Diese Parameter müssen nicht von der gemäß dieser TSI für die Bewertung benannten Stelle neu bewertet werden. Die im Sinne der TSI RST HS durchgeführte Bewertung wird für beide TSI als gültig anerkannt.
Die EG-Prüferklärung, die von der benannten Stelle erstellt wird, um die Einhaltung des Baumusters einer Einheit für diese TSI zu dokumentieren, kann auf die EG-Prüferklärung verweisen, die die Einhaltung der folgenden Abschnitte dieser TSI mit der TSI RST HS festlegt, sofern die unten genannte Bedingung für den entsprechenden Abschnitt erfüllt wird:
| Element des Teilsystems "Fahrzeuge" | Abschnitt in der vorliegenden TSI | Abschnitt in der TSI RST HS | Bedingung für die Gültigkeit der Bewertung für die TSI RST HS |
| Struktur und mechanische Teile | 4.2.2 | ||
| Endkupplung | 4.2.2.2.3 | 4.2.2.2 | - |
| Schleppkupplung | 4.2.2.2.4 | 4.2.2.2 | - |
| Zugang des Zugpersonals bei Kupplungs- und Entkupplungsvorgängen | 4.2.2.2.5 | 4.2.2.2 | - |
| Festigkeit der Fahrzeugstruktur | 4.2.2.4 | 4.2.2.3 | - |
| Passive Sicherheit | 4.2.2.5 | 4.2.2.3 | - |
| Zugangstüren für Personal | 4.2.2.8 | 4.2.2.4.2.2 | - |
| Fahrzeug-Fahrweg-Wechselwirkung und Fahrzeugbegrenzungslinie | 4.2.3 | ||
| Fahrzeugbegrenzungslinie - kinematische Begrenzungslinie | 4.2.3.1 | 4.2.3.1 4.2.3.9 |
- |
| Radlast | 4.2.3.2.2 | 4.2.3.2 | - |
| Fahrzeugparameter, die das Teilsystem "Zugsteuerung, Zugsicherung und Signalgebung" beeinflussen | 4.2.3.3.1 | 4.2.3.2 4.2.3.3.1 4.2.3.4.9.1 4.2.3.4.9.3 4.2.3.10 |
- |
| Überwachung des Zustands der Radsatzlager | 4.2.3.3.2 | 4.2.3.3.2 | - |
| Dynamisches Laufverhalten | 4.2.3.4.2 | 4.2.3.4.1 | Die Bewertung muss Tests innerhalb des konventionellen Eisenbahnsystems bei Betriebsgeschwindigkeit beinhalten. |
| Grenzwerte für Laufsicherheit | 4.2.3.4.2.1 | 4.2.3.4.2 | - |
| Grenzwerte für die Gleisbeanspruchung | 4.2.3.4.2.2 | 4.2.3.4.3 | - |
| Äquivalente Konizität: Auslegungswerte für neue Radprofile | 4.2.3.4.3.1 | 4.2.3.4.6 4.2.3.4.7 |
Simulationen müssen für die 3 zusätzlichen Gleisprofile, die in der TSI LOC&PAS CR spezifiziert werden, durchgeführt werden. |
| Geometrische Merkmale von Rädern | 4.2.3.5.2.2 | 4.2.3.4.9.2 | - |
| Bremsen | 4.2.4 | ||
| Funktionelle Anforderungen | 4.2.4.2.1 | 4.2.4.3 4.2.4.6 |
- |
| Notbremsung | 4.2.4.4.1 | 4.2.4.3 | - |
| Betriebsbremsung | 4.2.4.4.2 | 4.2.4.3 | - |
| Leistung der Notbremse | 4.2.4.5.2 | 4.2.4.1 | Die Bewertung muss Tests innerhalb des konventionellen Eisenbahnsystems bei Betriebsgeschwindigkeit beinhalten. |
| Leistung der Betriebsbremse | 4.2.4.5.3 | 4.2.4.4 | Die Bewertung muss Tests innerhalb des konventionellen Eisenbahnsystems bei Betriebsgeschwindigkeit beinhalten. |
| Leistung der Feststellbremse | 4.2.4.5.5 | 4.2.4.6 | - |
| Grenzwerte des Profils des Rad-Schiene-Kraftschlusses | 4.2.4.6.1 | 4.2.4.2 | - |
| Anforderungen an die Bremsen zur Bergung von Zügen | 4.2.4.10 | 4.2.4.3 | - |
| Fahrgastspezifische Aspekte | 4.2.5 | ||
| Sanitäre Systeme | 4.2.5.1 | 4.2.2.5 | - |
| Lautsprecheranlage: akustische Kommunikationsanlage | 4.2.5.2 | 4.2.5.1 | - |
| Fahrgastalarm: Funktionelle Anforderungen | 4.2.5.3 | 4.2.5.3 | - |
| Sicherheitsanweisungen für Fahrgäste - Zeichen | 4.2.5.4 | 4.2.5.2 | - |
| Umgebungsbedingungen und aerodynamische Auswirkungen | 4.2.6 | ||
| Auswirkungen der Wirbelzone auf Personen am Bahnsteig | 4.2.6.2.1 | 4.2.6.2.2 | - |
| Auswirkungen der Wirbelzone auf Gleisarbeiter | 4.2.6.2.2 | 4.2.6.2.1 | - |
| Druckimpuls an der Zugspitze | 4.2.6.2.3 | 4.2.6.2.3 | - |
| Außenleuchten & visuelle und akustische Warnvorrichtungen | 4.2.7 | ||
| Außenleuchten | 4.2.7.1 | 4.2.7.4.1 | - |
| Signalhorn | 4.2.7.2 | 4.2.7.4.2 | - |
| Antriebs- und elektrische Ausrüstung | 4.2.8 | ||
| Antriebsleistung | 4.2.8.1 | 4.2.8.1 | - |
| Energieversorgung | 4.2.8.2.1 bis 4.2.8.2.7 | 4.2.8.3 | - |
| Anforderungen in Verbindung mit Stromabnehmern | 4.2.8.2.9 | 4.2.8.3.6 bis 3.8 | Die Bewertung muss Tests innerhalb des konventionellen Eisenbahnsystems bei Betriebsgeschwindigkeit beinhalten. |
| Elektrischer Schutz des Zuges | 4.2.8.2.10 | 4.2.8.3.6.6 + offener Punkt | - |
| Schutz gegen elektrische Gefahren | 4.2.8.4 | 4.2.7.3 | - |
| Führerstand und Schnittstelle Triebfahrzeugführer-Maschine | 4.2.9 | ||
| Ein- und Ausstieg | 4.2.9.1.2 | 4.2.2.6 4.2.7.1.2 |
- |
| Äußere Sichtverhältnisse | 4.2.9.1.3 | 4.2.2.6 | - |
| Innengestaltung | 4.2.9.1.4 | 4.2.2.6 | - |
| Führersitz | 4.2.9.1.5 | 4.2.2.6 | - |
| Klimasteuerung und Luftqualität | 4.2.9.1.7 | 4.2.7.7 | - |
| Windschutzscheibe | 4.2.9.2 | 4.2.2.7 | - |
| Aufbewahrungsmöglichkeit für persönliche Gegenstände des Personals | 4.2.9.5 | 4.2.2.8 | - |
| Brandschutz und Evakuierung | 4.2.10 | ||
| Allgemeines und Kategorisierung | 4.2.10.1 | 4.2.7.2 | - |
| Werkstoffanforderungen | 4.2.10.2 | 4.2.7.2.2 | - |
| Spezielle Maßnahmen für entflammbare Flüssigkeiten | 4.2.10.3 | 4.2.7.2.5.2 | - |
| Bergung von Fahrgästen | 4.2.10.4 | 4.2.7.1.1 | - |
| Brandschutzwände | 4.2.10.5 | 4.2.7.2.3.3 | - |
| Wartung | 4.2.11 | ||
| Außenreinigung der Züge | 4.2.11.2 | 4.2.9.2 | - |
| Anlagen für die Toilettenentsorgung | 4.2.11.3 | 4.2.9.3 | - |
| Wasserbefüllungsanlagen | 4.2.11.4 | 4.2.9.5 | - |
| Schnittstelle für Wasserbefüllung | 4.2.11.5 | 4.2.9.5.2 | - |
| Dokumentation für Betrieb und Instandhaltung | 4.2.12 | ||
| Instandhaltungsunterlagen | 4.2.12.3 | 4.2.10.2 | - |
| Betriebliche Unterlagen | 4.2.12.4 | 4.2.1.1 | - |
6.2.6 Bewertung von Einheiten, die für den Einsatz im allgemeinen Fahrbetrieb ausgelegt sind
Wenn eine neue, erneuerte oder umgerüstete Einheit, die für den allgemeinen Fahrbetrieb eingesetzt werden soll, im Rahmen dieser TSI (gemäß Abschnitt 4.1.2) zu bewerten ist, erfordern einige der Anforderungen der TSI einen Referenzzug zu deren Bewertung. Solche Fälle werden für die entsprechenden Bestimmungen in Abschnitt 4 dieser TSI beschrieben. Gleichermaßen können einige der Anforderungen der TSI auf Zugebene nicht auf Einheitsebene bewertet werden. Solche Fälle werden für die entsprechenden Anforderungen in Abschnitt 4.2 dieser TSI beschrieben.
Der Einsatzbereich hinsichtlich der an die zu bewertende Einheit gekuppelten Fahrzeugbaumuster, der
gewährleistet, dass der Zug die Anforderungen der TSI erfüllt, wird von der benannten Stelle nicht geprüft.
Sobald solch eine Einheit die Zulassung für die Inbetriebnahme erhält, wird mit ihrer Verwendung in einem Zugverband (unabhängig davon, ob diese Zusammenstellung die TSI erfüllt oder nicht) unter der Verantwortung des Eisenbahnverkehrsunternehmens gemäß den Vorschriften in Abschnitt 4.2.2.5 der TSI OPE CR verfahren.
6.2.7 Bewertung von Einheiten, die für den Einsatz in vordefinierten Zugverbänden ausgelegt sind
Wenn eine neue, erneuerte oder umgerüstete Einheit, die in eine vordefinierte Zusammenstellung eingestellt werden soll, zu bewerten ist (gemäß Abschnitt 4.1.2), muss die EG-Prüfbescheinigung die Zugverband(en) angeben, für die die Bewertung gilt: Baumuster des Fahrzeugs, das an die zu bewertende Einheit gekuppelt wird, Anzahl der Einzelfahrzeuge in dem Zugverband und Anordnung der Einzelfahrzeuge in dem Zugverband; auf diese Weise wird gewährleistet, dass der Zugverband diese TSI einhält.
Die Anforderungen der TSI auf der Ebene des Zuges sind anhand eines Referenz-Zugverbandes gemäß der Spezifikation in dieser TSI, sofern vorhanden, zu bewerten.
Wenn solch eine Einheit die Zulassung für die Inbetriebnahme erhält, kann sie an andere Einheiten gekuppelt werden und damit die Zusammenstellungen bilden, die in der EG-Prüfbescheinigung angegeben sind.
6.2.8 Sonderfall: Bewertung von Einheiten, die für die Einstellung in eine bestehende nicht trennbare Zusammenstellung ausgelegt sind
6.2.8.1 Kontext
Dieser besondere Fall der Bewertung tritt ein, wenn ein Teil einer nicht trennbaren Zusammenstellung ausgetauscht wird, die bereits in Betrieb genommen wurde.
Nachfolgend werden zwei Fälle beschrieben, je nach dem TSI-Status der nicht trennbaren Zusammenstellung.
Im nachstehenden Text wird der zu bewertende Teil der nicht trennbaren Zusammenstellung als "Einheit" bezeichnet.
6.2.8.2 Fall: Nicht trennbare Einheit, die die TSI erfüllt
Wenn eine neue, erneuerte oder umgerüstete Einheit, die in eine bestehende nicht trennbare Zusammenstellung eingestellt werden soll, im Rahmen dieser TSI zu bewerten ist und für die bestehende nicht trennbare Zusammenstellung eine gültige EG-Prüfbescheinigung vorliegt, ist eine TSI-Bewertung lediglich für die neue Einheit durchzuführen, um die Bescheinigung der bestehenden nicht trennbaren Einheit zu aktualisieren, die in diesem Fall als umgerüstet gilt (siehe auch Abschnitt 7.1.2.2).
6.2.8.3 Fall: Nicht trennbare Einheit, die die TSI nicht erfüllt
Wenn eine neue, erneuerte oder umgerüstete Einheit, die in eine bestehende nicht trennbare Zusammenstellung eingestellt werden soll, im Rahmen dieser TSI zu bewerten ist und für die bestehende nicht trennbare Zusammenstellung keine gültige EG-Prüfbescheinigung vorliegt, muss in der EG-Prüfbescheinigung angegeben werden, dass die Bewertung die für die nicht trennbare Zusammenstellung geltenden TSI- Anforderungen nicht abdeckt, sondern lediglich die Anforderungen für die bewertete Einheit.
6.3. Teilsystem mit Interoperabilitätskomponenten ohne EG-Erklärung
6.3.1 Bedingungen
Während des in Artikel 6 der Entscheidung der Kommission in Bezug auf diese TSI vorgesehenen Übergangszeitraums kann eine benannte Stelle eine EG-Prüfbescheinigung für ein Teilsystem ausstellen, auch wenn für einige der in das Teilsystem eingebauten Interoperabilitätskomponenten die betreffenden EG- Konformitäts- oder Gebrauchstauglichkeitserklärungen gemäß dieser TSI nicht vorhanden sind (nicht zertifizierte Interoperabilitätskomponenten), sofern die folgenden Kriterien erfüllt sind:
Für Interoperabilitätskomponenten, die in dieser Weise bewertet werden, sind keine EG-Konformitäts- oder EG-Gebrauchstauglichkeitserklärungen auszustellen.
6.3.2 Dokumentation
In der Konformitätsbescheinigung muss in eindeutiger Form angegeben werden, welche Interoperabilitätskomponenten von der benannten Stelle im Rahmen der Teilsystem-Überprüfung bewertet wurden.
In der EG-Prüferklärung für das Teilsystem muss Folgendes in eindeutiger Form angegeben werden:
6.3.3 Instandhaltung der gemäß Abschnitt 6.3.1 zertifizierten Teilsysteme
Während des Übergangszeitraums sowie nach dessen Ende können die Interoperabilitätskomponenten ohne EG-Konformitäts- oder EG-Gebrauchstauglichkeitserklärung des gleichen Typs auf die Verantwortung der ECM bis zur Umrüstung, zur Erneuerung oder zum Austausch des Teilsystems (unter Berücksichtigung der Entscheidung der Mitgliedstaaten zur Anwendung der TSI) für einen Austausch im Zuge von Instandhaltungsarbeiten (als Ersatzteile) für das Teilsystem verwendet werden.
Die ECM muss in jedem Fall sicherstellen, dass die Komponenten für einen Austausch im Zuge von Instandhaltungsarbeiten für ihren Verwendungszweck geeignet sind und innerhalb ihres Anwendungsbereichs eingesetzt werden, die Verwirklichung der Interoperabilität des Eisenbahnsystems ermöglichen und gleichzeitig den grundlegenden Anforderungen entsprechen. Diese Komponenten müssen rückverfolgbar und nach einer nationalen oder internationalen Regelung oder einer im Eisenbahnbereich weithin anerkannten Norm für die Praxis zertifiziert sein.
7 Umsetzung
7.1 Allgemeine Umsetzungsvorschriften
7.1.1 Anwendbarkeitsvorschriften für neu gebaute Fahrzeuge
7.1.1.1 Allgemeine Anwendbarkeit
Diese TSI gilt für alle Fahrzeuge im Anwendungsbereich dieser TSI, die nach dem Inkrafttreten dieser TSI in Betrieb genommen werden, es sei denn, die unten stehenden Abschnitte 7.1.1.2 "Übergangszeitraum" oder 7.1.1.3 "Anwendung auf Bau- und Instandhaltungsfahrzeuge" finden Anwendung.
Diese TSI gilt nicht für bestehende Einheiten, die bereits im Netz (oder in Teilen davon) eines Mitgliedstaats betrieben wurden, wenn diese Entscheidung in Kraft tritt, sofern diese nicht erneuert oder umgerüstet werden (siehe Abschnitt 7.1.2).
Fahrzeuge, die nach einem Entwurf gebaut werden, der nach dem Inkrafttreten dieser Entscheidung entwickelt wurde, müssen dieser TSI entsprechen.
7.1.1.2 Übergangszeitraum
7.1.1.2.1 Einleitung
Eine erhebliche Anzahl von Projekten bzw. Aufträgen, die vor Inkrafttreten dieser Entscheidung begonnen haben, führen zur Produktion von konventionellen Fahrzeugen, die dieser TSI nicht vollständig entsprechen.
Gemäß Artikel 2 Absatz 2 dieser Entscheidung wird für Fahrzeuge, die von diesen Aufträgen oder Projekten betroffen sind, in Übereinstimmung mit Artikel 5 Absatz 3 Buchstabe f der Richtlinie 2008/57/EG ein Übergangszeitraum festgelegt, in dem die Anwendung dieser TSI nicht vorgeschrieben ist, wenn die betreffenden Fahrzeuge vor Ende des Übergangszeitraums in Betrieb genommen werden. Das Ende des Übergangszeitraums wird in Artikel 2 Absatz 2 der Entscheidung der Kommission zu dieser TSI festgelegt.
Der Übergangszeitraum gilt für:
Entscheidet sich der Antragsteller während des Übergangszeitraums, diese TSI nicht anzuwenden, kann das Fahrzeug gemäß Artikel 24 (erste Genehmigung) oder 25 (zusätzliche Genehmigung) der Richtlinie 2008/57/EG anstelle der Artikel 22 oder 23 zur Inbetriebnahme freigegeben werden.
Fahrzeuge, die nach dem Ende des in diesem Abschnitt definierten Übergangszeitraums in Betrieb genommen werden, müssen dieser TSI vollständig entsprechen und zwar ungeachtet von Artikel 9 der Richtlinie 2008/57/EG, nach dem Mitgliedstaaten Ausnahmen von den dort definierten Bedingungen beantragen können.
7.1.1.2.2 Projekte in einem fortgeschrittenen Entwicklungsstadium
Dieser Abschnitt betrifft Fahrzeuge, die im Rahmen eines Projekts entwickelt und gebaut werden, das sich gemäß Artikel 2 Buchstabe t) der Richtlinie in einem fortgeschrittenen Entwicklungsstadium befindet. Das Projekt befindet sich in einem fortgeschrittenen Entwicklungsstadium, wenn diese TSI im Amtsblatt der Europäischen Union veröffentlicht wird.
Die Anwendung dieser TSI auf Fahrzeuge, die unter diesen Abschnitt fallen, ist während des in Abschnitt 7.1.1.2.1 definierten Übergangszeitraums nicht zwingend erforderlich, wenn diese Fahrzeuge vor dem Ende des Übergangszeitraums gemäß Artikel 2 Absatz 2 dieser Entscheidung in Betrieb genommen werden.
7.1.1.2.3 In Ausführung befindliche Aufträge
Dieser Abschnitt betrifft Fahrzeuge, die im Rahmen eines Auftrags entwickelt und hergestellt werden, der vor der Veröffentlichung dieser TSI im Amtsblatt der Europäischen Union unterzeichnet wurde.
Der Antragsteller muss einen Nachweis über das Unterzeichnungsdatum des betreffenden Originalauftrags erbringen. Das Datum etwaiger Zusätze in Form von Änderungen am Originalauftrag wird bei der Bestimmung des Unterzeichnungsdatums des betreffenden Auftrags nicht berücksichtigt.
Die Anwendung dieser TSI auf Fahrzeuge, die unter diesen Abschnitt fallen, ist während des in Abschnitt 7.1.1.2.1 definierten Übergangszeitraums nicht zwingend erforderlich, wenn diese Fahrzeuge vor dem Ende des Übergangszeitraums gemäß Artikel 2 Absatz 2 dieser Entscheidung in Betrieb genommen werden.
7.1.1.2.4 Fahrzeuge eines bestehenden Baumusters
Dieser Abschnitt betrifft Fahrzeuge, die gemäß einem Baumuster gebaut werden, das vor der Veröffentlichung der TSI im Amtsblatt der Europäischen Union entwickelt und daher nicht im Hinblick auf diese TSI bewertet wurde.
Die Anwendung dieser TSI auf Fahrzeuge, die unter diesen Abschnitt fallen, ist während des in Abschnitt 7.1.1.2.1 definierten Übergangszeitraums nicht zwingend erforderlich, wenn diese Fahrzeuge vor dem Ende des Übergangszeitraums gemäß Artikel 2 Absatz 2 in Betrieb genommen werden.
Zum Zweck dieser TSI kann ein Fahrzeug als "gemäß einem bestehenden Baumuster gebaut" eingestuft werden, wenn eine der beiden folgenden Bedingungen erfüllt wird:
Der Antragsteller muss der nationalen Sicherheitsbehörde nachweisen, dass die Bedingungen im entsprechenden Absatz dieses Abschnitts (je nach Situation) erfüllt werden.
Bei Änderungen an einem bestehenden Baumuster (nicht TSI-konform) gelten im Übergangszeitraum die folgenden Regelungen:
7.1.1.3 Anwendbarkeit auf Bau- und Instandhaltungsfahrzeuge
Die Anwendung dieser TSI auf Bau- und Instandhaltungsfahrzeuge (gemäß den Abschnitten 2.2 und 2.3) ist nicht zwingend erforderlich.
Das Verfahren zur Konformitätsbewertung gemäß Abschnitt 6.2.1 kann von einem Antragsteller auf freiwilliger Basis verwendet werden, um eine EG-Prüferklärung auszustellen. Diese EG-Prüferklärung wird von den Mitgliedstaaten als solche anerkannt.
Entscheidet sich der Antragsteller gegen eine EG-Prüferklärung, können die Bau- und Instandhaltungsfahrzeuge gemäß Artikel 24 oder 25 der Richtlinie 2008/57/EG genehmigt werden.
7.1.1.4 Schnittstelle mit der Umsetzung anderer TSI
Wie in Abschnitt 2.1 beschrieben wird, gelten für das Teilsystem "Fahrzeuge" auch andere TSI. Diese anderen TSI bestimmen die Umsetzungsvorschriften für die jeweiligen Anforderungen, die sie abdecken.
Damit keine Missverständnisse zwischen den Umsetzungsvorschriften der anderen TSI und den Umsetzungsvorschriften der vorliegenden TSI LOC&PAS CR entstehen, gilt Folgendes, falls in der vorliegenden TSI auf diese anderen TSI verwiesen wird:
7.1.2 Umrüstung und Erneuerung bestehender Fahrzeuge
7.1.2.1 Einleitung
Dieser Abschnitt enthält Informationen, die sich auf Artikel 20 der Richtlinie 2008/57/EG beziehen.
7.1.2.2 Erneuerung
Bei der Entscheidung, inwieweit diese TSI im Fall einer Erneuerung angewendet wird, richtet sich der Mitgliedstaat nach den folgenden Grundsätzen:
Bei einem Projekt mit Elementen, die nicht TSI-konform sind, müssen die Verfahren zur Konformitätsbewertung und der anzuwendenden EG-Prüfung mit dem Mitgliedstaat vereinbart werden.
Bei bestehenden, nicht TSI-konformen Fahrzeugbaumustern erfordert der Austausch einer ganzen Einheit oder eines oder mehrerer Einzelfahrzeuge innerhalb einer Einheit (z.B. ein Austausch nach einer schweren Beschädigung; siehe auch Abschnitt 6.2.8) keine neue Konformitätsbewertung im Rahmen dieser TSI, sofern die Einheit oder die betroffenen Einzelfahrzeuge mit der ausgetauschten Einheit oder den ausgetauschten Einzelfahrzeugen identisch ist. Diese Einheiten müssen rückverfolgbar und gemäß einer nationalen oder internationalen Regelung oder eines im Eisenbahnbereich weithin anerkannten Verhaltenskodizes zertifiziert sein.
Für den Austausch TSI-konformer Einheiten oder Einzelfahrzeuge ist eine Konformitätsbewertung im Rahmen dieser TSI erforderlich.
7.1.2.3 Umrüstung
Bei der Entscheidung, inwieweit die TSI im Falle einer Umrüstung angewendet wird, richtet sich der Mitgliedstaat nach den folgenden Grundsätzen:
Bei einem Projekt mit Elementen, die nicht TSI-konform sind, müssen die Verfahren zur Konformitätsbewertung und der anzuwendenden EG-Prüfung mit dem Mitgliedstaat vereinbart werden.
7.1.3 Regelungen zu Baumuster- oder Konstruktionsprüferklärungen
7.1.3.1 Teilsystem "Fahrzeuge"
Dieser Abschnitt behandelt Fahrzeugbaumuster (Baumuster für Einheiten im Kontext dieser TSI) gemäß Artikel 2 Buchstabe w) der Richtlinie 2008/57/EG, die einem EG-Baumuster- oder Konstruktionsprüfverfahren gemäß Abschnitt 6.2.2.1 dieser TSI unterliegen.
Die TSI-Bewertungsgrundlage für eine "Baumuster- oder Konstruktionsprüfung" wird in den Spalten 2 und 3 (Entwurfs- und Entwicklungsphase) der Tabelle in Anhang H dieser TSI definiert.
Phase A
Phase a beginnt mit der Benennung einer für die EG-Prüfung zuständigen Stelle durch den Antragsteller und endet mit der Ausstellung der EG-Baumusterprüfbescheinigung.
Der Rahmen der TSI-Bewertung für ein Baumuster wird für maximal sieben Jahre für Phase a festgelegt. Während Phase a bleibt der Rahmen der Bewertung für die EG-Prüfung, der von der benannten Stelle anzuwenden ist, unverändert.
Wenn während Phase a eine überarbeitete Fassung dieser TSI in Kraft tritt, ist es zulässig, jedoch nicht obligatorisch, die überarbeitete Fassung zu verwenden.
Phase B
Phase B legt den Gültigkeitszeitraum der Baumusterprüfbescheinigung nach deren Ausstellung durch die benannte Stelle fest. Während dieser Zeit können Einheiten auf Basis der Baumusterkonformität EG-zertifiziert werden.
Die Baumusterprüfbescheinigung der EG-Prüfung für das Teilsystem gilt ab ihrem Ausstellungsdatum für eine Dauer von sieben Jahren für Phase B, auch wenn während dieses Zeitraums eine überarbeitete Fassung dieser TSI in Kraft tritt. Während dieses Zeitraums kann ein neues Fahrzeug des gleichen Baumusters auf der Grundlage einer EG-Prüfbescheinigung, die auf die Baumusterprüfbescheinigung verweist, in Betrieb genommen werden.
Änderungen an einem Fahrzeugbaumuster oder an einer Fahrzeugkonstruktion, die bereits über eine EG-Prüferklärung verfügen
Bei Änderungen an einem Fahrzeugbaumuster, das bereits über eine Baumuster- oder Konstruktionsprüfbescheinigung verfügt, gelten die folgenden Regeln:
7.1.3.2 Interoperabilitätskomponenten
Dieser Abschnitt gilt für Interoperabilitätskomponenten, die der Baumusterprüfung (Modul SB) oder der Gebrauchstauglichkeitsbewertung (Modul CV) unterliegen.
Die Baumuster- oder Konstruktionsprüfbescheinigung bzw. Gebrauchstauglichkeitserklärung gilt für einen Zeitraum von fünf Jahren. Während dieses Zeitraums können neue Komponenten des gleichen Baumusters ohne neue Baumusterbewertung in Betrieb genommen werden. Vor Ablauf des Zeitraums von fünf Jahren ist eine Komponente gemäß der zum betreffenden Zeitpunkt gültigen TSI hinsichtlich der Anforderungen zu bewerten, die sich im Vergleich zur Zulassungsgrundlage verändert haben oder neu sind.
7.2 Kompatibilität mit anderen Teilsystemen
Die TSI Lokomotiven und Personenzüge des konventionellen Eisenbahnnetzes wurde unter Berücksichtigung anderer Teilsysteme entwickelt, die ihre entsprechenden TSI des konventionellen Eisenbahnnetzes einhalten. Dementsprechend werden Schnittstellen mit den Teilsystemen für ortsfeste Einrichtungen Infrastruktur, Energie sowie Zugsteuerung, Zugsicherung und Signalgebung des konventionellen Eisenbahnnetzes für Teilsysteme behandelt, die die TSI INS CR, TSI ENE CR und TSI ZZS CR einhalten.
Daher hängen die Umsetzungsmethoden und -phasen, die Fahrzeuge betreffen, von dem Fortschritt der Umsetzung der TSI für Infrastruktur, Energie sowie Zugsteuerung, Zugsicherung und Signalgebung des konventionellen Eisenbahnsystems ab.
Außerdem lassen die TSI für ortsfeste Einrichtungen des konventionellen Eisenbahnnetzes Varianten zu.
Für Fahrzeuge werden diese Varianten Teil der technischen Merkmale sein, die gemäß Artikel 34 der Richtlinie 2008/57/EG in das "Europäische Register zugelassener Fahrzeugtypen" aufgenommen werden.
Für die Infrastruktur werden sie Teil der Haupteigenschaften sein, die gemäß Artikel 35 der Richtlinie 2008/57/EG in das "Infrastrukturregister" aufgenommen werden.
7.3 Sonderfälle
7.3.1 Allgemein
Die im nachstehenden Abschnitt definierten Sonderfälle beschreiben spezielle Bestimmungen, die in bestimmten Streckennetzen der einzelnen Mitgliedstaaten erforderlich sind und genehmigt werden.
Diese Sonderfälle gehören den folgenden Kategorien an: "P"-Fälle: "permanente" Fälle;
"T"-Fälle: "temporäre" Fälle; hierbei wird empfohlen, dass das Zielsystem bis zum Jahr 2020 erreicht wird (dieses Ziel ist in der Entscheidung Nr. 1692/96/EG, abgeändert durch die Entscheidung Nr. 884/2004/EG des Europäischen Parlaments und des Rates 21, verankert).
Alle Sonderfälle für Fahrzeuge, die in den Anwendungsbereich dieser TSI fallen, müssen in dieser TSI erfasst sein.
Für bestimmte Sonderfälle bestehen Schnittstellen mit anderen TSI. Wenn ein Abschnitt dieser TSI auf eine andere TSI verweist, für die ein Sonderfall gilt, oder wenn ein Sonderfall für ein Fahrzeug gilt, da ein Sonderfall in einer anderen TSI festgelegt wurde, werden diese in dieser TSI wiederholt.
Ferner wird bei einigen Sonderfällen der Zugang TSI-konformer Fahrzeuge zum nationalen Netz nicht verhindert. In diesem Fall wird dies explizit im betreffenden Absatz des nachfolgenden Abschnitts 7.3.2 aufgeführt.
7.3.2 Verzeichnis der Sonderfälle
7.3.2.1 Allgemeine Sonderfälle
Sonderfall für Griechenland
("P") Für Fahrzeuge, die für den Betrieb auf dem Peloponnes-Schienennetz mit einer Spurweite von 1.000 mm ausgelegt sind, gelten nationale Regelungen.
Sonderfälle für Estland, Lettland, Litauen, Polen und die Slowakei für Schienennetze mit einer Spurweite von 1.520 mm
("P") Die Anwendung der TSI auf Fahrzeuge, die für den Betrieb auf Schienennetzen mit einer Spurweite von 1.520 mm ausgelegt sind, ist ein offener Punkt.
Bilateraler Verkehr mit Schienennetzen mit einer Spurweite von 1.520 mm in Drittländern: Sonderfall für Finnland
("P") Die Anwendung nationaler technischer Regelungen anstelle der Anforderungen dieser TSI ist für Fahrzeuge aus Drittländern zulässig, die im Verkehr zwischen dem finnischen Netz mit einer Spurweite von 1.524 mm und Netzen in Drittländern mit einer Spurweite von 1.520 mm eingesetzt werden.
Sonderfall für Estland, Lettland, Litauen, Polen und die Slowakei
("P") Die Anwendung nationaler technischer Regelungen anstelle der Anforderungen dieser TSI ist für Fahrzeuge zulässig, die für den Betrieb auf Netzen mit einer Spurweite von 1.520 mm im Verkehr zwischen Mitgliedstaaten und Drittländern ausgelegt sind.
7.3.2.2 Mechanische Schnittstellen - Endkupplung ( 4.2.2.2.3 )
Sonderfall für Finnland
("P") Sofern die für den Verkehr in Finnland vorgesehenen Fahrzeuge mit Puffern ausgerüstet sind, muss der Abstand zwischen den Puffermittellinien 1.830 mm (+/- 10 mm) betragen.
Es gelten die weiteren Anforderungen in Abschnitt 4.2.2.2.3 "Endkupplung".
Sonderfall für Spanien
("T") Wenn Fahrzeuge, die für den Verkehr in Spanien auf dem Streckennetz mit einer Spurweite von 1.668 mm vorgesehen sind, über Puffer und eine Schraubenkupplung verfügen, muss der Abstand zwischen den Puffermittellinien 1.850 mm (+/- 10 mm) betragen.
Es gelten die weiteren Anforderungen in Abschnitt 4.2.2.2.3 "Endkupplung".
Sonderfälle für die Republik Irland und das Vereinigte Königreich für Nordirland
("P") Wenn die für den Verkehr in Irland vorgesehenen Fahrzeuge über Puffer und eine Schraubenkupplung verfügen, muss der Abstand zwischen den Puffermittellinien 1.905 mm (+/- 10 mm) betragen. Die Höhe der Mittelpunkte von Puffern und Zugeinrichtungen über der Schienenoberkante muss in unbeladenem Zustand mindestens 1.067 mm und höchstens 1.092 mm betragen.
7.3.2.3. Begrenzungslinie ( 4.2.3.1 )
Sonderfall für Finnland
("P") Einheiten, die für den Betrieb in finnischen Netzen mit einer Spurweite von 1.524 mm ausgelegt sind, müssen unter den Bedingungen in EN 15273-2:2009 die Begrenzungslinie FIN1 einhalten.
Anmerkung: siehe auch den Sonderfall 7.3.2.8 "Radsätze" für die Spurweite.
Sonderfall für Portugal
("P") Einheiten, die für den Betrieb im portugiesischen Netz ausgelegt sind, müssen die kinematische Begrenzungslinien PTb, PTb + oder PTc, gemäß Anhang I in EN 15273-2:2009, einhalten.
Anmerkung: siehe auch den Sonderfall 7.3.2.8 "Radsätze" für die Spurweite.
Sonderfall für Schweden
("P") Einheiten, die für den Betrieb im schwedischen Netz ausgelegt sind, müssen die Begrenzungslinien SEa oder SEC gemäß EN 15273-2:2009 einhalten.
Der Zugang TSI-konformer Fahrzeuge zum nationalen Netz wird durch diesen Sonderfall nicht verhindert.
Sonderfall Vereinigtes Königreich für Großbritannien
("P") Einheiten, die für den Betrieb im Schienennetz von Großbritannien ausgelegt sind, müssen die kinematische Begrenzungslinie gemäß Abschnitt 7.6.12.2 der TSI INS CR einhalten.
Hinsichtlich der kinematischen Begrenzungslinie muss die Konformitätsbewertung im Einklang mit den Methoden der benannten nationalen technischen Vorschriften stehen.
Bei umgerüsteten und erneuerten Strecken müssen die Stromabnehmer von in Großbritannien eingesetzten Fahrzeugen die in den benannten nationalen technischen Vorschriften definierten Begrenzungslinien einhalten.
Sonderfall für die Niederlande
("P") Einheiten, die für den Betrieb im niederländischen Streckennetz ausgelegt sind, müssen die kinematischen Begrenzungslinien NL1 oder NL2 gemäß EN 15273-2:2009 (Anhang M) einhalten.
Der Zugang TSI-konformer Fahrzeuge zum nationalen Netz wird durch diesen Sonderfall nicht verhindert.
Anmerkung: Die Kompatibilität der Infrastruktur mit den Begrenzungslinien NL1 und NL2 für Fahrzeuge ist zu überprüfen, da nicht alle Strecken mit beiden Begrenzungslinien kompatibel sind.
Sonderfall für Spanien
("P") Einheiten, die für den Betrieb im spanischen Netz mit einer Spurweite von 1.668 mm ausgelegt sind, müssen die Bezugslinie GHE16 und die entsprechenden Regelungen einhalten, wie in den zu diesem Zweck benannten nationalen Vorschriften festgelegt.
Anmerkung: siehe auch den Sonderfall 7.3.2.8 "Radsätze" für die Spurweite.
Sonderfälle für die Republik Irland und das Vereinigte Königreich für Nordirland
("T") Die kinematische Begrenzungslinie für Fahrzeuge ist ein offener Punkt.
7.3.2.4 Überwachung des Zustands der Radsatzlager ( 4.2.3.3.2 )
Sonderfall für Finnland
("P") Für Fahrzeuge, die für das finnische Eisenbahnnetz (Spurweite 1.524 mm) ausgelegt sind und zur Überwachung des Zustands der Radsatzlager streckenseitige Ausrüstung benötigen, muss die Zielfläche auf der Unterseite eines Radsatzlagers, die zur Beobachtung durch eine gleisseitige Heißläuferortungsanlage frei bleiben muss, die Maße in EN 15437-1:2009 verwenden und die Werte durch die folgende ersetzen:
System auf Grundlage streckenseitiger Ausrüstung:
Die Maße in den Abschnitten 5.1 und 5.2 von EN 15437-1:2009 werden entsprechend durch die folgenden Abmessungen ersetzt. Es werden zwei verschiedene Zielflächen (I und II) definiert, einschließlich ihrer Flächen, die frei bleiben müssen und ihrer Messbereiche:
Sonderfall für Spanien
("P") Für Fahrzeuge, die für den Betrieb im spanischen Streckennetz mit einer Spurweite von 1.668 mm ausgelegt sind und zur Überwachung des Zustands der Radsatzlager streckenseitige Ausrüstung benötigen, muss der für die streckenseitige Ausrüstung sichtbare Bereich am Fahrzeug Abschnitt 5.1 und 5.2 von EN 15437-1:2010 entsprechen, wobei die folgenden Werte anstelle der genannten zu berücksichtigen sind:
Sonderfall für Portugal
("P") Für Fahrzeuge, die im portugiesischen Streckennetz (Spurweite 1.668 mm) eingesetzt werden sollen und streckenseitige Ausrüstung zur Überwachung des Zustands der Radsatzlager benötigen, müssen die Zielfläche, die zur Beobachtung durch eine gleisseitige Heißläuferortungsanlage frei bleiben muss, und ihre Position in Bezug auf die Mittellinie des Fahrzeugs folgende Werte besitzen:
Sonderfälle für die Republik Irland und das Vereinigte Königreich für Nordirland
("P") Für Fahrzeuge, die im irischen Streckennetz eingesetzt werden sollen und streckenseitige Ausrüstung zur Überwachung des Zustands der Radsatzlager benötigen, werden die Zielflächen auf der Unterseite eines Radsatzlagers, die frei bleiben müssen, in den nationalen Vorschriften definiert.
Sonderfall für Schweden
("T") Dieser Sonderfall gilt für alle Einheiten, die nicht mit fahrzeugseitiger Ausrüstung zur Überwachung des Zustands der Radsatzlager ausgerüstet sind und für den Betrieb auf Strecken ausgelegt sind, auf denen die Vorrichtungen zur Erkennung der Radsatzlager nicht umgerüstet wurden. Diese Strecken werden in dieser Hinsicht in den Schienennetz-Nutzungsbedingungen als nicht TSI-konform angegeben.
Seitliche Maße zur Überwachung des Zustands der Radsatzlager:
Die für die schienenseitige Ausrüstung sichtbare Fläche unter dem Radsatzlager/Achsschenkel muss frei sein, um die vertikale Überwachung zu vereinfachen:
Fläche, die frei bleiben muss:
Innerhalb einer längsseitigen Länge von 500 mm zentral zur Mittellinie der Radachse darf kein Teil und keine Komponente mit einer höheren Temperatur als die des Radsatzlagers/der Achsschenkel näher als 10 mm an die seitlichen Abstände platziert werden.
7.3.2.5 Dynamisches Verhalten der Fahrzeuge ( 4.2.3.4 )
Sonderfälle für die Republik Irland und das Vereinigte Königreich für Nordirland
("T") Aufgrund alternativer Grenzwerte für Gleisverwindungen oder andere relevante Kriterien in Verbindung mit der Gleisqualität des bestehenden Schienennetzes müssen einige Grenzwerte und Konzepte in Abschnitt 4.2.3.4 und den zugehörigen Unterabschnitten und in EN 14363:2005 sowie anderen Normen, auf die verwiesen wird, angepasst werden, damit diese auf Fahrzeuge angewendet werden, die in der Republik Irland und in Nordirland betrieben werden sollen.
Diese Anpassung muss die Norm I.E.- CME Technical Standard 302 oder die entsprechende technische Vorschrift im britischen Territorium Nordirland erfüllen.
Dies gilt für: 4.2.3.4.1 Sicherheit gegen Entgleisen bei Fahrbetrieb auf Strecken mit Gleisverwindung, 4.2.3.4.2 Dynamisches Laufverhalten, 4.2.3.4.2.1 Grenzwerte für die Laufsicherheit, 4.2.3.4.2.2 Grenzwerte für die Gleisbeanspruchung, 4.2.3.4.3 Äquivalente Konizität, 4.2.3.4.3.1 Auslegungswerte für neue Radprofile, 4.2.3.4.3.2 Werte für die äquivalente Konizität von Radsätzen im Betrieb
Für alle anderen Grundsätze in Abschnitt 4.2.3.4 sowie in EN 14363 und anderen Normen, auf die verwiesen wird, ist der in dieser TSI definierte Ansatz anzuwenden.
Sonderfall Vereinigtes Königreich für Großbritannien
("P") Die Beschränkungen für die Anwendung von Methode 3 in EN 14363:2005, Abschnitt 4.1.3.4.1 gelten nicht für Fahrzeuge, die nur für den nationalen Betrieb auf Hauptstrecken im Vereinigten Königreich vorgesehen sind.
Der Zugang TSI-konformer Fahrzeuge zum nationalen Netz wird durch diesen Sonderfall nicht verhindert.
7.3.2.6 Grenzwerte für die Gleisbeanspruchung ( 4.2.3.4.2.2 )
Sonderfall für Spanien
("P") Für Fahrzeuge, die für den Betrieb auf Netzen mit einer Spurweite von 1.668 mm ausgelegt sind, ist der Grenzwert für die quasistatische Führungskraft Yqst für Bogenhalbmesser mit 250 ≤ R < 400 m auszuwerten.
Folgender Grenzwert ist einzuhalten: (Yqst)lim = (33 + 11.550/Rm) kN.
7.3.2.7. Auslegungswerte für neue Radprofile ( 4.2.3.4.3.1 )
Sonderfall für Finnland
("P") Die Räder von Zügen, die auf finnischen Streckennetzen eingesetzt werden sollen, müssen mit der Spurweite 1.524 mm kompatibel sein.
Tabelle 2: Grenzwerte für die äquivalente Konizität beim Entwurf
| Maximale Betriebsgeschwindigkeit des Fahrzeugs (km/h) | Grenzwerte für die äquivalente Konizität | Prüfbedingungen (siehe Tabelle 3) |
| ≥ 60 | entfällt | entfällt |
| > 60 und ≤ 190 | 0,30 | Alle |
| > 190 | Es gelten die Werte der TSI RST HS | Es gelten die Bedingungen der TSI RST HS |
Tabelle 3: Schienenprüfbedingungen für die repräsentative äquivalente Konizität des finnischen Teils des transeuropäischen Eisenbahnnetzes
| Prüfbedingung Nr. | Schienenkopfprofil | Schienenneigung | Spurweite |
| 1 | Schienenquerschnitt 60 E1 definiert in EN 13674-1:2003 | 1:40 | 1.524 mm |
| 2 | Schienenquerschnitt 60 E1 definiert in EN 13674-1:2003 | 1:40 | 1.526 mm |
| 3 | Schienenquerschnitt 54 E1 definiert in EN 13674-1:2003 | 1:40 | 1.524 mm |
| 4 | Schienenquerschnitt 54 E1 definiert in EN 13674-1:2003 | 1:40 | 1.526 mm |
Es wird davon ausgegangen, dass die Anforderungen dieses Abschnitts durch Radsätze mit nicht abgenutzten Profilen des Baumusters S1002 oder GV 1/40 gemäß Definition in EN 13715:2006 sowie mit einem Spurmaß zwischen 1.505 mm und 1.511 mm erfüllt sind.
Sonderfall für Portugal
("P") Für Portugal wird die Spurweite 1.668 mm mit einer Schienenneigung von 1 zu 20 beim Schienenquerschnitt 54 E1 und 60 E1 berücksichtigt.
Sonderfall für Spanien
("P") Für Fahrzeuge, die für den Betrieb auf Netzen mit einer Spurweite von 1.668 mm ausgelegt sind, dürfen die Grenzwerte für die äquivalente Konizität in Tabelle 2 nicht überschritten werden, wenn für die Radsatzkonstruktion Modellversuche für die repräsentativen Beispiele von Gleisprüfbedingungen, die nachstehend in Tabelle 3 angegeben sind, durchgeführt werden.
Tabelle 2: Grenzwerte für die äquivalente Konizität beim Entwurf
| Maximale Betriebsgeschwindigkeit des Fahrzeugs (km/h) | Grenzwerte für die äquivalente Konizität | Prüfbedingungen (siehe Tabelle 3) |
| ≥ 60 | entfällt | entfällt |
| > 60 und ≤ 190 | 0,30 | Alle |
| > 190 | Es gelten die Werte der TSI RST HS | Es gelten die Bedingungen der TSI RST HS |
Tabelle 3: Schienenprüfbedingungen für die repräsentative äquivalente Konizität
| Prüfbedingung Nr. | Schienenkopfprofil | Schienenneigung | Spurweite |
| 1 | Schienenquerschnitt 60 E1 definiert in EN 13674-1:2003 | 1:20 | 1.668 mm |
| 2 | Schienenquerschnitt 60 E1 definiert in EN 13674-1:2003 | 1:20 | 1.670 mm |
| 3 | Schienenquerschnitt 54 E1 definiert in EN 13674-1:2003 | 1:20 | 1.668 mm |
| 4 | Schienenquerschnitt 54 E1 definiert in EN 13674-1:2003 | 1:20 | 1.670 mm |
Es wird davon ausgegangen, dass die Anforderungen dieses Abschnitts durch Radsätze mit nicht abgenutzten Profilen des Baumusters S1002 oder GV 1/40 gemäß Definition in prEN 13715:2006 sowie mit einem Spurmaß zwischen 1.653 mm und 1.659 mm erfüllt sind.
7.3.2.8 Radsätze ( 4.2.3.5.2 )
Sonderfall für Finnland
("P") Die Radsätze von Zügen, die auf finnischen Streckennetzen eingesetzt werden sollen, müssen mit der Spurweite 1.524 mm kompatibel sein.
Die Abmessungen für Radsätze und Räder für Spurweiten von 1.524 mm sind in der folgenden Tabelle angegeben:
| Bezeichnung | Raddurchmesser D (mm) |
Nennwert (mm) |
Mindestwert (mm) |
Höchstwert (mm) |
| Anforderungen in Bezug auf das Teilsystem | ||||
| Abstand zwischen Radkontaktflächen (SR) (Spurmaß) SR = AR + Sd (linkes Rad) + Sd (rechtes Rad) |
D > 725 | 1.510 | 1.487 | 1.514 |
| 725 > D ≥ 400 | - | 1.506 | 1.509 | |
| Radrückenabstand (AR) | D > 725 | 1.445 +/- 1 | 1.442 | 1.448 |
| 725 > D ≥ 400 | 1.445 +/- 1 | 1.444 | 1.446 | |
| Anforderungen in Bezug auf die Interoperabilitätskomponente "Räder" | ||||
| Bezeichnung | Raddurchmesser D (mm) |
Nennwert (mm) |
Mindestwert (mm) |
Höchstwert (mm) |
| Radkranzbreite (B R + Grat) | D ≥ 400 | 135 +/- 1 | 134 | 136 |
| 140 +/- 1a | 139a | 141a | ||
| Spurkranzdicke (S d ) | D > 840 | 32,5 | 22 | 33 |
| 840 > D ≥ 760 | 32,5 | 25 | 33 | |
| 760 > D ≥ 400 | 32,5 | 27,5 | 33 | |
| Spurkranzhöhe (S h ) | D > 760 | 28 | 27,5 | 36 |
| 760 > D ≥ 630 | 30 | 29,5 | 36 | |
| 630 > D ≥ 400 | 32 | 31,5 | 36 | |
| Spurkranzstirnseite (q R ) | ≥ 400 | - | 6,5 | - |
| a) optional für Triebfahrzeuge zulässig. | ||||
P) Für Fahrzeuge, die für den Verkehr zwischen dem finnischen Streckennetz mit einer Spurweite von 1.524 mm und Streckennetzen von Drittländern mit einer Spurweite von 1.520 mm vorgesehen sind, können spezielle Radsätze verwendet werden, die die verschiedenen Spurweiten unterstützen.
Sonderfall für Portugal
("P") Mechanische und geometrische Merkmale von Radsätzen:
Für die Nennspurweite (1 668 mm) gelten im portugiesischen Schienennetz folgende Werte für Ar und Sr:
Mechanische und geometrische Merkmale von Rädern:
Die Grenzwerte für Sd und Sh in diesem Sonderfall lauten:
| - Für D > 800 mm | 22 ≤ Sd ≤ 33 (mm) |
| - Für D < 800 mm | 27,5 ≤ Sd ≤ 33 (mm) |
| - Sh ≤ 3 6 (mm) |
Sonderfall für Spanien
("P") Die geometrischen Abmessungen SR und AR für Radsätze müssen die nachstehend angegebenen Grenzwerte einhalten. Diese Grenzwerte sind als Auslegungswerte (neuer Radsatz) und als Grenzwerte während des Betriebs (für Instandhaltungszwecke) zu verwenden.
| Durchmesser des Rades [mm] |
Minimum [mm] |
Maximum [mm] |
|
| SR | 840 ≤ D ≤ 1.250 | 1.643 | 1.659 |
| 330 ≤ D < 840 | 1.648 | 1.659 | |
| AR | 840 ≤ D ≤ 1.250 | 1.590 | 1.596 |
| 330 ≤ D < 840 | 1.592 | 1.596 |
("T") Die Spurkranzdicke (Sd) muss bei Raddurchmessern > 840 mm mindestens 25 mm und bei Raddurchmessern zwischen 330 mm und 840 mm 27,5 mm betragen, wenn die Fahrzeuge für den Betrieb auf einer Spurweite von 1.668 mm ausgelegt sind.
Sonderfälle für die Republik Irland und das Vereinigte Königreich für Nordirland
("P") Im Hinblick auf Abschnitt 4.2.3.5 und den zugehörigen Unterabschnitten müssen alle geometrischen Abmessungen von Radsätzen die Norm I.E.-CME Technical Standard 301 oder die entsprechende technische Vorschrift im britischen Territorium Nordirland erfüllen.
Dies gilt für die folgenden Abschnitte: 4.2.3.5.2 "Radsätze", 4.2.3.5.2.1 "Mechanische und geometrische Merkmale von Radsätzen", 4.2.3.5.2.2 "Mechanische und geometrische Merkmale von Rädern".
7.3.2.9 Geometrische Merkmale von Rädern ( 4.2.3.5.2.2 )
Sonderfall Vereinigtes Königreich für Großbritannien
("P") Für Fahrzeuge, die nur national genutzt werden, darf der Mindestwert der Radkranzbreite (BR + Grat) 127 mm (anstelle von 133 mm) betragen.
Der Zugang TSI-konformer Fahrzeuge zum nationalen Netz wird durch diesen Sonderfall nicht verhindert.
7.3.2.10 Auswirkungen der Wirbelzone auf Personen am Bahnsteig ( 4.2.6.2.1 )
Sonderfall Vereinigtes Königreich für Großbritannien
("P") An Fahrzeugen, die auf dem Schienennetz Großbritanniens betrieben werden, dürfen Versuche im Einklang mit der folgenden Anforderung durchgeführt werden.
Die Luftgeschwindigkeit, die durch Fahrzeuge verursacht wird, die im Freien mit einer maximalen Betriebsgeschwindigkeit von vtr > 160 km/h (100 Meilen pro Stunde) fahren, darf beim Vorbeifahren des Fahrzeugs in einer Höhe von 1,2 m über dem Bahnsteig und einem Abstand von 3,0 m von der Gleismitte einen Wert von u2σ = 11,5 m/s nicht überschreiten.
Die Konformität muss auf Grundlage von umfassenden Tests unter den Bedingungen in Abschnitt 7.5.2 von EN 14067-4:2005/A1:2009 bewertet werden. Die Messungen müssen auf einem Bahnsteig mit einer Höhe über der Schienenoberkante von maximal 951 mm durchgeführt werden.
Der Zugang TSI-konformer Fahrzeuge zum nationalen Netz wird durch diesen Sonderfall nicht verhindert.
7.3.2.11 Druckimpuls an der Zugspitze ( 4.2.6.2.3 )
Sonderfall Vereinigtes Königreich für Großbritannien
("P") Anstelle der Anforderung in Abschnitt 4.2.6.2.3 gilt für Fahrzeuge, die auf dem Schienennetz Großbritanniens betrieben werden, Folgendes:
Fahrzeuge, die im Freien mit einer Geschwindigkeit von über 160 km/h betrieben werden, dürfen während der Durchfahrt der Zugspitze über einen Bereich von 1,5 m bis 3,3 m Höhe über der Schienenoberkante und in einem Abstand von 2,5 m vom Gleismittelpunkt keine Spitze-Spitze-Druckänderungen erzeugen, die einen Wert Δp2σ von 665 Pa überschreiten.
7.3.2.12 Schalldruckpegel von Signalhörnern ( 4.2.7.2.2)
Sonderfall Vereinigtes Königreich für Großbritannien
("P") Fahrzeuge, die nur national genutzt werden, können den Schalldruckpegeln von Signalhörnern in den zu diesem Zweck in Großbritannien benannten nationalen technischen Vorschriften entsprechen.
Züge, die für die internationalen Betrieb vorgesehen sind, müssen den Schalldruckpegeln von Signalhörnern entsprechen, die in dieser TSI angegeben werden.
Der Zugang TSI-konformer Fahrzeuge zum nationalen Netz wird durch diesen Sonderfall nicht verhindert.
7.3.2.13 Energieversorgung - Allgemein ( 4.2.8.2.1 )
Sonderfall Vereinigtes Königreich für Großbritannien
("P") Es ist zulässig, weiterhin Fahrzeuge zu beschaffen, die auf Strecken betrieben werden oder mit Strecken kompatibel sind, die das Elektrifizierungssystem mit 600/750 V (Gleichstrom) verwenden und Stromschienen in Bodennähe in einer Konfiguration mit drei und/oder vier Schienen nutzen. Es gelten benannte nationale technische Vorschriften.
7.3.2.14 Betrieb innerhalb des Spannungs - und Frequenzbereichs ( 4.2.8.2.2)
Sonderfall für Frankreich
("T") Elektrische Einheiten, die in dem System 1,5 kV (Gleichstrom) gemäß Abschnitt 7.5.2.2.1 der TSI ENE CR betrieben werden sollen, müssen innerhalb des in Abschnitt 7.5.2.2.1 der TSI ENE CR festgelegten Spannungsbereichs betrieben werden können.
7.3.2.15 Arbeitsbereich des Stromabnehmers bezogen auf die Höhe ( 4.2.8.2.9.1)
Sonderfall für Finnland
("P") Stromabnehmer müssen so an einem Fahrzeug montiert werden, dass die Stromabnahme aus Fahrdrähten in folgender Höhe möglich ist: 5.600 bis 6.600 mm über der Schienenoberkante für Gleise, die gemäß der Spurweite FIN1 ausgelegt sind.
Sonderfall Vereinigtes Königreich für Großbritannien
("P") Für alle Fahrzeuge, die im britischen System mit 25 kV (Wechselstrom) und 50 Hz betrieben werden sollen, das nicht gemäß der TSI ENE CR umgerüstet wurde, gelten die folgenden Anforderungen:
Die Stromabnehmer müssen einen Arbeitsbereich von 2.100 mm aufweisen. Wenn der Stromabnehmer an einer elektrischen Einheit montiert ist, muss er zwischen 4.140 mm (untere Betriebsposition, vgl. EN 50206-1 Abschnitt 3.2.13) und 6.240 mm (obere Betriebsposition, vgl. EN 50206-1 Abschnitt 3.2.13) über der Schienenoberkante betriebsfähig sein.
Unter außergewöhnlichen topografischen Umständen, bei denen elektrische Sicherheitsabstände durch physische Einschränkungen begrenzt sind und eine geringere maximale (statische) Höhe des Fahrzeugs von 3.775 mm gilt, müssen Stromabnehmer solcher Fahrzeuge einen Arbeitsbereich von 2.315 mm aufweisen. Wenn der Stromabnehmer an einer elektrischen Einheit montiert ist, muss er zwischen 3.925 mm (untere Betriebsposition, vgl. EN 50206-1 Abschnitt 3.2.13) und 6.240 mm (obere Betriebsposition, vgl. EN 50206-1 Abschnitt 3.2.13) über der Schienenoberkante betriebsfähig sein.
Sonderfall für die Niederlande
("T") Für den uneingeschränkten Zugang zum niederländischen Netz mit 1.500 V (Gleichstrom) muss die maximale Höhe des Stromabnehmers auf 5.860 mm begrenzt werden.
7.3.2.16 Geometrie der Stromabnehmerwippe ( 4.2.8.2.9.2 )
Sonderfall Vereinigtes Königreich für Großbritannien
("T") Für alle Fahrzeuge, die im britischen System mit 25 kV (Wechselstrom) und 50 Hz betrieben werden sollen, das nicht gemäß der TSI ENE CR umgerüstet wurde, gelten die folgenden Anforderungen:
Zum Erhalt der Kompatibilität mit der vorhandenen Infrastruktur muss das Profil der Stromabnehmerwippe EN 50367:2006, Anhang B.7 entsprechen.
Zum Erhalt der Kompatibilität mit den Anforderungen für die Fahrt durch Phasen- oder Systemtrennstrecken darf die Stromabnehmerwippe eine maximale Breite in Gleisrichtung von 250 mm aufweisen, sofern dies im Infrastrukturregister nicht anders angegeben wurde.
Sonderfall für Portugal
("P") Bei Fahrzeugen, die auf Strecken betrieben werden sollen, auf denen das Teilsystem "Energie" nicht gemäß der TSI ENE CR umgerüstet wurde, gilt die folgende Anforderung für die Länge der Stromabnehmerwippen:
Sonderfall für Italien
("T") Für Züge, die Strecken des transeuropäischen Eisenbahnsystems mit Fahrleitungssystemen befahren, die nur mit Stromabnehmerwippen mit einer Länge von 1.450 mm kompatibel sind, sind Stromabnehmerwippen zu installieren, deren Geometrie eine Länge von 1.450 mm aufweist.
Bei Zügen, die für den Inlandsverkehr ausgelegt sind und sowohl Strecken, die mit Stromabnehmerwippen mit einer Länge von 1.600 mm kompatibel sind, als auch Strecken, die mit Stromabnehmerwippen mit einer Länge von 1.450 mm kompatibel sind, befahren, ist es zulässig, lediglich Stromabnehmerwippen zu installieren, deren Geometrie eine Länge von 1.450 mm aufweist.
("P") Züge, die für den Betrieb in Italien und in der Schweiz ausgelegt sind oder auf anderen Strecken außerhalb des transeuropäischen Eisenbahnsystems mit Fahrleitungen betrieben werden sollen, die nur mit Stromabnehmern mit einer Breite von 1.450 mm kompatibel sind, müssen mit Stromabnehmerwippen mit einer Breite von 1.450 mm ausgerüstet werden. Auf diesen Zügen können auch nur Stromabnehmerwippen mit einer Länge von 1.450 mm installiert werden, sofern diese nur auf Strecken verkehren, die mit Stromabnehmerwippen mit einer Länge von 1.450 mm kompatibel sind.
Die Stromabnehmerwippe muss das in EN 50367:2006 Anhang B.2 dargestellte Profil haben.
Sonderfall für Frankreich
("P") Züge, die für den Betrieb in Frankreich und in der Schweiz ausgelegt sind oder auf anderen Strecken außerhalb des transeuropäischen Eisenbahnsystems mit Fahrleitungen betrieben werden sollen, die nur mit Stromabnehmern mit einer Breite von 1.450 mm kompatibel sind, müssen mit Stromabnehmerwippen mit einer Breite von 1.450 mm ausgerüstet werden. Auf diesen Zügen können auch nur Stromabnehmerwippen mit einer Länge von 1.450 mm installiert werden, sofern diese nur auf Strecken verkehren, die mit Stromabnehmerwippen mit einer Länge von 1.450 mm kompatibel sind.
Die Stromabnehmerwippe muss das in EN 50367:2006 Anhang B.2 dargestellte Profil haben.
Sonderfall für Schweden
("P") Dieser Sonderfall gilt für Einheiten, die auf Strecken ohne umgerüstetes Fahrleitungssystem betrieben werden. Diese Strecken werden in dieser Hinsicht in den Schienennetz-Nutzungsbedingungen als nicht TSI- konform angegeben.
Die Maße des Stromabnehmers müssen die Anforderungen der schwedischen technischen Spezifikationen JVS-FS 2006:1 und BVS 543 330 erfüllen.
Sonderfall für Slowenien
("P") Für elektrische Einheiten mit folgendem Einsatzbereich:
Die Stromabnehmerwippe muss das in EN 50367:2006 Anhang B.2 dargestellte Profil haben.
7.3.2.17 Kontaktkraft und dynamisches Verhalten der Stromabnehmer ( 4.2.8.2.9.6 )
Sonderfall Vereinigtes Königreich für Großbritannien
("P") Fahrzeuge und an Fahrzeugen angebrachte Stromabnehmer müssen so ausgelegt und geprüft werden, dass sie in einem Bereich gemäß Abschnitt 4.2.16 der TSI ENE CR eine mittlere Kontaktkraft F m auf den Fahrdraht ausüben, um eine Stromabnahmequalität ohne unzulässige Lichtbogenbildung sicherzustellen und um Abnutzung und Ausfälle der Schleifstücke zu begrenzen. Die Anpassung der Kontaktkraft erfolgt bei der Durchführung dynamischer Prüfungen.
Die Grundsätze für die Konformitätsbewertung der Stromabnahmequalität werden in Abschnitt 4.2.16 der TSI ENE CR beschrieben.
Im Sinne der Abschnitte 4.2.8.2.9.6, 6.1.2.2.6 und 6.2.2.2.15 müssen die Prüfungen bei Zügen, die für den Betrieb in Großbritannien und anderswo zertifiziert werden, zusätzlich mit einer Fahrdrahthöhe zwischen 4.700 mm und 4.900 mm durchgeführt werden.
Im Sinne der Abschnitte 4.2.8.2.9.6, 6.1.2.2.6 und 6.2.2.2.15 ist es bei Zügen, die lediglich für den Einsatz in Großbritannien zertifiziert werden, zulässig, die Konformität nur im Bereich einer Fahrdrahthöhe von 4.700 mm bis 4.900 mm zu prüfen.
Sonderfall für Schweden
("P") Dieser Sonderfall gilt für Einheiten, die auf Strecken mit nicht umgerüstetem Fahrleitungssystem betrieben werden. Diese Strecken werden in dieser Hinsicht in den Schienennetz-Nutzungsbedingungen als nicht TSI-konform angegeben.
Die mittlere Kontaktkraft des Stromabnehmers muss die Anforderungen der schwedischen technischen Spezifikationen JVS-FS 2006:1 und BVS 543 330 erfüllen.
Sonderfall für Frankreich
("P") Im Sinne der Abschnitte 4.2.8.2.9.6, 6.1.2.2.6 und 6.2.2.2.15 muss die mittlere Kontaktkraft bei Zügen, die auf dem System 1,5 kV DC betrieben werden, den Bestimmungen in Abschnitt 7.5.2.2.2 der TSI ENE CR entsprechen.
7.3.2.18 Sicht nach vorn ( 4.2.9.1.3.1 )
Sonderfall Vereinigtes Königreich für Großbritannien
("P") Anstelle der in Abschnitt 4.2.9.1.3.1 dargelegten Anforderungen, muss für Fahrzeuge, die für den Betrieb in Großbritannien vorgesehen sind, der folgende Sonderfall eingehalten werden.
Der Führerstand muss so konstruiert sein, dass der Triebfahrzeugführer von seiner sitzenden Fahrposition aus eine klare und uneingeschränkte Sichtlinie hat, um die ortsfesten Signale zu sehen, im Einklang mit den nationalen technischen Vorschriften GM/RT2161 "Anforderungen an Führerstände von Schienenfahrzeugen".
7.3.2.19 Fahrpult - Ergonomie ( 4.2.9.1.6 )
Sonderfall Vereinigtes Königreich für Großbritannien
("P") Sollten die Anforderungen im letzten Absatz von Abschnitt 4.2.9.1.6 zur Bewegungsrichtung des Hebels für Bremsen und/oder Traktion nicht mit dem Sicherheitsmanagementsystem des britischen Eisenbahnverkehrsunternehmens kompatibel sein, kann die Bewegungsrichtung für Bremsen und Traktion umgekehrt werden.
7.3.2.20 Werkstoffanforderungen ( 4.2.10.2 )
Sonderfall für Spanien
("T") Für Fahrzeuge, die lediglich für das inländische spanische Schienennetz ausgelegt sind, kann als Alternative zu den Werkstoffanforderungen in Abschnitt 4.2.10.2 dieser TSI die spanische Brandschutznorm DT-PCI/5a angewendet werden, solange die Norm EN 45545 noch nicht in Kraft ist.
Der Zugang TSI-konformer Fahrzeuge zum nationalen Netz wird durch diesen Sonderfall nicht verhindert.
7.3.2.21 Schnittstellen für Wasserbefüllung ( 4.2.11.5 ) und Toilettenentsorgung ( 4.2.11.3 )
Sonderfälle für die Republik Irland und das Vereinigte Königreich für Nordirland
("P") Alternativ oder zusätzlich zu den Angaben in Abschnitt 4.2.11.6 dieser TSI ist es zulässig, eine düsenförmige Schnittstelle für die Wasserbefüllung zu montieren. Diese düsenförmige Schnittstelle für die Wasserbefüllung muss die Anforderungen der Norm I.E.-CME Technical Standard 307 Anhang 1 oder die entsprechende technische Vorschrift im britischen Territorium Nordirland erfüllen.
Der Zugang TSI-konformer Fahrzeuge zum nationalen Netz wird durch diesen Sonderfall nicht verhindert. Sonderfall für Finnland
("P") Alternativ oder zusätzlich zu den Angaben in Abschnitt 4.2.11.6 können Wasserfüllanschlüsse installiert werden, die gemäß Abbildung AII1 mit der streckenseitigen Ausrüstung im finnischen Schienennetz kompatibel sind.
Der Zugang TSI-konformer Fahrzeuge zum nationalen Netz wird durch diesen Sonderfall nicht verhindert.
Abbildung AII1 Wasserfüllanschluss

Typ: Anschluss C für Brandbekämpfung NCU1
Werkstoff: Messing oder Aluminium
Spezifische Definition in der Norm SFS 3802 (Definition der Dichtung je nach Anschlusshersteller)
("P") Alternativ oder zusätzlich zu den Angaben in Abschnitt 4.2.11.3 ist es zulässig, Anschlüsse für die Toilettenentsorgung und zum Spülen der Sanitärtanks zu installieren, die mit den streckenseitigen Ausrüstungen im finnischen Schienennetz gemäß Abbildung AI1 und AI2 kompatibel sind.
Der Zugang TSI-konformer Fahrzeuge zum nationalen Netz wird durch diesen Sonderfall nicht verhindert.
Abbildung AI1 Entleerungsanschlüsse für Toilettentank
Schnellanschluss SFS 4428, Anschlussteil A, Größe DN80
Werkstoff: säurefester Edelstahl
Dichtung auf der Gegenseite des Anschlusses
Spezifische Definition in der Norm SFS 4428
Abbildung AI2 Spülungsanschlüsse für Toilettentank
"Schnellanschluss mit Absperrventil, Größe 3/4"
Werkstoff: säurefester Edelstahl
Dichtung auf der Gegenseite des Anschlusses
Spezifischer Typ: Stäubli Faverges RBE11.7154
7.3.2.22 Besondere Anforderungen für das Abstellen der Züge ( 4.2.11.6 )
Sonderfälle für die Republik Irland und das Vereinigte Königreich für Nordirland
("P") Hinsichtlich Abschnitt 4.2.11.7 muss die ortsfeste Stromversorgung für abgestellte Züge die Anforderungen der Norm I.E.- CME Technical Standard 307 oder die entsprechende technische Vorschrift im britischen Territorium Nordirland erfüllen.
7.3.2.23 Betankungsanlagen ( 4.2.11.7)
Sonderfall Vereinigtes Königreich für Großbritannien
("P") Wenn ein Fahrzeug mit einer Betankungsanlage ausgestattet ist, z.B. Verbrennungs-Triebfahrzeuge, ist alternativ oder zusätzlich zu dem entsprechenden Absatz in Abschnitt 4.2 dieser TSI der Einsatz von Betankungsanlagen zulässig, die die Anforderungen der Norm BS 3818:1964 (Selbstdichtende Tankkupplungen für Verbrennungslokomotiven und Verbrennungstriebwagen) erfüllen.
Der Zugang TSI-konformer Fahrzeuge zum nationalen Netz wird durch diesen Sonderfall nicht verhindert. Sonderfälle für die Republik Irland und das Vereinigte Königreich für Nordirland
("P") In Bezug auf Abschnitt 4.2.11.7 muss die Betankungsanlage die Anforderungen der Norm I.E.- CME Technical Standard 307 oder die entsprechende technische Vorschrift im britischen Territorium Nordirland erfüllen.
Sonderfall für Finnland
("P") Zur Betankung im finnischen Schienennetz muss der Kraftstofftank von Einheiten mit einer Verbrennungs-Befüllungsschnittstelle mit einer Überlaufkontrolle nach den Normen SFS 5684 und SFS 5685 ausgerüstet sein.
7.4 Spezielle Umgebungsbedingungen
Besondere Bedingungen für Finnland
Für einen uneingeschränkten Zugang von Fahrzeugen zum finnischen Schienennetz unter winterlichen Bedingungen muss nachgewiesen werden, dass das Fahrzeug die folgenden Anforderungen erfüllt:
Diese Anforderungen gelten als erfüllt, wenn:
Besondere Bedingungen für Schweden
Für den uneingeschränkten Zugang von Fahrzeugen zum schwedischen Schienennetz unter winterlichen Bedingungen muss nachgewiesen werden, dass das Fahrzeug die folgenden Anforderungen erfüllt:
Besondere Bedingungen für Österreich
Für den uneingeschränkten Zugang von Fahrzeugen zum österreichischen Schienennetz unter winterlichen Bedingungen
Besondere Bedingungen für Spanien
Für den uneingeschränkten Zugang der Fahrzeuge zum spanischen Schienennetz unter sommerlichen Bedingungen muss die Temperaturzone T3 gemäß Abschnitt 4.2.6.1.2 ausgewählt werden.
Anmerkung: Die relevante, sich im Entwurfsstadium befindliche EN-Norm wird spezielle Vorschriften für die Konformitätsbewertung von Fahrzeugen (Entwurf und Test) für die Zone T3 festlegen, insbesondere für sicherheitsrelevante Ausrüstung, die auf dem Dach oder unter dem Zug montiert wird und die vom "Heißballasteffekt" betroffen ist.
Besondere Bedingungen für Portugal
Für den uneingeschränkten Zugang der Fahrzeuge zum portugiesischen Schienennetz unter sommerlichen
Bedingungen muss die Temperaturzone T3 gemäß Abschnitt 4.2.6.1.2 ausgewählt werden.
7.5 Aspekte, die im Zuge der Überarbeitung oder bei anderen Aktivitäten der Agentur berücksichtigt werden müssen
Zusätzlich zu der Analyse, die im Entwurfsstadium dieser TSI durchgeführt wurde, wurden bestimmte Aspekte bestimmt, die für die zukünftige Entwicklung des Eisenbahnsystems der EU von Interesse sind.
Diese Aspekte lassen sich in drei verschiedene Gruppen gliedern:
Diese Aspekte werden nachfolgend festgelegt und gemäß der Gliederung in Abschnitt 4.2 der TSI klassifiziert.
7.5.1 Aspekte in Bezug auf eckwerte dieser TSI
7.5.1.1 Radsatzlast (Abschnitt 4.2.3.2.1 )
Dieser Eckwert deckt die Schnittstelle zwischen Infrastruktur und Fahrzeug hinsichtlich der vertikalen Last ab.
Gemäß der TSI INS CR werden die Strecken gemäß der Norm EN 15528:2008 klassifiziert. Diese Norm spezifiziert auch eine Kategorisierung von Schienenfahrzeugen für Güterwagen und besondere Arten von Lokomotiven und Reisezugwagen. Sie wird so überarbeitet, dass sie alle Arten von Fahrzeugen abdeckt.
Wenn diese überarbeitete Fassung zur Verfügung steht, könnte es von Interesse sein, die "Konstruktionsklassifizierung" der bewerteten Einheit in die EG-Bescheinigung der benannten Stelle aufzunehmen:
Dieser Aspekt muss bei der Überarbeitung dieser TSI berücksichtigt werden, welche bereits in ihrer vorliegenden Fassung erfordert, dass alle zur Ermittlung dieser Klassifizierungen erforderlichen Daten aufgezeichnet werden.
Es ist zu beachten, dass die Anforderung an die RU, die betriebliche Zuladung gemäß Abschnitt 4.2.2.5 der TSI OPE CR zu definieren und zu kontrollieren, unverändert bleibt.
7.5.1.2 Grenzwerte für die Gleisbeanspruchung (Abschnitt 4.2.3.4.2.2 )
Diese Reihe von Eckwerten definieren die Grenzwerte für die Gleisbeanspruchung (quasistatische Führungskraft, quasistatische Radkraft, maximale Radkraft).
Die angegebenen Grenzwerte gelten für Radsatzlasten in einem Wertbereich, der in Abschnitt 4.2.2 der TSI INS CR erwähnt wird. Für Gleise, die für höhere Radsatzlasten ausgelegt sind, werden keine harmonisierten Grenzwerte für die Gleisbeanspruchung festgelegt.
Hinsichtlich der quasistatischen Führungskraft kann die Betriebsleistung des Fahrzeugs (z.B. die Höchstgeschwindigkeit) bei einem Überschreiten des angegebenen Grenzwerts durch die Infrastruktur aufgrund der Gleisbeschaffenheit (z.B. Bogenhalbmesser, Überhöhung, Schienenhöhe) eingeschränkt werden.
Die Spezifikation dieser Grenzwerte muss gegebenenfalls beim Überarbeiten dieser TSI ergänzt werden.
Hinsichtlich der "quasistatischen Führungskraft" muss ihr Wert in der vorliegenden Fassung der TSI notiert werden. Er wird in das "Europäische Register zugelassener Fahrzeugtypen" aufgenommen werden.
7.5.1.3 Aerodynamische Auswirkungen (Abschnitt 4.2.6.2 )
Die Anforderungen an "Auswirkungen der Wirbelzone" und "Druckimpuls an der Zugspitze" wurden gemäß der TSI RST HS für Einheiten mit einer maximalen Betriebsgeschwindigkeit von grundsätzlich mehr als 160 km/h eingerichtet.
Diese Geschwindigkeitsschwelle wurde festgelegt, da die Erfahrungswerte bei Zügen mit Geschwindigkeiten von über 160 km/h in der Umgebung des konventionellen Eisenbahnsystems sehr beschränkt sind.
Die Erfahrungswerte hinsichtlich der Anforderungen selbst und hinsichtlich ihrer Konformitätsbewertung werden in den kommenden Jahren erheblich zunehmen, bezugnehmend auf die Anwendung der TSI RST HS und auch im Rahmen europäischer Forschungsprojekte (Aerotrain).
Aus diesem Grund ist geplant, die Anforderungen bei der Überarbeitung der TSI mit zwei Zielsetzungen zu prüfen:
7.5.2 Aspekte, die mit keinem eckwert dieser TSI in Zusammenhang stehen, aber Gegenstand von Forschungsprojekten sind
7.5.2.1 Weitere Anforderungen aus Sicherheitsgründen
Der Innenraum von Fahrzeugen für Fahrgäste und Zugpersonal muss die Insassen im Fall eines Zusammenstoßes durch folgende Merkmale schützen:
2006 wurden einige EU-Forschungsprojekte ins Leben gerufen, um die Folgen von Eisenbahnunfällen (Zusammenstoß, Entgleisung usw.) für Fahrgäste zu untersuchen und so insbesondere die Risiken und den Grad der Verletzungen zu evaluieren. Ziel ist es, Anforderungen und entsprechende Verfahren zur Konformitätsbewertung im Hinblick auf die Innenausstattung und Bestandteile von Schienenfahrzeugen festzulegen.
Diese TSI bietet bereits eine Reihe von Spezifikationen, um diese Risiken abzudecken, z.B. in den Abschnitten 4.2.2.5, 4.2.2.7, 4.2.2.9 und 4.2.5.
Kürzlich wurden auf Ebene der Mitgliedstaaten und der Europäischen Union (durch die Gemeinsame Forschungsstelle der Kommission) Studien zum Schutz der Fahrgäste im Falle eines Terroranschlags in Auftrag gegeben.
Die Agentur wird diese Studien verfolgen und anhand ihrer Ergebnisse entscheiden, ob der Kommission weitere Eckwerte oder Anforderungen, die das Verletzungsrisiko von Fahrgästen bei einem Unfall oder einem Terroranschlag abdecken, empfohlen werden müssen. Bei Bedarf muss diese TSI überarbeitet werden.
Bis zur Überarbeitung dieser TSI können die Mitgliedstaaten nationale Regelungen verwenden, um diese Risiken abzudecken. Dies verhindert in keinem Fall den Zugang TSI-konformer Fahrzeuge, die über die Grenzen von Mitgliedstaaten hinweg betrieben werden, zum nationalen Schienennetz.
7.5.3 Aspekte, die für das EU-Eisenbahnsystem relevant sind, jedoch nicht in den Anwendungsbereich von TSI fallen
7.5.3.1 Fahrzeug - Fahrweg - Wechselwirkung (Abschnitt 4.2.3) - Spurkranz - oder Gleisschmierung
Im Entwurfsstadium dieser TSI wurde beschlossen, dass die "Spurkranz- oder Gleisschmierung" kein Eckwert ist (kein Bezug zu grundlegenden Anforderungen gemäß der Richtlinie).
Dennoch hat es den Anschein, dass die Akteure im Eisenbahnsektor (IM, RU, NSA) von der Agentur unterstützt werden müssen, um von den aktuellen Vorgehensweisen zu einem Ansatz zu wechseln, der für Transparenz sorgt und ungerechtfertigte Hürden für den Verkehr von Fahrzeugen im EU-Schienennetz vermeidet.
Zu diesem Zweck hat die Agentur vorgeschlagen, gemeinsam mit EIM eine Studie zu beginnen, deren Ziel die Klärung der wichtigen technischen und wirtschaftlichen Aspekte dieser Funktion unter Berücksichtigung der aktuellen Situation ist:
In jedem Fall ist geplant, Informationen zur "Spurkranz- oder Gleisschmierung" in das "Infrastrukturregister" aufzunehmen. Außerdem wird das "Europäische Register zugelassener Fahrzeugtypen" darüber Auskunft geben, ob ein Fahrzeug über eine fahrzeugseitige Spurkranzschmierung verfügt. Die zuvor erwähnte Studie wird die Betriebsvorschriften klären.
In der Zwischenzeit können die Mitgliedstaaten weiterhin nationale Regelungen verwenden, um das Thema der Fahrzeug-Gleis-Schnittstelle abzudecken. Diese Regelungen werden entweder durch Mitteilung an die Kommission gemäß Artikel 17 der Richtlinie 2008/57/EG oder durch das in Artikel 35 der gleichen Richtlinie bezeichnete Infrastrukturregister bereitgestellt.
| Puffer und Zugeinrichtung | Anhang A |
A.1 Puffer
Werden am Ende einer Einheit Puffer angebracht sind, müssen diese paarweise montiert sein (d. h. symmetrisch und gegenüberliegend) und die gleichen Merkmale aufweisen.
Unabhängig von den Last- und Abnutzungsbedingungen muss die Höhe der Mittellinie der Puffer zwischen 980 mm und 1.065 mm über der Schienenoberkante liegen.
Bei Autotransportwagen unter maximaler Zuladung und Lokomotiven ist eine Mindesthöhe von 940 mm zulässig.
Der Standardabstand zwischen den Mittellinien der Puffer beträgt nominell 1.750 mm ± 10 mm symmetrisch zur Mittellinie des Einzelfahrzeugs. Für Einheiten mit zwei Spurweiten, die für den Betrieb zwischen Schienennetzen mit der Standard-Spurweite und einer breiten Spurweite ausgelegt sind, ist es zulässig, dass sie einen abweichenden Wert für den Abstand zwischen den Mittellinien der Puffer (z.B. 1.850 mm) aufweisen, sofern die uneingeschränkte Kompatibilität mit Puffern für die Standard-Spurweite von 1.435 mm gewährleistet ist.
Die Puffer müssen so dimensioniert sein, dass sich die Puffer der Einzelfahrzeuge in horizontalen Kurven und in S- Kurven nicht ineinander verhaken können. Die horizontale Mindestüberlappung zwischen sich berührenden Puffertellern beträgt mindestens 25 mm.
Bewertungsprüfung:
Zur Ermittlung der Puffergröße fahren zwei Einzelfahrzeuge durch eine S-Kurve mit einem Bogenhalbmesser von 190 m ohne Zwischengerade (Spurweite 1.458 mm) sowie durch eine S-Kurve mit einem Bogenhalbmesser von 150 m und einer Zwischengeraden von mindestens 6 m Länge (Spurweite 1.470 mm).
A.2. Schraubenkupplung
Die Standard-Zugeinrichtung zwischen Einzelfahrzeugen ist nicht durchgehend und besteht aus einer permanent am Haken befestigten Schraubenkupplung, einem Zughaken und einer Zugstange mit einem elastischen System.
Die Mittellinie des Zughakens muss unter allen Last- und Abnutzungsbedingungen zwischen 950 mm und 1.045 mm über der Schienenoberkante liegen.
Bei Autotransportwagen unter maximaler Zuladung und Lokomotiven ist eine Mindesthöhe von 920 mm zulässig. Der maximale Höhenunterschied der Mittellinie des Zughakens des Fahrzeugs zwischen "einem leeren Fahrzeug (mit der Auslegungsmasse für ein betriebsbereites Fahrzeug) mit neuen Rädern" und "einem beladenen Fahrzeug (mit der Auslegungsmasse bei normaler Zuladung) mit vollständig abgenutzten Rädern" darf beim gleichen Einzelfahrzeug nicht mehr als 85 mm betragen. Die Bewertung muss durch Berechnung erfolgen.
Jedes Einzelfahrzeugende muss eine Einrichtung zum Halten der nicht benutzten Kupplung besitzen. Die Kupplungsbaugruppe darf sich mit keinem Teil unterhalb von 140 mm über der Schienenoberkante befinden, wenn sich die Puffer in tiefster Stellung befinden.
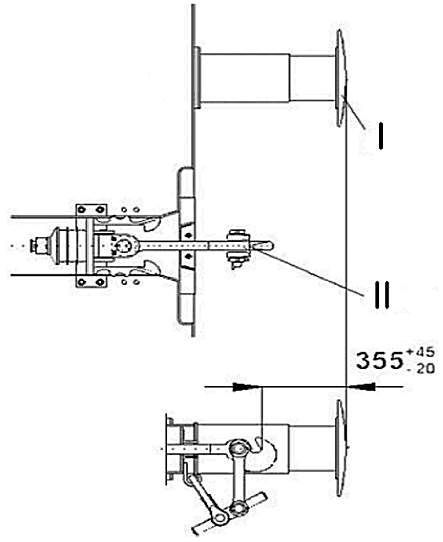
A.3 Wechselwirkung der Zug- und Stoßeinrichtung
Der Abstand zwischen der Vorderkante der Zughakenöffnung und der Vorderseite der nicht eingedrückten Puffer muss wie in Abbildung A1 gezeigt im Neuzustand 355 mm + 45/- 20 mm betragen.
Strukturen und mechanische Teile
Puffer
Abbildung A1 Zugeinrichtung und Puffer

I Nicht eingedrückter Puffer
II Zughakenöffnung
Abbildung A2 Berner Raum

I Schienenoberkante
II Stufe
III Stoßebene der ganz eingedrückten Puffer
| Anhebestellen und Abstützpunkte | Anhang B |
Anmerkung: Die folgenden Daten unterliegen künftig einer EN-Norm, die sich derzeit im Entwurfsstadium befindet.
B.1 Begriffsbestimmungen
B.1.1 Aufgleisen
Als Aufgleisen gilt ein Vorgang, bei dem ein entgleistes Bahnfahrzeug durch Anheben und Umsetzen wieder auf das Gleis gesetzt wird. Dieser Vorgang wird am Ort der Entgleisung durch spezialisierte Bergungsdienste mit Hilfe von Bergungsausrüstung durchgeführt.
B.1.2 Bergung
Als Bergung gilt die Entfernung eines Einzelfahrzeugs von einer Eisenbahnstrecke, das infolge einer Kollision, einer Entgleisung, eines Unfalls oder eines anderen Vorfalls fahrunfähig ist.
B.1.3 Anhebestellen und Abstützpunkte
Hierbei handelt es sich um bestimmte Positionen am Einzelfahrzeug, an denen Hebevorrichtungen angesetzt werden, die insbesondere das Anheben des Einzelfahrzeugs mit Hilfe von Bergungsausrüstung ermöglichen.
Anmerkung: Es ist zulässig, Anhebestellen und Abstützpunkte auch für andere Zwecke zu nutzen (z.B. Instandhaltung in Werkstätten usw.).
B.2 Auswirkungen des Aufgleisens auf die Auslegung des Fahrzeugs
Es muss möglich sein, jedes Einzelfahrzeug auf mehrere Arten, z.B. durch Anheben mit einem Kran oder durch Gleiswinden (Abstützen), und mit Bergungsausrüstung mit harmonisierten Schnittstellen sicher aufzugleisen.
Hierzu müssen geeignete Schnittstellen am Wagenkasten verfügbar sein, die die Anwendung vertikaler oder quasi- vertikaler Kräfte zulassen.
Außerdem muss es möglich sein, das gesamte Einzelfahrzeug einschließlich Fahrwerk (z.B. durch Sichern/Befestigen der Drehgestelle am Wagenkasten) anzuheben.
B.3 Position der Abstützpunkte an der Einzelfahrzeugstruktur
Für Aufgleisvorgänge müssen feste oder bewegliche Abstützpunkte vorhanden sein.
Position:
Wenn der untere Teil der Struktur des Wagenkastens die Bereitstellung permanenter integrierter Anhebestellen und Abstützpunkte nicht zulässt, muss die Struktur mit Einrichtungen ausgestattet sein, die die Befestigung von beweglichen Anhebestellen und Abstützpunkten bei einem Aufgleisungsvorgang ermöglichen.
Die detaillierte Spezifikation der Position von Anhebestellen und Abstützpunkten ist ein offener Punkt, bis die entsprechende Norm verfügbar ist.
B.4 Geometrie von Anhebestellen und Abstützpunkten
B.4.1 Permanente integrierte Anhebestellen und Abstützpunkte
- Offener Punkt.
B.4.2 Bewegliche Anhebestellen und Abstützpunkte
- Offener Punkt.
B.5 Sicherung von Fahrwerken am Untergestell
Zur Erleichterung des Aufgleisens eines Einzelfahrzeugs muss es möglich sein, den Federweg einzuschränken (z.B. Ketten, Gurte oder sonstiges bewegliches Anhebegerät).
Die detaillierte Spezifikation der technischen Anforderungen ist ein offener Punkt.
B.6 Kennzeichnung von Abstützpunkten bzw. Anhebestellen
Jeder feste oder bewegliche Abstützpunkt ist mit einem der folgenden Zeichen zu versehen:
B.6.1 Kennzeichnung der Punkte zum Anheben oder Abstützen des gesamten Einzelfahrzeugs mit oder ohne Fahrwerk:
B.6.2 Kennzeichnung der Punkte zum Anheben oder Abstützen eines Einzelfahrzeug-Endes mit Fahrwerk:
B.6.3 Kennzeichnung der Punkte zum Anheben oder Abstützen eines Einzelfahrzeug-Endes ohne das benachbarte Fahrwerk:
B.7 Anweisungen für Anheben und Abstützen
Für jede Art Einzelfahrzeug muss in der technischen Dokumentation gemäß Abschnitt 4.2.12 dieser TSI ein Diagramm für Anhebe- und Abstützvorgänge vorhanden sein.
Dieses Diagramm muss mindestens Folgendes umfassen:
Die Anweisungen sind soweit möglich in Form von Piktogrammen bereitzustellen.
| Spezielle Bestimmungen für mobile Ausrüstungen für Bau und Instandhaltung von Eisenbahninfrastrukturen | Anhang C |
C.1 Festigkeit der Fahrzeugstruktur
Die Anforderungen des Abschnitts 4.2.2.4 dieser TSI werden wie folgt ergänzt:
Der Fahrzeugkasten muss der in EN 12663-1:2010, Abschnitt 6.1 bis 6.5, bzw. in EN 12663-2:2010, Abschnitt 5.2.1 bis 5.2.4 definierten statischen Belastung standhalten, ohne die dort angegebenen zulässigen Werte zu überschreiten.
Die entsprechende strukturelle Kategorie von EN 12663-2 lautet wie folgt:
Die Beschleunigung in X-Richtung gemäß EN 12663-1:2010, Tabelle 13 oder EN 12663-2:2010, Tabelle 10 muss 3 g betragen.
C.2 Anheben und abstützen
Der Fahrzeugkasten muss über Anhebestellen verfügen, an denen das gesamte Fahrzeug sicher angehoben oder abgestützt werden kann. Die Position der Anhebestellen und Abstützpunkte ist zu definieren.
Zur Erleichterung der Arbeit bei Reparatur- oder Inspektionstätigkeiten oder beim Aufgleisen der Fahrzeuge müssen die Fahrzeuge an beiden Längsseiten über mindestens zwei Anhebestellen verfügen, an denen die Fahrzeuge in leerem oder beladenem Zustand angehoben werden können. Diese Anhebestellen müssen gemäß Anhang B dieser TSI gekennzeichnet werden.
Diese Anhebestellen müssen, sofern möglich, in einem Abstand von 1.400 mm von der Mitte der einzelnen Radsätze vorgesehen sein.
Damit Abstützvorrichtungen positioniert werden können, müssen unter den Anhebestellen freie Räume vorhanden sein, die nicht durch feste Teile behindert werden dürfen. Die Lastfälle müssen mit den in Anhang C.1 dieser TSI ausgewählten Lastfällen im Einklang stehen und gelten für das Anheben und Abstützen bei Vorgängen in der Werkstatt und Wartungsvorgängen.
C.3 Dynamisches Laufverhalten
Es ist zulässig, das Laufverhalten durch Laufversuche oder durch Bezugnahme auf ein zugelassenes Fahrzeug mit ähnlichem Baumuster gemäß Abschnitt 4.2.3.4.2 dieser TSI oder durch Simulation zu ermitteln.
Es gelten zusätzlich die folgenden Abweichungen von EN 14363:2005:
Das Laufverhalten kann durch eine Simulation der Versuche gemäß Beschreibung in EN 14363:2005 (mit den vorstehend beschriebenen Ausnahmen) belegt werden, wenn ein validiertes Modell der repräsentativen Strecke und der Betriebsbedingungen des Fahrzeugs vorliegt.
Ein Modell des Fahrzeugs, das für die Simulation des Laufverhaltens verwendet wird, ist durch einen Vergleich der Modellergebnisse mit den Ergebnissen eines Laufversuchs zu validieren, wenn die gleichen Eingabewerte für die Gleischarakteristik verwendet werden.
Ein validiertes Modell ist ein Simulationsmodell, das durch einen tatsächlichen Laufversuch verifiziert wurde, bei dem
die Aufhängung in ausreichendem Maße beansprucht wurde und auf dem gleichen Versuchsgleis eine hohe Übereinstimmung zwischen den Ergebnissen der Laufversuche und den Prognosen aus dem Simulationsmodell besteht.
| Energiemessung | Anhang D |
1 Einleitung
1.1 Das fahrzeugseitige Energiemesssystem (EMS) misst die elektrische Energie, die das Triebfahrzeug aus der Oberleitung aufnimmt oder (bei einer Nutzbremsung) in die Oberleitung zurückführt und die aus dem externen Elektrifizierungssystem bereitgestellt wird.
Das System hat folgende Funktionen:
1.1.1 Energiemessfunktion (Energy Measurement Function, EMF), einschließlich Spannungs- und Strommessung sowie Berechnung von Energiedaten;
1.1.2 Datenverarbeitungssystem (Data Handling System, DHS), das die Daten der EMF mit Zeitdaten und der geografischen Position zusammenführt und damit die vollständige Datenreihe zusammen mit den tatsächlichen Energiewerten (in kWh/kVarh) aufbereitet und speichert, die dann von einem Kommunikationssystem versendet werden können;
1.1.3 Fahrzeugseitige Ortsbestimmungsfunktion (Onboard Location Function), die die geografische Position des Triebfahrzeugs angibt.
Die vorstehend genannten Funktionselemente können durch einzelne Vorrichtungen oder in Kombination mit einer oder mehreren integrierten Baugruppen realisiert werden.
Abbildung 1
Funktionsdiagramm des Energiemesssystems

2 Anforderungen an das fahrzeugseitige Energiemesssystem (EMS)
2.1 Energiemessfunktion (EMF)
2.1.1 Das fahrzeugseitige Messsystem muss eine EMF enthalten, die die in Abschnitt 1.1.1 des vorliegenden Anhangs D beschriebenen Elemente umfasst.
2.1.2 Die EMF muss die Energie messen, die von allen Elektrifizierungssystemen bereitgestellt wird, für die das Triebfahrzeug ausgelegt ist.
2.1.3 Die EMF muss so angebunden sein, dass die gesamte Energie (Traktionsenergie und Hilfsenergie), mit der das Fahrzeug über die Oberleitung versorgt wird oder die das Fahrzeug in die Oberleitung zurückführt, aufgezeichnet wird. Für Energiemesssysteme in Wechselstromsystemen ist zudem die reaktive Energie aufzuzeichnen.
2.1.4 Die EMF darf eine Gesamtabweichung von höchstens 1,5 % für Wechselstromsysteme für aktive Energie und 2,0 % für Gleichstromsysteme aufweisen.
Diese Genauigkeiten werden im Einklang mit der folgenden Formel festgelegt:

Hierbei gilt:
- εEMF = Gesamtgenauigkeit der EMF;
- ε VMF = maximaler prozentualer Fehler der Spannungsmessfunktion (VMF);
- ε CMF = maximaler prozentualer Fehler der Strommessfunktion (CMF);
- εECF = maximaler prozentualer Fehler der Energieberechnungsfunktion (ECF).
2.1.4.1 Die oben erwähnten maximalen prozentualen Fehler der einzelnen Funktionen müssen unter den folgenden Referenzbedingungen erfüllt sein:
2.1.4.2 Der EMS-Nennstrom und die Spannung müssen an den Nennstrom und die Spannung des Triebfahrzeugs angeglichen werden.
2.1.5 Die Elemente zur Umsetzung der EMF unterliegen der gesetzlichen messtechnischen Kontrolle, die gemäß der folgenden Bestimmungen durchgeführt wird:
2.1.5.1 Die Genauigkeit der einzelnen Elemente wird nach den Referenzbedingungen gemäß Abschnitt 2.1.4.1 des vorliegenden Anhangs D geprüft, um zu verifizieren, dass diese die angegebenen Maximalfehler nicht überschreitet.
2.1.5.2 Jedes Element, das Abschnitt 2.1.5.1 des vorliegenden Anhangs D entspricht, muss gekennzeichnet werden, um die messtechnische Kontrolle und den angegebenen maximalen Fehlergrenzwert anzuzeigen.
2.1.5.3 Die Konfiguration jedes Elements muss im Zuge der messtechnischen Kontrolle dokumentiert werden.
2.1.6 Der Referenzzeitraum der EMF muss 5 Minuten betragen und wird nach dem Ende jedes dieser Referenzzeiträume mit dem UTC-Zeitsignal abgestimmt. Einer der Referenzzeiträume muss um 24:00:00 enden.
Es ist zulässig, kürzere Referenzzeiträume zu verwenden, wenn die Daten auf einen Referenzzeitraum von 5 Minuten verdichtet werden können.
2.1.7 Die EMF muss vor unbefugtem Zugriff auf das System und die Daten geschützt sein.
2.2 Datenverarbeitungssystem (DHS)
2.2.1 Das fahrzeugseitige Messsystem muss ein DHS enthalten, das die in Abschnitt 1.1.2 des vorliegenden Anhangs D beschriebenen Funktionen bietet.
Das DHS muss die Energiemessdaten sowie andere Daten zusammenstellen, ohne sie zu beschädigen.
2.2.3 Zur Bestimmung der Referenzzeit ist das gleiche Zeitsignal wie in der EMF zu verwenden.
2.2.4 Das DHS muss einen Datenspeicher beinhalten, dessen Speicherkapazität die Speicherung von Daten aus mindestens 60 Tagen (unabhängig von der verwendeten Referenzzeit) ununterbrochenen Betriebs und mit verbrauchter/rückgeführter aktiver und reaktiver (sofern zutreffend) Energie sowie einschließlich der Referenzzeit und Ortsdaten zulässt.
2.2.5 Das DHS muss lokal von befugtem Personal an Bord des Zuges mit Hilfe von geeigneter Ausrüstung (z.B. mit einem Laptop-Computer) konsultiert werden können, damit eine Möglichkeit zur Prüfung sowie eine alternative Option zum Wiederherstellen von Daten zur Verfügung steht.
2.2.6 Die zusammengestellten Daten, die für die Energieabrechnung verwendet werden können, müssen übertragungsbereit in chronologischer Reihenfolge nach den jeweiligen Endzeiten der Referenzzeiträume von 5 Minuten gemäß Abschnitt 2.1.6 des vorliegenden Anhangs D gespeichert werden und folgende Informationen beinhalten:
2.2.6.1 eindeutige Nummer der Einheit, die die europäische Fahrzeugnummer beinhaltet;
2.2.6.2 Endzeit jedes verstrichenen Energiemesszeitraums, definiert als Jahr, Monat, Tag, Stunde, Minute und Sekunde;
2.2.6.3 die Ortsdaten gemäß Abschnitt 2.3.3 des vorliegenden Anhangs D am Ende jedes Messzeitraums;
2.2.6.4 verbrauchte/rückgeführte aktive und reaktive (sofern zutreffend) Energie in jedem Zeitraum.
2.3 Ortsbestimmungsfunktion
2.3.1 Die Ortsbestimmungsfunktion wird in Abschnitt 1.1.3 des vorliegenden Anhangs D beschrieben.
2.3.2 Die Daten der Ortsbestimmungsfunktion sind mit der fahrzeugseitigen EMF gemäß dem UTC-Zeitsignal und -Zeitraum zu synchronisieren.
2.3.3 Die Ortsbestimmungsfunktion muss die Position in Längen- und Breitengrad angeben.
2.3.4 Im Freien darf die Abweichung der Ortsbestimmungsfunktion höchstens 250 m betragen.
2.4 Sonstige Anforderungen
2.4.1 Es ist zulässig, auf die Daten des DHS für andere Zwecke (z.B. Rückmeldung an den Triebfahrzeugführer) in Verbindung mit dem effizienten Betrieb des Zuges zuzugreifen, sofern nachgewiesen werden kann, dass die Integrität der erfassten und übertragenen Daten gemäß Abschnitt 2.2.6 des vorliegenden Anhangs D durch diesen Zweck nicht beeinträchtigt wird.
2.4.2 Die in Abschnitt 2.2.6 des vorliegenden Anhangs D aufgeführten Daten müssen auch dann erhalten bleiben, wenn das Energiemesssystem von der Energieversorgung getrennt wird.
2.5 Konformitätsbewertung des vollständigen fahrzeugseitigen Energiemesssystems
2.5.1 Die Konformitätsbewertung des vollständigen fahrzeugseitigen Energiemesssystems (EMS) muss durch eine Entwurfs- und Baumusterprüfung der EMS-Elemente und den Nachweis einer messtechnischen Kontrolle derjenigen Elemente erfolgen, die für die Umsetzung der EMF verwendet werden. Die Konfiguration des EMS muss im Zuge der Konformitätsbewertung dokumentiert werden.
2.5.2 Der angegebene maximale Fehlergrenzwert für jedes Element einer EMF, der gemäß Abschnitt 2.1.5.1 des vorliegenden Anhangs D verifiziert wird, muss in die Formel in Abschnitt 2.1.4 des vorliegenden Anhangs D eingesetzt werden, um zu prüfen, ob die Gesamtgenauigkeit im angegebenen Rahmen liegt.
| Anthropometrische Abmessungen des Triebfahrzeugführers | Anhang E |
Die folgenden Daten stehen für den "aktuellen Stand" und müssen verwendet werden.
Anmerkung: Sie unterliegen künftig einer EN-Norm, die sich derzeit im Entwurfsstadium befindet.
1 Grundlegende anthropometrische Abmessungen für Triebfahrzeugführer minimaler und maximaler Körpergröße
Die in Anhang E von UIC 651 (4. Ausgabe, Juli 2002) genannten Abmessungen müssen berücksichtigt werden.
2 Weitere anthropometrische Abmessungen für Triebfahrzeugführer minimaler und maximaler Körpergröße
Die in Anhang G von UIC 651 (4. Ausgabe, Juli 2002) genannten Abmessungen müssen berücksichtigt werden.
| Sichtverhältnisse nach vorne | Anhang F |
Die folgenden Daten stehen für den "aktuellen Stand" und müssen verwendet werden.
Anmerkung: Sie unterliegen künftig einer EN-Norm, die sich derzeit im Entwurfsstadium befindet.
F.1 Allgemein
Anmerkung: Die oben stehend in Anhang D erwähnte Sitzposition ist als Beispiel zu betrachten. Die TSI schreibt die Position des Sitzes (links, mittig oder rechts) im Führerstand nicht vor.
Die im vorstehenden Anhang genannten Vorschriften regeln die Bedingungen für die Sichtverhältnisse jeder Laufrichtung entlang eines geraden Gleises und in Kurven mit einem Bogenhalbmesser von mindestens 300 m. Sie gelten für die Position des Triebfahrzeugführers.
Anmerkung: Bei einem Führerstand mit zwei Fahrersitzen gelten sie für beide Sitzpositionen.
F.2 Referenzposition des Fahrzeugs in Bezug auf das Gleis
Es gilt Abschnitt 3.2.1 von UIC 651 (4. Ausgabe, Juli 2002).
Die Vorräte und die Zuladung werden gemäß EN 15663:2009 und Abschnitt 4.2.2.10 dieser TSI berücksichtigt.
F.3 Referenzposition für die Augen des Zugpersonals
Es gilt Abschnitt 3.2.2 von UIC 651 (4. Ausgabe, Juli 2002).
Der Abstand der Augen des Triebfahrzeugführers zur Windschutzscheibe in sitzender Position muss mindestens 500 mm betragen.
F.4 Bedingungen für die Sichtverhältnisse
Es gilt Abschnitt 3.3 von UIC 651 (4. Ausgabe, Juli 2002).
| Vorbehalten | Anhang G |
| Bewertung des Teilsystems "Fahrzeuge" | Anhang H |
H.1 Anwendungsbereich
Dieser Anhang beschreibt die Konformitätsbewertung des Teilsystems "Fahrzeuge".
H.2 Merkmale und Module
Die in den verschiedenen Entwurfs-, Entwicklungs- und Produktionsphasen zu bewertenden Merkmale des Teilsystems "Fahrzeuge" sind in Tabelle H.1 mit "X" gekennzeichnet. Ein "X" in Spalte 4 der Tabelle H.1 weist darauf hin, dass die betreffenden Merkmale durch Prüfung der einzelnen Teilsysteme zu verifizieren sind.
Tabelle H.1
Bewertung des Teilsystems "Fahrzeuge"
| 1 | 2 | 3 | 4 | 5 | |
| Zu bewertende Merkmale gemäß Abschnitt 4.2 dieser TSI | Entwurfs- und Entwicklungsphase | Produktionsphase | Besonderes Bewertungsverfahren | ||
| Entwurfsprüfung | Baumusterprüfung | Routineversuch | |||
| Element des Teilsystems "Fahrzeuge" | Abschnitt | Abschnitt | |||
| Struktur und mechanische Teile | |||||
| Innere Kupplung | 4.2.2.2.2 | X | entf. | entf. | - |
| Endkupplung | 4.2.2.2.3 | X | entf. | entf. | - |
| Schleppkupplung | 4.2.2.2.4 | X | X | entf. | - |
| Zugang des Zugpersonals bei Kupplungs- und Entkupplungsvorgängen | 4.2.2.2.5 | X | X | entf. | - |
| Übergänge | 4.2.2.3 | X | X | entf. | - |
| Festigkeit der Fahrzeugstruktur | 4.2.2.4 | X | X | entf. | - |
| Passive Sicherheit | 4.2.2.5 | X | X | entf. | - |
| Anheben und Abstützen | 4.2.2.6 | X | X | entf. | - |
| Befestigung von Ausrüstung an der Wagenkastenstruktur | 4.2.2.7 | X | entf. | entf. | - |
| Zugangstüren | 4.2.2.8 | X | X | entf. | - |
| Mechanische Merkmale von Glas | 4.2.2.9 | X | entf. | entf. | - |
| Lastbedingungen und gewichtete Masse | 4.2.2.10 | X | X | X | 6.2.2.2.1 |
| Fahrzeug-Fahrweg-Wechselwirkung und Fahrzeugbegrenzungslinie | 4.2.3 | ||||
| Kinematische Begrenzungslinie | 4.2.3.1 | X | entf. | entf. | 6.2.2.2.2 |
| Radlast | 4.2.3.2.2 | X | X | entf. | 6.2.2.2.3 |
| Fahrzeugparameter, die das Teilsystem "Zugsteuerung, Zugsicherung und Signalgebung" beeinflussen | 4.2.3.3.1 | X | X | X | - |
| Überwachung des Zustands der Radsatzlager | 4.2.3.3.2 | X | X | entf. | - |
| Sicherheit gegen Entgleisen bei Fahrbetrieb auf Strecken mit Gleisverwindung | 4.2.3.4.1 | X | X | entf. | - |
| Dynamisches Laufverhalten | 4.2.3.4.2 | X | X | entf. | - |
| Grenzwerte für Laufsicherheit | 4.2.3.4.2.1 | X | X | entf. | - |
| Grenzwerte für die Gleisbeanspruchung | 4.2.3.4.2.2 | X | X | entf. | - |
| Äquivalente Konizität | 4.2.3.4.3 | X | entf. | entf. | - |
| Auslegungswerte für neue Radprofile | 4.2.3.4.3.1 | X | entf. | entf. | - |
| Werte für die äquivalente Konizität von Radsätzen im Betrieb | 4.2.3.4.3.2 | offen | offen | offen | offen |
| Strukturelle Konstruktion des Drehgestellrahmens | 4.2.3.5.1 | X | X. | entf. | - |
| Mechanische und geometrische Merkmale von Radsätzen | 4.2.3.5.2.1 | X | X | X | - |
| Mechanische und geometrische Merkmale von Rädern | 4.2.3.5.2.2 | X | X | X | - |
| Variable Spurwechselradsätze | 4.2.3.5.2.3 | offen | offen | offen | offen |
| Minimaler Bogenhalbmesser | 4.2.3.6 | X | entf. | entf. | - |
| Bahnräumer | 4.2.3.7 | X | entf. | entf. | - |
| Bremsen | 4.2.4 | ||||
| Funktionelle Anforderungen | 4.2.4.2.1 | X | X | entf. | - |
| Sicherheitsanforderungen | 4.2.4.2.2 | X | entf. | entf. | 6.2.2.2.4 |
| Art des Bremssystems | 4.2.4.3 | X | X | entf. | - |
| Bremsbefehl | 4.2.4.4 | ||||
| Notbremsbefehl | 4.2.4.4.1 | X | X | X | - |
| Betriebsbremsbefehl | 4.2.4.4.2 | X | X | X | - |
| Direktbremsbefehl | 4.2.4.4.3 | X | X | X | - |
| Dynamischer Bremsbefehl | 4.2.4.4.4 | X | X | entf. | - |
| Feststellbremsbefehl | 4.2.4.4.5 | X | X | X | - |
| Bremsleistung | 4.2.4.5 | ||||
| Allgemeine Anforderungen | 4.2.4.5.1 | X | entf. | entf. | - |
| Notbremsung | 4.2.4.5.2 | X | X | X | 6.2.2.2.5 |
| Betriebsbremsung | 4.2.4.5.3 | X | X | X | 6.2.2.2.6 |
| Berechnungen in Verbindung mit der Wärmekapazität | 4.2.4.5.4 | X | entf. | entf. | - |
| Feststellbremse | 4.2.4.5.5 | X | entf. | entf. | - |
| Grenzwerte des Profils des Rad-Schiene-Kraftschlusses | 4.2.4.6.1 | X | entf. | entf. | - |
| Gleitschutzsystem | 4.2.4.6.2 | X | X | entf. | 6.2.2.2.7 |
| Gleitschutzsystem (IK) | 5.3.3 | X | X | X | 6.1.2.2.1 |
| Schnittstelle mit dem Antrieb - mit dem Antriebssystem verbundene Bremssysteme (elektrisch, hydrodynamisch) | 4.2.4.7 | X | X | entf. | - |
| Von Kraftschlussbedingungen unabhängiges Bremssystem | 4.2.4.8 | ||||
| Allgemein | 4.2.4.8.1. | X | entf. | entf. | - |
| Magnetschienenbremse | 4.2.4.8.2. | X | X | entf. | - |
| Wirbelstrombremse | 4.2.4.8.3 | offen | offen | offen | offen |
| Bremszustands- und Fehleranzeige | 4.2.4.9 | X | X | entf. | - |
| Anforderungen an die Bremsen zur Bergung von Zügen | 4.2.4.10 | X | X | entf. | - |
| Fahrgastspezifische Aspekte | 4.2.5 | ||||
| Sanitäre Systeme | 4.2.5.1 | X | entf. | entf. | 6.2.2.2.8 |
| Lautsprecheranlage: akustische Kommunikationsanlage | 4.2.5.2 | X | X | X | - |
| Fahrgastalarm: Funktionelle Anforderungen | 4.2.5.3 | X | X | X | - |
| Sicherheitsanweisungen für Fahrgäste - Zeichen | 4.2.5.4 | X | entf. | entf. | - |
| Kommunikationseinrichtungen für Fahrgäste | 4.2.5.5 | X | X | X | - |
| Außentüren: Zugang von Fahrgästen für den Einstieg und Ausstieg | 4.2.5.6 | X | X | X | - |
| Konstruktion von Außentürsystemen | 4.2.5.7 | X | entf. | entf. | - |
| Zwischentüren | 4.2.5.8 | X | X | entf. | - |
| Luftqualität im Innern | 4.2.5.9 | X | entf. | entf. | 6.2.2.2.9 |
| Wagenseitenfenster | 4.2.5.10 | X | - | ||
| Umgebungsbedingungen und aerodynamische Auswirkungen | 4.2.6 | ||||
| Umgebungsbedingungen | 4.2.6.1 | ||||
| Höhe | 4.2.6.1.1 | X | entf. | entf. | - |
| Temperatur | 4.2.6.1.2 | X | entf./X(1) | entf. | - |
| Feuchtigkeit | 4.2.6.1.3 | X | entf. | entf. | - |
| Regen | 4.2.6.1.4 | X | entf. | entf. | - |
| Schnee, Eis und Hagel | 4.2.6.1.5 | X | entf./X(1) | entf. | - |
| Sonnenstrahlung | 4.2.6.1.6 | X | entf. | entf. | - |
| Verschmutzungsbeständigkeit | 4.2.6.1.7 | X | entf. | entf. | - |
| Aerodynamische Auswirkungen | 4.2.6.2 | ||||
| Auswirkungen der Wirbelzone auf Personen am Bahnsteig | 4.2.6.2.1 | X | X | entf. | 6.2.2.2.10 |
| Auswirkungen der Wirbelzone auf Gleisarbeiter | 4.2.6.2.2 | X | X | entf. | 6.2.2.2.11 |
| Druckimpuls an der Zugspitze | 4.2.6.2.3 | X | X | entf. | 6.2.2.2.12 |
| Maximale Druckschwankungen in Tunneln | 4.2.6.2.4 | offen | offen | offen | offen |
| Seitenwind | 4.2.6.2.5 | offen | offen | offen | offen |
| Außenleuchten & visuelle und akustische Warnvorrichtungen | 4.2.7 | ||||
| Außenleuchten | 4.2.7.1 | ||||
| Frontscheinwerfer | 4.2.7.1.1 | X | X | entf. | 6.1.2.2.2 |
| Spitzenlichter | 4.2.7.1.2 | X | X | entf. | 6.1.2.2.3 |
| Schlusslichter | 4.2.7.1.3 | X | X | entf. | 6.1.2.2.4 |
| Steuerung der Leuchten | 4.2.7.1.4 | X | X | entf. | - |
| Signalhorn | 4.2.7.2 | ||||
| Allgemeines | 4.2.7.2.1 | X | X | entf. | - |
| Schalldruckpegel von Signalhörnern | 4.2.7.2.2 | X | X | entf. | 6.1.2.2.5 |
| Schutz | 4.2.7.2.3 | X | entf. | entf. | - |
| Steuerung der Signalhörner | 4.2.7.2.4 | X | X | entf. | - |
| Antriebs- und elektrische Ausrüstung | 4.2.8 | ||||
| Antriebsleistung | 4.2.8.1 | ||||
| Allgemeines | 4.2.8.1.1 | ||||
| Anforderungen an die Leistung | 4.2.8.1.2 | X | entf. | entf. | - |
| Energieversorgung | 4.2.8.2 | ||||
| Allgemeines | 4.2.8.2.1 | X | entf. | entf. | - |
| Betrieb innerhalb des Spannungs- und Frequenzbereichs | 4.2.8.2.2 | X | X | entf. | - |
| Nutzbremse mit Rückführung der Energie in die Oberleitung | 4.2.8.2.3 | X | X | entf. | - |
| Maximal zulässige Leistungs- und Stromaufnahme aus der Oberleitung | 4.2.8.2.4 | X | X | entf. | 6.2.2.2.13 |
| Maximale Stromaufnahme bei Stillstand für Gleichstromsysteme | 4.2.8.2.5 | X | X | entf. | - |
| Leistungsfaktor | 4.2.8.2.6 | X | X | entf. | 6.2.2.2.14. |
| Störungen des Energiesystems | 4.2.8.2.7 | X | X | entf. | - |
| Messfunktion für den Energieverbrauch | 4.2.8.2.8 | X | X | entf. | - |
| Anforderungen in Verbindung mit Stromabnehmern | 4.2.8.2.9 | X | X | entf. | 6.2.2.2.15 & 16 |
| Stromabnehmer (IK) | 5.3.8 | X | X | X | 6.1.2.2.6 |
| Schleifstücke (IK) | 5.3.8.1 | X | X | X | 6.1.2.2.7 |
| Elektrischer Schutz des Zuges | 4.2.8.2.10 | X | X | entf. | - |
| Verbrennungs- und andere thermische Antriebssysteme | 4.2.8.3 | - | - | - | Andere Richtlinie |
| Schutz gegen elektrische Gefahren | 4.2.8.4 | X | X | entf. | - |
| Führerstand und Betrieb | 4.2.9 | ||||
| Führerstand | 4.2.9.1 | X | entf. | entf. | - |
| Allgemein | 4.2.9.1.1 | X | entf. | entf. | - |
| Ein- und Ausstieg | 4.2.9.1.2 | X | entf. | entf. | - |
| Ein- und Ausstieg unter Betriebsbedingungen | 4.2.9.1.2.1 | X | entf. | entf. | - |
| Notausstieg im Führerstand | 4.2.9.1.2.2 | X | entf. | entf. | - |
| Äußere Sichtverhältnisse | 4.2.9.1.3 | X | entf. | entf. | - |
| Sicht nach vorn | 4.2.9.1.3.1 | X | entf. | entf. | - |
| Sicht nach hinten und seitliche Sicht | 4.2.9.1.3.2 | X | entf. | entf. | - |
| Innengestaltung | 4.2.9.1.4 | X | entf. | entf. | - |
| Führersitz | 4.2.9.1.5 | X | entf. | entf. | - |
| Fahrpult - Ergonomie | 4.2.9.1.6 | X | entf. | entf. | - |
| Klimasteuerung und Luftqualität | 4.2.9.1.7 | X | X | entf. | 6.2.2.2.9 |
| Innenbeleuchtung | 4.2.9.1.8 | X | X | entf. | - |
| Windschutzscheibe - Mechanische Merkmale | 4.2.9.2.1 | X | X | entf. | 6.2.2.2.17 |
| Windschutzscheibe - Optische Merkmale | 4.2.9.2.2 | X | X | entf. | 6.2.2.2.17 |
| Windschutzscheibe - Ausrüstung | 4.2.9.2.3 | X | X | entf. | - |
| Schnittstelle Triebfahrzeugführer-Maschine | 4.2.9.3 | ||||
| Kontrollfunktion über die Aktivität des Triebfahrzeugführers | 4.2.9.3.1 | X | X | X | - |
| Geschwindigkeitsanzeige | 4.2.9.3.2 | - | - | - | - |
| Führerstandsanzeigegerät und Bildschirme | 4.2.9.3.3 | X | X | entf. | - |
| Bedienelemente und Anzeigen | 4.2.9.3.4 | X | X | entf. | - |
| Kennzeichnung | 4.2.9.3.5 | X | entf. | entf. | - |
| Fernbedienungsfunktion | 4.2.9.3.6 | X | X | entf. | - |
| Fahrzeugseitige Werkzeuge und tragbare Ausrüstung | 4.2.9.4 | X | entf. | entf. | - |
| Aufbewahrungsmöglichkeit für persönliche Gegenstände des Personals | 4.2.9.5 | X | entf. | entf. | - |
| Fahrdatenschreiber | 4.2.9.6 | offen | offen | offen | offen |
| Brandschutz und Evakuierung | 4.2.10 | ||||
| Allgemeines und Kategorisierung | 4.2.10.1 | X | entf. | entf. | - |
| Werkstoffanforderungen | 4.2.10.2 | X | X | entf. | - |
| Spezielle Maßnahmen für entflammbare Flüssigkeiten | 4.2.10.3 | X | X | entf. | - |
| Bergung von Fahrgästen | 4.2.10.4 | X | entf. | entf. | - |
| Brandschutzwände | 4.2.10.5 | X | X | entf. | 6.2.2.2.18 |
| Wartung | 4.2.11 | ||||
| Reinigung der Windschutzscheibe des Führerstands | 4.2.11.2 | X | X | entf. | - |
| Anlagen für die Toilettenentsorgung | 4.2.11.3 | X | entf. | entf. | - |
| Wasserbefüllungsanlagen | 4.2.11.4 | X | entf. | entf. | - |
| Schnittstelle für Wasserbefüllung | 4.2.11.5 | X | entf. | entf. | - |
| Besondere Anforderungen für das Abstellen der Züge | 4.2.11.6 | X | X | entf. | - |
| Betankungsanlagen | 4.2.11.7 | X | entf. | entf. | - |
| Dokumentation für Betrieb und Instandhaltung | 4.2.12 | ||||
| Allgemein | 4.2.12.1 | X | entf. | entf. | - |
| Allgemeine Dokumentation | 4.2.12.2 | X | entf. | entf. | - |
| Instandhaltungsunterlagen | 4.2.12.3 | X | entf. | entf. | - |
| Unterlagen zur Begründung des Instandhaltungskonzepts | 4.2.12.3.1 | X | entf. | entf. | - |
| Instandhaltungsaufzeichnungen/Dokumentation | 4.2.12.3.2 | X | entf. | entf. | - |
| Betriebliche Unterlagen | 4.2.12.4 | X | entf. | entf. | - |
| 1) Baumusterprüfung, sofern und wie vom Antragsteller definiert. | |||||
| Aspekte, für die die technische Spezifikation nicht verfügbar ist (Offene Punkte) | Anhang I |
Allgemeine offene Punkte im Hinblick auf ein ganzes Schienennetz
| Element des Teilsystems "Fahrzeuge" | Abschnitt dieser TSI | Technischer Aspekt, der in der vorliegenden TSI nicht behandelt wird | Bemerkungen |
| Spezifische Anforderungen für Fahrzeuge des konventionellen Eisenbahnsystems für den sicheren Betrieb im Hochgeschwindigkeitsnetz | 1.2 | Alle Anforderungen | Kompatibilität mit dem betroffenen Schienennetz |
| Sonderfall Estland, Lettland, Litauen, Polen und Slowakei für eine Spurweite von 1.520 mm | 7.3.2 | Alle Abschnitte der TSI sind offene Punkte. | Offener Punkt, der anzeigt, dass für eine Spurweite von 1.520 mm weitere Arbeit erforderlich ist. |
Offene Punkte, die sich auf die technische Kompatibilität zwischen Fahrzeug und Schienennetz beziehen
| Element des Teilsystems "Fahrzeuge" | Abschnitt dieser TSI | Technischer Aspekt, der in der vorliegenden TSI nicht behandelt wird | Bemerkungen |
| Überwachung des Zustands der Radsatzlager | 4.2.3.3.2 | Betriebstemperaturbereich für streckenseitige Ausrüstung | In der technischen Dokumentation aufgezeichneter Temperaturgrenzwert.
Kompatibilität mit dem betroffenen Schienennetz muss geprüft werden. |
| Dynamisches Laufverhalten | 4.2.3.4.2 | Referenzgleis für Versuche (Gleislagequalität) | Der Versuchsbericht beinhaltet die Beschreibung der Bedingungen der Versuchsstrecke. Muss geprüft werden, um die Kompatibilität mit dem betroffenen Schienennetz zu verifizieren. |
| Dynamisches Laufverhalten | 4.2.3.4.2 | Die Kombination aus Geschwindigkeit, Krümmung und Überhöhungsfehlbetrag gemäß EN 14363. | Der Versuchsbericht beinhaltet die Beschreibung der Versuchsstrecke. Muss geprüft werden, um die Kompatibilität mit dem betroffenen Schienennetz zu verifizieren. |
| Radsätze - äquivalente Konizität | 4.2.3.4.3.2 | Wert für die äquivalente Konizität von Radsätzen im Betrieb | Instandhaltungskriterien sind in Abhängigkeit von den Schienennetzbedingungen festzulegen. |
| Von Kraftschlussbedingun- gen unabhängiges Brems- system | 4.2.4.8.3 | Wirbelstrombremse | Ausrüstung nicht zwingend erforderlich.
Kompatibilität mit dem betroffenen Schienennetz muss geprüft werden. |
| Absenken der Stromabnehmer | 4.2.8.2.9.10 | Vorhandensein einer Vorrichtung zur automatischen Absenkung (ADD) erforderlich | ADD wird im transeuropäischen konventionellen Eisenbahnsystem akzeptiert. Nicht überall zwingend erforderlich (nationale Vorschrift). |
Offene Punkte, die sich nicht auf die technische Kompatibilität von Fahrzeug und Schienennetz beziehen
| Element des Teilsystems "Fahrzeuge" | Abschnitt dieser TSI | Technischer Aspekt, der in der vorliegenden TSI nicht behandelt wird | Bemerkungen |
| Sicherheitsrelevante Funktionen | 4.2.1 | Sicherheitsstufe in folgenden Abschnitten nicht definiert:
- 4.2.3.4 (dynamisches Verhalten, Entwurfsoption mit Software), |
- Entwurfsoption 1 |
| Sicherheitsrelevante Funktionen | 4.2.1 | - 4.2.4.9 (Bremsung; Option zentralisiertes Steuerungssystem), | - Entwurfsoption 1 |
| Sicherheitsrelevante Funktionen | 4.2.1 | - 4.2.5.3 (Entwurfsoption für Alarm), | - Entwurfsoption 1 |
| Sicherheitsrelevante Funktionen | 4.2.1 | - 4.2.5.6 (In den Punkten D und E beschriebenes Türsteuerungssystem), | |
| Sicherheitsrelevante Funktionen | 4.2.1 | - 4.2.8.2.10 (Steuerung des Hauptleistungsschalters), | |
| Sicherheitsrelevante Funktionen | 4.2.1 | - 4.2.9.3.1 (Aktivitätskontrolle des Triebfahrzeugführers), | |
| Sicherheitsrelevante Funktionen | 4.2.1 | - 4.2.10.5 (Entwurfsoption, keine Trennwände über den gesamten Querschnitt). | - Entwurfsoption 1 |
| Passive Sicherheit | 4.2.2.5 | Anwendung der Szenarien 1 und 2 auf Hochleistungslokomotiven mit Mittelkupplung, die nur im Güterverkehr eingesetzt werden | Sofern nicht vor der Betriebsfreigabe abgeschlossen (keine technische Lösung verfügbar), mögliche Einschränkungen auf Betriebsebene 3 |
| Passive Sicherheit | 4.2.2.5 | Konformitätsbewertung von Lokomotiven mit Mittelführer- stand mit den Anforderungen aus Szenario 3. | Sofern nicht vor der Betriebsfreigabe abgeschlossen (keine technische Lösung verfügbar), mögliche Einschränkungen auf Betriebsebene 3 |
| Schnittstellen für Ausrüstung zum Anheben und Abstützen | 4.2.2.6 Anhang B | Position und Geometrie der Schnittstellen | Beschreibung in der technischen Dokumentation; zu beachten bei Betrieb und Instandhaltung 2 |
| Überwachung des Zustands der Radsatzlager | 4.2.3.3.2 | Option für fahrzeugseitige Ausrüstung | Entwurfsoption 1 |
| Variable Spurwechselradsätze | 4.2.3.5.2.3 | Konformitätsbewertung | Entwurfsoption 1 |
| Auswirkungen der Wirbelzone auf Personen am Bahnsteig (Bei Geschwindigkeiten über 160 km/h). | 4.2.6.2.1 | Auswirkungen der Wirbelzone bei Einheiten, die für den all- gemeinen Fahrbetrieb bewertet werden (Zugverband nicht definiert) | Zugverband zur Bewertung der einzelnen Einheit ist nicht definiert. Mögliche Einschränkungen auf Betriebsebene 3 |
| Auswirkungen der Wirbelzone auf Gleisarbeiter (bei Geschwindigkeiten über 160 km/h). | 4.2.6.2.2 | Auswirkungen der Wirbelzone bei Einheiten, die für den all- gemeinen Fahrbetrieb bewertet werden (Zugverband nicht definiert) | Zugverband zur Bewertung der einzelnen Einheit nicht definiert. Mögliche Einschränkungen auf Betriebsebene 3 |
| Seitenwind | 4.2.6.2.5 | Seitenwindeffekte für alle Fahrzeuge des konventionellen Eisenbahnsystems: Zu berücksichtigende harmonisierte Windmerkmale und Bewertungsmethode. | Vor der Betriebsfreigabe unter Angabe des in der Auslegung berücksichtigten Seitenwinds abzuschließen (gemäß dieser TSI).
Kompatibilität mit den Betriebsbedingungen sind zu prüfen; mögliche Maßnahmen auf Infrastruktur- oder Betriebsebene 2 |
| Stromabnehmer - Schleifstück-Werkstoff | 4.2.8.2.9.4 | Andere Materialien zur Nutzung auf Strecken mit Wechselstrom und/oder auf Strecken mit Gleichstrom | Werden andere Materialien verwendet, erfolgt die Prüfung durch die Anwendung nationaler Vorschriften. Beschreibung in der technischen Dokumentation, zu beachten bei Betrieb und Instandhaltung 2 |
| Fahrdatenschreiber | 4.2.9.6 | Spezifikation des Fahrdatenschreibers und seiner Integration in das Fahrzeug | Offener Punkt bei der Überarbeitung der TSI Verkehrsbetrieb (anzunehmen).
Siehe auch Richtlinie 2008/57/EG, Artikel 23 Absatz 3 Buchstabe b) |
| Besondere Anforderungen für das Abstellen der Züge | 4.2.11.6 | Lokale externe Energieversorgung mit 400 V (in Erwartung der Fertigstellung der Studie MODTRAIN) | Beschreibung in der technischen Dokumentation; zu beachten bei Betrieb und Instandhaltung 2 |
| Betankung | 4.2.11.7 | Düsen für andere Kraftstoffe als Verbrennungskraftstoff | Beschreibung in der technischen Dokumentation; zu beachten bei Betrieb und Instandhaltung 2. |
| 1) Die Interoperabilität wird durch die technische Lösung sichergestellt, die in Abschnitt 4.2 der TSI umfassend definiert wird.
Dieser offene Punkt bezieht sich auf eine alternative technische Lösung, für die noch keine harmonisierte Spezifikation existiert. Die Anwendung dieser alternativen Lösung liegt im Ermessen des Antragstellers. 2) Dieser offene Punkt bezieht sich auf technische Aspekte, die Auswirkungen auf den Betrieb und/oder die Instandhaltung haben können. Die angewandte technische Lösung muss in der technischen Dokumentation beschrieben werden, die der EG-Prüferklärung beiliegt, damit sie auf Betriebsebene berücksichtigt werden kann. 3) Dieser offene Punkt bezieht sich auf technische Aspekte, für die der aktuelle Stand keine technische Spezifikation für das Teilsystem "Fahrzeuge" bietet. Er muss durch nationale Vorschriften abgeschlossen werden, bevor die Betriebsfreigabe erteilt oder der Einsatz des Fahrzeugs eingeschränkt wird. |
|||
| Normen oder normative Dokumente, auf die in dieser TSI verwiesen wird | Anhang J |
| TSI | Norm | ||
| Zu bewertende Merkmale | Erforderlicher Verweis Norm Nr. | Abschnitte | |
| Element des Teilsystems "Fahrzeuge" | Abschnitt aus dieser TSI | ||
| Struktur und mechanische Teile | 4.2.2 | ||
| Innere Kupplung | 4.2.2.2.2 | EN 12663-1:2010 | Abschnitte 6.5.3 und 6.7.5 für Gelenktriebwagen |
| Endkupplung | 4.2.2.2.3 Anhang A | EN 15566:2009 | Puffer und Schraubenkupplung |
| EN 15551:2009 | Puffer und Schraubenkupplung | ||
| UIC 541-1:Nov 2003 | Abmessungen und Auslegung von Bremsleitungen und Bremsschläuchen | ||
| UIC 648:Sep 2001 | Seitliche Position von Bremsleitungen und Bremsventilen | ||
| Festigkeit der Fahrzeugstruktur | 4.2.2.4 | EN 12663-1:2010 | Alle |
| Passive Sicherheit | 4.2.2.5 | EN 15227:2008 | Alle bis auf Anhang A |
| Anheben und Abstützen | 4.2.2.6 Anhang B | EN 12663-1:2010 | Abschnitte 6.3.2, 6.3.3 und 9.2.3.1 |
| Befestigung von Ausrüstung an der Wagenkastenstruktur | 4.2.2.7 | EN 12663-1:2010 | Abschnitt 6.5.2 |
| Lastbedingungen | 4.2.2.10 | EN 15663:2009 | Hypothese für Lastbedingungen |
| 6.2.2.2.1 | EN 14363:2005 | Abschnitt 4.5 "Gewichtsbestimmung" | |
| Fahrzeug-Fahrweg-Wechselwirkung und Fahrzeugbegrenzungslinie | 4.2.3 | ||
| Kinematische Begrenzungslinie | 4.2.3.1 | EN 15273-2:2009 | Abschnitt A.3.12. |
| 6.2.2.2.2 | EN 15273-2:2009 | Abschnitt B.3. | |
| Radlast | 4.2.3.2.2 | ||
| 6.2.2.2.3 | EN 14363:2005 | Abschnitt 4.5 "Radlastmessung" | |
| Überwachung des Zustands der Radsatzlager | 4.2.3.3.2 | EN 15437-1:2009 | Abschnitte 5.1 und 5.2. |
| Sicherheit gegen Entgleisen bei Fahrbetrieb auf Strecken mit Gleisverwindung | 4.2.3.4.1 | EN 14363:2005 | Abschnitt 4.1 |
| Dynamisches Laufverhalten | 4.2.3.4.2 Anhang C | EN 14363:2005 | Abschnitt 5 |
| EN 15686:2010 | Für Neigezüge | ||
| EN 13848-1 | Für Gleislagequalität | ||
| Äquivalente Konizität | 4.2.3.4.3 | EN 15302:2008 | Berechnungsmethode |
| Auslegungswerte für neue Radprofile | 4.2.3.4.3.1 | EN 13674-1:2003/A1:2007 | Schienenkopfprofil beim Modellversuch zur Prüfung der äquivalenten Konizität |
| EN 13715:2006 | Definition von Radprofilen | ||
| Strukturelle Konstruktion des Drehgestellrahmens | 4.2.3.5.1 | EN 13749:2005 | Abschnitte 7 und 9.2; Anhang C |
| Mechanische und geometrische Merkmale von Radsätzen | 4.2.3.5.2.1 | EN 13260:2009 | Abschnitte 3.2.1 und 3.2.2 |
| EN 13103:2009 | Abschnitte 4, 5 und 6 | ||
| EN 13104:2009 | Abschnitte 4, 5 und 6 | ||
| Mechanische und geometrische Merkmale von Rädern | 4.2.3.5.2.2 | EN 13979-1:2003/A1:2009 | Abschnitte 6.2, 6.3, 6.4, 7.2 und 7.3 |
| Bremsen | 4.2.4 | ||
| Sicherheitsanforderungen | 4.2.4.2.2 6.2.2.2.4 |
Gemeinsame Sicherheitsmethoden ( CSM) | |
| Art des Bremssystems | 4.2.4.3 | EN 14198:2004 | Abschnitt 5.4 "UIC-Bremssystem" |
| Bremsleistung | 4.2.4.5 6.2.2.2.4 6.2.2.2.5 |
EN 14531-1:2005 | Abschnitte 5.3.1.4, 5.3.3, 5.11.3 und 5.12 |
| EN 14531-6:2009 | |||
| Gleitschutzsystem | 4.2.4.6.2 | EN 15595:2009 | Abschnitt 5 |
| 6.1.2.2.1 | EN 15595:2009 | Abschnitt 5 oder 6.2 | |
| 6.2.2.2.6 | EN 15595:2009 | Abschnitt 6.4 | |
| Magnetschienenbremse | 4.2.4.8.2. | UIC 541-06:Jan 1992 | Anhang 3 |
| Fahrgastspezifische Aspekte | 4.2.5 | ||
| Umgebungsbedingungen | 4.2.6.1 | Der Verweis auf Normen erfolgt nur zur Festlegung von Bereichen oder Substanzen. | |
| Höhe | 4.2.6.1.1 | EN 50125-1:1999 | Abschnitt 4.2 |
| Temperatur | 4.2.6.1.2 | EN 50125-1:1999 | Abschnitt 4.3 |
| Feuchtigkeit | 4.2.6.1.3 | EN 50125-1:1999 | Abschnitt 4.4 |
| Regen | 4.2.6.1.4 | EN 50125-1:1999 | Abschnitt 4.6 |
| Schnee, Eis und Hagel | 4.2.6.1.5 | EN 50125-1:1999 | Abschnitt 4.7 |
| Sonnenstrahlung | 4.2.6.1.6 | EN 50125-1:1999 | Abschnitt 4.9 |
| Verschmutzungsbeständigkeit | 4.2.6.1.7 | EN 60721-3-5:1997 | Liste der Substanzen |
| Aerodynamische Auswirkungen | 4.2.6.2 | ||
| Auswirkungen der Wirbelzone auf Personen am Bahnsteig | 4.2.6.2.1 | ||
| 6.2.2.2.9 | EN 14067-4:2005/A1:2009 | Abschnitt 7.5.2 | |
| Auswirkungen der Wirbelzone auf Gleisarbeiter | 4.2.6.2.2 | ||
| 6.2.2.2.10 | EN 14067-4:2005/A1:2009 | Abschnitt 8.5.2 | |
| Druckimpuls an der Zugspitze | 4.2.6.2.3 | ||
| 6.2.2.2.11 | EN 14067-4:2005/A1:2009 | Abschnitte 5.3, 5.4.3 und 5.5.2 | |
| Außenleuchten & visuelle und akustische Warnvorrichtungen | 4.2.7 | ||
| Außenleuchten | 4.2.7.1.1 | EN 15153-1:2007 | Abschnitt 5.3.5 |
| 6.1.2.2.2 | EN 15153-1:2007 | Abschnitte 6.1 und 6.2 | |
| 4.2.7.1.2 | EN 15153-1:2007 | Abschnitt 5.4.4 | |
| 6.1.2.2.3 | EN 15153-1:2007 | Abschnitte 6.1 und 6.2 | |
| 4.2.7.1.3 | EN 15153-1:2007 | Abschnitte 5.5.3 und 5.5.4 | |
| 6.1.2.2.4 | EN 15153-1:2007 | Abschnitte 6.1 und 6.2 | |
| Signalhorn | 4.2.7.2 | EN 15153-2:2007 | Abschnitte 4.3.2 und 5.5.3 |
| Antriebs- und elektrische Ausrüstung | 4.2.8 | ||
| Nutzbremse mit Rückführung der Energie in die Oberleitung | 4.2.8.2.3 | EN 50388:2005 | Abschnitt 12.1.1 |
| Maximal zulässige Leistungs- und Stromaufnahme aus der Oberleitung | 4.2.8.2.4 | EN 50388:2005 | Abschnitte 7.2 und 7.3 |
| 6.2.2.2.12 | EN 50388:2005 | Abschnitt 14.3 | |
| Leistungsfaktor | 4.2.8.2.6 | ||
| 6.2.2.2.13 | EN 50388:2005 | Abschnitt 14.2 | |
| Störungen des Energiesystems bei Wechselstromsystemen | 4.2.8.2.7 | EN 50388:2005 | Abschnitte 10.1, 10.3, 10.4, Anhang D |
| Arbeitsbereich des Stromabnehmers bezogen auf die Höhe | 4.2.8.2.9.1 | EN 50206-1:2010 | Abschnitte 4.2 und 6.2.3 |
| Geometrie der Stromabnehmer- wippe | 4.2.8.2.9.2 | EN 50367:2006 | Abschnitt 5.2, Anhang A2, Abb. A.7; Anhang B.2, Abb. B.3 |
| Strombelastbarkeit des Stromabnehmers | 4.2.8.2.9.3 | EN 50206-1:2010 | Abschnitt 6.13.2 |
| 6.1.2.2.6 | EN 50206-1:2010 | Abschnitt 6.13.1 | |
| Schleifstück-Werkstoff | 4.2.8.2.9.4 | ||
| 6.1.2.2.7 | EN 50405:2006 | Abschnitte 5.2.2, 5.2.3, 5.2.4, 5.2.6 und 5.2.7 | |
| Statische Kontaktkraft der Stromabnehmer | 4.2.8.2.9.5 | ||
| 6.1.2.2.6 | EN 50206-1:2010 | Abschnitt 6.3.1 | |
| Dynamisches Verhalten der Stromabnehmer | 6.1.2.2.6 | EN 50318:2002 | Alle |
| EN 50317:2002 | Alle | ||
| Absenken der Stromabnehmer | 4.2.8.2.9.10 | EN 50206-1:2010 | Abschnitte 4.7 und 4.8 |
| EN 50119:2009 | Tabelle 2 | ||
| Elektrischer Schutz des Zuges | 4.2.8.2.10 | EN 50388:2005 | Abschnitt 11 |
| Schutz gegen elektrische Gefahren | 4.2.8.4 | EN 50153:2002 | Alle |
| Führerstand und Betrieb | 4.2.9 | ||
| Führerstand | 4.2.9.1 Anhang E Anhang F |
UIC 651:Juli 2002 | Anhang E, Anhang F Anhang D, Abschnitte 3.2.1, 3.2.2, 3.3 |
| Windschutzscheibe | 4.2.9.2 | EN 15152:2007 | Abschnitte 4.2.2, 4.2.3, 4.2.4, 4.2.5, 4.2.6, 4.2.7 und 4.2.9 |
| 6.2.2.2.16 | EN 15152:2007 | Abschnitte 6.2.1 bis 6.2.7 | |
| Brandschutz und Evakuierung | 4.2.10 | ||
| Werkstoffanforderungen | 4.2.10.2 | TS 45545-2:2009 | Als Alternative zu den Normen in der TSI RST HS |
| TS 45545-1:2009 | Als Alternative zu den Normen in der TSI RST HS | ||
| Brandschutzwände | 4.2.10.5 | EN 1363-1:1999 | Oder gleichwertige Sicherheitsstufe |
| 6.2.2.2.17 | |||
| Betankungsanlagen | 4.2.11.7 | UIC 627-2:Jul 1980 | Abschnitt 1 |
______
1) -
2) -
3) -
4) -
5) -
6) -
7) ABl. L 84 vom 26.03.2008 S. 132.
8) ABl. L 64 vom 07.03.2008 S. 72.
9) ABl. L 64 vom 07.03.2008 S. 1.
10) ABl. L 37 vom 08.02.2006 S. 1.
11) ABl. L 344 vom 08.12.2006, S. 1.
12) ABl. L 45 vom 14.02.2009 S. 1.
13) ABl. L 359 vom 18.12.2006 S. 1.
14) ABl. L 108 vom 29.04.2009 S. 4.
15) Abl. L 228 vom 09.09.1996 S. 1.
16) Abschnitte 2 und 3 in Anhang a Anlage 1 der Entscheidung 2006/679/EG sind in der Änderungsentscheidung 2006/860/EG mit den Ziffern 5 und 6 nummeriert.
17) ABl. L 330 vom 05.12.1998, S. 32.
18) ABl. L 64 vom 04.03.2006 S. 37.
19) ABl. L 64 vom 04.03.2006 S. 52.
20) ABl. L 315 vom 03.12.2007, S. 51.
21) ABl. L 167 vom 30.04.2004 S. 1.
![]() |
ENDE | ![]() |
(Stand: 09.08.2019)
Alle vollständigen Texte in der aktuellen Fassung im Jahresabonnement
Nutzungsgebühr: ab 105.- € netto
(derzeit ca. 7200 Titel s.Übersicht - keine Unterteilung in Fachbereiche)
Die Zugangskennung wird kurzfristig übermittelt
? Fragen ?
Abonnentenzugang/Volltextversion