Für einen individuellen Ausdruck passen Sie bitte dieEinstellungen in der Druckvorschau Ihres Browsers an. Regelwerk, EU 2011, Gefahrgut/Transport - EU Bund |
![]() |
Beschluss 2011/291/EU der Kommission vom 26. April 2011 über eine technische Spezifikation für die Interoperabilität des Fahrzeug-Teilsystems "Lokomotiven und Personenwagen" des konventionellen transeuropäischen Eisenbahnsystems
(Bekannt gegeben unter Aktenzeichen K(2011) 2737)
(Text von Bedeutung für den EWR)
(ABl. Nr. L. 139 vom 26.05.2011 S. 1;
Beschl. 2012/88/EU - ABl. Nr. L 51 vom 23.02.2012 S. 51 Anwenden ;
Beschl. 2012/464/EU - ABl. Nr. L 217 vom 14.08.2012 S. 20 Gültig ab;
VO (EU) 1302/2014 - ABl. Nr. L 356 vom 12.12.2014 S. 228aufgehoben)
aufgehoben/ersetzt gemäß Art. 11 der VO (EU) 1302/2014 - Inkrafttreten/ Gültig Ausnahmen
Hinweis der Red.: Liste der TSI
Die Europäische Kommission -
gestützt auf den Vertrag über die Arbeitsweise der Europäischen Union,
gestützt auf die Richtlinie 2008/57/EG des Europäischen Parlaments und des Rates vom 17. Juni 2008 über die Interoperabilität des Eisenbahnsystems in der Gemeinschaft 1, insbesondere auf Artikel 6 Absatz 1,
in Erwägung nachstehender Gründe:
(1) Nach Artikel 2 Buchstabe e und Anhang II der Richtlinie 2008/57/EG wird das Eisenbahnsystem in strukturelle und funktionelle Teilsysteme unterteilt, zu denen auch das Teilsystem "Fahrzeuge" gehört.
(2) Mit Beschluss C(2006) 124 endg. vom 9. Februar 2007 beauftragte die Kommission die Europäische Eisenbahnagentur (nachfolgend "Agentur") mit der Ausarbeitung technischer Spezifikationen für die Interoperabilität (TSI) gemäß der Richtlinie 2001/16/EG des Europäischen Parlaments und des Rates vom 19. März 2001 über die Interoperabilität des konventionellen transeuropäischen Eisenbahnsystems 2. Im Rahmen dieses Auftrags sollte die Agentur TSI-Entwürfe für Reisezugwagen, Lokomotiven und Triebfahrzeuge des Teilsystems "Fahrzeuge" des konventionellen Eisenbahnsystems erarbeiten.
(3) Technische Spezifikationen für die Interoperabilität (TSI) sind gemäß der Richtlinie 2008/57/EG angenommene Spezifikationen. Die mit diesem Beschluss festzulegende TSI gilt für das Teilsystem "Fahrzeuge" und dient der Erfüllung der grundlegenden Anforderungen sowie der Gewährleistung der Interoperabilität des Eisenbahnsystems.
(4) In der mit diesem Beschluss festzulegenden TSI für Fahrzeuge werden nicht alle grundlegenden Anforderungen behandelt. Nach Artikel 5 Absatz 6 der Richtlinie 2008/57/EG sind nicht behandelte technische Aspekte eindeutig als "offene Punkte" zu benennen.
(5) Die TSI für Fahrzeuge sollte auf den Beschluss der Kommission 2010/713/EU vom 9. November 2010 über Module für die Verfahren der Konformitäts- und Gebrauchstauglichkeitsbewertung sowie der EG-Prüfung, die in den gemäß Richtlinie 2008/57/EG des Europäischen Parlaments und des Rates angenommenen technischen Spezifikationen für die Interoperabilität zu verwenden sind 3, verweisen.
(6) Nach Artikel 17 Absatz 3 der Richtlinie 2008/57/EG müssen die Mitgliedstaaten der Kommission und den anderen Mitgliedstaaten die für die Sonderfälle anzuwendenden technischen Vorschriften sowie die Konformitätsbewertungs- und Prüfverfahren notifizieren und die für die Durchführung dieser Verfahren verantwortlichen Stellen nennen.
(7) Der Geltungsbereich der Entscheidung 2008/163/EG der Kommission vom 20. Dezember 2007 über die technische Spezifikation für die Interoperabilität bezüglich Sicherheit in Eisenbahntunneln im konventionellen transeuropäischen Eisenbahnsystem und im transeuropäischen Hochgeschwindigkeitsbahnsystem 4 beinhaltet einige Anforderungen in Bezug auf Fahrzeuge, die im konventionellen Eisenbahnsystem eingesetzt werden. Die Entscheidung 2008/163/EG sollte deshalb geändert werden.
(8) Die TSI für Fahrzeuge sollte die Bestimmungen anderer einschlägiger TSI, die gegebenenfalls für Fahrzeug-Teilsysteme gelten, unberührt lassen.
(9) Die TSI für Fahrzeuge sollte keine bestimmten Technologien oder technischen Lösungen vorschreiben, sofern dies für die Interoperabilität des Bahnsystems in der Europäischen Union nicht unbedingt erforderlich ist.
(10) Die TSI für Fahrzeuge sollte gemäß Artikel 11 Absatz 5 der Richtlinie 2008/57/EG für eine begrenzte Zeit die Möglichkeit zulassen, Interoperabilitätskomponenten unter bestimmten Voraussetzungen ohne Zertifizierung in Teilsysteme einzubauen.
(11) Um weiterhin Innovation fördern und gewonnenen Erfahrungen Rechnung tragen zu können, sollte dieser Beschluss regelmäßig überarbeitet werden.
(12) Die Bestimmungen dieses Beschlusses stehen mit der Stellungnahme des gemäß Artikel 21 der Richtlinie 96/48/EG des Rates 5 eingesetzten Ausschusses im Einklang
- hat folgenden Beschluss erlassen:
Die im Anhang aufgeführte technische Spezifikation für die Interoperabilität (TSI) des Fahrzeug-Teilsystems "Lokomotiven und Fahrzeuge im Personenverkehr" des konventionellen transeuropäischen Eisenbahnsystems wird hiermit erlassen.
(1) Die TSI im Anhang gilt für alle neuen Fahrzeuge des konventionellen transeuropäischen Eisenbahnsystems im Sinne von Anhang I der Richtlinie 2008/57/EG. Der technische und geografische Geltungsbereich dieses Beschlusses ist den Abschnitten 1.1 und 1.2 im Anhang zu entnehmen.
Die TSI im Anhang gilt auch für bereits vorhandene Fahrzeuge, sofern sie im Sinne von Artikel 20 der Richtlinie 2008/57/EG erneuert oder umgerüstet werden.
(2) Bis zum 1. Juni 2017 ist die Anwendung dieser TSI für folgende Fahrzeuge nicht zwingend vorgeschrieben:
(1) Hinsichtlich der in der TSI im Anhang als "offene Punkte" eingestuften Aspekte gelten die einschlägigen technischen Vorschriften des Mitgliedstaats, der die Inbetriebnahme der hier behandelten Teilsysteme genehmigt, als die Bedingungen, die bei der Interoperabilitätsprüfung gemäß Artikel 17 Absatz 2 der Richtlinie 2008/57/EG erfüllt werden müssen.
(2) Jeder Mitgliedstaat notifiziert den anderen Mitgliedstaaten und der Kommission innerhalb von sechs Monaten nach Notifizierung dieser Entscheidung:
(3) Hinsichtlich der nationalen Vorschriften für die in Abschnitt 4.2.3.5.2.2 für den nationalen Einsatz eingestufte Fahrzeuge gilt auch Absatz 2 dieses Artikels.
(1) Hinsichtlich der in Abschnitt 7 der TSI als "Sonderfälle" eingestuften Aspekte gelten die einschlägigen technischen Vorschriften des Mitgliedstaats, der die Inbetriebnahme der hier behandelten Teilsysteme genehmigt, als die Bedingungen, die bei der Interoperabilitätsprüfung gemäß Artikel 17 Absatz 2 der Richtlinie 2008/57/EG erfüllt werden müssen.
(2) Jeder Mitgliedstaat notifiziert den anderen Mitgliedstaaten und der Kommission innerhalb von sechs Monaten nach Notifizierung dieser Entscheidung:
Die in Abschnitt 6 der TSI im Anhang beschriebenen Verfahren zur Konformitätsbewertung, Gebrauchstauglichkeitsbewertung und EG-Prüfung basieren auf den im Beschluss der Kommission 2010/713/EU.
(1) Während eines sechsjährigen Übergangszeitraums ab dem Zeitpunkt der Anwendung dieses Beschlusses kann eine EG- Prüfbescheinigung für ein Teilsystem mit Interoperabilitätskomponenten ohne EG-Konformitätserklärung bzw. EG-Gebrauchstauglichkeitserklärung ausgestellt werden, sofern die in Abschnitt 6.3 des Anhangs genannten Voraussetzungen erfüllt sind.
(2) Die Herstellung bzw. die Umrüstung/Erneuerung, einschließlich der Inbetriebnahme, des Teilsystems, in dem die Interoperabilitätskomponenten ohne Prüfbescheinigung verwendet werden, muss innerhalb des Übergangszeitraums abgeschlossen sein.
(3) Während des Übergangszeitraums stellen die Mitgliedstaaten sicher, dass
(4) Nach Ablauf des Übergangszeitraums und unter Berücksichtigung der in Abschnitt 6.3.3 des Anhangs über die Instandhaltung zugelassenen Ausnahmen muss für Interoperabilitätskomponenten die erforderliche EG-Konformitätserklärung und/ oder EG-Gebrauchstauglichkeitserklärung vorliegen, bevor sie in das Teilsystem eingebaut werden.
Bezüglich der Fahrzeuge, die Gegenstand von Projekten in fortgeschrittenem Entwicklungsstadium sind, übermittelt jeder Mitgliedstaat der Kommission innerhalb eines Jahres nach Inkrafttreten dieses Beschlusses eine Aufstellung der Projekte, die in seinem Hoheitsgebiet durchgeführt werden und deren Entwicklung fortgeschritten ist.
Artikel 8 Änderungen der Entscheidung 2008/163 /EG
Die Entscheidung 2008/163/EG wird wie folgt geändert:
1. Folgender Wortlaut wird nach dem zweiten Absatz von Abschnitt 4.2.5.1, Werkstoffeigenschaften für Fahrzeuge, eingefügt:
"Außerdem gelten auch die Anforderungen von Abschnitt 4.2.10.2 (Werkstoffanforderungen) der TSI LOC&PAS CR Artikel 6 für Fahrzeuge des konventionellen Eisenbahnsystems. "
2. Abschnitt 4.2.5.4. erhält folgende Fassung:
"4.2.5.4. Brandschutzwände für Fahrzeuge im Personenverkehr
3. Abschnitt 4.2.5.7. erhält folgende Fassung:
"4.2.5.7. Kommunikationsmittel in Zügen
4. Abschnitt 4.2.5.8. erhält folgende Fassung:
"4.2.5.8. Notbremsüberbrückung
5. Abschnitt 4.2.5.11.1. erhält folgende Fassung
"4.2.5.11.1. Notausstiege in Reisezugwagen
Dieser Beschluss gilt ab dem 1. Juni 2011.
Dieser Beschluss ist an die Mitgliedstaaten gerichtet.
2) ABl. Nr. L 110 vom 20.04.2001 S. 1.
3) ABl. Nr. L 319 vom 04.12.2010 S. 1.
4) ABl. Nr. L 64 vom 07.03.2008 S. 1.
5) ABl. Nr. L 235 vom 17.09.1996 S. 6.
6) ABl. Nr. L 164 vom 30.04.2004 S. 44.
| Technische Spezifikation für die Interoperabilität Teilsystem "Fahrzeuge" des konventionellen Eisenbahnsystems "Lokomotiven und Fahrzeuge im Personenverkehr" |
Anhang (Richtlinie 2008/57/EG über die Interoperabilität des Eisenbahnsystems in der Gemeinschaft) |
1 Einleitung
1.1 Technischer Anwendungsbereich
Diese Technische Spezifikation für die Interoperabilität (TSI) gilt für ein bestimmtes Teilsystem und soll sicherstellen, dass die grundlegenden Anforderungen erfüllt werden und die Interoperabilität des konventionellen transeuropäischen Eisenbahnsystems gemäß der Richtlinie 2008/57/EG gewährleistet wird.
Es handelt sich dabei um das Teilsystem "Fahrzeuge" des konventionellen transeuropäischen Eisenbahnsystems, auf das in Anhang I Abschnitt 1 der Richtlinie 2008/57/EG verwiesen wird.
Diese TSI umfasst das Teilsystem "Fahrzeuge" gemäß der Definition in Anhang II Abschnitt 2.6 der Richtlinie 2008/57/EG und die damit verbundenen Teile des Teilsystems "Energie" ("einschließlich bordseitiger Teile der Stromverbrauchsmesseinrichtungen" gemäß Definition in Anhang II Abschnitt 2.2 der Richtlinie 2008/57/EG), das dem fahrzeugseitigen Teil des strukturellen Teilsystems "Energie" entspricht.
Diese TSI gilt für Fahrzeuge,
Weitere Informationen zu den unter diese TSI fallenden Fahrzeugen sind Abschnitt 2 dieses Anhangs zu entnehmen.
1.2 Geografischer Anwendungsbereich
1.3 Inhalt dieser TSI
Gemäß Artikel 5 Absatz 3 der Richtlinie 2008/57/EG enthält diese TSI:
Gemäß Artikel 5 Absatz 5 der Richtlinie 2008/57/EG können für jede TSI Festlegungen für Sonderfälle getroffen werden. Diese sind in Abschnitt 7 aufgeführt.
Geltende Rechtsvorschriften:
Zur Annahme vorliegende Rechtsvorschriften:
In Arbeit befindliche Rechtsvorschriften:
2 Teilsystem "Fahrzeuge" und Funktionen
2.1 Das Teilsystem "Fahrzeuge" als Teil des konventionellen Eisenbahnsystems
Das transeuropäische Eisenbahnsystem umfasst ein Hochgeschwindigkeitsbahnsystem und ein konventionelles Bahnsystem.
Gemäß Richtlinie 2008/57/EG betrifft das Teilsystem "Fahrzeuge" des transeuropäischen Hochgeschwindigkeitsbahnsystems Züge, die für den Fahrbetrieb im transeuropäischen Hochgeschwindigkeitsbahnsystem (TEN HS) ausgelegt sind, das aus eigens für den Hochgeschwindigkeitsverkehr gebauten oder ausgebauten Strecken besteht (d. h. Geschwindigkeiten ab 200 km/h), welche in Anhang I der Entscheidung Nr. 1692/96/EG des Europäischen Parlaments und des Rates 15 angegeben sind.
Anmerkung: Die TSI RST HS Abschnitt 1.1 legt in ihrem technischen Anwendungsbereich eine Geschwindigkeitsschwelle von 190 km/h fest.
Gemäß Richtlinie 2008/57/EG umfasst das Teilsystem "Fahrzeuge" des konventionellen transeuropäischen Eisenbahnsystems alle Züge, die für den Verkehr auf der Gesamtheit oder einem Teil des konventionellen transeuropäischen Eisenbahnsystems (TEN) geeignet sind. Die maximale Betriebsgeschwindigkeit dieser Züge wird nicht angegeben.
In Anhang II Abschnitt 1 der Richtlinie 2008/57/EG wird das konventionelle Eisenbahnsystem in die folgenden Teilsysteme untergliedert:
Strukturelle Bereiche:
Funktionelle Bereiche:
Mit Ausnahme des Teilsystems "Instandhaltung" besteht für jedes Teilsystem mindestens eine eigene TSI.
Das Teilsystem "Fahrzeuge", für das diese TSI (gemäß Definition in Abschnitt 1.1) gilt, verfügt über Schnittstellen mit allen anderen oben genannten Teilsystemen des konventionellen Eisenbahnsystems. Diese Schnittstellen werden im Rahmen eines integrierten Systems betrachtet, das konform ist mit allen relevanten TSI.
Zusätzlich zu der Entwicklung der zweiten TSI-Gruppe bestehen:
und:
Die in diesen vier TSI festgelegten Anforderungen, die das Teilsystem "Fahrzeuge" betreffen, werden in dieser TSI nicht erneut beschrieben.
2.2 Begriffsbestimmungen im Zusammenhang mit Fahrzeugen
Im Sinne dieser TSI gelten folgende Begriffsbestimmungen:
Zugverband:
Eine Einheit kann sich aus verschiedenen "Einzelfahrzeugen" gemäß Artikel 2 Buchstabe c der Richtlinie 2008/57/EG zusammensetzen. Im Hinblick auf den Anwendungsbereich dieser TSI ist die Verwendung des Begriffs "Einzelfahrzeug" in dieser TSI auf das Teilsystem "Fahrzeuge" begrenzt.
Fahrzeuge:
A. Verbrennungs-Triebzüge und/oder elektrische Triebzüge:
Ein " Triebzug" ist ein nicht trennbarer Zugverband, der als Zug betrieben werden kann. Per Definition ist vorgesehen, dass die Konfiguration dieser Einheit nur in einer Werkstatt geändert werden kann. Der Triebzug setzt sich aus angetriebenen Einzelfahrzeugen oder aus angetriebenen und nicht angetriebenen Fahrzeugen zusammen.
Ein " Elektrotriebzug und/oder Verbrennungstriebzug" ist ein Triebzug, bei dem alle Einzelfahrzeuge Fahrgäste oder Gepäck/Post befördern können.
Ein " Triebwagen" ist ein Einzelfahrzeug, das unabhängig betrieben werden kann und Fahrgäste oder Gepäck/Post befördern kann.
B. Verbrennungs-Triebfahrzeuge oder elektrische Triebfahrzeuge:
Eine " Lokomotive" ist ein Triebfahrzeug (oder eine Kombination aus mehreren Einzelfahrzeugen), das nicht für die Aufnahme einer Nutzlast ausgelegt ist und im normalen Betrieb von einem Zug abgekuppelt und unabhängig betrieben werden kann.
Eine " Rangierlok" ist ein Triebfahrzeug, das für den ausschließlichen Einsatz in Rangierbereichen, auf Bahnhöfen und in Depots ausgelegt ist.
Antriebsleistung kann auch durch ein angetriebenes Fahrzeug mit oder ohne Führerstand zur Verfügung gestellt werden, dessen Entkupplung im normalen Betrieb nicht vorgesehen ist. Solch ein Fahrzeug wird allgemein als " Boostereinheit" oder im Speziellen als " Triebkopf" bezeichnet, wenn es sich an einem Ende des Triebzuges befindet und mit einem Führerstand ausgestattet ist.
C. Reisezugwagen und andere artverwandte Wagen:
Ein " Personenwagen" ist ein Einzelfahrzeug ohne Antrieb in einer festen oder variablen Zusammenstellung, das Fahrgäste befördern kann (in erweiterter Form gelten die in dieser TSI für Reisezugwagen anwendbaren Anforderungen auch für Speisewagen, Schlafwagen, Liegewagen usw.).
Ein Reisezugwagen kann mit einem Führerstand ausgestattet sein. In diesem Fall wird der Reisezugwagen als " Steuerwagen" bezeichnet.
Ein " Packwagen" ist ein Einzelfahrzeug ohne Antrieb, das eine andere Nutzlast als Fahrgäste aufnehmen kann, z.B. Gepäck oder Post, und in eine fest gekuppelte oder variable Zusammenstellung eingestellt ist, die für die Fahrgastbeförderung ausgelegt ist. Ein Packwagen kann mit einem Führerstand ausgestattet sein. In diesem Fall wird der Packwagen als " Steuerpackwagen" bezeichnet.
Ein " Steuerbeiwagen" ist ein Einzelfahrzeug ohne Antrieb, das mit einem Führerstand ausgestattet ist.
Ein " Autotransportwagen" ist ein Einzelfahrzeug ohne Antrieb, das Straßenkraftfahrzeuge ohne deren Insassen transportieren kann und für die Einstellung in einen Reisezug ausgelegt ist.
Ein " Wagenzug" ist ein Zugverband ohne Antrieb aus mehreren Reisezugwagen, die semipermanent aneinander gekuppelt sind, oder deren Konfiguration nur geändert werden kann, wenn sie nicht in Betrieb sind.
D. Mobile Ausrüstungen für Bau und Instandhaltung von Eisenbahninfrastrukturen (oder Bau- und Instandhaltungsfahrzeuge)
" Bau- und Instandhaltungsfahrzeuge" sind Fahrzeuge, die eigens für den Bau und die Instandhaltung der Strecke und der Infrastruktur ausgelegt sind. Bau- und Instandhaltungsfahrzeuge werden in bestimmten Modi eingesetzt: Arbeitsmodus, Beförderungsmodus als Fahrzeug mit eigenem Antrieb und Beförderungsmodus als befördertes Fahrzeug.
" Infrastruktur-Prüffahrzeuge", die zur Überwachung des Zustands der Infrastruktur eingesetzt werden, gelten als Bau- und Instandhaltungsfahrzeuge im Sinne der oben genannten Definition.
2.3 Fahrzeuge im Anwendungsbereich dieser TSI
Der Anwendungsbereich dieser TSI für die gemäß Abschnitt 1.1 klassifizierten Fahrzeuge wird nachfolgend im Einzelnen beschrieben:
A. Verbrennungs-Triebzüge und/oder elektrische Triebzüge:
Hierzu gehören Personenzüge in nicht trennbaren oder vordefinierten Zugverbänden.
Einige Einzelfahrzeuge des Zuges verfügen über Ausrüstung für Verbrennungsantrieb oder elektrischen Antrieb. Außerdem besitzt der Zug einen Führerstand.
Ausnahmen vom Anwendungsbereich:
Fahrzeuge, die in erster Linie für den städtischen Straßenbahnverkehr oder Nahverkehrsnetze für den Transport von Personen in Stadt- oder Vorortgebieten bezweckt ausgelegt sind, fallen nicht in den Anwendungsbereich dieser TSI in der aktuellen Version.
Triebwagen oder Elektrotrieb- und/oder Verbrennungstriebzüge, die ausschließlich für den Betrieb in Nahverkehrsnetzen (in Vorortgebieten oder im Regionalverkehr) ausgelegt sind, die nicht Teil der TEN-Strecken sind, fallen nicht in den Anwendungsbereich dieser TSI in ihrer derzeitigen Version.
Sollen diese Fahrzeuge aufgrund der Konfiguration des Eisenbahnnetzes vor Ort über sehr kurze Distanzen auf TEN-Strecken zum Einsatz kommen, dann finden die Artikel 24 und 25 der Richtlinie 2008/57/EG (betreffend nationale Vorschriften der Mitgliedstaaten) Anwendung.
B. Verbrennungs-Triebfahrzeuge oder elektrische Triebfahrzeuge:
Diese Art umfasst Triebfahrzeuge, die keine Nutzlast aufnehmen können, z.B. Verbrennungs- oder Elektrolokomotiven oder Triebköpfe.
Diese Triebfahrzeuge sind für den Gütertransport und/oder die Fahrgastbeförderung ausgelegt. Ausnahmen vom Anwendungsbereich:
Rangierloks, die per Definition nicht für den Betrieb auf den Hauptstrecken des transeuropäischen Eisenbahnnetzes ausgelegt sind, fallen nicht in den Anwendungsbereich dieser TSI in ihrer derzeitigen Version.
Bei der Ausführung von Rangierbewegungen (über kurze Strecken) auf den Hauptstrecken des TEN finden die Artikel 24 und 25 der Richtlinie 2008/57/EG (die sich auf nationale Vorschriften beziehen) Anwendung.
C. Reisezugwagen und andere artverwandte Wagen:
Hierzu gehören Einzelfahrzeuge ohne Antrieb, die Fahrgäste befördern und in einer variablen Zusammenstellung mit Fahrzeugen der Kategorie "Verbrennungs-Triebfahrzeuge oder elektrische Triebfahrzeuge", die Antriebsleistung beisteuern, betrieben werden.
Ausnahmen vom Anwendungsbereich:
D. Mobile Ausrüstungen für Bau und Instandhaltung von Eisenbahninfrastrukturen
Diese Art von Fahrzeugen fällt nur unter diese TSI, wenn
Die Arbeitskonfiguration fällt nicht in den Anwendungsbereich dieser TSI.
3 Grundlegende Anforderungen
3.1 Allgemeines
Laut Artikel 4, Absatz 1 der Richtlinie 2008/57/EG sollen das konventionelle transeuropäische Eisenbahnsystem, seine Teilsysteme und seine Interoperabilitätskomponenten die grundlegenden Anforderungen erfüllen, die in allgemeiner Form in Anhang III der Richtlinie 2008/57/EG beschrieben sind.
Im Rahmen dieser TSI gewährleistet die Einhaltung der Spezifikationen für Teilsysteme (Abschnitt 4) bzw. Interoperabilitätskomponenten (Abschnitt 5) die Erfüllung der einschlägigen grundlegenden Anforderungen in Abschnitt 3.2 Nachzuweisen ist dies durch ein positives Ergebnis der Konformitäts- und/oder Gebrauchstauglichkeitsbewertung gemäß Abschnitt 6.1 (Interoperabilitätskomponenten) bzw. der entsprechenden Prüfung des Teilsystems gemäß Abschnitt 6.2.
Sind jedoch Teile der grundlegenden Anforderungen Gegenstand nationaler Vorschriften, weil sie in dieser TSI aufgeführte offene Punkte oder Sonderfälle gemäß Abschnitt 7.3 betreffen, so müssen diese nationalen Vorschriften die Konformitätsbewertung beinhalten, die unter der Verantwortung des jeweiligen Mitgliedstaats durchzuführen ist.
3.2 Den grundlegenden Anforderungen entsprechende Elemente des Teilsystems "Fahrzeuge"
Die folgende Tabelle enthält die grundlegenden Anforderungen an das Teilsystem "Fahrzeuge", die durch die Spezifikationen in Abschnitt 4 dieser TSI erfüllt werden, unter Angabe der zugehörigen Nummer gemäß Anhang III der Richtlinie 2008/57/EG .
Den grundlegenden Anforderungen entsprechende Elemente des Teilsystems "Fahrzeuge"
| Element des Teilsystems "Fahrzeuge" | Ref. Abschnitt | Sicherheit | Zuverlässigkeit - Betriebsbereitschaft |
Gesundheit | Umweltschutz | Technische Kompatibilität |
| Innere Kupplung | 4.2.2.2.2 | 1.1.3 | ||||
| Endkupplung | 4.2.2.2.3 | 1.1.3 | ||||
| Schleppkupplung | 4.2.2.2.4 | 2.4.2 | 2.5.3 | |||
| Zugang des Zugpersonals bei Kupplungs- und Entkupplungsvorgängen | 4.2.2.2.5 | 1.1.5 | 2.5.1 | 2.5.3 | ||
| Übergänge | 4.2.2.3 | 1.1.5 | ||||
| Festigkeit der Fahrzeugstruktur | 4.2.2.4 | 1.1.3 | ||||
| Passive Sicherheit | 4.2.2.5 | 2.4.1 | ||||
| Anheben und Abstützen | 4.2.2.6 | 2.5.3 | ||||
| Befestigung von Ausrüstung an der Wagenkastenstruktur | 4.2.2.7 | 1.1.3 | ||||
| Zugangstüren für Personal und zu Güterbereichen | 4.2.2.8 | 1.1.5 | ||||
| Mechanische Merkmale von Glas | 4.2.2.9 | 2.4.1 | ||||
| Lastbedingungen und gewichtete Masse | 4.2.2.10 | 1.1.3 | ||||
| Fahrzeugbegrenzungslinie - kinematische Begrenzungslinie | 4.2.3.1 | 2.4.3 | ||||
| Radsatzlast | 4.2.3.2.1 | 2.4.3 | ||||
| Radlast | 4.2.3.2.2 | 1.1.3 | ||||
| Fahrzeugparameter, die das Teilsystem "Zugsteuerung, Zugsicherung und Signalgebung" beeinflussen | 4.2.3.3.1 | 1.1.1 | 2.4.3 | |||
| Überwachung des Zustands der Radsatzlager | 4.2.3.3.2 | 1.1.1 | 1.2 | |||
| Sicherheit gegen Entgleisen bei Fahrbetrieb auf Strecken mit Gleisverwindung | 4.2.3.4.1 | 1.1.1 | 2.4.3 | |||
| Dynamisches Laufverhalten | 4.2.3.4.2 | 1.1.1 | 2.4.3 | |||
| Grenzwerte für Laufsicherheit | 4.2.3.4.2.1 | 1.1.1 | 2.4.3 | |||
| Grenzwerte für die Gleisbeanspruchung | 4.2.3.4.2.2 | 2.4.3 | ||||
| Äquivalente Konizität | 4.2.3.4.3 | 1.1.1 | 2.4.3 | |||
| Auslegungswerte für neue Radprofile | 4.2.3.4.3.1 | 1.1.1 | 2.4.3 | |||
| Werte für die äquivalente Konizität von Radsätzen im Betrieb | 4.2.3.4.3.2 | 1.1.2 | 1.2 | 2.4.3 | ||
| Strukturelle Konstruktion des Drehgestellrahmens | 4.2.3.5.1 | 1.1.1 | ||||
| Mechanische und geometrische Merkmale von Radsätzen | 4.2.3.5.2.1 | 1.1.1 | 2.4.3 | |||
| Mechanische und geometrische Merkmale von Rädern | 4.2.3.5.2.2 | 1.1.1 | ||||
| Variable Spurwechselradsätze | 4.2.3.5.2.3 | 1.1.1 | ||||
| Minimaler Bogenhalbmesser | 4.2.3.6 | 1.1.1 | 2.4.3 | |||
| Bahnräumer | 4.2.3.7 | 1.1.1 | ||||
| Bremsen - Funktionelle Anforderungen | 4.2.4.2.1 | 1.1.1 | 2.4.2 | 1.5 | ||
| Bremsen - Sicherheitsanforderungen | 4.2.4.2.2 | 1.1.1 | 1.2 | |||
| Art des Bremssystems | 4.2.4.3 | 2.4.3 | ||||
| Notbremsbefehl | 4.2.4.4.1 | 2.4.1 | 2.4.3 | |||
| Betriebsbremsbefehl | 4.2.4.4.2 | 2.4.3 | ||||
| Direktbremsbefehl | 4.2.4.4.3 | 2.4.3 | ||||
| Dynamischer Bremsbefehl | 4.2.4.4.4 | 1.1.3 | ||||
| Feststellbremsbefehl | 4.2.4.4.5 | 2.4.3 | ||||
| Bremsleistung - Allgemeine Anforderungen | 4.2.4.5.1 | 1.1.1 | 2.4.2 | 1.5 | ||
| Notbremsung | 4.2.4.5.2 | 2.4.1 | 2.4.3 | |||
| Betriebsbremsung | 4.2.4.5.3 | 2.4.3 | ||||
| Berechnungen in Verbindung mit der Wärmekapazität | 4.2.4.5.4 | 2.4.1 | 2.4.3 | |||
| Feststellbremse | 4.2.4.5.5 | 2.4.1 | 2.4.3 | |||
| Grenzwerte des Rad-Schiene-Kraftschlusses | 4.2.4.6.1 | 2.4.1 | 1.2 | |||
| Gleitschutzsystem | 4.2.4.6.2 | 2.4.1 | 1.2 | |||
| Dynamische Bremse - mit dem Antriebssystem verbundene Bremssysteme | 4.2.4.7 | 1.2 2.4.2 |
||||
| Kraftschlussunabhängiges Bremssystem - Allgemein | 4.2.4.8.1 | 1.2 | ||||
| Magnetschienenbremse | 4.2.4.8.2 | 2.4.3 | ||||
| Wirbelstrombremse | 4.2.4.8.3 | 2.4.3 | ||||
| Bremszustands- und Fehleranzeige | 4.2.4.9 | 1.1.1 | 1.2 | |||
| Anforderungen an die Bremsen zum Abschleppen von Zügen | 4.2.4.10 | 2.4.2 | ||||
| Sanitäre Systeme | 4.2.5.1 | 1.4.1 | ||||
| Lautsprecheranlage: akustische Kommunikationsanlage | 4.2.5.2 | 2.4.1 | ||||
| Fahrgastalarm: Funktionelle Anforderungen | 4.2.5.3 | 2.4.1 | ||||
| Sicherheitsanweisungen für Fahrgäste - Zeichen | 4.2.5.4 | 1.1.5 | ||||
| Kommunikationseinrichtungen für Fahrgäste | 4.2.5.5 | 2.4.1 | ||||
| Außentüren: Zugang von Fahrgästen für den Einstieg und Ausstieg | 4.2.5.6 | 2.4.1 | ||||
| Konstruktion von Außentürsystemen | 4.2.5.7 | 1.1.3 | ||||
| Zwischentüren | 4.2.5.8 | 1.1.5 | ||||
| Luftqualität im Innern | 4.2.5.9 | 1.3.2 | ||||
| Wagenseitenfenster | 4.2.5.10 | 1.1.5 | ||||
| Umgebungsbedingungen | 4.2.6.1 | 2.4.2 | ||||
| Auswirkungen der Wirbelzone auf Personen am Bahnsteig | 4.2.6.2.1 | 1.1.1 | 1.3.1 | |||
| Auswirkungen der Wirbelzone auf Gleisarbeiter | 4.2.6.2.2 | 1.1.1 | 1.3.1 | |||
| Druckimpuls an der Zugspitze | 4.2.6.2.3 | 2.4.3 | ||||
| Maximale Druckschwankungen in Tunneln | 4.2.6.2.4 | 2.4.3 | ||||
| Seitenwind | 4.2.6.2.5 | 1.1.1 | ||||
| Frontscheinwerfer | 4.2.7.1.1 | 2.4.3 | ||||
| Spitzenlichter | 4.2.7.1.2 | 1.1.1 | 2.4.3 | |||
| Schlusslichter | 4.2.7.1.3 | 1.1.1 | 2.4.3 | |||
| Steuerung der Leuchten | 4.2.7.1.4 | 2.4.3 | ||||
| Signalhorn - Allgemeines | 4.2.7.2.1 | 1.1.1 | 2.4.3 | |||
| Schalldruckpegel von Signalhörnern | 4.2.7.2.2 | 1.1.1 | 1.3.1 | |||
| Schutz | 4.2.7.2.3 | 2.4.3 | ||||
| Steuerung der Signalhörner | 4.2.7.2.4 | 1.1.1 | 2.4.3 | |||
| Antriebsleistung | 4.2.8.1 | 2.4.3 | ||||
| Energieversorgung | 4.2.8.2
4.2.8.2.1 bis 4.2.8.2.9 |
1.5 | ||||
| Elektrischer Schutz des Zuges | 4.2.8.2.10 | 2.4.1 | ||||
| Verbrennungs- und andere thermische Antriebssysteme | 4.2.8.3 | 2.4.1 | 1.4.1 | |||
| Schutz gegen elektrische Gefahren | 4.2.8.4 | 2.4.1 | ||||
| Führerstand - Allgemeines | 4.2.9.1.1 | - | - | - | - | - |
| Ein- und Ausstieg | 4.2.9.1.2 | 1.1.5 | 2.4.3 | |||
| Äußere Sichtverhältnisse | 4.2.9.1.3 | 1.1.1 | 2.4.3 | |||
| Innengestaltung | 4.2.9.1.4 | 1.1.5 | ||||
| Führersitz | 4.2.9.1.5 | 1.3.1 | ||||
| Fahrpult-Ergonomie | 4.2.9.1.6 | 1.1.5 | 1.3.1 | |||
| Klimasteuerung und Luftqualität | 4.2.9.1.7 | 1.3.1 | ||||
| Innenbeleuchtung | 4.2.9.1.8 | 2.6.3 | ||||
| Windschutzscheibe - Mechanische Merkmale | 4.2.9.2.1 | 2.4.1. | ||||
| Windschutzscheibe - Optische Merkmale | 4.2.9.2.2 | 2.4.3 | ||||
| Windschutzscheibe - Ausrüstung | 4.2.9.2.3 | 2.4.3 | ||||
| Kontrollfunktion über die Aktivität des Triebfahrzeugführers | 4.2.9.3.1 | 1.1.1. | 2.6.3 | |||
| Geschwindigkeitsanzeige | 4.2.9.3.2 | 1.1.5. | ||||
| Führerstandsanzeigegerät und Bildschirme | 4.2.9.3.3 | 1.1.5. | ||||
| Bedienelemente und Anzeigen | 4.2.9.3.4 | 1.1.5. | ||||
| Kennzeichnung | 4.2.9.3.5 | 2.6.3 | ||||
| Funkfernsteuerungsfunktion | 4.2.9.3.6 | 1.1.1. | ||||
| Fahrzeugseitige Werkzeuge und tragbare Ausrüstung | 4.2.9.4 | 2.4.1. | 2.4.3 | |||
| Aufbewahrungsmöglichkeit für persönliche Gegenstände des Personals | 4.2.9.5 | - | - | - | - | - |
| Fahrdatenschreiber | 4.2.9.6 | 2.4.4 | ||||
| Brandschutz - Werkstoffanforderungen | 4.2.10.2 | 1.1.4 | 1.3.2 | 1.4.2 | ||
| Spezielle Maßnahmen für entflammbare Flüssigkeiten | 4.2.10.3 | 1.1.4 | ||||
| Evakuierung | 4.2.10.4 | 2.4.1 | ||||
| Brandschutzwände | 4.2.10.5 | 1.1.4 | ||||
| Außenreinigung der Züge | 4.2.11.2 | 1.5 | ||||
| Anlagen für die Toilettenentsorgung | 4.2.11.3 | 1.5 | ||||
| Wasserbefüllungsanlagen | 4.2.11.4 | 1.3.1 | ||||
| Schnittstelle für Wasserbefüllung | 4.2.11.5 | 1.5 | ||||
| Besondere Anforderungen für das Abstellen der Züge | 4.2.11.6 | 1.5 | ||||
| Betankungsanlagen | 4.2.11.7 | 1.5 | ||||
| Allgemeine Dokumentation | 4.2.12.2 | 1.5 | ||||
| Instandhaltungsunterlagen | 4.2.12.3 | 1.1.1 | 2.5.1 | |||
| Betriebliche Unterlagen | 4.2.12.4 | 1.1.1 | 2.4.2 | |||
| Plan und Anweisungen für Anheben und Abstützen | 4.2.12.5 | 2.5.3 | ||||
| Bergungsspezifische Beschreibungen | 4.2.12.6 | 2.4.2 | 2.5.3 | |||
| Anmerkung: Es werden nur Punkte des Abschnitts 4.2. aufgelistet, die Anforderungen enthalten. | ||||||
3.3 Grundlegende Anforderungen, die nicht unter diese TSI fallen
Grundlegende Anforderungen, die als "Allgemeine Anforderungen" oder "Besondere Anforderungen an jedes Teilsystem" in Anhang III der Richtlinie 2008/57/EG aufgeführt werden, haben teilweise Auswirkungen auf das Teilsystem "Fahrzeuge". Diejenigen, die nicht oder nur mit Einschränkungen innerhalb des Anwendungsbereichs dieser TSI abgedeckt werden, sind nachstehend aufgeführt.
3.3.1 Allgemeine Anforderungen, Anforderungen in Zusammenhang mit Instandhaltung und Betrieb
Die Nummerierung der Absätze und die nachstehenden grundlegenden Anforderungen sind diejenigen, die in Anhang III der Richtlinie 2008/57/EG aufgeführt werden.
Die grundlegenden Anforderungen die im Anwendungsbereich dieser TSI nicht abgedeckt werden, sind:
1.4 Umweltschutz
1.4.1 "Die Umweltauswirkungen des Baus und Betriebs des Eisenbahnsystems sind bei der Planung dieses Systems entsprechend den geltenden Gemeinschaftsbestimmungen zu berücksichtigen."Diese grundlegende Anforderung wird durch die einschlägigen geltenden Gemeinschaftsbestimmungen abgedeckt.
1.4.3 "Fahrzeuge und Energieversorgungsanlagen sind so auszulegen und zu bauen, dass sie mit Anlagen, Einrichtungen und öffentlichen oder privaten Netzen, bei denen Interferenzen möglich sind, elektromagnetisch verträglich sind."
Diese grundlegende Anforderung wird durch die einschlägigen geltenden Gemeinschaftsbestimmungen abgedeckt.
1.4.4 "Beim Betrieb des Eisenbahnsystems müssen die vorgeschriebenen Lärmgrenzen eingehalten werden."
Diese grundlegende Anforderung wird durch die geltende TSI Lärm abgedeckt.
1.4.5 "Der Betrieb des Eisenbahnsystems darf in normalem Instandhaltungszustand für die in der Nähe des Fahrwegs gelegenen Einrichtungen und Bereiche keine unzulässigen Bodenschwingungen verursachen."
Diese grundlegende Anforderung wird durch TSI Infrastruktur des konventionellen transeuropäischen Eisenbahnsystems abgedeckt (offener Punkt in der derzeitigen Version).
2.5 InstandhaltungDiese grundlegenden Anforderungen sind innerhalb des Anwendungsbereichs dieser TSI gemäß Abschnitt 3.2 dieser TSI nur für die technische Dokumentation zur Instandhaltung in Zusammenhang mit dem Teilsystem "Fahrzeuge" relevant. Sie fallen nicht in den Anwendungsbereich dieser TSI betreffend Instandhaltungsanlagen.
2.6 Verkehrsbetrieb und Verkehrssteuerung
Diese grundlegenden Anforderungen sind innerhalb des Anwendungsbereichs dieser TSI gemäß Abschnitt 3.2 dieser TSI für die betrieblichen Unterlagen in Zusammenhang mit dem Teilsystem "Fahrzeuge" relevant (grundlegende Anforderungen 2.6.1 und 2.6.2) und für die technische Kompatibilität der Fahrzeuge mit den Betriebsvorschriften (grundlegende Anforderungen 2.6.3).
3.3.2 Anforderungen an andere Teilsysteme
Anforderungen an die relevanten anderen Teilsysteme sind notwendig, um diese grundlegenden Anforderungen für das gesamte Eisenbahnsystem abzudecken.
Die Anforderungen an das Teilsystem "Fahrzeuge", die zur Erfüllung dieser grundlegenden Anforderungen beitragen, werden in Abschnitt 3.2 dieser TSI aufgeführt und sind diejenigen, die in den Abschnitten 2.2.3 und 2.3.2 in Anhang III der Richtlinie 2008/57/EG beschrieben werden.
Andere grundlegende Anforderungen fallen nicht in den Anwendungsbereich dieser TSI.
4 Merkmale des Teilsystems "Fahrzeuge"
4.1 Einleitung
Das konventionelle transeuropäische Eisenbahnsystem, für das die Richtlinie 2008/75/EG gilt und zu dem das Teilsystem "Fahrzeuge" gehört, ist ein integriertes System, dessen Kohärenz nachzuweisen ist. Diese Kohärenz muss insbesondere bezüglich der Spezifikationen des Teilsystems "Fahrzeuge", seiner Schnittstellen zu anderen Teilsystemen des konventionellen Eisenbahnsystems, in das es integriert ist, sowie bezüglich der Betriebsvorschriften und Instandhaltungsregeln überprüft werden.
Die allgemeinen Merkmale des Teilsystems "Fahrzeuge" sind in Abschnitt 4 dieser TSI definiert.
Die in den Abschnitten 4.2 und 4.3 beschriebenen funktionellen und technischen Spezifikationen des Teilsystems und seiner Schnittstellen schreiben keine Verwendung bestimmter Technologien oder technischer Lösungen vor, sofern dies für die Interoperabilität des konventionellen transeuropäischen Eisenbahnsystems nicht absolut erforderlich ist.
Innovative Lösungen, die die in dieser TSI spezifizierten Anforderungen nicht erfüllen und/oder die nicht wie in dieser TSI festgelegt bewertbar sind, erfordern neue Spezifikationen und/oder neue Bewertungsmethoden. Um technologische Innovationen zu ermöglichen, müssen diese Spezifikationen und Bewertungsmethoden mit dem in Abschnitt 6 (unter "Innovative Lösungen") beschriebenen Verfahren entwickelt werden.
4.1.2 Beschreibung der unter diese TSI fallenden Fahrzeuge
Die unter diese TSI fallenden Fahrzeuge (im Rahmen dieser TSI als "Einheit" bezeichnet) sind in der EG- Prüfbescheinigung unter Verwendung eines der folgenden Merkmale zu beschreiben:
Anmerkung: Die Mehrfachtraktion der zu bewertenden Einheit mit anderen Arten von Fahrzeugen fällt nicht in den Anwendungsbereich dieser TSI.
Definitionen zu Zugverbänden und Einheiten sind Abschnitt 2.2 dieser TSI zu entnehmen.
Wenn eine Einheit bewertet wird, die für die Verwendung in nicht trennbaren oder in einem oder mehreren vordefinierten Zugverbänden ausgelegt ist, sind die Zusammenstellungen, für die die Bewertung gilt, von der Partei zu definieren, die die Bewertung veranlasst, und in der EG-Prüfbescheinigung anzugeben. Die Definition jeder Zusammenstellung umfasst die Baumusterbezeichnung jedes Fahrzeugs, die Anzahl der Fahrzeuge und deren Anordnung in der Zusammenstellung. Einzelheiten sind Abschnitt 6.2 zu entnehmen.
Für einige Merkmale oder einige Bewertungen einer Einheit, deren Nutzung im allgemeinen Fahrbetrieb beabsichtigt ist, sind definierte Grenzwerte hinsichtlich der Zugzusammenstellung erforderlich. Diese Werte sind den Abschnitten 4.2 und 6.2.6 zu entnehmen.
4.1.3 Grundlegende Kategorisierung der Fahrzeuge für die Anwendung der TSI-Anforderungen
In den folgenden Abschnitten dieser TSI wird ein Kategorisierungssystem für Fahrzeuge verwendet, das die für eine Einheit geltenden relevanten Anforderungen definiert.
Die relevante technische Kategorie bzw. die relevanten technischen Kategorien für die Einheit, die unter Berücksichtigung dieser TSI bewertet wird, werden von der Partei definiert, die die Bewertung veranlasst. Die für die Bewertung zuständige benannte Stelle verwendet diese Kategorisierung, um die anwendbaren Anforderungen dieser TSI zu bewerten. Die Kategorisierung ist in der EG-Prüfbescheinigung anzugeben.
Die technischen Kategorien von Fahrzeugen sind die folgenden:
Sofern nicht anders in den Bestimmungen von Abschnitt 4.2 angegeben, gelten die Spezifikationen dieser TSI für alle vorstehend definierten technischen Kategorien von Fahrzeugen.
Die Betriebskonfiguration der Einheit wird bei der Bewertung ebenfalls berücksichtigt. Hierbei wird unterschieden zwischen:
4.1.4 Kategorisierung der Fahrzeuge für den Brandschutz
Hinsichtlich der Anforderungen an den Brandschutz werden in Abschnitt 4.2.10 dieser TSI drei Kategorien von Fahrzeugen definiert und spezifiziert.
Im Einklang mit der TSI RST HS und der TSI SRT werden alle Fahrzeuge im Anwendungsbereich dieser TSI in (mindestens) eine der folgenden Kategorien eingeteilt:
4.2. Funktionelle und technische Spezifikationen des Teilsystems
4.2.1 Allgemeines
4.2.1.1 Gliederung
Ausgehend von den grundlegenden Anforderungen in Abschnitt 3 werden die funktionellen und technischen Spezifikationen des Teilsystems "Fahrzeuge" in diesem Abschnitt folgendermaßen gruppiert und geordnet:
Für bestimmte technische Aspekte verweisen die funktionelle und technische Spezifikation auf einen Abschnitt einer EN Norm oder auf andere technische Dokumente, wie gemäß Artikel 5 Absatz 8 der Richtlinie 2008/57/EG zulässig. Diese Verweise werden in Anhang J dieser TSI aufgeführt.
Informationen über den Betriebszustand des Zuges (normaler Zustand, Ausstattung außer Betrieb, Grenzsituation usw.), die dem Zugpersonal fahrzeugseitig zur Verfügung stehen müssen, werden im Abschnitt über die entsprechende Funktion sowie in Abschnitt 4.2.12 "Dokumentation für Betrieb und Instandhaltung" beschrieben.
4.2.1.2 Offene Punkte
Wenn für einen bestimmten technischen Aspekt die funktionelle und technische Spezifikation, die für die Einhaltung der grundlegenden Anforderungen erforderlich ist, nicht entwickelt wurde und daher nicht Teil dieser TSI ist, wird dieser Aspekt als offener Punkt im betreffenden Abschnitt benannt. Anhang I dieser TSI enthält alle offenen Punkte im Einklang mit Artikel 5 Absatz 6 der Richtlinie 2008/57/EG .
Anhang I macht ebenfalls Angaben darüber, ob sich die offenen Punkte auf die technische Kompatibilität mit dem Schienennetz beziehen. Zu diesem Zweck wird Anhang I in drei Teile unterteilt:
Wie in Artikel 17 Absatz 3 der Richtlinie 2008/57/EG vorgesehen, werden bei offenen Punkten die nationalen technischen Vorschriften angewendet.
4.2.1.3 Sicherheitsaspekte
Die Funktionen, die dazu beitragen, die grundlegenden Anforderungen in Bezug auf die "Sicherheit" zu erfüllen, werden in Abschnitt 3.2 dieser TSI aufgeführt.
Die meisten der Sicherheitsanforderungen in Zusammenhang mit diesen Funktionen werden von den technischen Spezifikationen in Abschnitt 4.2 abgedeckt (z.B. "passive Sicherheit", "Räder" usw.).
Für folgende sicherheitsrelevante Funktionen müssen die technischen Spezifikationen durch Anforderungen im Hinblick auf Sicherheitsanforderungen vervollständigt werden, für die zum Nachweis der Einhaltung die im " CSM on RA" beschriebenen Grundsätze verwendet werden können (Ähnlichkeit mit Referenzsystem(en), Anwendung von Verhaltenskodizes, Anwendung des probabilistischen Konzepts);
Wenn diese als sicherheitsrelevant identifizierten Funktionen im Hinblick auf ihre Sicherheitsaspekte nicht genügend abgedeckt werden oder keine Sicherheitsangaben gemacht werden, wird dies als offener Punkt im betreffenden Abschnitt, der die Funktion spezifiziert, benannt.
Software, die sich auf sicherheitsrelevante Funktionen auswirkt, ist anhand einer für sicherheitsrelevante Software geeigneten Methode zu entwickeln und zu bewerten.
Dies gilt für Software, die Auswirkungen auf Funktionen hat, die in dieser TSI in Abschnitt 4.2 als sicherheitsrelevant angegeben wurden.
4.2.2 Struktur und mechanische Teile
4.2.2.1 Allgemeines
Dieser Teil behandelt Anforderungen in Verbindung mit der Bauweise der Wagenkastenstruktur (Festigkeit der Wagenkastenstruktur) und der mechanischen Verbindungen (mechanische Schnittstellen) zwischen Einzelfahrzeugen oder zwischen Einheiten.
Ziel der meisten dieser Anforderungen ist es, die mechanische Integrität des Zuges im Betrieb und bei Bergungsmaßnahmen sicherzustellen und die Fahrgast- und Dienstabteile bei Zusammenstößen oder Entgleisungen zu schützen.
4.2.2.2 Mechanische Schnittstellen
4.2.2.2.1 Allgemein und Begriffsbestimmungen
Zur Bildung eines Zuges (gemäß Definition in Abschnitt 2.2) werden Einzelfahrzeuge so aneinander gekuppelt, dass sie gemeinsam betrieben werden können. Die Kupplung ist die mechanische Schnittstelle, die dies ermöglicht. Es gibt mehrere Arten von Kupplungen:
Eine Endkupplung kann "automatisch", "halbautomatisch" oder "manuell" sein.
Im Rahmen dieser TSI ist eine " manuelle" Kupplung ein Endkupplungssystem, das zur mechanischen Kupplung von Einheiten eine oder mehrere Person(en) zwischen diesen Einheiten erfordert, die aneinander gekuppelt oder entkuppelt werden sollen.
4.2.2.2.2 Innere Kupplung
Innere Kupplungen zwischen den einzelnen Fahrzeugen einer Einheit müssen über ein belastbares System verfügen, das den Kräften der vorgesehenen Betriebsbedingungen standhält.
Bei inneren Kupplungssystemen zwischen Einzelfahrzeugen, die über eine niedrigere Zugfestigkeit als die Endkupplung(en) der Einheit verfügen, sind für den Fall eines Bruchs einer solchen inneren Kupplung Vorkehrungen zur Bergung der Einheit zu treffen. Diese Bestimmungen sind in der gemäß Abschnitt 4.2.12.6 erforderlichen Dokumentation aufzuführen.
Gelenktriebwagen: Die Verbindung zwischen zwei Einzelfahrzeugen mit dem gleichen Laufwerk hat mit den Anforderungen der Abschnitte 6.5.3 und 6.7.5 der Norm EN 12663-1:2010 übereinzustimmen.
a) Endkupplung - Allgemein
Wenn am Ende einer Einheit eine Endkupplung vorhanden ist, gelten für alle Arten von Endkupplungen (automatisch, halbautomatisch oder manuell) folgende Anforderungen:
Diese TSI sieht keine weiteren Anforderungen für automatische und halbautomatische Kupplungssysteme vor.
b) "Manuelle" Kupplungssysteme
Die folgenden Bestimmungen gelten spezifisch für Einheiten, die mit "manuellen" Kupplungssystemen ausgestattet sind:
In allen Fällen sind Puffer und Schraubenkupplung gemäß den Abschnitten A.1 bis A.3 von Anhang a zu installieren.
Für alle Einheiten, die für den alleinigen Fahrbetrieb im Standardstreckennetz mit einer Spurweite von 1.435 mm ausgelegt sind und über ein manuelles Kupplungssystem und eine UIC-konforme pneumatische Bremse verfügen, gelten die folgenden Anforderungen:
Anmerkung: Sie unterliegen künftig einer EN-Norm, die sich derzeit im Entwurfsstadium befindet.
c) Manuelle Kupplungssysteme - Kompatibilität zwischen Netzen mit unterschiedlichen Spurweiten für Einheiten
Einheiten, die für Netze mit verschiedenen Spurweiten (z.B. 1.435 mm und 1.520/1.524 mm oder 1.435 mm und 1.668 mm) ausgelegt sind und über ein "manuelles" Kupplungssystem und UIC-konforme pneumatische Bremsen verfügen, müssen Folgendes erfüllen:
4.2.2.2.4 ABS - Schleppkupplung
Am Ende von Einheiten, die nicht mit einer Endkupplungsvorrichtung ausgestattet sind oder die mit einem Kupplungssystem ausgestattet sind, das nicht mit dem manuellen Kupplungssystem gemäß Abschnitt 4.2.2.2.3 dieser TSI kompatibel ist, müssen Vorrichtungen vorhanden sein, die eine Bergung der Einheit im Fall eines Ausfalls durch Abschleppen oder Abschieben der zu bergenden Einheit ermöglichen:
Ermöglicht wird dies entweder durch ein permanent angebrachtes kompatibles Kupplungssystem oder durch eine Schleppkupplung (auch als Schleppadapter bezeichnet).
In einem solchen Fall muss die Einheit so ausgelegt sein, dass sie die Abschleppkupplung an Bord mitführen kann.
Die Abschleppkupplung muss:
Die Schnittstelle mit den Bremsen wird durch die Bestimmungen in Abschnitt 4.2.4.10 dieser TSI geregelt.
4.2.2.2.5 Zugang des Zugpersonals bei Kupplungs - und Entkupplungsvorgängen
Einheiten müssen so ausgelegt sein, dass das Zugpersonal bei Kupplungs- und Entkupplungsvorgängen oder bei der Bergung keinen unnötigen Risiken ausgesetzt ist.
Um diese Anforderung zu erfüllen, gelten für Einheiten, die mit einem manuellen Kupplungssystem gemäß Abschnitt 4.2.2.2.3 ausgestattet sind, die folgenden Bestimmungen (der "Berner Raum"):
Verbindungskabel und flexible Schläuche sowie elastische, verformbare Teile von Übergängen dürfen in diesen Räumen vorhanden sein. Unter den Puffern dürfen keine Komponenten montiert sein, die den Zugang zu diesem Raum verhindern.
4.2.2.3 Übergänge
Wenn Fahrgästen für den Weg von einem Reisezugwagen oder einem Triebzug in einen anderen ein Übergang zur Verfügung steht, darf dieser die Fahrgäste keinen unnötigen Risiken aussetzen.
Wenn der Einsatz eines nicht verbundenen Übergangs vorgesehen ist, muss es möglich sein, den Zugang zum Übergang für Fahrgäste zu verhindern.
Anforderungen in Verbindung mit der Übergangstür, wenn der Übergang nicht in Betrieb ist, sind Abschnitt 4.2.5.8 "Fahrgastspezifische Aspekte - Zwischentüren" zu entnehmen.
Als weitere Anforderungen gelten die Bestimmungen in der TSI PRM (Abschnitt 4.2.2.7 "Lichte Räume" der TSI PRM).
Diese Anforderungen gelten nicht für das Einzelfahrzeugende, sofern dieser Bereich nicht für die reguläre Nutzung durch Fahrgäste ausgelegt ist.
4.2.2.4 Festigkeit der Fahrzeugstruktur
Dieser Abschnitt gilt für alle Einheiten.
Für mobile Ausrüstungen für Bau und Instandhaltung von Eisenbahninfrastrukturen (Bau- und Instandhaltungsfahrzeuge) werden in Anhang C, Abschnitt C.1 alternative Anforderungen zu den hier aufgeführten für statische Belastung, Kategorie und Beschleunigung festgelegt.
Die statische und dynamische Festigkeit (Ermüdung) von Einzelfahrzeugkästen ist für die Gewährleistung der erforderlichen Sicherheit der Insassen und der strukturellen Integrität der Einzelfahrzeuge bei Zugfahrt- und Rangiervorgängen von Bedeutung.
Daher muss die Struktur jedes Einzelfahrzeugs die Anforderungen gemäß EN 12663-1:2010 "Festigkeitsanforderungen an Wagenkästen von Schienenfahrzeugen - Teil 1: Lokomotiven und Fahrzeuge im Personenverkehr (und alternatives Verfahren für Güterwagen)" erfüllen. Die zu berücksichtigenden Fahrzeugkategorien müssen der Kategorie L für Lokomotiven und Antriebseinheiten und den Kategorien PI oder PII für alle anderen Arten von Einzelfahrzeugen im Anwendungsbereich dieser TSI gemäß der Definition Abschnitt 5.2 von EN 12663-1:2010 entsprechen.
Dabei kann insbesondere der Nachweis über die Festigkeit von Wagenkästen gegenüber bleibenden Deformationen und Brüchen gemäß den in Abschnitt 9.2.3.1 von EN 12663-1:2010 aufgeführten Bedingungen über Berechnungen und Versuche erbracht werden.
Die zu berücksichtigenden Lastbedingungen müssen im Einklang mit Abschnitt 4.2.2.10 dieser TSI stehen.
Bei den Annahmen zur aerodynamischen Belastung handelt es sich um diejenigen, die in Abschnitt 4.2.6.2.3 dieser TSI beschrieben werden.
Verbindungstechniken werden von den vorstehend genannten Anforderungen abgedeckt. In der Herstellungsphase ist ein Prüfungsvorgang durchzuführen, der sicherstellt, dass die mechanischen Merkmale der Struktur nicht durch Defekte geschwächt werden.
4.2.2.5 Passive Sicherheit
Diese Anforderung gilt für alle Einheiten mit Ausnahme von Einheiten, die für Fahrgäste und Zugpersonal während des Betriebs nicht zugänglich sind, sowie mit Ausnahme von Bau- und Instandhaltungsfahrzeugen.
Außerdem sind Einheiten, die im Fahrbetrieb die unten in den Kollisionsszenarien festgelegten Kollisionsgeschwindigkeiten nicht erreichen, von den Bestimmungen des jeweiligen Szenarios ausgenommen.
Die passive Sicherheit soll die aktive Sicherheit ergänzen, wenn alle anderen Maßnahmen erfolglos waren.
Zu diesem Zweck muss die mechanische Struktur der Einzelfahrzeuge die Insassen im Fall eines Zusammenstoßes durch folgende Merkmale schützen:
Um diese funktionellen Anforderungen einhalten zu können, müssen die Einheiten die detaillierten Anforderungen der Norm EN 15227:2008 bezüglich der Kollisionssicherheit der Auslegungskategorie C-I (gemäß EN 15227:2008 Abschnitt 4 Tabelle 1) erfüllen, sofern im Folgenden nicht anders angegeben.
Es werden die vier folgenden Kollisionsszenarien betrachtet:
Diese Szenarien werden in der Norm EN 15227:2008 Abschnitt 5 Tabelle 2 beschrieben.
Innerhalb des Anwendungsbereichs dieser TSI werden die Anwendungsregeln in Tabelle 2 folgendermaßen vervollständigt:
Die vorliegende TSI spezifiziert die in ihrem Anwendungsbereich geltenden Anforderungen bezogen auf die Kollisionssicherheit. Daher findet Anhang a von EN 15227:2008 keine Anwendung. Die Anforderungen von Abschnitt 6 EN 15227:2008 sind in Bezug auf die oben aufgeführten Kollisionsszenarien anzuwenden.
Um die Folgen einer Kollision mit einem Hindernis auf der Strecke zu mindern, sind die führenden Enden von Lokomotiven, Triebköpfen, Steuerwagen und Triebzügen mit einem Bahnräumer auszustatten. Die Anforderungen, die Bahnräumer erfüllen müssen, sind in EN 15227:2008 Abschnitt 5 Tabelle 3 und Abschnitt 6.5 definiert.
4.2.2.6. Anheben und Aufbocken
Dieser Abschnitt gilt für alle Einheiten mit Ausnahme mobiler Ausrüstungen für Bau und Instandhaltung von Eisenbahninfrastrukturen (Bau- und Instandhaltungsfahrzeuge).
Die Bestimmungen hinsichtlich des Anhebens und Aufbockens von Bau- und Instandhaltungsfahrzeugen sind Anhang C, Abschnitt C.2 zu entnehmen.
Es muss möglich sein, jedes Einzelfahrzeug, aus dem die Einheit besteht, zu Bergungszwecken (nach einer Entgleisung oder einem anderen Unfall oder Zwischenfall) oder zu Instandhaltungszwecken sicher anzuheben und aufzubocken.
Es muss außerdem möglich sein, ein Ende des Einzelfahrzeugs (einschließlich Laufwerk) so anzuheben, dass das andere Ende des Einzelfahrzeugs weiterhin auf seinem Laufwerk ruht.
Das Anheben muss an festgelegten und gekennzeichneten Anhebestellen erfolgen.
Die Geometrie und die Position der Anhebestellen müssen im Einklang mit Anhang B stehen. Die Anhebestellen müssen durch Zeichen gemäß Anhang B markiert werden.
Die Anhebestellen müssen den in EN 12663-1:2010 (Abschnitte 6.3.2 und 6.3.3) angegebenen Lasten standhalten.
Dabei kann insbesondere der Nachweis über die Festigkeit von Wagenkästen gegenüber bleibenden Deformationen und Brüchen gemäß den in Abschnitt 9.2.3.1 von EN 12663-1:2010 aufgeführten Bedingungen über Berechnungen und Versuche erbracht werden.
4.2.2.7 Befestigung von Ausrüstung an der Wagenkastenstruktur
Dieser Abschnitt (gilt für alle Einheiten mit Ausnahme mobiler Ausrüstungen für Bau und Instandhaltung von Eisenbahninfrastrukturen (Bau- und Instandhaltungsfahrzeuge).
Die Bestimmungen hinsichtlich der Festigkeit der Struktur von Bau- und Instandhaltungsfahrzeugen sind Anhang C Abschnitt C.1 zu entnehmen.
Zur Minderung der Folgen eines Unfalls müssen festinstallierte Ausrüstungen, einschließlich derjenigen Ausrüstungen, die sich in Fahrgastbereichen befinden, derart an der Wagenkastenstruktur befestigt werden damit verhindert ist, dass sich diese festinstallierten Ausrüstungen lösen können und ein Risiko für die Verletzung von Fahrgästen darstellen oder zu einer Entgleisung führen. Zu diesem Zweck haben Befestigungen von diesen Geräten dem Abschnitt 6.5.2 von EN 12663-1:2010 für die in vorstehend unter 4.2.2.4 definierten Kategorien zu entsprechen.
4.2.2.8 Zugangstüren für Personal und zu Güterbereichen
Die Bestimmungen zu Türen, die von Fahrgästen verwendet werden, sind Abschnitt 4.2.5 "Fahrgastspezifische Aspekte" dieser TSI zu entnehmen. Abschnitt 4.2.9 dieser TSI befasst sich mit Führerstandstüren.
Dieser Abschnitt behandelt Türen zu Güterbereichen sowie Türen, die lediglich vom Zugpersonal verwendet werden, mit Ausnahme von Führerstandstüren.
Einzelfahrzeuge, die über ein Abteil für das Zugpersonal oder einen Güterladeraum verfügen, müssen mit einer Vorrichtung zum Schließen und Verriegeln dieser Türen ausgestattet sein. Die Türen müssen geschlossen und verriegelt bleiben, bis sie vom Personal zur Öffnung freigegeben werden.
4.2.2.9 Mechanische Merkmale von Glas (mit Ausnahme von Windschutzscheiben)
Wenn Glas zum Einsatz kommt (einschließlich Spiegel), muss es sich um Verbundglas oder Einscheiben- Sicherheitsglas in Übereinstimmung mit einer geeigneten nationalen oder internationalen Norm unter Einbeziehung von Eigenschaften und Einsatzbereich handeln, wodurch das Verletzungsrisiko durch zerbrochenes Glas für Fahrgäste und Personal minimiert wird.
4.2.2.10 Lastbedingungen und gewichtete Masse 12
Die folgenden Lastbedingungen, die in Abschnitt 3.1 der Norm EN 15663:2009 definiert sind, müssen festgelegt werden:
Die Hypothese, mit der die oben genannten Lastbedingungen hergeleitet werden, muss der Norm EN 15663:2009 entsprechen (Fernverkehrszug, sonstiger Zug, Nutzlast pro m2 auf Steh- und Betriebsflächen). Die Bedingungen müssen in der allgemeinen Dokumentation gemäß Abschnitt 4.2.12.2 begründet und dokumentiert werden.
Für Bau- und Instandhaltungsfahrzeuge können andere Lastbedingungen (maximale und minimale Auslegungsmasse) verwendet werden, um optionale fahrzeugseitige Ausrüstung zu berücksichtigen.
Für jede der oben definierten Lastbedingungen sind in der technischen Dokumentation gemäß Abschnitt 4.2.12 die folgenden Angaben zu machen:
Die Lastbedingung "Auslegungsmasse, betriebsbereites Fahrzeug" muss durch Massenwiegung ermittelt werden. Es ist zulässig, die anderen Lastbedingungen durch Berechnung abzuleiten.
Wenn ein Fahrzeug als konform mit einem Baumuster (gemäß den Abschnitten 6.2.2.1 und 7.1.3) erklärt wird, darf die gewogenene Gesamtmasse in der Lastbedingung "Auslegungsmasse, betriebsbereites Fahrzeug" die erklärte Masse für dieses Baumuster, die in der Baumusterprüfbescheinigung oder der Entwurfsprüfbescheinigung der EG-Prüfung ausgewiesen wird, um maximal 3 % überschreiten.
4.2.3 Fahrzeug-Fahrweg-Wechselwirkung und Fahrzeugbegrenzungslinie
Die Begrenzungslinie ist eine Schnittstelle zwischen der Einheit (Einzelfahrzeug) und der Infrastruktur und wird durch eine gemeinsame Bezugslinie sowie zugehörige Berechnungsregeln beschrieben. Die Begrenzungslinie gilt als Leistungsparameter, der in Abschnitt 4.2.2 der TSI INS CR definiert ist, und hängt von der Streckenkategorie ab.
Die kinematische Bezugslinie und die zugehörigen Regeln beschreiben die äußeren Abmessungen des Fahrzeugs, die in eines der Referenzprofile GA, GB oder GC (gemäß Abschnitt 4.2.2 der TSI INS CR) zu fallen hat. Der angenommene Neigungskoeffizient für die Berechnung der Begrenzungslinie ist durch Berechnung oder Messung gemäß EN 15273-2:2009 zu begründen.
Für elektrische Einheiten ist der Lichtraum für Oberleitungen durch Berechnung gemäß Abschnitt A.3.12 der Norm EN 15273-2:2009 zu begründen, damit gewährleistet ist, dass die Stromabnehmerbegrenzung mit dem Lichtraum für Oberleitungen der Infrastruktur übereinstimmt, der durch Anhang E der TSI ENE CR geregelt wird, und von der gewählten Geometrie der Stromabnehmerwippe abhängt: Die beiden zulässigen Möglichkeiten sind in Abschnitt 4.2.8.2.9.2 dieser TSI definiert.
Die Spannung der Energieversorgung wird zusammen mit dem Lichtraumprofil der Infrastruktur betrachtet, damit angemessene Isolationsstrecken zwischen dem Stromabnehmer und ortsfesten Vorrichtungen gewährleistet sind.
Das Wanken des Stromabnehmers, das in Abschnitt 4.2.14 der TSI ENE CR festgelegt ist und für die Berechnung der kinematischen Begrenzungslinie verwendet wird, ist durch Berechnungen oder Messungen gemäß EN 15273-2:2009 zu begründen.
4.2.3.2 Radsatzlast und Radlast
4.2.3.2.1 Radsatzlast
Bei der Radsatzlast handelt es sich um eine Schnittstelle zwischen der Einheit und der Infrastruktur. Sie gilt als Leistungsparameter der Infrastruktur, der in Abschnitt 4.2.2 der TSI INS CR definiert ist, und hängt von der Streckenkategorie ab. Die Radsatzlast muss in Verbindung mit dem Radsatzabstand, der Länge des Zuges und der erlaubten Höchstgeschwindigkeit der Einheit auf der jeweiligen Strecke berücksichtigt werden.
Die folgenden, als Schnittstelle mit der Infrastruktur zu verwendenden Merkmale müssen bei der Bewertung der Einheit Bestandteil der allgemeinen Dokumentation gemäß Abschnitt 4.2.12.2 sein:
Einsatz dieser Informationen im Verkehrsbetrieb für die Kompatibilitätsprüfung von Fahrzeugen und Infrastruktur (außerhalb des Anwendungsbereichs dieser TSI):
Die als Infrastrukturparameter einzusetzende Radsatzlast eines jeden Radsatzes der Einheit ist von dem jeweiligen Eisenbahnverkehrsunternehmen, wie in Abschnitt 4.2.2.5 der TSI OPE CR vorgeschrieben, festzulegen und hat die erwartete Radsatzlast für den jeweiligen Einsatz zu berücksichtigen (nicht festgelegt bei Bewertung der Einheit). Die Radsatzlast in der Lastbedingung "Auslegungsmasse bei maximaler Zuladung" stellt den Höchstwert der vorstehend erwähnten Radsatzlast dar.
4.2.3.2.2 Radlast
Das Verhältnis der Radlastdifferenz pro Radsatzwelle "qj, ist durch die Radlastmessung zu bestimmen, wobei die Lastbedingung "Auslegungsmasse, betriebsbereites Fahrzeug" zu berücksichtigen ist. Eine Radlastdifferenz von mehr als 5 % der Radsatzlast ist nur zulässig, wenn die Unbedenklichkeit durch Versuch belegt wurde, dass die nachzuweisende Sicherheit gegen Entgleisung bei Gleisverwindungen gemäß Abschnitt 4.2.3.4.1 dieser TSI besteht.
4.2.3.3 Fahrzeugparameter , die stationäre Systeme beeinflussen
4.2.3.3.1 Die Kompatibilität mit Zugortungsanlagen/Gleisfreimeldeeinrichtungen betreffende Fahrzeugmerkmale 12 12a
Die Fahrzeugmerkmale, die die Kompatibilität mit den Zielsystemen für Zugortungsanlagen/Gleisfreimeldeeinrichtungen betreffen, sind in den Abschnitten 4.2.3.3.1.1, 4.2.3.3.1.2 und 4.2.3.3.1.3 aufgeführt.
Die Merkmale, mit denen die Fahrzeuge kompatibel sind, werden in das Fahrzeugregister gemäß Abschnitt 4.8 dieser TSI eingetragen.
4.2.3.3.1.1 Kompatibilität der Fahrzeugmerkmale mit Zugortungsanlagen/Gleisfreimeldeeinrichtungen auf der Basis von Gleisstromkreisen
4.2.3.3.1.2 Kompatibilität der Fahrzeugmerkmale mit Zugortungsanlagen/Gleisfreimeldeeinrichtungen auf der Basis von Achszählern
4.2.3.3.1.3 Kompatibilität der Fahrzeugmerkmale mit Koppelschleifen
Der Metallmasse von Fahrzeugen ist ein offener Punkt in der Spezifikation gemäß Anhang a Abschnitt 3.1.7.2 Ziffer 77 der TSI ZZS.
4.2.3.3.2 Überwachung des Zustands der Radsatzlager
Es muss die Möglichkeit bestehen, den Zustand der Radsatzlager zu überwachen.
Hierfür kann entweder fahrzeugseitige oder streckenseitige Ausrüstung verwendet werden. Die Anforderungen für fahrzeugseitige Ausrüstung sind ein offener Punkt in dieser TSI.
Wenn der Zustand der Radsatzlager mit streckenseitiger Ausrüstung überwacht wird, muss das Fahrzeug die folgenden Anforderungen erfüllen:
Anmerkung: Siehe auch Abschnitt 4.2.3.5.2.1 über Radsatzlager.
4.2.3.4 Dynamisches Verhalten der Fahrzeuge
4.2.3.4.1 Sicherheit gegen Entgleisen bei Fahrbetrieb auf Strecken mit Gleisverwindung
Die Einheit (oder die Einzelfahrzeuge, aus denen die Einheit besteht) ist (oder sind) so auszulegen, dass die Sicherheit des Fahrbetriebs auf Strecken mit Gleisverwindung gewährleistet ist. Dabei sind insbesondere die Übergangsphase zwischen überhöhtem und ebenem Gleis sowie Querhöhenabweichungen zu berücksichtigen. Die Einhaltung dieser Anforderung muss anhand des in EN 14363:2005 Absatz 4.1 definierten Verfahrens geprüft werden.
Für Bau- und Instandhaltungsfahrzeuge kann die Sicherheit des Fahrbetriebs auf Strecken mit Gleisverwindung mit Hilfe einer zulässigen Berechnungsmethode nachgewiesen werden. Ist dies nicht möglich, sind Versuche nach den Anforderungen von EN 14363:2005 auszuführen.
Für den Fahrbetrieb auf Strecken mit Gleisverwindung gelten für Maschinen mit Drehgestellen und mit einzelnen Radsätzen die Versuchsbedingungen gemäß EN 14363:2005.
4.2.3.4.2 Dynamisches Laufverhalten
a) Einführung
Dieser Abschnitt 4.2.3.4.2 gilt für Einheiten, die für eine Geschwindigkeit von mehr als 60 km/h ausgelegt sind.
Er gilt nicht für mobile Ausrüstungen für Bau und Instandhaltung von Eisenbahninfrastrukturen (Bau- und Instandhaltungsfahrzeuge). Die Anforderungen für Bau- und Instandhaltungsfahrzeuge sind Anhang C Abschnitt C.3 zu entnehmen.
Das dynamische Verhalten eines Einzelfahrzeugs hat starke Auswirkungen auf die Sicherheit gegen Entgleisen, die Laufsicherheit und die Gleisbeanspruchung. Es handelt sich um eine sicherheitsrelevante Funktion, die von den technischen Anforderungen dieses Abschnitts abgedeckt wird. In Fällen, in denen Software zum Einsatz kommt, ist die bei der Entwicklung der Software zu berücksichtigende Sicherheitsstufe ein offener Punkt.
b) Anforderungen
Zur Verifizierung der Merkmale des dynamischen Laufverhaltens von Fahrzeugen (Laufsicherheit und Gleisbeanspruchung) ist der Prozess in EN 14363:2005 Abschnitt 5 und zusätzlich für Neigezüge in EN 15686:2010 zu befolgen, wobei die Änderungen im Folgenden (in diesem Abschnitt und seinen Unterabschnitten) aufgeführt werden. Die in den Abschnitten 4.2.3.4.2.1 und 4.2.3.4.2.2 beschriebenen Parameter müssen anhand der in EN 14363:2005 definierten Kriterien bewertet werden.
Als Alternative zur Durchführung von Streckenversuchen auf zwei unterschiedlichen Schienenneigungen gemäß Abschnitt 5.4.4.4 in EN 14363:2005 ist es zulässig, Versuche nur auf einer Schienenneigung durchzuführen, sofern belegt ist, dass die Versuche den nachfolgend beschriebenen Bereich der Kontaktbedingungen abdecken:
Tabelle 1: Vorgaben für die Kontaktbedingungen im Zusammenhang mit Streckenversuchen
| Maximale Geschwindigkeit des Fahrzeugs | Äquivalente Konizität |
| 60 km/h < V< 140 km/h | > 0,50 |
| 140 km/h < V< 200 km/h | > 0,40 |
| 200 km/h < V< 230 km/h | > 0,35 |
| 230 km/h < V< 250 km/h | > 0,30 |
Zusätzlich zu den Anforderungen gemäß EN 14363:2005 Abschnitt 5.6 bezüglich des Versuchsberichts muss der Versuchsbericht Angaben über Folgendes enthalten:
Der Versuchsbericht muss Bestandteil der in Abschnitt 4.2.12 beschriebenen Dokumentation sein.
c) Beschaffenheit des Gleises für Streckenversuche:
Versuchsbedingungen: EN 14363 definiert Versuchsbedingungen für Streckenversuche, die als Referenz vereinbart wurden. Diese Versuchsbedingungen können aufgrund von geografischen Einschränkungen in den folgenden Bereichen jedoch nicht immer erreicht werden:
Im Hinblick auf die Gleislagequalität ist die Spezifikation eines Referenzgleises für Versuche (einschließlich Grenzwerten für die Gleisbeschaffenheitsparameter gemäß EN 13848-1) ein offener Punkt. Bei der Festlegung dieser Grenzwerte finden daher nationale Vorschriften Anwendung, die in Übereinstimmung mit EN 13848-1 auszudrücken sind, um feststellen zu können, ob ein bereits durchgeführter Versuch Gültigkeit hat.
4.2.3.4.2.1 Grenzwerte für Laufsicherheit
Die Grenzwerte für die Laufsicherheit, die das Einzelfahrzeug einhalten muss, sind in EN 14363:2005 Abschnitt 5.3.2.2 sowie zusätzlich für Neigezüge in EN 15686:2010 festgelegt, wobei die nachstehende Änderung bezüglich des Quotienten der Führungskraft und der Radkraft (Y/Q) gilt.
Wenn der Quotient der Führungskraft und der Radkraft (Y/Q) überschritten wird, ist es zulässig, den geschätzten Höchstwert für Y/Q anhand des folgenden Verfahrens neu zu berechnen:
Der Bericht muss beide Ergebnisse (vor und nach der Neuberechnung) enthalten.
4.2.3.4.2.2 Grenzwerte für die Gleisbeanspruchung
Mit Ausnahme der quasistatischen Führungskraft Yqst sind die Grenzwerte für die Gleisbeanspruchung, die das Einzelfahrzeug bei Versuchen anhand der Normalmethode einhalten muss, in EN 14363:2005 Abschnitt 5.3.2.3 angegeben.
Die Grenzwerte für die quasistatische Führungskraft Yqst sind nachfolgend definiert.
Der Grenzwert für die quasistatische Führungskraft Yqst muss für Kurvenradien mit 250< R < 400 m ausgewertet werden.
Der Grenzwert für den uneingeschränkten Betrieb von Fahrzeugen auf dem Gleisnetz des transeuropäischen Eisenbahnsystems (wie in den TSI beschrieben) ist: (Yqst)lim = (30 + 10 500/Rm) kN
Dabei gilt: Rm = mittlerer Radius der Gleisabschnitte (in Metern), der für die Auswertung ermittelt wurde.
Wenn dieser Grenzwert aufgrund von Bedingungen mit hoher Reibung überschritten wird, ist es zulässig, den Schätzwert von Yqst in der Zone neu zu berechnen, wobei vorher die einzelnen (Yqst) i Werte der Gleisabschnitte "i", auf denen (Y/Q)ir (Mittelwert des Y/Q-Verhältnisses auf der inneren Schiene über den ganzen Abschnitt hinweg) 0,40 überschreitet, durch folgende Werte zu ersetzen sind: (Yqst) i - 50[(Y/Q)ir - 0,4]. Der Bericht muss die Ergebnisse von Yqst, Qqst und dem mittleren Bogenhalbmesser (vor und nach der Neuberechnung) enthalten.
Übersteigt der Yqst-Wert den oben ausgedrückten Grenzwert, kann die Betriebsleistung der Fahrzeuge (z.B. Höchstgeschwindigkeit) durch die Infrastruktur aufgrund der Gleisbeschaffenheit (z.B. Bogenhalbmesser, Überhöhung, Schienenhöhe) eingeschränkt werden.
Anmerkung: Die in EN 14363:2005 angegebenen Grenzwerte gelten für Radsatzlasten in einem Wertbereich wie in Abschnitt 4.2.2 der TSI INS CR erwähnt. Für Strecken, die auf höhere Radsatzlasten ausgelegt sind, sind darauf abgestimmte Grenzwerte für die Gleisbeanspruchung nicht festgelegt.
4.2.3.4.3 Äquivalente Konizität
Der Wertebereich für Geschwindigkeit und äquivalente Konizität, für den das Einzelfahrzeug als stabil ausgelegt ist, muss angegeben und in der technischen Dokumentation eingetragen sein. Diese Werte sind für Auslegungs- und Betriebsbedingungen einzuhalten.
Die äquivalente Konizität muss gemäß EN 15302:2008 für die Amplitude (y) der seitlichen Auslenkung des Radsatzes berechnet werden:
| - y = 3 mm, | if (TG - SR)> 7 mm |
| - y = [((TG -SR)- 1) / 2], | if 5 mm< (TG - SR) < 7 mm |
| - y = 2 mm, | if (TG - SR) < 5 mm |
Dabei gilt: TG ist die Spurweite des Gleises und SR ist das Spurmaß des Radsatzes (siehe Abbildung 1).
Einzelfahrzeuge mit Einzelradaufhängung sind von den Anforderungen in Abschnitt 4.2.3.4.3 dieser TSI ausgenommen.
4.2.3.4.3.1 Auslegungswerte für neue Radprofile
Dieser Abschnitt definiert anhand von Berechnungen zu belegende Verifizierungen, mit denen sichergestellt werden soll, dass neue Radprofile und das Spurmaß für Gleise des transeuropäischen Eisenbahnnetzes, die die Anforderungen der TSI INS CR erfüllen, geeignet sind.
Das Radprofil und das Spurmaß (Maß SR in Abschnitt 4.2.3.5.2.1 Abbildung 1) sind so zu wählen, dass sichergestellt ist, dass die in Tabelle 2 angegebenen Grenzwerte für die äquivalente Konizität nicht überschritten werden, wenn für die Radsatzkonstruktion Modellversuche für die repräsentativen Beispiele von Gleisprüfbedingungen, die in Tabelle 3 angegeben sind, durchgeführt werden.
Tabelle 2: Grenzwerte für die äquivalente Konizität beim Entwurf
| Maximale Betriebsgeschwindigkeit des Fahrzeugs (km/h) |
Grenzwerte für die äquivalente Konizität | Prüfbedingungen (siehe Tabelle 3) |
| < 60 | Entfällt | Entfällt |
| > 60 und< 190 | 0,30 | Alle |
| > 190 | Es gelten die Werte der TSI RST HS | Es gelten die Bedingungen der TSI RST HS |
Tabelle 3: Schienenprüfbedingungen für die repräsentative äquivalente Konizität des transeuropäischen Eisenbahnnetzes
| Prüfbedingung Nr. | Schienenkopfprofil | Schienenneigung | Spurweite |
| 1 | Schienenquerschnitt 60 E1 definiert in EN 13674- 1:2003 | 1:20 | 1.435 mm |
| 2 | Schienenquerschnitt 60 E1 definiert in EN 13674- 1:2003 | 1:40 | 1.435 mm |
| 3 | Schienenquerschnitt 60 E1 definiert in EN 13674- 1:2003 | 1:20 | 1.437 mm |
| 4 | Schienenquerschnitt 60 E1 definiert in EN 13674- 1:2003 | 1:40 | 1.437 mm |
| 5 | Schienenquerschnitt 60 E2, definiert in EN 13674- 1:2003/A1:2007 | 1:40 | 1.435 mm |
| 6 | Schienenquerschnitt 60 E2, definiert in EN 13674- 1:2003/A1:2007 | 1:40 | 1.437 mm |
| 7 | Schienenquerschnitt 54 E1, definiert in EN 13674- 1:2003 | 1:20 | 1.435 mm |
| 8 | Schienenquerschnitt 54 E1, definiert in EN 13674- 1:2003 | 1:40 | 1.435 mm |
| 9 | Schienenquerschnitt 54 E1, definiert in EN 13674- 1:2003 | 1:20 | 1.437 mm |
| 10 | Schienenquerschnitt 54 E1, definiert in EN 13674- 1:2003 | 1:40 | 1.437 mm |
Es wird davon ausgegangen, dass die Anforderungen dieses Abschnitts durch Radsätze mit nicht abgenutzten Radprofilen S1002 oder GV 1/40 (gemäß Definition in EN 13715:2006) sowie mit einem Spurmaß zwischen 1.420 mm und 1.426 mm erfüllt sind.
4.2.3.4.3.2 Werte für die äquivalente Konizität von Radsätzen im Betrieb
Zur Kontrolle der Laufstabilität von Fahrzeugen ist es erforderlich, die Werte für die äquivalente Konizität im Betrieb zu kontrollieren. Die Zielwerte für die Konizität von Radsätzen im Betrieb für interoperable Fahrzeuge sind zusammen mit den Zielwerten für die Konizität von Gleisen im Betrieb festzulegen.
Die "Werte für die Konizität von Gleisen im Betrieb" sind in der TSI INS CR ein offener Punkt. Daher sind auch die "Werte für die Konizität von Radsätzen im Betrieb" in dieser TSI ein offener Punkt.
Dieser Abschnitt ist von der Bewertung durch eine benannte Stelle ausgenommen.
Wenn eine Einheit auf einer beliebigen Strecke betrieben wird, sind die Werte für die äquivalente Konizität im Betrieb gemäß den festgelegten Grenzwerten für die Einheit (siehe Abschnitt 4.2.3.4.3) und den örtlichen Bedingungen des Netzes einzuhalten.
4.2.3.5 Laufwerk
4.2.3.5.1 Strukturelle Konstruktion des Drehgestellrahmens
Die Integrität der Struktur eines Drehgestellrahmens, sämtlicher angebrachter Ausrüstung und der Verbindung zwischen Wagenkasten und Drehgestell sind für Einheiten mit Drehgestellrahmen auf der Grundlage der Methoden zu belegen, die in EN 13749:2005 Abschnitt 9.2 festgelegt sind. Die Auslegung des Drehgestells muss auf den Angaben in EN 13749:2005 Abschnitt 7 basieren.
Anmerkung: Eine Klassifizierung des Drehgestells im Sinne von EN 13749:2005 Abschnitt 5 ist nicht erforderlich.
Bei der Anwendung der Lastfälle, auf die in den Bestimmungen der vorstehend genannten Norm verwiesen wird, muss als maximale Zuladung die "Auslegungsmasse bei maximaler Zuladung" und als Betriebslast (Ermüdungslast) die "Auslegungsmasse bei normaler Zuladung" gemäß Abschnitt 4.2.2.10 dieser TSI verwendet werden.
Die Hypothese, die gemäß EN 13749:2005 Anhang C für die Auswertung der Lasten bzgl. des Betriebseinsatzes des Drehgestells verwendet wurde (Formeln und Koeffizienten), muss begründet und in der technischen Dokumentation gemäß Abschnitt 4.2.12 aufgezeichnet werden.
4.2.3.5.2 Radsätze
Im Zusammenhang mit dieser TSI umfassen Radsätze per Definition die Hauptteile (Radsatzwellen und Räder) und Zusatzteile (Radsatzlager, Radsatzlagerbuchsen, Getriebe und Bremsscheiben). Der Radsatz muss anhand einer einheitlichen Methodik konstruiert und gefertigt werden, bei der eine Kombination von Lastfällen verwendet wird, die den in Abschnitt 4.2.2.10 dieser TSI festgelegten Lastbedingungen entsprechen.
4.2.3.5.2.1 Mechanische und geometrische Merkmale von Radsätzen
Mechanisches Verhalten von Radsätzen:
Die mechanischen Merkmale der Radsätze müssen den sicheren Fahrbetrieb von Fahrzeugen gewährleisten. Die mechanischen Merkmale umfassen:
Der Übereinstimmungsnachweis für die Baugruppe muss auf Grundlage der Abschnitte 3.2.1. und 3.2.2 von EN 13260:2009 geführt werden, welche die Grenzwerte für die Axialkraft und Ermüdung und damit verbundene Tests festlegen.
Mechanisches Verhalten von Radsatzwellen:
Zusätzlich zu der vorstehenden Anforderung an die genannte Baugruppe muss die Einhaltung der Anforderung bezogen auf die mechanische Festigkeit und Ermüdung der Radsatzwelle auf Grundlage der Abschnitte 4, 5 und 6 von EN 13103:2009 für Laufradsatzwellen oder Abschnitt 4, 5 und 6 von EN 13104:2009 für Treibradsatzwellen belegt werden.
Die Entscheidungskriterien im Hinblick auf die höchstzulässige Spannung werden in Abschnitt 7 EN 13103:2009 für Laufradsatzwellen oder Abschnitt 7 EN 13104:2009 für Treibradsatzwellen angegeben.
Die Merkmale für Ermüdung bei der Radsatzwelle (im Hinblick auf Auslegung, Herstellungsprozess und die unterschiedlichen kritischen Radsatzbereiche) sind anhand eines Ermüdungstests mit 10 Mio. Lastwechseln zu testen.
Prüfung der hergestellten Radsatzwellen:
Ein Prüfverfahren soll innerhalb des Herstellungsprozesses sicherstellen, dass keinerlei Defekte die mechanischen Eigenschaften der Radsatzwellen beeinträchtigen.
Zu prüfen sind die Zugfestigkeit des Materials, die Schlagfestigkeit, die Integrität der Oberfläche, die Materialeigenschaften und die Materialreinheit.
Das Prüfverfahren hat für jedes zu prüfende Merkmal die vorgenommenen Stichproben anzugeben. Mechanisches Verhalten der Radsatzlager:
Das Radsatzlager muss unter Berücksichtigung der mechanischen Festigkeit und Ermüdung konstruiert werden. Die Grenzwerte für die Temperatur, die im Betrieb erreicht wird, müssen definiert und in der technischen Dokumentation, die in Abschnitt 4.2.12 dieser TSI aufgeführt wird, aufgezeichnet werden.
Die Überwachung des Zustands der Radsatzlager ist in Abschnitt 4.2.3.3.2 dieser TSI definiert.
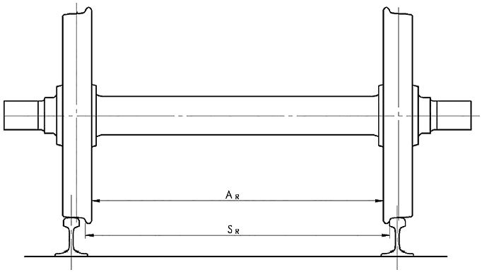
Geometrische Abmessungen der Radsätze:
Die geometrischen Abmessungen der Radsätze gemäß Definition in Abbildung 1 müssen die in Tabelle 4 definierten Grenzwerte einhalten. Diese Grenzwerte sind als Auslegungswerte (neuer Radsatz) und als Grenzwerte während des Betriebs (für Instandhaltungszwecke) zu verwenden; (siehe auch Abschnitt 4.5).
Tabelle 4: Grenzwerte während des Betriebs für die geometrischen Abmessungen von Radsätzen
| Bezeichnung | Durchmesser des Rades D (mm) |
Mindestwert (mm) |
Höchstwert (mm) |
| Anforderungen in Verbindung mit dem Teilsystem | |||
| Abstand zwischen Radkontaktflächen (SR) (Spurmaß) S R = A R + Sd (linkes Rad) + Sd (rechtes Rad) |
D > 840 | 1.410 | 1.426 |
| 760 < D< 840 | 1.412 | ||
| 330< D< 760 | 1.415 | ||
| Radrückenabstand (AR) | D > 840 | 1.357 | 1.363 |
| 760 < D< 840 | 1.358 | ||
| 330< D< 760 | 1.359 | ||
Das Maß AR wird in Höhe der Schienenoberkante gemessen. Die Maße AR und SR müssen in beladenem Zustand und im Leerzustand eingehalten werden. In der Dokumentation zur Instandhaltung können vom Hersteller kleinere Toleranzen innerhalb der oben genannten Grenzwerte im Betrieb spezifiziert werden.
Abbildung 1 Symbole für Radsätze

4.2.3.5.2.2 Mechanische und geometrische Merkmale von Rädern
Die Merkmale der Räder müssen den sicheren Fahrbetrieb von Fahrzeugen gewährleisten und die Führung des Fahrzeugs unterstützen.
Mechanisches Verhalten:
Die mechanischen Merkmale des Rades sind durch Berechnungen der mechanischen Festigkeit zu belegen, wobei die drei folgenden Lastfälle berücksichtigt werden müssen: gerades Gleis (zentrierter Radsatz), Kurve (Spurkranz wird gegen die Schiene gedrückt) und Befahren von Weichen und Kreuzungen (Innenfläche des Spurkranzes berührt die Schiene) gemäß EN 13979-1:2003 Abschnitte 7.2.1 und 7.2.2.
Für geschmiedete und gewalzte Räder werden die Entscheidungskriterien in EN 13979-1:2003/A1:2009 Abschnitt 7.2.3 festgelegt. Wenn diese Berechnungen Werte außerhalb der zulässigen Bereiche ergeben, ist zum Beleg der Einhaltung der Anforderungen ein Prüfstandversuch gemäß EN 13979-1:2003/A1:2009 Abschnitt 7.3 erforderlich.
Für geschmiedete und gewalzte Räder ist die Ermüdungsfestigkeit (unter Berücksichtigung der Oberflächenrauheit) anhand eines Ermüdungstests von 10 Mio. Lastwechseln bei einer Vergleichsspannung in dem Radsteg von weniger als 450 MPa (für mechanisch bearbeitete Radscheiben) und 315 MPa (für nicht bearbeitete Radscheiben) mit einer Wahrscheinlichkeit von 99,7 % zu testen. Die Kriterien der Ermüdungsbeanspruchung sind auf die Stahlsorten ER6, ER7, ER8 und ER9 anwendbar. Für andere Stahlsorten sind die Entscheidungskriterien von den bekannten Kriterien der anderen Materialien abzuleiten.
Für Fahrzeuge, die nur für den nationalen Betrieb zugelassen sind, können auch andere Räder verwendet werden. In diesem Fall sind die Entscheidungskriterien und die Kriterien der Ermüdungsbeanspruchung in den nationalen Vorschriften zu spezifizieren. Diese nationalen Vorschriften sind durch die Mitgliedstaaten gemäß Artikel 3 anzuzeigen.
Thermomechanisches Verhalten:
Wenn die Einheit durch Anlegen von Bremsklötzen auf die Lauffläche des Rades gebremst wird, muss das Rad thermomechanisch geprüft werden, wobei die maximale vorgesehene Bremsenergie zu berücksichtigen ist. Zur Prüfung, ob sich die seitliche Auslenkung des Radkranzes während des Bremsvorgangs und die Eigenspannung innerhalb der angegebenen Grenzwerte befinden, muss eine Baumusterprüfung gemäß EN 13979-1:2003/A1:2009 Abschnitt 6.2 durchgeführt werden.
Für geschmiedete und gewalzte Räder sind die Entscheidungskriterien für die Eigenspannung der Werkstoffsorten ER6 und ER7 für Räder in EN 13979-1:2003/A1:2009 Abschnitt 6.2.2 festgelegt. Für andere Stahlsorten sind die Entscheidungskriterien für die Eigenspannung von den bekannten Kriterien der Materialien ER6 und ER7 abzuleiten. Wenn die Eigenspannung im ersten Versuch überschritten wird, kann ein zweiter Versuch gemäß EN 13979-1:2003/A1:2009 Abschnitt 6.3 durchgeführt werden. In diesem Fall ist zusätzlich ein praktischer Bremsversuch gemäß EN 13979-1:2003/A1:2009 Abschnitt 6.4 durchzuführen.
Für Fahrzeuge, die nur für den nationalen Betrieb zugelassen sind, können auch andere Räder verwendet werden. In diesem Fall ist das thermomechanische Verhalten aufgrund des Einsatzes von Bremsklötzen in den nationalen Vorschriften zu spezifizieren. Diese nationalen Vorschriften sind durch die Mitgliedstaaten gemäß Artikel 3 anzuzeigen.
Prüfung der hergestellten Räder:
Ein Prüfverfahren soll sicherstellen, dass während der Herstellungsphase keinerlei Defekte die mechanischen Eigenschaften der Räder beeinträchtigen.
Zu prüfen sind die Zugfestigkeit des Radmaterials, die Härte der Lauffläche, die Bruchfestigkeit, die Schlagfestigkeit, die Materialeigenschaften und die Materialreinheit.
Das Prüfverfahren hat für jedes zu prüfende Merkmal die vorgenommenen Stichproben anzugeben. Geometrische Abmessungen:
Die geometrischen Abmessungen der Räder gemäß Definition in Abbildung 2 müssen die in Tabelle 5 definierten Grenzwerte einhalten. Diese Grenzwerte sind als Auslegungswerte (neues Rad) und als Grenzwerte während des Betriebs (für Instandhaltungszwecke) zu verwenden, (siehe auch Abschnitt 4.5).
Tabelle 5: Grenzwerte während des Betriebs für die geometrischen Abmessungen von Rädern
| Bezeichnung | Durchmesser des Rades D (mm) |
Mindestwert (mm) |
Höchstwert (mm) |
| Radkranzbreite (BR + Grat) | D > 330 | 133 | 145 |
| Spurkranzdicke (Sd) | D > 840 | 22 | 33 |
| 760 < D< 840 | 25 | ||
| 330< D< 760 | 27,5 | ||
| Spurkranzhöhe (Sh) | D > 760 | 27,5 | 36 |
| 630 < D< 760 | 29,5 | ||
| 330< D< 630 | 31,5 | ||
| Spurkranzstirnseite (qR) | > 330 | 6,5 |
Abbildung 2 Symbole für Räder
Einheiten mit Einzelradaufhängung haben abgesehen von den Anforderungen in diesem Abschnitt im Zusammenhang mit Rädern die Anforderungen in dieser TSI für die geometrischen Merkmale von Radsätzen zu erfüllen, die in Abschnitt 4.2.3.5.2.1 aufgeführt werden.
4.2.3.5.2.3 Spurwechselradsätze
Diese Anforderung gilt für Einheiten, die mit Spurwechselradsätzen für den Verkehr auf der europäischen Standard-Nennspurweite und allen anderen Spurweiten ausgestattet sind.
Der Umstellmechanismus des Radsatzes muss die sichere Verriegelung in der korrekten beabsichtigten axialen Position des Rades gewährleisten.
Es muss möglich sein, den Zustand des Systems (verriegelt oder entriegelt) von außen visuell zu prüfen.
Wenn der Radsatz über eine Bremsausrüstung verfügt, müssen die Position sowie die Verriegelung in der korrekten Position dieser Ausrüstung sichergestellt sein.
Die Konformitätsbewertung der Anforderungen in diesem Abschnitt ist ein offener Punkt.
4.2.3.6 Minimaler Bogenhalbmesser
Als minimaler Bogenhalbmesser, der von Fahrzeugen bewältigt werden muss, gilt:
4.2.3.7 Bahnräumer
Diese Anforderung gilt für Einheiten, die mit einem Führerstand ausgestattet sind.
Die Räder müssen gegen Schäden durch kleinere Gegenstände auf den Gleisen geschützt sein. Diese Anforderung kann durch Bahnräumer vor den Rädern der führenden Radsatzwelle erfüllt werden.
Die Höhe des unteren Endes des Bahnräumers über Schienenoberkante muss folgende Werte einhalten:
Dabei sind insbesondere die Radabnutzung und die Absenkung der Einfederungen zu berücksichtigen.
Wenn sich die Unterkante eines Räumschilds im Sinne Abschnitt 4.2.2.5 unter allen Bedingungen weniger als 130 mm über ebenem Gleis befindet, erfüllt es die funktionelle Anforderung für Bahnräumer, sodass es zulässig ist, auf Bahnräumer zu verzichten.
Ein Bahnräumer muss so ausgelegt sein, dass sie einer Mindestlängskraft von 20 kN ohne bleibende Verformung standhält. Diese Anforderung ist durch eine Berechnung zu verifizieren.
Eine Bahnräumer muss so ausgelegt sein, dass bei einer bleibenden Verformung das Gleis oder das Laufwerk nicht verschmutzt wird und der Kontakt mit den Laufflächen, sofern vorhanden, keine Entgleisungsgefahr darstellt.
4.2.4 Bremsen
4.2.4.1 Allgemeines
Das Bremssystem des Zuges soll sicherstellen, dass die Geschwindigkeit des Zuges reduziert bzw. bei abschüssiger Strecke beibehalten oder der Zug innerhalb des maximal zulässigen Bremsweges angehalten werden kann. Das Bremssystem gewährleistet außerdem das Festhalten eines Zuges.
Die wichtigsten Faktoren, die das Bremsvermögen beeinflussen, sind Bremsleistung (Erzeugung von Bremskraft), Zugmasse, Fahrwiderstand des Zuges, Geschwindigkeit und vorhandener Kraftschluss.
Die jeweilige Bremsleistung von Einheiten in verschiedenen Zugverbänden ist so definiert, dass die Gesamtbremsleistung des Zuges daraus abgeleitet werden kann.
Die Bremsleistung wird durch Verzögerungsprofile ermittelt (die Verzögerung ist eine Funktion der Geschwindigkeit mit äquivalenter Reaktionszeit).
Der Bremsweg, die Bremshundertstel (auch "Lambda" oder "Bremsprozente" genannt) und das Bremsgewicht werden ebenfalls verwendet und können durch Berechnung (direkt oder über den Bremsweg) aus Verzögerungsprofilen abgeleitet werden.
Die Bremsleistung kann aufgrund des Beladezustandes des Zuges oder des Einzelfahrzeugs schwanken.
Die erforderliche Mindestbremsleistung eines Zuges für den Betrieb auf einer Strecke mit einer vorgesehenen Geschwindigkeit hängt von den Streckenmerkmalen (Signalsystem, Höchstgeschwindigkeit, Steigungen/ Gefälle, Bremswegreserve) ab und gilt als Merkmal der Infrastruktur.
Die wesentlichen Merkmalsdaten für die Bremsleistung von Zügen oder Einzelfahrzeugen sind Abschnitt 4.2.4.5 dieser TSI zu entnehmen.
Die Schnittstelle zwischen Infrastruktur und Fahrzeugen wird von Abschnitt 4.2.2.6.2 der TSI OPE CR abgedeckt.
4.2.4.2 Wesentliche funktionale und sicherheitsrelevante Anforderungen
4.2.4.2.1 Funktionale Anforderungen
Die folgenden Anforderungen gelten für alle Einheiten. Die Einheiten müssen folgende Funktionen aufweisen:
Das Hauptbremssystem eines Zuges muss folgende Eigenschaften aufweisen:
Die Hauptbremsfunktion kann ergänzt werden durch ein zusätzliches Bremssystem, wie in Abschnitt 4.2.4.7 (Dynamische Bremse - Mit dem Antriebssystem verbundene Bremssysteme) und/oder Abschnitt 4.2.4.8 (Von Kraftschlussbedingungen unabhängiges Bremssystem) beschrieben.
Die Bremsenergie ist durch die Auslegung des Bremssystems so zu verteilen, dass unter normalen Betriebsbedingungen keine Schäden an den Komponenten des Bremssystems auftreten, Dies ist durch eine Berechnung gemäß Abschnitt 4.2.4.5.4 dieser TSI zu belegen.
Die Temperatur, die im Umfeld der Bremskomponenten erreicht wird, muss ebenfalls in der Auslegung des Fahrzeugs berücksichtigt werden.
Die Auslegung des Bremssystems muss Möglichkeiten zur Überwachung und für Prüfungen gemäß Abschnitt 4.2.4.9 dieser TSI vorsehen.
Die nachstehenden Anforderungen von Abschnitt 4.2.4.2.1 gelten für Einheiten, die als Zug betrieben werden können.
Falls die Bremssteuerleitung unbeabsichtigt unterbrochen wird und die Versorgung mit Bremsenergie abbricht oder ausfällt oder eine andere Energiequelle einen Fehler aufweist, ist in Übereinstimmung mit den Sicherheitsanforderungen in Abschnitt 4.2.4.2.2 die Bremsleistung weiterhin sicherzustellen.
So muss insbesondere ausreichend Bremsenergie an Bord des Zuges verfügbar sein (gespeicherte Energie), die im ganzen Zug gemäß Auslegung des Bremssystems verteilt ist, damit die erforderliche Bremsleistung sichergestellt ist.
Aufeinanderfolgendes Anlegen und Lösen der Bremse ist bei der Auslegung des Bremssystems zu berücksichtigen (Unerschöpfbarkeit).
Bei einer unbeabsichtigten Trennung eines Zuges müssen beide Teile des Zuges zum Stillstand gebracht werden. Die Bremsleistung der beiden Teile des Zuges muss nicht identisch mit der Bremsleistung im Nennmodus sein.
Wenn die Zufuhr der Bremsenergie unterbrochen wird oder die Energieversorgung ausfällt, muss es möglich sein, eine Einheit bei maximaler Zuladung (Auslegungsmasse bei maximaler Zuladung) und einem Gefälle mit 35o/oo allein mit der Reibungsbremse des Hauptbremssystems für mindestens zwei Stunden in stationärer Position zu halten.
Das Bremssteuerungssystem der Einheit muss über drei Steuerungsmodi verfügen:
Ein Bremsbefehl muss die Steuerung über das Bremssystem übernehmen - unabhängig vom Steuerungsmodus, selbst wenn ein Befehl zum Lösen der Bremse vorliegt. Diese Anforderung darf ausgesetzt werden, falls der Triebfahrzeugführer den Bremsbefehl beabsichtigt unterdrückt (z.B. Außerkraftsetzen, Entkuppeln usw.).
Bei Geschwindigkeiten über 5 km/h muss der maximale Ruck während einer Bremsung weniger als 4 m/s 3 betragen.
Das Ruckverhalten kann über die Berechnung und die Bewertung des während der Bremsversuche ermittelten Bremsverhaltens abgeleitet werden.
4.2.4.2.2 Sicherheitsanforderungen
Das Bremssystem ist das Mittel zum Anhalten eines Zuges und trägt daher zum Sicherheitsniveau des Eisenbahnsystems bei.
Die in Abschnitt 4.2.4.2.1 beschriebenen funktionalen Anforderungen tragen zur Gewährleistung einer sicheren Funktionsweise des Bremssystems bei; dennoch ist für die Bewertung des Bremsvermögens eine Risikobetrachtung erforderlich, da viele Komponenten beteiligt sind.
Die zu berücksichtigenden gefährlichen Ereignisse und die zugehörigen einzuhaltenden Sicherheitsanforderungen werden in Tabelle 6 beschrieben.
Tabelle 6: Bremssystem - Sicherheitsanforderungen
| Einzuhaltende Sicherheitsanforderung | |||
| Gefährliches Ereignis | Schwere/Zu verhindernde Konsequenzen | Minimal zulässige Anzahl von Fehlerkombinationen | |
| Nr. 1 | Gilt für Einheiten, die mit einem Führerstand ausgestattet sind (Bremsbefehl) | ||
| Nach der Aktivierung eines Notbremsbefehls keine Verzögerung des Zuges aufgrund eines Fehlers im Bremssystem (vollständiger und dauerhafter Verlust der Bremskraft).
Anmerkung: Zu berücksichtigen ist eine Aktivierung durch den Triebfahrzeugführer oder das System Zugsteuerung, Zugsicherung und Signalgebung. Aktivierung durch Fahrgäste (Alarm) nicht zu berücksichtigen. |
katastrophale Folge | 2 (durch Einzelfehler nicht zu akzeptieren) | |
| Nr. 2 | Gilt für Einheiten, die mit einem Antrieb ausgestattet sind | ||
| Nach der Aktivierung eines Notbremsbefehls keine Verzögerung des Zuges aufgrund eines Fehlers des Antriebssystems (Antriebskraft > Bremskraft). | katastrophale Folge | 2 (durch Einzelfehler nicht zu akzeptieren) | |
| Nr. 3 | Gilt für alle Einheiten | ||
| Nach der Aktivierung eines Notbremsbefehls ist der Anhalteweg aufgrund eines Fehlers oder mehrerer Fehler des Bremssystems länger als der im Nennmodus erklärte Anhalteweg.
Anmerkung: Die Leistung im Nennmodus wird in Abschnitt 4.2.4.5.2 definiert. |
Kategorie nicht anwendbar | Einzelfehler, die zu einer Verlängerung des Anhalteweges um mehr als 5 % führen, sind auszuweisen und die Verlängerung des Anhalteweges ist zu bestimmen. | |
| Nr. 4 | Gilt für alle Einheiten | ||
| Nach der Aktivierung eines Feststellbremsbefehls wird keine Bremskraft aufgebracht (vollständiger und dauerhafter Verlust der Bremskraft der Feststellbremse). | Kategorie nicht anwendbar | 2 (durch Einzelfehler nicht zu akzeptieren) | |
Der Begriff "katastrophale Folge" wird in den Gemeinsamen Sicherheitsmethoden, Artikel 3 Absatz 23 definiert.
Zusätzliche Bremssysteme werden in der Sicherheitsanalyse unter den in den Abschnitten 4.2.4.7 und 4.2.4.8 genannten Bedingungen betrachtet.
4.2.4.3 Art des Bremssystems
Einheiten, die für den freizügigen Betrieb ausgelegt und bewertet werden (verschiedene Zusammenstellungen von Einzelfahrzeugen unterschiedlicher Herkunft; Zugverband in der Planungsphase nicht definiert), sind mit einem pneumatischen Bremssystem mit einer Bremsleitung auszustatten, die mit dem UIC-Bremssystem kompatibel ist. Zu diesem Zweck spezifiziert Abschnitt 5.4 "UIC-Bremssystem" der Norm EN 14198:2004 "Anforderungen für die Bremsausrüstung lokbespannter Züge" die anzuwendenden Prinzipien.
Diese Anforderung dient dazu, die technische Kompatibilität der Bremsfunktion zwischen Einzelfahrzeugen unterschiedlicher Herkunft in einem Zug zu gewährleisten.
Es gibt keine Anforderungen an Bremssysteme von Einheiten (Triebzüge oder Einzelfahrzeuge), die in einer nicht trennbaren oder vordefinierten Zusammenstellung bewertet werden.
4.2.4.4 Bremsbefehl
4.2.4.4.1 Notbremsbefehl
Dieser Abschnitt gilt für Einheiten, die mit einem Führerstand ausgestattet sind.
Es müssen mindestens zwei unabhängige Vorrichtungen für Notbremsbefehle zur Verfügung stehen, so dass der Triebfahrzeugführer die Notbremse in seiner normalen Fahrposition mit einer Hand durch eine einfache und einzige Aktion aktivieren kann.
Die aufeinander folgende Aktivierung dieser beiden Vorrichtungen kann beim Nachweis der Einhaltung der Sicherheitsanforderung Nr. 1 von Tabelle 6 des Abschnitts 4.2.4.2.2 berücksichtigt werden.
Bei einer dieser Vorrichtungen muss es sich um einen roten Druckknopf (Pilzdruckknopf) handeln.
Die Position der Notbremsstellung dieser Vorrichtungen muss sich bei der Aktivierung durch eine mechanische Vorrichtung selbst verriegeln. Die Entriegelung dieser Position darf nur durch eine bewusste Handlung möglich sein.
Die Aktivierung der Notbremse muss auch durch das fahrzeugseitige System für Zugsteuerung, Zugsicherung und Signalgebung gemäß Definition in der TSI ZZS CR möglich sein.
Sofern der Befehl nicht abgebrochen wird, muss die Aktivierung der Notbremse die folgenden Vorgänge fortwährend, automatisch und in weniger als 0,25 Sekunden herbeiführen:
4.2.4.4.2 Betriebsbremsbefehl
Dieser Abschnitt gilt für Einheiten, die mit einem Führerstand ausgestattet sind.
Die Betriebsbremsfunktion muss es dem Triebfahrzeugführer ermöglichen (durch Anlegen oder Lösen), die Bremskraft zwischen einem Mindest- und einem Höchstwert in einer Ausprägung von mindestens 7 Schritten (einschließlich Lösen der Bremse und maximaler Bremskraft) anzupassen, um die Geschwindigkeit des Zuges zu regeln.
In einem Zug darf nur ein Betriebsbremsbefehl aktiv sein. Zur Erfüllung dieser Anforderung muss es möglich sein, die Betriebsbremsfunktion aus anderen Betriebsbremsbefehlen von Einheiten zu isolieren, die Bestandteil eines Zugverbandes gemäß der Definition für nicht trennbare und vordefinierte Zugverbände sind.
Wenn die Geschwindigkeit des Zuges mehr als 15 km/h beträgt, muss die Aktivierung der Betriebsbremse automatisch die Abschaltung der Traktionskraft herbeiführen. Die Abschaltung darf nicht zurücksetzbar sein, bevor der Triebfahrzeugführer die Traktionsanforderung aufgehoben hat.
Anmerkung: Eine Reibungsbremse kann bei einer Geschwindigkeit von mehr als 15 km/h für bestimmte Zwecke (z.B. Enteisung, Säuberung der Bremskomponenten usw.) bewusst bei aktivierter Traktionskraft verwendet werden. Ein Einsatz dieser Funktionen darf im Falle der Betriebsbremsaktivierung nicht möglich sein.
4.2.4.4.3 Direktbremsbefehl
Lokomotiven (Einheiten, die für die Beförderung von Güterwagen oder Reisezugwagen ausgelegt sind), die für den freizügigen Fahrbetrieb bewertet werden, sind mit einer direkten Bremse auszustatten.
Die direkte Bremse muss die Anwendung einer Bremskraft ausschließlich auf die betroffene(n) Einheit(en) ermöglichen, wobei andere Einheiten des Zuges ungebremst bleiben.
4.2.4.4.4 Dynamischer Bremsbefehl
Wenn eine Einheit mit einem dynamischen Bremssystem ausgestattet ist:
Weitere Informationen zu regenerativen Bremsen sind Abschnitt 4.2.8.2.3 zu entnehmen.
4.2.4.4.5 Feststellbremsbefehl
Dieser Abschnitt gilt für alle Einheiten.
Der Feststellbremsbefehl muss die Anwendung einer definierten Bremskraft für eine unbegrenzte Zeitspanne herbeiführen, währenddessen eine Unterbrechung der bordseitigen Energiesysteme auftreten kann.
Es muss möglich sein, die Feststellbremse während eines Stillstands in jeder Situation - auch zu Bergungszwecken - zu lösen.
Für Einheiten, die in nicht trennbaren oder vordefinierten Zusammenstellungen bewertet werden, sowie für Lokomotiven die für den Einsatz im allgemeinen Fahrbetrieb bewertet werden, muss der Feststellbremsbefehl automatisch aktiviert werden, wenn die Einheit abgeschaltet wird.
Für andere Einheiten muss der Feststellbremsbefehl entweder manuell oder automatisch aktiviert werden, wenn die Einheit abgestellt wird.
Hinweis: Die Anwendung der Bremskraft kann vom Status der Betriebsbremse abhängen. Sie muss dann wirksam werden, wenn fahrzeugseitig die Energie zum Anlegen der Betriebsbremse abnimmt oder nicht mehr verfügbar ist.
4.2.4.5 Bremsleistung
4.2.4.5.1 Allgemeine Anforderungen
Die Bremsleistung (Verzögerung = Funktion der Geschwindigkeit mit äquivalenter Reaktionszeit) der Einheit (Triebzug oder Einzelfahrzeug) ist durch Berechnung gemäß der Definition in EN 14531-6:2009 unter Berücksichtigung eines ebenen Gleises zu bestimmen.
Jede Berechnung muss für Raddurchmesser durchgeführt werden, die sich jeweils auf ein neues, ein halb abgenutztes und ein abgenutztes Rad beziehen, und muss die Berechnung des geforderten Rad-Schiene-Kraftschlusses (siehe Abschnitt 4.2.4.6.1) einschließen.
Die Reibungskoeffizienten, die von Reibungsbremsvorrichtungen verwendet und in die Berechnung eingehen, sind zu begründen (siehe EN 14531-1:2005 Abschnitt 5.3.1.4).
Die Berechnung der Bremsleistung ist für die beiden folgenden Bremsbefehle durchzuführen: Notbremse und maximale Betriebsbremse.
Die Berechnung der Bremsleistung ist in der Auslegungsphase durchzuführen und nach den gemäß den Abschnitten 6.2.2.2.5 und 6.2.2.2.6 erforderlichen physischen Versuchen zu revidieren (Korrektur der Parameter), um Übereinstimmung mit den Versuchsergebnissen sicherzustellen.
Die endgültige Berechnung der Bremsleistung (in Übereinstimmung mit den Versuchsergebnissen) muss Bestandteil der technischen Dokumentation gemäß Abschnitt 4.2.12 sein.
Die maximale durchschnittliche Verzögerung, die bei gleichzeitiger Verwendung aller Bremsen, einschließlich der vom Rad-Schiene-Kraftschluss unabhängigen Bremse, entsteht, muss weniger als 2,5 m/s2 betragen. Diese Anforderung hängt mit der Längsfestigkeit des Gleises zusammen (Schnittstelle mit der Infrastruktur; siehe TSI INS CR Abschnitt 4.2.7.2).
4.2.4.5.2 Notbremsung
Reaktionszeit:
Für Einheiten, die in nicht trennbaren oder vordefinierten Zusammenstellungen bewertet werden, müssen die äquivalente Reaktionszeit * und die Verzögerungszeit *, die bezogen auf die gesamte Bremskraft im Falle eines Notbremsbefehls bewertet werden, unter den folgenden Werten liegen:
Für Einheiten, die für den freizügigen Fahrbetrieb ausgelegt sind und bewertet werden, muss die Reaktionszeit der Spezifikation für UIC-Bremssysteme entsprechen (siehe auch Abschnitt 4.2.4.3: Das Bremssystem muss mit dem UIC-Bremssystem kompatibel sein).
____
*) Definition gemäß EN 14531-1:2005 Abschnitt 5.3.3.
Berechnung der Verzögerung:
Die Bremsleistung der Notbremse ist für alle Einheiten im Einklang mit EN 14531-6:2009 zu berechnen. Das Verzögerungsprofil und die Anhaltewege sind für die folgenden Ausgangsgeschwindigkeiten 30 km/h; 80 km/h; 120 km/h; 140 km/h; 160 km/h; 200 km/h zu ermitteln (sofern niedriger als die Höchstgeschwindigkeit).
In EN 14531-1:2005 Abschnitt 5.12 wird festgelegt, wie andere Parameter (Bremshundertstel (Lambda), Bremsgewicht) aus der Berechnung der Verzögerung oder aus dem Anhalteweg der Einheit abgeleitet werden können.
Für Einheiten, die für den freizügigen Fahrbetrieb ausgelegt sind und bewertet werden, müssen außerdem die Bremshundertstel (Lambda) bestimmt werden. Die Bremsleistungsberechnung der Notbremse muss unter Verwendung eines Bremssystems in zwei unterschiedlichen Modi durchgeführt werden:
Hinweis: Diese unterschiedlichen Modi und Bedingungen sind insbesondere zu berücksichtigen, wenn moderne Systeme zur Zugsteuerung, Zugsicherung und Signalgebung (wie ETCS) umgesetzt werden, um das Eisenbahnsystem zu optimieren.
Die Bremsleistung der Notbremse muss anhand der drei in Abschnitt 4.2.2.10 definierten Lastbedingungen berechnet werden:
Für jede Lastbedingung ist im Fahrzeugregister gemäß Abschnitt 4.8 dieser TSI das niedrigste Ergebnis (bspw. mit der Folge des längsten Anhaltewegs) der Berechnungen zur "Bremsleistung der Notbremse im Nennmodus" für die zulässige Höchstgeschwindigkeit (revidiert gemäß den Ergebnissen von den unten angeführten erforderlichen Tests) zu erfassen.
4.2.4.5.3 Betriebsbremsung
Berechnung der Verzögerung:
Für alle Einheiten ist die Bremsleistung der Betriebsbremse gemäß EN 14531-6:2009 zu berechnen, wobei sich das Bremssystem im Nennmodus befindet, die Reibungskoeffizienten von Reibungsbremsvorrichtungen die Nennwerte einhalten und die Lastbedingung "Auslegungsmasse bei normaler Zuladung" für die zulässige Höchstgeschwindigkeit besteht.
Maximale Betriebsbremsleistung:
Verfügt die Betriebsbremse über eine höhere Auslegungsleistung als die Notbremse, muss es möglich sein, die maximale Betriebsbremsleistung (entweder im Rahmen der Auslegung des Bremssteuerungssystems oder im Rahmen der Instandhaltung) auf einen niedrigeren Wert als die Notbremsleistung zu begrenzen.
Hinweis: Aus Sicherheitsgründen kann ein Mitgliedstaat die Anforderung stellen, dass die Notbremsleistung höher ist als die maximale Betriebsbremsleistung. In keinem Fall jedoch kann der Zugang von Eisenbahnverkehrsunternehmen, die eine höhere maximale Betriebsbremsleistung einsetzen, verhindert werden, es sei denn, der Mitgliedstaat kann nachweisen, dass die nationalen Sicherheitsansprüche gefährdet werden.
4.2.4.5.4 Berechnungen in Verbindung mit der thermischen Kapazität 12
Dieser Abschnitt gilt für alle Einheiten.
Für Bau- und Instandhaltungsfahrzeuge kann diese Anforderung durch Temperaturmessungen an Rädern und Bremsvorrichtungen geprüft werden.
Durch Berechnung ist die Bremsenergiekapazität zu verifizieren, wobei nachzuweisen ist, dass das Bremssystem so ausgelegt ist, dass es der Umwandlung der Bremsenergie standhält. Die bei dieser Berechnung für die Energie umwandelnden Komponenten des Bremssystems verwendeten Referenzwerte müssen entweder durch einen thermischen Versuch oder aufgrund von Erfahrungswerten belegt werden.
Diese Berechnung muss ein Szenario berücksichtigen, bei dem auf ebenem Gleis unter der Lastbedingung "Auslegungsmasse bei maximaler Zuladung" direkt hintereinander zwei Notbremsungen bei Höchstgeschwindigkeit durchgeführt werden (das Zeitintervall zwischen den beiden Bremsungen entspricht der Zeit, die erforderlich ist, um wieder die Höchstgeschwindigkeit zu erreichen).
Wenn die Einheit nicht eigenständig als Zug betrieben werden kann, muss das in der Berechnung verwendete Zeitintervall zwischen den beiden aufeinanderfolgenden Notbremsungen erfasst werden.
Das maximale Streckengefälle, die zugehörige Länge und Betriebsgeschwindigkeit, für die das Bremssystem in Bezug zur Wärmekapazität der Bremse ausgelegt ist, muss ebenfalls durch eine Berechnung für die Lastbedingung "Auslegungsmasse bei maximaler Zuladung" definiert werden, wobei die Betriebsbremse für die Beibehaltung einer konstanten Betriebsgeschwindigkeit eingesetzt wird.
Für das zu berücksichtigende Gefälle wird folgender 'Referenzfall' vorgeschlagen: Halten einer Geschwindigkeit von 80 km/h bei konstantem Gefälle von 21o/oo über eine Strecke von 46 km.
Leistung:
Eine auf einem Gefälle von 35o/oo dauerhaft stehende Einheit (Zug oder Einzelfahrzeug) muss unter der Lastbedingung "Auslegungsmasse, betriebsbereites Fahrzeug" ohne verfügbare Energieversorgung festgehalten werden können.
Das Festhalten muss mit Hilfe der Feststellbremsfunktion erreicht werden, sowie mit zusätzlichen Vorrichtungen (z.B. Radvorlegern) falls die Feststellbremse die erforderliche Leistung nicht selbstständig erbringen kann. Die erforderlichen zusätzlichen Vorrichtungen müssen an Bord des Zuges vorhanden sein.
Berechnung:
Die Bremsleistung der Feststellbremse der Einheit (Zug oder Einzelfahrzeug) ist gemäß EN 14531-6:2009 zu berechnen.
4.2.4.6 Profil des Rad - Schiene - Kraftschlusses - Gleitschutzsystem
4.2.4.6.1 Grenzwerte des Rad - Schiene - Kraftschlusses
Das Bremssystem einer Einheit muss so ausgelegt sein, dass der berechnete Rad-Schiene-Kraftschluss für die Bremsleistung der Betriebsbremse ohne dynamische Bremse und für die Bremsleistung der Notbremse bei einer Geschwindigkeit von mehr als 30 km/h die folgenden Werte nicht überschreitet:
Die obige Anforderung gilt auch für den in Abschnitt 4.2.4.4.3 beschriebenen Direktbremsbefehl.
Zur Auslegung einer Einheit ist für die Berechnung der Bremsleistung der Feststellbremse einen Rad- Schiene-Kraftschluss von maximal 0,12 vorauszusetzen.
Diese Grenzwerte des Rad-Schiene-Kraftschlusses sind durch Berechnung unter Verwendung des geringsten Raddurchmessers und der drei in Abschnitt 4.2.4.5 angegebenen Lastbedingungen zu verifizieren.
Alle Kraftschlussbeiwerte sind auf zwei Dezimalstellen zu runden.
4.2.4.6.2 Gleitschutzsystem
Ein Gleitschutzsystem dient dazu, den verfügbaren Kraftschluss durch eine gesteuerte Reduzierung und Wiederherstellung der Bremskraft bestmöglich auszunutzen, um zu verhindern, dass Radsätze blockieren und unkontrolliert gleiten, um somit eine Verlängerung des Anhalteweges und mögliche Beschädigungen der Räder zu vermeiden.
Anforderungen bezogen auf die Ausstattung mit und den Einsatz von einem Gleitschutzsystem in einer Einheit:
Einheiten ohne Bremsklötze, die auf die Lauffläche der Räder wirken, mit einer Bremsleistung, die einen berechneten Rad-Schiene-Kraftschlussbeiwert von mehr als 0,11 vorsieht, sind mit einem Gleitschutzsystem auszustatten.
Sie gilt außerdem für das dynamische Bremssystem, das Bestandteil der Betriebsbremse ist, und kann Bestandteil der Notbremse sein (siehe Abschnitt 4.2.4.7).
Anforderungen an die Leistung des Gleitschutzsystems:
Wenn eine Einheit mit einem Gleitschutzsystem ausgestattet ist, muss ein Versuch zur Verifizierung des Wirkungsgrads des Gleitschutzsystems (maximale Verlängerung des Anhalteweges verglichen mit dem Anhalteweg auf trockener Schiene) bei Integration in die Einheit durchgeführt werden.
Die relevanten Komponenten des Gleitschutzsystems sind in der gemäß Abschnitt 4.2.4.2.2 erforderlichen Sicherheitsanalyse der Notbremsfunktion zu berücksichtigen.
4.2.4.7 Dynamische Bremse - Mit dem Antriebssystem verbundene Bremssysteme
Wenn die Bremsleistung der dynamischen Bremse oder eines mit dem Antriebssystem verbundenen Bremssystems in die Bremsleistung der in Abschnitt 4.2.4.5.2 definierten Notbremsung im Nennmodus einbezogen ist, muss die dynamische Bremse oder das mit dem Antriebssystem verbundene Bremssystem:
Hinweis: Bei elektrischen Einheiten muss diese Analyse sich auf Fehler erstrecken, die aus einem Ausfall der über eine externe Stromversorgung gelieferten elektrischen Spannung herrühren.
4.2.4.8 Kraftschluss - unabhängiges Bremssystem
4.2.4.8.1 Allgemein
Bremssysteme, die unabhängig von den Bedingungen des Rad-Schiene-Kraftschlusses eine Bremskraft auf das Gleis aufbringen können, dienen dazu, eine zusätzliche Bremsleistung zu erbringen, wenn eine höhere Leistung erforderlich ist als die, die dem Grenzwert des verfügbaren Rad-Schiene-Kraftschlusses entspricht (siehe Abschnitt 4.2.4.6).
Es ist zulässig, den Beitrag der vom Rad-Schiene-Kraftschluss unabhängigen Bremssysteme in die Bremsleistung der Notbremse gemäß Abschnitt 4.2.4.5 im Nennmodus einfließen zu lassen. In diesem Fall muss das von den Kraftschlussbedingungen unabhängige Bremssystem:
4.2.4.8.2 Magnetschienenbremse
Abschnitt 4.2.3.3.1 dieser TSI verweist auf die Anforderungen an Magnetbremsen, die für das Teilsystem "Zugsteuerung, Zugsicherung und Signalgebung" festgelegt wurden.
Gemäß Abschnitt 4.2.7.2 der TSI INS CR darf eine Magnetschienenbremse als Notbremse eingesetzt werden.
Die geometrischen Merkmale der Endelemente des Magnets in Kontakt mit der Schiene sind für eine der in Anlage 3 von UIC 541-06:Jan 1992 beschriebenen Arten festzulegen.
4.2.4.8.3 Wirbelstrombremse
Dieser Abschnitt beschreibt lediglich Wirbelstrombremsen, die eine Bremskraft zwischen dem Fahrzeug und der Schiene entwickeln.
Abschnitt 4.2.3.3.1 dieser TSI verweist auf die Anforderungen an Wirbelstrombremsen, die für das Teilsystem "Zugsteuerung, Zugsicherung und Signalgebung" festgelegt wurden.
Gemäß Abschnitt 4.2.7.2 der TSI INF CR sind die Bedingungen für den Einsatz von Wirbelstrombremsen nicht harmonisiert.
Daher gelten die Anforderungen, die Wirbelstrombremsen erfüllen müssen, als offener Punkt.
4.2.4.9 Bremszustands - und Fehleranzeige
Dem Zugpersonal müssen Informationen zur Verfügung gestellt werden, anhand derer Einschränkungen in Bezug auf Fahrzeuge (Bremsleistung niedriger als erforderlich) erkannt werden können, für jene besondere Betriebsvorschriften gelten.
Hierzu muss es für das Zugpersonal während bestimmter Betriebsphasen möglich sein, den Zustand (angelegt oder gelöst oder abgesperrt) der Haupt- (Gefahren- und Betriebsbremse) und Feststellbremssysteme sowie den Zustand jedes Teils (einschließlich eines oder mehrerer Aktuatoren) dieser Systeme, das unabhängig gesteuert und/oder isoliert werden kann, zu erkennen.
Wenn die Feststellbremse immer direkt vom Zustand des Hauptbremssystems abhängt, ist eine zusätzliche und spezifische Anzeige für das Feststellbremssystem nicht erforderlich.
Während des Betriebs sind die Phasen "Stillstand" und "in Bewegung" zu berücksichtigen.
Bei Stillstand muss das Zugpersonal in der Lage sein, Folgendes im Innern des Zuges und/oder außerhalb des Zuges zu prüfen:
Wenn sich der Zug in Bewegung befindet, muss der Triebfahrzeugführer in der Lage sein, aus dem Führerstand Folgendes zu prüfen:
Die Funktion, die dem Zugpersonal diese Informationen zur Verfügung stellt, gilt als sicherheitsrelevant, da das Zugpersonal anhand dieser Informationen die Bremsleistung des Zuges bewertet. Werden lokale Informationen über Anzeigen zur Verfügung gestellt, dann gewährleistet der Einsatz harmonisierter Anzeigeeinrichtungen die erforderliche Sicherheitsstufe. Können alle Überprüfungen von einem Ort (etwa vom Führerstand) aus durch das Zugpersonal über ein zentralisiertes Steuerungssystem durchgeführt werden, ist die Sicherheitsstufe dieses Steuerungssystems ein offener Punkt.
Anwendbarkeit auf Einheiten, die für den allgemeinen Fahrbetrieb ausgelegt sind:
Nur Funktionen, die für die Auslegungsmerkmale der Einheit von Belang sind (d. h. die Ausstattung mit einem Führerstand usw.), sind zu berücksichtigen.
Die gegebenenfalls erforderliche Signalübertragung zwischen der Einheit und der anderen gekuppelten Einheit(en) in einem Zug, um Informationen in Bezug auf das Bremssystem auf Zugebene zur Verfügung zu stellen, ist unter Berücksichtigung der funktionellen Aspekte zu dokumentieren.
Diese TSI verpflichtet zu keiner technischen Lösung im Hinblick auf physische Schnittstellen zwischen Einheiten.
4.2.4.10 Anforderungen an die Bremsen zum Abschleppen von Zügen
Alle Bremsen (Gefahrenbremse, Betriebsbremse, Feststellbremse) müssen mit Vorrichtungen ausgestattet sein, mit denen sie gelöst und abgesperrt werden können. Diese Vorrichtungen müssen zugänglich und funktionsfähig sein, unabhängig, ob der Zug angetrieben, nicht angetrieben oder festgehalten ist ohne fahrzeugseitig verfügbare Energie.
Es muss möglich sein, einen Zug ohne fahrzeugseitig verfügbare Energie mit Hilfe eines Bergungs-Triebfahrzeugs zu bergen, das über ein mit dem UIC-Bremssystem (Bremsleitung als Bremssteuerungsleitung) kompatibles pneumatisches Bremssystem verfügt. Außerdem muss es möglich sein, einen Teil des Bremssystems des zu bergenden Zuges mit Hilfe einer Schnittstellenvorrichtung zu steuern.
Anmerkung: Informationen zur mechanischen Schnittstelle enthält Abschnitt 4.2.2.2.4 dieser TSI.
Die Bremsleistung, die das zu bergende Fahrzeug in diesem besonderen Betriebsmodus entwickelt, ist durch Berechnung zu bewerten, sie muss jedoch nicht die gleichen Anforderungen erfüllen wie die in Abschnitt 4.2.4.5.2 beschriebene Bremsleistung. Die Berechnung der Bremsleistung muss Bestandteil der technischen Dokumentation gemäß Abschnitt 4.2.12 sein.
Diese Anforderung gilt nicht für Einheiten, die in einem Zugverband mit weniger als 200 Tonnen (Lastbedingung "Auslegungsmasse, betriebsbereites Fahrzeug") betrieben werden.
4.2.5 Fahrgastspezifische Aspekte
Die folgende nicht erschöpfende Liste dient ausschließlich zu Informationszwecken und nennt die grundlegenden durch die TSI PRM abgedeckten Parameter, die für Einheiten des konventionellen Eisenbahnnetzes zur Beförderung von Fahrgästen gelten:
Zusätzliche Anforderungen werden im Folgenden in diesem Abschnitt spezifiziert.
Die Fahrgastparameter, die in den Abschnitten 4.2.5.7 (Kommunikationsmittel in Zügen) und 4.2.5.8 (Notbremsüberbrückung) der TSI SRT spezifiziert werden, unterscheiden sich von einigen Anforderungen der vorliegenden TSI. Hierfür sind die TSI wie folgt anzuwenden:
Anmerkung: Weitere Schnittstelleninformationen zwischen der vorliegenden TSI und der TSI SRT sind dem Abschnitt 4.2.10.1.3 der vorliegenden TSI zu entnehmen.
4.2.5.1 Sanitäre Systeme
Wenn in einer Einheit ein Wasserhahn zur Verfügung steht und das bereitgestellte Wasser nicht der Trinkwasserrichtlinie (Richtlinie 98/83/EG des Rates) 17 entspricht, muss ein visuelles Zeichen eindeutig darauf hinweisen, dass es sich bei dem ausgegebenen Wasser nicht um Trinkwasser handelt.
Sanitäre Systeme (Toiletten, Waschräume, Bar- und Restauranteinrichtungen) dürfen, sofern vorhanden, nicht die Freisetzung von Materialien zulassen, die für die Gesundheit von Personen oder die Umwelt schädlich sein können.
Freigesetzte Materialien (behandeltes Wasser) müssen die einschlägigen europäischen Verordnungen der EU- Wasserrahmenrichtlinie erfüllen:
Damit die Verteilung freigesetzter Flüssigkeiten auf der Strecke eingeschränkt wird, darf die unkontrollierte Freisetzung aus jeder Quelle nur nach unten erfolgen. Dabei ist unter dem Wagenkasten ein Abstand von maximal 0,7 m ab der Längsmittellinie des Einzelfahrzeugs einzuhalten.
Folgende Angaben sind in der technischen Dokumentation gemäß Abschnitt 4.2.12 zu machen:
4.2.5.2 Lautsprecheranlage : akustische Kommunikationssystem
Dieser Abschnitt hat Abschnitt 4.2.5.7 (Kommunikationsmittel in Zügen) der TSI SRT für konventionelle Fahrzeuge zu ersetzen.
Dieser Abschnitt gilt für alle Einheiten, die für die Beförderung von Fahrgästen ausgelegt sind, sowie für Einheiten, die für die Beförderung von Personenzügen ausgelegt sind.
Züge müssen mindestens mit einem akustischen Kommunikationssystem ausgerüstet sein, und zwar:
Anmerkung: Die Spezifikation und Bewertung dieser Funktion sind Teil der TSI ZZS CR, Abschnitt 4.2.4 "EIRENE-Funktionen".
Die Ausrüstung muss in der Lage sein, mindestens drei Stunden lang unabhängig von der Hauptenergieversorgung im Standby-Betrieb zu verbleiben. Während der Standby-Zeit muss die Ausrüstung in beliebigen Intervallen und Zeiträumen für eine Gesamtdauer von 30 Minuten funktionsfähig sein.
Das Kommunikationssystem ist so auszulegen, dass es bei einer Störung in einem seiner Übertragungselemente weiterhin mindestens mit der Hälfte der Lautsprecher (über den gesamten Zug verteilt) betrieben werden kann, oder es muss eine andere Möglichkeit zur Information der Fahrgäste im Fall einer Störung zur Verfügung stehen.
Einrichtungen für Fahrgäste, um sich mit dem Zugpersonal in Verbindung zu setzen, werden in Abschnitt 4.2.5.3 (Fahrgastalarm) und 4.2.5.5 (Kommunikationseinrichtungen für Fahrgäste) vorgeschrieben.
Anwendbarkeit auf Einheiten, die für den freizügigen Fahrbetrieb ausgelegt sind:
Lediglich Funktionen, die für die Auslegungsmerkmale der Einheit relevant sind (z.B. Vorhandensein eines Führerstands, Schnittstellensystem für Zugpersonal usw.) sind zu berücksichtigen.
Die erforderliche Signalübertragung zwischen der Einheit und der/den anderen gekuppelten Einheit(en) in einem Zug, um auf Zugebene ein Kommunikationssystem zur Verfügung zu stellen, ist unter Berücksichtigung der funktionellen Aspekte umzusetzen und zu dokumentieren.
Diese TSI verpflichtet zu keiner technischen Lösung im Hinblick auf physische Schnittstellen zwischen Einheiten.
![]() |
weiter . | ![]() |
(Stand: 11.03.2019)
Alle vollständigen Texte in der aktuellen Fassung im Jahresabonnement
Nutzungsgebühr: ab 105.- € netto
(derzeit ca. 7200 Titel s.Übersicht - keine Unterteilung in Fachbereiche)
Die Zugangskennung wird kurzfristig übermittelt
? Fragen ?
Abonnentenzugang/Volltextversion