zurück


Methoden zur Bestimmung der physikalisch-chemischen Eigenschaften

A.14. Explosionsgefahr

Anhang V
zur RL 67/548/EWG

zur aktuellen Fassung

A.14. 1. Methode

A.14. 1.1. Einleitung

Die Methode stellt ein Prüfschema dar zur Feststellung, ob feste oder pastenförmige Stoffe bei Flammenzündung (thermische Empfindlichkeit) oder bei Einwirkung von Schlag oder Reibung (mechanische Empfindlichkeit) und ob Flüssigkeiten bei Flammenzündung oder bei Einwirkung von Schlag eine Explosionsgefahr darstellen.

Die Methode besteht aus drei Teilen:

  1. Prüfung der thermischen Empfindlichkeit (1);
  2. Prüfung der mechanischen Empfindlichkeit bei Schlagbeanspruchung (1);
  3. Prüfung der mechanischen Empfindlichkeit bei Reibbeanspruchung (1).

Die Methode liefert Ergebnisse, mit denen die Möglichkeit der Auslösung einer Explosion bei Einwirkung bestimmter, nicht außergewöhnlicher Beanspruchungen festgestellt werden kann. Sie dient nicht zur Feststellung, ob ein Stoff unter beliebigen Bedingungen explosionsfähig ist.

Die Methode eignet sich zur Feststellung, ob ein Stoff unter den besonderen, in der Richtlinie festgelegten Bedingungen eine Explosionsgefahr darstellt (thermische und mechanische Empfindlichkeit). Sie beruht auf der Verwendung mehrerer Arten von Apparaturen, die international weit verbreitet sind (1) und die im allgemeinen aussagekräftige Ergebnisse ergeben. Dabei wird eingeräumt, daß die Methode keine endgültige Lösung darstellt. Es können andere als die genannten Apparaturen verwendet werden, wenn diese international anerkannt sind und die Ergebnisse in angemessener Form mit denen aus den genannten Apparaturen korreliert werden können.

Die Prüfungen brauchen nicht vorgenommen zu werden, wenn verfügbare thermodynamische Daten (z.B. Bildungs-, Zersetzungsenthalpie) und/oder das Fehlen bestimmter reaktiver Gruppen (2) in der Strukturformel zweifelsfrei erkennen lassen, daß sich der Stoff nicht unter Bildung von Gasen oder Freisetzung von Wärme schnell zersetzen kann (d.h. die Substanz keine Explosionsgefahr darstellt). Eine Prüfung der mechanischen Empfindlichkeit bei Reibbeanspruchung ist für Flüssigkeiten nicht erforderlich.

A.14. 1.2. Definitionen und Einheiten

Explosionsgefährlich:

Stoffe, die durch Flammenzündung zur Explosion gebracht werden können oder die gegen Schlag oder Reibung in den genannten Apparaturen empfindlich sind (oder die in alternativen Apparaturen eine höhere mechanische Empfindlichkeit zeigen als 1,3-Dinitrobenzol).

A.14. 1.3. Referenzsubstanzen

1,3-Dinitrobenzol, kristallin, gesiebt auf Korngröße 0,5 mm, technisches Produkt für die Prüfung der Schlag- und Reibempfindlichkeit.

Perhydro-1,3,5-trinitro-1,3,5-triazin (RDX, Hexogen, Cyclonit - CAS 121-82-4), umkristallisiert aus wäßrigem Cyclohexanon, naßgesiebt durch ein Sieb 250 im und als Rückstand auf einem Sieb 150 µm gewonnen, anschließend bei 103 ± 2 °C (über 4 Stunden) getrocknet für die zweite Reihe der Prüfung auf Schlag- und Reibempfindlichkeit.

A.14. 1.4. Prinzip der Methode

Um sichere Bedingungen für die Ausführung der drei Empfindlichkeitsprüfungen zu finden, ist die Durchführung von Vorversuchen erforderlich.

A.14. 1.4.1. Prüfung auf die Sicherheit des Umgangs mit der Substanz (3)

Aus sicherheitstechnischen Gründen werden vor Durchführung der Hauptprüfungen sehr kleine Proben (etwa 10 mg) der Prüfsubstanz ohne Einschluß mit einer Gasbrennerflamme erhitzt, in einem geeigneten Gerät einem Schlag ausgesetzt und unter Verwendung eines Reibstiftes und eines Widerlagers oder in einer beliebigen Reibmaschine gerieben. Das Ziel dieser Vorversuche ist festzustellen, ob der Stoff so empfindlich und so explosiv ist, daß zur Vermeidung von Verletzungen des Prüfenden bei der Durchführung der vorgeschriebenen Empfindlichkeitsprüfungen, insbesondere der Prüfung der thermischen Empfindlichkeit, besondere Schutzmaßnahmen vorzusehen sind.

A.14. 1.4.2. Thermische Empfindlichkeit

Für die Prüfung wird die Prüfsubstanz in einer Stahlhülse erhitzt, die durch Düsenplatten mit Öffnungen verschiedenen Durchmessers verschlossen ist. Auf diese Weise wird bestimmt, ob der Stoff unter intensiver thermischer Beanspruchung bei definiertem Einschluß explodieren kann.

A.14. 1.4.3. Mechanische Empfindlichkeit (Schlag)

Die Prüfung besteht darin, die Prüfsubstanz dem Schlag eines festgelegten Fallgewichtes aus einer festgelegten Höhe auszusetzen.

A.14. 1.4.4. Mechanische Empfindlichkeit (Reibung)

Bei dieser Prüfung werden feste oder pastenförmige Substanzen der Reibung zwischen standardisierten Oberflächen unter festgelegten Bedingungen der Belastung und der relativen Bewegung ausgesetzt.

A.14. 1.5. Qualitätskriterien

Nicht festgelegt.

A.14. 1.6. Beschreibung der Methode

A.14. 1.6.1. Thermische Empfindlichkeit (Flammenzündung)

A.14. 1.6.1.1. Apparatur

Die Apparatur besteht aus einer nicht wiederverwendbaren Stahlhülse mit deren wiederverwendbarer Verschraubung (Abbildung 1), die in eine Heiz- und Schutzvorrichtung eingesetzt wird. Jede Hülse wird aus Blech im Tiefziehverfahren hergestellt (siehe Anlage) und hat einen inneren Durchmesser von 24 mm, eine Länge von 75 mm und eine Wanddicke von 0,5 mm. Am offenen Ende sind die Hülsen mit einem Bund versehen, an dem sie mit der Düsenplatte verschlossen werden können. Der Verschluß besteht aus einer druckfesten Düsenplatte mit einer zentrischen Bohrung, die mit der aus Gewindering und Mutter bestehenden Verschraubung fest mit einer Hülse verbunden wird. Gewindering und Mutter bestehen aus Chrom-Mangan-Stahl (siehe Anlage), der bis 800 °C zunderfest ist. Die Düsenplatten sind 6 mm dick, bestehen aus warmfestem Stahl (siehe Anlage) und stehen mit verschiedenen Öffnungsdurchmessern zur Verfügung.

A.14. 1.6.1.2. Versuchsbedingungen

Normalerweise wird die Substanz im Auslieferungszustand geprüft, obwohl in einigen Fällen, z.B. bei gepreßten, gegossenen oder anderweitig verdichteten Stoffen, vor der Prüfung ein Zerkleinern erforderlich werden kann.

Bei Feststoffen wird die Menge des pro Prüfung zu verwendenden Materials durch ein zweistufiges Probeverfahren für die Befüllung bestimmt. Dabei wird eine gewogene Hülse mit 9 cm3 Prüfsubstanz gefüllt und die Prüfsubstanz unter Anwendung einer Kraft von 80 N, bezogen auf den Gesamtquerschnitt der Hülse, angedrückt. Aus sicherheitstechnischen Gründen oder in solchen Fällen, wo der Aggregatzustand der Probe durch Druck verändert werden kann, können andere Füllverfahren angewendet werden; wenn z.B. die Substanz sehr reibempfindlich ist, empfiehlt sich das Andrücken nicht. Wenn der Stoff sich als kompressibel erweist, wird weitere Substanz hinzugefügt und angedrückt, bis die Hülse bis zu einer Höhe von 55 mm vom Rand gefüllt ist. Danach wird die Gesamtmenge bestimmt, die für die Füllung bis zum Niveau von 55 mm unter dem Rand benötigt wurde, und es werden zwei weitere gleichgroße Portionen zugegeben, wobei auch diese unter Anwendung einer Kraft von je 80 N angedrückt werden. Schließlich wird Substanz entweder zugefügt (unter Andrücken) oder ggf. entnommen, bis die Hülse bis zu einer Höhe von 15 mm unter dem Rand gefüllt ist. Dann wird eine zweite Probebefüllung durchgeführt, die mit einer angedrückten Menge von einem Drittel der Gesamtmenge der ersten Probebefüllung beginnt. Danach werden zwei weitere solche Portionen unter Anwendung von 80 N hinzugefügt und die Höhe der Substanz in der Hülse durch Hinzufügen oder Entnehmen bis auf 15 mm under dem Rand gebracht. Die bei der zweiten Probebefüllung ermittelte Feststoffmenge wird für jeden der eigentlichen Versuche verwendet, wobei das Füllen mit drei gleichgroßen Mengen vorgenommen wird, deren jede durch Anwendung der erforderlichen Kraft auf 9 cm3 komprimiert wird. (Dies kann durch Verwendung von Abstandsringen erleichtert werden.)

Flüssigkeiten und gelatinöse Substanzen werden in die Hülse bis zu einer Höhe von 60 mm eingefüllt, wobei im letzteren Fall besondere Sorge dafür zu tragen ist, daß keine Lunker gebildet werden. Der Gewindering wird von unten auf die Hülse aufgeschoben, die geeignete Düsenplatte eingesetzt und die Mutter nach Aufbringen eines Schmiermittels auf Molybdändisulfid-Basis angezogen. Es muß darauf geachtet werden, daß keine Substanz zwischen dem Bund und der Platte oder im Gewinde eingeschlossen ist.

Zum Aufheizen wird Propangas verwendet, das aus einer handelsüblichen Stahlflasche mit Druckminderer (60 bis 70 mbar) entnommen und über einen Durchflußmesser und einen Verteiler gleichmäßig vier Brennern zugeführt wird (was durch Beobachtung der Flammen der einzelnen Brenner festgestellt werden kann). Die Brenner sind entsprechend Abbildung 1 an dem Schutzkasten angeordnet. Die vier Brenner haben zusammen einen Verbrauch von etwa 3,2 l Propan pro Minute. Die Verwendung alternativer Heizgase und Brenner ist möglich, doch muß die Heizgeschwindigkeit der in Abbildung 3 genannten entsprechen. Für alle Apparaturen ist die Heizgeschwindigkeit regelmäßig unter Verwendung von Hülsen mit Dibutylphthalatfüllung zu kontrollieren (vgl. Abbildung 3).

A.14. 1.6.1.3. Versuchsausführung

Jeder Versuch wird fortgeführt, bis die Stahlhülse entweder zerlegt oder fünf Minuten erhitzt worden ist. Ein Versuch, der zu einer Zerlegung der Hülse in drei oder mehr Teile führt (diese können in einigen Fällen noch durch schmale Metallstreifen miteinander verbunden sein - vgl. Abbildung 2), wird als Explosion eingestuft. Ein Versuch mit weniger Teilen oder überhaupt keiner Zerlegung wird nicht als Explosion eingestuft.

Zunächst wird eine erste Reihe mit drei Versuchen unter Verwendung einer Düsenplatte mit einem Öffnungsdurchmesser von 6,0 mm durchgeführt; wenn es hier zu keiner Explosion kommt, folgt eine zweite Reihe, ebenfalls mit drei Versuchen, mit einer Düsenplatte von 2,0 mm Öffnungsdurchmesser. Tritt während einer dieser Versuchsreihen eine Explosion ein, kann auf die Durchführung weiterer Versuche verzichtet werden.

A.14. 1.6.1.4. Auswertung

Das Versuchsergebnis wird als positiv eingestuft, wenn es in einer der genannten Versuchsreihen zu einer Explosion kommt.

A.14. 1.6.2. Mechanische Empfindlichkeit (Schlag)

A.14. 1.6.2.1. Apparatur (Abbildung 4)

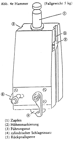
Die wesentlichen Teile eines typischen Fallhammers sind der Block aus Gußstahl mit Fuß, der Amboß, die Säule, die Führungsschienen, die Fallgewichte, die Auslösevorrichtung und ein Probenhalter. Der Stahlamboß -100 mm (Durchmesser) x 70 mm (Höhe) ist oben auf einen Stahlblock - 230 mm (Länge) ξ 250 mm (Breite) x 200 mm (Höhe) - mit Fuß - 450 mm (Länge) x 450 mm (Breite) x 60 mm (Höhe) aufgeschraubt. Eine Säule aus nahtlos gezogenem Stahlrohr ist in einer Halterung befestigt, die auf der Rückseite des Stahlblocks angeschraubt ist. Der Fallhammer ist mit vier Steinschrauben auf einem massiven Betonsockel - 60 cm x 60 cm x 60 cm - so verankert, daß die Führungsschienen absolut senkrecht stehen und das Fallgewicht leicht geführt wird. Fallgewichte zu 5 kg und 10 kg aus massivem Stahl stehen zur Verfügung. Der Schlageinsatz jedes Gewichts besteht aus gehärtetem Stahl, HRC 60 bis 63, und hat einen Mindestdurchmesser von 25 mm.

Die zu untersuchende Probe ist in eine Stempelvorrichtung einzuschließen, die aus zwei koaxial übereinanderstehenden Stahlstempeln und einem Hohlzylinder aus Stahl als Führungsring besteht. Die Stahlstempel, Abmessung 10 (-0,003, -0,005) mm Durchmesser und 10 mm Höhe, müssen polierte Flächen, abgerundete Kanten (Krümmungsradius 0,5 mm) und eine Härte HRC 58 bis 65 haben. Der Hohlzylinder muß einen äußeren Durchmesser von 16 mm, eine geschliffene Bohrung von 10 (+0,005, +0,010) mm und eine Höhe von 13 mm haben. Die Stempelvorrichtung ist auf einen Zwischenamboss (26 mm Durchmesser, 26 mm Höhe) aus Stahl zu stellen und durch einen Zentrierring mit einem Lochkranz zum Abströmen der Explosionsschwaden zu zentrieren.

A.14. 1.6.2.2. Versuchsbedingungen

Die Probe muß ein Volumen von 40 mm3 oder ein der verwendeten Alternativapparatur angepaßtes Volumen haben. Feststoffe sind im trockenen Zustand zu prüfen und wie folgt vorzubereiten:

  1. Pulverförmige Substanzen sind zu sieben (Maschenweite 0,5 mm); der gesamte Siebdurchgang ist zur Prüfung zu verwenden;
  2. Gepreßte, gegossene oder anderweitig verdichtete Substanzen sind zu zerkleinern und zu sieben; zur Prüfung ist die Siebfraktion 0,5 bis 1 mm Durchmesser zu verwenden; sie muß für die Originalsubstanz repräsentativ sein.

Substanzen, die in der Regel pastenförmig geliefert werden, sollten, wenn möglich, im trockenen Zustand geprüft werden, auf jeden Fall aber nach Entfernen der größtmöglichen Menge an Verdünnungsmittel. Bei der Prüfung flüssiger Substanzen ist zwischen dem oberen und dem unteren Stahlstempel ein Abstand von 1 mm zu halten.

A.14. 1.6.2.3. Versuchsausführung

Es werden sechs Einzelversuche unter Verwendung des Fallgewichts von 10 kg und Anwendung einer Fallhöhe von 0,40 m (40 J) ausgeführt. Wenn es während der sechs Versuche bei 40 J zu einer Explosion kommt, sind weitere sechs Einzelversuche mit einem Fallgewicht von 5 kg und einer Fallhöhe von 0,15 m (7,5 J) auszuführen. Bei Verwendung einer anderen Apparatur wird die Probe mit der gewählten Referenzsubstanz unter Benutzung einer anerkannten Auswertungsmethode (z.B. up-and-down technique usw.) verglichen.

A.14. 1.6.2.4. Auswertung

Das Prüfergebnis wird als positiv eingestuft, wenn es mit der beschriebenen Apparatur zumindest in einem der genannten Versuche zu einer Explosion (eine Entflammung und/oder ein Knall steht einer Explosion gleich) kommt oder wenn bei Verwendung einer alternativen Apparatur die Probe empfindlicher ist als 1,3-Dinitrobenzol oder Hexogen (RDX).

A.14. 1.6.3. Mechanische Empfindlichkeit (Reibung)

A.14. 1.6.3.1. Apparatur (Abbildung 5)

Der Reibapparat besteht aus einer Grundplatte (Gußstahl), auf der die Reibvorrichtung, bestehend aus einem feststehenden Porzellanstift und einem beweglichen Porzellanplättchen, montiert ist. Das Porzellanplättchen ist in einem Schlitten befestigt, der in zwei Gleitschienen geführt wird. Der Schlitten wird mit einem Elektromotor über eine Schubstange, eine Exzenterscheibe und ein geeignetes Getriebe so angetrieben, daß das Porzellanplättchen unter dem Porzellanstift eine einmalige Hin- und Rückbewegung von 10 mm Länge ausführt. Der Porzellanstift kann z.B. mit 120 oder 360 N belastet werden.

Die flachen Porzellanplättchen sind aus rein weißem technischem Porzellan gefertigt (Rauhtiefe 9 µm bis 32 µm) und haben die Abmessungen 25 mm (Länge) x 25 mm (Breite) x 5 mm (Höhe). Der zylindrische Porzellanstift ist ebenfalls aus rein weißem technischem Porzellan gefertigt. Er ist 15 mm lang, hat einen Durchmesser von 10 mm und eine rauhe sphärische Endfläche mit einem Krümmungsradius von 10 mm.

A.14. 1.6.3.2. Versuchsbedingungen

Die Probe muß ein Volumen von 10 mm3 oder ein der verwendeten Alternativapparatur angepaßtes Volumen haben.

Feststoffe sind im trockenen Zustand zu prüfen und wie folgt vorzubereiten:

  1. Pulverförmige Substanzen sind zu sieben (Maschenweite 0,5 mm); der gesamte Siebdurchgang ist zur Prüfung zu verwenden;
  2. Gepreßte, gegossene oder anderweitig verdichtete Substanzen sind zu zerkleinern und zu sieben; zur Prüfung ist die Siebfraktion < 0,5 mm Durchmesser zu verwenden.

Pastenförmige Substanzen sollten, wenn möglich, im trockenen Zustand geprüft werden. Falls das nicht = möglich ist, muß die Paste, nach Entfernen der größtmöglichen Menge an Verdünnungsmittel, als 0,5 min -dicker, 2 mm breiter und 10 mm langer Film, der mit einem speziellen Formteil hergestellt wird, geprüft werden.

A.14. 1.6.3.3. Versuchsausführung

Der Porzellanstift wird auf die zu untersuchende Probe gesetzt und belastet. Bei Durchführung des Versuchs muß der Schwammstrich des Porzellanplättchens quer zu dessen Bewegungsrichtung liegen. Es ist darauf zu achten, daß der Stift auf der Probe steht und daß soviel Prüfsubstanz vor dem Stift liegt, daß bei der Plättchenbewegung genügend Prüfsubstanz unter den Stift gelangt. Pastenförmige Substanzen werden mittels einer Lehre (Dicke: 0,5 mm) mit einer Öffnung von 2 mm x 10 mm auf das Plättchen aufgetragen. Das Porzellanplättchen wird unter dem Porzellanstift in einer Zeit von 0,44 s je 10 mm hin- und herbewegt. Jeder Oberflächenbezirk des Plättchens und des Stiftes darf nur einmal verwendet werden; die beiden Enden eines jeden Stiftes können für zwei Versuche, und die beiden Oberflächen eines jeden Plättchens können für je drei Versuche benutzt werden.

Es werden sechs Einzelversuche unter Verwendung einer Belastung von 360 N ausgeführt. Wenn es während der sechs Versuche zu einer positiven Reaktion kommt, sind weitere sechs Einzelversuche mit einer Belastung von 120 N auszuführen. Bei Verwendung einer anderen Apparatur wird die Probe mit der gewählten Referenzsubstanz unter Benutzung einer anerkannten Auswertungsmethode (z.B. up-and-down technique usw.) verglichen.

A.14. 1.6.3.4. Auswertung

Das Prüfergebnis wird als positiv eingestuft, wenn es mit dem beschriebenen Reibapparat zumindest in einem der genannten Versuche zu einer Explosion (ein Knistern und/oder ein Knall oder eine Entflammung stehen einer Explosion gleich) kommt oder wenn bei Verwendung einer alternativen Reibprüfung die äquivalenten Kriterien erfüllt werden.

A.14. 2. Daten

Grundsätzlich gilt ein Stoff als im Sinne dieser Richtlinie explosionsgefährlich, wenn bei der Prüfung auf thermische, Schlag- oder Reibempfindlichkeit ein positives Ergebnis erzielt wird.

A.14. 3. Bericht

A.14. 3.1. Prüfbericht

Im Prüfbericht ist, wenn möglich, folgendes anzugeben:

A.14. 3.2. Interpretation und Bewertung der Ergebnisse

Im Prüfbericht sind alle Ergebnisse anzugeben, die als falsch, anormal oder nicht repräsentativ angesehen werden. Wird ein Versuchsergebnis nicht in die Bewertung einbezogen, so ist dies zu begründen, und es sind die Ergebnisse anderer oder zusätzlicher Versuche aufzuführen. Kann die Abnormität eines Ergebnisses nicht erklärt werden, muß das Ergebnis als solches akzeptiert und der Stoff entsprechend eingestuft werden.

A.14. 4. Literatur

(1) Recommendations on the Transport of Dangerous Goods: Tests and criteria, 1990, United Nations, New York.

(2) Bretherick, L., Handbook of Reactive Chemical Hazards, 4. Auflage, Butterworths, London, ISBN 0-750-60103-5, 1990.

(3) Koenen, H., Ide, K.H. und Swart, K.H., Explosivstoffe, 1961, Bd. 3, 6-13 und 30-42.

(4) NF T 20-033 (Sept. 35). Chemical products for industrial use - Determination of explosion risk.

Anlage
zu RL 67/548/EWG Anhang V A.14

Beispiel für Werkstoffspezifikation zur Prüfung auf thermische Empfindlichkeit (vgl. DIN 1623)

(1) Hülse: Werkstoffspezifikation Nr. 1.0336.505 g

(2) Düsenplatte: Werkstoffspezifikation Nr. 1.4373

(3) Gewindering und Mutter: Werkstoffspezifikation Nr. 1.3817

Abbildung 1: Apparatur für die Prüfung auf thermische Empfindlichkeit

Abbildung 2: Prüfung auf thermische Empfindlichkeit; Beispiele für Splitterbilder

Abbildung 3: Kalibrierung der Heizgeschwindigkeit für die Prüfung auf thermische Empfindlichkeit

Abbildung 4: Apparatur zur Prüfung auf Schlagempfindlichkeit

Abb. 4a: Fallhammer, Vorder- und Seitenansicht; Gesamtansicht

Abb. 4b: Fallhammer unterer Teil

Abb. 4c/4d: Stempelvorrichtung für pulver- oder pastenförmige Substanzen/ -für Flüssigkeiten

Abb. 4e: Hammer

Abbildung 5: Apparatur zur Prüfung auf Reibempfindlichkeit
Abb. 5a Reibapparat; Aufriß und Grundriß
Abb. 5b Ausgangsstellung des Stiftes auf der Probe

weiter .

umwelt-online - Demo-Version


(Stand: 04.08.2022)

Alle vollständigen Texte in der aktuellen Fassung im Jahresabonnement
Nutzungsgebühr: ab 105.- € netto

(derzeit ca. 7200 Titel s.Übersicht - keine Unterteilung in Fachbereiche)

Preise & Bestellung

Die Zugangskennung wird kurzfristig übermittelt

? Fragen ?
Abonnentenzugang/Volltextversion