umwelt-online: Archivdatei - VO (EWG) Nr. 3821/85 über das Kontrollgerät im Straßenverkehr (13)

zurück

2. Kryptografische Systeme und Algorithmen

2.1. Kryptografische Systeme

CSM_001 Fahrzeugeinheiten und Kontrollgerätkarten verwenden ein klassisches RSAPublic-Key-Verschlüsselungssystem, so dass folgende Sicherheitsmechanismen vorliegen:

CSM_002 Fahrzeugeinheiten und Kontrollgerätkarten verwenden ein symmetrisches Triple-DES-Verschlüsselungssystem, so dass ein Mechanismus für die Datenintegrität während des Benutzerdatenaustauschs zwischen Fahrzeugeinheiten und Kontrollgerätkarten und gegebenenfalls die Vertraulichkeit beim Datenaustausch zwischen Fahrzeugeinheiten und Kontrollgerätkarten gewährleistet sind.

2.2. Kryptografsche Algorithmen

2.2.1. RSA-Algorithmus

CSM_003 Der RSA-Algorithmus wird durch folgende Beziehungen vollständig definiert:

X.SK[m] = s = md mod n

X.PK[s] = m = se mod n

Eine ausführlichere Beschreibung der RSA-Funktion findet sich im Referenzdokument PKCS1.

Der im RSA-Algorithmus verwendete öffentliche Exponent e ist eine Ganzzahl zwischen 3 und n-1 sein, wobei gilt: gcd(e, lcm(p-1, q-1))=1.

2.2.2. Hash-Algorithmus

CSM_004 Die Mechanismen für die digitale Signatur verwenden den SHA-1-Hash-Algorithmus gemäß Definition im Referenzdokument SHA-1.

2.2.3. Datenverschlüsselungsalgorithmus

CSM_005 DES-gestützte Algorithmen werden im Modus Cipher Block Chaining verwendet.

3. Schlüssel und Zertifikate

3.1. Erzeugung und Verteilung der Schlüssel

3.1.1. Erzeugung und Verteilung der RSA-Schlüssel

CSM_006 Die Erzeugung der RSA-Schlüssel erfolgt auf drei hierarchischen Funktionsebenen:

CSM_007 Auf europäischer Ebene wird ein einziges Schlüsselpaar (EUR.SK und EUR.PK) erzeugt. Der europäische private Schlüssel wird zur Zertifizierung der öffentlichen Schlüssel der Mitgliedstaaten verwendet. Über alle zertifizierten
Schlüssel sind Belege aufzubewahren. Diese Aufgaben werden von einer Europäischen Zertifizierungsstelle wahrgenommen, die der Europäischen Kommission untersteht.

CSM_008 Auf Mitgliedstaatebene wird ein Mitgliedstaatschlüsselpaar (MS.SK und MS.PK) erzeugt. Öffentliche Mitgliedstaatschlüssel werden von der Europäischen Zertifizierungsstelle zertifiziert. Der private Mitgliedstaatschlüssel wird für die Zertifizierung von öffentlichen Schlüsseln verwendet, die in Geräten (Fahrzeugeinheit oder Kontrollgerätkarte) eingefügt sind. Über alle zertifizierten öffentlichen Schlüssel sind Belege zusammen mit der Kennung des Geräts, für das sie bestimmt sind, aufzubewahren. Diese Aufgaben werden von der Zertifizierungsstelle des jeweiligen Mitgliedstaats wahrgenommen. Ein Mitgliedstaat darf sein Schlüsselpaar in regelmäßigen Abständen ändern.

CSM_009 Auf Geräteebene wird ein einziges Schlüsselpaar (EQT.SK und EQT.PK) erzeugt und in jedes Gerät eingefügt. Die öffentlichen Geräteschlüssel werden von der Zertifizierungsstelle des jeweiligen Mitgliedstaats zertifiziert. Diese Aufgaben können von Geräteherstellern, Geräteintegratoren und Behörden der Mitgliedstaaten wahrgenommen werden. Dieses Schlüsselpaar wird zur Authentisierung, für die digitale Signatur sowie zur Chiffrierung verwendet.

CSM_010 Bei der Erzeugung, ggf. bei der Übertragung sowie bei der Speicherung ist die Vertraulichkeit der privaten Schlüssel zu wahren.

Im folgenden Schaubild ist der Datenfluss dieses Prozesses zusammengefasst:

Europäische Ebene
EUR.SK Europäischer privater Schlüssel
EURTK Europäischer öffentlicher Schlüssel

Belege zertifizierter öffentlicher Mitgliedstaatschlüssel


MSi.CHR
MSi.PK
|
|
Msi.C
EUR.PK
Mitgliedstaatebene (NBtgliedstaat i)
MSi.CHR Kennung Mitgliedstaat i
MSi.SK Privater Schlüssel Mitgliedstaat i
MSi.PK Öffentlicher Schlüssel Mitgliedstaat i

MSi.C Zertifikat für öff. Schlüssel Mitgliedstaat i durch EUR

EUR.PK Europäischer öffentlicher Schlüssel

Belege zertifizierter öffentlicher Geräteschlüssel


EQTj.CHA
EQTj.C
EQTj.PK
|
|
EQTj.C
MSi.C
EUR.PK
Geräteebene (Gerät j)
EQTj.CHa Art Gerät j
EQTJ.CHR Kennung Gerät j
EQTj.SK Privater Schlüssel Gerät j
EQTj.PK Öffentlicher Schlüssel Gerät j

EQTj.C Zertifikat für öffentlichen Schlüssel Gerät j von MS MSi
C Zertifikat für öff. Schlüssel Mitgliedstaat i durch EURi
EUR.PK Europäischer öffentlicher Schlüssel

3.1.2. RSA-Prüfschlüssel

CSM_011 Zum Zwecke der Geräteprüfung (einschließlich Interoperabilitätsprüfungen) erzeugt die Europäische Zertifizierungsstelle ein anderes einziges europäisches Prüfschlüsselpaar und mindestens zwei Mitgliedstaat-Prüfschlüsselpaare, deren öffentliche Schlüssel mit dem europäischen privaten Prüfschlüssel zertifiziert werden. Von den Herstellern werden in Geräte, die der Bauartgenehmigungsprüfung unterzogen werden, Prüfschlüssel eingefügt, die durch einen dieser Mitgliedstaatprüfschlüssel zertifiziert sind.

3.1.3. Schlüssel für Weg-/Geschwindigkeitsgeber

Die Geheimhaltung der drei genannten T-DES-Schlüssel ist während der Erzeugung, der Übermittlung und ggf. der Aufbewahrung in geeigneter Weise zu gewährleisten.

Um die Unterstützung von Kontrollgeräten, die der ISO 16844 entsprechen, zu gewährleisten, stellen die Europäische Zertifizierungsstelle und die Zertifizierungsstellen der Mitgliedstaaten darüber hinaus Folgendes sicher:

CSM_036 Europäische Zertifizierungsstelle erzeugt KmVU und KmWC als zwei von einander unabhängige und einmalige Triple-DES-Schlüssel sowie Km, wobei gilt:

Km = KmVUXOR KmWCc

Die Europäische Zertifizierungsstelle übermittelt diese Schlüssel unter geeigneten Sicherheitsvorkehrungen auf deren Anforderung an die Zertifizierungsstellen der Mitgliedstaaten.

CSM_037 Die Zertifizierungsstellen der Mitgliedstaaten:

3.1.4. Erzeugung und Verteilung von T-DES-Sitzungsschlüsseln

CSM_012 Im Rahmen des Prozesses der gegenseitigen Authentisierung erzeugen Fahrzeugeinheiten und Kontrollgerätkarten die erforderlichen Daten zur Erstellung eines gemeinsamen Triple-DES-Sitzungsschlüssels und tauschen diese Daten aus. Die Vertraulichkeit dieses Datenaustauschs wird durch einen RSAVerschlüsselungsmechanismus geschützt.

CSM_013 Dieser Schlüssel wird für alle nachfolgenden kryptografischen Operationen unter Anwendung des Secure Messaging benutzt. Seine Gültigkeit erlischt am Ende der Sitzung (Entnahme oder Zurücksetzen der Karte) und/oder nach 240 Benutzungen (eine Benutzung des Schlüssels = ein mittels Secure Messaging an die Karte gesandter Befehl und die dazugehörige Antwort).

3.2. Schlüssel

CSM_014 RSA-Schlüssel haben (ungeachtet der Ebene) folgende Länge: Modulus n 1024 Bit, öffentlicher Exponent e max. 64 Bit, privater Exponent d 1024 Bit.

CSM_015 Triple-DES-Schlüssel haben die Form (Ka, Kb, Ka), wobei Ka und Kb unabhängige Schlüssel mit einer Länge von 64 Bit sind. Es wird kein Paritätsfehler-Erkennungsbit gesetzt.

3.3. Zertifikate

CSM_016 Bei den RSA-Public-Key-Zertifikaten muss es sich um Zertifikate entsprechend der Definition "non self descriptive" und "card verifiable" des Referenzdokuments ISO/IEC 7816-8 handeln.

3.3.1. Inhalt der Zertifikate

CSM_017 RSA-Public-Key-Zertifikate sind aus den folgenden Daten in folgender Reihenfolge aufgebaut:

Daten Format Bytes Bemerkung
CPI INTEGER 1 Certificate Profile Identifier (Zertifikatsprofil '01' in dieser Version)
CAR OCTET STRING 8 Certification Authority Reference (Referenz der Zertifizierungsstelle)
CHA OCTET STRING 7 Certificate Holder Authorisation (Autorisierung des Zertifikatsinhabers)
EOV TimeReal 4 Ablauf der Gültigkeit des Zertifikats, bei Nichtverwendung mit 'FF' gefüllt
CHR OCTET STRING 8 Certificate Holder Reference (Referenz des Zertifikatsinhabers)
n OCTET STRING 128 Öffentlicher Schlüssel (Modulus)
e OCTET STRING 8 Öffentlicher Schlüssel (öffentlicher Exponent)
    164  

Anmerkungen:

1. Mit dem Certificate Profile Identifier (Zertifikatsprofilbezeichner, CPI) wird die genaue Struktur eines Authentisierungszertifikats abgegrenzt. Er kann als interner Gerätebezeichner einer relevanten Kopfliste verwendet werden, die die Verkettung der Datenelemente innerhalb des Zertifikats beschreibt.

Die Kopfliste für diesen Zertifikatinhalt lautet wie folgt:

'4D' '16' '5F 29' '01' '42' '08' '5F 4B' '07' '5F 24' '04' '5F 20' '08' '7F 49' '05' '81' '81 80' '82' '08'
Tag
für
erwei-
terte-
Kopf-
leiste
Län-
ge
der
Kopf-
leiste
CPI-
Tag
CPI-
Län-
ge
CAR-
Tag
CAR-
Länge
CHA-
Tag
CHA-
Länge
EOV-
Tag
EOV-
Länge
CHR-
Tag
CHR-
Länge
Tag
für
öffent-
lichen
Schlüs-
sel (kon-
struiert
Länge
der
folgen-
den
DOs
Modu-
lus-
Tag
Modu-
lus-
Länge
Tag
für
öffent-
lichen
Expo-
nenten
Länge
des
öffent-
lichen
Expo-
nenten
 
 

2. "Certification Authority Reference" (Referenz der Zertifizierungsstelle, CAR) identifiziert die das Zertifikat ausstellende Zertifizierungsstelle so, dass das Datenelement gleichzeitig als Authority Key Identifier (Schlüsselbezeichner der Stelle) zur Angabe des öffentlichen Schlüssels der Zertifizierungsstelle verwendet werden kann (Kodierung siehe "Key Identifier").

3. Mit "Certificate Holder Authorisation" (Autorisierung des Zertifikatsinhabers, CHA) wird die Berechtigung des Zertifikatsinhabers ausgewiesen. Sie besteht aus der Kontrollgerätanwendungs-ID sowie aus der Art des Geräts, für das das Zertifikat bestimmt ist (entsprechend dem Datenelement EquipmentType, "00" für einen Mitgliedstaat).

4. "Certificate Holder Reference" (Referenz des Zertifikatsinhabers, CHR) dient der eindeutigen Identifizierung des Zertifikatsinhabers, so dass das Datenelement gleichzeitig als "Subject Key Identifier" (Schlüsselbezeichner des Subjekts) zur Angabe des öffentlichen Schlüssels des Zertifikatsinhabers verwendet werden kann.

5. "Key Identifiers" (Schlüsselbezeichner, KID) dienen der eindeutigen Identifizierung des Zertifikatsinhabers oder der Zertifizierungsstellen. Sie sind wie folgt kodiert:

5.1. Gerät (FE oder Karte):

Daten Seriennummer
Gerät
Datum Art Hersteller
Länge 4 Byte 2 Byte 1 Byte 1 Byte
Wert Ganze Zahl MM JJ BCD-Kod. Herstellerspezifisch Herstellercode

Dem Hersteller einer FE ist die Kennung des Geräts, in das die Schlüssel eingefügt werden, bei der Beantragung von Zertifikaten unter Umständen nicht bekannt.

Ist dem Hersteller die Gerätekennung bekannt, sendet er sie mit dem öffentlichen Schlüssel zwecks Zertifizierung an die Zertifizierungsstelle seines Mitgliedstaats. Das Zertifikat enthält dann die Gerätekennung, und der Hersteller muss sicherstellen, dass Schlüssel und Zertifikat in das vorgesehene Gerät eingefügt werden. Der Key Identifier weist die obengenannte Form auf.

Ist dem Hersteller die Gerätekennung nicht bekannt, muss er jeden Antrag auf ein Zertifikat eindeutig kennzeichnen und diese Kennung zusammen mit dem öffentlichen Schlüssel zwecks Zertifizierung an die Zertifizierungsstelle seines Mitgliedstaats senden. Das Zertifikat enthält dann die Antragskennung. Nach dem Einfügen der Schlüssel in das Gerät muss der Hersteller der Zertifizierungsstelle die Zuordnung des Schlüssels zum Gerät mitteilen (d. h. Kennung des Zertifikatsantrags, Gerätekennung). Der Key Identifier (KID) hat folgende Form:

Daten Seriennummer
Zertifikatsantrag
Datum Art Hersteller
Länge 4 Byte 2 Byte 1 Byte 1 Byte
Wert Ganzzahl MM JJ BCD- Kod. 'FF' Herstellercode

5.2. Zertifizierungsstelle:

Daten Kennung Seriennr.
Schlüssel
Zusatzinfo Bezeichner
Länge 4 Byte 1 Byte 2 Byte 1 Byte
Wert 1 Byte numerischer Landescode

3 Byte alphanumerischer Landescode
Ganze Zahl Zusatzkodierung (CA- spezifisch)

'FF FF' bei Nichtverwendung
'01'

Mit der Seriennummer Schlüssel werden die verschiedenen Schlüssel eines Mitgliedstaates unterschieden, sofern der Schlüssel verändert wird.

6. Den Zertifikatsprüfern ist implizit bekannt, dass es sich bei dem zertifizierten Schlüssel um einen für die Authentisierung, für die Verifizierung der digitalen Signatur und für die vertrauliche Chiffrierung relevanten RSA-Schlüssel handelt (das Zertifikat enthält keine Objektkennung zur entsprechenden Spezifizierung).

3.3.2. Ausgestellte Zertifikate

CSM_018 Das ausgestellte Zertifikat ist eine digitale Signatur mit teilweiser Wiederherstellung des Zertifikatsinhalts gemäß ISO/IEC 9796-2 Verschlüsselung von Signature* mit angefügter "Certification Authority Reference".

X.C = X.CA.SK['6A' || Cr || Hash(Cc) || 'BC'] || Cn || X.CAR

wobei Zertifikatsinhalt

= Cc = Cr || Cn
  106 Byte   58 Byte

Anmerkungen:

  1. Dieses Zertifikat ist 194 Byte lang.
  2. Die von der Signatur verdeckte CAR wird ebenfalls an die Signatur angefügt, so dass der öffentliche Schlüssel der Zertifizierungsstelle zur Verifizierung des Zertifikats gewählt werden kann.
  3. Dem Zertifikatsprüfer ist der von der Zertifizierungsstelle für die Unterzeichnung des Zertifikats verwendete Algorithmus implizit bekannt.
  4. Die zu dem ausgestellten Zertifikat gehörende Kopfliste lautet wie folgt:
'7F 21' '09' '5F 37' '81 80' '5F 38' '3A' '42' '08'
TAg für CV-
Zertificat
konstruiert
Länge der
folgenden
DOs
Signatur- Tag Signatur- länge Rest-Tag Restlänge CAR-Tag CAR_Länge
 

3.3.3. Verifizieren und Entpacken der Zertifikate

Das Verifizieren und Entpacken der Zertifikate besteht in der Verifizierung der Signatur entsprechend ISO/IEC 9796-2, wodurch der Zertifikatsinhalt und der enthaltene öffentliche Schlüssel aufgerufen werden: X.PK = X.CA.PKoX.C, sowie in der Verifizierung der Gültigkeit des Zertifikats.

CSM_019 Dazu gehören folgende Schritte:

Verifizierung der Signatur und Abrufen des Inhalts:

Sind die Prüfungen positiv, ist das Zertifikat echt und sein Inhalt ist C'

Verifizierung der Gültigkeit. Von C':

Abruf und Speicherung des öffentlichen Schlüssels, des Key Identifier, der Certificate Holder Authorisation und des Ablaufs der Gültigkeit des Zertifikats von C':

4. Gegenseitige Authentisierung

Die gegenseitige Authentisierung zwischen Karten und FE beruht auf dem folgenden Prinzip:

Jede Seite weist der Gegenseite nach, dass sie sich im Besitz eines gültigen Schlüsselpaares befindet, dessen öffentlicher Schlüssel von der Zertifizierungsstelle des jeweiligen Mitgliedstaats zertifiziert worden ist, die wiederum von der europäischen Zertifizierungsstelle zertifiziert wurde.

Der Nachweis wird geführt, indem mit dem privaten Schlüssel eine von der Gegenseite gesandte Zufallszahl signiert wird; die Gegenseite muss bei der Verifizierung dieser Signatur die Zufallszahl wiederherstellen können.

Der Mechanismus wird von der FE beim Einstecken der Karte ausgelöst. Er beginnt mit dem Austausch der Zertifikate und dem Entpacken der öffentlichen Schlüssel und endet mit der Erzeugung eines Sitzungsschlüssels.

CSM_020 Folgendes Protokoll findet Verwendung (Pfeile weisen auf Befehle und ausgetauschte Daten hin, siehe Anlage 2):

 

5. Vertraulichkeits-, Integritäts- und Authentisierungsmechanismen für die Datenübertragung FE-Karte

5.1. Secure Messaging

CSM_021 Die Integrität der Datenübertragung zwischen FE und Karte wird durch Secure Messaging entsprechend den Referenzdokumenten ISO/IEC 7816-4 und ISO/IEC 7816-8 geschützt.

CSM_022 Müssen Daten während der Übertragung geschützt werden, wird den innerhalb des Befehls oder der Antwort gesandten Datenobjekten ein Datenobjekt "Cryptographic Checksum" angefügt. Diese kryptografische Prüfsumme wird vom Empfänger verifiziert.

CSM_023 Die kryptografische Prüfsumme der innerhalb eines Befehls gesandten Daten integriert den Befehlskopf sowie alle gesandten Datenobjekte (= > CLa = '0C', und alle Datenobjekte sind mit Tags zu kapseln, bei denen b1=1).

CSM_024 Die Statusinformationsbytes der Antwort sind durch eine kryptografische Prüfsumme zu schützen, wenn die Antwort kein Datenfeld enthält.

CSM_025 Kryptographische Prüfsummen sind 4 Byte lang.

Somit weisen Befehle und Antworten bei Anwendung von Secure Messaging folgende Struktur auf:

Die DO werden als Teilmenge der in ISO/IEC 7816-4 beschriebenen Secure-Messaging-DOs verwendet:

Tag Mnemonik Bedeutung
181' TPV Klarwert, nicht in BER-TLV kodiert (durch CC zu schützen)
'97' TLE Wert von Le im ungesicherten Befehl (durch CC zu schützen)
199' TSW Status-Info (durch CC zu schützen)
'8E' TCC Kryptografische Prüfsumme (CC)
'87' TPI CG Padding Indicator Byte || Cryptogram (Klarwert, nicht in BER-TLV kodiert)

Ausgehend von einem ungesicherten Befehl-Antwort-Paar:

Befehlskopf Befehlskörper
CLa INS P1 P2 [Lc-Feld] [Datenfeld] [Le-Feld]
vier Byte L Byte, bezeichnet als B1 bis BL


Antwortkörper Antwortendmarke
[Datenfeld] SW1 SW2
Lr Datenbyter zwei Byte

lautet das entsprechende gesicherte Befehl-Antwort-Paar:

Gesicherter Befehl:

Befehls-
kopf (CH)
Befehlskörper
CLa INS
P1 P2
[Neues Lc-Feld] [Neues Datenfeld] [Le-Feld neu]
'OC' Länge des
neuen
Daten-
felds
TPV LPV PV TLE LLE Le TCC LCC CC '00'
'81' Lc Daten-
feld
'97' '01' Le '8E' '04' CC

In die Prüfsumme zu integrierende Daten = CH || PB || TPV || LPV || PV || TLE || LLE || Le || PB

PB = Padding Bytes (80 .. 00) gemäß ISO-IEC 7816-4 und ISO 9797, Methode 2.

Die PV und LE der DO sind nur vorhanden, wenn entsprechende Daten im ungesicherten Befehl vorliegen.

Gesicherte Antwort:

  1. Wenn das Antwortdatenfeld nicht leer ist und vertraulichkeitsgeschützt werden muss:
    Antwortkörper Antwortendmarke
    [Neues Datenfeld] SW1 SW2 neu
    TPV LPV PV TCC LCC CC  
    '81' Lr Daten-
    feld
    '8E' '04' CC

    In die Prüfsumme zu integrierende Daten = TPI CG || LPI CG || PI CG || PB

  2. Wenn das Antwortdatenfeld nicht leer ist und vertraulichkeitsgeschützt werden muss:
    Antwortkörper Antwortendmarke
    [Neues Datenfeld] SW1 SW2 neu
    TPI CG LPI CG PI CG TCC LCC CC  
    '87'   PI || CG '8E' '04' CC  

    Daten in CG: nicht-BER-TLV-kodierte Daten und Füllbytes.

    In die Prüfsumme zu integrierende Daten = TPI CG || LPI CG || PI CG || PB

  3. Wenn das Antwortdatenfeld leer ist:
    Antwortkörper Antwortendmarke
    [Neues Datenfeld] SW1 SW2 neu
    TSW LSW SW TCC LCC CC  
    '99' '02' SW1
    SW2
    neu
    '8E' '04' CC

    In die Prüfsumme zu integrierende Daten = TSW || LSW || SW || PB

5.2. Behandlung von Secure-Messaging-Fehlern

CSM_026 Erkennt die Kontrollgerätkarte beim Interpretieren eines Befehls einen SM-Fehler, müssen die Status-Bytes ohne SM zurückgesandt werden. Laut ISO/IEC 7816-4 sind folgende Status-Bytes zur Anzeige von SM-Fehlern definiert:

'66 88': Verifizierung der kryptografischen Prüfsumme fehlgeschlagen,

'69 87': erwartete SM-Datenobjekte fehlen,

'69 88': SM-Datenobjekte inkorrekt.

CSM_027 Sendet die Kontrollgerätekarte Status-Bytes ohne SM-DO oder mit einem fehlerhaften SM-DO zurück, muss die FE den Vorgang abbrechen.

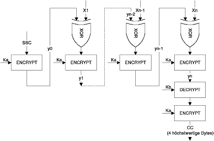
5.3. Algorithmus zur Berechnung der kryptografischen Prüfsummen

CSM_028 Kryptografische Prüfsummen werden unter Verwendung eines üblichen MAC gemäß ANSI X9.19 mit DES aufgebaut:

E() bedeutet Verschlüsselung mit DES, und D() bedeutet Entschlüsselung mit DES.

Die vier höchstwertigen Bytes der kryptografischen Prüfsumme werden übertragen.

CSM_029 Während der Schlüsselvereinbarung wird der "Send Sequence Counter" (Sendesequenzzähler, SSC) wie folgt initialisiert:

Anfangs-SSC: Rnd3 (4 niedrigstwertige Bytes) || Rnd1 (4 niedrigstwertige Bytes).

CSM_030 Vor jeder Berechnung eines MAC wird der SSC um 1 erhöht (d. h. der SSC für den ersten Befehl ist Anfangs-SSC + 1, der SSC für die erste Antwort Anfangs-SSC + 2).

Die folgende Abbildung zeigt die Berechnung des MAC:

 

5.4. Algorithmus zur Berechnung von Kryptogrammen für Vertraulichkeits-DOs

CSM_031 Kryptogramme werden mit TDEa im Modus TCBC entsprechend den Referenzdokumenten TDES und TDES-OP sowie mit dem Nullvektor als Initial Value-Block berechnet.

Die folgende Abbildung zeigt die Anwendung von Schlüsseln in TDES:

 

6. Digitale Signaturmechanismen beim Herunterladen von Daten

CSM_032 Das Intelligent Dedicated Equipment (IDE) speichert die von einem Gerät (FE oder Karte) während eines Übertragungsvorgangs empfangenen Daten in einer Datei ab. Diese Datei muss die Zertifikate MSi.C und EQT.C enthalten. Die Datei enthält digitale Signaturen von Datenblöcken gemäß Anlage 7, Protokolle zum Herunterladen der Daten.

CSM_033 Für die digitalen Signaturen heruntergeladener Daten wird ein digitales Signatursystem mit Anhang verwendet, so dass die heruntergeladenen Daten auf Wunsch ohne Dechiffrierung lesbar sind.

6.1. Erzeugung der Signatur

CSM_034 Die Erzeugung der Datensignatur durch das Gerät folgt dem in Referenzdokument PKCS1 definierten digitalen Signatursystem mit Anhang und der Hash-Funktion SHA-1:

Signatur = EQT.SK['00' || '01' || PS || '00' || DER(SHA-1(Data))]

PS = Füllstring von Oktetten mit Wert 'FF', so dass die Länge 128 beträgt.

DER(SHA-1(M)) ist die Kodierung des Algorithmus-ID für die Hash-Funktion und den Hash-Wert in einen ASN.1-Wert des Typs DigestInfo (Kodierungsregeln):

'30'||'21'||'30'||'09'||'06'||'05'||'2B'||'0E'||'03'||'02'||'1A'||'05'||'00'||'04'||' 14'||Hash-Wert.

6.2. Verifizierung der Signatur

CSM_035 Die Verifizierung der Datensignatur bei heruntergeladenen Daten folgt dem in Referenzdokument PKCS1 definierten digitalen Signatursystem mit Anhang und der Hash-Funktion SHA-1.

Der europäische Schlüssel EUR.PK muss dem Prüfer von unabhängiger Seite her (für ihn verlässlich) bekannt sein.

Die folgende Tabelle veranschaulicht das Protokoll, das von einem IDE mit Kontrollkarte zur Verifizierung der Integrität von heruntergeladenen und in ESM (externen Speichermedien) gespeicherten Daten herangezogen werden kann. Die Kontrollkarte wird zur Dechiffrierung digitaler Signaturen verwendet. Diese Funktion kann in diesem Fall nicht im IDE implementiert sein.

Das Gerät, das die zu analysierenden Daten heruntergeladen und signiert hat, ist mit EQT bezeichnet.

.

Adapter für Fahrzeuge der Klassen M1und N1 Anlage 12 09b


1. Abkürzungen und Referenzdokumente
1.1. Abkürzungen
NF noch festzulegen
FE Fahrzeugeinheit
1.2. Referenznormen

ISO 16844-3 Road vehicles - Tachograph systems - Part 3: Motion sensor interface (Straßenfahrzeuge - Fahrtenschreibersysteme - Teil 3: Schnittstelle Weg- und Geschwindigkeitsgeber)

2. Allgemeine Eigenschaften und Funktionen des Adapters
2.1. Allgemeine Beschreibung des Adapters
ADA_ 001 Der Adapter stellt gesicherte, permanent die Fahrzeuggeschwindigkeit und die zurückgelegte Wegstrecke darstellende Daten für eine angeschlossene FE bereit.

Der Adapter ist nur für die Fahrzeuge bestimmt, die mit Kontrollgerät nach Maßgabe dieser Verordnung ausgestattet sein müssen.

Der Adapter wird nur in den unter (rr) bestimmten Fahrzeugen eingebaut und genutzt, in denen der Einbau eines bestehenden Weg- und/oder Geschwindigkeitsgebers anderer Art, der ansonsten den Bestimmungen dieses Anhangs und dessen Anlagen 1 bis 11 entspricht, mechanisch unmöglich ist.

Der Adapter wird nicht gemäß Anlage 10 ( Abschnitt 3.1) dieses Anhangs mechanisch mit einem bewegten Fahrzeugteil verbunden, sondern an die durch integrierte Sensoren oder alternative Schnittstellen generierten Geschwindigkeits-/Entfernungsimpulse angeschlossen.

ADA_ 002 Ein bauartgenehmigter Weg- und/oder Geschwindigkeitsgeber (gemäß den Bestimmungen dieses Anhangs, Abschnitt VIII - Bauartgenehmigung von Kontrollgeräten und Kontrollgerätkarten) ist im Adaptergehäuse anzubringen, das daneben einen Impulskonverter enthält, der die Eingangsimpulse in den eingebetteten Weg- und/oder Geschwindigkeitsgeber einspeist. Der eingebettete Weg- und/oder Geschwindigkeitsgeber ist an die FE anzuschließen, so dass die Schnittstelle zwischen der FE und dem Adapter den Anforderungen der Norm ISO16844-3 entspricht.
2.2. Funktionen
ADA_ 003 Der Adapter muss folgende Funktionen erfüllen:
  • Entgegennahme und Anpassung der eingehenden Geschwindigkeitsimpulse,
  • Einspeisung der Eingangsimpulse in den eingebetteten Weg- und/oder Geschwindigkeitsgeber,
  • sämtliche Funktionen des eingebetteten Weg- und/oder Geschwindigkeitsgebers unter Bereitstellung gesicherter Weg- und Geschwindigkeitsdaten an die FE.
2.3. Sicherheit
ADA_ 004 Für den Adapter erfolgt keine Sicherheitszertifizierung gemäß den in Anlage 10 dieses Anhangs definierten allgemeinen Sicherheitsanforderungen für Weg- und/oder Geschwindigkeitsgeber. Stattdessen gelten die in Abschnitt 4.4 dieses Anhangs festgelegten sicherheitsbezogenen Anforderungen.
3. Vorschriften für das Kontrollgerät bei Nutzung eines Adapters

Die Vorschriften in diesem und den folgenden Kapiteln geben Hinweise für die Auslegung der Vorschriften dieses Anhangs bei der Nutzung eines Adapters. Die entsprechenden Randnummern sind in Klammern angegeben.

ADA_ 005 Das Kontrollgerät eines mit einem Adapter ausgestatteten Fahrzeugs muss - sofern in dieser Anlage nicht anders angegeben - allen Bestimmungen dieser Anlage entsprechen.
ADA_ 006 Ist ein Adapter eingebaut, so besteht das Kontrollgerät aus Verbindungskabeln, dem Adapter (anstelle eines Weg- bzw. Geschwindigkeitsgebers) und einer FE ( 001).
ADA_ 007 Die Funktion zur Feststellung von Ereignissen und/oder Störungen des Kontrollgeräts wird wie folgt geändert:
  • Das Ereignis "Unterbrechung der Stromversorgung" wird, sofern sich das Kontrollgerät nicht in der Betriebsart Kalibrierung befindet, von der FE bei einer 200 Millisekunden überschreitenden Unterbrechung der Stromversorgung des eingebetteten Weg- und/oder Geschwindigkeitsgebers ausgelöst ( 066).
  • Jede 200 Millisekunden überschreitende Unterbrechung der Stromversorgung des Adapters muss eine ebenso lang dauernde Unterbrechung der Stromversorgung des eingebetteten Weg- und/oder Geschwindigkeitsgebers bewirken. Die Unterbrechungsschwelle des Adapters wird vom Hersteller des Adapters festgelegt.
  • Das Ereignis "Datenfehler Weg und Geschwindigkeit" wird von der FE bei einer Unterbrechung des normalen Datenflusses zwischen dem eingebetteten Weg- und/oder Geschwindigkeitsgeber und der FE und/oder bei einem Datenintegritäts- oder Datenauthentizitätsfehler während des Datenaustauschs zwischen dem eingebetteten Weg- und/oder Geschwindigkeitsgeber und der FE ausgelöst ( 067).
  • Das Ereignis "Versuch Sicherheitsverletzung" wird, sofern sich das Kontrollgerät nicht in der Betriebsart Kalibrierung befindet, von der FE bei jedem anderen die Sicherheit des eingebetteten Weg- und/oder Geschwindigkeitsgebers berührenden Ereignis ausgelöst ( 068).
  • Die Störung 'Kontrollgerät' wird, sofern sich das Kontrollgerät nicht in der Betriebsart Kalibrierung befindet, von der FE bei jeder Störung des eingebetteten Weg- und/oder Geschwindigkeitsgebers ausgelöst ( 070).
ADA_ 008 Die mit dem eingebetteten Weg- bzw. Geschwindigkeitsgeber zusammenhängenden Störungen des Adapters müssen durch das Kontrollgerät feststellbar sein ( 071).
ADA_ 009 Die Kalibrierungsfunktion der FE muss die automatische Koppelung des eingebetteten Weg und/oder Geschwindigkeitsgebers mit der Fahrzeugeinheit erlauben ( 154, 155).
ADA_ 010 Der Begriff 'Weg- und/oder Geschwindigkeitsgeber' in den Allgemeinen Sicherheitsanforderungen in Anlage 10 dieses Anhangs bezieht sich auf den eingebetteten Weg- und/oder Geschwindigkeitsgeber.
4. Bauart- und Funktionsmerkmale des Adapters
4.1. Entgegennahme und Anpassung eingehender Geschwindigkeitsimpulse
ADA_ 011 Die Eingangsschnittstelle des Adapters nimmt Frequenzimpulse entgegen, die die Fahrzeuggeschwindigkeit und die zurückgelegte Wegstrecke darstellen. Elektrische Eigenschaften der Eingangsimpulse:

Durch den Hersteller NF. Erforderlichenfalls kann die korrekte Verbindung der Eingangsschnittstelle des Adapters mit dem Fahrzeug durch Anpassungen ermöglicht werden, zu denen ausschließlich der Adapterhersteller und die zugelassene Werkstatt, die den Adapter einbaut, befugt sind.

ADA_ 012 Die Eingangsschnittstelle des Adapters muss gegebenenfalls die Frequenzimpulse der eingehenden Geschwindigkeitsimpulse um einen festen Faktor multiplizieren oder durch einen festen Faktor dividieren können, um das Signal an einen Wert in der durch diesen Anhang festgelegten Spanne für den Parameter 'Kfactor' (4.000 bis 25.000 Imp/km) anzupassen. Dieser feste Faktor darf nur vom Adapterhersteller und der zugelassenen Werkstatt, die den Adapter einbaut, programmiert werden.
4.2. Einspeisung der Eingangsimpulse in den eingebetteten Weg- und/oder Geschwindigkeitsgeber
ADA_ 013 Die Eingangsimpulse werden - gegebenenfalls wie oben ausgeführt angepasst - in den eingebetteten Weg- und/oder Geschwindigkeitsgeber eingespeist, so dass jeder Eingangsimpuls vom Weg und/oder Geschwindigkeitsgeber erfasst wird.
4.3. Eingebetteter Weg- und/oder Geschwindigkeitsgeber
ADA_ 014 Der eingebettete Weg- und/oder Geschwindigkeitsgeber wird durch die Eingangsimpulse stimuliert und kann auf diese Weise - als wäre er mechanisch mit einem bewegten Fahrzeugteil verbunden - Weg- und Geschwindigkeitsdaten generieren, die die Fahrzeugbewegung exakt darstellen.
ADA_ 015 Die Kenndaten des eingebetteten Weg- und/oder Geschwindigkeitsgebers werden von der FE zur Identifizierung des Adapters genutzt ( 077).
ADA_ 016 Die im eingebetteten Weg- und/oder Geschwindigkeitsgeber gespeicherten Installationsdaten werden als Informationen zur Installation des Adapters betrachtet ( 099).
4.4. Sicherheitsanforderungen
ADA_ 017 Das Adaptergehäuse muss so konstruiert sein, dass es nicht geöffnet werden kann. Es muss plombiert sein, damit jeder Versuch der physischen Manipulation leicht erkennbar ist (z.B. durch Sichtprüfung, siehe ADA_ 035).
ADA_ 018 Die Entfernung des eingebetteten Weg- und/oder Geschwindigkeitsgebers aus dem Adapter darf nicht ohne Zerstörung der Plombe(n) des Adaptergehäuses oder der Plombe zwischen dem Weg und/oder Geschwindigkeitsgeber und dem Adaptergehäuse möglich sein (siehe ADA_ 035).
ADA_ 019 Der Adapter stellt sicher, dass nur vom Adaptereingang stammende Weg- und Geschwindigkeitsdaten angenommen und verarbeitet werden.
4.5. Leistungsmerkmale
ADA_ 020 Der Adapter muss im Temperaturbereich (vom Hersteller in Abhängigkeit von der Einbauposition NF) voll einsatzbereit sein ( 159).
ADA_ 021 Der Adapter muss bei einer Luftfeuchtigkeit von 10 % bis 90 % voll einsatzbereit sein ( 160).
ADA_ 022 Der Adapter muss gegen Überspannung, Falschpolung der Stromversorgung und Kurzschluss geschützt sein ( 161).
ADA_ 023 Der Adapter muss hinsichtlich der elektromagnetischen Verträglichkeit der Richtlinie 2006/28/EG der Kommission * zur Anpassung der Richtlinie 72/245/EWG des Rates entsprechen und gegen elektrostatische Entladungen und Störgrößen geschützt sein ( 162).
4.6. Werkstoffe
ADA_ 024 Der Adapter muss den Schutzgrad (vom Hersteller in Abhängigkeit von der Einbauposition NF) erfüllen ( 164, 165).
ADA_ 025 Das Adaptergehäuse muss gelb sein.
4.7. Markierungen
ADA_ 026 Am Adapter ist ein typenschild mit folgenden Angaben anzubringen ( 169):
  • Name und Anschrift des Adapterherstellers,
  • Teilnummer und Baujahr des Adapters,
  • Prüfzeichen des Adaptertyps oder des Typs des Kontrollgeräts, das den Adapter enthält,
  • Einbaudatum des Adapters,
  • Identifizierungsnummer des Fahrzeugs, in das der Adapter eingebaut ist.
ADA_ 027 Das typenschild muss daneben folgende Angaben enthalten (sofern diese nicht unmittelbar an der Außenseite des eingebetteten Weg- und/oder Geschwindigkeitsgebers ersichtlich sind):
  • Name des Herstellers des eingebetteten Weg- und/oder Geschwindigkeitsgebers,
  • Teilnummer und Baujahr des eingebetteten Weg- und/oder Geschwindigkeitsgebers,
  • Prüfzeichen des eingebetteten Weg- und/oder Geschwindigkeitsgebers.
5. Einbau des Kontrollgeräts bei Nutzung eines Adapters
5.1. Einbau
ADA_ 028 Zum Einbau in Fahrzeuge bestimmte Adapter dürfen nur an Fahrzeughersteller oder an Werkstätten, die von den zuständigen Behörden der Mitgliedstaaten zum Einbau, zur Aktivierung und zur Kalibrierung digitaler Fahrtenschreiber zugelassen sind, geliefert werden.
ADA_ 029 Die zugelassenen Werkstätten, die den Einbau von Adaptern vornehmen, passen die Eingangsschnittstelle an und wählen gegebenenfalls das Umrechnungsverhältnis für das Eingangssignal.
ADA_ 030 Die zugelassenen Werkstätten, die den Einbau von Adaptern vornehmen, plombieren das Adaptergehäuse.
ADA_ 031 Der Adapter muss möglichst nahe an dem Fahrzeugteil angebracht werden, das ihm die Eingangsimpulse bereitstellt.
ADA_ 032 Die Anschlusskabel für den Adapter müssen rot (Stromversorgung) und schwarz (Masse) sein.
5.2. Plombierung
ADA_ 033 Für die Plombierung gelten folgende Vorschriften:
  • Das Adaptergehäuse muss plombiert sein (siehe ADA_ 017).
  • Das Gehäuse des eingebetteten Weg- und/oder Geschwindigkeitsgebers muss plombiert sein, es sei denn, der eingebettete Weg- und/oder Geschwindigkeitsgeber kann nicht ohne Zerstörung der Plombe(n) des Adaptergehäuses entfernt werden (siehe ADA_ 018).
  • Die Befestigung des Adaptergehäuses am Fahrzeug muss plombiert sein.
  • Die Verbindung zwischen dem Adapter und dem Gerät, dass diesem seine Eingangsimpulse bereitstellt, muss (soweit nach vernünftigem Ermessen möglich) an beiden Enden plombiert sein.
6. Einbauprüfungen, Nachprüfungen und Reparaturen
6.1. Regelmäßige Nachprüfungen
ADA_ 034 Bei Verwendung eines Adapters ist bei jeder regelmäßigen Nachprüfung (d. h. entsprechend den Randnummern 256 bis 258 von Kapitel VI des Anhangs I B) des Kontrollgeräts Folgendes zu überprüfen ( 257):
  • Vorhandensein der entsprechenden Prüfzeichen auf dem Adapter,
  • Unversehrtheit der Plomben des Adapters und seiner Anschlüsse,
  • Einbau des Adapters gemäß der Angabe auf dem Einbauschild,
  • Einbau des Adapters gemäß den Adapter- und/oder
  • Fahrzeugherstellerspezifikationen,
  • Zulässigkeit des Einbaus eines Adapters in das überprüfte Fahrzeug.
7. Bauartgenehmigung für das Kontrollgerät bei Nutzung eines Adapters
7.1. Allgemeines
ADA_ 035 Kontrollgeräte sind zusammen mit dem Adapter zur Bauartgenehmigung vorzulegen ( 269).
ADA_ 036 Adapter können entweder als eigenständiges Gerät oder als Bauteil eines Kontrollgeräts zur Bauartgenehmigung vorgelegt werden.
ADA_ 037 Die Bauartgenehmigung muss Funktionsprüfungen umfassen, die sich auch auf den Adapter erstrecken. Die positiven Ergebnisse der einzelnen Prüfungen werden in einem geeigneten Zertifikat ausgewiesen ( 270).
7.2. Funktionszertifikat
ADA_ 038 Ein Funktionszertifikat für einen Adapter oder ein Kontrollgerät, das einen Adapter einschließt, wird dem Adapterhersteller erst erteilt, nachdem die folgenden Mindestfunktionsprüfungen erfolgreich bestanden wurden:
Nr. Prüfung Beschreibung Randnummern der Anforderungen
1. Administrative Prüfung
1.1. Dokumentation Richtigkeit der Dokumentation zum Adapter  
2. Sichtprüfung
2.1. Übereinstimmung des Adapters mit der Dokumentation  
2.2. Kennung / Markierungen des Adapters ADA_026, ADA_027
2.3. Werkstoffe des Adapters 163 bis 167 ADA_025
2.4. Plombierung ADA_017, ADA_018, ADA_035
3. Funktionsprüfungen
3.1. Einspeisung der Geschwindigkeitsimpulse in den eingebetteten Weg- und/oder Geschwindigkeitsgeber ADA_013
3.2. Entgegennahme und Anpassung eingehender Geschwindigkeitsimpulse ADA_011, ADA_012
3.3. Messgenauigkeit Wegstrecke/Geschwindigkeit 022 bis 026
3.3 Überprüfen, dass der Adapter gegenüber Magnetfeldern unempfindlich ist. Andernfalls überprüfen, dass der Adapter auf Magnetfelder reagiert, die die Ermittlung von Fahrzeugbewegungsdaten stören, so dass eine angeschlossene FE Sensorstörungen ermitteln, aufzeichnen und speichern kann, zugehörige Randnummer 161a.
4. Umweltprüfungen
4.1. Prüfergebnisse des Herstellers Ergebnisse der Umweltprüfung des Herstellers ADA_020, ADA_021, ADA_022, ADA_023, ADA_024
5. EMV
5.1. Störaussendung und Störanfälligkeit Prüfung auf Einhaltung der Richtlinie 2006/28/EG ADA_023
5.2. Prüfergebnisse des Herstellers Ergebnisse der Umweltprüfung des Herstellers ADA_023

.

  Prüfzeichen und Bauartgenehmigungsbogen Anhang II

I. Prüfzeichen 06 13

  1. Das Prüfzeichen besteht
  2. Das Prüfzeichen wird auf dem typenschild eines jeden Gerätes, auf jedem Schaublatt und auf jeder Kontrollgerätkarte(n) t angebracht. Das Prüfzeichen muß unverwischbar und gut lesbar sein.
  3. Die nachstehend angegebenen Abmessungen des Prüfzeichens sind in Millimetern ausgedrückt und stellen die Mindestabmessungen dar. Die Relationen zwischen diesen Abmessungen müssen eingehalten werden.

 

________
1) Diese Zahlen sind lediglich als Beispiel angeführt

II. Bauartgenehmigungsbogen für Produkte, die die Anforderungen von Anhang I erfüllen

Der Mitgliedstaat, der eine Bauartgenehmigung erteilt hat, stellt dem Antragsteller eine Bauartgenehmigung nach folgendem Muster aus. Für die Bekanntgabe der erteilten Bauartgenehmigung oder etwaigen Entzug verwendet jeder Mitgliedstaat Durchschriften dieses Dokuments.

Bauartgenehmigungsbogen
Name der zuständigen Behörde .....................................

Mitteilung betreffend1

  • die Bauartgenehmigung für das Muster eines Kontrollgeräts
  • den Entzug der Bauartgenehmigung für das Muster eines Kontrollgeräts
  • die Genehmigung für ein Schaublatt
  • den Entzug der Genehmigung für ein Schaublatt
...................................................................................................................................

Nr. der Bauartgenehmigung ..................

1. Fabrik- oder Handelsmarke ....................................................................................

2. Bezeichnung des Musters ........................................................................................

3. Name des Herstellers ..............................................................................................

4. Anschrift des Herstellers ..........................................................................................

....................................................................................................................................

5. Zur Bauartgenehmigung vorgelegt am .......................................................................

6. Prüfstelle .................................................................................................................

7. Datum und Nummer des Prüfprotokolls ...................................................................

8. Datum der Bauartgenehmigung ................................................................................

9. Datum des Entzugs der Bauartgenehmigung ..............................................................

10. Muster des Gerätes (oder der Geräte), für das (die) das Schaublatt zulässig ist ........

...................................................................................................................................

11. Ort .......................................................................................................................

12. Datum ..................................................................................................................

13. Anlagen (Beschreibungen usw.) ............................................................................

14. Bemerkungen

.............................................
(Unterschrift)

1) Unzutreffendes ist zu streichen.

III. Bauartgenehmigungsbogen für Produkte, die die Anforderungen von Anhang I B erfüllen

Der Mitgliedstaat, der eine Bauartgenehmigung erteilt hat, stellt dem Antragsteller einen Bauartgenehmigungsbogen nach dem im Folgenden dargestellten Muster aus. Für die Unterrichtung der anderen Mitgliedstaaten über erteilte Bauartgenehmigungen bzw. deren etwaigen Entzug verwendet der jeweilige Mitgliedstaat Kopien dieses Dokuments.

Bauartgenehmigungsbogen für Produkte, die die Anforderungen von Anhang I B erfüllen
Name der zuständigen Behörde .................................................................................

Mitteilung betreffend *:

[ ] die Bauartgenehmigung für

[ ] den Entzug der Bauartgenehmigung für

[ ] das Muster eines Kontrollgeräts

[ ] die Kontrollgerätkomponente ** ............................................................................

[ ] eine Fahrerkarte

[ ] eine Werkstattkarte

[ ] eine Unternehmenskarte

[ ] eine Kontrollkarte

Bauartgenehmigung Nr. ...........................

1. Hersteller- oder Handelsmarke .............................................................................

2. Modellbezeichnung ...............................................................................................

3. Name des Herstellers ............................................................................................

4. Anschrift des Herstellers ........................................................................................

5. Vorgelegt zur Bauartgenehmigung für .....................................................................

6. Prüfstelle(n) ...........................................................................................................

7. Datum und Nr. der Prüfung(en) ..............................................................................

8. Datum der Bauartgenehmigung ...............................................................................

9. Datum des Entzugs der Bauartgenehmigung ............................................................

10. Muster der Kontrollgerätkomponente(n), für die die Komponente bestimmt ist .........................................

11. Ort ......................................................................................................................

12. Datum ......................................................................................................................

13. Anlagen (Beschreibungen usw.) ...............................................................

14. Bemerkungen (gegebenenfalls Position von Siegeln)

........................................................................
(Unterschrift)

*) Zutreffendes ankreuzen.

**) Komponente angeben, auf die sich die Mitteilung bezieht.


ENDE

umwelt-online - Demo-Version


(Stand: 15.07.2022)

Alle vollständigen Texte in der aktuellen Fassung im Jahresabonnement
Nutzungsgebühr: ab 105.- € netto

(derzeit ca. 7200 Titel s.Übersicht - keine Unterteilung in Fachbereiche)

Preise & Bestellung

Die Zugangskennung wird kurzfristig übermittelt

? Fragen ?
Abonnentenzugang/Volltextversion