umwelt-online: Richtlinie 2000/14/EG Geräuschemissionen von Geräten und Maschinen im Freien (4)

zurück

.

Verfahren zur Ermittlung des Luftschalls, der von zur Verwendung im Freien vorgesehenen Geräten und Maschinen erzeugt wird  Anhang III

Anwendungsbereich

Dieser Anhang enthält die Verfahren zur Messung des Luftschalls, die zur Ermittlung der Schalleistungspegel von Geräten und Maschinen, die unter diese Richtlinie fallen, im Hinblick auf das Konformitätsbewertungsverfahren dieser Richtlinie anzuwenden sind.

In Teil a dieses Anhangs wird für jeden in Artikel 2 Absatz 1 genannten Geräte- und Maschinentyp zur Messung des Schalldruckpegels auf einer Meßfläche, die die Schallquelle umgibt, und zur Berechnung des von der Schallquelle erzeugten Schalleistungspegels folgendes festgelegt:

In Teil B dieses Anhangs wird für jeden in Artikel 2 Absatz 1 genannten Geräte- und Maschinentyp folgendes angegeben:

Bei der Prüfung bestimmter Geräte- und Maschinentypen kann der Hersteller oder sein in der Gemeinschaft ansässiger Bevollmächtigter grundsätzlich eine der Geräuschemissionsgrundnormen des Teils a auswählen und den Geräte- und Maschinentyp unter den in Teil B festgelegten Betriebsbedingungen messen. Bei Streitigkeiten ist jedoch die in Teil B empfohlene Geräuschemissionsgrundnorm zusammen mit den ebenfalls in Teil B festgelegten Betriebsbedingungen anzuwenden.

Teil A
Geräuschemissionsgrundnormen

Zur Ermittlung des Schalleistungspegels von zur Verwendung im Freien vorgesehenen Geräten und Maschinen im Sinne von Artikel 2 Absatz 1 können im allgemeinen die Geräuschemissionsgrundnormen

EN ISO 3744: 1995

EN ISO 3746: 1995

angewandt werden, sofern dabei folgende Zusatzbestimmungen beachtet werden:

1 Meßunsicherheiten

Bei den Konformitätsbewertungsverfahren in der Entwurfsphase werden Meßunsicherheiten nicht berücksichtigt.

2 Betrieb der Schallquelle während der Prüfung

2.1 Drehzahl des Gebläses

Ist der Motor der Geräte und Maschinen oder die jeweilige Hydraulik mit einem oder mehreren Gebläsen ausgestattet, müssen diese während der Prüfung in Betrieb sein. Die Drehzahl des Gebläses ist - gemäß einer der nachstehenden Bedingungen - vom Hersteller der Geräte und Maschinen anzugeben und muß im Prüfprotokoll erscheinen. Diese Drehzahl wird bei weiteren Messungen zugrunde gelegt.

  1. Direkt an den Motor angeschlossenes Gebläse
    Wenn das Gebläse direkt vom Motor angetrieben wird und/oder direkt an die Hydraulik angeschlossen ist (z.B. durch Riemenantrieb), muß es während der Prüfung in Betrieb sein.
  2. Stufenweise regelbares Gebläse
    Wenn das Gebläse mit verschiedenen Drehzahlen betrieben werden kann, ist die Prüfung wahlweise nach einem der folgenden Verfahren durchzuführen:
  3. Stufenlos regelbares Gebläse
    Bei stufenlos regelbarem Gebläse ist die Prüfung entweder nach Buchstabe oder mit einer vom Hersteller bestimmten Drehzahl durchzuführen, die mindestens 70 % der maximalen Drehzahl betragen muß.

2.2 Prüfung von Geräten und Maschinen ohne Last

Für diese Messungen müssen der Motor und die Hydraulik der Geräte und Maschinen gemäß der Betriebsanleitung auf Betriebstemperatur gebracht werden. Ferner sind die Sicherheitsanforderungen zu beachten.

Die Prüfung ist bei Stillstand der Geräte und Maschinen ohne Betrieb der Arbeitsaggregate oder der Fahreinrichtung durchzuführen. Bei der Prüfung wird der Motor im Leerlauf mit mindestens der Nenndrehzahl, die der Nennleistung (Nutzleistung) * entspricht, betrieben.

Wird die Maschine durch einen Kraftstromerzeuger oder mit Strom aus dem Netz betrieben, muß die Frequenz des Versorgungsstroms, der vom Hersteller für den Motor angegeben ist, bei Maschinen mit Induktionsmotor auf * 1 Hz stabil sein, und bei Maschinen mit einem Kommutatormotor muß die zugeführte Spannung ± 1 % der Nennspannung entsprechen. Die zugeführte Spannung wird am Stecker eines fest mit dem Gerät verbundenen Kabels oder einer Leitung gemessen bzw. am Einlaß der Maschinen bzw. des Geräts, wenn das Kabel abgetrennt werden kann. Die Wellenform des vom Kraftstromerzeuger zugeführten Stroms muß ähnlich der des Netzstroms sein.

Wenn die Maschine batteriebetrieben ist, muß die Batterie ganz aufgeladen sein.

Die Drehzahl und die entsprechende Nennleistung sind vom Hersteller der Geräte und Maschinen anzugeben und müssen im Prüfprotokoll erscheinen.

Haben die Geräte und Maschinen mehrere Motoren, müssen diese bei den Prüfungen gleichzeitig laufen. Ist dies nicht möglich, ist jede mögliche Kombination der Motoren zu prüfen.

2.3 Prüfung von Geräten und Maschinen unter Last

Für diese Messungen müssen der Motor (Antrieb) und die Hydraulik der Geräte und Maschinen gemäß der Betriebsanleitung auf Betriebstemperatur gebracht werden. Ferner sind die Sicherheitsanforderungen zu beachten. Während der Prüfung dürfen Signaleinrichtungen wie Hupen oder die Warneinrichtung für Rückwärtsfahrt nicht betätigt werden.

Die Drehzahl der Geräte und Maschinen ist aufzuzeichnen und muß im Prüfprotokoll angegeben werden.

Verfügen die Geräte und Maschinen über mehrere Motoren und/oder Aggregate, müssen diese während der Prüfungen gleichzeitig laufen. Ist das nicht möglich, ist jede mögliche Betriebskombination der Motoren und Aggregate zu prüfen.

Für jeden unter Last zu prüfenden Geräte- oder Maschinentyp sind die Bedingungen für den Betrieb unter Last festzulegen, die im Prinzip ähnliche Wirkungen und Belastungen erzeugen wie beim tatsächlichen Arbeitsbetrieb.

2.4 Prüfung handbetätigter Geräte und Maschinen

Für jeden Typ handbetätigter Geräte und Maschinen sind typische Betriebsbedingungen festzulegen, die ähnliche Wirkungen und Belastungen erzeugen wie beim tatsächlichen Arbeitsbetrieb.

3 Berechnung des Meßflächen-Schalldruckpegels

Der Meßflächen-Schalldruckpegel ist mindestens dreimal zu messen. Wenn mindestens zwei der ermittelten Werte um nicht mehr als 1 dB voneinander abweichen, sind keine weiteren Messungen nötig. Andernfalls sind die Messungen fortzusetzen, bis zwei Werte ermittelt werden, die um nicht mehr als 1 dB voneinander abweichen. Der bei der Berechnung des Schalleistungspegels zu verwendende A-bewertete Meßflächen-Schalldruckpegel ist der arithmetische Mittelwert der beiden höchsten Werte, die um nicht mehr als 1 dB voneinander abweichen.

4 Angaben im Prüfprotokoll

Der A-bewertete Schalleistungspegel einer geprüften Schallquelle ist als gerundete volle Zahl anzugeben (bei weniger als 0,5 wird abgerundet; ab 0,5 wird aufgerundet).

Der Bericht muß die zur Identifizierung der Schallquelle erforderlichen technischen Daten sowie die Geräuschmeßnorm und die akustischen Werte enthalten.

5 Zusätzliche Mikrophonpositionen auf der halbkugelförmigen Meßfläche (EN ISO 3744:1995)

Zusätzlich zu den in den Abschnitten 7.2.1 und 7.2.2 der Norm EN ISO 3744:1995 beschriebenen Meßflächen kann eine halbkugelförmige Meßfläche mit 12 Mikrophonen verwendet werden. Die kartesischen Koordinaten der 12 Mikrophonpositionen auf der halbkugelförmigen Fläche mit dem Radius r sind der nachstehenden Tabelle zu entnehmen. Der Radius r der Halbkugel muß größer/gleich dem Doppelten der größten Abmessung des Bezugsquaders sein. Der Bezugsquader ist definiert als der kleinstmögliche Quader, der die Geräte und Maschinen (ohne Anbauteile) gerade einschließt und an der schallreflektierenden Fläche endet. Der Radius der Halbkugel ist auf den nächsthöheren der folgenden Werte zu runden: 4, 10, 16 m.

Die Anzahl (12) der Mikrophone kann auf 6 verringert werden, aber die Mikrophonpositionen 2, 4, 6, 8, 10 und 12 entsprechend den Anforderungen des Abschnitts 7.4.2 von EN ISO 3744:1995 müssen auf jeden Fall verwendet werden.

In der Regel ist die Anordnung mit 6 Mikrophonpositionen auf einer halbkugelförmigen Meßfläche zu verwenden. Sind in den Geräuschmeßnormen dieser Richtlinie für ein bestimmtes Gerät oder eine bestimmte Maschine andere Spezifikationen vorgegeben, so sind diese Spezifikationen zugrunde zu legen.

Tabelle Koordinaten der 12 Mikrophonpositionen

Mikrophon Nummer x/r y/r z
1 1 0 1,5 m
2 0,7 0,7 1,5 m
3 0 1 1,5 m
4 -0,7 0,7 1,5 m
5 -1 0 1,5 m
6 -0,7 -0,7 1,5 m
7 0 -1 1,5 m
8 0,7 -0,7 1,5 m
9 0,65 0,27 0,71 r
10 -0,27 0,65 0,71r
11 -0,65 -0,27 0,71r
12 0,27 -0,65 0,71r

6 Umgebungskorrektur K2A

Die Geräte und Maschinen sind auf einer schallreflektierenden Fläche aus Beton oder nichtporösem Asphalt zu prüfen; in diesem Fall gilt für die Umgebungskorrektur K2A = 0. Sind in den Geräuschmeßnormen dieser Richtlinie für ein bestimmtes Gerät oder eine bestimmte Maschine andere Spezifikationen vorgegeben, so sind diese Spezifikationen zugrunde zu legen.

Abbildung: Zusätzliche Anordnung von Mikrophonen auf der halbkugelförmigen Meßfläche (12 Mikrophonpositionen)

   

Teil B
Geräuschmessnormen für verschiedene Geräte und Maschinen

0 Geräte und Maschinen, die ohne Last geprüft werden

Geräuschemissionsgrundnorm: EN ISO 3744:1995

Meßumgebung

Schallreflektierende Fläche aus Beton oder nichtporösem Asphalt

Umgebungskorrektur

K2A = 0

Meßfläche/Anzahl der Mikrophonpositionen/Meßabstand

  1. Wenn die größte Abmessung des Bezugsquaders höchstens 8 m ist:
    Halbkugel/6 Mikrophonpositionen gemäß Teil a Nummer 5/gemäß Teil a Nummer 5;
  2. wenn die größte Abmessung des Bezugsquaders größer als 8 m ist:
    Quader gemäß ISO 3744:1995 mit Meßabstand d = 1 m.

Betriebsbedingungen während der Prüfung

Prüfung ohne Last

Die Geräuschmessungen sind gemäß Teil a Nummer 2.2 durchzuführen.

Beobachtungszeitraum/Ermittlung der Schalleistungspegel bei verschiedenen Betriebsbedingungen

Der Beobachtungszeitraum muß mindestens 15 s betragen.

1 Hubarbeitsbühnen mit Verbrennungsmotor

Siehe Abschnitt 0

2 Freischneider

Geräuschemissionsgrundnorm: EN ISO 3744:1 995

Meßumgebung

ISO 10884:1 995

Meßfläche/Anzahl der Mikrophonpositionen/Meßabstand

ISO 10884:1995

Betriebsbedingungen während der Prüfung

Prüfung unter Last

ISO 10884:1995, Abschnitt 5.3

Beobachtungszeitraum

ISO 10884:1995

3 Bauaufzüge für den Materialtransport

Siehe Abschnitt 0

Der geometrische Mittelpunkt des Motors ist über dem Mittelpunkt der Halbkugel zu positionieren. Der Aufzug ist ohne Last zu betreiben und muß die Halbkugel gegebenenfalls in Richtung von Punkt 1 verlassen.

4 Baustellenbandsägemaschinen

Geräuschemissionsgrundnorm: EN ISO 3744:1995

Meßfläche/Anzahl der Mikrophonpositionen/Meßabstand

ISO 7960:1995 Anhang J mit d = 1m

Betriebsbedingungen während der Prüfung

Prüfung unter Last

Gemäß ISO 7960:1995, Anhang J (nur Abschnitt J2b).

Beobachtungszeitraum

Gemäß 1S0 7960:1 995, Anhang J.

5 Baustellenkreissägemaschinen

Geräuschemissionsgrundnorm: EN ISO 3744:1995

Meßfläche/Anzahl der Mikrophonpositionen/Meßabstand

ISO 7960:1 995, Anhang A, Meßabstand d = 1 m

Betriebsbedingungen während der Prüfung

Prüfung unter Last

ISO 7960:1995, Anhang a (nur Abschnitt A2b).

Beobachtungszeitraum

ISO 7960:1995, Anhang A.

6 Tragbare Motorkettensägen

Geräuschemissionsgrundnorm: EN ISO 3744:1995

Meßumgebung

ISO 9207:1 995

Meßfläche/Anzahl der Mikrophonpositionen/Meßabstand

ISO 9207:1995

Betriebsbedingungen während der Prüfung

Prüfung unter Last:/Prüfung ohne Last

Sägen von Holz unter Vollast/Motor mit Höchstdrehzahl ohne Last

  1. mit Verbrennungsmotor: ISO 9207:199 5 Abschnitte 6.3 und 6.4;
  2. mit Elektromotor: eine Prüfung gemäß ISO 9207:199 5 Abschnitt 6.3 und eine Prüfung bei Höchstdrehzahl des Motors ohne Last.

Beobachtungszeitraum/Ermittlung der Schalleistungspegel bei verschiedenen Betriebsbedingungen

ISO 9207:1995 Abschnitte 6.3 und 6.4

Der Schalleistungspegel LWA wird wie folgt berechnet:

LWA = 10 lg 1/2 [100,1 LW1 + 100,1 LW2]

dabei sind LW1 und LW2 die jeweiligen Mittelwerte der Schalleistungspegel bei den zwei obengenannten verschiedenen Betriebsarten.

7 Kombinierte Hochdruckspül- und Saugfahrzeuge

Wenn beide Aggregate gleichzeitig in Betrieb genommen werden können, hat dies entsprechend den Abschnitten 26 und 52 zu erfolgen. Wenn nicht, sind sie getrennt zu prüfen und es ist der höhere Wert anzugeben.

8 Verdichtungsmaschinen

i) Nichtvibrierende Walzen

Siehe Abschnitt 0

ii) Fahrergesteuerte Vibrationswalzen

Geräuschemissionsgrundnorm: EN ISO 3744:1995

Betriebsbedingungen während der Prüfung

Aufstellen der Geräte und Maschinen

Der Vibrationswalze ist auf einem oder mehreren geeigneten Elementen aus elastischem Material, z.B. Luftkissen, aufzustellen. Diese Luftkissen müssen aus weichem Material sein (Elastomer oder ähnlichem) und sind so weit aufzupumpen, bis die Maschine um mindestens 5 cm vom Boden abgehoben ist. Resonanzeffekte sind zu vermeiden. Das bzw. die Luftkissen müssen groß genug sein, damit die Maschine während der Prüfung stabil steht.

Prüfung unter Last

Die Maschine ist im Stillstand zu prüfen, wobei der Motor mit Nenndrehzahl (entsprechend Herstellerangabe) betrieben und keine Kraft auf die Fahrwerke übertragen wird. Der Verdichtungsmechanismus wird mit der maximalen Verdichtungsleistung betrieben, die nach Angabe des Herstellers der Kombination aus der höchsten Frequenz und der bei dieser Frequenz größtmöglichen Amplitude entspricht.

Beobachtungszeitraum

Der Beobachtungszeitraum muß mindestens 15 s betragen.

iii) Rüttelplatten, Vibrationsstampfer, Explosionsstampfer und geführte Vibrationswalzen

Geräuschemissionsgrundnorm: EN ISO 3744:1995

Meßumgebung

EN 500-4 Rev. 1: 1998 Anhang C

Betriebsbedingungen während der Prüfung

Prüfung unter Last

EN 500-4 Rev. 1: 1998 Anhang C

Beobachtungszeitraum

EN 500-4 Rev. 1:1998 Anhang C

9 Kompressoren

Geräuschemissionsgrundnorm: EN ISO 3744:1 995

Meßfläche/Anzahl der Mikrophonpositionen/Meßabstand

Halbkugel/6 Mikrophonpositionen gemäß Teil a Nummer 5/gemäß Teil a Nummer 5

oder

Quader/gemäß ISO 3744:1 995 mit Meßabstand d = 1 m

Betriebsbedingungen während der Prüfung

Aufstellen der Geräte und Maschinen

Der Kompressor ist auf der schallreflektierenden Fläche aufzustellen. Kompressoren auf Gleitschienen sind auf einen 0,40 m hohen Träger zu stellen, wenn in der Anweisung des Herstellers nicht anders beschrieben.

Prüfung unter Last

Der zu prüfende Kompressor ist auf Betriebstemperatur zu bringen und wie für Dauerbetrieb gleichmäßig zu betreiben und entsprechend den Angaben des Herstellers ordnungsgemäß zu warten und zu schmieren.

Die Ermittlung des Schalleistungspegels erfolgt unter Vollast oder in einem reproduzierbaren Betriebszustand, der für den lautesten Betrieb bei typischer Verwendung der zu prüfenden Maschine repräsentativ ist, je nachdem, welche Bedingung die größte Geräuschemission ergibt.

Wenn die Maschine als ganzes so ausgelegt ist, daß bestimmte Bauteile, z.B. Zwischenkühler, vom Kompressor entfernt angebracht sind, sollte versucht werden, die Geräuschemissionen dieser Teile während der Durchführung der Geräuschprüfung zu isolieren. Für die Isolierung der verschiedenen Geräuschquellen kann eine Spezialausrüstung erforderlich sein, um die Geräuschemissionen dieser Quellen während der Messung zu dampfen. Im Prüfbericht sind die Geräuschkennwerte und die Betriebsbedingungen dieser Teile gesondert anzugeben.

Während der Prüfung sind die Abgase des Kompressors mittels Rohrleitung aus dem Prüfbereich abzuleiten. Es ist darauf zu achten, daß die durch die Abgasableitung verursachten Geräuschemissionen um mindestens 10 dB niedriger ausfallen als die zu messenden Geräuschemissionen an allen Meßstellen (z.B. durch Anbringen eines Schalldampfers).

Es ist dafür zu sorgen, daß bei einem Ablassen der Luft durch die Turbulenz am Ablaßventil des Kompressors keine zusätzlichen Geräuschemissonen entstehen.

Beobachtungszeitraum

Der Beobachtungszeitraum muß mindestens 15 s betragen.

10 Handgeführte Betonbrecher und Abbau-, Aufbruch- und Spatenhämmer

Geräuschemissionsgrundnorm: EN ISO 3744:1995

Meßfläche/Anzahl der Mikrophonpositionen/Meßabstand

Halbkugel/6 Mikrophonpositionen gemäß Teil a Nummer 5 und der folgenden Tabelle/entsprechend der Masse des Geräts gemäß der folgenden Tabelle:

 

Masse des Geräts (m in kg) Radius der Halbkugel z für die Mikrophonpositionen 2, 4, 6 und 8
m < 10 2 m 0,75 m
m ≥ 10 4 m 1,50 m

Betriebsbedingungen während der Prüfung

Aufstellen der Geräte und Maschinen

Sämtliche Prüfgeräte sind in senkrechter Position zu prüfen.

Hat das Prüfgerät eine Abluftleitung, so ist deren Achse in gleichem Abstand zwischen zwei Mikrophonpositionen zu positionieren. Das Geräusch der Stromaggregats darf die Messung der Schallemissionen der geprüften Geräte nicht beeinflussen.

Befestigung des Geräts

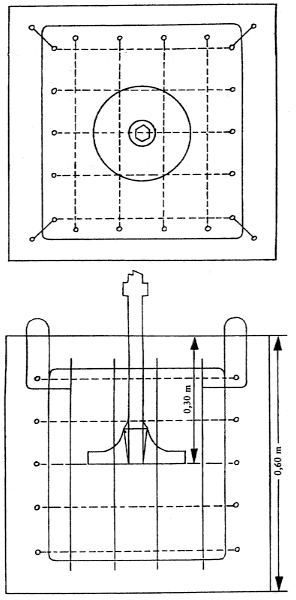
Das Gerät ist bei der Prüfung an einer Halterung zu befestigen, die in einem Betonwürfel verankert ist. Dieser ist in einer Betongrube versenkt. Bei der Prüfung kann zwischen dem Gerät und der Halterung ein Zwischenstück aus Stahl angebracht werden. Dieses Zwischenstück muß eine feste Verbindung zwischen dem Gerät und der Halterung herstellen (siehe dazu Abbildung 10.1).

Spezifikationen des Betonblocks

Der Block muß würfelförmig sein und eine Seitenlänge vom 0,60 m ± 2 mm haben. Er muß möglichst regelmäßig sein. Der Würfel ist aus bis zu 0,20 m dicken Schichten aus Stahlbeton herzustellen; beim schichtweisen Betonieren sind die Schichten jeweils sorgfältig zu rütteln, um eine zu starke Sedimentation zu vermeiden.

Betonqualität

Die Qualität des Betons muß C 50/60 von ENV 206 entsprechen.

Der Würfel ist mit Stahlstangen von 8 mm Durchmesser ohne Bindematerial zu verstärken, wobei die Stangen nicht miteinander verbunden sein dürfen. Die Auslegung ist Abbildung 10.2 zu entnehmen.

Einspannwerkzeug

Das Einspannwerkzeug ist im Block fest zu verankern; es besteht aus einem Druckluftstampfer mit einem Durchmesser von mindestens 178 mm und höchstens 220 mm und einem Einspannschaft. Dieser Einspannschaft entspricht demjenigen, der in der Regel für die zu prüfenden Geräte verwendet wird, wobei ISO 1180:1983 einzuhalten ist. Die Länge muß ausreichend sein, damit die Messung durchgeführt werden kann.

Die beiden Teile sind in geeigneter Weise miteinander zu verbinden. Dieses Werkzeug ist so im Block zu befestigen, daß das untere Ende des Druckluftstampfers 0,30 min den Block versenkt ist (siehe Abbildung 10.2).

Der Block muß mechanisch fehlerfrei bleiben, besonders an der Stelle, an der das Einspannwerkzeug mit dem Beton verbunden ist. Vor und nach jedem Prüfgang ist zu prüfen, ob das Einspannwerkzeug noch fest im Betonblock verankert ist.

Positionierung des Würfels

Der Würfel ist in einer vollständig zementierten Grube zu versenken, die mit einer Abschirmplatte von mindestens 100 kg/m2 abgedeckt ist (siehe Abbildung 10.3), so daß sich die Deckfläche der Abschirmplatte auf Bodenniveau befindet. Um Störgeräusche zu vermeiden, ist der Block an der Unterseite und den Seiten durch elastische Abstützungen zu isolieren, deren Grenzfrequenz höchstens der halben Schlagfrequenz des geprüften Geräts, ausgedrückt in Schlägen pro Sekunde, entspricht.

Die Öffnung der Abschirmplatte für das Einspannwerkzeug muß so klein wie möglich und mit einer elastischen schallabsorbierenden Dichtung versiegelt sein.

Prüfung unter Last

Das geprüfte Gerät ist mit dem Einspannwerkzeug zu verbinden.

Das Prüfgerät ist im stabilen Zustand zu betreiben und muß die gleiche Stabilität der Geräuschemission erreichen wie im Normalbetrieb.

Das Prüfgerät ist mit der in der Bedienungsanleitung angegebenen Höchstleistung zu betreiben.

Beobachtungszeitraum

Der Beobachtungszeitraum muß mindestens 15 s betragen.

Abbildung 10.1: Schematische Darstellung des Zwischenstückes

Abbildung 10.2:

Abbildung 10.3: Prüfeinrichtung

Der Wert a ist so zu bestimmen, daß sich die Deckfläche der Abschirmplatte auf Bodenniveau befindet.

11 Beton- und Mörtelmischer

Geräuschemissionsgrundnorm: EN ISO 3744:1995

Betriebsbedingungen während der Prüfung

Prüfung unter Last

Das Mischaggregat (Trommel) ist bis zum Erreichen des Nenninhalts mit Sand einer Körnung von 0-3 mm zu füllen, die Feuchtigkeit muß 4-10 % betragen.

Das Mischaggregat ist mindestens mit der Nenndrehzahl zu betreiben.

Beobachtungszeitraum

Der Beobachtungszeitraum muß mindestens 15 s betragen.

12 Bauwinden

Siehe Abschnitt 0

Der geometrische Mittelpunkt des Motors ist über dem Mittelpunkt der Halbkugel zu positionieren. Die Winde ist ohne Last zu betreiben.

13 Förder- und Spritzmaschinen für Beton und Mörtel

Geräuschemissionsgrundnorm: EN ISO 3744:1995

Betriebsbedingungen während der Prüfung

Besitzt die Maschine einen Zuteilarm, so ist dieser senkrecht zu stellen und die Zuleitung an den Fülltrichter anzuschließen. Ist dies nicht der Fall, ist die Maschine mit einer horizontalen Leitung von mindestens 30 m auszustatten, die in den Fülltrichter zurückführt.

Prüfung unter Last

  1. Förder- und Spritzmaschinen für Beton
    Das Fördersystem und die Leitung sind mit einem betonähnlichem Material zu füllen, wobei der Zement durch einen Zusatzstoff, beispielsweise feine Asche zu ersetzen ist. Die Maschine ist mit Höchstleistung zu betreiben, wobei ein Arbeitszyklus höchstens 5 s dauert (bei Überschreitung dieses Zeitintervalls wird dem "Beton" Wasser beigemischt, um den Wert zu erreichen).
  2. Förder- und Spritzmaschinen für Mörtel
    Das Fördersystem und die Leitung sind mit einem fertigmörtelähnlichem Material zu füllen, wobei der Zement durch einen Zusatzstoff, beispielsweise Methylzellulose zu ersetzen ist. Die Maschine ist mit Höchstleistung zu betreiben, wobei ein Arbeitszyklus höchstens 5 s dauert (bei Überschreitung dieses Zeitintervalls wird dem "Mörtel" Wasser beigemischt, um den Wert zu erreichen).

Beobachtungszeitraum

Der Beobachtungszeitraum muß mindestens 15 s betragen.


weiter .

*

umwelt-online - Demo-Version


(Stand: 08.08.2019)

Alle vollständigen Texte in der aktuellen Fassung im Jahresabonnement
Nutzungsgebühr: 90.- € netto (Grundlizenz)

(derzeit ca. 7200 Titel s.Übersicht - keine Unterteilung in Fachbereiche)

Preise & Bestellung

Die Zugangskennung wird kurzfristig übermittelt

? Fragen ?
Abonnentenzugang/Volltextversion