umwelt-online: Richtlinie 2000/14/EG Geräuschemissionen von Geräten und Maschinen im Freien (5)
![]() |
zurück | ![]() |
14 Förderbänder
Siehe Abschnitt 0Der geometrische Mittelpunkt des Motors ist über dem Mittelpunkt der Halbkugel zu positionieren. Das Förderband ist ohne Last zu betreiben und muß die Halbkugel gegebenenfalls in Richtung von Punkt 1 verlassen.
15 Fahrzeugkühlaggregate
Geräuschemissionsgrundnorm: EN ISO 3744:1995Betriebsbedingungen während der Prüfung
Prüfung unter Last
Das Kühlaggregat wird an einem echten oder simulierten Laderaum angebracht und bei Stillstand des Fahrzeugs geprüft. Die Einbauhöhe des Kühlaggregats muß den in der Betriebsanleitung vorgegebenen Einbauanforderungen entsprechen. Die Energiequelle des Kühlaggregats ist so zu betreiben, daß der Kühlkompressor und das Gebläse mit der in der Betriebsanleitung genannten Höchstdrehzahl laufen. Wenn das Kühlaggregat so ausgelegt ist, daß die Energieversorgung durch den Antriebsmotor des Fahrzeugs sichergestellt wird, gilt folgendes: Der Fahrzeugmotor darf während der Prüfung nicht laufen, das Kühlaggregat wird an eine geeignete elektrische Energiequelle angeschlossen. Abkuppelbare Zugmaschinen sind für die Dauer der Prüfung abzukuppeln.
Kühlaggregate von Laderaum-Kühlaufbauten, die für unterschiedliche Energiequellen ausgelegt sind, sind für jede Energiequelle getrennt zu prüfen. Im Prüfprotokoll ist mindestens die Betriebsart mit der höchsten Geräuschemission zu vermerken.
Beobachtungszeitraum
Der Beobachtungszeitraum muß mindestens 15 s betragen.
16 Planiermaschinen
Geräuschemissionsgrundnorm: EN ISO 3744:1995Meßumgebung
ISO 6395:1988
Meßfläche/Anzahl der Mikrophonpositionen/Meßabstand
ISO 6395:1988
Betriebsbedingungen während der Prüfung
Aufstellen der Geräte und Maschinen
Planierraupen sind auf einem Prüfgelände zu prüfen, das der ISO-Norm 6395:1988 Abschnitt 6.3.3 entspricht.
Prüfung unter Last
ISO 6395:1988 Anhang B
Beobachtungszeitraum und gegebenenfalls unterschiedliche Betriebsbedingungen
ISO 639 5:1988 Anhang B
17 Bohrgeräte
Geräuschemissionsgrundnorm: EN ISO 3744:1995Betriebsbedingungen während der Prüfung
Prüfung unter Last
EN 791:1995 Anhang A
Beobachtungszeitraum
Der Beobachtungszeitraum muß mindestens 15 s betragen.
18 Muldenfahrzeuge
Geräuschemissionsgrundnorm: EN ISO 3744:1995Meßumgebung
ISO 6395:1988
Meßfläche/Anzahl der Mikrophonpositionen/Meßabstand
ISO 6395:1 988
Betriebsbedingungen während der Prüfung
Prüfung unter Last
Entsprechend ISO-Norm 6 395:1988 Anhang C mit folgender Abänderung:
Abschnitt C.4.3 Absatz 2 wird durch folgenden Wortlaut ersetzt:
"Der Motor ist mit maximaler Abregeldrehzahl (hohe Leerlaufdrehzahl) zu betreiben. Der Getriebebedienungshebel ist auf neutral zu stellen. Der Kipperaufbau ist dreimal in Kippstellung (Leeren) zu bringen - bis etwa 75 % der Höchstkippstellung - und dann in die normale Fahrtposition zurückzufahren. Dies wird als ein Zyklus für den Hydraulikbetrieb im Stand betrachtet.Ist der Kippvorgang nicht motorgetrieben, ist der Motor mit Leerlaufdrehzahl zu betreiben, der Getriebebedienungshebel bleibt ebenfalls auf neutral. Die Messung erfolgt ohne Kippen des Aufbaus. Der Beobachtungszeitraum muß 15 s betragen."
Beobachtungszeitraum/Ermittlung der Schalleistungspegel bei verschiedenen Betriebsbedingungen
ISO 6395:1988 Anhang C
19 Be- und Entladeaggregate von Tank- oder Silofahrzeugen
Geräuschemissionsgrundnorm: EN ISO 3744:1995Betriebsbedingungen während der Prüfung
Prüfung unter Last
Die Aggregate werden bei Stillstand des Lastkraftwagens geprüft. Der Antriebsmotor des Aggregats ist mit der Drehzahl zu betreiben, die der in der Bedienungsanleitung angegebenen Höchstleistung des Aggregats entspricht.
Beobachtungszeitraum
Der Beobachtungszeitraum muß mindestens 15 s betragen.
20 Bagger
Geräuschemissionsgrundnorm: EN ISO 3744:1 995Meßumgebung
ISO 6395:1 988
Meßfläche/Anzahl der Mikrophonpositionen/Meßabstand
ISO 6395:1988
Betriebsbedingungen während der Prüfung
Prüfung unter Last
ISO 6395:1 988 Anhang A
Beobachtungszeitraum/Ermittlung der Schalleistungspegel bei verschiedenen Betriebsbedingungen
ISO 6395:1988 Anhang A
21 Baggerlader
Geräuschemissionsgrundnorm: EN ISO 3744:1995Meßumgebung
ISO 6395:1988
Meßfläche/Anzahl der Mikrophonpositionen/Meßabstand
ISO 6395:1 988
Betriebsbedingungen während der Prüfung
Prüfung unter Last
ISO 6395:1988 Anhang D
Beobachtungszeitraum/Ermittlung der Schalleistungspegel bei verschiedenen Betriebsbedingungen
ISO 6395:1988 Anhang D
22 Altglassammelbehälter
Geräuschemissionsgrundnorm: EN ISO 3744:1995Im Rahmen dieser Geräuschmeßnorm wird der Einzelereignis-Schalldruckpegel Lpls, gemäß EN ISO 3744:1995 Abschnitt 3.2.2 für die Messung des Schalldruckpegels an den Mikrophonpositionen verwendet.
Umgebungskorrektur K2A
Messung im Freien
K2A = 0
Messung in geschlossenen Räumen
Der Wert der Konstanten K2A, der gemäß Norm EN ISO 3744:1 995 Anhang a ermittelt wird, muß ≤ 0,2 dB sein. In diesem Fall wird K2A vernachlässigt.
Betriebsbedingungen während der Prüfung
Die Geräuschmessung erfolgt während eines vollständigen Zyklus, bei dem 120 Flaschen in einen zunächst leeren Behälter geworfen werden.
Es werden folgende Glasflaschen verwendet:
- Fassungsvermögen: 75 cl
- Masse: 370 ± 30g.
Der Prüfer hält jede Flasche am Flaschenhals, wobei der Flaschenboden in Richtung der Einwurföffnung zeigt.
Anschließend wird die Flasche vorsichtig durch die Einwurföffnung in Richtung der Behältermitte eingeworfen, wobei ein Anschlagen der Flasche an den Wänden nach Möglichkeit zu vermeiden ist. Für das Einwerfen der Flaschen wird nur eine einzige Einwurföffnung benutzt; hierbei handelt es sich um die der Mikrophonposition 12 am nächsten gelegene Einwurföffnung.
Beobachtungszeitraum/Ermittlung der Schalleistungspegel bei verschiedenen Betriebsbedingungen
Die Messung des A-bewerteten Einzelereignis-Schalldruckpegels für jede in den Behälter eingeworfene Flasche wird vorzugsweise gleichzeitig an den sechs Mikrophonpositionen vorgenommen.
Der über die Meßfläche gemittelte A-bewertete Einzelereignis-Schalldruckpegel wird gemäß EN ISO 3744:1 995 Abschnitt 8.1 berechnet.
Der über alle 120 Flascheneinwürfe gemittelte A-bewertete Einzelereignis-Schalleistungspegel errechnet sich aus dem logarithmischen Mittelwert der über die Meßfläche gemittelten A-bewerteten Einzelereignis-Schalldruckpegel.
23 Grader
Geräuschemissionsgrundnorm: EN ISO 3744:1995Meßumgebung
ISO 6395:1988
Meßfläche/Anzahl der Mikrophonpositionen/Meßabstand
ISO 6395:1988
Betriebsbedingungen während der Prüfung
Prüfung unter Last
Entsprechend ISO-Norm 6395:1988 Anhang B
Beobachtungszeitraum/Ermittlung der Schalleistungspegel bei verschiedenen Betriebsbedingungen
ISO 6395:1 988 Anhang B
24 Grastrimmer/Graskantenschneider
Siehe Abschnitt 2Der Trimmer/Kantenschneider ist durch eine geeignete Vorrichtung so zu positionieren, daß sich das Schneideaggregat über dem Mittelpunkt der Halbkugel befindet. Bei Grastrimmern ist der Mittelpunkt des Schneidaggregats in einem Abstand von ca. 50 mm über der Meßfläche zu halten. Im Hinblick auf die Anordnung der Schneidklingen sollten Graskantenschneider so nah wie möglich an der Meßfläche positioniert werden.
25 Heckenscheren
Geräuschemissionsgrundnorm: EN ISO 3744:1995Meßumgebung
ISO 11094:1991
Im Streitfall sind die Messungen im Freien auf einem künstlichen Bodenbelag durchzuführen (ISO 11094:1991 Abschnitt 4.1.2).
Umgebungskorrektur K2A
Messung im Freien
K2A = 0
Messungen in geschlossenen Räumen
Der Wert der Konstanten K2A, der ohne den künstlichen Bodenbelag gemäß Norm EN ISO 3744:1 995 Anhang a ermittelt wird, muß ≤ 2,0 dB sein. In diesem Fall wird K2A vernachlässigt.
Meßfläche/Anzahl der Mikrophonpositionen/Meßabstand
ISO 11094:1991
Betriebsbedingungen während der Prüfung
Aufstellen der Geräte und Maschinen
Die Heckenschere ist entweder wie beim normalen Gebrauch von einer Person in der Hand zu halten oder an einer geeigneten Vorrichtung so anzubringen, daß das Schneideaggregat über dem Mittelpunkt der Halbkugel liegt.
Prüfung unter Last
Die Heckenschere ist mit der Nenndrehzahl mit laufenden Schneideaggregaten zu betreiben.
Beobachtungszeitraum
Der Beobachtungszeitraum muß mindestens 15 s betragen.
26 Hochdruckspülfahrzeuge
Geräuschemissionsgrundnorm: EN ISO 3744:1995Betriebsbedingungen während der Prüfung
Prüfung unter Last
Das Hochdruckspülfahrzeug ist im Stillstand zu prüfen. Der Hauptantriebsmotor und die Hilfsmotoren sind mit der vom Hersteller für den Betrieb der Arbeitsaggregate angegebenen Drehzahl zu betreiben. Die Hochdruckpumpe(n) ist/sind mit Höchstdrehzahl und bei dem vom Hersteller angegebenen Betriebsdruck zu betreiben. Durch Verwendung einer geeigneten Düse wird der Druck knapp unterhalb der Reaktionsschwelle des Druckminderungsventils gehalten. Die Strömungsgeräusche der Düse dürfen keinen Einfluß auf die Ergebnisse der Messungen haben.
Beobachtungszeitraum
Der Beobachtungszeitraum muß mindestens 30 s betragen.
27 Hochdruckwasserstrahlmaschine
Geräuschemissionsgrundnorm: EN ISO 3744:1995Meßfläche/Anzahl der Mikrophonpositionen/Meßabstand
Quader/gemäß EN ISO 3744:1995 mit Meßabstand d = 1 m
Betriebsbedingungen während der Prüfung
Aufstellen der Geräte und Maschinen
Die Hochdruckwasserstrahlmaschine ist auf der schallreflektierenden Fläche aufzustellen. Maschinen auf Gleitschienen sind auf einen 0,40 m hoben Träger zu stellen, wenn in der Anweisung des Herstellers nicht anders beschrieben.
Prüfung unter Last
Die Hochdruckreinigungsmaschine ist in dem vom Hersteller angegebenen Bereich gleichförmig zu betreiben.
Während der Messung wird diejenige Düse an die Hochdruckreinigungsmaschine angeschlossen, die bei einer Benutzung entsprechend der Bedienungsanleitung den höchsten Druck erzeugt.
Beobachtungszeitraum
Der Beobachtungszeitraum muß mindestens 15 s betragen.
28 Hydraulikhämmer
Geräuschemissionsgrundnorm: EN ISO 3744:1995Meßfläche/Anzahl der Mikrophonpositionen/Meßabstand
Halbkugel/6 Mikrophonpositionen gemäß Teil a Nummer 5/r 10 m
Betriebsbedingungen während der Prüfung
Aufstellen der Geräte und Maschinen
Der Hammer ist für die Prüfung an einer Halterung zu befestigen und es ist ein Spezialprüfblock zu verwenden. Abbildung 28.1 verdeutlicht die Merkmale dieses Prüfblocks, während aus Abbildung 28.2 die Lage der Halterung ersichtlich ist.
Halterung
Die Halterung für den zu prüfenden Hammer muß den Anforderungen der Betriebsanleitung des Hammers, insbesondere hinsichtlich Gewichtsklasse, Hydraulik-Ausgangsleistung, Ölzufuhr und Gegendruck der Rückleitung, entsprechen.
Befestigung
Die Befestigung sowie alle Anschlüsse (Schläuche, Rohrleitungen usw.) müssen den Anforderungen der Betriebsanleitung des Hammers entsprechen. Alle Geräuschentwicklungen durch Rohrleitungen und die verschiedenen mechanischen Bauteile, die für die Installation benötigt werden, sollten ausgeschaltet werden. Es ist für einen festen Anschluß aller Bauteile zu sorgen.
Stabilität des Hammers und statische Haltekraft
Der Hammer muß von der Halterung so nach unten gedrückt werden, daß eine vergleichbare Stabilität erzielt wird wie unter normalen Betriebsbedingungen. Der Hammer ist in aufrechter Stellung zu betreiben.
Werkzeug
Für die Messungen ist ein stumpfes Werkzeug zu verwenden. Die Länge des Werkzeugs muß den Anforderungen der Abbildung 28.1 (Prüfblock) entsprechen.
Prüfung unter Last
Hydraulik-Eingangsleistung und Öldurchfluß
Die Betriebsbedingungen des Hydraulikhammers sind in geeigneter Weise einzustellen, zu messen und zusammen mit den entsprechenden vorgeschriebenen Werten zu protokollieren. Die zu prüfenden Geräte sind so zu betreiben, daß in bezug auf Hydraulik-Eingangsleistung und Öldurchfluß des Hammers mindestens 90 % des Höchstwerts erreicht werden können.
Es ist besonders darauf zu achten, daß die Gesamtunsicherheit der Meßketten ps und Q nicht mehr als ± 5 % beträgt. Dadurch wird sichergestellt, daß die Hydraulik-Eingangsleistung mit einer Genauigkeit von ± 10 % ermittelt wird. Unter Annahme einer linearen Korrelation zwischen der Hydraulik-Eingangsleistung und der emittierten Schalleistung würde dies eine Abweichung von weniger als ± 0,4 dB bei der Ermittlung des Schalleistungspegels bedeuten.
Einstellbare Bauteile, die sich auf die Geräteleistung auswirken
Die Voreinstellwerte von Druckspeichern, Druckregelventilen und anderen einstellbaren Bauteilen müssen den im Datenblatt angegebenen Werten entsprechen. Wenn mehr als eine feste Schlagzahl eingestellt werden kann, müssen die Messungen für alle Einstellungen durchgeführt werden. Mindest- und Höchstwerte sind anzugeben.
Meßgrößen
ps Mittelwert des Hydraulik-Versorgungsdrucks während des Hammerbetriebs über mindestens 10 Schlagvorgänge. Q Mittelwert des zeitgleich mit ps gemessenen Öldurchflusses am Hammereinlaß T Die Öltemperatur muß während der Messungen zwischen + 40 und + 60 °C liegen. Die Temperatur des Gehäuses des Hydraulikhammers muß sich vor Beginn der Messungen auf normaler Betriebstemperatur stabilisiert haben. Pa Der Druck der Vorfüll-Gasladung in allen Druckspeichern muß bei einer stabilen Umgebungstemperatur zwischen + 15 und + 25 °C unter statischen Bedingungen (Hammer nicht in Betrieb) gemessen werden. Die gemessene Umgebungstemperatur wird ebenso protokolliert wie der gemessene Druck der Vorfüll-Gasladung im Druckspeicher. Anhand der gemessenen Betriebsparameter zu bestimmender Parameter
Hydraulik-Eingangsleistung des Hammers PIN = ps ξ Q
Messung des Drucks in der Hydraulik-Versorgungsleitung ps
- ps muß so nahe wie möglich am Einlaß des Hammers gemessen werden,
- ps ist mit einem Manometer zu messen (Mindestdurchmesser 100 mm; Genauigkeitsklasse: ± 1,0 % FSO).
Öldurchfluß am Hammereinlaß Q
- Q muß in der Druckversorgungsleitung so nahe wie möglich am Einlaß des Hammers gemessen werden,
- Q ist mit einem elektrischen Durchflußmesser zu messen (Genauigkeitsklasse: ± 2,5 % des Durchflußablesewerts).
Meßpunkt für die Öltemperatur T
- T muß im Ölspeicher der Halterung oder in der mit dem Hammer verbundenen Hydraulikleitung gemessen werden. Der Meßpunkt ist im Prüfbericht anzugeben.
- Die Genauigkeit des Temperaturablesewerts muß dem tatsächlichen Wert auf ± 2 °C entsprechen.
Beobachtungszeitraum/Ermittlung des Schalleistungspegels
Der Beobachtungszeitraum muß mindestens 15 s betragen.
Die Messungen werden dreimal - bei Bedarf häufiger - durchgeführt. Das Endergebnis wird als das arithmetische Mittel der zwei höchsten Werte errechnet, die um nicht mehr als 1 dB voneinander abweichen.
Abbildung 28.1

Abbildung 28.2

Definitionen
d Durchmesser des Werkzeugs (mm) d1 Durchmesser der Amboßplatte 1 200 ± 100 mm d2 Innendurchmesser der Amboßhalterung ≤ 1800 mm d3 Durchmesser der Prüfblock-Abdeckplatte ≤ 2200 mm d4 Durchmesser der Werkzeugöffnung in der Platte ≤ 350 mm d5 Durchmesser des Werkzeugdichtung ≤ 1100 mm h1 Sichtbare Werkzeuglänge zwischen dem untersten Punkt des Gehäuses und der Oberfläche der Werkzeugdichtung (mm) h1 = d ± d/2 h2 Dicke der Werkzeugdichtung über der Abdeckplatte ≤ 20 mm (wenn sich die Werkzeugdichtung unterhalb der Abdeckplatte befindet, ist die Dicke der Dichtung nicht beschränkt; sie kann aus Schaumgummi bestehen) h3 Abstand zwischen dem oberen Abschluß der Abdeckplatte und dem oberen Abschluß der Amboßplatte 250± 50 mm h4 Dicke der Plattendichtung aus absorbierendem Schaumstoff ≤ 30 mm h5 Dicke der Amboßplatte 350 ± 50 mm h6 Eintauchtiefe des Werkzeugs ≤ 50 mm Wenn der Prüfblock quadratische Form hat, entspricht die größte Länge dem 0,8 9fachen des entsprechenden Durchmessers.
Der Freiraum zwischen der Abdeckplatte und der Amboßplatte kann mit elastischem Schaumgummi oder einem anderen absorbierenden Material mit einer Dichte < 220 kg/m3 gefüllt werden.
29 Hydraulikaggregate
Geräuschemissionsgrundnorm: EN ISO 3744:1995Betriebsbedingungen während der Prüfung
Aufstellen der Geräte und Maschinen
Das Hydraulikaggregat ist auf der schallreflektierenden Fläche aufzustellen. Aggregate auf Gleitschienen sind auf einen 0,40 m hohen Träger zu stellen, wenn in der Anweisung des Herstellers nicht anders beschrieben.
Prüfung unter Last
Während der Prüfung dürfen keine Arbeitsaggregate an das Hydraulikaggregat angeschlossen sein.
Das Hydraulikaggregat ist in dem vom Hersteller angegebenen Bereich gleichförmig zu betreiben. Es muß auf Nenndrehzahl und mit Nenndruck laufen. Nenndrehzahl und Nenndruck sind der Betriebsanleitung des Herstellers zu entnehmen.
Beobachtungszeitraum
Der Beobachtungszeitraum muß mindestens 15 s betragen.
30 Fugenschneider
Geräuschemissionsgrundnorm: EN ISO 3744:1995Betriebsbedingungen während der Prüfung
Prüfung unter Last
Auf den Fugenschneider ist das größte vom Hersteller in der Betriebsanleitung vorgesehene Sägeblatt zu montieren. Der Motor ist mit Höchstdrehzahl zu betreiben, das Sägeblatt ist im Leerlauf.
Beobachtungszeitraum
Der Beobachtungszeitraum muß mindestens 15 s betragen.
31 Müllverdichter
Siehe Abschnitt 37
32 Rasenmäher
Geräuschemissionsgrundnorm: EN ISO 3744:1 995Meßumgebung
ISO 11094:1991
Im Streitfall sind die Messungen im Freien auf einem künstlichen Bodenbelag durchzuführen (ISO 11094:1991 Abschnitt 4.1.2).
Umgebungskorrektur K2A
Messungen im Freien
K2A = 0
Messungen in geschlossenen Räumen
Der Wert der Konstanten K2A, der ohne den künstlichen Bodenbelag gemäß Norm EN ISO 3744:1995 Anhang a ermittelt wird, muß ≤ 2,0 dB sein. In diesem Fall wird K2A vernachlässigt.
Meßfläche /Anzahl der Mikrophonpositionen/Meßabstand
ISO 11094:1991
Betriebsbedingungen während der Prüfung
Aufstellen der Geräte und Maschinen
Wenn die Räder des Rasenmähers den künstlichen Boden um mehr als 1 cm zusammendrücken würden, sind die Räder so auf Träger zu stellen, daß sich die Aufstandspunkte der Räder auf der Höhe des nicht zusammengedrückten künstlichen Bodens befinden. Kann das Schneideaggregat nicht getrennt von den Treibrädern des Rasenmähers in Betrieb genommen werden, so muß der Rasenmäher auf Trägern geprüft werden, wobei die Schneideaggregate mit der vom Hersteller angegebenen maximalen Drehzahl laufen. Die Träger sind so zu konstruieren, daß sie keinen Einfluß auf die Meßergebnisse haben.
Prüfung ohne Last
ISO 11094:1991
Beobachtungszeitraum
ISO 11094:1991
33 Rasentrimmer/Rasenkantenschneider
Siehe Abschnitt 32Das Gerät ist durch eine geeignete Vorrichtung so aufzustellen, daß sich das Schneideaggregat über dem Mittelpunkt der Halbkugel befindet. Bei Rasentrimmern ist der Mittelpunkt des Schneideaggregats in einem Abstand von ca. 50 mm über der Meßfläche zu halten. Im Hinblick auf die Anordnung der Schneidklingen sollten Rasenkantenschneider so nah wie möglich an der Meßfläche positioniert werden.
34 Laubbläser
Geräuschemissionsgrundnorm: EN ISO 3744:1995Meßumgebung
ISO 11094:1991
Im Streitfall sind die Messungen im Freien auf einem künstlichen Bodenbelag durchzuführen (ISO 11094:1991 Abschnitt 4.1.2).
Umgebungskorrektur K2A
Messung im Freien
K2A = 0
Messungen in geschlossenen Räumen
Der Wert der Konstanten K2A, der ohne den künstlichen Bodenbelag gemäß der Norm EN ISO 3744:199 5
Anhang a ermittelt wird, muß ≤ 2,0 dB sein. In diesem Fall wird K2A vernachlässigt.
Meßfläche/Anzahl der Mikrophonpositionen/Meßabstand
ISO 11094:1991
Betriebsbedingungen während der Prüfung
Aufstellen der Geräte und Maschinen
Der Laubbläser ist wie beim normalen Gebrauch so aufzustellen, daß der Auslaß des Blasaggregats (50 ± 25) mm über dem Mittelpunkt der Halbkugel liegt. Handelt es sich um einen handgeführten Laubbläser, ist er entweder von einer Person in der Hand zu halten oder an einer geeigneten Vorrichtung anzubringen.
Prüfung unter Last
Der Laubbläser wird mit den vom Hersteller angegebenen Werten für Nenndrehzahl und Nennluftdurchsatz betrieben.
Beobachtungszeitraum
Der Beobachtungszeitraum muß mindestens 15 s betragen.
- Anmerkung:
- Kann ein Laubbläser auch als Laubsammler verwendet werden, so ist er in beiden Betriebsarten zu prüfen; maßgeblich ist der höhere Wert.
35 Laubsammler
Geräuschemissionsgrundnorm: EN ISO 3744:1995Meßumgebung
ISO 11094:1991
Im Streitfall sind die Messungen im Freien auf einem künstlichen Bodenbelag durchzuführen (ISO 11094:1991
Abschnitt 4.1.2).
Umgebungskorrektur K2A
Messung im Freien
K2A = 0
Messungen in geschlossenen Räumen
Der Wert Konstanten K2A, der ohne den künstlichen Bodenbelag gemäß der Norm EN ISO 3744:1 995 Anhang a ermittelt wird, muß ≤ 2,0 da sein. In diesem Fall wird K2A vernachlässigt.
Meßfläche/Anzahl der Mikrophonpositionen/Meßabstand
ISO 11094:1991
Betriebsbedingungen während der Prüfung
Aufstellen der Geräte und Maschinen
Der Laubsammler ist wie beim normalen Gebrauch so aufzustellen, daß der Einlaß des Laubsammlers (50 ± 25) mm über dem Mittelpunkt der Halbkugel liegt. Handelt es sich um einen handgeführten Laubsammler, so ist er entweder von einer Person zu halten oder an einer geeigneten Vorrichtung anzubringen.
Prüfung unter Last
Der Laubsammler wird mit den vom Hersteller angegebenen Werten für Nenndrehzahl und Nennluftdurchsatz betrieben.
Beobachtungszeitraum
Der Beobachtungszeitraum muß mindestens 15 s betragen.
Anmerkung: Kann ein Laubsammler auch als Laubbläser verwendet werden, so ist er in beiden Betriebsarten zu prüfen; maßgeblich ist der höhere Wert.
36 Stapler
Geräuschemissionsgrundnorm: EN ISO 3744:1995Betriebsbedingungen während der Prüfung
Die Sicherheitsvorschriften und die Angaben des Herstellers sind zu beachten.
Betriebsart "Heben"
Bei stehendem Stapler wird die Last (aus nicht schallabsorbierendem Werkstoff, z.B. Stahl oder Beton; mindestens 70 % der in der Betriebsanleitung angegebenen effektiven Tragfähigkeit) aus der abgesenkten Stellung mit Höchstgeschwindigkeit auf die Normhubhöhe angehoben, die nach der einschlägigen europäischen Norm der Reihe "Sicherheit von Flurförderzeugen" für den betreffenden Flurförderzeug-Typ gilt. Falls die tatsächliche maximale Hubhöhe geringer ist, darf bei Einzelmessungen diese Hubhöhe verwendet werden. Die Hubhöhe ist im Prüfbericht anzugeben.
Betriebsart "Fahren"
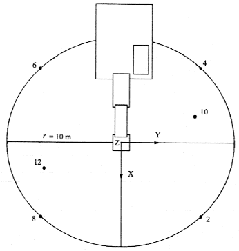
Der Stapler ist ohne Last aus dem Stillstand mit voller Beschleunigung über eine Entfernung seiner dreifachen Länge bis zur Linie A-a (Verbindungslinie zwischen den Mikrophonpositionen 4 und 6) und weiterhin mit maximaler Beschleunigung weiter bis zur Linie B-B (Verbindungslinie zwischen den Mikrophonpositionen 2 und 8) zu fahren. Wenn die Rückseite des Fahrzeugs die Linie B-B überschritten hat, darf die Beschleunigungsfahrt abgebrochen werden.
Besitzt der Stapler mehrere Getriebegänge, so müssen diese so gewählt werden, daß über die Meßstrecke die höchstmögliche Geschwindigkeit erreicht wird.
Beobachtungszeitraum /Ermittlung der Schalleistungspegel bei verschiedenen Betriebsbedingungen
Beobachtungszeitraum:
- Betriebsart "Heben": der gesamte Hubzyklus;
- Betriebsart "Fahren": die Messung beginnt, wenn das Fahrzeug mit seiner Mitte die Linie A-a überfahrt, und endet, wenn es mit seiner Mitte die Linie B-B erreicht.
Der resultierende Schalleistungspegel wird für alle Staplerarten wie folgt berechnet:
LWA = 10 log (0,7 x 100,1 LWAc + 0,3 ξ 100,1 LWAa)
Dabei bezeichnet der Index a den Hubbetrieb und der Index c den Fahrbetrieb.
37 Lader
Geräuschemissionsgrundnorm: EN ISO 3744:1995Meßumgebung
ISO 6395:1 988
Meßfläche/Anzahl der Mikrophonpositionen/Meßabstand
ISO 6395:1998
Betriebsbedingungen während der Prüfung
Aufstellen der Geräte und Maschinen
Raupenlader sind auf einem Prüfgelände zu prüfen, das Abschnitt 6.3.3 der Norm ISO 6395:1988 entspricht.
Prüfung unter Last
ISO 6395:1998 Anhang C
Beobachtungszeitraum/ Ermittlung der Schalleistungspegel bei verschiedenen Betriebsbedingungen
ISO 6395:1988 Anhang C
![]() |
weiter . | ![]() |
(Stand: 08.08.2019)
Alle vollständigen Texte in der aktuellen Fassung im Jahresabonnement
Nutzungsgebühr: 90.- € netto (Grundlizenz)
(derzeit ca. 7200 Titel s.Übersicht - keine Unterteilung in Fachbereiche)
Die Zugangskennung wird kurzfristig übermittelt
? Fragen ?
Abonnentenzugang/Volltextversion