Regelwerk

Licht-Leitlinie - Leitlinie des Ministeriums für Umwelt, Gesundheit und Verbraucherschutz zur Messung und Beurteilung von Lichtimmissionen
- Brandenburg -

Vom 18. Januar 2001
(ABl. 2001 S. 138; 11.01.2007 S. 230 07; 12.10.2011 S. 1953aufgehoben)


zur aktuellen Fassung

Diese Leitlinie ist von den zuständigen Immissionsschutz-Behörden beim Vollzug des Bundes- und Landesimmissionsschutzgesetzes (BImSchG, LImschG) bei der Zulassung und Überwachung von Anlagen für die Prüfung, Messung sowie Beurteilung von Lichtimmissionen zu beachten.

Unter Nummer 7 sind Hinweise über die schädlichen Einwirkungen von Beleuchtungsanlagen auf Tiere - insbesondere auf Vögel und Insekten - und mit Vorschlägen zu deren Minderung enthalten.

1. Allgemeines

Licht gehört gemäß § 3 Abs. 2 Bundes-Immissionsschutzgesetz (BImSchG) zu den Immissionen und gemäß § 3 Abs. 3 BImSchG zu den Emissionen im Sinne des Gesetzes. Lichtimmissionen gehören nach dem BImSchG zu den schädlichen Umwelteinwirkungen, wenn sie nach Art, Ausmaß oder Dauer geeignet sind, Gefahren, erhebliche Nachteile oder erhebliche Belästigungen für die Allgemeinheit oder für die Nachbarschaft herbeizuführen.

Genehmigungsbedürftige Anlagen sind gemäß § 5 Abs. 1 Nr. 1 und 2 BImSchG so zu errichten und zu betreiben, dass schädliche Umwelteinwirkungen durch Licht nicht hervorgerufen werden können und dass Vorsorge gegen schädliche Umwelteinwirkungen, insbesondere durch die dem Stand der Technik entsprechenden Maßnahmen zur Emissionsbegrenzung getroffen wird.

Nicht genehmigungsbedürftige Anlagen sind gemäß § 22 Abs. 1 Nr. 1 und 2 BImSchG so zu errichten und zu betreiben, dass schädliche Umwelteinwirkungen durch Licht verhindert werden, die nach dem Stand der Technik vermeidbar sind, und dass nach dem Stand der Technik unvermeidbare schädliche Umwelteinwirkungen auf ein Mindestmaß beschränkt werden. § 3 Abs. 5 LImschG konkretisiert dies dergestalt, dass Vorsorge gegen schädliche Umwelteinwirkungen insbesondere durch die dem Stand der Technik entsprechenden Maßnahmen zu treffen ist, soweit dies nach Art der Anlage zumutbar und nicht im Einzelfall unverhältnismäßig ist.

Diese Leitlinie beinhaltet Vorgaben zur einheitlichen Messung und Beurteilung der Wirkung von Lichtimmissionen für den Vollzug des BImSchG.

Die im Immissionsschutz auftretenden Lichteinwirkungen bewegen sich im Bereich der Belästigung. Physische Schäden am Auge können ausgeschlossen werden.

2. Anwendungsbereich

Die Leitlinie ist anzuwenden zur Beurteilung der Wirkung von Lichtimmissionen auf Menschen durch lichtemittierende Anlagen aller Art, soweit es sich dabei um Anlagen oder Bestandteile von Anlagen im Sinne des § 3 Abs. 5 BImSchG handelt; bei der Anwendung des Landesimmissionsschutzgesetzes ist vom Anlagenbegriff nach § 2 Abs. 3 LImschG auszugehen. Zu den lichtemittierenden Anlagen zählen künstliche Lichtquellen aller Art wie z.B. Scheinwerfer zur Beleuchtung von Sportstätten, von Verladeplätzen und fürAnstrahlungen sowie Lichtreklamen, aber auch hell beleuchtete Flächen wie z.B. angestrahlte Fassaden.

Über das Maß der erheblichen Belästigung im Sinne des BImSchG hinaus kann zur Einschränkung von unerwünschten Lichtabstrahlungen (Lichtverschmutzung) in der Nachbarschaft astrophysikalischer Einrichtungen die Licht-Leitlinie im Einzelfall unter Berücksichtigung der Bauleitplanung mit herangezogen werden.

Anlagen zur Beleuchtung des öffentlichen Straßenraumes, Beleuchtungsanlagen von Kraftfahrzeugen und dem Verkehr zuzuordnende Signalleuchten gehören nicht zu den Anlagen im Sinne des § 3 Abs. 5 BImSchG (vgl. § 2 Abs. 3 Satz 2 LImschG).

Die Leitlinie gilt nicht für Laser, da hierfür eine gesonderte Beurteilung nach den Kriterien des Gesundheitsschutzes erforderlich ist.

Statische technische oder bauliche Einrichtungen, die das Sonnenlicht reflektieren, sind nach Baurecht zu behandeln.

3. Beurteilungsgrundsätze

Schädliche Umwelteinwirkungen liegen dann vor, wenn die Nachbarschaft oder die Allgemeinheit erheblich belästigt wird. Diese Leitlinie gibt Maßstäbe zur Beurteilung der Lästigkeitswirkung an. Eine erhebliche Belästigung im Sinne des § 5 Abs. 1 Nr. 1 oder des § 22 Abs. 1 BImSchG tritt in der Regel auf, wenn die angegebenen Immissionsrichtwerte überschritten werden.

Die Erheblichkeit der Belästigung durch Lichtimmissionen hängt aber auch wesentlich von der Nutzung des Gebietes, auf das sie einwirken, sowie dem Zeitpunkt (Tageszeit) oder der Zeitdauer der Einwirkungen ab. Die Beurteilung orientiert sich nicht an einer mehr oder weniger empfindlichen individuellen Person, sondern an der Einstellung eines durchschnittlich empfindlichen Menschen.

Von Bedeutung für die Beurteilung der Lichtimmissionen von Anlagen ist die Schutzbedürftigkeit der Nutzungen in den diesen Anlagen benachbarten Gebieten. Bei der Zuordnung der für die Beurteilung maßgebenden Immissionsrichtwerte zu den Gebieten im Einwirkungsbereich der Anlage ist grundsätzlich vom Bebauungsplan auszugehen. Ist ein Bebauungsplan nicht aufgestellt, so ist die tatsächliche Nutzung zugrunde zu legen; eine voraussehbare Änderung der baulichen Nutzung ist zu berücksichtigen.

Liegen aufgrund baulicher Entwicklungen in der Vergangenheit Wohngebiete und lichtemittierende Anlagen eng zusammen, kann eine besondere Pflicht zur gegenseitigen Rücksichtnahme bestehen. Sofern an belästigenden Anlagen alle verhältnismäßigen Emissionsminderungsmaßnahmen durchgeführt sind, kann die Pflicht zur gegenseitigen Rücksichtnahme dazu führen, dass die Bewohner mehr an Lichtimmissionen hinnehmen müssen als die Bewohner von gleichartig genutzten Gebieten, die fernab derartiger Anlagen liegen. Die im Einzelfall noch hinzunehmende Lichtimmission hängt von der Schutzbedürftigkeit der Bewohner des Gebietes und den tatsächlich nicht weiter zu vermindernden Lichtemissionen ab. Die zu duldenden Lichteinwirkungen sollen aber die Immissionsrichtwerte unterschreiten, die für die Gebietsart mit dem nächst niedrigeren Schutzanspruch gelten.

Bei Beleuchtungsanlagen, die vor der Veröffentlichung der Leitlinie baurechtlich genehmigt oder aus anderweitigen Gründen in zulässiger Weise errichtet wurden, soll die zuständige Behörde von einer Festsetzung von Betriebszeiten absehen, wenn die Immissionsrichtwerte für die Gebietsart mit dem nächst niedrigeren Schutzanspruch nicht überschritten werden.

Die Beurteilung umfasst zwei Bereiche:

a) Raumaufhellung

Aufhellung des Wohnbereiches, insbesondere des Schlafzimmers, aber auch des Wohnzimmers, der Terrasse oder des Balkons durch die in der Nachbarschaft vorhandene Beleuchtungsanlage, die zu einer eingeschränkten Nutzung dieser Wohnbereiche führt. Die Aufhellung wird durch die mittlere Beleuchtungsstärke E̅F in der Fensterebene beschrieben.

b) Blendung

Bei der Blendung durch Lichtquellen wird zwischen der physiologischen und psychologischen Blendung unterschieden. Bei der physiologischen Blendung wird das Sehvermögen durch Streulicht im Glaskörper des Auges vermindert. Dieser Aspekt steht jedoch bei der Immissionssituation im Wohnbereich nicht im Vordergrund der Betrachtung. Die Störempfindung durch Blendung wird als psychologische Blendung bezeichnet und kann auch ohne Minderung des Sehvermögens auftreten und zu erheblicher Belästigung führen. Durch starke Lichtquellen in der Nachbarschaft kann dadurch die Nutzung eines inneren oder äußeren Wohnbereichs erheblich gestört werden, auch wenn aufgrund großer Entfernung der Lichtquelle keine übermäßige Aufhellung erzeugt wird. Die Belästigung entsteht unter anderem durch die ständige und ungewollte Ablenkung der Blickrichtung zur Lichtquelle hin, die bei großem Unterschied der Leuchtdichte der Lichtquelle zur Umgebungsleuchtdichte eine ständige Adaptation des Auges auslöst. Für die Störwirkung sind daher die Leuchtdichte Ls der Blendlichtquelle, die Umgebungsleuchtdichte Lu und der Raumwinkel Ωs, vom Betroffenen (Immissionsort) aus gesehen, maßgebend.

4. Beurteilung und Messung der Raumaufhellung

4.1 Beurteilung

Mess- und Beurteilungsgröße für die Raumaufhellung ist die nach dieser Leitlinie gemessene mittlere Beleuchtungsstärke E̅F, am Immissionsort. Immissionsrichtwerte der mittleren Beleuchtungsstärke E̅F die von einer Beleuchtungsanlage in ihrer Nachbarschaft nicht überschritten werden sollen, sind in Tabelle 1 enthalten, soweit die nachfolgenden Ausführungen dem nicht entgegenstehen.

Tabelle 1: Immissionsrichtwerte der mittleren Beleuchtungsstärke E̅F in der Fensterebene von Wohnungen bzw. bei Balkonen oder Terrassen, den Begrenzungsflächen für Wohnnutzung, hervorgerufen von Beleuchtungsanlagen, ausgenommen öffentliche Straßenbeleuchtungsanlagen

Immissionsort (Einwirkungsort)
Gebietsart nach § Baunutzungsverordnung ( BauNVO)
Beleuchtungsstärke E̅Fin lx
6 Uhr bis 22 Uhr 22 Uhr bis 6 Uhr
1 Kurgebiete, Krankenhäuser, Pflegeanstalten 1 1 1
2 reine Wohngebiete ( § 3)
allgemeine Wohngebiete ( § 4)
besondere Wohngebiete ( § 4a)
Kleinsiedlungsgebiete ( § 2)
Erholungsgebiete ( § 10)
3 1
3 Dorfgebiete ( § 5)
Mischgebiete ( § 7)
5 1
4 Kerngebiete ( § 7) 2
Gewerbegebiete ( § 8)
Industriegebiete ( § 9)
15 5
1) Wird die Beleuchtungsanlage regelmäßig weniger als eine Stunde pro Tag eingeschaltet, gelten auch für die in Zeile 1 genannten Gebiete die Werte der Zeile 2.
2) Kerngebiete können in Einzelfällen bei geringer Umgebungsbeleuchtung auch Zeile 3 zugeordnet werden (vor 22 Uhr E̅F ≤5 lx nach 22 Uhr E̅F ≤ 1 lx).

Wird die mittlere Beleuchtungsstärke am Immissionsort maßgeblich durch andere Lichtquellen bestimmt, sollen Maßnahmen an der zu beurteilenden Beleuchtungsanlage solange ausgesetzt werden, wie die Anlage nicht wesentlich zur Gesamt-Beleuchtungsstärke beiträgt.

Tabelle 1 bezieht sich auf zeitlich konstantes und weißes oder annähernd weißes Licht (das Licht von Natriumdampf-Hochdrucklampen gilt noch als annähernd weiß), das mehrmals in der Woche jeweils länger als eine Stunde eingeschaltet ist. Wird die Anlage seltener oder kürzer betrieben bzw. über Bewegungsmelder geschaltet, sind Einzelfallbetrachtungen anzustellen. Dabei sollen der Zeitpunkt und die Häufigkeit des Auftretens, die allgemeine Umgebungshelligkeit, die Ortsüblichkeit sowie insbesondere die Möglichkeit für Minderungsmaßnahmen der Störwirkung berücksichtigt werden. Hieraus können gegebenenfalls auch höhere oder niedrigere Immissionsrichtwerte der Beleuchtungsstärke E̅F als in Tabelle 1 vertreten werden.

Bei Beleuchtungsanlagen mit veränderbaren Betriebszuständen ist der Beleuchtungszustand mit der maximalen Beleuchtungsstärke zu bewerten.

Beleuchtungsanlagen, deren Betriebszustände sich nicht schneller als in einem 5-minütigen Rhythmus ändern, gelten als zeitlich konstant abstrahlend. Ändern sich die Betriebszustände in weniger als fünf Minuten wesentlich, dann liegt ein Wechsellicht vor. In besonders auffälligen Wechsellichtsituationen (z.B. große Schwankungen der Beleuchtungsstärke, schnelle Hell-Dunkel-Übergänge, blitzlichtartige Vorgänge, schnelle Folgefrequenzen des Wechsellichtes), die lästiger als zeitlich konstantes Licht empfunden werden, sind bei der Beurteilung der Raumaufhellung die Maximalwerte je nach Auffälligkeit mit einem Faktor 2 bis 5 zu multiplizieren und mit den Immissionsrichtwerten der Tabelle 1 zu vergleichen.

Strahlt die Beleuchtungsanlage intensiv farbiges Licht aus, seist bei besonderer Auffälligkeit (kräftige Farbtöne, die in der Regel lästiger empfunden werden) der Messwert mit einem Faktor 2 zu multiplizieren und mit den Immissionsrichtwerten der Tabelle 1 zu vergleichen.

Eine Überschreitung der Immissionsrichtwerte als Anlass für behördliche Anordnungen kann wegen der Fehlergrenzen der Messgeräte (siehe Abschnitt 4.3) erst dann angenommen werden, wenn das Messergebnis mindestens 10 % oberhalb der Immissionsrichtwerte der Tabelle 1 liegt.

4.2 Zeit und Ort der Messung

Es soll zu einer Zeit gemessen werden, die für die Lichtimmissionen am Immissionsort typisch ist. Werden die Messwerte z.B. durch Regen, Schnee oder Nebel beeinflusst, so ist nicht zu messen.

Messort bei der Beurteilung ist für Aufenthaltsräume bei geöffneten Fenstern die jeweilige Fensterebene, bei Balkonen oder Terrassen sind es sinngemäß die Begrenzungsflächen für die Wohnnutzung. Wird abweichend davon von innen durch die Fensterscheibe gemessen, so muss der Einfluss der Scheibe durch einen Korrekturfaktor berücksichtigt werden. Bei sauberen Scheiben können folgende Korrekturfaktoren näherungsweise eingesetzt werden:

Einfachverglasung: 1,1
Doppelverglasung: 1,25
Dreifachverglasung: 1,4
beschichtete Wärmeschutzverglasung: 1,7

Die Messzellennormale ist bei der Messung der mittleren Beleuchtungsstärke E̅F parallel zur Normalen der Bezugsfläche auszurichten. Bei örtlich unterschiedlichen Beleuchtungsstärken in der Bezugsfläche ist der arithmetische Mittelwert der Beleuchtungsstärke zu ermitteln. Ist die Bezugsfläche größer als 1 ,5 m2, dann ist der Mittelwert der am stärksten beleuchteten Fläche von 1,5 m2 maßgebend.

Bei der Messung ist die Zimmerbeleuchtung auszuschalten.

Beleuchtungsanteile durch nicht zu beurteilende Lichtquellen aus der Umgebung sind z.B. durch Ausblendung oder Differenzbildung zu beseitigen.

Für die Differenzbildung sind die Beleuchtungsstärkewerte EF,i (mit) und EF,i (ohne) an den Messpunkten i zu messen, die sich bei eingeschalteter (das heißt mit) und bei ausgeschalteter (das heißt ohne) Beleuchtungsanlage ergeben. Der durch die zu beurteilende Anlage verursachte mittlere Beleuchtungsstärkewert errechnet sich aus:

F = 1/n Σi[EF,i (mit) - EF,i (ohne)] ( 1)

4.3 Anforderungen an das Beleuchtungsstärkemessgerät

Das Beleuchtungsstärkemessgerät ("Luxmeter") muss gestatten, 0,01 lx zu messen. Die Geräte müssen mindestens den Anforderungen der Klasse B nach DIN 5032, Teil 7 mit einem Gesamtfehler ≤ 10 % genügen.

5 Beurteilung und Messung der Blendung

5.1 Beurteilung

Als Konvention zur Berechnung von Werten für die maximal tolerable mittlere Leuchtdichte L̅max einer technischen Blendlichtquelle wird für den Bereich des Immissionsschutzes folgende Beziehung festgelegt:

max = k (LuS)0,5 ( 2)

Es bedeuten:

max maximal tolerable Leuchtdichte einer Blendlichtquelle in cd/m2, gemittelt über den zugehörigen Raumwinkel
Lu Maßgebende Leuchtdichte der Umgebung der Blendlichtquelle in cd/m2. Falls die aus Messungen ermittelte Umgebungsleuchtdichte L̅umess (siehe Nummer 5.3.2) kleiner als 0,1 cd/m2 ist, wird mit Lu = 0,1 cd/m2 gerechnet.
Ωs     Raumwinkel der vom Immissionsort aus gesehenen Blendlichtquelle in sr
k Proportionalitätsfaktor; er dient zur Festlegung der Immissionsrichtwerte L̅max (s. Tabelle 2)

Die mittlere Leuchtdichte L̅s der zu beurteilenden Blendquelle (siehe Nummer 5.3.1) soll die nach Gleichung ( 2) und Tabelle 2 berechneten Werte L̅max nicht überschreiten. Dies gilt für zeitlich konstantes Licht, das mehrmals in der Woche jeweils länger als eine Stunde angeschaltet wird.

Bei geringerer Einschaltdauer oder -häufigkeit sind höhere Leuchtdichtewerte als L̅max möglich (z.B. in Sportanlagen). Dies ist je nach Einzelfall gesondert zu behandeln.

Lichtquellen, deren Lichtabstrahlung sich nicht schneller als in einem 5-minütigen Rhythmus verändert, werden zu den zeitlich konstant abstrahlenden Anlagen gerechnet. Ändert sich die Lichtabstrahlung in weniger als 5 Minuten wesentlich, handelt es sich um Wechsellicht. Bei Wechsellicht wird der zeitliche Maximalwert der Leuchtdichte für die Ermittlung von L̅s zugrunde gelegt. In besonders auffälligen Situationen (z.B. große Schwankungen der Leuchtdichte, schnelle Hell-Dunkel-Übergänge, blitzlichtartige Vorgänge, schnelle Folgefrequenz des Wechsellichtes) werden die Maximalwerte mit einem Faktor 2 bis 5 multipliziert und mit den Immissionsrichtwerten nach Gleichung ( 2) und Tabelle 2 verglichen.

Der Anwendungsbereich von Gleichung ( 2) wird auf 0,1 cd/m2 ≤ Lu ≤ 10 cd/m2 und 10-7 sr ≤ Ωs ≤ 10-2 sr beschränkt.

Die Anwendung des Beurteilungsverfahrens gilt nur unter der Voraussetzung, dass vom Immissionsort aus bei üblicher Position der Blick zur Blendquelle hin möglich ist. Als Blickrichtung wird dann dieser Blick zur Blendquelle hin angenommen, weil sich das Auge im Allgemeinen unwillkürlich zur Blendlichtquelle hinwendet, da sie häufig das auffälligste Sehobjekt im Gesichtsfeld ist.

Tabelle 2: Proportionalitätsfaktor k zur Festlegung der maximal zulässigen mittleren Leuchtdichte L max technischer Lichtquellen während der Dunkelstunden

Immissionsort (Einwirkungsort)
(Gebietsart nach § BauVO)
Proponionalitätfaktor k
6 Uhr
bis
20 Uhr
20 Uhr
bis
22 Uhr
22 Uhr
bis
6 Uhr
1 Kurgebiete, Krankenhäuser, Pflegeanstalten1 32 32 32
2 reine Wohngebiete (§ 3)
allgemeine Wohngebiete (§ 4)
besondere Wohngebiete (§ 4 a)
Kleinsiedlungsgebiete (§ 2)
Erholungsgebiete (§ 10)
96 64 32
3 Dorfgebiete (§ 5)
Mischgebiete (§ 6)
160 160 32
4 Kerngebiete (§ 7)2
Gewerbegebiete (§ 8)
Industriegebiete (§ 9)
- - 160
1) Wird die Beleuchtungsanlage regelmäßig weniger als eine Stunde pro Tag eingeschaltet, gelten auch für die in Zeile 1 genannten Gebiete die Werte der Zeile 2.
2) Kerngebiete können in Einzelfällen bei geringer Umgebungsbeleuchtung (L̅u,mess ≤ 0,1 cd/m2) auch Zeile 3 zugeordnet werden.

Eine Überschreitung der Immissionsrichtwerte L̅max als Anlass für behördliche Anordnungen kann wegen der Fehlergrenzen des hier zugrunde gelegten Leuchtdichtemessgerätes (siehe Nummer 5.3.1.2) und bei sorgfältiger Messdurchführung (z.B. korrekte Fokussierung und Positionierung) messtechnisch erst dann festgestellt werden, wenn die festgestellte Leuchtdichte L der zu beurteilenden Lichtquelle mindestens 40 % oberhalb des entsprechenden Immissionsrichtwertes liegt. Dabei ist für die Messgrößen L̅s, Ωs, L̅u,mess ein relativer Fehler von jeweils 20 % zugrunde gelegt.

5.2 Beurteilung mehrerer Blendlichtquellen im Blickfeld

Besteht eine Beleuchtungsanlage aus mehreren einzelnen Leuchten, so muss die Leuchtdichte jeder einzelnen Leuchte zumindest unterhalb der oben beschriebenen Werte liegen. Dabei wird die Störwirkung unter Umständen zu gering eingestuft, da die Belästigung durch die Gesamtanlage stärker als die durch eine einzelne Leuchte allein ist. Gesicherte Ergebnisse über die Summenwirkung mehrerer Leuchten liegen jedoch bisher nicht vor.

5.3 Messgrößen und Messgerate

5.3.1 Leuchtdichte der Blendlichtquelle

Es wird die über den zugehörigen Raumwinkel Ωs (siehe Nummer 5.3.3) gemittelte Leuchtdichte L̅s der zu beurteilenden Blendlichtquelle bestimmt und mit den Werten L̅max nach Gleichung ( 2) in Verbindung mit den k-Werten der Tabelle 2 verglichen.

5.3.1.1 Berechnung der Leuchtdichte der Blendlichtquelle

Sind die Daten der Blendlichtquelle (Lichtaustrittsfläche der Leuchte, Lichtstärkeverteilung) sowie der Winkel zwischen der Normalen der Lichtaustrittsfläche und dem Lichtimmissionsort bekannt, so kann die Leuchtdichte der Blendlichtquelle L̅s berechnet werden:

S = I / Fp (3)

Es bedeuten:

Mittlere Leuchtdichte der zu beurteilenden Blendlichtquelle in cd/m2
I Lichtstärke in cd
Fp Projektion der Lichtaustrittsfläche der Leuchte auf eine Ebene senkrecht zur Verbindungsgeraden Immissionsort - Leuchte in m2

Sind diese Daten nicht vorhanden, so ist die Leuchtdichte der Blendlichtquelle durch Messung zu ermitteln.

5.3.1.2 Messung der Leuchtdichte der Blendlichtquelle

Die Messung ist bei Dunkelheit und klarem Wetter vom Immissionsort aus durchzuführen, z.B. vom Aufenthaltsraum bei geöffnetem Fenster, vom Balkon oder von der Terrasse. Das Leuchtdichtemessgerät soll mindestens den Anforderungen der Klasse B nach DIN 5032, Teil 7 mit einem Gesamtfehler ≤ 10 % entsprechen. Es sollten möglichst mehrere Messfeldblenden mit Winkeldurchmessern im Bereich von ca. 10° bis ca. 1° zur Verfügung stehen. Der Anzeigeumfang liegt zweckmäßigerweise etwa im Bereich von 10-2cd/m2 bis 106 cd/m2.

Bei der Messung ist auf genaue Fokussierung und Ausrichtung des Messgerätes zu achten. Ist der Raumwinkel der Messfeldblende des Messgerätes Ωm größer als der der Lichtquelle Ωs und schließt er ihn vollständig ein, so wird L̅swie folgt berechnet:

s =L̅m ⋅ Ωms (4)

Es bedeuten:

m Angezeigter Messwert, das heißt mittlere Leuchtdichte im Messfeld des Leuchtdichtemessers in cd/m2
Ωm Raumwinkel des Messfeldes des Leuchtdichtemessers in sr.
Es gilt: Ωm = 2 π (1 - cos α/2) für Kreiskegel mit dem vollen Öffnungswinkel α.
Ωs Raumwinkel der Lichtquelle in sr, vom Immissionsort aus gesehen.

Dabei ist vorausgesetzt, dass die Leuchtdichte im Messfeld außerhalb der Lichtquelle vernachlässigbar ist. Ist der Raumwinkel Ωs der Lichtquelle größer als Ωm und überdeckt er Ωm vollständig, so wird flächenrepräsentativ an mehreren Punkten der Lichtquelle gemessen und aus den Messwerten der arithmetische Mittelwert gebildet. Dieser Wert gibt die mittlere Leuchtdichte L̅s der Lichtquelle an.

5.3.2 Umgebungsleuchtdichte

Die Leuchtdichte L̅u,mess der Umgebung ist die durch Messung ermittelte mittlere Leuchtdichte in einem Winkelbereich von αu = ± 10° um die zu beurteilende Lichtquelle.

Bei der Messung ist die Zimmer- bzw. Terrassen- oder Balkonbeleuchtung auszuschalten. Die zu beurteilende Lichtquelle bleibt jedoch eingeschaltet, da diese die Umgebungsleuchtdichte mit beeinflussen kann. Messungen in Wohnräumen sind bei geöffnetem Fenster durchzuführen.

Die Umgebungsleuchtdichte kann mit einem Leuchtdichtemessgerät mit möglichst großer Messfeldblende (Winkeldurchmesser etwa ≥ 1°) ermittelt werden, indem räumlich repräsentativ an mehreren Punkten im Winkelbereich von ± 10° um die zu beurteilende Lichtquelle gemessen wird. Die zu beurteilende Lichtquelle selber und gegebenenfalls weitere Blendquellen im 20°-Feld bleiben dabei ausgespart.

Sehr helle Lichtquellen wie z.B. Flutlichtstrahler müssen dabei nicht nur außerhalb des Messfeldes, sondern sogar außerhalb des Gesichtsfeldes des Leuchtdichtemessers bleiben, da andernfalls das Streulicht im Objektiv das Messergebnis zu sehr verfälscht. Die Umgebungsleuchtdichte L̅u,mess ergibt sich dann als Mittelwert der einzelnen Leuchtdichtemesswerte Li.

5.3.3 Raumwinkel der Blendlichtquelle

Der Raumwinkel Ωs wird bei direkt abstrahlenden Lampen durch die vom Immissionsort aus sichtbaren Lampenabmessungen aufgespannt. Wenn das Licht durch Reflexion, Refraktion oder Streuung an der Leuchte zum Immissionsort gelenkt wird, sind die vom Immissionsort aus sichtbaren lichtabstrahlenden Leuchtenabmessungen ("scheinbare" Leuchtengröße, das heißt die Flächenprojektion auf eine Ebene senkrecht zur Verbindungsgeraden Immissionsort - Leuchte) zugrunde zu legen.

Die Ermittlung des Raumwinkels kann rechnerisch aus den Abmessungen der Blendlichtquelle, den Neigungswinkeln relativ zum Beobachter und dem Abstand zwischen der Blendlichtquelle und dem Immissionsort durchgeführt werden.

Der Raumwinkel Ωs der Lichtquelle wird rechnerisch nach folgender Beziehung ermittelt:

Ωs= Fp/R2  (5)

mit

Fp =F1 • cos ε

Es bedeuten:

Fp Projektion der lichtabstrahlenden Lampen- bzw. Leuchtenfläche auf eine Ebene senkrecht zur Verbindungsgeraden Immissionsort - Leuchte ("scheinbare" Leuchtengröße) in m2
R Direkter Abstand zwischen Lichtquelle und Immissionsort in m
F1 Lichtaustrittsfläche der Leuchte bzw. des Strahlers in m2
e Winkel zwischen Lot auf die Leuchtenfläche und Verbindungsgerade Immissionsort - Leuchte

Da oft nicht alle Größen (R, F1 und ε) bekannt oder einfach zu ermitteln sind, können andere Methoden zur Bestimmung des Raumwinkels vorzuziehen sein.

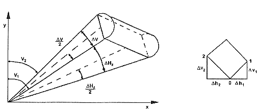
Einfach zu ermitteln ist der Raumwinkel rechteckiger Flächen durch reine Winkelmessungen mittels Theodolit vom Immissionsort. Der Raumwinkel ergibt sich dann aus der Winkeldifferenz der Eckpunkte der Lichtaustrittsfläche zu:

Ωs = 4 sin (ΔV/2) sin (ΔHz/2) (6a)

oder

Ωs = sinΔV sinΔHz (6 b)

ΔHz, ΔV siehe Abb. 1

Gleichung (6b) gilt für nicht zu große Winkel. Der Fehler ist >0,2 % für Winkel > 5°,> 1,7 % für Winkel > 15°.

Liegt das Strahlerfeld verdreht im Messfeld des Theodoliten, dann ergibt sich für kleine Winkel (bzw. Abstand zur Lichtquelle sehr groß im Vergleich zu den Abmessungen):

Ωs = [(sin2 Δh1 + sin2Δv1) (sin2 Δh2 + sin2 Δv2)]1/2 (7)

Δh1, Δh2, Δv1, Δv2 siehe Abb. 1

Abb. 1: Raumwinkelbestimmung durch Winkelmessung mit Theodolit

links: bei horizontalem Strahler
rechts: bei "verdrehtem" Strahler

Der mögliche Fehler bei der Raumwinkelbestimmung mit dem Theodoliten bewegt sich je nach Größe des zu ermittelnden Raumwinkels im Bereich von etwa 5 % bis 10 %. Als Theodolit eignen sich alle im Vermessungswesen eingesetzten Geräte. Moderne Geräte mit beleuchteter Messwertanzeige sind vorzuziehen. Zur Messung von Flutlichtstrahlern (sehr hohe Leuchtdichte) ist ein Graufilter notwendig.

Für die Messung des Raumwinkels Ωs aus einer fotografischen Aufnahme, die vom Immissionsort aufgenommen wird, gilt für große Abstände R ≫ f:

Ωs = FNeg /f2 (8)

Es bedeuten:

FNeg Fläche des Bildes der Lichtquelle auf dem Negativ oder Dia in mm2.
f Brennweite des Photoobjektivs in mm.

Bei der Aufnahme ist auf genaue Fokussierung und Verwacklungsfreiheit zu achten.

Die Objektivbrennweite hängt von der Größe der Lichtquelle und ihrer Entfernung zum Immissionsort ab; sie liegt für das Kleinbild-Format in einem Bereich von ca. 135 mm bis 1000 mm, um eine möglichst formatfüllende Aufnahme zu erhalten.

Ein Fotoapparat zur fotografischen Ermittlung des Raumwinkels Ωs benötigt verschiedene Objektive geeigneter Brennweite. Die Objektivbrennweite muss einmal an einem Objekt bekannter Größe in bekannter Entfernung überprüft werden.

Es müssen stets mehrere Aufnahmen mit unterschiedlicher Belichtung gemacht werden, um eine optimal belichtete Aufnahme für die Auswertung zu erhalten.

6. Maßnahmen zur Minderung der Störwirkung

Insbesondere folgende Maßnahmen zur Minderung von Lichtimmissionen haben sich bewährt.

  1. Bei der Festlegung des Leuchtenstandortes ist darauf zu achten, dass die Nachbarschaft möglichst wenig von Lichtimmissionen betroffen wird. Die eventuelle Beeinträchtigung der Nachbarschaft ist abhängig von Ort, Neigung und Höhe der Leuchte. Oftmals sind mehrere räumlich verteilte Leuchten aus der Sicht des Nachbarschutzes günstiger als wenige zentrale Leuchten.
  2. Direkte Blickverbindung zur Leuchte sollte vermieden werden. Ist dies nicht möglich, sind zum Schutz der Nachbarschaft Blenden vorzusehen (s. Abb. 2a und 2b).
  3. Für größere Plätze, die gleichmäßig ausgeleuchtet werden sollen (z.B. Lager- und Sportplätze), sind Scheinwerfer mit asymmetrischer Lichtverteilung zu verwenden, die oberhalb von 85° Ausstrahlungswinkel (zur Vertikalen) kein Licht abgeben, z.B. Strahler mit horizontaler Lichtaustrittsfläche (s. Abb. 2c).
  4. Zeitlich veränderliches Licht (z.B. bei Leuchtreklamen) sollte durch gleichbleibendes Licht ersetzt werden, soweit dies mit dem Zweck der Anlage zu vereinbaren ist.
  5. Lichtimmissionen aus Gebäuden (z.B. beleuchtete Arbeitsräume, Gewächshäuser etc.) können durch geeignete Abdunklungsmaßnahmen (Rollos, Jalousien o. Ä.) verhindert werden.

Abb. 2:Nicht empfehlenswerte und empfehlenswerte Varianten von Leuchten

7. Hinweise über die schädliche Einwirkung von Beleuchtungsanlagen auf Tiere - insbesondere auf Vögel und Insekten - und Vorschläge zu deren Minderung

7.1 Allgemeines

Lichtimmissionen gehören nach dem BImSchG zu den schädlichen Umwelteinwirkungen, wenn sie nach Art, Ausmaß und Dauer geeignet sind, Gefahren, erhebliche Nachteile oder erhebliche Belästigungen für die Allgemeinheit oder für die Nachbarschaft herbeizuführen. Neben dem Schutz des Menschen ist es ebenfalls Ziel des Gesetzes, Tiere und Pflanzen vor schädlichen Umwelteinflüssen zu schützen und dem Entstehen schädlicher Umwelteinwirkungen vorzubeugen.

Viele Tiere haben sich im Laufe der Evolution an den Tag-Nacht-Wechsel angepasst. So gibt es tagaktive und nachtaktive Tiere, die ihr Verhalten der jeweiligen Umgebungsleuchtdichte anpassen. Durch die ständige ansteigende Zahl der Millionen von künstlichen Lichtquellen ist in den letzten Jahrzehnten für viele Tierarten eine gravierende Änderung ihrer jeweiligen Umwelt eingetreten.

7.2 Maßnahmen zum Schutz von Insekten

Um unerwünschte Wirkungen auf Insekten zu vermeiden oder zu minimieren, sind - mit unterschiedlicher Wirksamkeit - die folgenden Maßnahmen geeignet:

a) Vermeidung heller, weitreichender künstlicher Lichtquellen in der freien Landschaft

Ortsfeste Lichtquellen in der freien Natur sind, wo immer möglich, zu vermeiden. Ihre Wirkung reicht um so weiter, je größer die Lichtpunkthöhe und je größer die Leuchtdichte bzw. die Lichtstärke in Richtung oberer Halbraum und etwa horizontal ist. Sind sie unvermeidlich, dann sind sie so niedrig wie möglich anzubringen. Eine größere Lichtpunktzahl geringer Höhe und Leistung ist gegenüber wenigen Lichtpunkten großer Höhe und Leistung vorzuziehen. Zusätzlich sind Maßnahmen nach Buchstaben b und c in größtmöglichem Umfange anzuwenden. Dies gilt auch für alle Übergangsbereiche von dichter Bebauung in die offene Landschaft oder naturnahe Nutzung wie Garten- und Parkanlagen. Helle Gebäudewände sollten in solchen Bereichen nicht intensiv angestrahlt werden.

b) Lichtlenkung ausschließlich in die Bereiche, die künstlich beleuchtet werden müssen

In empfindlichen Bereichen sind grundsätzlich nur solche Lichtquellen zu verwenden, deren Abstrahlung nach oben und in etwa horizontaler Richtung durch Abschirmung weitgehend verhindert wird. Die Abstrahlung ist möglichst auf einen Winkel kleiner als 70° zur Vertikalen zu beschränken. Müssen größere Abstrahlwinkel verwendet werden, ist eine Begrenzung der Lichtstärke zu empfehlen (Ausnahme: Anlagen zur Anstrahlung von Gebäuden u. Ä.). Bei den Anlagen zur Anstrahlung von Gebäuden sind die Aspekte des Tierschutzes bei der Planung zu berücksichtigen. Solche Leuchten gibt es sowohl für die Beleuchtung von Straßen, Wegen oder für ähnliche Zwecke als auch für große Flächen. Für die Beleuchtung häufig benutzter großer Flächen, wie z.B. Lager- oder Trainingsplätze, sollten nur Scheinwerfer mit asymmetrischer Lichtverteilung verwendet werden, die oberhalb von 85° Ausstrahlungswinkel (zur Vertikalen) kein Licht abgeben, z.B. Strahler mit horizontaler Lichtaustrittsfläche. Leuchten, die nur in den für die Beleuchtungszwecke benötigten Richtungen abstrahlen, haben auch einen wesentlich höheren Wirkungsgrad und sind daher auf Dauer ökonomischer. Frei nach (fast) allen Richtungen abstrahlende Leuchten - wie viele so genannte "dekorative" Leuchten -dürfen in empfindlichen Bereichen nicht eingesetzt werden.

c) Wahl von Lichtquellen mit für Insekten wirkungsarmem Spektrum

Am wenigsten beeinflusst wird das Verhalten von Nachtinsekten durch das monochromatische Licht der Natriumdampf-Niederdrucklampe. Bei für den Menschen gleichem Helligkeitsniveau liegt die Wirkung auf Insekten für diese Lampen nur bei 1 % bis 2,5 % derjenigen von Quecksilberdampflampen. Im rein gelben Licht dieser Lampe ist jedoch keine Farberkennung möglich. Daher ist sie aus der Sicht des Menschen nur in Fällen geringer Ansprüche einsetzbar.

Die Natriumdampf-Hochdrucklampen dagegen haben für den Menschen eine für die meisten Fälle befriedigende Farbwiedergabe, während die Wirkung auf Insekten erst im Bereich von 10 % bis 25 % der von Quecksilberdampflampen liegt.

Natriumdampflampen haben darüber hinaus eine höhere Lichtausbeute und Lebensdauer als Quecksilberdampflampen und sind größtenteils auch gegen diese austauschbar. In naturnahen Bereichen sollten daher künftig nur noch Natriumdampflampen eingesetzt werden, in freier Natur - wenn irgend vertretbar - Natriumdampf-Niederdrucklampen.

d) Verwendung von staubdichten Leuchten

Dadurch lässt sich vermeiden, dass die Insekten in die Leuchte gelangen und dort an der heißen Lampe verbrennen oder eingesperrt verhungern.

e) Begrenzung der Betriebsdauer auf die notwendige Zeit

Anlagen für künstliche Beleuchtung sollten nur so lange wie notwendig betrieben werden. Dies gilt insbesondere auch für die Anstrahlung von Gebäuden, wo eine Begrenzung der Lichtabstrahlung in den unteren Halbraum nicht möglich und daher eine erhebliche Fernwirkung der Lichtquellen unvermeidlich ist. Diese sollten in den späteren Nachtstunden, während deren die gewünschte Wirksamkeit wegen des fehlenden Publikums ohnedies gering ist, abgeschaltet werden. Dies gilt auch für Beleuchtungsanlagen für Werbezwecke.

Für Beleuchtungsanlagen, die während der ganzen Nacht in Betrieb sein müssen, ist zu prüfen, ob für die späteren Nachtstunden eine Reduzierung des Niveaus möglich ist.

7.3 Maßnahmen zum Schutz von Vögeln

Die im Abschnitt zum Schutz von Insekten in Buchstaben a, b und e genannten Maßnahmen sind auch geeignet, möglicherweise ungünstige Einflüsse künstlicher Beleuchtung auf Vögel zu vermeiden oder zu minimieren. Außerdem:

Zur Vermeidung von Vogelschlag an hohen Gebäuden wie Leucht- oder Funktürmen sollte auch der Gebäudekörper angeleuchtet werden, damit dieser für die Vögel sichtbar wird.

8. Geltungsdauer 07

Die Geltungsdauer dieser Leitlinie ist bis zum 31. Dezember 2016 befristet.

.

Abkürzungen  Anhang


E Verwendete Abkürzungen Beleuchtungsstärke, gemessen in lx
F mittlere Beleuchtungsstärke am Immissionsort, normalerweise in der Fensterebene, bei Terrassen und Balkonen in der Ebene vertikaler Bezugsflächen
f Brennweite eines Photoobjektivs in mm
FNeg Fläche des Bildes einer Lichtquelle auf einem fotografischen Negativ oder Dia in mm2
Fp Projektion der Lichtaustrittsfläche der Leuchte auf eine Ebene senkrecht zur Verbindungsgeraden Immissionsort-Leuchte in m2
R Direkter Abstand zwischen Lichtquelle und Immissionsort in m
F1 Lichtaustrittsfläche der Leuchte in m2
k Proportionalitätsfaktor zur Festlegung der Werte für die maximal tolerable mittlere Leuchtdichte einer Blendlichtquelle bzw. zur unmittelbaren Beschreibung der Güte der Blendungsbegrenzung
L Leuchtdichte, gemessen in cd/m2
s Mittlere Leuchtdichte der zu beurteilenden Blendlichtquelle
u,mess Mittlere Leuchtdichte des (20°)-Umfeldes der zu beurteilenden Blendlichtquelle
Lu           Messgebende Leuchtdichte der Umgebung der Blendlichtquelle
max Maximal tolerable mittlere Leuchtdichte einer Blendlichtquelle
m Mittlere Leuchtdichte im Messfeld eines Leuchtdichtemessers
I Lichtstärke in cd
Ω Raumwinkel, unter dem eine (leuchtende) Fläche erscheint, gemessen in sr
Ω = Fp/R2 (Fp = Flächenprojektion; R = Abstand zur Fläche)
Ω = 2 π ⋅ (1-cos α/2) für Kreiskegel mit Öffnungswinkel α
Ωs Raumwinkel, unter dem die zu beurteilende Blendlichtquelle erscheint
Ωu Raumwinkel des Umfeldes; Ωu = 0,095 sr für αu = 20°
Ωm Raumwinkel zum Messfeld eines Leuchtdichtemessers, z.B. Ωm = 0,000239 sr für α = 1°
α Voller Öffnungswinkel eines Kreiskegels, gemessen in Grad
αu Voller Öffnungswinkel des kreisförmigen Umfeldes um die zu beurteilende Blendlichtquelle
Festlegung αu = 20°
ε Winkel zwischen der Senkrechten auf der Lichtaustrittsfläche der Leuchte und der Verbindungsgeraden Immissionsort-Leuchte
ΔV, ΔHz, Δh1, Δh2, Δv1, Δv2
Winkeldifferenzen bei Messung mit Theodolit, siehe Abb. 1


ENDE

umwelt-online - Demo-Version


(Stand: 28.02.2021)

Alle vollständigen Texte in der aktuellen Fassung im Jahresabonnement
Nutzungsgebühr: ab 105.- € netto

(derzeit ca. 7200 Titel s.Übersicht - keine Unterteilung in Fachbereiche)

Preise & Bestellung

Die Zugangskennung wird kurzfristig übermittelt

? Fragen ?
Abonnentenzugang/Volltextversion