Für einen individuellen Ausdruck passen Sie bitte dieEinstellungen in der Druckvorschau Ihres Browsers an. Regelwerk, Technische Regeln, TRBS - Arbeitsschutz |
![]() |
TRBS 1201 Teil 1 - Prüfung von Anlagen in explosionsgefährdeten Bereichen und Überprüfung von Arbeitsplätzen in explosionsgefährdeten Bereichen
Technische Regeln für Betriebssicherheit (TRBS)
Vom 5. September 2006
(BAnz. 232a vom 09.12.2006; 14.03.2019 S. 241aufgehoben)
vgl. BG EX-RL (BGR 104)
Vorbemerkung
Diese Technische Regel für Betriebssicherheit (TRBS) gibt dem Stand der Technik, Arbeitsmedizin und Hygiene entsprechende Regeln und sonstige gesicherte arbeitswissenschaftliche Erkenntnisse für die Bereitstellung und Benutzung von Arbeitsmitteln sowie für den Betrieb überwachungsbedürftiger Anlagen wieder.
Sie wird vom Ausschuss für Betriebssicherheit ermittelt und vom Bundesministerium für Arbeit und Soziales im Bundesarbeitsblatt bekannt gemacht.
Die Technische Regel konkretisiert die Betriebssicherheitsverordnung ( BetrSichV) hinsichtlich der Ermittlung und Bewertung von Gefährdungen sowie der Ableitung von geeigneten Maßnahmen. Bei Anwendung der beispielhaft genannten Maßnahmen kann der Arbeitgeber insoweit die Vermutung der Einhaltung der Vorschriften der Betriebssicherheitsverordnung für sich geltend machen. Wählt der Arbeitgeber eine andere Lösung, hat er die gleichwertige Erfüllung der Verordnung schriftlich nachzuweisen.
1 Anwendungsbereich
Diese technische Regel gilt für die Ermittlung und die Durchführung der besonderen Prüfungen zum Explosionsschutz an überwachungsbedürftigen Anlagen nach § 1 Abs. 2 Nr. 3 BetrSichV, anderen Arbeitsmitteln sowie Einrichtungen und Verbindungselementen auch außerhalb der explosionsgefährdeten Bereiche, sofern diese den explosionssicheren Betrieb der überwachungsbedürftigen Anlagen beeinflussen. Nr. 5 dieser TRBS befasst sich mit der Überprüfung der Explosionssicherheit von Arbeitsplätzen in explosionsgefährdeten Bereichen nach Anhang 4 Abschnitt a Nr. 3.8 BetrSichV Prüfungen nach Instandsetzungen gemäß § 14 Abs. 6 BetrSichV werden in dieser Regel nicht behandelt.
2 Begriffsbestimmungen
2.1 Überwachungsbedürftige Anlage im Sinne des § 1 Abs. 2 Satz 1 Nr. 3 BetrSichV
Hinweis: Überschneidungen hinsichtlich der Zuordnung von Arbeitsmitteln oder Anlagenteilen zu anderen überwachungsbedürftigen oder nicht überwachungsbedürftigen Anlagen unterschiedlicher Gefährdungen sind möglich. Auch bei Überschneidungen der Gefährdungen erfolgen die Prüfung der überwachungsbedürftigen Anlagen vor Inbetriebnahme sowie die wiederkehrenden Prüfungen entsprechend den spezifischen Vorgaben der BetrSichV für die jeweilige Gefährdung (z.B. Druck, Absturz, Brand- und Explosion).
2.2 Prüfarten bei überwachungsbedürftigen Anlagen im Sinne des § 1 Abs. 2 Satz 1 Nr. 3 BetrSichV
2.2.1 Ordnungsprüfung
Bei der Ordnungsprüfung wird insbesondere festgestellt, ob
2.2.2 Technische Prüfungen
2.2.2.1 Sichtprüfung
Die Sichtprüfung beinhaltet eine durch äußere Begutachtung (ohne Eingriffe in Geräte, Einrichtungen, die Installation und die Montage) erzielte rechtzeitige Feststellung von optisch zu erkennenden
Mängeln. Darüber hinaus erfolgt dabei auch die Feststellung von Mängeln durch Wahrnehmungen über andere Sinnesorgane (Tast-, Gehör-, Geruchssinn; Beispiele: übermäßige Vibration, Lagergeräusche an einer Maschine, Korrosion an einem druckfesten Gerät, Undichtigkeiten).
2.2.2.2 Nahprüfung
Die Nahprüfung beinhaltet die rechtzeitige Feststellung von nicht unmittelbar sicht- oder hörbaren Mängeln und wird analog zur Sichtprüfung, jedoch unter Verwendung von Zugangseinrichtungen (z.B. Leitern) und falls erforderlich anderen Hilfsmitteln durchgeführt. Eingriffe in die Prüfobjekte, z.B. die Öffnung eines Gehäuses, sind üblicherweise für eine Nahprüfung nicht erforderlich.
2.2.2.3 Detailprüfung
Die Detailprüfung beinhaltet zusätzlich zu den Aspekten der Sicht- und Nahprüfungen die Feststellung solcher Fehler, die nur durch Eingriffe, z.B. das Öffnen von Gehäusen und/oder, falls erforderlich, unter Verwendung von Werkzeugen und Prüfeinrichtungen zu erkennen sind.
2.2.2.4 Instandhaltungsbegleitende Prüfung
Instandhaltungsbegleitende Prüfungen sind Sicht-, Nah- und Detailprüfungen, die im Rahmen der Instandhaltung durchgeführt werden 1).
2.2.3 Prüfumfang
Zur Definition des Prüfumfangs siehe Nr. 2.3 TRBS 1201. Arten und Gegenstände der Prüfungen sind festzulegen.
2.2.4 Prüffristen
Zur Definition der Prüffristen siehe Nr. 2.4 TRBS 1201
2.2.5 Prüfregeln
Prüfregeln im Sinne dieser TRBS sind alle Festlegungen zur Durchführung der Prüfung selbst und der erforderlichen Randbedingungen.
2.2.6 Prüfkonzept
Ein Prüfkonzept besteht aus einer geeigneten Kombination der unter den Nummern 2.2.2.1 bis 2.2.2.4 aufgeführten Prüfarten technischer Prüfungen mit der geeigneten Festlegung von Prüfumfang, von Prüfregeln und der Festlegung der Befähigung des Prüfers.
2.2.7 Sichere Funktion
Für den Explosionsschutz beschreibt der Begriff sichere Funktion:
3 Vorgehensweise bei Prüfungen von Anlagen in explosionsgefährdeten Bereichen - Ermittlung der Prüfanforderungen, Entwicklung von Prüfkonzepten
3.1 Allgemeine Zielsetzung
Durch Prüfungen an überwachungsbedürftigen Anlagen in explosionsgefährdeten Bereichen gemäß § 14 Abs. 1 und 2 BetrSichV wird der ordnungsgemäße Zustand vor Inbetriebnahme der Anlagen nach Nr. 2.1 hinsichtlich Montage, Installation, Aufstellungsbedingungen und sicherer Funktion festgestellt.
Die wiederkehrenden Prüfungen nach § 15 BetrSichV dienen der Sicherstellung des ordnungsgemäßen Zustandes der Anlagen hinsichtlich des Betriebs.
3.2 Festlegung von Prüfart und -umfang, Nutzung von Prüfkonzepten
3.2.1 Prüfarten und Prüfumfang
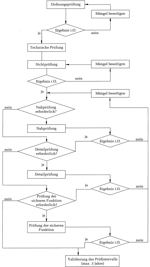
Siehe hierzu auch die Nummern 2.2 und 2.3 TRBS 1201. Bei der Festlegung der Prüfarten berücksichtigt der Arbeitgeber/Betreiber die für die Feststellung des ordnungsgemäßen Zustandes erforderlichen Prüfschritte wie Sicht-, Nah- und Detailprüfungen sowie die Prüfung der sicheren Funktion. Prüfarten können kombiniert angewendet werden. Prüfarten werden durch die Gefährdungsbeurteilung oder durch die sicherheitstechnische Bewertung ermittelt; siehe hierzu Bild 1.
Bild 1: Prüfablauf im Rahmen der wiederkehrenden Prüfung

Die Empfehlungen und Prüfangaben der Hersteller der Geräte und Einrichtungen sind einzubeziehen. Die Prüfarten sind den speziellen Belastungen im jeweiligen Betrieb anzupassen.
Der Prüfumfang ist für die Ex-Anlage gemäß Nr. 2.1 durch den Arbeitgeber/Betreiber, im Bedarfsfall unter Hinzuziehung von internen oder externen fachkundigen Stellen, spezifisch auf der Basis der Gefährdungsbeurteilung/sicherheitstechnischen Bewertung festzulegen.
3.2.1.1 Festlegung des Prüfumfangs für Prüfungen vor Inbetriebnahme nach § 14 BetrSichV
Bei den Prüfungen gemäß § 14 BetrSichV sind grundsätzlich zu prüfen:
gewährleistet ist
3.2.1.2 Festlegung des Prüfumfangs für wiederkehrende Prüfungen nach § 15 BetrSichV
Bei den Prüfungen gemäß § 15 Abs. 15 BetrSichV sind grundsätzlich zu prüfen:
Zusätzlich gilt:
Sofern andere Arbeitsmittel, Anlagenteile/Anlagen schädigenden Einflüssen ausgesetzt sind (z.B. durch mechanische Belastungen, starke Verschmutzung, Chemikalien, Feuchtigkeit, Kälte oder Hitze), die Einfluss auf die Explosionssicherheit haben, unterliegen diese nach den auf der Grundlage der Gefährdungsbeurteilung/ sicherheitstechnischen Bewertung festgelegten Maßnahmen ebenso der Pflicht zur wiederkehrenden Prüfung. Die Prüfung erstreckt sich auf ihren ordnungsgemäßen Zustand und ihre ordnungsgemäße Zusammenschaltung.
3.2.2 Festlegen der Prüffristen für wiederkehrende Prüfungen nach § 15 BetrSichV
Der Betreiber muss im Rahmen einer Gefährdungsbeurteilung oder sicherheitstechnischen Bewertung die Prüffristen für Geräte und Einrichtungen festlegen. Die maximale Zeitspanne für die wiederkehrende Prüfung der überwachungsbedürftigen Anlage beträgt 3 Jahre 3) . Die Prüffrist wird objektbezogen festgelegt. Dies gilt auch für Prüfungen gemäß Nr. 3.2.3. Betriebserfahrungen und Angaben der Hersteller zu Prüffristen der Geräte und Einrichtungen sind zu berücksichtigen.
Die Ermittlung der Prüffristen und Prüfanforderungen erfolgt in einer Gefährdungsbeurteilung oder in einer sicherheitstechnischen Bewertung gemäß TRBS 1111 und ist in TRBS 1201 allgemein beschrieben.
In Abhängigkeit der Prüfergebnisse kann auch die Anpassung der Prüffristen erforderlich sein (siehe hierzu auch Bild 1).
3.2.3 Prüfkonzept
Zur Erhaltung des ordnungsgemäßen Zustandes der überwachungsbedürftigen Anlage nach Nr. 2.1 kann ein Prüfkonzept erstellt werden, nach dem durch qualifiziertes Fachpersonal Maßnahmen, insbesondere instandhaltungsbegleitende Prüfungen, durchgeführt werden.
Sofern dieses Prüfkonzept sicherheitstechnische Anforderungen der Prüfung nach § 15 BetrSichV berücksichtigt, können die Ergebnisse der instandhaltungsbegleitenden Prüfungen durch die befähigte Person zur Erfüllung der Anforderungen nach § 15 BetrSichV herangezogen werden. In diesen Fällen bewertet die befähigte Person die Ergebnisse der instandhaltungsbegleitenden Prüfungen und kann sie sich als seine Prüfung zu eigen machen, sofern an Hand der Ergebnisse der Prüfungen eine klare Aussage über den Anlagenzustand möglich ist. Ungeachtet dessen ist im Rahmen der technischen Prüfung durch die befähigte Person zumindest eine stichprobenartige Kontrolle von Anlagenteilen erforderlich.
Im Rahmen der Ordnungsprüfung hat sich die befähigte Person davon zu überzeugen, dass innerhalb der festgelegten Prüffrist alle erforderlichen Prüfungen an der Anlage durchgeführt wurden. Andernfalls sind diese innerhalb der Prüffrist nachzuholen.
In Abhängigkeit vom Prüfergebnis kann im Einzelfall auch die Anpassung des Prüfkonzeptes erforderlich sein.
3.3 Festlegung der mit der Prüfung beauftragten befähigten Person
Der Arbeitgeber/Betreiber legt fest, wer für die überwachungsbedürftige Anlage in explosionsgefährdeten Bereichen (gemäß Nr. 2.1) die Prüfungen als befähigte Person (eigene oder fremde befähigte Personen) durchführt. Der Arbeitgeber/Betreiber benennt und beauftragt die befähigten Personen mit der Prüfung. Die Verantwortung für die sachgerechte Auswahl liegt stets beim Arbeitgeber/Betreiber, auch wenn er externe "befähigte Personen" mit der Durchführung der Prüfung beauftragt. Die erforderliche Qualifikation von befähigten Personen ist in den TRBS 1203 und TRBS 1203 Teil 1 beschrieben.
4 Durchführung der Prüfungen
4.1 Allgemeines
Grundsätzlich setzen sich Prüfungen aus Ordnungsprüfungen und technischen Prüfungen zusammen. Dies gilt sowohl für Prüfungen nach § 14 Abs. 1 und 2 BetrSichV und Anhang 4 Abschnitt a Nr. 3.8 BetrSichV als auch für Prüfungen nach § 15 BetrSichV.
Eine wiederkehrende Prüfung der Ex-Anlage im Sinne der Nr. 2.1 in Bezug auf den Explosionsschutz ist erfüllt, wenn die wiederkehrenden Prüfungen nach Nr. 3.2.1.2 und soweit erforderlich auch der Einrichtungen nach 2.1 Nr. 2 sowie deren funktionale Zusammenschaltung durchgeführt wurden.
Die nachfolgend aufgeführten Prüfarten sind für die Feststellung des ordnungsgemäßen Zustandes der in den überwachungsbedürftigen Anlagen realisierten Explosionsschutzmaßnahmen anwendbar. 4)
4.2 Ordnungsprüfung
Bei der Ordnungsprüfung gemäß Nr. 2.2.1 werden folgende Unterlagen herangezogen, soweit sie aufgrund der Vorschriften für das Prüfobjekt gefordert sind. Dazu können z.B. gehören:
Bei der wiederkehrenden Prüfung müssen die Unterlagen, die bei der Prüfung vor erstmaliger Inbetriebnahme, nach einer wesentlichen Veränderung oder Änderung der Geräte und Einrichtungen vorlagen, nur in dem Umfang herangezogen werden, wie es für die Durchführung der technischen Prüfung erforderlich ist.
Die Ordnungsprüfung beschränkt sich bei wiederkehrenden Prüfungen auf die Vollständigkeit der Prüfungen der Anlagenteile und auf Änderungen im Vergleich zur Prüfung vor Inbetriebnahme (bei instandhaltungsbegleitenden Prüfungen siehe hierzu auch Nr. 3.2.3).
4.3 Technische Prüfung
Die technische Prüfung kann sich in Abhängigkeit von dem Prüfkonzept und den gerätebezogenen Prüfanforderungen aus Sichtprüfungen, sofern erforderlich Nah- oder Detailprüfungen, sowie der Prüfung der sicheren Funktion zusammensetzen.
Zur Konkretisierung der technischen Prüfungen können die einschlägig bekannten und unter den Fachleuten akzeptierten technischen Regeln, Richtlinien und Normen dienen. Die Mess- und Prüfangaben in der Betriebsanleitung der Hersteller für Geräte und Einrichtungen sind zu berücksichtigen. Besondere Anforderungen können sich aus dem besonderen Betrieb oder den Genehmigungsbescheiden für die überwachungsbedürftige Anlage ergeben.
Bei der Prüfung vor Inbetriebnahme nach § 14 Abs. 1 bis 3 BetrSichV von Geräten und Einrichtungen, die gemäß Explosionsschutzverordnung in Verkehr gebracht worden sind, wird im Rahmen der technischen Prüfung die Überprüfung der ordnungsgemäßen Montage, Installation, der Aufstellungsbedingungen sowie der sicheren Funktion durchgeführt. Zu dieser Prüfung gehören unter anderem:
Sofern eine EG-Konformitätserklärung oder eine entsprechende Darstellung im Explosionsschutzdokument vorliegt, wird bei der Prüfung der sicheren Funktion einzelner Geräte und Schutzsysteme im Sinne der EG-Richtlinie 94/9/EG im Rahmen der Prüfung vor Inbetriebnahme die Einhaltung der Beschaffenheitsanforderungen nicht mehr geprüft.
5 Überprüfung nach Anhang 4 Abschnitt a Nr. 3.8 BetrSichV
5.1 Zielsetzung der Überprüfung
Vor der erstmaligen Benutzung von Arbeitsplätzen in explosionsgefährdeten Bereichen sind Überprüfungen nach Anhang 4 Abo-Schnitt A, Nr. 3.8 BetrSichV . durchzuführen. Sie dienen der Feststellung der Explosionssicherheit der Arbeitsplätze einschließlich der Arbeitsmittel und der Arbeitsumgehung. Wegen der Definition der überwachungsbedürftigen Anlagen im Sinne des § 1 Abs. 2 Satz 1 Nr. 3 BetrSichV betrifft diese Überprüfung auch Arbeitsplätze an überwachungsbedürftigen Anlagen in explosionsgefährdeten Bereichen. Die Überprüfung nach Anhang 4 Abschnitt a Nr. 3.8 BetrSichV stellt eine gesamtheitliche Systembetrachtung unter Einbeziehung aller Funktionseinheiten und deren Wechselwirkungen zum Schutz von Beschäftigten und Dritten dar. Sie dient dem Nachweis der Richtigkeit des Explosionsschutzkonzepts und seiner Umsetzung in die gesamte überwachungsbedürftige Anlage und kann sich auf bereits durchgeführte Prüfungen abstützen (siehe Nummern 3 und 4).
5.2 Inhalt der Überprüfung
Die Überprüfung der Umsetzung der Anforderungen nach BetrSichV Anhang 4 Nr. 3.8 BetrSichV setzt sich aus folgenden Prüfschritten zusammen:
5.2.1 Prüfung der sachlichen Richtigkeit des Explosionsschutzkonzeptes - entfällt bei Anlagen, für die im Wege des Erlaubnisverfahrens diese Prüfung bereits erfolgt ist.
5.2.2 Prüfung der Konkretisierung des Explosionsschutzkonzeptes im Explosionsschutzdokument. Sofern kein Explosionsschutzdokument erforderlich ist, erfolgt die Prüfung auf der Grundlage der Festlegungen der sicherheitstechnischen Bewertung.
5.2.3 Prüfung der Umsetzung des Explosionsschutzkonzeptes für den konkreten Bereich. Dieser Prüfschritt beinhaltet die ganzheitliche Prüfung der Umsetzung aller organisatorischen und technischen Maßnahmen. Prüfergebnisse anderer fachkundiger Personen und Prüfergebnisse nach § 14 Abs. 1 oder 2 BetrSichV können herangezogen werden.
Zu prüfen sind dazu:
Eine detaillierte Liste einzelner Prüfpunkte befindet sich im Anhang.
5.3 Erneute Überprüfung nach Anhang 4 Abschnitt a Nr. 3.8 BetrSichV
Eine erneute Überprüfung im Sinne des Anhangs 4 Abschnitt a Nr. 3.8 BetrSichV ist nur erforderlich, wenn die zur Gewährleistung des Explosionsschutzes erforderlichen Bedingungen soweit verändert wurden, dass die Explosionssicherheit der Arbeitsplätze und der Arbeitsumgebung sowie der Maßnahmen zum Schutz von Dritten beeinträchtigt wurde.
6 Dokumentation
Die Ergebnisse der Prüfungen gemäß den §§ 14 und 15 BetrSichV sind nach Vorgabe des § 19 Abs. 1 Satz 2 BetrSichV aufzuzeichnen. Die Aufzeichnung kann in Papierform oder in elektronischen Systemen erfolgen. Die Prüfdokumentationen sind am Betriebsort verfügbar zu halten.
____________
1) Diese Prüfungen sind aus sich heraus keine Prüfungen im Sinne des § 15 BetrSichV.
2) Dies bezieht sich auch auf Geräte, die im Rahmen einer Gestattung gemäß Explosionsschutzverordnung § 4 Abs. 5 in Verkehr gebracht wurden sowie in Eigenbau erstellte Geräte.
3) Für Anlagen, die nach § 15 Abs. 16 BetrSichV geprüft werden, beträgt die maximale Prüffrist für die Prüfung durch die zugelassene Überwachungsstelle fünf Jahre.
4) Anlagenspezifische Festlegungen und spezielle Prüfarten, die nicht den Explosionsschutz betreffen, bleiben hiervon unberührt.
| Typische Prüfpunkte zur Durchführung von Überprüfungen nach Anhang 4 Abschnitt A, Nr. 3.8 BetrSichV | Anhang |
Dieser Anhang dient zur Strukturierung von Überprüfungen nach Anhang 4 Abschnitt A, Nr. 3.8 BetrSichV. Die Detaillierungstiefe der erforderlichen Informationen hängt vom Einzelfall ab.
1 Liegt die verfahrenstechnische Beschreibung vor?
2 Stoffdaten (Eingangsstoffe, Zwischen- und Ausgangsprodukte)
2.1 Sind die relevanten sicherheitstechnischen Kenngrößen bekannt?
2.2 Gibt es "besondere" Stoffe, z.B. Oxidationsmittel, pyrophore Stoffe oder hochgradig instabile Stoffe?
Bei diesen Stoffen treten zusätzliche Gefährdungen auf, die nicht Gegenstand dieser Überprüfungen zum Explosionsschutz sind. Hinsichtlich der Auswirkungen als potenzielle Zündquellen sind diese zu berücksichtigen.
3 Betrachtungen für das Innere von Apparaten/Rohrleitungen auch bei Abweichungen von den Betriebsbedingungen
3.1 Liegen explosionsfähige Gemische vor oder können sie entstehen? Sind sie eindeutig identifizierbar?
3.2 Sind Maßnahmen ergriffen, konzeptionell richtig und richtig ausgeführt, welche die Bildung explosionsfähiger Gemische einschränken oder verhindern?
3.3 Ist eine Klassifizierung der Wahrscheinlichkeit bzgl. des Vorliegens explosionsfähiger Gemische (im Sinne einer Ex-Zonen-Einteilung) erfolgt?
3.4 Sind mögliche Zündquellen identifiziert und klassifiziert hinsichtlich der Wahrscheinlichkeit ihres Auftretens (Zündquellenliste)?
3.5 Ist die Klassifizierung unter Berücksichtigung der getroffenen Maßnahmen richtig und gemäß der Wahrscheinlichkeit bzgl. des Vorliegens explosionsfähiger Gemische ausreichend (unter Berücksichtigung auch der Apparatewerkstoffe, Betriebsmittel und Ausrüstungen sowie Verfahrensweisen)?
3.6 Ist die Unabhängigkeit des Auftretens explosionsfähiger Gemische und Zündquellen gegeben? Wenn nein: Sind entsprechende Maßnahmen getroffen?
3.7 Sind Maßnahmen zum konstruktiven Explosionsschutz notwendig, konzeptionell richtig und richtig ausgeführt?
3.8 Ist eine Explosionsübertragung von innen nach außen bzw. von außen nach innen möglich und sicher verhindert?
4 Betrachtungen für die Umgebung von Apparaten/Rohrleitungen
4.1 Sind die betrieblichen und potenziellen Freisetzungsquellen an Apparaten/Rohrleitungen, Beschickungs-/Entleerungs-/ Abfüllstellen identifiziert und klassifiziert?
4.2 Sind die wirksamen Lüftungsparameter bestimmt?
4.3 Ist die mit Hilfe der Ergebnisse der Nummern 4.1 und 4.2 vorgenommene Zoneneinteilung richtig?
4.4 Sind von den Nummern 4.1 und 4.2 abweichende Methoden verwendet worden und ist die dabei getroffene Zoneneinteilung richtig?
4.5 Wurde die Auswahl der Arbeitsmittel inklusive Ausrüstungsteile, Verpackungsmaterialien, Persönliche Schutzausrüstungen etc. auf der Grundlage der Zoneneinteilung getroffen? Werden gemäß der Zoneneinteilung geeignete Geräte entsprechender Kategorien im Sinne von Anhang 4 Abschnitt B BetrSichV eingesetzt bzw. liegen bei Abweichungen Einzelbewertungen vor, die im Explosionsschutzdokument niedergelegt und richtig sind?
4.6 Ist die unverzügliche Entfernung freigesetzter brennbarer (insbesondere staubförmiger abgelagerter) Stoffe über organisatorische Regelungen gewährleistet?
4.7 Sind die Verfahrensanweisungen für den Betrieb in Bezug auf die Zoneneinteilung richtig?
5 Auswirkungsbegrenzung
5.1 Gibt es über das übliche Maß (siehe TRBS 2152 Teil 1) hinausgehende Auswirkungen eines Explosionsereignisses?
5.2 Sind die zur Begrenzung der Auswirkungen getroffenen Maßnahmen konzeptionell ausreichend und richtig ausgeführt?
6 Dokumentation
6.1 Liegt ein Explosionsschutzdokument gemäß § 6 BetrSichV vor?
6.2 Liegen die erforderlichen Dokumentationen für die in Ex-Bereichen verwendeten Arbeitsmittel vor?
6.3 Liegen die erforderlichen Bescheinigungen über den ordnungsgemäßen Einbau von Anlagenteilen vor?
6.4 Liegen die erforderlichen Prüfbescheinigungen gemäß § 19 BetrSichV (explosionsschutzrelevante Bescheinigungen) vor?
6.5 Liegen Instandhaltungs-, Prüf- und Wartungspläne zum Explosionsschutz für die Arbeitsmittel (soweit erforderlich) vor?
6.6 Sind die Anforderungen an die "Befähigten Personen" (Ex-Schutz) festgelegt?
7 Organisation
7.1 Liegen die für den Explosionsschutz relevanten Anweisungen vor?
7.2 Liegen Anweisungen zu Risiken vor, die besondere Maßnahmen erfordern (z.B. bei Betriebsstörungen)?
7.3 Ist die Koordination und Kontrolle bei Arbeiten an unterschiedlichen Gewerken (gegenseitige Gefährdung) festgelegt?
7.4 Sind die Ex-Bereiche eindeutig gekennzeichnet?
7.5 Sind die erforderlichen Flucht- und Rettungswege vorhanden und ausreichend gekennzeichnet?
7.6 Sind die erforderlichen Fluchtmittel vorhanden?
7.7 Ist der Zugang Unbefugter ausreichend verhindert?
![]() |
ENDE | ![]() |
(Stand: 03.06.2019)
Alle vollständigen Texte in der aktuellen Fassung im Jahresabonnement
Nutzungsgebühr: ab 105.- € netto
(derzeit ca. 7200 Titel s.Übersicht - keine Unterteilung in Fachbereiche)
Die Zugangskennung wird kurzfristig übermittelt
? Fragen ?
Abonnentenzugang/Volltextversion