Für einen individuellen Ausdruck passen Sie bitte die
Einstellungen in der Druckvorschau Ihres Browsers an.
Regelwerk

TRGS 509 - Lagern von flüssigen und festen Gefahrstoffen in ortsfesten Behältern sowie Füll- und Entleerstellen für ortsbewegliche Behälter
Technische Regeln für Gefahrstoffe (TRGS)

Vom 30. September 2014
(GMBl. Nr. 66/67 vom 19.11.2014 S. 1346; 22.10.2015 S. 1319 15; ber. 2017 S. 229 17; 28.04.2020 S. 368 20; ber. 07.09.2020 S. 817 20a; 20.06.2022 S. 608,aufgehoben)



Zur aktuellen Fassung =>

Die Technischen Regeln für Gefahrstoffe (TRGS) geben den Stand der Technik, Arbeitsmedizin und Arbeitshygiene sowie sonstige gesicherte arbeitswissenschaftliche Erkenntnisse für Tätigkeiten mit Gefahrstoffen, einschließlich deren Einstufung und Kennzeichnung, wieder.

Sie werden vom Ausschuss für Gefahrstoffe (AGS)

ermittelt bzw. angepasst und vom Bundesministerium für Arbeit und Soziales im Gemeinsamen Ministerialblatt bekannt gegeben.

Diese TRGS konkretisiert im Rahmen ihres Anwendungsbereichs Anforderungen der Gefahrstoffverordnung. Bei Einhaltung der Technischen Regeln kann der Arbeitgeber insoweit davon ausgehen, dass die entsprechenden Anforderungen der Verordnung erfüllt sind. Wählt der Arbeitgeber eine andere Lösung, muss er damit mindestens die gleiche Sicherheit und den gleichen Gesundheitsschutz für die Beschäftigten erreichen.

1 Anwendungsbereich 20

(1) Diese TRGS gilt für Gefährdungen von Beschäftigten und anderer Personen durch die gefährlichen Eigenschaften von flüssigen oder festen Gefahrstoffen beim Lagern in ortsfesten Behältern in Räumen und im Freien, einschließlich

  1. des Befüllens und Entleerens der ortsfesten Behälter einschließlich deren Befüll- und Entnahmeeinrichtungen und sicherheitstechnisch erforderlicher Ausrüstung,
  2. der Zusammenlagerung mit ortsbeweglichen Behältern,
  3. des Befüllens und Entleerens ortsbeweglicher Behälter in Füll- und Entleerstellen,
  4. des aktiven Lagerns entzündbarer Flüssigkeiten mit einem Flammpunkt 55< °C in ortsbeweglichen Behältern,
  5. der Probenahme an ortsfesten Behältern sowie an ortsbeweglichen Behältern während des aktiven Lagerns oder
  6. der Instandhaltungsarbeiten.

(2) Diese TRGS gilt nicht

  1. für Ammoniumnitrat und ammoniumnitrathaltige Gemische, die in den Anwendungsbereich des Anhangs I Nummer 5 der GefStoffV fallen; für diese gilt die TRGS 511 "Ammoniumnitrat",
  2. für explosionsgefährliche Stoffe und Gemische, die in den Anwendungsbereich des Sprengstoffgesetzes fallen; für diese gilt bezüglich des Lagerns die Zweite Verordnung zum Sprengstoffgesetz ( 2. SprengV),
  3. für organische Peroxide, die in den Anwendungsbereich des Anhangs III GefStoffV fallen,
  4. für das Lagern von Gasen, einschließlich verflüssigten Gasen (siehe hierzu TRGS 746/TRBS 3146 "Ortsfeste Druckanlagen für Gase"),
  5. für Schüttgüter in loser Schüttung in Lagerhallen oder ähnlichen baulichen Anlagen gemäß Baurecht, die zur Entnahme des Füllgutes von der Seite her betriebsmäßig begangen oder mit Geräten befahren werden können,
  6. für Tankstellen und Füllanlagen im Sinne der TRBS 3151/ TRGS 751 "Vermeidung von Brand-, Explosions- und Druckgefährdungen an Tankstellen und Füllanlagen zur Befüllung von Landfahrzeugen" sowie
  7. für das Umfüllen von Gefahrstoffen von einem ortsbeweglichen Behälter in einen anderen.

(3) Die in dieser TRGS genannten Explosionsschutzmaßnahmen sind für die Lagerung von Gefahrstoffen bis zu einem Flammpunkt von< 55 °C vorgesehen; bei höheren Flammpunkten sind Schutzmaßnahmen in dem beschriebenen Umfang nur dann notwendig, wenn die Gefahrstoffe bei höheren Temperaturen (z.B. oberhalb des Flammpunktes) gelagert werden.

(4) Zusätzlich zu den Nummern 3 bis 7 gilt:

  1. Nummer 8 bei der Lagerung bestimmter Flüssigkeiten und Feststoffen mit Brandgefahr,
  2. Nummer 9 beim Lagern und Abfüllen entzündbarer Flüssigkeiten mit einem Flammpunkt< 55 °C,
  3. Nummer 10 hinsichtlich des Explosionsschutzes bei bestimmten Flüssigkeiten und Feststoffen,
  4. Nummer 11 beim Lagern und Abfüllen von bestimmten Stoffen mit erhöhter Gefährdung und
  5. Nummer 12 hinsichtlich der Zusammenlagerung im gemeinsamen Auffangraum.

2 Begriffsbestimmungen

(1) In dieser TRGS werden ausschließlich die Einstufungen nach der Verordnung (EG) Nr. 1272/2008 (CLP-VO) aufgeführt. Falls während der Übergangsfrist bis zum 1. Juni 2015 Zubereitungen noch nach der Zubereitungsrichtlinie 1999/45/EG eingestuft sind, können diese nach den Kriterien von Anhang VII der CLP-VO umgestuft werden. Im Folgenden werden Begriffe definiert, die nicht im Begriffsglossar zu den Regelwerken der Betriebssicherheitsverordnung, der Biostoffverordnung und der Gefahrstoffverordnung aufgeführt sind. 1

(2) Lager im Sinne dieser TRGS sind Gebäude, Bereiche oder Räume in Gebäuden oder Bereiche im Freien, die dazu bestimmt sind, dass in ihnen Gefahrstoffe in ortsfesten Behältern gelagert werden.

(3) Lagerabschnitt ist der Teil eines Lagers, der von anderen Lagerabschnitten oder angrenzenden Räumen

  1. in Gebäuden durch Wände und Decken, die die sicherheitstechnischen Anforderungen erfüllen, oder
  2. im Freien durch entsprechende Abstände oder durch Wände getrennt ist.

(4) Lagerbereich ist der Teil eines Lagerabschnitts, in dem Gefahrstoffe gelagert werden.

(5) Als Lager im Freien gelten auch überdachte Lager, die mindestens nach zwei Seiten offen sind, einschließlich solcher, die nur an einer Seite offen sind, wenn die Tiefe - von der offenen Seite her gemessen - nicht größer ist als die Höhe der offenen Seite ist. Eine Seite des Raumes gilt auch dann als offen, wenn sie aus einem Gitter aus Draht oder dergleichen besteht, das die natürliche Lüftung nicht wesentlich behindert.

(6) Das Lagervolumen ist der nominale Rauminhalt eines Lagerbehälters und nicht der momentane Rauminhalt. Die Gesamtlagervolumen ist die Summe der Lagervolumen aller Behälter.

(7) Ortsfest sind alle Behälter, die für ein stationäres Lagern von flüssigen und festen Gefahrstoffen genutzt werden. Hierzu gehören u. a. Tanks, Silos und Bunker.

(8) Ortsbewegliche Behälter im Sinne dieser TRGS sind dazu bestimmt, dass in ihnen Gefahrstoffe transportiert und gelagert werden. Zu den ortsbeweglichen Behältern gehören sowohl die gefahrgutrechtlich zugelassenen Transportbehälter wie

  1. Verpackungen (z.B. Fässer, Kanister, Flaschen, Säcke),
  2. Großpackmittel (z.B. IBC, Big Bags bzw. FIBC),
  3. Großverpackungen,
  4. Tankcontainer / ortsbewegliche Tanks,
  5. Eisenbahnkesselwagen, Tankfahrzeuge

als auch Transportbehälter für den ausschließlich innerbetrieblichen Transport.

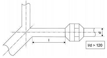
(9) Befüll- und Entnahmeeinrichtungen im Sinne dieser TRGS sind ortsfeste Anschlüsse an ortsfesten Behältern, über die ortsfeste Behälter betrieblich befüllt oder entleert werden, siehe Abb. 1 bis 3.

(10) Abfüllen ist das Befüllen oder Entleeren von ortsbeweglichen Behältern in Füll- oder Entleerstellen.

(11) Füllstellen im Sinne dieser TRGS sind ortsfeste Anlagen, die dazu bestimmt sind, dass in ihnen ortsbewegliche Behälter mit flüssigen oder festen Gefahrstoffen befüllt werden. Hierzu zählen auch mobile Anlagen, die ortsfest dauerhaft benutzt werden.

(12) Entleerstellen im Sinne dieser TRGS sind ortsfeste Bereiche oder Anlagen, die dazu bestimmt sind, dass in ihnen mit flüssigen oder festen Gefahrstoffen gefüllte ortsbewegliche Behälter entleert werden.

Abb. 1: Beispiel für Befüll- und Entnahmeeinrichtungen sowie eine Entleerstelle für Flüssigkeiten

Abb. 2: Beispiel für Befüll- und Entnahmeeinrichtungen sowie eine Füllstelle für Flüssigkeiten

Abb. 3: Beispiel für Befüll- und Entnahmeeinrichtungen sowie eine Füll- und eine Entleerstelle für Feststoffe

(13) Der Wirkbereich einer Füll- oder Entleerstelle ist der räumliche Bereich, in dem im Normalbetrieb und bei zu erwartenden Störungen Gefahrstoffe in einer Menge auftreten können, die Maßnahmen erforderlich machen.

(14) Ein Zusammenlagern liegt vor, wenn sich verschiedene Stoffe in einem Lagerabschnitt oder Auffangraum befinden.

(15) Abstände im Sinne dieser TRGS sind Schutzstreifen, Tank- und Tankgruppenabstände, Abstände zu Gebäuden, die dazu dienen

  1. ein Lager vor äußeren Schadensereignissen, wie z.B. mechanischer Beschädigung oder Erwärmung infolge einer Brandbelastung zu schützen, oder
  2. vor Wechselwirkungen zwischen den gelagerten Gefahrstoffen zu schützen, oder
  3. die Gefährdung der Beschäftigten oder anderer Personen durch Undichtigkeiten an Behältern oder durch Störungen des bestimmungsgemäßen Betriebsablaufs so gering wie möglich zu halten oder
  4. benachbarte Anlagen und Gebäude vor Schadensereignissen im Lager zu schützen.

(16) Schutzstreifen sind Bereiche, die sowohl benachbarte Anlagen und Gebäude gegen die Einwirkung eines Brandes als auch das Lager selbst gegen Zündgefahren von außen sichern sollen. Sie stellen die Abstandsflächen zwischen den benachbarten Anlagen und Gebäuden und dem am nächsten stehenden Tank bzw. dem Auffangraum dar.

(17) Ableitflächen sind Flächen, die dazu bestimmt sind, auslaufende Flüssigkeiten aufzufangen und einem Auffangraum zuzuleiten. Sie bilden mit dem Auffangraum eine bauliche Einheit, sind aber nicht zur längerfristigen Rückhaltung des Lagergutes bestimmt.

(18) Explosionsgefährdete Bereiche sind Bereiche, in denen gefährliche explosionsfähige Atmosphäre auftreten kann. Zur Definition der gefährlichen explosionsfähigen Atmosphäre siehe TRGS 720 bzw. TRBS 2152 "Gefährliche explosionsfähige Atmosphäre - Allgemeines".

(19) Ein Brandbekämpfungsabschnitt ist ein nach Baurecht brandschutztechnisch getrennter Gebäudebereich, bei dem durch Anforderungen an die umschließenden Bauteile eine Brandübertragung auf andere Gebäudebereiche im Allgemeinen nicht zu erwarten ist.

(20) Aktives Lagern i.S. d. TRGS ist das Aufbewahren entzündbarer Flüssigkeiten mit Flammpunkt< 55°C in ortsbeweglichen Behältern, die am Ort der Lagerung über eine fest angeschlossene Rohrleitungs- oder Schlauchleitungsverbindung über einen Zeitraum von mehr als 24 Stunden entweder befüllt oder entleert werden und sowohl vor als auch nach der Befüllung bzw. Entleerung transportiert werden.

(21) Flüssigkeiten gelten als brennbar, wenn sie einen Flammpunkt< 370 °C besitzen.

(22) Instandhaltung ist die Gesamtheit aller Maßnahmen zur Erhaltung des sicheren Zustandes oder der Rückführung in diesen. Instandhaltung umfasst insbesondere Inspektion, Wartung und Instandsetzung.

(23) Anlagen im Sinne dieser TRGS sind Lagerbehälter, Füllstellen, Entleerstellen sowie die zugehörigen Rohr- und Schlauchleitungen und Ausrüstungsgegenstände und Armaturen bis zur ersten Absperrarmatur an der Schnittstelle zur verbundenen Anlage, siehe Abb. 1 und 2.

(24) Als Rohöl im Sinne dieser TRGS wird Erdöl bezeichnet, das als fossiler Energieträger und Rohstoff in der Form, wie es gefördert wird, gelagert und transportiert wird.

3 Gefährdungsbeurteilung

(1) Der Arbeitgeber hat die mit ihrer Tätigkeit verbundenen Gefährdungen von Beschäftigten zu ermitteln und zu beurteilen, welche Schutzmaßnahmen erforderlich sind. Im Rahmen dieser Gefährdungsbeurteilung ist zu ermitteln, ob sich durch Tätigkeiten gemäß dem Anwendungsbereich dieser TRGS Gefährdungen für die Beschäftigten oder andere Personen ergeben. Auf die TRGS 400 "Gefährdungsbeurteilung für Tätigkeiten mit Gefahrstoffen" und TRBS 1111 wird hingewiesen. Bei der Beurteilung der Gefährdung sind auch Gefährdungen durch das Verschlucken von Gefahrstoffen (orale Aufnahme) zu berücksichtigen, wenn diese Möglichkeit der Gefährdung bei den zu beurteilenden Tätigkeiten nicht ausgeschlossen werden kann.

(2) Gefährdungen können sich insbesondere ergeben durch:

  1. die toxikologischen oder physikalisch-chemischen Eigenschaften einschließlich der physikalischen bzw. physikalisch-chemischen Parameter der gelagerten Gefahrstoffe und von sonstigen vorhandenen Stoffen,
  2. die Masse oder das Volumen der Gefahrstoffe im Lagerbereich,
  3. die Art des Lagerns und Abfüllens,
  4. Tätigkeiten, die im Zusammenhang mit dem Lagern stehen,
  5. das Zusammenlagern von Gefahrstoffen,
  6. Reaktionen von Gefahrstoffen untereinander sowie mit anderen Stoffen oder Materialien,
  7. die Arbeits- und Umgebungsbedingungen, Bauweise und technische Ausführung des Lagers und der verwendeten Arbeitsmittel, Prozessparameter, Raumgrößen, klimatische Verhältnisse, äußere Einwirkungen, einschließlich der Wechselwirkungen zu benachbarten Anlagen,
  8. die Lagerdauer,
  9. Produktwechsel und Änderungen an den Anlagen/im Anlagenbetrieb,
  10. Tätigkeiten in Zusammenhang mit der Instandhaltung.

(3) Anhand der ermittelten Gefährdungen sind die erforderlichen Schutzmaßnahmen festzulegen und zu ergreifen.

(4) Der Arbeitgeber hat insbesondere festzustellen, ob die verwendeten Gefahrstoffe beim Lagern, Befüllen oder Entleeren zu Brand- oder Explosionsgefährdungen führen können (s. a. TRGS 721/TRBS 2152 Teil 1 "Gefährliche explosionsfähige Atmosphäre - Beurteilung der Explosionsgefährdung" und TRGS 800 "Brandschutzmaßnahmen"). Können Gemische aus Luft und entzündbaren Gasen, Dämpfen, Nebeln oder Stäuben entstehen, die zu einer gefährlichen explosionsfähigen Atmosphäre führen, so sind entsprechende Schutzmaßnahmen in der Gefährdungsbeurteilung gemäß TRGS 721/TRBS 2152 Teil 1 festzulegen. Die in Nummer 8 bis 10 dieser TRGS beschriebenen Schutzmaßnahmen sind zu beachten. Vorhandene Konzepte zum baulichen Brandschutz können bei der Gefährdungsbeurteilung berücksichtigt werden.

(5) Der Arbeitgeber hat die akuten und die chronischen toxischen Eigenschaften der gelagerten Gefahrstoffe sowie die Exposition der Beschäftigten bei Tätigkeiten mit Gefahrstoffen zu ermitteln. Zur Bewertung der inhalativen Exposition sind bevorzugt die Arbeitsplatzgrenzwerte nach TRGS 900 "Arbeitsplatzgrenzwerte" und 910 "Risikowerte und Expositions-Risiko-Beziehungen für Tätigkeiten mit krebserzeugenden Gefahrstoffen" heran zu ziehen. Gibt es für die Gefahrstoffe keine Arbeitsplatzgrenzwerte, sind die weiteren Beurteilungsmaßstäbe nach TRGS 402 "Ermitteln und Beurteilen der Gefährdungen bei Tätigkeiten mit Gefahrstoffen: Inhalative Exposition" zu berücksichtigen. Bei der Expositionsermittlung sind insbesondere Tätigkeiten mit zu erwartender erhöhter Exposition, wie z.B. An- und Abkuppeln an Entleer- und Füllstellen, zu berücksichtigen.

(6) Unabhängig von der inhalativen Exposition ist eine mögliche dermale Exposition zu bewerten. Ggf. sind geeignete Schutzhandschuhe zu ermitteln und in der Betriebsanweisung festzulegen. Nähere Ausführungen können der TRGS 401 "Gefährdung durch Hautkontakt - Ermittlung, Beurteilung, Maßnahmen" entnommen werden.

(7) Können großflächige Kontaminationen nicht vermieden werden, sind zusätzlich Gesichts- und Körperschutz vorzusehen.

(8) Beim Lagern von selbstzersetzlichen Stoffen und Gemischen (eingestuft mit H240, H241 und H242) ist zu prüfen, ob besondere Schutzmaßnahmen notwendig sind. Bei Tanks und Siloanlagen wird empfohlen, sich von einer kompetenten Prüfstelle (z.B. der BAM) beraten zu lassen.

(9) Die wichtigsten Informationsquellen für die Gefährdungsbeurteilung hinsichtlich der stofflichen Eigenschaften der Gefahrstoffe sind die Einstufung nach TRGS 201 "Einstufung und Kennzeichnung bei Tätigkeiten mit Gefahrstoffen", nach Verordnung (EG) Nr. 1272/2008 oder nach der Gefahrgutverordnung Straße, Eisenbahn und Binnenschifffahrt der gefährlichen Stoffe und Gemische, die Sicherheitsdatenblätter in der jeweils aktuellen Fassung sowie ergänzende Angaben der Hersteller. Diese Angaben sind für die Beurteilung der Eignung der eingesetzten Materialien und Werkstoffe der Anlagen (Werkstoffkenndaten oder -spezifikationen) heranzuziehen.

(10) Bei fehlenden oder unzureichenden Angaben zu den Gefahrstoffen hat sich der Arbeitgeber die erforderlichen Informationen zu beschaffen.

(11) Bei der Gefährdungsbeurteilung für das Lagern sowie für das Befüllen und Entleeren sind alle Betriebszustände und alle Tätigkeiten zu berücksichtigen, aus denen eine Gefährdung der Beschäftigten entstehen kann. Hierbei sind insbesondere Gefährdungen beim offenen Umgang mit Gefahrstoffen, z.B. beim Öffnen geschlossener Systeme, An-/ Abkuppeln von Leitungen zu berücksichtigen.

(12) Werden Instandhaltungsarbeiten im Lager durchgeführt, sind die notwendigen Schutzmaßnahmen und Verhaltensregeln im Einzelfall festzulegen. Auf TRBS 1112 und TRBS 1112 Teil 1 wird verwiesen.

(13) Der Arbeitgeber hat das Ergebnis der Gefährdungsbeurteilung zu dokumentieren. Die Beurteilung der Explosionsgefährdung ist zusammen mit den in der BetrSichV geforderten Inhalten in einem gemeinsamen Explosionsschutzdokument festzuhalten.

4 Maßnahmen für die Sicherheit und den Gesundheitsschutz

4.1 Grundsätze

(1) Anlagen müssen so installiert, montiert und ausgerüstet sein und so unterhalten und betrieben werden, dass Gefährdungen von Beschäftigten und anderer Personen vermieden werden. Hierzu ist eine geeignete Kombination folgender Maßnahmen im Rahmen der Gefährdungsbeurteilung zu ermitteln und festzulegen:

  1. Sichere Gestaltung des Lagers und der dazugehörigen Einrichtungen,
  2. Sichere Gestaltung der Füll- und Entleerstellen und der dazugehörigen Einrichtungen,
  3. Sichere Gestaltung der Anlage zum aktiven Lagern und der dazugehörigen Einrichtungen,
  4. Gestaltung und Organisation der Arbeitsabläufe, insbesondere bei vom Normalbetrieb abweichenden Betriebszuständen,
  5. Bereitstellung geeigneter Arbeitsmittel für Tätigkeiten, die mit dem Lagern von Gefahrstoffen in Zusammenhang stehen,
  6. Begrenzung der Dauer und des Ausmaßes der Exposition, insbesondere bei betriebsbedingter Freisetzung,
  7. Angemessene Hygienemaßnahmen, insbesondere regelmäßige Reinigung,
  8. Vermeidung des unbeabsichtigten Freisetzens von Gefahrstoffen,
  9. Bereithaltung von Mitteln zur Gefahrenabwehr,
  10. Regelung der Zugangsberechtigung.

(2) Das Rauchen ist im Lager, in Füll- oder Entleerstellen und in Anlagen zum aktiven Lagern zu verbieten. Auf das Verbot muss deutlich erkennbar und dauerhaft hingewiesen werden.

(3) Nahrungs- oder Genussmittel dürfen in Anlagen im Sinne dieser TRGS nicht zu sich genommen werden. Von Satz 1 darf abgewichen werden, wenn gemäß Gefährdungsbeurteilung eine Gefährdung sicher ausgeschlossen werden kann.

(4) Die Anschlüsse an Füll- und Entleerstellen sowie Befüll- und Entnahmeeinrichtungen sind eindeutig zu kennzeichnen. Durch geeignete Maßnahmen ist sicherzustellen, dass eine Verwechslung auszuschließen ist.

(5) Es müssen geeignete Maßnahmen getroffen werden, um die Ausbreitung von unbeabsichtigt freigesetzten Gefahrstoffen zu begrenzen und deren Auswirkung zu minimieren.

4.2 Lagerorte und -räume

(1) Ortsfeste Behälter für Gefahrstoffe dürfen nicht an solchen Orten aufgestellt oder errichtet werden, an denen dies zu einer Gefährdung der Beschäftigten, anderer Personen führen oder wirksame Gefahrenabwehrmaßnahmen behindert werden kann. Dazu können insbesondere gehören:

  1. Verkehrswege, hierzu zählen auch Treppenräume, Flucht- und Rettungswege, Durchgänge, Durchfahrten,
  2. enge Innenhöfe, Dächer von Krankenhäusern, Schulen, Versammlungsstätten, Bürohäusern und ähnlich genutzte Gebäude sowie deren Dachräume,
  3. Pausen-, Bereitschafts-, Sanitär-, Sanitätsräume oder Tagesunterkünfte.

(2) Gefahrstoffe dürfen nicht in Arbeitsräumen, die nicht Lagerraum oder Räume mit Füll- und Entleerstellen sind, gelagert werden. Satz 1 gilt nicht, wenn die Lagerung mit dem Schutz der Beschäftigten vereinbar ist.

(3) In Lagerräumen und im Lager im Freien muss eine ausreichende und für die örtlichen Gegebenheiten geeignete Beleuchtung (siehe ASR A3.4) vorhanden sein.

(4) Im Lager muss eine ausreichende natürliche oder technische Belüftung vorhanden sein, wenn durch ein Freisetzen von Gefahrstoffen eine Gefährdung von Beschäftigten oder anderen Personen möglich ist.

(5) Im Rahmen der Gefährdungsbeurteilung ist zu prüfen, ob in Lagerbereichen von offenen Bodenabläufen eine zusätzliche Gefährdung ausgehen kann. Hiervon ist grundsätzlich auszugehen, wenn Gefahrstoffe gelagert, ein- oder abgefüllt werden, die

  1. extrem entzündbar, leicht entzündbar oder entzündbar sind,
  2. mit Wasser entzündbare oder giftige Gase bilden,
  3. akut toxisch Kategorie 1 sind.

Sind in den vorgenannten Fällen betriebs- oder witterungsbedingt Bodenabläufe erforderlich, dürfen diese nur nach vorheriger Kontrolle geöffnet werden.

4.3 Kennzeichnung

Der Arbeitgeber hat sicherzustellen, dass alle gelagerten Gefahrstoffe identifizierbar sind. Anlagen sind mit einer Kennzeichnung zu versehen, die ausreichende Informationen über die Einstufung enthält und aus der die Gefährdungen bei der Handhabung und die zu beachtenden Schutzmaßnahmen hervorgehen oder abgeleitet werden können. Auf TRGS 201 "Einstufung und Kennzeichnung von Stoffen, Zubereitungen und Erzeugnissen" wird hingewiesen.

4.4 Lagerorganisation

(1) Lager sind in einem ordnungsgemäßen Zustand zu halten und ordnungsgemäß zu betreiben. Maßnahmen, die von den Beschäftigten beachtet werden müssen, sind in einer Betriebsanweisung festzuhalten.

(2) Durch geeignete organisatorische Maßnahmen muss im Lager sichergestellt werden, dass freiwerdende Stoffe erkannt, aufgefangen und beseitigt werden können, wenn dies zu einer Gefährdung von Beschäftigten oder anderen Personen führen kann. Die notwendigen Schutzmaßnahmen z.B. Kontrollgänge, Dichtigkeitskontrollen sind in Abhängigkeit von den Stoffeigenschaften, Betriebsparametern und den gelagerten Massen oder Volumina festzulegen.

(3) Notwendige Instandsetzungsarbeiten der für den sicheren Betrieb des Lagers erforderlichen baulichen und technischen Einrichtungen sind unverzüglich vorzunehmen.

(4) Es muss ein Gefahrstoffverzeichnis mit

  1. Bezeichnung der gelagerten Gefahrstoffe,
  2. Einstufung der Gefahrstoffe oder Angaben zu den gefährlichen Eigenschaften,
  3. der Nennvolumen der Lagerbehälter und
  4. dem verwendeten Lagerbereich

vorhanden sein und an einem sicheren Ort aufbewahrt werden.

4.5 Füll- und Entleerstellen

(1) Zur Füllstelle gehören:

  1. die Fülleinrichtungen. Diese beginnen in Förderrichtung mit der letzten Absperreinrichtung der zuführenden Rohrleitung bzw. des Behälters der vorgeschalteten Anlage und enden an der Schnittstelle zum ortsbeweglichen Behälter. Sie umfassen auch die zum Betrieb erforderlichen Einrichtungen sowie die zugehörigen Sicherheitseinrichtungen zur Unterbrechung des Förderstroms,
  2. die Rückhalte- und Ableiteinrichtungen,
  3. die Bereiche oder Räume, welche die Einrichtungen der Füllstelle aufnehmen.

(2) Zur Entleerstelle gehören:

  1. die Entleereinrichtungen. Diese beginnen an der Schnittstelle zum ortsbeweglichen Behältern und enden in Förderrichtung an der Anschlussstelle zur festverlegten Rohrleitung bzw. des Behälteranschlussstutzens oder an der Schnittstelle zwischen beweglicher Leitung (Gelenkarm/Schlauch) und festverlegter Rohrleitung,
  2. die Rückhalte- und Ableiteinrichtungen,
  3. die Bereiche oder Räume, welche die Einrichtungen der Entleerstelle aufnehmen.

(3) Bei Feststoffen werden Füll- und Entleerstellen häufig auch bezeichnet als Annahme-, Aufgabe-, Abwurf-, Absack-, Übergabe-, Verwiege-, oder Abpackstelle.

(4) Im Wirkbereich von Füll- und Entleerstellen sind im Rahmen der Gefährdungsbeurteilung geeignete Maßnahmen festzulegen, die eine Verschleppung von Gefahrstoffen vermeiden. Die Anforderungen nach Nummer 4.2 Absatz 1, 3 und 4 gelten auch für Füll- und Entleerstellen, sowie Absatz 5 für den Wirkbereich einer Füll- oder Entleerstelle.

4.6 Unterbrechung der Gefahrstoffströme

(1) Gefahrstoffströme an Befüll- und Entnahmeeinrichtungen sowie in Füll- und Entleerstellen müssen durch Stillsetzen der Förderung unterbrochen werden können. Dazu müssen die zugehörigen Förderströme durch eine Befehlseinrichtung, z.B. durch Stillsetzen der Fördereinrichtung unterbrochen werden können, die schnell und ungehindert erreichbar ist.

In Räumen gilt dies als erfüllt, wenn sich die Einrichtungen zur Unterbrechung

  1. des Befüllens oder des Entnehmens aus ortsfesten Behälter sowie
  2. des Füllens oder des Entleerens der ortsbeweglichen Behälter

in der Nähe der Ausgänge befinden.

(2) Gefahrstoffströme, die durch Schwerkraft bewegt werden, können abweichend von Absatz 1 auch durch geeignete manuelle Ventile stillgesetzt werden.

4.7 Unterweisung der Beschäftigten

(1) Der Arbeitgeber hat

  1. schriftliche Betriebsanweisungen gemäß TRGS 555 und
  2. gegebenenfalls ergänzende Arbeitsanweisungen zu erstellen.

(2) Der Arbeitgeber hat die in und an Anlagen Beschäftigten vor Aufnahme der Tätigkeit anhand der Betriebsanweisungen über die mit der Tätigkeit verbundenen Gefährdungen und die erforderlichen Schutzmaßnahmen zu unterweisen.

(3) Die Beschäftigten müssen über die Gefährdungen sowie über die Schutzmaßnahmen nach der erstmaligen Unterweisung nach Absatz 2 in angemessenen Zeitabständen, mindestens jährlich, unterwiesen werden.

(4) Die Beschäftigten haben die an sie gerichteten Weisungen zu befolgen.

4.8 Maßnahmen für Notfälle

(1) Der Arbeitgeber hat nach § 13 GefStoffV Maßnahmen für Notfälle zu treffen; dabei sind insbesondere auch Maßnahmen zu treffen, die es den Beschäftigten bei unmittelbarer Gefahr ermöglichen, sich durch sofortiges Verlassen der Arbeitsplätze in Sicherheit zu bringen. Dazu gehören z.B.:

  1. die rechtzeitige Alarmierung der Beschäftigten,
  2. Kennzeichnung der Flucht- und Rettungswege gemäß ASR A1.3 und
  3. das Vorhandensein einer Alarmordnung, wie z.B. einer Brandschutzordnung oder eines Gefahrenabwehrplans.

(2) Es müssen Einrichtungen vorhanden sein, um im Brand- oder Schadensfall Hilfe anfordern zu können, z.B. eine durch Fernsprecher erreichbare und ständig besetzte Stelle.

(3) Der Arbeitgeber hat entsprechend der Art des Arbeitsplatzes und der Tätigkeiten sowie der Zahl der Beschäftigten die Maßnahmen zu treffen, die zur Ersten Hilfe erforderlich sind. Dazu hat er die notwendigen Mittel und Einrichtungen zur Ersten Hilfe zur Verfügung zu stellen und diese regelmäßig auf ihre Vollständigkeit und Verwendungsfähigkeit prüfen zu lassen.

(4) Soll auf einzelne Maßnahmen zur Ersten Hilfe, wie z.B. auf Augen- und Körperduschen, verzichtet werden, ist dies in der Gefährdungsbeurteilung zu begründen

(5) Es müssen ausreichende Fluchtwege und Notausgänge vorhanden sein, damit die Anlagen im Gefahrenfall schnell verlassen und mit Rettungsgeräten erreicht werden können. Auf die Technische Regel für Arbeitsstätten ASR A2.3 wird verwiesen.

4.9 Persönliche Schutzausrüstung

(1) Kann bei Stofffreisetzungen, z.B. durch Leckagen bei Versagen von Anlagenteilen,

  1. eine kurzzeitig hohe Exposition nicht ausgeschlossen werden, bei denen die Beurteilungsmaßstäbe nach TRGS 402 überschritten werden, oder
  2. besteht bei hautresorptiven, reizenden, ätzenden oder hautsensibilisierenden Gefahrstoffen eine Gefährdung durch Hautkontakt,

ist geeignete persönliche Schutzausrüstung zur Verfügung zu stellen. In Abhängigkeit von den gelagerten Stoffen und den örtlichen Gegebenheiten sind erforderlichenfalls Filterfluchtgeräte bereit zu halten bzw. mit sich zu führen.

(2) Der Arbeitgeber hat persönliche Schutzausrüstung bereit zu stellen, zu reinigen und erforderlichenfalls zu ersetzen und zu entsorgen.

(3) Die Beschäftigten haben zur Verfügung gestellte persönliche Schutzausrüstung gemäß Betriebsanweisung zu benutzen.

4.10 Hygienische Maßnahmen

Die Aufnahme von Gefahrstoffen durch Hautkontakt, orale Aufnahme und Inhalation ist zu vermeiden. Ergibt sich aus der Gefährdungsbeurteilung, dass dies nicht ausgeschlossen werden kann, so sind für die Beschäftigten folgende Maßnahmen zu treffen:

  1. Waschgelegenheiten sind zur Verfügung zu stellen.
  2. Straßen-, Arbeits- und Schutzkleidung sind getrennt aufzubewahren.
  3. Der Arbeitgeber hat die durch Gefahrstoffe verunreinigte Arbeits- und Schutzkleidung zu reinigen.

4.11 Außerbetriebsetzen und Stilllegen

(1) Anlagenteile, die außer Betrieb gesetzt werden, sind so zu sichern, dass Gefährdungen für Beschäftigte und Dritte nicht entstehen können. Sofern bauliche oder technische Sicherheitseinrichtungen während des Betriebes, z.B. während der Änderung von Anlagen oder während der Instandhaltung, vorübergehend außer Betrieb genommen werden müssen, sind geeignete Ersatzmaßnahmen festzulegen, durchzuführen und hinsichtlich ihrer Wirksamkeit zu überwachen.

(2) Anlagenteile, die vorübergehend außer Betrieb gesetzt werden, sind von allen Betriebsrohrleitungen mittels geeigneter Absperreinrichtungen zu trennen. Die Rohrleitungen sind vollständig zu entleeren und so zu reinigen, dass sowohl explosionsfähige Atmosphäre als auch gefährliche Rückstände in gefahrdrohender Menge nicht mehr vorhanden sind und nicht mehr entstehen können oder anderweitig in einen sicheren Zustand zu überführen. Behälter und Rohrleitungen sind gegen Benutzung zu sichern. Leckanzeigegeräte und kathodische Korrosionsschutzanlagen müssen in Betrieb bleiben.

(3) Werden Anlagenteile endgültig außer Betrieb genommen (Stilllegung) sind diese vollständig zu entleeren und so zu reinigen, dass Gefahrstoffe in gefahrdrohender Menge nicht mehr vorhanden sind und nicht mehr entstehen können. Die Anlage ist gegen Wiederinbetriebnahme zu sichern, z.B. durch Demontage von Rohrleitungen.

(4) Bleibt ein unterirdischer Behälter im Erdreich liegen und wird keiner anderen zulässigen, kontrollierten Nutzung zugeführt, so sind zusätzlich zu Satz 1 und 2 die verbleibenden unterirdischen Behälter und die Schächte mit einem festen Füllstoff, z.B. Sand, Schaumbeton, zu verfüllen.

4.12 Zugangsbeschränkungen

(1) Der Arbeitgeber muss Maßnahmen ergreifen, dass nur befugte Personen Zugang zu Anlagen haben. Befugte Personen sind vom Arbeitgeber zu bestimmen.

(2) Auf das Verbot gemäß Absatz 1 ist mit dem Verbotszeichen D-P006 "Zutritt für Unbefugte verboten" gemäß ASR A1.3 deutlich erkennbar und dauerhaft hinzuweisen.

(3) Der Arbeitgeber muss erforderlichenfalls Zugangsbeschränkung für besondere Gefahrenbereiche festlegen.

4.13 Beseitigung von Leckagen und Stofffreisetzungen

(1) Für die Beseitigung von freigewordenen Flüssigkeiten oder Feststoffen müssen Verfahren und Schutzmaßnahmen festgelegt und die notwendigen Arbeitsmittel und Schutzausrüstungen bereitgehalten werden.

(2) Für die Aufnahme von Flüssigkeiten sind geeignete Aufnahmemittel, z.B. Öl- und Chemikalienbinder, bereitgehalten werden. Es ist zu beachten, dass für Stoffe mit speziellen Eigenschaften (z.B. Salpetersäure, Brom) hierfür geeignete Chemikalienbinder bereitgehalten werden müssen, die nicht mit diesen Stoffen reagieren können.

(3) Für die Aufnahme von Feststoffen sind geeignete Hilfsmittel, z.B. geeignete Staubsauger, zu verwenden. Beim Reinigen ist insbesondere die Aufwirbelung von Staubablagerungen zu vermeiden.

4.14 Überprüfungen

(1) Alle technischen Schutzmaßnahmen, einschließlich der baulichen, im Sinne dieser TRGS müssen vor Inbetriebnahme und anschließend in angemessenen Abständen regelmäßig auf ihre ausreichende Funktion und Wirksamkeit überprüft werden. Art, Umfang und Häufigkeit sowie die Anforderung an die prüfenden Personen sind im Rahmen der Gefährdungsbeurteilung festzulegen. Zu den zu überprüfenden Einrichtungen gehören insbesondere: Auffangeinrichtungen, Lüftungseinrichtungen, Überfüllsicherungen, Behälter und Rohrleitungen, Augen- und Körperduschen, Einrichtungen zur Verhinderung von unzulässigem Über- oder Unterdruck und Brand- und Explosionsschutzeinrichtungen.

(2) Ist die Überprüfung einer Schutzmaßnahme, z.B. Brandschutzmaßnahme, nicht unmittelbar durchführbar, ist im Rahmen einer Plausibilitätsprüfung zu ermitteln, ob die getroffenen technischen und organisatorischen Schutzmaßnahmen einzeln oder in Zusammenwirken den erwünschten Erfolg erwarten lassen. Die gewählten Schutzmaßnahmen sind dabei auf mögliche Wechselwirkungen zu untersuchen und erforderlichenfalls abzustimmen und anzupassen. Kontraproduktive Wechselwirkungen sind zu vermeiden.

(3) Das Ergebnis der Überprüfung ist in geeigneter Form zu dokumentieren (z.B. durch ein Betriebstagebuch oder Checklisten). Prüfungen nach anderen Rechtsbereichen, wie z.B. Bauordnungen der Länder, Arbeitsstätten- oder Betriebssicherheitsverordnung, bleiben unberührt bestehen. Überprüfungen im Sinne dieser TRGS können sich auf die Prüfergebnisse nach anderen Rechtsvorschriften abstützen, soweit die Prüfinhalte übereinstimmen.

(4) In Abhängigkeit des Schutzkonzeptes können arbeitstägliche Kontrollen, auch ohne zusätzliche Dokumentationspflicht, in Form von

  1. Sichtkontrollen, z.B. hinsichtlich des unbeschadeten Zustandes von Öffnungen zur Be- und Entlüftung, persönliche Schutzausrüstungen,
  2. Hörkontrollen, z.B. hinsichtlich der bekannten Lärmquellen von technischen Arbeitsmitteln und Maschinen im fehlerfreien Funktionszustand

ein Teil der Wirksamkeitskontrolle übernehmen. Weitere Konkretisierungen zur Wirksamkeitsüberprüfung sind in der TRGS 500 "Schutzmaßnahmen" enthalten.

(5) Zur Prüfung von Arbeitsmitteln und überwachungsbedürftigen Anlagen wird auf TRBS 1201 und ihre Folgeteile verwiesen.

4.15 Aktive Lagerung

Die Anforderungen an die aktive Lagerung entzündbarer Flüssigkeiten mit einem Flammpunkt< 55 °C in ortsbeweglichen Behältern sind in Anlage 3 dieser TRGS aufgeführt.

4.16 Instandhaltung

(1) Anlagen im Anwendungsbereich dieser TRGS sind ordnungsgemäß zu betreiben und Instand zu halten.

(2) Für Tätigkeiten von Beschäftigten bei der Instandhaltung von Anlagen ist eine Gefährdungsbeurteilung durchzuführen. Dabei sind die notwendigen Schutzmaßnahmen, insbesondere unter Berücksichtigung der BetriebSichV und von Anhang I der GefStoffV, festzulegen.

5 Bauliche Anforderungen an Läger, Füll- und Entleerstellen

5.1 Einbau und Aufstellung

5.1.1 Lager für ortsfeste Behälter

(1) Ortsfeste Behälter sind so zu montieren und zu installieren, dass sie ihre Lage nicht verändern und durch äußere Einwirkungen nicht beschädigt werden können. Hierzu müssen ortsfeste Behälter so gegründet sowie eingebaut oder aufgestellt werden, dass

  1. Verlagerungen und Neigungen, welche die Sicherheit der Behälter oder ihrer Einrichtungen gefährden, nicht eintreten können, dabei sind Grundwasser, Staunässe oder Überschwemmung zu berücksichtigen
  2. Oberirdische Behälter gegen mechanische Einwirkungen von außen ausgelegt oder geschützt sind. Bei oberirdischen Behältern in Überschwemmungsgebieten ist dabei der zu erwartende Wasserdruck, Treibgut oder Eisstau zu berücksichtigen. Entlüftungs-, Füll- oder Entnahmeleitungen oder sonstige Öffnungen oder Armaturen sind gegen das Eindringen von Wasser zu schützen.

(2) Der Schutz kann z.B. durch

  1. geschützte Aufstellung in einem geeigneten Raum oder Bereich,
  2. ausreichenden Abstand zu Verkehrswegen oder
  3. einen angemessen dimensionierten Anfahrschutz in Abhängigkeit des zu erwartenden Verkehrsaufkommens in der Nähe der Lagerbehälter, die Art, die Masse, die Geschwindigkeit und Fahrtrichtung der dort verkehrenden Fahrzeuge

verwirklicht werden.

(3) Die Standsicherheit oberirdischer ortfester Behälter muss, auch unter Berücksichtigung der mechanischen Belastung bei maximaler Füllung gewährleistet sein.

5.1.2 Füll- und Entleerstellen

(1) Füll- und Entleerstellen für Tankfahrzeuge, ortsbewegliche Behälter auf Straßen- oder Schienenfahrzeugen oder für Eisenbahnkessel- und Schüttgutwagen sind so anzulegen, dass eine Räumung im Gefahrenfall schnell und unverzüglich möglich ist.

(2) Füll- und Entleerstellen für Tank- oder Silofahrzeuge sowie ortsbewegliche Behälter auf Straßenfahrzeugen müssen von den Fahrzeugen möglichst ohne Rangieren verlassen werden können.

(3) Zum Räumen von Füll- und Entleerstellen für ortsbewegliche Behälter auf Schienenfahrzeugen und für Eisenbahnkessel- oder Schüttgutwagen muss ausreichend Gleislänge vorhanden sein.

(4) Das Auffahren auf und das Fortrollen von Eisenbahnkesselwagen oder Schüttgutwagen, die in der Be- oder Entladezone stehen, muss verhindert werden können.

(5) Bedieneinrichtungen müssen schnell und sicher erreicht und verlassen werden können.

5.2 Brandschutz und Notfallmaßnahmen

(1) Lagerräume sowie Räume mit Füll- und Entleerstellen für Gefahrstoffe müssen ausreichend gegen eine Brandeinwirkung

  1. durch einen Brand im Raum und
  2. durch einen Brand außerhalb des Raums geschützt sein.

(2) Läger sowie Füll- und Entleerstellen im Freien müssen ausreichend gegen Brandeinwirkung geschützt werden.

(3) Angriffswege zur Brandbekämpfung müssen so angelegt und gekennzeichnet sein, dass ortsfeste Behälter, zugehörige Anlagenteile sowie Füll- und Entleerstellen mit Lösch- und Arbeitsgeräten schnell und ungehindert erreicht werden können.

(4) Lage und Breite der Angriffswege zur Brandbekämpfung sind unter Berücksichtigung der örtlichen und betrieblichen Verhältnisse im Einvernehmen mit den für die Brandbekämpfung zuständigen Stellen festzulegen.

(5) Werden in dieser TRGS Löschanlagen oder andere Brandschutzeinrichtungen gefordert, dürfen diese je nach den örtlichen und betrieblichen Verhältnissen automatisch oder manuell ortsfest oder teilbeweglich (halbstationär) sein. Hierbei sind anstelle von automatisch oder manuell ortsfesten Feuerlöschanlagen, teilbewegliche (halbstationäre) Feuerlöschanlagen, bei denen im allgemeinen die Löschmittelversorgung erst durch die Feuerwehr hergestellt werden muss, zulässig, wenn eine Werkfeuerwehr mit einer maximalen Hilfsfrist von fünf Minuten nach Alarmierung zur Verfügung steht sowie eine frühzeitige Brandentdeckung und sofortige Alarmierung der Werkfeuerwehr sichergestellt ist. Weiterhin sind teilbeweglichen Feuerlöschanlagen mobile Löschfahrzeuge und -geräte, die hinsichtlich Löschmittelrate und -bevorratung sowie Alarmierungskonzept und Eingreifzeit teilbeweglichen Feuerlöschanlagen entsprechen, gleichwertig.

5.3 Rückhalteeinrichtungen für Flüssigkeiten

(1) Austretende Gefahrstoffe müssen erkannt und beseitigt werden können und dürfen nicht in hierfür nicht vorgesehene Bereiche gelangen können. Hierfür müssen ausreichende Flächen vorhanden sein (z.B. Abfüll- oder Ableitflächen, Auffangräume) die ausreichend dicht und widerstandsfähig gegen die zu lagernden Gefahrstoffe sowie gegen die zu erwartenden mechanischen Beanspruchungen sein müssen.

(2) Auffangräume können durch Vertiefungen, Schwellen, Wände oder Wälle gebildet werden und dürfen auch in Form von Wänden ausgeführt sein, die um den Tank einen Ringraum bilden (Ringmantel).

(3) Auffangräume und Ableitflächen müssen für die Dauer der zu erwartenden Beaufschlagung mit Lagergut flüssigkeitsundurchlässig und gegen die gelagerten Flüssigkeiten ausreichend beständig sein. Nähere Ausführungen können z.B. dem DWA-Arbeitsblatt DWA-a 786 entnommen werden.

(4) Die Standsicherheit der Wände von Auffangräumen ist für die vorgesehene Beaufschlagungsdauer auszulegen.

(5) Durch die Gestaltung der Auffangräume oder Ableitflächen muss sichergestellt sein, dass austretende Flüssigkeit im Auffangraum aufgefangen oder in den dazugehörigen Auffangraum abgeleitet wird.

(6) Einwandige Behälter, Rohrleitungen und sonstige Anlagenteile müssen von Wänden, Böden und sonstigen Bauteilen sowie untereinander einen solchen Abstand haben, dass die Erkennung von Leckagen und die Zustandskontrolle insbesondere auch der Auffangräume und Ableitflächen jederzeit möglich sind sowie die erforderlichen Arbeiten ohne Gefährdung der Beschäftigten durchgeführt werden können.

(7) Das Fassungsvermögen des Auffangraums ist entsprechend den wasserrechtlichen Regelungen festzulegen.

(8) Rückhalteeinrichtungen im Freien müssen mit Einrichtungen zur Entfernung von Wasser versehen sein. Diese Einrichtungen müssen absperr- oder abschaltbar sein. Die Absperreinrichtungen müssen auch im Brandfall funktionsfähig sein.

5.4 Besondere Anforderungen an das unterirdische Lagern

(1) Unterirdische Behälter sollen einen Abstand von mindestens 0,4 m voneinander haben.

(2) Von Grundstücken, die nicht zum Lager gehören, von Gebäuden und von öffentlichen Versorgungsleitungen müssen unterirdische Behälter einen Abstand von mindestens 1 m haben. Zu den öffentlichen Versorgungsleitungen im Sinne dieser Vorgaben gehören insbesondere Gas-, Wasser-, Abwasserleitungen, elektrische Leitungen und Leitungen von Telekommunikationsanlagen.

(3) Auf die Einhaltung des Mindestabstandes kann im Einverständnis mit der zuständigen Behörde nur verzichtet werden, wenn sichergestellt ist, dass durch geeignete Maßnahmen, z.B. bei Bauarbeiten, eine Gefährdung der Versorgungsleitungen ausgeschlossen ist.

(4) Sollen unterirdische Behälter in einem Bereich eingebaut werden, in dem mit einer Veränderung seiner Lage durch Grundwasser oder Staunässe oder Überschwemmung zu rechnen ist, müssen sie verankert oder durch entsprechende Belastung gegen Aufschwimmen gesichert sein. Auf die wasserrechtlichen Regelungen wird hingewiesen.

5.5 Zusätzliche Anforderungen an ortsfeste Behälter mit innerem Überdruck

Behälter mit innerem Überdruck müssen für den Betriebsdruck ausgelegt sein. Auf TRBS 2141 und ihre Folgeteile wird verwiesen.

5.6 Lagerräume für das Zusammenlagern von Gefahrstoffen in ortsfesten Behältern und ortsbeweglichen Behältern

(1) Die baulichen Anforderungen der TRGS 510 "Lagerung von Gefahrstoffen in ortsbeweglichen Behältern" sind bei der Lagerung in ortsfesten Behältern gemeinsam mit ortsbeweglichen Behältern ausreichend, wenn in der Summe

  1. nicht mehr als 150 t entzündbare Flüssigkeiten,
  2. nicht mehr als 300 t brennbarer Flüssigkeiten mit Flammpunkt kleiner 100 °C oder
  3. nicht mehr als 300 t brennbare Feststoffe

gelagert werden. Bei der Lagerung darüberhinausgehender Mengen müssen weitere Schutzmaßnahmen entsprechend der Gefährdungsbeurteilung ergriffen werden.

(2) Werden entzündbare Feststoffe oder Flüssigkeiten in ortsbeweglichen Behältern gemeinsam mit Behältern oder Tanks in einem Raum gelagert, so gilt folgende Vorgehensweise zur Festlegung der baulichen Anforderungen:

  1. Ermittlung der erforderlichen Feuerwiderstandsdauer des Lagerraums für die in den ortsbeweglichen Behältern gelagerten entzündbaren Flüssigkeiten nach TRGS 510.
  2. Ermittlung der Gesamtmasse des Behälterinhalts bzw. des Gesamtvolumens der in Tanks und in ortsbeweglichen Behältern gelagerten entzündbaren Feststoffe oder Flüssigkeiten und daraus folgende Ermittlung der erforderlichen Feuerwiderstandsdauer des Lagerraums nach dieser TRGS.

Die Feuerwiderstandsdauer des Lagerraums muss der jeweils höheren Schutzklasse entsprechen.

6 Abstandsregelungen

6.1 Abstand zu Gebäuden und benachbarten Anlagen

Zum Schutz vor gegenseitiger Einwirkung ist zwischen oberirdischen Lägern im Freien und Füll- oder Entleerstellen im Freien, die nicht gemeinsam sicherheitstechnisch betrachtet werden, und Gebäuden, benachbarten Anlagen oder anderen Lagerbereichen ein angemessener Abstand unter Berücksichtigung von Stoffmasse oder -volumen und Stoffeigenschaften einzuhalten. Satz 1 gilt nicht für Gebäude, die für den Betrieb des Lagers oder der Füll- oder Entleerstelle unmittelbar erforderlich und die nicht für den ständigen Aufenthalt von Personen bestimmt sind (z.B. Pumpenhäuser, Wiegehäuser, Wetterschutzeinrichtungen).

(2) Die Abstände für entzündbare Flüssigkeiten mit einem Flammpunkt< 55 °C sind in Nummer 9.2 und 9.3 geregelt, für alle anderen Gefahrstoffe sind die erforderlichen Abstände den baurechtlichen Bestimmungen zu entnehmen.

(3) Für den Abstandsbereich gemäß Absatz 1 muss das Gelände zur Verfügung stehen, auf dem die erforderlichen Anforderungen eingehalten werden können. Bevorzugt ist hierfür betriebseigenes Gelände zu verwenden, auf die Möglichkeit der Verringerung der Abstände durch bauliche Maßnahmen, siehe z.B. Nummer 9.2, wird hingewiesen. Muss ausnahmsweise nicht betriebseigenes Gelände für den Abstandsbereich benutzt werden, hat der Anlageninhaber durch rechtsverbindliche Vereinbarungen sicherzustellen, dass die für den Abstandsbereich erforderlichen Anforderungen erfüllt werden. Für Seen, Flüsse, Kanäle sowie nichtöffentliche Gleisanlagen und Straßen bedarf es keiner schriftlichen Vereinbarung.

6.2 Behälter- und Behältergruppenabstände

(1) Innerhalb eines oberirdischen Lagers sind aus Gründen der Zugänglichkeit sowie des Brandschutzes und der Brandbekämpfung zwischen den ortsfesten Behältern angemessene Behälter- und Behältergruppenabstände einzuhalten, die die Maßnahmen der Gefahrenabwehr, z.B. Zugänglichkeit der Feuerwehr und der Rettungskräfte ermöglichen. Für entzündbare Flüssigkeiten mit einem Flammpunkt< 55 °C sind die Regelungen von Nummer 9.2 und Nummer 9.3 zu beachten.

(2) Die Abstände nach Absatz 1 sind auch zwischen ortsfesten Behältern benachbarter Lageranlagen einzuhalten.

7 Notwendigkeit von Ausrüstungsteilen und Anforderungen

7.1 Lagern von Flüssigkeiten

7.1.1 Ableitung von Dampf-/Luft-Gemischen

(1) Aus Tanks verdrängte Dampf/Luft-Gemische müssen so abgeleitet werden, dass Gefährdungen für Beschäftigte und Dritte nicht entstehen können. Zusätzlich müssen die erforderlichen Sicherheitseinrichtungen zur Vermeidung gefährlicher Über- und Unterdrücke vorhanden sein und dürfen nicht absperrbar sein.

Hinweis: Dampf/Luft-Gemische werden z.B.

  1. bei dem Befüllen eines Tanks durch flüssige Gefahrstoffe,
  2. durch Atmen infolge Erwärmung, z.B. durch Sonneneinstrahlung,
  3. bei dem Einleiten anderer Medien in den Tank (z.B. Luft, Wasser, Wasserdampf, inertes Gas) z.B. zur Vorbereitung von Arbeiten in oder am Tank

aus dem Tank verdrängt.

(2) Verdrängte Dampf/Luft-Gemische müssen in Abhängigkeit der Stoffeigenschaften

  1. in eine Abluftreinigungs- oder Rückgewinnungsanlage geleitet oder
  2. durch Verbrennen, z.B. durch Abfackeln, gefahrlos vernichtet,
  3. in einen anderen Tank (z.B. Transporttank, Lagertank), aus dem abgefüllt wird, zurückgeführt (Gaspendelverfahren),
  4. gefahrlos über Lüftungsleitungen ins Freie abgeleitet werden.

7.1.2 Flüssigkeitsstandanzeige und Überfüllschutz

(1) Jeder Tank zum Lagern von Flüssigkeiten muss mit einer Einrichtung zur Feststellung des Flüssigkeitsstandes versehen sein. Diese Einrichtung kann bei oberirdischen Tanks mit ausreichend durchscheinenden Wandungen (z.B. aus Kunststoff) entfallen.

(2) Das Befüllen von Tanks muss so vorgenommen werden, dass Überfüllungen nicht auftreten. Dazu müssen geeignete technische oder organisatorische Maßnahmen getroffen werden.

(3) Für jeden Tank ist der maximal zulässige Füllungsgrad festzulegen. Der zulässige Füllungsgrad des Tanks muss so bemessen sein, dass der Tank nicht überlaufen kann oder dass Überdrücke, welche die Dichtheit oder Festigkeit des Tanks beeinträchtigen, nicht entstehen.

(4) Vor dem Befüllen muss der Flüssigkeitsstand im Tank festgestellt und ermittelt werden, wie viel der Tank noch aufnehmen kann.

(5) Tanks mit einem Rauminhalt von mehr als 1.000 l müssen mit einer Einrichtung ausgerüstet sein, die unter Berücksichtigung von thermischer Ausdehnung des Füllgutes und Nachlaufvolumina oder Reaktionszeiten eine Überfüllung sicher verhindert Dies kann z.B. durch eine Überfüllsicherung erreicht werden, die rechtzeitig vor Erreichen des zulässigen Füllungsgrades den Füllvorgang selbsttätig unterbricht. Sofern sichergestellt wird, dass der Füllvorgang überwacht wird, genügt die Auslösung eines optischen und akustischen Alarms. Die Funktionalitäten der Einrichtung zur Vermeidung der Überfüllung und der daraus resultierenden Maßnahmen sind sicherzustellen.

7.1.3 Absperreinrichtungen

(1) Jeder Rohrleitungsanschluss unterhalb des zulässigen Flüssigkeitsstandes des Tanks muss gegen Produktaustritt abgesichert sein. Satz 1 gilt als erfüllt, wenn

  1. Rohrleitungen, die in Verbindung mit anderen Anlagenteilen stehen, mit einer Absperreinrichtung versehen sind,
  2. Rohrleitungen, die mit Anschlusskupplungen zum Anschluss von abnehmbaren Befüll- und Entnahmeleitungen versehen sind, mit einer Absperreinrichtung versehen sind und die Anschlusskupplung bei Nichtgebrauch mit einer zusätzlichen Verschlusseinrichtung, z.B. Verschlusskappe versehen sind, oder
  3. Rohrleitungen, die betrieblich nicht genutzt werden, mit einem technisch dichten Verschluss, z.B. Blindflansch, verschlossen sind.

(2) Jeder Rohrleitungsanschluss oberhalb des zulässigen Flüssigkeitsstandes des Tanks muss mit einer Absperreinrichtung versehen sein, wenn durch die angeschlossene Rohrleitung ein Aushebern des Tanks möglich ist. Wird das Lager nicht ständig durch Personal beaufsichtigt, muss eine besondere Einrichtung (z.B. Hebersicherung) vorhanden sein.

(3) Die Absperreinrichtungen müssen sich möglichst nahe am Tank befinden, gut zugänglich und leicht zu bedienen sein.

(4) Für Rohrleitungsabschnitte, in denen Flüssigkeiten eingesperrt werden können, sind geeignete Maßnahmen zur Vermeidung unzulässigen Druckaufbaus vorzusehen.

7.1.4 Befüll- und Entnahmeeinrichtungen

(1) Um ortsfeste Behälter für Flüssigkeiten sicher zu befüllen und aus ihnen sicher entnehmen zu können, muss jeder Behälter mit absperrbaren, festverbundenen Befüll- und Entnahmeeinrichtungen versehen sein, die den sicheren Anschluss einer festverlegten Rohrleitung ermöglicht.

(2) Die Befüll- und Entnahmeeinrichtungen müssen so angeordnet und beschaffen sein, dass

  1. die Einrichtungen gefahrlos betätigt werden können,
  2. die Gefahrstoffe nicht zu einer Gefährdung von Personen führen können und
  3. die Gefahrstoffe ohne Störung des Materialflusses eingebracht und entnommen werden können.

(3) Die flüssigkeitsführenden Leitungen und Formstücke dürfen auch unter Fülldruck keine unzulässigen Beanspruchungen auf die Tankwand übertragen.

(4) Die Befüll- und Entnahmeeinrichtungen müssen z.B. durch dicht schließende Verschlusskappen verschließbar sein.

(5) Die beim Kuppeln anfallenden Tropfverluste sind aufzufangen.

(6) Behälter dürfen nur über fest angeschlossene Rohrleitungen oder Schlauchleitungen befüllt oder entleert werden.

(7) Bei unterirdischen Behältern dürfen Anschlussstutzen nur im Domdeckel oder im Scheitel des Behälters angeordnet sein. Die Anschlüsse müssen zugänglich sein.

7.1.5 Zugangs- und Besichtigungsöffnungen

(1) Ein Einsteigen in den oder eine Besichtigung des Tanks muss betrieblich möglich sein.

(2) Bei Arbeiten in engen Räumen werden auf die Bestimmungen von TRGS 507 "Oberflächenbehandlung in Räumen und Behältern" und DGUV Regel 113-004 "Behälter, Silos und enge Räume; Teil 1: Arbeiten in Behältern, Silos und engen Räumen" hingewiesen. Die Abmessungen von Zugangsöffnungen sind DGUV Regel 113-004 zu entnehmen.

7.1.6 Heiz- und Kühleinrichtungen in und an Behältern

(1) Heiz- und Kühleinrichtungen müssen so betrieben werden, dass von ihnen keine gefährlichen Betriebszustände ausgehen können. Dazu sind eine Temperaturregelung und eine Temperaturbegrenzung erforderlich, falls dies nicht durch die Art der Heizung oder Kühlung sichergestellt ist.

(2) Beim Lagern brennbarer Flüssigkeiten ist die Oberflächentemperatur der Heizeinrichtung in Abhängigkeit der Stoffeigenschaften entweder

  1. auf 80 % der Zündtemperatur des Lagergutes, oder
  2. auf die Temperatur, die zur Bildung gefährlicher explosionsfähiger Atmosphäre/Gemische (z.B. infolge Zersetzung, Ausdampfung oder Erhitzung auf Temperaturen oberhalb des Flammpunktes) des Lagergutes führen kann,

zu begrenzen.

(3) Nicht ständig getauchte Heizeinrichtungen müssen beim Auftreten explosionsgefährlicher Atmosphäre explosionsgeschützt ausgeführt sein. Eine Heizeinrichtung gilt als ständig getaucht, wenn die Mündung der betriebsmäßigen Entnahmeleitung des Lagerbehälters so über der Heizung angeordnet ist, dass die Heizung auch bei dem tiefsten Flüssigkeitsstand von der Flüssigkeit ausreichend (mind. 50 mm) bedeckt bleibt. Ständig getauchte Heizeinrichtungen brauchen nichtexplosionsgeschützt ausgeführt zu werden.

7.2 Lagern von Feststoffen

7.2.1 Ableitung von Staub/Luft-Gemischen

(1) Beim Lagern und Umschlagen von festen Gefahrstoffen ist die Bildung von Staubemissionen grundsätzlich zu vermeiden.

(2) Geeignete Maßnahmen zur Vermeidung von Staubemissionen sind z.B.:

  1. Möglichst dichte Bauweise in Kombination mit Absaugung,
  2. Einsatz geschlossener Förderer (z.B. Schlauchgurtförderer, Schneckenförderer),
  3. Minimierung der freien Fallhöhe,
  4. Einsatz von Staubsperren bei Schüttgossen und Schütttrichtern,
  5. staubarme Bunker (Reduzierung der Öffnung durch Abdeckungen und senkrechte Seitenwände an der Öffnung),
  6. Abschirmungen für offene Bandförderer,
  7. Einhausung oder Abdeckung der Emissionsquellen,
  8. Absaug- und Filtersysteme,
  9. Benetzen mit Wasser oder anderen Flüssigkeiten, sofern dadurch keine zusätzliche Gefährdung hervorgerufen wird,
  10. vollständiges Schließen des Greifers/der Schalen nach der Materialaufnahme,
  11. Angemessene Geschwindigkeit des Förderers,
  12. Vermeidung der Bandbeladung bis zu den Rändern,
  13. Verringerung der Transportwege,
  14. Verringerung der Windangriffsfläche.

(3) Die Staub-/Luft-Gemische aus Befüll- oder Entnahmeeinrichtungen sowie die Verdrängungsluft sind zu erfassen und sicher abzuleiten. Zusätzlich müssen die erforderlichen Sicherheitseinrichtungen zur Vermeidung gefährlicher Über- und Unterdrücke vorhanden sein und dürfen nicht absperrbar sein.

(4) Verdrängte Staub/Luft-Gemische können z.B. eine Entstaubungseinrichtung oder Verbrennung zugeführt werden.

7.2.2 Füllstandsanzeige und Überfüllschutz

(1) Ortsfeste Behälter zum Lagern von Feststoffen müssen mit einer Einrichtung zur Feststellung des Füllstandes versehen sein. Diese Einrichtung kann bei oberirdischen Silos mit ausreichend durchscheinenden Wandungen (z.B. Kunststoff) und bei einsehbaren Bunkern entfallen

(2) Das Befüllen von ortsfesten Behältern muss so vorgenommen werden, dass Überfüllungen nicht auftreten. Dazu müssen geeignete technische oder organisatorische Maßnahmen getroffen werden.

(3) Für jeden ortsfesten Behälter ist der maximal zulässige Füllungsgrad festzulegen. Der zulässige Füllungsgrad muss so bemessen sein, dass diese nicht überfüllt werden können. Überdrücke und statische Belastungen, welche die Dichtheit oder Festigkeit der Anlagen beeinträchtigen, sind zu vermeiden.

7.2.3 Absperreinrichtungen, Besichtigungsöffnungen, Verbindungsteile zwischen ortsfesten Behältern

Für das Lagern von Feststoffen gelten in Bezug auf Absperreinrichtungen, Besichtigungsöffnungen und Verbindungsteile sinngemäß die Anforderungen für das Lagern von Flüssigkeiten gemäß Nummer 7.1.

7.2.4 Befüll- und Entnahmeeinrichtungen für Feststoffe

(1) Ortsfeste Behälter zum Lagern von Feststoffen müssen mit geeigneten Befüll- und Entnahmeeinrichtungen, wie z.B. Greifer, Kübel, Saug- und Druckluftförderer, mobile Verladeeinrichtungen, Füllrohre, Verladeschläuche, Rutschen, Schleuderbänder, Bandförderer oder Förderschnecken versehen sein. Geeignete Staubminderungsmaßnahmen, siehe Ziffer 7.2.1.

(2) Die Befüll- und Entnahmeeinrichtungen müssen so angeordnet und beschaffen sein, dass

  1. die Einrichtungen gefahrlos betätigt werden können,
  2. die Gefahrstoffe nicht zu einer Gefährdung von Personen führen können und
  3. die Gefahrstoffe ohne Störung des Materialflusses eingebracht und entnommen werden können.

(3) In geschlossenen Behältern zum Lagern von Feststoffen (Silos), die pneumatisch befüllt werden, dürfen keine unzulässigen Drücke auftreten können, für die der Behälter nicht ausgelegt ist.

(4) Bei dem Fördern in geschlossenen Rohrleitungen, wie zum Beispiel pneumatischen Fördereinrichtungen, muss jeder Behälter mit Einrichtungen versehen sein, die den sicheren Anschluss einer festverlegten Rohrleitung oder einer abnehmbaren Leitung ermöglichen.

(5) Die Leitungen und Formstücke dürfen auch beim Befüllen und Entleeren keine unzulässigen Beanspruchungen auf die Behälterwand übertragen.

(6) Die Befüll- und Entnahmeeinrichtungen von geschlossenen Behältern müssen, z.B. durch dicht schließende Verschlusskappen, verschließbar sein.

7.3 Füll- und Entleerstellen für Flüssigkeiten

7.3.1 Ableitung von Dampf-/Luft-Gemischen

(1) Aus ortsbeweglichen Behältern verdrängte Dampf/Luft-Gemische müssen gefahrlos abgeleitet werden, wenn Gefährdungen für Beschäftigte und Dritte entstehen können. Zusätzlich müssen die erforderlichen Sicherheitseinrichtungen zur Vermeidung gefährlicher Über- und Unterdrücke vorhanden sein.

Hinweis: Dampf/ Luft-Gemische werden z.B.

  1. beim Befüllen eines ortsbeweglichen Behälters,
  2. durch Atmen infolge Erwärmung, z.B. durch Sonneneinstrahlung,
  3. aus dem ortsbeweglichen Behälter verdrängt.

(2) Absatz 1 gilt als erfüllt, wenn die in Nummer 7.1.1 Absatz 2 genannten Maßnahmen ergriffen werden.

7.3.2 Flüssigkeitsstandanzeige und Überfüllschutz

(1) Das Befüllen von ortsbeweglichen Behältern muss so vorgenommen werden, dass Überfüllungen nicht auftreten. Dazu müssen geeignete technische oder organisatorische Maßnahmen getroffen werden.

(2) Dies kann erfolgen z.B. an der Füllstelle durch eine Einrichtung zur Feststellung des Flüssigkeitsstandes im ortsbeweglichen Behälter, durch Verwiegung des ortsbeweglichen Behälters, durch ausreichend durchscheinenden Wandungen (z.B. Behälter aus Kunststoff) oder durch andere geeignete Einrichtungen.

(3) Der zulässige Füllungsgrad von ortsbeweglichen Behältern muss so bemessen sein, dass der Behälter nicht überlaufen kann oder dass Überdrücke, welche die Dichtheit oder Festigkeit des Behälters beeinträchtigen, nicht entstehen.

7.3.3 Rohr- und Schlauchleitungsanschlüsse an Füll- und Entleerstellen

(1) Jeder Rohr- und Schlauchleitungsanschluss sowie jede sonstige Fülleinrichtung (z.B. Füllrohr einer Obenbefüllung) der Füllstelle muss mit einer Absperreinrichtung versehen sein.

(2) Die Absperreinrichtungen müssen sich möglichst nahe an der Rohr- und Schlauchleitungskupplung oder der sonstigen Fülleinrichtung befinden, gut zugänglich und leicht zu bedienen sein.

(3) Die flüssigkeitsführenden Leitungen und Formstücke dürfen auch unter Fülldruck keine unzulässigen Beanspruchungen auf die ortsbeweglichen Behälter übertragen.

(4) Rohr- und Schlauchleitungsanschlüsse müssen z.B. durch dicht schließende Verschlusskappen verschließbar sein.

(5) Die beim Kuppeln anfallenden Tropfverluste sind aufzufangen.

7.4 Füll- und Entleerstellen für Feststoffe

7.4.1 Einrichtungen zum Befüllen oder Entleeren der ortsbeweglichen Behälter

(1) Füll- und Entleerstellen für Feststoffe müssen mit geeigneten Einrichtungen zum Befüllen oder Entleeren der ortsbeweglichen Behälter versehen sein.

(2) Die Einrichtungen zum Befüllen oder Entleeren müssen so angeordnet und beschaffen sein, dass

  1. die Einrichtungen gefahrlos betätigt werden können,
  2. die Gefahrstoffe nicht zu einer Gefährdung von Personen führen können und
  3. Störungen des Materialflusses verhindert oder gefahrlos beseitigt werden können.

(3) In geschlossenen ortsbeweglichen Behältern für Feststoffe (Silofahrzeuge oder -behälter), z.B. bei der pneumatischen Befüllung, dürfen keine unzulässigen Drücke auftreten, für die der ortsbewegliche Behälter nicht ausgelegt ist.

(4) Bei dem Fördern in geschlossenen Rohrleitungen, wie zum Beispiel pneumatischen Fördereinrichtungen, muss jeder ortsbewegliche Behälter mit Einrichtungen versehen sein, die den sicheren Anschluss einer festverlegten Rohrleitung oder einer abnehmbaren Leitung ermöglichen.

(5) Die Leitungen und Formstücke dürfen auch beim Befüllen und Entleeren keine unzulässigen Beanspruchungen auf die ortsbeweglichen Behälter übertragen.

(6) Die Anschlüsse von geschlossenen ortsbeweglichen Behältern müssen, z.B. durch dicht schließende Verschlusskappen, verschließbar sein.

7.4.2 Füllstandanzeige und Überfüllschutz

(1) Das Befüllen von ortsbeweglichen Behältern muss so vorgenommen werden, dass Überfüllungen nicht auftreten. Dazu müssen geeignete technische oder organisatorische Maßnahmen getroffen werden.

(2) Sofern eine Überfüllung nicht technisch (z.B. durch automatische Verwiegung) ausgeschlossen ist, muss an der Füllstelle eine Einrichtung zur Feststellung des Füllstandes im ortsbeweglichen Behälter vorhanden sein. Diese Einrichtung kann bei ortsbeweglichen Behältern mit ausreichend durchscheinenden Wandungen (z.B. aus Kunststoff) oder bei Überwachung des Füllstandes durch andere technische Maßnahmen entfallen.

8 Zusätzliche Anforderungen an Schutzmaßnahmen für bestimmte Flüssigkeiten und Feststoffe mit Brandgefahr

8.1 Anwendungsbereich

(1) Die folgenden Regelungen gelten bei dem Lagern von Gefahrstoffen mit den folgenden Eigenschaften:

  1. extrem und leicht entzündbare Flüssigkeiten (eingestuft mit H224 oder H225) ab 500 l bei Flüssigkeiten bzw. 500 kg bei Feststoffen,
  2. für entzündbare Flüssigkeiten (eingestuft mit H226) mit einem Flammpunkt< 55 °C ab 2.500 l,
  3. entzündbare Feststoffe (eingestuft mit H228) ab 500 kg,
  4. pyrophore Flüssigkeiten und Feststoffe (eingestuft mit H250 bzw. R17) ab 500 l bei Flüssigkeiten bzw. 500 kg bei Feststoffen,
  5. selbsterhitzungsfähige Stoffe und Gemische (eingestuft mit H251 oder H252) ab 500 l bei Flüssigkeiten bzw. 500 kg bei Feststoffen,
  6. Stoffe und Gemische, die in Berührung mit Wasser entzündbare Gase entwickeln (eingestuft mit H260 oder H261) ab 500 l bei Flüssigkeiten bzw. 500 kg bei Feststoffen,
  7. andere Gefahrstoffe, die erfahrungsgemäß brennbar sind, über 10.000 l bei Flüssigkeiten bzw. 10.000 kg bei Feststoffen,
  8. Nummer 8.4 gilt für brennbare Flüssigkeiten mit einem Flammpunkt< 100 °C

(2) Nummer 8 gilt auch für die unter Absatz 1 aufgeführten Gefahrstoffe, unabhängig des Massen- oder Volumenstroms, für Füll- und Entleerstellen in Räumen und im Freien.

8.2 Brandschutz

(1) Der bauliche Brandschutz ist nach Art und Umfang in Abhängigkeit der örtlichen und betrieblichen Verhältnisse, insbesondere der vorgesehenen Lagermasse oder -Volumina sowie Füllrate und der Art der brennbaren Flüssigkeiten/ Gefahrstoffe zu bestimmen.

(2) Bedachungen müssen gegen eine Brandbeanspruchung von außen durch Flugfeuer und strahlende Wärme ausreichend lange widerstandsfähig sein.

(3) In Abhängigkeit von Art und Größe des Lagers sind

  1. Feuerwehrzu- und -umfahrten sowie Aufstellflächen und
  2. Rauch- und Wärmeabzugseinrichtungen festzulegen (siehe auch TRGS 800).

(4) Flucht- und Rettungswege in Lagerräumen oder Räumen mit Füll- und Entleerstellen sowie Räume mit Befüll- und Entnahmeeinrichtungen müssen folgende Anforderungen erfüllen:

  1. Von jeder Stelle muss mindestens ein Ausgang in höchstens 35 Meter Entfernung erreichbar sein, der entweder ins Freie, in einen notwendigen Treppenraum oder einen anderen Brandabschnitt führt. In Abhängigkeit vom Ergebnis der Gefährdungsbeurteilung nach Nummer 3 müssen die Flucht-/Rettungsweglängen verkürzt werden, siehe auch ASR a 2.3. Sie können in Abhängigkeit von der Gefährdungsbeurteilung verlängert werden, wenn z.B. die Bedingungen der IndBauRL Ziffer 5.5.5 erfüllt sind (vgl. InbauRL2014).
  2. Jeder Lagerraum oder Raum mit Füll- und Entleerstellen mit einer Fläche von mehr als 200 m2 muss mindestens zwei, möglichst gegenüber liegende Ausgänge besitzen.
  3. Lagerräume und Räume mit Füll- und Entleerstellen oberhalb der Erdgleiche mit einer Fläche von über 1.600 m2müssen in jedem Geschoß mindestens zwei möglichst entgegengesetzt liegende Flucht- und Rettungswege besitzen. Einer dieser Rettungswege darf als Notausstieg, der auf das Grundstück führt, ausgebildet sein, wenn er im Brandfall durch Feuer und Rauch nicht gefährdet wird (z.B. über Außentreppen ohne Treppenräume, Rettungsbalkone Terrassen).

(5) Lager sowie Räume und Bereiche mit Füll- und Entleerstellen sind mit ausreichenden und geeigneten Feuerlöscheinrichtungen (z.B. Feuerlöscher, Wandhydranten, Löschanlagen etc.) auszustatten (siehe hierzu auch ASR 2.2). Die Feuerlöscheinrichtungen müssen, sofern sie nicht selbsttätig wirken, gekennzeichnet, leicht zugänglich und leicht zu handhaben sein. Im Außenbereich müssen sie vor schädlichen Witterungseinflüssen geschützt sein. Angriffswege zur Brandbekämpfung müssen so angelegt und gekennzeichnet sein, dass sie mit Lösch- und Arbeitsgeräten schnell und ungehindert erreichbar sind.

(6) Werden Füll- oder Entleerstellen in räumlicher Nähe zu verfahrenstechnischen Anlagen betrieben, so können die Brandschutzeinrichtungen der verfahrenstechnischen Anlage auch für die Füll- oder Entleerstellen mit verwendet werden, wenn dies in einem gemeinsamen Konzept der Brandschutzmaßnahmen berücksichtigt wird.

(7) Im Bedienbereich der Füll- und Entleerstellen sowie der Befüll- und Entnahmeeinrichtung müssen, soweit nach der Gefährdungsbeurteilung erforderlich, Schnellschlusseinrichtungen vorhanden sein.

(8) Zur Brandbekämpfung mit Wasser muss ein ausreichendes Löschwasservolumen zur Verfügung stehen. Der Löschwasserbedarf ist unter Berücksichtigung der Flächen der Brandabschnitte oder Brandbekämpfungsabschnitte sowie der Masse oder Volumen und Art der Brandlasten festzulegen. Hierfür kann z.B. das DVGW Arbeitsblatt W405 herangezogen werden.

(9) Bei der Brandbekämpfung bei Stäuben ist insbesondere darauf zu achten, dass die Stäube nicht durch das Löschmittel aufgewirbelt werden.

(10) Erfordern die gelagerten Gefahrstoffe den Einsatz anderer Löschmittel als Wasser, oder sollen aus betrieblichen Gründen andere Löschmittel als Wasser verwendet werden, sind diese in ausreichender Masse oder Volumen bereitzuhalten. Bereiche, in denen kein Wasser zur Brandbekämpfung eingesetzt werden darf, sind mit dem Verbotszeichen P011 "Mit Wasser löschen verboten" gemäß ASR A1.3 zu kennzeichnen.

(11) Löschwasserleitungen, Sprinklerdüsen und Rauchmelder müssen so angebracht werden, dass sie bei den Befüll- oder Entnahmetätigkeiten sowie bei Tätigkeiten in Füll- oder Entleerstellen nicht beschädigt werden können.

(12) In Lagerbereichen oder in Bereichen mit Füll- und Entleerstellen ist bei Tätigkeiten, die Gefährdungen durch Wechselwirkung verursachen können (z.B. Schweißarbeiten), ein Arbeitsfreigabesystem anzuwenden. Die schriftliche Arbeitsfreigabe ist vor Beginn der Tätigkeiten von einer hierfür verantwortlichen Person zu erteilen.

(13) Blitzschutzeinrichtungen für Lageranlagen, sowie Anlagen zum Füllen und Entleeren von brennbaren Flüssigkeiten mit einem Flammpunkt bis 100 °C sind in Anlage 1 Nummer 5 geregelt. Die Notwendigkeit von Blitzschutzeinrichtung für andere Gebäude und Anlagen muss im Rahmen der Gefährdungsbeurteilung ermittelt werden. Bezüglich der Gefahr der Zündung einer gefährlichen explosionsfähigen Atmosphäre durch Blitzschlag wird auf TRBS 2152 Teil 3 Nummer 5.8 verwiesen

8.3 Bauausführung von Lagerräumen mit ortsfesten Behältern und Räumen mit Füll- oder Entleerstellen

Lagerräume sowie Räume mit Füll- oder Entleerstellen für brennbare Flüssigkeiten müssen ausreichend gegen eine Brandeinwirkung

  1. im Lagerraum,
  2. in Räumen mit Füll- oder Entleerstellen,
  3. außerhalb des Lagerraums oder
  4. außerhalb der Räume mit Füll- oder Entleerstellen

geschützt sein. Die brandschutztechnischen Anforderungen richten sich nach den physikalisch-chemischen Eigenschaften und sicherheitstechnischen Kenngrößen der brennbaren Gefahrstoffe sowie der maximal zugelassenen Lagervolumina sowie der maximalen zugelassenen Befüll- und Entnahmerate.

8.4 Anforderungen an Auffangräume für brennbare Flüssigkeiten mit einem Flammpunkt< 100 °C

8.4.1 Begrenzung auslaufender Flüssigkeiten

Aus Gründen des Brand- und Explosionsschutzes müssen brennbare Flüssigkeiten so gelagert werden, dass sie nicht auslaufen können oder auslaufende Flüssigkeit sich nicht unkontrolliert ausbreiten kann.

8.4.2 Notwendigkeit von Auffangräumen 20

(1) Werden in einem Raum brennbare Flüssigkeiten in einem oder in mehreren Behältern gelagert, so müssen die Behälter bei einem Gesamtrauminhalt von mehr als 500 l in Auffangräumen aufgestellt sein.

(2) Werden im Freien brennbare Flüssigkeiten in einem oder in mehreren Behältern gelagert, so müssen die Behälter bei einem Fassungsvermögen von mehr als 1.000 l in Auffangräumen aufgestellt sein.

(3) Ein Auffangraum ist nicht erforderlich für mit einem Leckanzeigegerät ausgerüstete

  1. doppelwandige liegende zylindrische Tanks aus Stahl,
  2. andere doppelwandige Tanks aus Stahl mit einem Rauminhalt bis 100.000 l oder
  3. andere doppelwandige Tanks aus Stahl mit einem Rauminhalt bis 300.000 l, wenn eine ausreichende Standsicherheit auch im Brandfall gegeben ist und die Innen- und Außenwand für den zulässigen Betriebsüberdruck, mindestens jedoch 2 bar, ausgelegt, gebaut und erstmalig geprüft ist.

Die doppelwandigen Tanks dürfen unterhalb der dem zulässigen Füllgrad entsprechenden Höhe keine die Doppelwandigkeit des Gesamtsystems aufhebenden Stutzen oder Durchtritte haben.

(4) Ein Auffangraum ist ferner nicht erforderlich für Tanks mit einem Rauminhalt bis 100.000 l Flüssigkeit, wenn sie

  1. gegen Flammeneinwirkung ausreichend widerstandsfähig sind,
  2. gegen Korrosion beständig oder ausreichend z.B. durch eine Leckschutzauskleidung geschützt sind und
  3. unterhalb des zulässigen Füllstandes keine lösbaren Anschlüsse oder Verschlüsse besitzen.

(5) Die Notwendigkeit von Auffangräumen für Tanks, die bei 50 °C einen inneren Überdruck von mehr als 2 bar aufweisen (physikalisches Verhalten ähnlich wie verflüssigte Gase), ist insbesondere in Hinblick auf den Schutz gegen Selbstbefeuerung (Befeuerung durch eigenes ausgetretenes Produkt) im Einzelfall zu klären. Wird auf den Auffangraum verzichtet, müssen der Tank und seine Ausrüstung folgende Bedingungen erfüllen:

  1. Bemessung nach dem dreifachen Betriebsüberdruck, mindestens jedoch 6 bar,
  2. Auslegung mit 1,0facher Sicherheit gegen Streckgrenze bei maximalem Explosionsdruck oder Inertisierung gemäß Anlage 2, Nummer 1.2.2, mit der Inertisierungsstufe 3,
  3. jede erste Absperrarmatur zu weiterführenden Rohrleitungen muss gefahrlos betätigt werden können,
  4. an Lagerbehältern mit einem Fassungsvermögen von mehr als 30.000 l muss entweder die erste unterhalb des Behälters liegende Absperrarmatur in der Füll- und Entnahmeleitung für die flüssige Phase als eingeschweißte außenliegende Armatur in firesafe-Qualität 2ausgeführt und durch Maßnahmen nach z.B. TRBS 3146/TRGS 746 geschützt sein oder eine innenliegende Armatur eingebaut sein,
  5. geeignete Schutzmaßnahmen vor Brandlasten (z.B. TRBS 3146/TRGS 746),
  6. Gewährleistung der Dichtheit von Ausrüstungsteilen und Rohrleitungsverbindungen im Bereich der Projektion des Tanks (z.B. nach TRBS 3146/TRGS 746) und
  7. Prüfung der Tanks wie Tanks mit innerem Überdruck.

8.4.3 Fassungsvermögen von Auffangräumen

(1) Das Fassungsvermögen von Auffangräumen ist so zu bemessen, dass sich das Lagergut im Gefahrenfall nicht über den Auffangraum hinaus ausbreiten kann.

(2) Der Auffangraum muss mindestens den Rauminhalt des größten in ihm aufgestellten Tank fassen können. Bei der Berechnung der Größe des Auffangraumes kann der Rauminhalt eines, und zwar des größten in ihm stehenden Behälters bis zur Oberkante des Auffangraumes berücksichtigt werden.

(3) Kommunizierende Behälter gelten als ein Behälter. Als kommunizierend gelten Behälter, deren Flüssigkeitsräume betriebsmäßig in ständiger Verbindung miteinander stehen.

(4) Das Fassungsvermögen des Auffangraumes für Behälter zur Lagerung von Rohöl oder Schwefelkohlenstoff muss gleich dem Rauminhalt aller in ihm aufgestellten Behälter sein.

8.4.4 Überfüllsicherungen

(1) Tanks mit einem Rauminhalt von mehr als 1000 l, die aus Straßentankfahrzeugen oder Aufsetztanks befüllt werden, müssen mit einem Grenzwertgeber ausgerüstet sein, der den Abfüllvorgang unterbricht. Bei dem Befüllen dieser Tanks muss der Grenzwertgeber des Tanks an die Abfüllsicherung des Tankfahrzeugs angeschlossen sein.

(2) Einzeltanks mit einem Rauminhalt bis 1000 l dürfen aus Straßentankfahrzeugen, Aufsetztanks oder Tankcontainern im Vollschlauchsystem mit einem nach dem Totmannprinzip schließenden Zapfventil mit Füllraten von nicht mehr als 200 l/min im freien Auslauf befüllt werden.

(3) Bei Tanks, die nach Absatz 2 ohne Grenzwertgeber befüllt werden dürfen, muss der zulässige Flüssigkeitsstand gekennzeichnet sein, z.B. durch eine Markierung auf dem Peilstab oder bei Tanks mit durchscheinenden Wandungen an der Tankwand.

9 Zusätzliche Anforderungen bei dem Lagern und Abfüllen entzündbarer Flüssigkeiten mit einem Flammpunkt< 55 °C

9.1 Anwendungsbereich

Die folgenden Regelungen gelten für

  1. extrem und leicht entzündbare Flüssigkeiten (eingestuft mit H224 oder H225) ab 500 l und
  2. entzündbare Flüssigkeiten (eingestuft mit H226) mit einem Flammpunkt< 55 °C ab 2.500 l.

9.2 Abstände und Schutzstreifen

(1) Zum Schutz vor gegenseitiger Brandeinwirkung ist zwischen oberirdischen Behältern im Freien und Gebäuden ein ausreichender Abstand einzuhalten, der im Rahmen der Gefährdungsbeurteilung festzulegen ist.

(2) Oberirdische Tanks im Freien müssen mindestens 10 m von Gebäuden entfernt sein.

(3) Füllstellen im Freien müssen mindestens 5 m von Gebäuden entfernt sein.

(4) Die Abstände nach Absatz 2 und 3 können entfallen, wenn

  1. die den Tanks zugekehrten Außenwände der Gebäude bis 10 m oberhalb des Tankscheitels der Tanks oder der Füllstelle im Freien und bis 5 m beiderseits der Kante des Auffangraums feuerbeständig (z.B. Feuerwiderstandsdauer mindestens 90 min),
  2. Öffnungen innerhalb der vorgenannten Außenwand feuerbeständig (Feuerwiderstandsdauer mindestens 90 min) geschützt,
  3. der Bereich der Außenwände der Gebäude, der mehr als 10 m oberhalb des Tankscheitels der Tanks liegt, aus schwerentflammbaren Baustoffen (mindestens Baustoffklasse C nach DIN EN 13501-1) hergestellt und
  4. Dacheindeckungen widerstandsfähig gegen Flugfeuer und strahlende Wärme oder
  5. anstelle der feuerbeständigen (Feuerwiderstandsdauer mindestens 90 min) Außenwand der Gebäude zwischen dem Gebäude und den Tanks feuerbeständige Bauteile in ausreichender Höhe und Breite vorhanden sind.

Eine ausreichende Höhe und Breite ist gemäß Ziffer 5 gegeben, wenn die Wand aus feuerbeständigen Bauteilen den Abmessungen der feuerbeständigen Gebäudewand entspricht.

(5) Beispiele für geeignete Gebäudewände sind in den Abb. 4 und 5 dargestellt. Beispiele für eine feuerbeständige Schutzwand gemäß Absatz 4 Buchstabe e) ist in den Abb. 6 und 7 dargestellt.

Abb. 4: Geeignete Gebäudewand nach Nummer 9.2 (Seitenansicht)

Abb. 5: Geeignete Gebäudewand nach Nummer 9.2 (Draufsicht)

Abb. 6: Gebäude mit zusätzlicher feuerbeständiger Schutzwand (Seitenansicht)

Abb. 7: Gebäude mit zusätzlicher feuerbeständiger Schutzwand (Draufsicht)

(6) Lageranlagen müssen von einem Schutzstreifen umgeben sein, wenn das Lagervolumen mehr als 30.000 l beträgt und das Lagern oberirdisch in Tanks erfolgt.

(7) Werden brennbare Flüssigkeiten mit einem Flammpunkt< 55 °C zusammen mit Flüssigkeiten mit einem Flammpunkt zwischen 55 °C und 100 °C gelagert, gilt Absatz 6 entsprechend, wobei für die Berechnung der relevanten Lagervolumen 50 l Flüssigkeiten mit einem Flammpunkt zwischen 55 °C und 100 °C (V1) gleich 3 Liter Flüssigkeiten mit einem Flammpunkt< 55 °C (V2) gesetzt werden (Väquivalent = 3/50 x V1 + V2).

(8) Werden in einem gemeinsamen Auffangraum brennbare Flüssigkeiten in ortsbeweglichen Behältern und in Tanks gelagert, so sind für die Notwendigkeit eines Schutzstreifens die zulässigen Lagervolumen in ortsbeweglichen Behältern zu denen der Lagervolumen in Tanks hinzuzuziehen. Dabei gilt:

  1. Flüssigkeit mit einem Flammpunkt zwischen 55 °C und 100 °C: 1 Liter in ortsbeweglichen Behältern gleich 10 Liter in Tanks
  2. Flüssigkeit mit einem Flammpunkt< 55 °C: 1 Liter in ortsbeweglichen Behältern gleich 3 Liter in Tanks.

(9) Benachbarte Auffangräume, die auch mehreren Betreibern gehören können, müssen von einem gemeinsamen Schutzstreifen umgeben sein, wenn

  1. der Schutzstreifen eines Auffangraumes in einen benachbarten Auffangraum für Tanks hineinreicht, der einzeln betrachtet keinen Schutzstreifen benötigt, jedoch der Schutzstreifen mindestens einen Tank berührt, oder
  2. der Schutzstreifen eines Auffangraumes in einen benachbarten Auffangraum für ortsbewegliche Behälter hineinreicht, der einzeln betrachtet gemäß TRGS 510 keinen Schutzstreifen benötigt.

(10) Beispiele für die Ermittlung der Notwendigkeit von Schutzstreifen nach Absatz 9 Nr.1 sind in Abb. 8 dargestellt.

Abb. 8: Notwendigkeit von Schutzstreifen nach Absatz 9 Nr. 1 für entzündbare Flüssigkeiten mit Flammpunkt < 55 °C

(11) Abweichend von Absatz 9 kann auf einen gemeinsamen Schutzstreifen verzichtet werden, wenn die benachbarten Auffangräume durch eine feuerbeständige Wand (Feuerwiderstandsdauer mindestens 90 min) ausreichender Breite und Höhe getrennt sind.

(12) Seen, Flüsse, Kanäle sowie nichtöffentliche Gleisanlagen und Straßen dürfen in die Schutzstreifen einbezogen werden.

(13) Die für die Schutzstreifen vorgeschriebenen Anforderungen finden auch dann Anwendung, wenn sich in den Tanks nur noch Reste brennbarer Flüssigkeiten oder deren Dämpfe befinden.

(14) Für die Bemessung der Breite des Schutzstreifens ist das Volumen der Tanks zugrunde zu legen, die in einem Auffangraum vorhanden sein dürfen. Für doppelwandige Tanks und Tanks mit Leckschutzauskleidung gilt die Außenhülle der Tanks als Auffangraum im Sinne von Satz 1.

(15) Die Breite R [m] des Schutzstreifens muss betragen bei

1. Lagervolumen< 30 m3: R = 0
2. 30 m3 < Lagervolumen< 200 m3: R = 10
3. 200 m3< Lagervolumen< 2000 m3: R = (1/90) x (Lagervolumen -200) + 10
4. Lagervolumen > 2000 m3: R 30

Abb. 9 zeigt grafisch den Zusammenhang zwischen Breite des Schutzstreifens und dem Lagervolumen.

Abb. 9: Breite des Schutzstreifens in Abhängigkeit vom Lagervolumen für entzündbare Flüssigkeiten mit Flammpunkt< 55°C

Ergibt sich nach Absatz 9 die Notwendigkeit eines Schutzstreifens für einen Auffangraum, der einzeln betrachtet keinen Schutzstreifen benötigt, beträgt die Breite des Schutzstreifens für diesen Auffangraum R = 10 m.

(16) Die Breite der Schutzstreifen ist bei dem Lagern in Tanks von der Wandung der einzelnen Tanks an zu messen. Zusätzlich muss mindestens2/3der Breite der Schutzstreifen nach Absatz 15 außerhalb des Auffangraumes liegen.

(17) Überlappen sich die Schutzstreifen benachbarter Auffangräume, ergibt sich der Schutzstreifen durch die äußere einhüllende Linie der äußeren Begrenzenden der einzelnen Schutzstreifen.

(18) Abweichend von Absatz 15 bis 17 kann der Schutzstreifen, soweit er außerhalb des Auffangraumes liegt, an feuerbeständigen Wänden (Feuerwiderstandsdauer mindestens 90 min) oder Wällen ausreichender Höhe und Breite enden. Die Wände oder Wälle dürfen dann ganz oder teilweise gleichzeitig auch die Wände oder Wälle des Auffangraumes sein. Die Breite der Wände und Wälle nach Satz 1 gilt als ausreichend, wenn durch sie mindestens die äußere Begrenzende der Schutzstreifen geschnitten werden. Die Höhe der Wände und Wälle nach Satz 1 gilt als ausreichend, wenn durch sie mindestens die Fläche abgedeckt wird, die durch die lineare Verbindung zwischen den durch die Wände bzw. Wälle abgedeckten Objekten und dem zu schützenden Lager entsteht. Beispiel für eine Wand ausreichender Breite und Höhe zur Einschränkung eines Schutzstreifens sind in Abb. 10 dargestellt.

Abb. 10: Beispiel für eine Wand ausreichender Breite und Höhe zur Einschränkung eines Schutzstreifens nach Absatz 18

(19) Abweichend von Absatz 15 bis 17 kann der Schutzstreifen auf die Hälfte der sonst erforderlichen Abmessungen verringert werden, wenn die Tanks von einem im Gefahrenfall mit Wasser berieselten Ringmantel aus Stahl umgeben sind, dessen Höhe mindestens4/5der Höhe des Tankmantels beträgt. Die Berieselung ist i. d.R. ausreichend, wenn sie z.B. DIN 14495 entspricht.

(20) Die Schutzstreifen sind von Stoffen freizuhalten, die ihrer Art oder Masse oder Volumen nach geeignet sind, zur Entstehung oder Ausbreitung von Bränden zu führen. Nicht zu den Stoffen nach Satz 1 gehören brennbare Flüssigkeiten in Tanks sowie in ortsbeweglichen Behältern einschließlich ihrer Verpackungen und/oder Lager-/Transporthilfsmittel (z.B. Paletten, Schrumpffolie, Umverpackungen).

(21) Auf dem innerhalb eines Auffangraumes gelegenen Teil eines Schutzstreifens sind nur zum Betrieb des Lagers erforderliche Rohrleitungen, Armaturen und Pumpen zulässig.

(22) Auf dem außerhalb eines Auffangraumes gelegenen Teil eines Schutzstreifens sind zum Betrieb des Lagers erforderliche Einrichtungen und bauliche Anlagen (z.B. Abfüllschuppen, Wiegehäuser, Wetterschutzeinrichtungen) zulässig. Die baulichen Anlagen müssen aus nichtbrennbaren Baustoffen bestehen. Sie dürfen in Wände oder Wälle des Auffangraumes einbezogen sein.

(23) Druckgasbehälter und oberirdische Druckbehälter für Gase dürfen in Schutzstreifen nicht gelagert werden. Schutzstreifen und Schutz- oder Sicherheitsabstände für Druckbehälter nach TRBS 1201 Teil 2 dürfen sich überschneiden, sofern diese nicht Zone 1 sind.

9.3 Tank- und Tankgruppenabstände

(1) Innerhalb eines Lagers für brennbare Flüssigkeiten mit einem Flammpunkt< 55 °C sind zwischen den Tanks und Tankgruppen ausreichend bemessene Abstände in der Gefährdungsbeurteilung festzulegen, die die Zugänglichkeit und ausreichende Angriffswege für die Brandbekämpfung sicherstellen und eine Wechselwirkung im Brandfall ausschließen. Die Abstände gelten als ausreichend, wenn die in den Absätzen 2 bis 11 festgelegten Kriterien eingehalten sind.

(2) Zwischen Tank- und Tankgruppenabstände sind die in Tabelle 1 und 2 festgelegten Abstände einzuhalten. Zwischen einem Auffangraum für ortsbewegliche Behälter und den ortsfesten Tanks muss ein Abstand von 1 D eingehalten werden, wobei D der Durchmesser des größten benachbarten ortsfesten Tanks ist. Satz 1 gilt auch für benachbarte Tanks für brennbare Flüssigkeiten mit Flammpunkt zwischen 55 °C und 100 °C, wenn sie im räumlichen Zusammenhang mit den in Satz 1 genannten Tanks stehen.

(3) Bei Überschreitung der in Tabelle 1 und 2 genannten Anzahl der Tanks in einer Tankgruppe sind die ergänzenden Schutzmaßnahmen über diese TRGS hinaus im Einzelfall festzulegen und zu ergreifen.

(4) Tanks einer Tankgruppe dürfen auch in getrennten Auffangräumen stehen.

Tabelle 1: Tankabstände bei dem Lagern von brennbaren Flüssigkeiten mit einem Flammpunkt< 55 °C, ausgenommen Rohöl und Schwefelkohlenstoff

Anzahl der Tanks in einer Tankgruppe Gesamtrauminhalt Tankabstand
bis 10 Tanks beliebiger Bauart < 2.000 m3 > 0,3 D, mindestens jedoch 1 m
bis 10 Tanks beliebiger Bauart > 2.000 m3
<
50000 m3
> 0,3 D,
mindestens jedoch 3 m
bis 4 Tanks beliebig aufgestellt oder beliebig viele Tanks in einer Reihe aufgestellt
  • Festdachtanks
> 50000 m3 > 0,5 D, mindestens jedoch 3 m
  • Schwimmdachtanks und inertisierte Festdachtanks
> 50000 m3 > 0,3 D, mindestens jedoch 3 m
  • Tanks mit Ringmantel, deren Höhe mindestens 4/5 der Höhe des Tankmantels beträgt, sowie Tanks in gleich hohen Auffangräumen anderer Form
> 50000 m3 > 0,3 D, mindestens jedoch 3 m

Tabelle 2: Tankabstände bei dem Lagern von Rohöl und Schwefelkohlenstoff

Anzahl der Tanks in einer Tankgruppe Rauminhalt des Einzeltanks Tankabstand
bis 10 Tanks beliebiger Bauart 10000 m3 > 0,6 D, mindestens jedoch 6 m
bis 4 Tanks beliebig aufgestellt oder beliebig viele Tanks in einer Reihe aufgestellt
  • Festdachtanks
> 10000 m3 > 1 D, mindestens jedoch 30 m
  • Schwimmdachtanks
> 10000 m3 > 0,6 D, mindestens jedoch 20 m, höchstens jedoch 60 m
  • Tanks mit Ringmantel, dessen Höhe mindestens 4/5 der Höhe des Tankmantels beträgt
> 10000 m3 > 0,6 D, mindestens jedoch 20 m

(5) Die Abstände (A) der Tankgruppen müssen mindestens betragen:

  1. Durchmesser des größten Tanks< 20 m: a = D
  2. Durchmesser des größten Tanks > 20 m: a = 0,5 D + 10m
  3. bei Rohöl und Schwefelkohlenstoff: a = D, mindestens jedoch 30 m

(6) Für die Bemessung der Abstände, sowohl zwischen den einzelnen Tanks als auch zwischen den Tankgruppen, ist vom Durchmesser (D) des größten der jeweils benachbarten Tanks auszugehen.

(7) Die Abstände sind auch zu benachbarten Tanks für brennbare Flüssigkeiten mit Flammpunkt zwischen 55 °C und 100 °C einzuhalten. Sofern die Tanks nicht in einem gemeinsamen Auffangraum stehen, ist für die Bemessung der Abstände jedoch der Durchmesser des größten benachbarten Tanks für brennbare Flüssigkeiten mit Flammpunkt< 55 °C maßgebend.

(8) Die Abstände sind auch zwischen Tanks benachbarter Lageranlagen einzuhalten.

(9) Die Abstände sind von Tankwand zu Tankwand zu messen.

(10) Bei Tanks mit Ringmänteln ist der lichte Abstand zwischen den Ringmänteln maßgebend.

(11) Beispiele für Tank und Tankgruppenabstände können Abb. 11 entnommen werden.

Abb. 11: Beispiele für Tank und Tankgruppenabstände

*) Tankabstände bei - Festdachtanks> 0,5 D, mind. 3 m - Schwimmdachtanks> 0,3 D, mind. 3 m
**) Tankabstände bei Ringmanteltanks> 0,3 D, mind. 3 m, vom Ringmantel zu Ringmantel gemessen
***) Tankgruppenabstände, zu ermitteln nach Absatz 5, maßgebend: größter D eines benachbarten Tanks für entzündbare Flüssigkeiten mit Flammpunkt< 55 °C

9.4 Brandschutz

9.4.1 Allgemeines

(1) Für die Brandbekämpfung um Tankgruppen gemäß Nummer 9.3 müssen Angriffswege angelegt werden. Betragen die Tankgruppenabstände 20 m oder mehr, müssen diese Wege befahrbar sein.

(2) Angriffswege für die Brandbekämpfung dürfen innerhalb der sich nach Nummer 9.2 ergebenden Schutzstreifen angelegt sein.

(3) Die Standsicherheit oberirdischer Tanks muss bei einer Brandeinwirkung von mindestens 30 Minuten Dauer gewährleistet sein. Dies gilt als erfüllt, wenn die Stützkonstruktion z.B.

  1. konstruktionsbedingt,
  2. ummantelt oder
  3. beschichtet

eine Feuerwiderstandsfähigkeit von mindestens 30 Minuten hat oder die Sicherung der Stützkonstruktion im Brandfall durch eine Werkfeuerwehr sichergestellt ist. Stützkonstruktionen von Lagerbehältern müssen, falls in der Umgebung eine Brandlast besteht, vor dieser geschützt sein. Dabei ist abhängig von der aus der Brandlast resultierenden Wärmeeinwirkung auf die Stützkonstruktionen zu ermitteln, welche Brandschutzmaßnahmen erforderlich sind. Die Standsicherheit der Wände von Auffangräumen ist für die vorgesehene Beaufschlagungsdauer und für die zu Grunde zu legende Brandeinwirkungsdauer auszulegen.

(4) Sofern in der Gefährdungsbeurteilung keine abweichende Regelung begründet dargelegt wurde, muss bei Lagern mit mehr als 2.500 l Fassungsvermögen und bei Füllstellen, bei denen mehr als 200 l pro Stunde abgefüllt werden können, ein aktueller Plan für die Feuerwehr mit allen für die Brandbekämpfung erforderlichen Informationen vorhanden sein.

9.4.2 Brandschutzeinrichtungen

(1) Anlagen zur Lagerung brennbarer Flüssigkeiten müssen mit ausreichenden Brandschutzeinrichtungen ausgerüstet sein. Das Erfordernis von Brandschutzeinrichtungen gilt für die Lagerung in Behältern jeder Art im Freien und in Räumen. Art und Ausführung der Brandschutzeinrichtungen sind in Abstimmung mit den für den Brandschutz zuständigen Stellen festzulegen.

(2) Zu den Brandschutzeinrichtungen gehören insbesondere Feuerlösch- und Berieselungseinrichtungen.

(3) Brandschutzeinrichtungen müssen stets funktionsbereit sein. Die für die Brandbekämpfungs- und Kühlungsmaßnahmen erforderliche Wasserversorgung muss gewährleistet sein. Die Brandschutzeinrichtungen sind nach Art und Umfang in Abhängigkeit der örtlichen und betrieblichen Verhältnisse, insbesondere der zulässigen Lagervolumen bzw. Füllrate und der Art der brennbaren Flüssigkeiten, festzulegen. Sie sind durch geeignete Einrichtungen zur Brandmeldung an die zuständige Feuerwehr, z.B. durch Feuermelder, zu ergänzen. Im Übrigen muss der Brandschutz so organisiert sein, dass allen Gefahren wirksam begegnet werden kann.

(4) Die zu verwendenden Löschmittel sind in der Gefährdungsbeurteilung festzulegen. Hierfür kommen insbesondere in Betracht: Schaum, Kohlendioxid, Löschpulver und Wasser. Soll Kohlendioxid oder Löschpulver unter Druck in explosionsfähige Atmosphäre (z.B. zum Inertisieren oder zum Erproben der Löschanlage) eingeleitet werden, sind besondere Schutzmaßnahmen zu treffen; auf TRBS 2153 wird hingewiesen.

(5) Bei Verwendung von Berieselungseinrichtungen ist zu beachten:

  1. Unabhängig von Windrichtung und Rauchentwicklung müssen dem Brandobjekt benachbarte Anlagen mit dem nach z.B. DIN 14495 erforderlichen Wasservolumen gekühlt werden können.
  2. Anschlüsse an das für Feuerlöschzwecke bestimmte Wassernetz (Hydranten) müssen in genügender Anzahl vorhanden und so angeordnet sein, dass sie im Falle eines Brandes an beliebiger Stelle auch für die Kühlung der Nachbaranlagen ausreichend zugänglich bleiben.

Die zur Kühlung erforderlichen Einrichtungen und das unterwiesene Bedienungspersonal müssen während der Betriebszeit so einsatzbereit sein, dass eine wirksame Kühlung in kürzester Frist nach dem Ausbruch des Brandes sichergestellt ist.

9.4.3 Brandschutztechnische Ausstattung von Lagerräumen

(1) Lagerräume mit einem Lagervolumen

  1. von mehr als 20.000 l müssen mit automatischen Brandmeldeeinrichtungen ausgerüstet sein,
  2. von mehr als 10.000 l, aber höchstens 20.000 l sind dann mit automatischen Brandmeldeeinrichtungen auszurüsten, wenn auf Grund besonderer örtlicher oder betrieblicher Gegebenheiten (z.B. nahe Wohnbebauung) die sicherheitstechnische Bewertung dies erfordert.

(2) Werden in Lagerräumen Flüssigkeiten mit Flammpunkten über 55 °C zusammen mit Flüssigkeiten mit einem Flammpunkt< 55 °C gelagert, so gilt Absatz 1 entsprechend, wobei für die Berechnung der relevanten Lagervolumen 5 l Flüssigkeiten mit Flammpunkten über 55 °C gleich 1 l Flüssigkeiten mit einem Flammpunkt< 55 °C gesetzt werden.

(3) In Lagerräumen müssen folgende Brandschutzeinrichtungen vorhanden sein:

  1. automatische Feuerlöschanlagen bei dem Lagern von
    1. nichtwasserlöslichen entzündbaren Flüssigkeiten in Tanks mit einem Gesamtrauminhalt von mehr als 30.000 l oder
    2. wasserlöslichen entzündbaren Flüssigkeiten in Tanks mit einem Gesamtrauminhalt von mehr als 50.000 l,
  2. ortsfeste Berieselungsanlagen bei dem Lagern in mehreren ortsfesten Tanks mit einem Gesamtrauminhalt von mehr als 10.000 l, es sei denn, dass durch andere Maßnahmen, z.B. ortsfeste Feuerlöscheinrichtungen, eine vergleichbare Kühlwirkung gewährleistet oder eine geeignete selbsttätig auslösende ortsfeste Feuerlöscheinrichtung vorhanden ist.

(4) Die Anforderungen an die Brandschutzeinrichtungen nach Absatz 1 und 3 gelten unabhängig von den Festlegungen für die Löschwasserrückhaltung nach Nummer 5.3.

9.5 Anforderungen an Auffangräume

9.5.1 Notwendigkeit von Auffangräumen

(1) Für die Notwendigkeit von Auffangräumen ist Nummer 8.4.2 anzuwenden. Abweichend von Nummer 8.4.2 Absatz 4 gilt eine Mengengrenze von 40.000 l.

(2) Werden mehrere Tanks mit einem Gesamtrauminhalt

  1. bei Schwefelkohlenstoff oder Rohöl von mehr als 15.000 m3,
  2. im Übrigen mehr als 30.000 m3

aufgestellt, sind die ergänzenden Schutzmaßnahmen über diese TRGS hinaus im Einzelfall festzulegen und zu ergreifen.

9.5.2 Bauliche Anforderungen an Auffangräume in Räumen und im Freien

(1) Auffangräume und Ableitflächen für oder als Teil von solchen Lagereinrichtungen, die nicht aus feuerhemmenden oder feuerbeständigen Bauteilen hergestellt sind, müssen unterhalb der untersten Lagerebene angeordnet sein.

(2) Auffangräume und Ableitflächen müssen für die Dauer der zu erwartenden Beaufschlagung mit entzündbaren Flüssigkeiten auch im Brandfall flüssigkeitsundurchlässig und gegen die gelagerten Flüssigkeiten ausreichend beständig sein. Dies gilt als erfüllt, wenn die Vorgaben des jeweiligen bauaufsichtlichen Verwendbarkeitsnachweises der verwendeten Baustoffe und Bauteile für die Verwendung im Brandfall eingehalten sind. Die folgenden Mindestanforderungen sind immer einzuhalten:

  1. die statisch tragenden Teile von Auffangräumen müssen aus nichtbrennbaren Baustoffen (Baustoffklasse A1 oder A2s1d0 nach DIN EN 13501-1) bestehen,
  2. die für die Beständigkeit des Auffangraums verwendeten Beschichtungen und Folien müssen mindestens normal entflammbar sein (mindestens Baustoffklasse E nach DIN EN 13501-1),
  3. den Auffangraum in Lagerräumen begrenzende Gebäudewände müssen in gesamter Höhe feuerbeständig (Feuerwiderstandsdauer mindestens 90 min) sein,
  4. einen Auffangraum im Freien begrenzende Gebäudewände müssen feuerbeständig (Feuerwiderstandsdauer mindestens 90 min) sein.

Auf Nummer 9.2 wird hingewiesen.

(3) Die Standsicherheit der Wände von Auffangräumen ist für die vorgesehene Beaufschlagungsdauer auch im Brandfall auszulegen. Die Eignung der Fugendichtkonstruktion im Brandfall ist zu berücksichtigen.

(4) Wände, Wälle und Ringmäntel dürfen mit Durchlässen für Rohrleitungen versehen sein, wenn hierdurch die Dichtheit des Auffangraumes auch im Brandfall nicht beeinträchtigt wird.

(5) Gebäudewände, die den Auffangraum begrenzen, dürfen bis zur Höhe des Auffangraumes keine Öffnungen und Durchlässe für Rohrleitungen haben.

(6) Innerhalb von Auffangräumen dürfen außer den Tanks nur dem Betrieb des Lagers dienende Rohrleitungen, Armaturen und Pumpen, nicht aber z.B. Abfüllschuppen, Wiegehäuser, Druckgasbehälter und oberirdische Druckbehälter für Gase vorhanden sein.

(7) Auffangräume im Freien müssen grundsätzlich nach oben hin offen sein. Wird ein Auffangraum nach oben abgedichtet, sind die evtl. nicht mehr ausreichende Belüftung zur Entfernung explosionsgefährlicher Atmosphäre bei der Zoneneinteilung im Auffangraum sowie eine mögliche Verdämmung zu berücksichtigen.

(8) Bei einem Abstand der Wand eines Ringmantels vom Tankmantel von weniger als 2,5 m oder starker Einhausung kann zwangsweise Belüftung oder Leckerkennung mit Folgemaßnahmen erforderlich sein.

(9) Überschreitet die Grundfläche des Auffangraumes einschließlich der Grundfläche des Tanks

  1. bei Aufstellung eines Tanks 10.000 m2,
  2. bei Aufstellung mehrerer Tanks 7.000 m2,

sind ergänzende Schutzmaßnahmen über diese TRGS hinaus im Einzelfall festzulegen und zu ergreifen.

(10) Aus Gründen der Brandbekämpfung ist es zweckmäßig, Auffangräume so weit wie möglich zu unterteilen. Um Mauerdurchbrüche für Rohrleitungen zu vermeiden, genügt für die Zwischenwälle oder -wände eine Höhe, die es gestattet, frei verlegte Rohrleitungen darüber hinweg zu führen. Übergänge müssen aus nichtbrennbaren Baustoffen (Baustoffklasse A1 oder A2s1d0 nach DIN EN 13501-1) bestehen.

(11) Ist ein Auffangraum durch Zwischenwälle oder -wände unterteilt, so müssen diese um mindestens 1/4 niedriger sein als die Außenwälle oder -wände. Übergänge müssen aus nichtbrennbaren Baustoffen (Baustoffklasse A1 oder A2s1d0 nach DIN EN 13501-1) bestehen.

(12) Aus Gründen des Brand- und Explosionsschutzes müssen Füll- und Entleerstellen so montiert und installiert sein sowie betrieben werden, dass auslaufende brennbare Flüssigkeiten erkannt und beseitigt werden können und nicht in ein oberirdisches Gewässer, eine hierfür nicht geeignete Abwasseranlage oder in das Erdreich gelangen können. Die Boden- und Auffangflächen müssen ausreichend dicht und widerstandsfähig gegen die umzufüllenden brennbaren Flüssigkeiten sowie gegen die zu erwartenden mechanischen Beanspruchungen sein.

(13) Mit den Rückhalteeinrichtungen muss ein Volumen zurückgehalten werden können, das dem maximalen Förderstrom in fünf Minuten entspricht. Abweichend kann das Volumen der Rückhalteeinrichtung reduziert werden, wenn besondere Maßnahmen zur Begrenzung der freigesetzten Massen oder Volumen getroffen sind. Dieses ist z.B. erfüllt, wenn

  1. Schnellschlusseinrichtungen, die nur nach dem Totmann-Prinzip zu bedienen sind,
  2. Überfüllsicherungen oder
  3. Überlaufsicherungen

vorhanden sind.

9.6 Wirkbereiche an Füll- und Entleerstellen

(1) Bodenflächen im Wirkbereich von Füll- und Entleerstellen müssen Teil der Auffangräume oder Ableitflächen sein. Der Wirkbereich umfasst einen Bereich von 2,5 m:

  1. um den bestimmungsgemäß von der Fülleinrichtung an der Füllstelle bestrichenen Bereich,
  2. um die möglichen Positionen der Anschlussstelle am ortsbeweglichen Behälter bzw.
  3. um die betrieblich zu lösende Anschlussstelle der beweglichen Leitung
    1. zur festverlegten Rohrleitung bzw.
    2. zum Behälteranschlussstutzen.

Der Wirkbereich reicht herab bis zur Erdgleiche. Abweichend davon kann bei der Verwendung baulicher oder technischer Einrichtungen wie z.B. Trockenkupplungen, Ableitblechen oder -wänden der Wirkbereich reduziert werden.

(2) An Füll- und Entleerstellen gilt Absatz 1 bei ortsbeweglichen Behältern mit waagerecht angeordneten Ausläufen, wie z.B. Eisenbahnkesselwagen, als erfüllt, wenn der Wirkbereich als Halbkreis um die Öffnung des Entleerungsventils dargestellt wird, wobei das Gleisprofil und ein Ableitblech zur Auffangwanne die Begrenzung des Wirkbereichs bilden

(3) An Füll- und Entleerstellen gilt Absatz 1 bei Straßentankfahrzeugen als erfüllt, wenn der Wirkbereich in Abhängigkeit von der Ausbildung der Fahrbahn/Fahrspur 0,5 m hinter der Öffnung des Auslaufventils endet.

(4) Beispiele für den Wirkbereich an Füll- und Entleerstellen sind in Abb. 12 bis 14 dargestellt.

Abb. 12: Wirkbereich in Füll- und Entleerstellen für Eisenbahnkesselwagen

Abb. 13: Einschränkung des Wirkbereichs durch Wand und Ableitblech

Abb. 14: Wirkbereich an Füllstellen

9.7 Bauausführung von Lagerräumen mit Tanks und Räumen mit Füllstellen

9.7.1 Anforderungen an Lagerräume mit einem Lagervolumen bis 3.000 l oder Räume mit Füllstellen mit Volumenströmen bis 200 l/h

(1) Wände, Decken und Türen müssen so ausgeführt werden, dass eine Gefährdung von Beschäftigten oder anderen Personen durch Brandübertragung auf angrenzenden Räume oder Gebäudeteile verhindert wird. Satz 1 gilt für Lagerräume als erfüllt, wenn die Wände, Decken und Türen mindestens feuerhemmend (z.B. Feuerwiderstandsdauer mindestens 30 min) hergestellt sind und aus nichtbrennbaren Baustoffen bestehen. Satz 1 gilt für Räume mit Füllstellen als erfüllt, wenn die Wände, Decken und Türen aus schwerentflammbaren Baustoffen (mindestens Baustoffklasse C nach DIN EN 13501-1) bestehen.

(2) Lagerräume und Räume mit Füllstellen müssen von anderen Räumen gegen Brandübertragung gesichert abgetrennt sein. Satz 1 gilt für Lagerräume und Räume mit Füllstellen als erfüllt, wenn die Lagerräume feuerhemmend (z.B. Feuerwiderstandsdauer mindestens 30 min) abgetrennt sind und aus nichtbrennbaren Baustoffen bestehen (Baustoffklasse A1 oder A2s1d0 nach DIN EN 13501-1).

(3) Die Lagerräume und Räume mit Füllstellen dürfen grundsätzlich keine Bodenabläufe haben.

(4) Schornsteine dürfen innerhalb der Lagerräume keine Öffnungen haben, auch wenn sie durch Schieber, Klappen oder in anderer Weise verschließbar sind.

(5) Abläufe, Öffnungen und Durchführungen zu tiefer gelegenen Räumen, Kellern, Gruben, Schächten sowie Kanäle z.B. für Kabel oder Rohrleitungen müssen gegen das Eindringen der Flüssigkeiten und deren Dämpfe geschützt sein.

9.7.2 Zusätzliche Anforderungen an Lagerräume mit einem Lagervolumen bis 10.000 l oder Räume mit Füllstellen mit Volumenströmen bis 1.000 l/h

(1) In Lagerräumen mit einem Lagervolumen bis 10.000 l sowie Räume mit Füllstellen mit Volumenströmen bis 1.000 l/h ist zu prüfen, ob über die Nummer 9.7.1 hinausgehende Anforderungen notwendig sind. Falls in der Gefährdungsbeurteilung keine abweichenden Regelungen getroffen wurden, sind die Anforderungen der Absätze 2 bis 6 einzuhalten.

(2) Bedachungen von Lagerräumen und Räumen mit Füllstellen müssen widerstandsfähig gegen Flugfeuer und strahlende Wärme (z.B. gemäß DIN 4102) sein, es sei denn, die Dächer sind durch ausreichend tragfähige feuerbeständige (Feuerwiderstandsdauer mindestens 90 min, Baustoffklasse A1 oder A2s1d0 nach DIN EN 13501-1) Decken von dem Lagerraum oder Raum mit Füllstelle abgetrennt.

(3) Fußböden müssen für die gelagerten Flüssigkeiten undurchlässig sein und aus nichtbrennbaren Baustoffen bestehen. Schwerentflammbare Bodenbeläge (mindestens Baustoffklasse C nach DIN EN 13501-1) sind zulässig.

(4) Durchbrüche durch Wände und Decken, die in angrenzende Räume führen, müssen durch Schottungen in der Feuerwiderstandsdauer der durchbrochenen Wand oder Decke gegen Brandübertragung und gegen den Durchtritt von Dämpfen brennbarer Flüssigkeiten gesichert sein.

(5) Wände und Fußboden eines Lagerraumes oder Raums mit Füllstelle dürfen auch Teile eines Auffangraumes sein.

(6) Lagerräume dürfen nur anderweitig genutzt werden, wenn hierdurch keine zusätzliche Gefährdung entstehen kann. Dies ist üblicherweise bei Füll- und Entleerstellen mit einem Volumenstrom unter 200 l/h der Fall, falls in der Gefährdungsbeurteilung keine abweichende Festlegung getroffen wurde.

9.7.3 Zusätzliche Anforderungen an Lagerräume mit einem Lagervolumen über 10.000 l oder Räume mit Füllstellen mit Volumenströmen über 1.000l/h

(1) In der Gefährdungsbeurteilung ist zu prüfen, ob über die Anforderungen von Nummer 9.7.1 und 9.7.2 hinausgehende Maßnahmen notwendig sind. Falls keine abweichenden Regelungen getroffen wurden, sind die Anforderungen der Absätze 2 bis 8 zu ergreifen.

(2) Lagerräume und Räume mit Füllstellen müssen von anderen Räumen gegen Brandübertragung gesichert abgetrennt sein. Satz 1 gilt für Lagerräume und Räume mit Füllstellen als erfüllt, wenn diese feuerbeständig abgetrennt sind und aus nichtbrennbaren Baustoffen bestehen (Feuerwiderstandsdauer mindestens 90 min, Baustoffklasse A1 oder A2s1d0 nach DIN EN 13501-1).

(3) Durchbrüche durch Wände und Decken, die in angrenzende Räume führen, müssen durch Schottungen in der Feuerwiderstandsdauer der durchbrochenen Wand oder Decke gegen Brandübertragung und gegen den Durchtritt von Dämpfen brennbarer Flüssigkeiten gesichert sein. Abweichend hiervon brauchen Türen in den feuerbeständigen Wänden nicht feuerbeständig zu sein (Feuerwiderstandsdauer mindestens 30 min).

(4) Lagerräume und Räume mit Füllstellen dürfen nicht an Wohnräume und Räumen grenzen, in denen Personen bestimmungsgemäß schlafen können.

(5) Lagerräume und Räume mit Füllstellen dürfen auch nicht an Räume grenzen, die dem nicht nur vorübergehenden Aufenthalt von Menschen, ausgenommen Lagerpersonal, dienen. Als Lagerpersonal gelten alle im Zusammenhang mit dem Lagern und Abfüllen brennbarer Flüssigkeiten beschäftigten Personen.

(6) Abweichend von Absatz 4 dürfen Lagerräume und Räume mit Füllstellen nur dann an Aufenthalts- oder Arbeitsräume grenzen, die nicht nur von Lager- oder Füllstellenpersonal benutzt werden, wenn sie von diesen Räumen

  1. mit einer öffnungslosen Brandwand (Feuerwiderstandsklasse REI-M90 nach DIN EN 13501) und
  2. ggf. mit feuerbeständigen Decken (Feuerwiderstandsdauer mindestens 90 min) abgetrennt sind und
  3. die Außenwand des Lagerraums einschließlich Fenster, Türen und sonstigen Öffnungen mindestens feuerbeständig (Feuerwiderstandsdauer mindestens 90 min) ausgeführt ist, wenn sich oberhalb des Lagerraums Aufenthalts- und Arbeitsräume mit Fensteröffnungen befinden.

(7) Ausnahmen von den Absätzen 4 bis 6 sind zulässig, wenn die Alarmierung der Personen in diesen Räumen bei Produktleckagen oder Brand durch automatische Überwachungseinrichtungen sichergestellt sind.

(8) Schornsteine müssen in den Lagerräumen und Räumen mit Füllstellen den an feuerbeständige Wände zu stellenden Anforderungen (Feuerwiderstandsdauer mindestens 90 min) entsprechen und von außen verputzt sein. Die Schornsteine dürfen in den Lagerräumen und Räumen mit Füllstellen keine Öffnungen haben, auch wenn sie durch Schieber, Klappen oder in anderer Weise verschließbar sind.

9.8 Ausrüstung von Füll- und Entleerstellen

(1) Bei Füllvorgängen verdrängte Dampf/Luft-Gemische dürfen nicht zu Gefährdungen für Beschäftigte und Dritte führen.

(2) In Abhängigkeit des verdrängten Volumens und der abgefüllten Stoffe sowie des vorhandenen Abfüllsystems müssen die verdrängten Dampf/Luft-Gemische aufgenommen, fortgeleitet und ggf. behandelt werden.

(3) Für die Aufnahme oder Ableitung der Dampf/Luft-Gemische kommen

  1. Raumlüftung,
  2. Objektabsaugung,
  3. formschlüssige Lüftungseinrichtungen (z.B. Einsteckkonus, Absaughaube),
  4. Füllkabinen oder
  5. festangeschlossene Lüftungseinrichtungen (z.B. Dämpfependelleitungen)

in Frage.

(4) Bei einer technischen Lüftungseinrichtung (technische Raumlüftung, Objektabsaugung, Füllkabine) muss der Ausfall des geförderten Luftstroms erkannt werden und es ist mindestens Alarm auszulösen. Die Funktionsfähigkeit der Lüftungseinrichtungen nach Absatz 3 ist zu kontrollieren.

(5) Eine Objektabsaugung im Sinne von Absatz 3 ist dann gegeben, wenn das aus dem zu befüllenden ortsbeweglichen Behälter verdrängte Dampf/Luft-Gemisch unmittelbar am ortsbeweglichen Behälter abgesogen wird. Hierzu muss der von der Objektabsaugung geförderte Volumenstrom hinreichend größer sein als die Füllrate, mit der der ortsbewegliche Behälter befüllt wird, um ein betriebliches Entweichen von Dampf/Luft-Gemischen in die angrenzende Umgebung auszuschließen. Objektabsaugungen werden unterschieden in Objektabsaugungen,

  1. die während des gesamten Füllvorgangs (einschließlich Öffnen und Verschließen der ortsbeweglichen Behälter und Abdampfen benetzter Füllrohre), oder
  2. die nur beim Befüllen der ortsbeweglichen Behälter ein betriebliches Entweichen von Dampf/Luft-Gemischen in die angrenzende Umgebung ausschließen.

Die Wirksamkeit der Objektabsaugung ist nachzuweisen (z.B. durch Rauchröhrchen).

(6) Eine formschlüssige Lüftungseinrichtung im Sinne von Absatz 3 ist dann gegeben, wenn das aus dem zu befüllenden ortsbeweglichen Behälter verdrängte Dampf/Luft-Gemisch unmittelbar am ortsbeweglichen Behälter von einer Lüftungseinrichtung abgeleitet wird, welche die Lüftungsöffnung des ortsbeweglichen Behälters formschlüssig gegenüber der Umgebung abdichtet, um während des Befüllen der ortsbeweglichen Behälter ein betriebliches Entweichen von Dampf/Luft-Gemischen in die angrenzende Umgebung auszuschließen. Während des Öffnens und des Verschließens der ortsbeweglichen Behälter ist eine Freisetzung von Dampf/Luft-Gemisch in die angrenzende Umgebung möglich.

(7) Eine Füllkabine im Sinne von Absatz 3 ist dann gegeben, wenn der ortsbewegliche Behälter in eine spezielle, nur für den Füllvorgang vorgesehene Einrichtung gestellt wird, die an einer wirksamen Absaugung angeschlossen ist. Der von der Absaugung geförderte Volumenstrom muss hinreichend größer sein als die Füllrate, mit der der ortsbewegliche Behälter befüllt wird. Im Normalbetrieb ist ein betriebliches Entweichen von Dampf/Luft-Gemischen in den angrenzenden Raum auszuschließen. Die Wirksamkeit der Absaugung ist nachzuweisen (z.B. durch Rauchröhrchen).

(8) Verdrängte Dampf/Luft-Gemische können z.B.

  1. gefahrlos über Lüftungsleitungen ins Freie abgeleitet,
  2. in einen anderen Tank (z.B. Transporttank, Lagertank), aus dem abgefüllt wird, zurückgeführt (Gaspendelverfahren),
  3. in eine Abluftreinigungs- oder Rückgewinnungsanlage geleitet oder
  4. durch Verbrennen, z.B. Abfackeln, gefahrlos vernichtet werden.

(9) Bei der Auswahl der Verfahren nach Absatz 3 bis 8 sind die Erfordernisse sowohl des Brand- und Explosionsschutzes, des Umgangs mit Gefahrstoffen als auch des Immissionsschutzes zu berücksichtigen.

9.9 Überfüllschutz an Füllstellen

(1) An jeder Füllstelle müssen Einrichtungen vorhanden oder Vorkehrungen getroffen sein, durch die Überfüllungen der ortsbeweglichen Behälter zuverlässig vermieden werden. Diese Anforderung ist erfüllt, wenn der Befüllvorgang durch volumen- oder gewichtsabhängige Steuerung selbsttätig beendet wird. Diese Anforderung ist ebenfalls erfüllt, wenn die Befüllung der Behälter (z.B. Fässer) über ein selbsttätig schließendes Zapfventil erfolgt.

(2) An Füllstellen, an denen Tanks auf Fahrzeugen, Tankcontainer oder Tanks von Eisenbahnkesselwagen im geschlossenen System befüllt werden, ist die Anforderung nach Absatz 1 z.B. dann erfüllt, wenn der Befüllvorgang spätestens durch einen am ortsbeweglichen Behälter fest installierten Standaufnehmer als Teil einer Überfüllsicherung oder durch eine in das Füllsystem der ortsfesten Anlage integrierte Überlaufsicherung selbsttätig beendet wird.

(3) Füllstellen für Tanks auf Fahrzeugen, Tankcontainer oder Tanks von Eisenbahnkesselwagen, die über den offenen Dom befüllt werden, müssen entweder mit einer Überlaufsicherung oder mit einer Schnellschlusseinrichtung, die nur nach dem Totmannprinzip zu bedienen ist, ausgerüstet sein.

(4) Vor dem Befüllen muss der Flüssigkeitsstand im Behälter festgestellt werden. Es muss ermittelt werden, wie viel brennbare Flüssigkeiten der Behälter noch aufnehmen kann.

(5) Der Befüllvorgang muss angemessen beobachtet werden.

10 Zusätzliche Maßnahmen zum Explosionsschutz für bestimmte Flüssigkeiten und Feststoffe

10.1 Anwendungsbereich

Die folgenden Regelungen gelten für

  1. extrem und leicht entzündbaren Flüssigkeiten (eingestuft mit H224 oder H225),
  2. entzündbare Flüssigkeiten (eingestuft mit H226) mit einem Flammpunkt< 55 °C ,
  3. brennbare staubförmige oder staubbildende Feststoffe.

10.2 Festlegung von explosionsgefährdeten Bereichen

(1) Kann an Anlagenteilen im Sinne dieser TRGS nach den Bestimmungen der §§ 6 und 11 der GefStoffV und S3 Absatz 2 der BetrSichV die Bildung gefährlicher explosionsfähiger Atmosphäre nicht sicher verhindert werden, sind bei der Gefährdungsbeurteilung einer Lageranlage oder einer Füll- oder Entleerstelle explosionsgefährdete Bereiche in Zonen einzustufen und als explosionsgefährdete Bereiche auszuweisen. Siehe hierzu auch TRGS 720, 721 und 722 "Vermeidung oder Einschränkung gefährlicher explosionsfähiger Atmosphäre" bzw. TRBS 2152, TRBS 2152 Teil 1 und 2.

(2) Soweit nicht durch eine Gefährdungsbeurteilung im Einzelfall für bestimmte Lageranlagen sowie Füll- und Entleerstellen für entzündbare Flüssigkeiten mit einem Flammpunkt< 55 °C anders festgelegt, sind die explosionsgefährdeten Bereiche gemäß Anlage 2 festzulegen 3.

(3) Brennbare Flüssigkeiten, die auf oder über ihren Flammpunkt erwärmt werden, sind entzündbaren Flüssigkeiten mit einem Flammpunkt< 55 °C gleichzustellen.

10.3 Allgemeine Schutzmaßnahmen

(1) In explosionsgefährdeten Bereichen sind Maßnahmen zum Schutz vor Entzündung explosionsfähiger Atmosphäre gemäß TRBS 2152 Teil 3 oder zur Beschränkung der Auswirkungen einer Explosion gemäß TRBS 2152 Teil 4 erforderlich.

(2) Erstrecken sich explosionsgefährdete Bereiche nach Nummer 10.2 auf Bereiche, die nicht zu den Anlagen im Sinne der Nummern 9 dieser TRGS gehören, sind ggf. verbindliche Absprachen über die erforderlichen Schutzmaßnahmen mit der betroffenen Nachbarschaft zu treffen.

(3) Damit explosionsfähige Atmosphäre nicht in dafür nicht vorgesehene Bereiche verschleppt werden kann, müssen Einmündungen und Schutzrohre für Kabel/Leitungen und Rohrleitungen in explosionsgefährdeten Bereichen gegen das Eindringen von Flüssigkeiten und deren Dämpfen sowie brennbarer Stäube geschützt sein. Auf TRBS 2152 Teil 2 bzw. TRGS 722 Nummer 2.4 wird verwiesen.

(4) Die explosionsgefährdeten Bereiche sind von Stoffen und Gegenständen freizuhalten, die nach Art oder Volumen geeignet sind, zur Entstehung oder Ausbreitung von Bränden zu führen.

(5) Abweichend von Absatz 4 dürfen in Lagern sowie an Füll- und Entleerstellen brennbare Flüssigkeiten in ortsbeweglichen Behältern einschließlich ihrer Verpackungen, und der Lager-/Transporthilfsmittel (z.B. Paletten, Schrumpffolie, Umverpackungen) gelagert werden.

(6) Verdichtete, verflüssigte und unter Druck gelöste Gase dürfen in explosionsgefährdeten Bereichen der Zone 1 nur unterirdisch gelagert werden. Dies gilt nicht für Brandschutzeinrichtungen.

10.4 Vermeiden von Zündquellen

10.4.1 Allgemeines

(1) In den explosionsgefährdeten Bereichen sind zu vermeiden

  1. in Zone 2 und 22: Zündquellen, die ständig oder häufig auftreten können
  2. in Zone 1 und 21: neben den für Zone 2 und 22 genannten Zündquellen auch Zündquellen, die gelegentlich auftreten können, z.B. bei vorhersehbaren Störungen eines Arbeitsmittels und
  3. in Zone 0 und 20: neben den für Zone 1 und 21 genannten Zündquellen auch Zündquellen, die selten auftreten können.

Die Maßnahmen zur Vermeidung der Zündquellen sind der TRBS 2152 Teil 3 zu entnehmen.

(2) Lageranlagen, Füll- und Entleerstellen und mit ihnen in leitender Verbindung stehende Anlagenteile müssen so errichtet sein, dass sie gegen Erde keine elektrischen Potenzialunterschiede aufbauen können, die zur Entstehung zündfähiger Funken oder gefährlicher Korrosion oder zur Gefährdung von Personen führen. Auf TRBS 2152 Teil 3 und TRBS 2153 wird verwiesen.

(3) Anschluss-, Verbindungs- und Trennstellen in Potenzialausgleichs- und Erdungsleitungen müssen gegen Selbstlockern gesichert sein. Trennstellen müssen leicht zugänglich und möglichst überirdisch angeordnet sein.

(4) Beim Befestigen oder Lösen von Leitungen muss die Gefahr einer Entzündung durch mechanische Funken ausgeschlossen sein. Hinsichtlich der Vermeidung von Zündquellen durch mechanischen Funken wird auf TRBS 2152 Teil 3 Nummer 5.4 verwiesen.

10.4.2 Besondere Anforderungen beim Lagern und Fördern von brennbaren staubförmigen oder staubbildenden Feststoffen

(1) Bei der pneumatischen Förderung von Stäuben mit geringer Mindestzündenergie (< 10 mJ) sind zusätzlich zur Zündquellenvermeidung weitere Explosionsschutzmaßnahmen zu treffen. Dies können Maßnahmen zur Explosionsunterdrückung, konstruktive Explosionsschutzmaßnahmen (z.B. Druckentlastung) oder die Verwendung von Inertgasen sein.

(2) Die Temperatur von Oberflächen, mit denen der Staub in Kontakt kommt, ist so zu begrenzen, dass max. 2/3 der Mindestzündtemperatur des Staubes nicht überschritten wird. Dies gilt insbesondere auch bei der Förderung.

(3) Die Lagerung von brennbaren Stäuben und Schüttgütern birgt stets die Gefahr der Selbstentzündung. Die Neigung des Staubes zur Selbstentzündung kann durch die Ermittlung der volumenabhängigen Selbstentzündungstemperaturen gemäß DIN EN 15188 erfolgen. Wird der Staub mit erhöhten Temperaturen gefördert oder eingelagert, erhöht sich die Gefahr der Selbstentzündung während der Lagerung. Dies gilt insbesondere, aber nicht ausschließlich, für selbsterhitzungsfähige Stoffe, eingestuft mit H251 oder H252.

(3) Die Schutzmaßnahmen zur Inertisierung ortsfester Behälter für entzündbare Stäube oder entzündbaren staubbildenden Feststoffen müssen den Anforderungen der TRGS 722/ TRBS 2152 Teil 2 genügen.

(4) Im Rahmen der Gefährdungsbeurteilung ist zu prüfen, ob an den Lagereinrichtungen Überwachungseinrichtungen zur Früherkennung von verdeckten und offenen Bränden oder gegen gefährliche Wärmeeinstrahlung notwendig sind.

10.5 Maßnahmen des konstruktiven Explosionsschutzes

Bei der Festlegung der Maßnahmen des konstruktiven Explosionsschutzes ist TRBS 2152 Teil 4 zu beachten. Bezüglich der Auswahl und der Installation von Flammendurchschlagsicherungen gilt Anlage 1.

10.6 Fahrzeugverkehr und Einsatz von Flurförderzeugen

(1) In explosionsgefährdeten Bereichen dürfen Fahrzeuge und Flurförderzeuge (z.B. Gabelstapler, Hubwagen, Plattformwagen) nur betrieben werden, wenn sie der geforderten Gerätekategorie entsprechen (s. dazu Abschnitt B, Anhang 4 BetrSichV).

(2) Abweichend von Absatz 1 dürfen Flurförderzeuge und Fahrzeuge normaler Bauart (z.B. Tankfahrzeuge oder sonstige Lastkraftwagen) in explosionsgefährdeten Bereichen der Zone 1, 2 oder 22 verkehren, wenn dies zum Betrieb des Lagers oder der Füllstelle bzw. der Entleerstelle erforderlich ist und in der Gefährdungsbeurteilung festgelegt ist, dass

  1. im Verkehrsbereich während des Ein- und Ausfahrens der Fahrzeuge keine explosionsfähige Atmosphäre vorhanden ist oder dort hingelangen kann und
  2. während der Befüll- oder Entleer- oder sonstigen Standzeiten des Fahrzeugs keine Zündquellen am Fahrzeug (z.B. heiße Oberflächen am Katalysator oder an Bremsen) auftreten oder keine explosionsfähigen Atmosphären an die Zündquellen gelangen.

11 Zusätzliche Anforderungen beim Lagern und Abfüllen von bestimmten Stoffen mit erhöhter Gefährdung

11.1 Akut toxische Flüssigkeiten und Feststoffe

11.1.1 Anwendungsbereich und allgemeine Anforderungen

(1) Die folgenden Regelungen gelten bei der Lagerung sowie bei Befüll- und Entleervorgängen akut toxischer Flüssigkeiten und Feststoffen der Kategorie 1 oder 2 (gekennzeichnet mit H300, H310, oder H330). Satz 1 gilt nicht für Salpetersäure, eingestuft in Kategorie 1 akut toxisch.

(2) Lager mit einer Ausdehnung ab 800 m2 sind zur Warnung von Personen, die sich im Lager oder in dessen unmittelbarer Nähe befinden können, mit Alarmierungseinrichtungen auszurüsten, z.B. mit einer Lautsprecheranlage.

(3) Lager im Freien sind so anzulegen, dass das Lager mindestens 5 m von Gebäudeöffnungen entfernt ist.

(4) Im genehmigungsbedürftigen Lager des Anhanges zur 4. BImSchV sind ortsfeste automatische Brandmeldeanlagen und Löscheinrichtungen auch dann erforderlich, wenn aus den gelagerten Gefahrstoffen im Brandfall eine Freisetzung giftiger Brandgase zu erwarten ist, die in ihren Auswirkungen eine ernste Gefahr im Sinne der Störfallverordnung darstellen.

(5) Für Lager und Füllstelle muss ein aktueller Plan für die Feuerwehr mit allen für die Brandbekämpfung erforderlichen Informationen vorhanden sein. Die Anforderungen an den Plan für die Feuerwehr gelten u. a. als erfüllt, wenn dieser DIN 14095 entspricht.

11.1.2 Bau und Ausrüstung der Lagerbehälter

Die Lagerbehälter müssen zusätzlich zu den Maßnahmen nach Nummer 7.1.3 mit Absperr- und Rohrleitungsanschlüsse ausgerüstet sein, die ein Austreten von Flüssigkeiten wirkungsvoll verhindern. In Umsetzung von Satz 1 sind

  1. alle Füll-, und Entnahmeleitungen mit einer Handabsperrarmatur und zumindest bei Flüssigkeiten mit einem Dampfdruck über 0,01 hPa zusätzlich eine fernbetätigbare Absperrarmatur mit mechanischem, pneumatischem oder elektrischem Stellungsanzeiger auszurüsten,
  2. an Probenahmestellen Einrichtungen vorzusehen die sicherstellen, dass betriebsbedingt keine oder nur geringe Mengen austreten können, z.B. durch Ausrüstung der Probenahmeöffnungen mit zwei hintereinander geschalteten Absperrarmaturen und Auslegung mit einem entsprechend dimensionierten Querschnitt,
  3. produktführende Messleitungen mit einer Handabsperrarmatur zu versehen,
  4. Anschlussstutzen unterhalb des zulässigen Füllgrads sind grundsätzlich zu vermeiden. Vorhandene Stutzen ohne angeschlossene Rohrleitung sind bevorzugt ohne Flansch auszuführen. Werden Flanschverbindungen eingesetzt, sind diese auf Dauer technisch dicht auszuführen, siehe hierzu auch TRGS 722/TRBS 2152 Teil 2 Nummer 2.4.3.2. Anschlussstutzen ohne angeschlossene Rohrleitung sind blind zu flanschen.

(2) Lagerbehälter müssen über eine geeignete Überfüllsicherung verfügen. Ab einem Fassungsvermögen von mehr als 25.0001 sind zwei voneinander unabhängige Überfüllsicherungen oder ein gleichwertiges System erforderlich. Die Überfüllsicherungen müssen alle Zuläufe automatisch unterbrechen, damit unter Berücksichtigung eventueller Nachlaufmengen der zulässige Füllungsgrad eingehalten wird. Beim Ansprechen der Überfüllsicherung muss ein optischer und akustischer Alarm ausgelöst werden.

(3) Es sind Vorkehrungen zur Erkennung und Alarmierung bei Produktaustritt zu treffen. In Lagern sind selbsttätig wirkende Einrichtungen zum Erkennen, Warnen und Melden von Flüssigkeitsaustritt notwendig, z.B. mittels geeigneter Gaswarneinrichtungen mit Meldung an eine ständig besetzte Stelle. Diese Einrichtungen, z.B. Gaswarneinrichtungen, müssen Vor- und Hauptalarm auslösen. Diese Alarmwerte sind im Rahmen der Gefährdungsbeurteilung festzulegen. Der Voralarm kann beispielsweise auf den AGW nach TRGS 900 festgelegt werden, der Hauptalarm auf eine Kurzzeitexposition ohne irreversible Gesundheitsschäden. Beim Ansprechen des Hauptalarms muss die Anlage selbsttätig in den sicheren Zustand gehen.

11.1.3 Aufstellung in Räumen

(1) Werden in Räumen Flüssigkeiten mit einem Dampfdruck größer 0,01 hPa befüllt oder entleert, dürfen sich in Räumen daneben, darunter oder darüber Personen nur dann dauerhaft aufhalten, wenn diese nicht gefährdet werden können. Hierfür sind die Füll- oder Entleerstellen zu angrenzenden Räumen/Bereichen grundsätzlich gasdicht abzutrennen.

(2) Türen zu diesen Räumen/Bereichen müssen selbstschließend sein.

(3) Die Räume/Bereiche sind mit einer Einrichtung zu versehen, die ausgetretene Flüssigkeit

  1. gefahrlos ableitet, auffängt und beseitigt oder
  2. detektiert und mittels optische und akustischer Anzeige auf das Sicherheitsrisiko hinweist.

11.1.4 Aufstellung im Freien

(1) Die Forderungen von Nummer 11.1.4 gelten für akut toxische Flüssigkeiten der Kategorie 1 oder 2.

(2) Im Rahmen der Gefährdungsbeurteilung sind Bereiche mit hoher und mit sehr hoher Gefährdung festzulegen, in denen bei Leckagen eine entsprechende Gesundheitsgefährdung besteht. Hierbei ist neben den toxischen Eigenschaften die Dichtigkeit aller Anlagenteile zu berücksichtigen. Zur Festlegung der Bereiche mit hoher Gefährdung können die Beurteilungsmaßstäbe bei kurzfristiger, i.d.R. einmaliger Exposition herangezogen werden, wie z.B. die AEGL-2 4 oder ersatzweise ERPG-2 oder vergleichbare stoffspezifische Beurteilungswerte bei einer einstündigen Exposition. Zur Festlegung der Bereich mit sehr hoher Gefährdung können analog die AEGL-3 oder ersatzweise ERPG-3 Werte benutzt werden. Die Dauer der Exposition mit sehr hoher Gefährdung ist in Abhängigkeit der physikalisch-chemischen und toxischen Eigenschaften, der gelagerten Mengen sowie den örtlichen Gegebenheiten festzulegen.

(3) Die Bereiche mit sehr hoher Gesundheitsgefährdung sind mit dem Warnzeichen W016 nach ASR A1.3 deutlich erkennbar und dauerhaft zu kennzeichnen.

(4) In Bereichen mit sehr hoher Gesundheitsgefährdung dürfen sich nur Baulichkeiten und Einrichtungen befinden, die dem Betrieb der Lagerbehälter dienen.

(5) In Bereichen mit störungsbedingten Leckagen, wie z.B. Pumpen, Armaturen, sind Maßnahmen zur Verhinderung und Detektion von Produktaustritten vorzusehen, sofern diese nicht mit einer Rückhalteeinrichtung versehen, und geeignete Maßnahmen zur möglichst gefahrlosen Ableitung der ausgetretenen Flüssigkeiten installiert sind. Dies kann bei Flüssigkeiten mit hohem Dampfdruck (oder leichtflüchtigen Stoffen) z.B. durch Gasmesseinrichtungen erfolgen, bei Flüssigkeiten mit niedrigem Dampfdruck kann hierfür auch eine Füllstandsüberwachung des Auffangraumes mit Alarmierung bei Erreichen von Grenzwerten dienen. Die Verhinderung von Produktaustritt kann z.B. erfolgen durch

  1. Einhausen dieser Bereiche,
  2. spezielle Flanschsicherungen,
  3. Verwendung besonders dichter Armaturen oder Pumpen.

Die Ausbreitung von Produkt kann verhindert werden z.B. durch Vorhandensein spezieller Chemikalien, die mit den ausgetretenen Flüssigkeiten zu ungefährliche Stoffen reagieren. Die Wirksamkeit ist zu überprüfen, die Anwesenheit von ausgetretenem Produkt ist mittels geeigneter Detektionsmethode zu überwachen,

(6) Zur Begrenzung der Ausbreitung bei störungsbedingten Leckagen sind nach Ergebnis der Gefährdungsbeurteilung spezielle Maßnahmen im Alarmplan festzulegen. Geeignete Maßnahmen können sein, in Abhängigkeit der physikalisch-chemischen und chemischen Eigenschaften und der Menge:

  1. Erzeugen von Wasserschleiern,
  2. Abdecken mit geeigneten Flüssigkeiten (z.B. Weißöl, Schaum),
  3. chemische Umsetzung der ausgetretenen Flüssigkeiten durch Versprühen geeigneter Flüssigkeiten,
  4. Begrenzen der flächigen Ausbreitung durch Verwirbeln mittels Wasserdampf (Dampfsperre).

Diese Einrichtungen, z.B. Sprührohre, Sprühwände, können fahrbar oder ortsfest eingebaut sein. Nummer 5.2 Absatz 5 gilt entsprechend.

(7) Bei Neuanlagen müssen Bereiche hoher Gefährdung auf den Werksbereich begrenzt werden und dürfen nicht in öffentlich zugängliche Gebiete ragen. Sind die Anforderungen von Satz 1 bei bestehenden Anlagen nicht erfüllt, sind im festzulegenden Gefahrenabwehrplan geeignete technische und organisatorische Maßnahmen im Falle einer Produktfreisetzung zu ergreifen.

(8) Zur Festlegung der unter Absatz 2 aufgeführten Bereiche sind geeignete Ausbreitungsrechnungen durchzuführen, z.B. nach VDI-Richtlinie 3783 (12/2007) Blatt 1 für Gase gleichschwer oder leichter als Luft und Blatt 2 für Gase schwerer als Luft. Dabei ist eine mittlere Ausbreitungssituation zu Grunde zu legen. Für die Ausbreitungsrechnungen ist die Menge zu Grunde zu legen, die nach dem zu unterstellenden Leckageszenario vernünftigerweise austreten kann. Bei der Festlegung der Austritts- und Ausbreitungsbedingungen sind jeweils die besonderen Randbedingungen für den Standort zu berücksichtigen.

11.1.5 Bauliche Anforderungen und Brandschutz

(1) Bei dem Lagern und Abfüllen in Gebäuden sind die Lagerabschnitte gegenüber anderen Lagerabschnitten, anderen Räumen oder Gebäuden, die sich innerhalb des Mindestabstandes gemäß Absatz 2 befinden, durch feuerbeständige Bauteile aus nichtbrennbaren Baustoffen (Feuerwiderstandsdauer mindestens 90 min, Baustoffklasse A1 oder A2s1d0 nach DIN EN 13501-1) abzutrennen. Bei Lagerabschnitten mit einer Fläche von mehr als 1.600 m2 sind diese voneinander durch Brandwände abzutrennen.

(2) Um Tankläger im Freien ist ein Mindestabstand von 5 m von Brandlasten freizuhalten, sofern deren Einwirkung im Brandfall nicht durch feuerbeständige Wände aus nichtbrennbaren Baustoffen (Feuerwiderstandsdauer mindestens 90 min, Baustoffklasse A1 oder A2s1d0 nach DIN EN 13501-1) verhindert wird. Der Abstand ist von der äußersten Behälterwand zu bemessen.

(3) Die Wände nach Absatz 2 müssen die Lagerhöhe um mindestens 1 m und die Lagertiefe an der offenen Seite um mindestens 0,5 m überschreiten.

11.2 Oxidierende Flüssigkeiten und Feststoffe

11.2.1 Allgemeines

(1) Die folgenden Regelungen gelten bei Lagerung sowie bei Befüll- und Entleervorgängen oxidierender Flüssigkeiten und Feststoffe der Kategorie 1 (eingestuft mit H271) die in Mengen über 200 kg gelagert werden.

(2) Im Auffangraum dürfen keine mit Verbrennungsmotoren betriebenen Geräte oder Kraftfahrzeuge abgestellt werden.

(3) Ausgetretene Kraft- oder Schmierstoffe im Auffangraum sind sofort zu beseitigen.

(4) Brennbare Materialien, die keine Lagergüter sind und die ihrer Art und Menge nach geeignet sind, zur Entstehung oder schnellen Ausbreitung von Bränden beizutragen, wie z.B. Verpackungen, Füllstoffe, Paletten, Sägemehl, dürfen im Auffangraum nicht gelagert werden.

(5) Für Lager und Füllstellen muss ein aktueller Plan für die Feuerwehr mit allen für die Brandbekämpfung erforderlichen Informationen vorhanden sein, Die Anforderungen an den Plan für die Feuerwehr gelten u. a. als erfüllt, wenn sie DIN 14095 entsprechen.

11.2.2 Bauliche Anforderungen und Brandschutz

(1) Bei dem Lagern und Abfüllen in Gebäuden sind die Lagerabschnitte gegenüber anderen Lagerabschnitten, anderen Räumen oder Gebäuden, die sich innerhalb des Mindestabstandes gemäß Absatz 2 befinden, durch feuerbeständige Bauteile aus nichtbrennbaren Baustoffen (Feuerwiderstandsdauer mindestens 90 min, Baustoffklasse A1 oder A2s1d0 nach DIN EN 13501-1) abzutrennen. Bei Lagerabschnitten mit einer Fläche von mehr als 1.600 m2 sind diese voneinander durch Brandwände abzutrennen.

(2) Um Tankläger im Freien ist ein Mindestabstand von 5 m von Brandlasten freizuhalten, sofern deren Einwirkung im Brandfall nicht durch feuerbeständige Wände aus nichtbrennbaren Baustoffen (Feuerwiderstandsdauer mindestens 90 min, Baustoffklasse A1 oder A2s1d0 nach DIN EN 13501-1) verhindert wird. Der Abstand ist von der äußersten Behälterwand zu bemessen.

(3) Die Wände nach Absatz 2 müssen die Lagerhöhe um mindestens 1 m und die Lagertiefe an der offenen Seite um mindestens 0,5 m überschreiten.

11.3 Gefahrstoffe, die zu gefährlicher Reaktion neigen

(1) Die folgenden Regelungen gelten bei der Lagerung sowie bei Befüll- und Entleervorgängen von Gefahrstoffen, die zu sich selbst beschleunigender Reaktion neigen und dabei gefährliche Betriebszustände herbeiführen können, einschließlich explosionsgefährliche Gefahrstoffe, die nicht unter das SprengG fallen. Dies ist z.B. der Fall

  1. bei Gefahrstoffen, die mit H250, H251 oder H252 eingestuft sind,
  2. bei Monomeren, die einen chemischen Stabilisator benötigen,
  3. bei Stoffen, die heftig mit Wasser reagieren,
  4. bei thermisch instabilen Stoffen.

(2) Der Behälter muss mit einer geeigneten Überwachungseinrichtung, wie z.B. Temperatur oder Druck, versehen sein, die bei Überschreitung eines im Rahmen der Gefährdungsbeurteilung definierten Grenzwertes Alarm bei einer durchgängig besetzten Stelle auslöst.

(3) Wird die Zersetzung durch andere Stoffe katalysiert, muss eine Fehlbefüllung des Behälters mit diesen Stoffen verhindert werden. Dies kann u.a. durch die unter Nummer 12 Absatz 2 Nr.2 beschriebenen Maßnahmen realisiert werden.

(4) Wird die Zersetzung durch Metalle, Metallverbindungen, Staub, etc. katalysiert, muss der Eintrag solcher Katalysatoren in den Behälter durch geeignete technische und/oder organisatorische Maßnahmen verhindert werden. Dazu gehören abhängig vom wirksamen Katalysator

  1. Staubfilter an Be- und Entlüftungsöffnungen
  2. Passivierung von metallischen Anlagenteilen vor Gebrauch und nach Reparatur

(5) Wird bei der Zersetzung eine größere Menge Gas gebildet, muss durch geeignete technische Maßnahmen ein Bersten des Behälters verhindert werden. Dies kann erfolgen durch

  1. eine ausreichend geeignete und dimensionierte Druck-Entlastungseinrichtung,
  2. eine Auslegung des Behälters für den maximal zu erwartenden Überdruck,
  3. ein Bodenablaufventil um den Inhalt in den Auffangraum abzulassen, sofern dies ohne Gefährdung möglich ist,
  4. eine Berieselungsanlage zum Kühlen des Behälters,
  5. die Möglichkeit zum Dosieren von Inhibitoren oder zum Verdünnen, sofern dies den Zersetzungsprozess verlangsamt oder stoppen kann oder
  6. eine Kombination dieser Maßnahmen. Austretende Gase sind gefahrlos abzuleiten.

(5) Bei Gefahrstoffen, die zur sicheren Lagerung einen Stabilisator oder ein Phlegmatisierungsmittel benötigen, wie z.B. Monomere, ist durch geeignete Maßnahmen sicherzustellen, dass

  1. ausreichend Stabilisator enthalten ist und regelmäßig überprüft wird,
  2. die Stabilisatordosierung regelmäßig gewartet wird,
  3. eine Einspeisemöglichkeit zur nachträglichen Dosierung des Stabilisators oder Phlegmatisierungsmittels vorhanden ist und
  4. die Dosierung des Stabilisators von einem sicheren Ort aus ausgelöst werden kann.

(6) Für Lager und Füllstelle muss ein aktueller Plan für die Feuerwehr mit allen für die Brandbekämpfung erforderlichen Informationen vorhanden sein. Die Anforderungen an den Plan für die Feuerwehr gelten u. a. als erfüllt, wenn sie DIN 14095 entsprechen.

(7) 20 Natriumhypochloritlösung reagiert mit Säure unter Freisetzung von Chlor. Natriumchloritlösung reagiert mit Säure unter Freisetzung von Chlordioxid. Für das Abfüllen von

  1. Natriumhypochloritlösungen (> 5 % aktives Chlor, entsprechend> 5,25 % Natriumhypochlorit) und
  2. Natriumchloritlösungen (> 12 % Natriumchlorit)

sind daher besondere Schutzmaßnahmen erforderlich, um unerwünschte Reaktionen aufgrund von Stoffverwechslungen und Vermischungen mit anderen Chemikalien zu verhindern. Die entsprechenden Schutzmaßnahmen sind in Anlage 4 beschrieben.

12 Zusammenlagerung 20a

(1) Lagergüter dürfen nicht zusammengelagert werden, wenn dies zu einer wesentlichen Gefährdungserhöhung führen kann. Dies ist gegeben, wenn z.B.

  1. Lagergüter gefährlich miteinander reagieren können,
  2. ein Lagergut gefährlich mit dem Löschmittel des anderen Gefahrstoffs reagieren kann,
  3. bei Lagerung in Räumen unterschiedliche Temperaturbedingungen erforderlich sind

und diese sich in einem gemeinsamen Auffangraum befinden.

(2) Beim Abfüllen von Stoffen die gefährlich mit anderen Stoffen reagieren, muss durch eine Kombination von entsprechenden technischen und/oder organisatorischen Maßnahmen eine Vermischung dieser Stoffe verhindert werden. Dies kann erreicht werden durch,

  1. räumliches Trennen der Füll- und Entleerstellen, so dass ein Auffangen in getrennten Auffangräumen erfolgt. Ist dies nicht möglich, müssen Abfüllvorgänge zeitlich voneinander getrennt werden und der Auffangraum dazwischen überprüft und ggf. entleert werden,
  2. eine technische Medienüberwachungen der Befülleinrichtungen der entsprechenden Lagertanks, die Fehlbefüllung verhindert. Dabei muss gewährleistet sein, dass der Befüllvorgang (ggf. automatisch) gestoppt werden kann, bevor das Füllgut den Lagertank erreicht. Als Überwachung kommen u. a. pH-Messung, Temperaturüberwachung oder Ultraschallmessung in Frage. Ist eine Medienüberwachung nicht möglich, muss durch alternative Maßnahmen eine Vermischung verhindert werden, z.B. durch verschließbare Befülleinrichtungen und Freigabe nach dem Vier-Augen-Prinzip,
  3. spezielle Armaturenanschlüsse, die nur für dezidierte Stoffe benutzt werden können,
  4. Befüll- und Abfülleinrichtungen, die nur für einen Stoff benutzt werden.

.

Ergänzende Anforderungen an die Ausrüstung von Tanks sowie Füll- und Entleerstellen für brennbare Flüssigkeiten Anlage 1
zu TRGS 509

1 Ausrüstung von Tanks

1.1 Ableitung von Dampf/Luft-Gemischen

1.1.1 Be- und Entlüftungseinrichtungen

(1) Tanks müssen so betrieben werden, dass z.B. durch Be- und Entlüftungseinrichtungen gewährleistet ist, dass gefährliche Über- und Unterdrücke nicht entstehen.

(2) Be- und Entlüftungseinrichtungen dürfen nicht absperrbar sein.

(3) Wegen der Be- und Entlüftungseinrichtungen von inertisierten Tanks wird auf Nummer 1.2.2 der Anlage 2 verwiesen.

(4) Wegen der Be- und Entlüftungseinrichtungen von Tanks, die im Gaspendelverfahren befüllt werden, wird auf Nummer 1.1.4 dieser Anlage verwiesen.

(5) Mehrere Tanks dürfen nur dann über eine gemeinsame Leitung belüftet und entlüftet werden, wenn sie nur solche brennbaren Flüssigkeiten enthalten, die keine gefährlichen Vermischungen (z.B. durch Flammpunkterniedrigung) miteinander eingehen können, und die Lagereinrichtungen für alle gelagerten brennbaren Flüssigkeiten geeignet sind. Dies ist insbesondere der Fall bei gemeinsamen Entlüftungsleitungen von Tanks zum Lagern von Heizöl EL (extra leicht) mit Tanks zum Lagern von entzündbaren Flüssigkeiten mit einem Flammpunkt< 55 °C.

(6) Be- und Entlüftungseinrichtungen müssen bei den zu erwartenden Beanspruchungen ausreichend fest, formbeständig und gegen Dämpfe des Lagergutes beständig bleiben. Sie müssen ferner im erforderlichen Maße alterungsbeständig und gegen Flammeneinwirkung ausreichend widerstandsfähig sein.

1.1.2 Bemessung der Be- und Entlüftungseinrichtungen

(1) Lüftungseinrichtungen müssen so bemessen sein, dass sowohl bei höchstem Volumenstrom der Pumpen bzw. Füllraten aus ortsbeweglichen Behältern als auch bei Temperaturschwankungen im Tank kein gefährlicher Unterdruck oder Überdruck entstehen kann. In der Gefährdungsbeurteilung sind die hierfür notwendigen Maßnahmen festzulegen. Satz 1 gilt bei Umsetzung der Anforderungen der Absätze 2 bis 6 als erfüllt, wenn in der Gefährdungsbeurteilung aufgrund der betrieblichen Verhältnisse und den Eigenschaften der gelagerten Stoffe keine anderen Festlegungen getroffen wurden.

(2) Für nicht wärmegedämmte oberirdische Flachboden-Tankbauwerke mit festem Dach ohne inneren Überdruck (z.B. Tanks nach DIN 4119) und vergleichbare Tanks (z.B. Tanks nach DIN 6618) aus metallischen Werkstoffen sind die Volumenströme Va und VA sowie Ve und VEfür die Bemessung der Be- und Entlüftungseinrichtungen nach folgenden Beziehungen zu ermitteln:

  1. Belüftungseinrichtungen 5
    Va> VA + VP
    Va= 4,8 * VB0,71
  2. Entlüftungseinrichtungen
    Ve> VE + V

    VE = 0,17 * (H/D) -0,52 * VB0,89


VP = Maximaler Volumenstrom der Pumpen bei der Tankbefüllung bzw. der Tankentleerung in m3/h
VA, VE = Maximaler witterungsbedingter Volumenstrom infolge Abkühlung (14) bzw. Erwärmung (VE) der Tankatmosphäre in m3/h
VB = Gesamtvolumen des Tanks im m
D = Durchmesser des Tanks in m
H = Höhe des Tanks in m

Die Volumenströme Vaund VEkönnen aus Abb. A1-1 für geläufige Parameterbereiche abgelesen werden.

Abb. A1-1: Maximale witterungsbedingte Volumenströme Va(Abkühlung) und VE(Erwärmung) zur Bemessung von Be- und Entlüftungsarmaturen in Abhängigkeit vom Tankvolumen VB:
im Erwärmungsfall (VE) geht die Tankform über den Parameter H/D ein.

(3) Bei dem Befüllen von Tanks ohne inneren Überdruck muss sichergestellt sein, dass der der Berechnung der Tankstatik zugrunde gelegte zulässige Überdruck, höchstens jedoch ein Überdruck von 0,1 bar, nicht überschritten wird.

(4) Bei Tanks, die nicht für inneren Überdruck ausgelegt, jedoch mit einem Prüfüberdruck von mindestens 2 bar geprüft worden sind, sind bei dem Befüllen die entstehenden Überdrücke auf 0,5 bar zu begrenzen.

(5) Bei oberirdischen zylindrischen Flachbodentankbauwerken sind bei dem Befüllen und Entleeren die auf dem Herstellerschild angegebenen zulässigen Volumenströme einzuhalten.

(6) Tanks dürfen unter Verwendung von Druckgas befüllt oder entleert werden, wenn der zulässige Betriebsüberdruck des Tanks (z.B. durch überströmendes Druckgas) nicht überschritten wird.

1.1.3 Ableitung der Dampf/Luft-Gemische brennbarer Flüssigkeiten ins Freie

(1) Lüftungsleitungen müssen so ins Freie münden, dass durch austretende Dampf/Luft-Gemische keine Gefährdungen für Beschäftigte und Dritte entstehen können. Falls in der Gefährdungsbeurteilung keine abweichende Festlegungen getroffen wurden, gilt diese Anforderung als erfüllt, wenn die Maßgaben der Absätze 2 bis 8 umgesetzt sind.

(2) Bei Anlagen mit Tanks unter Erdgleiche für entzündbare Flüssigkeiten mit einem Flammpunkt< 55 °C muss die Lüftungsleitung mindestens 50 cm über der Füllöffnung und mindestens 50 cm über Erdgleiche münden. Bei Anlagen mit Tanks über Erdgleiche für brennbare Flüssigkeiten mit einem Flammpunkt über 55 °C dürfen Lüftungsstutzen und Füllöffnung etwa gleich hoch enden.

(3) Lüftungsleitungen von Tanks zum Lagern von brennbaren Flüssigkeiten mit einem Flammpunkt über 55 °C müssen außerhalb des explosionsgefährdeten Bereichs von z.B. Tanks zum Lagern von entzündbaren Flüssigkeiten mit einem Flammpunkt< 55 °C angeordnet sein.

(4) Die Öffnungen der Lüftungsleitungen von Tanks nach z.B. DIN 6608 oder DIN 6616 zum Lagern von entzündbaren Flüssigkeiten müssen sich mindestens 4 m über dem Erdboden befinden.

(5) Die Austrittsöffnungen von Lüftungseinrichtungen müssen gegen das Eindringen von Regenwasser geschützt sein.

(6) Lüftungseinrichtungen dürfen nicht in geschlossene Räume und Domschächte münden. Ausnahmen gelten für oberirdische Einzeltanks mit einem Rauminhalt bis 1.000 l zum Lagern von Heizöl, Dieselkraftstoff oder Altöl bekannter Herkunft mit Flammpunkt über 55 °C, wenn hierdurch keine zusätzliche Gefährdung besteht.

(7) Von Schornsteinöffnungen, Regenfallrohren und zum Öffnen eingerichteten Fenstern müssen die Austrittsöffnungen einen Mindestabstand haben, der so bemessen ist, dass explosionsgefährdete Bereiche um die Lüftungsöffnungen gemäß Nummer 5 der Anlage 2 nicht an die Schornsteinöffnungen, Regenfallrohre und Fenster heranreichen, mindestens jedoch 2 m.

(8) Bei Festdachtanks mit Ringmantel müssen die Dampf/Luft-Gemische so abgeleitet werden, dass sie nicht in den Ringraum gelangen.

1.1.4 Gaspendeln

(1) Bei Befüllung von Tanks unter Anwendung des Gaspendelverfahrens ist die Entlüftung nur über die Gaspendelleitung durchzuführen. Entlüftungsleitungen von Tanks ins Freie, ausgenommen sicherheitstechnisch erforderliche Öffnungen, müssen während des Gaspendelns geschlossen sein. Beispielhaft ist diese Anforderung bei Tanks als erfüllt anzusehen, wenn die Lüftungsleitung mit einem Über/Unterdruckventil oder einer geeigneten Drossel versehen ist.

(2) Anschlussstutzen für Gaspendelleitungen sind fest verschlossen zu halten und nur zur Anbringung der Gaspendelleitung zu öffnen.

(3) Bei der Anwendung des Gaspendelverfahrens müssen die Gaspendelleitungen und ihre Anschlüsse so bemessen sein, dass unzulässige Über- und Unterdrücke in den Tanks nicht auftreten können. Bezüglich der Bemessung der Nennweiten der Gaspendelleitung und ihre Anschlüsse gilt Nummer 1.1.2 entsprechend.

(4) Gaspendelleitungen und Anschlüsse müssen bei den zu erwartenden Beanspruchungen ausreichend fest, formbeständig und gegen Dämpfe des Lagergutes beständig bleiben. Sie müssen ferner im erforderlichen Maße alterungsbeständig und gegen Flammeneinwirkung ausreichend widerstandsfähig sein.

1.2 Flammendurchschlagsicherungen

1.2.1 Allgemeines

Flammendurchschlagsicherungen sind Einrichtungen, die an der Öffnung eines Anlagenteils oder in verbindenden Rohrleitungen von Anlagenteilen eingebaut sind und deren vorgesehene Funktion es ist, zwar den Durchfluss von Gasen, Dämpfen, Nebeln und Flüssigkeiten zu ermöglichen, jedoch einen Flammendurchschlag zu verhindern. Auf TRBS 2152 Teil 4 Nummer 7.2 wird verwiesen. Hinsichtlich der Klassifizierung, Funktionsweise und Aufbau von Flammendurchschlagsicherungen wird auf DIN EN ISO 16852 verwiesen.

1.2.2 Notwendigkeit von Flammendurchschlagsicherungen

(1) Öffnungen von Anlagenteilen, in denen eine gefährliche explosionsfähige Atmosphäre vorhanden ist und die nicht hinreichend explosionsfest ausgeführt sind, sind gegen das Hineinlaufen von Explosionen zu schützen. Dies kann z.B. bei Be- und Entlüftungseinrichtungen, Füllstandsanzeigern, Befüll- und Entnahmeleitungen, aber auch Verbindungsleitungen zu anderen Anlagenteilen erforderlich sein. Bei verbundenen Anlagenteilen kann es bei einer Explosion in einem Anlagenteil zu einer Vorkompression von explosionsfähiger Atmosphäre im anderen Anlagenteil kommen, so dass der dann zu erwartende Explosionsdruck in diesem Anlagenteil wesentlich höher sein kann. Zur Reduzierung der Druckbelastung kann eine flammentechnische Entkopplung, z.B. durch eine geeignete Flammendurchschlagsicherung, erforderlich sein.

(2) Öffnungen von Anlagenteilen, durch die Explosionen herausschlagen und dadurch zu einer Gefährdung der Beschäftigten oder Dritter führen können, müssen gegen einen Flammendurchschlag geschützt sein. Hierzu können Füll-, Entleerungs- und Gaspendelanschlüsse gehören. Mögliche weitere Gefährdungen durch z.B. heiße Gase, Druckeinwirkungen oder Verbrennungsprodukte sind zu berücksichtigen.

(3) Bei miteinander verbundenen Anlagenteilen ist die Notwendigkeit eines Schutzes gegen die Ausbreitung einer Explosion zu prüfen. Dies kann z.B. bei Gaspendelsystemen und bei nicht ständig mit Flüssigkeit gefüllten Rohrleitungen wie Füll- und Entleerungsleitungen erforderlich sein.

(4) Absatz 1 gilt auch für Belüftungs- und Entlüftungseinrichtungen von abgedeckten Ringräumen zwischen Schwimmdach und Tankmantel von Schwimmdachtanks.

(5) Die Forderung nach Ausrüstung mit Flammendurchschlagsicherungen gilt nicht für

  1. Öffnungen von Tanks, die betriebsmäßig fest verschlossen und so gesichert sind, dass ein unbeabsichtigtes Lockern ihres Verschlusses ausgeschlossen ist,
  2. verschließbare Peilöffnungen,
  3. Peilrohre von Schwimmdachtanks,
  4. Be- und Entlüftungsöffnungen von Schwimmdachtanks mit Witterungsschutz, wenn die Be- und Entlüftungsöffnungen eine ausreichende Druckentlastung bei einer Explosion im Raum zwischen Schwimmdach und Witterungsschutz ermöglichen, Hinweise dazu können der DIN EN 14994:2007 "Schutzsysteme zur Druckentlastung von Gasexplosionen" entnommen werden oder
  5. Öffnungen von Schwimmdächern, deren Kappen sich nur bei dem Aufsetzen des Daches auf seine Stützen abheben.

(6) Für Tanks, in denen auf Grund der Lagerbedingungen eine explosionsfähige Atmosphäre nicht zu erwarten ist, gelten die Forderungen nach Absatz 1 und 2 nicht.

(7) Für Tanks, die einer Explosion von Dampf/Luft-Gemischen im Innern standhalten, ohne aufzureißen (explosionsdruckfeste oder explosionsdruckstoßfeste Bauweise), gilt die Forderung nach Absatz 2 nur für Öffnungen, die betriebsmäßig zur Atmosphäre geöffnet werden (z.B. Anschlussöffnungen für Füll- und Gaspendelleitungen), und wenn eine Gefährdung von Beschäftigten oder Dritten durch herausschlagende Flammen bestehen kann.

(8) Öffnungen von Behältern, die gegen Flammendurchschlag nicht gesichert sind, müssen, solange sie nicht genutzt werden, fest verschlossen und so gesichert sein, dass ein unbeabsichtigtes Lockern ihres Verschlusses ausgeschlossen ist.

(9) Wegen der Einschränkung von Anforderungen an Flammendurchschlagsicherungen an inertisierten Tanks wird auf Anlage 2 Nummer 1.2.2 verwiesen.

1.2.3 Auswahl der geeigneten Flammendurchschlagsicherung

(1) Ins Freie mündende Öffnungen von Tanks und Anlagen, aus denen Dampf/Luft-Gemische betriebsmäßig nicht austreten, in die aber explosionsfähige Atmosphäre einströmen kann, z.B. an Unterdruckventilen von Belüftungseinrichtungen an Tanks, müssen mit einer Deflagrationsendsicherung versehen sein, die den Flammendurchschlag in den Tank, die Anlage oder die Rohrleitung bei einer Explosion in der Umgebung dieser Armatur verhindert.

(2) Öffnungen nach Absatz 1, aus denen nicht nur kurzzeitig Dampf/Luft-Gemische ausströmen können, müssen mit einer Einrichtung versehen sein, die zusätzlich zu den in Absatz 1 geforderten Schutz gegen einen Flammendurchschlag in den Tank auch dem Abbrand ausströmender explosionsfähiger Gemische für alle Einsatzbedingungen ohne Flammendurchschlag standhält (Dauerbrandsicherungen). Bezüglich der Bauausführungen von Dauerbrandsicherungen wird auf TRBS 2152 Teil 4 Nummer 7.4 verwiesen.

(3) Verbindungsleitungen von explosionsdruckfesten oder explosionsdruckstoßfesten Tanks oder von Anlagen, in denen eine Explosion im Inneren auftreten kann, zu nicht explosionsdruckfesten oder nicht explosionsdruckstoßfesten Tanks oder Anlagenteilen müssen zur Verhinderung einer Explosionsausbreitung mit Deflagrationsvolumensicherungen ausgerüstet werden.

(4) Rohrleitungen, die zu nicht explosionsdruckfesten oder nicht explosionsdruckstoßfesten Tanks oder Anlagen führen, müssen zur Verhinderung einer einlaufenden Explosion mit Deflagrationsrohrsicherungen oder Detonationssicherungen ausgerüstet werden.

(5) Deflagrationsrohrsicherungen sind nur zulässig bei kurzen Rohrleitungen, die den Vorgaben der Betriebsanleitung der Deflagrationsrohrsicherung bezüglich des zulässigen Längen/Durchmesser-Verhältnisses zwischen der möglichen Zündquelle und der Flammendurchschlagsicherung entsprechen. Anderenfalls sind Detonationssicherungen zu verwenden.

(6) Detonationssicherungen sind z.B. erforderlich

  1. am Anschluss der Gaspendelleitung an den Tank,
  2. an Befüll- und Entnahmeleitungen, die betriebsmäßig nicht ständig mit brennbaren Flüssigkeiten gefüllt sind und explosionsfähige Gemische enthalten können; dies gilt auch für Befüll- und Entnahmeleitungen, die von oben in den Tank eingeführt sind und bis auf die Tanksohle reichen,
  3. im Zuge von Rohrleitungen, wenn die vorhandenen Rohrleitungslängen zwischen dem möglichen Ort der Zündquelle und der Flammendurchschlagsicherung die für Deflagrationssicherungen zulässigen maximalen Rohrlängen überschreiten,
  4. Öffnungen, an denen zum Befüllen und Entleeren eines Tanks oder zur Gaspendelung bestimmte lösbare Rohr- und Schlauchverbindungen angeschlossen werden, sofern die Längen der Rohr- und Schlauchverbindungen die für Deflagrationssicherungen zulässigen maximalen Rohrlängen überschreiten.

(7) Die Anforderungen nach Absatz 6 sind z.B. erfüllt, wenn nach DIN EN ISO 16852 auf stabile Detonationen geprüfte Detonationssicherungen verwendet werden.

(8) Bezüglich der Absicherung von Dämpfespeichern wird auf Abb. A1-6 und A1-7 dieser Anlage verwiesen.

1.2.4 Flammendurchschlag bei kurzzeitigem Brennen

(1) Deflagrations- oder Detonationssicherungen gemäß Nummer 1.2.3 Absatz 4 und 5 im Zuge von Rohrleitungen, durch die explosionsfähige Dampf/Luft-Gemische langzeitig oder längerfristig strömen können, müssen kurzzeitbrandsicher ausgeführt werden. Die Forderung nach Satz 1 ist beispielsweise erfüllt, wenn Sicherungen nach DIN EN ISO 16852 verwendet werden. Die Flammendurchschlagsicherungen müssen mit Zusatzeinrichtungen versehen sein, die eine zur Flammendurchschlagsicherung zurückschlagende und dort weiter brennende Flamme rechtzeitig erfassen und Notfunktionen auslösen. Als Notfunktion kann

  1. das Nachströmen explosionsfähiger Gemische automatisch unterbrochen,
  2. das explosionsfähige Gemisch inertisiert,
  3. die Konzentration der Dämpfe im Gemisch mit Luft durch Zugabe von Brenngas über die obere Explosionsgrenze angereichert oder
  4. durch Luftzugabe unter die untere Explosionsgrenze verdünnt

werden.

(2) Abweichend von Absatz 1 brauchen Detonationssicherungen, die im Zuge von Gaspendel- und Gassammelleitungen unmittelbar an Tanks oder Behältern angeordnet sind, nicht mit Überwachungseinrichtungen zum Erkennen eines stabilisierten Brennens ausgerüstet zu werden.

1.2.5 Einsatzbedingungen von Flammendurchschlagsicherungen

(1) Flammendurchschlagsicherungen müssen möglichst nahe am Tank angebracht und so angeordnet sein, dass sie leicht gewartet werden können. Ist aus statischen Gründen die Montage auf dem Tankdach nicht möglich, kann die Flammendurchschlagsicherung direkt neben den Tank angeordnet werden, sofern die Rohrleitung zwischen Tank und Flammendurchschlagsicherung direkt neben der Tankwandung angeordnet wird. Sie ist so anzuordnen, dass im Tank oder in der Rohrleitung vorhandene explosionsfähige Atmosphäre durch einen Dauerbrand an der Flammendurchschlagsicherung nicht entzündet werden kann.

(2) Tanks, die über eine gemeinsame Lüftungsleitung be- oder entlüftet werden, müssen jeweils durch eine geeignete Flammendurchschlagsicherung am Tank abgesichert sein, sofern sie nicht explosionsdruck- oder explosionsdruckstoßfest gebaut sind.

(3) Zwischen dem möglichen Ort einer Zündquelle und einer Deflagrationsrohrsicherung dürfen keine flammenbeschleunigend wirkenden Einbauten wie Blenden, plötzliche Querschnittsverengungen oder -erweiterungen o. ä. vorhanden sein, es sei denn, die Einbauten sind gemäß der Betriebsanleitung zulässig. Diese Einschränkung gilt nicht für Absperreinrichtungen mit gleichem Querschnitt wie die Rohrleitungen, wenn sie betriebsmäßig offen gehalten werden.

(4) Dauerbrandsicherungen sind unmittelbar am Tank oder mit kurzen Rohrleitungen zu installieren. Für oberirdische Tanks mit Bauhöhe H 4 m entspricht eine 4 m über Erdgleiche endende Entlüftungsleitung noch der Forderung nach einer kurzen Rohrleitung.

(5) Notentlüftungsöffnungen von Gaspendel- oder -sammelleitungen oder vom Tank weggeführten Entlüftungsleitungen müssen gegen Dauerbrand geschützt ausgeführt werden. Die Dauerbrandsicherungen müssen so angeordnet sein, dass bei einem Abbrand die Flamme keine Auswirkung auf die Rohrleitung hat. Die Dauerbrandsicherung am Ende der Leitung ersetzt nicht die an den Tanks oder Anlagenteilen nach Nummer 1.2.3 Absatz 6 erforderlichen Detonationssicherungen.

(6) Parallelanordnungen von Dauerbrandsicherungen (z.B. um den erforderlichen Volumenstrom gewährleisten zu können) sind zulässig. Die Dauerbrandsicherungen sind so anzuordnen, dass sie sich im Brandfall nicht gegenseitig durch Wärmeeinwirkung beeinflussen. Dies ist beispielhaft erfüllt, wenn die Mindestabstände der Dauerbrandsicherungen voneinander von Achse zu Achse mindestens fünfmal größer als der Durchmesser der Flammensperre und die Einbauebenen auf gleicher Höhe sind.

(7) Dauerbrandsicherungen müssen im Falle des Abbrandes so eingebaut sein, dass die Dampf/Luft-Gemische senkrecht nach oben abgeführt werden. Die Freistrahlabführung darf bei einem Abbrand nicht beeinträchtigt sein.

(8) Bezüglich der Absicherung von Rückgewinnungs- und Abluftreinigungsanlagen wird auf TRBS 2152 Teil 4 Nummer 7.3 verwiesen.

1.2.6 Druckfestigkeit von Rohrleitungen an Flammendurchschlagsicherungen

(1) Rohrleitungen und Formstücke zwischen der Detonationssicherung und dem Ort der möglichen Zündung müssen dem zu erwartenden Explosionsdruck standhalten, ohne aufzureißen. Dies ist z.B. erfüllt, wenn Rohre und Formstücke mit einer Nennweite bis einschließlich DN 200 mindestens in Nenndruck PN 10 und Rohre und Formstücke mit einer Nennweite über DN 200 mindestens in Nenndruck PN 16 ausgeführt sind.

(2) Für Rohrleitungen mit Nennweiten bis DN 200 sind Krümmer mit beliebigem Krümmungsradius r sowie T-Stücke und andere Formstücke zulässig.

(3) Für Rohrleitungen mit Nennweiten über DN 200 müssen die Krümmer ein Verhältnis von Krümmungsradius r zum Rohrdurchmesser d von mindestens 1,5 besitzen. T-Stücke mit einer Nennweite im abzweigenden Ast über DN 200 sind nicht zulässig. Andere Rohrabzweigungen mit einem Abzweigwinkel von maximal 30° sind zulässig. Beispiele für zulässige Abzweigungen und Formstücke sind in Abb. A1-2 aufgeführt.

(4) Querschnittsreduzierungen in Rohrleitungen müssen mindestens in einem Abstand entsprechend dem 120fachen Rohrdurchmesser vor der Detonationssicherung angeordnet sein.

(5) In Rohrleitungen sind zwischen einer Deflagrationsrohrsicherung und dem Ort der möglichen Zündung Rohre und Formstücke mindestens in Nenndruck PN 10 auszuführen. Der Abstand zwischen der Deflagrationssicherung und dem Ort der möglichen Zündung sowie dort angeordnete Formstücke müssen den in der EG-Baumusterprüfbescheinigung festgelegten Anforderungen entsprechen.

Abb. A1-2: Zulässige Abweichungen und Formstücke nach Nummer 1.2.9

1.2.7 Anordnung von Flammendurchschlagsicherungen an Abzweigungen

(1) An Rohrabzweigungen müssen Flammendurchschlagsicherungen so angeordnet sein, dass durch Instabilitäten der Detonationsausbreitung im Rohr keine unzulässigen Belastungen der Flammendurchschlagsicherungen auftreten können.

(2) Absatz 1 ist erfüllt, wenn in der nicht abzweigenden Rohrleitung der Abstand von der Abzweigung bis zu einer plötzlichen Querschnittsverengung oder einem Rohrleitungsabschluss mindestens entsprechend dem 20fachen Rohrdurchmesser der nicht abzweigenden Rohrleitung, mindestens jedoch 3 m, beträgt und

  1. an Rohrabzweigungen, die nicht rechtwinklig und nicht scharfkantig ausgeführt sind, müssen auf stabile Detonationen geprüfte Flammendurchschlagsicherungen eingesetzt werden, die im abzweigendem Rohr im Abstand von mindestens 120 Rohrdurchmesser des abzweigenden Rohres von der Abzweigung entfernt eingebaut werden, oder
  2. an Rohrabzweigungen, die rechtwinklig und scharfkantig ausgeführt sind, müssen auf stabile Detonationen geprüfte Flammendurchschlagsicherungen eingesetzt werden, die im abzweigenden Rohr im Abstand von 5 Rohrdurchmessern, mindestens jedoch 0,5 m, bis höchstens 50 Rohrdurchmesser des abzweigenden Rohres oder
  3. mit einem Abstand entsprechend mindestens dem 120fachen Rohrdurchmesser des abzweigenden Rohres von der Abzweigung entfernt eingebaut werden (siehe Abb. A1-3 und A1-4).

Flammendurchschlagsicherungen gemäß Ziffer 1 und 2 sind geeignet, wenn sie die Anforderungen von DIN EN ISO 16852 bzw. der früheren DIN EN 12874 erfüllen.

Abb. A1-3: Anordnung der Flammendurchschlagsicherung an senkrechten scharfkantigen Rohrabzweigungen

Abb. A1-4: Anordnung der Flammendurchschlagsicherungen an anderen Rohrabzweigungen

2 Ausrüstung von Füll- und Entleerstellen

2.1 Ableitung von Dampf/Luft-Gemischen an Füllstellen

(1) Bei Füllvorgängen verdrängte Dampf/Luft-Gemische dürfen nicht zu Gefährdungen von Beschäftigten und Dritten führen. Dazu müssen die erforderlichen Einrichtungen vorhanden sein.

(2) In Abhängigkeit des verdrängten Volumens und der abgefüllten Stoffe sowie des vorhandenen Abfüllsystems müssen die verdrängten Dampf/Luft-Gemische aufgenommen, fortgeleitet und ggf. behandelt werden.

(3) Für die Aufnahme bzw. Ableitung der Dampf/Luft-Gemische kommen in Frage:

  1. Raumlüftung,
  2. Objektabsaugung,
  3. formschlüssige Lüftungseinrichtungen (z.B. Einsteckkonus, Absaughaube),
  4. Füllkabinen oder
  5. festangeschlossene Lüftungseinrichtungen (z.B. Dämpfependel- oder Dämpfeableitungsanschlüsse).

(4) Die Funktionsfähigkeit der Lüftungseinrichtungen nach Absatz 3 ist zu kontrollieren. Bei einer technischen Lüftungseinrichtung (technische Raumlüftung, Objektabsaugung, Füllkabine) muss der Ausfall des geförderten Luftstroms erkannt werden, z.B. durch Alarmierung.

(5) Eine Objektabsaugung im Sinne von Absatz 3 ist dann gegeben, wenn das aus dem zu befüllenden ortsbeweglichen Behälter verdrängte Dampf/Luft-Gemisch unmittelbar am ortsbeweglichen Behälter abgesogen wird. Hierzu muss der von der Objektabsaugung geförderte Volumenstrom hinreichend größer sein als die Füllrate, mit der der ortsbewegliche Behälter befüllt wird, um ein betriebliches Entweichen von Dampf/Luft-Gemischen in die angrenzende Umgebung auszuschließen. Objektabsaugungen können ausgeführt werden,

  1. die während des gesamten Füllvorgangs (einschließlich Öffnen und Verschließen der ortsbeweglichen Behälter und Abdampfen benetzter Füllrohre) oder
  2. die nur bei dem Befüllen der ortsbeweglichen Behälter

ein betriebliches Entweichen von Dampf/Luft-Gemischen in die angrenzende Umgebung ausschließen. Die Wirksamkeit der Objektabsaugung ist nachzuweisen (z.B. durch Rauchröhrchen).

(6) Eine formschlüssige Lüftungseinrichtung im Sinne von Absatz 3 ist dann gegeben, wenn das aus dem zu befüllenden ortsbeweglichen Behälter verdrängte Dampf/Luft-Gemisch unmittelbar am ortsbeweglichen Behälter von einer Lüftungseinrichtung abgeleitet wird, welche die Lüftungsöffnung des ortsbeweglichen Behälters formschlüssig gegenüber der Umgebung abdichtet, um während des Befüllens der ortsbeweglichen Behälter ein betriebliches Entweichen von Dampf/Luft-Gemischen in die angrenzende Umgebung auszuschließen. Während des Öffnens und des Verschließens der ortsbeweglichen Behälter ist eine Freisetzung von Dampf/Luft- Gemischen in die angrenzende Umgebung möglich.

(7) Eine Füllkabine im Sinne von Absatz 3 ist dann gegeben, wenn der ortsbewegliche Behälter in eine spezielle, nur für den Füllvorgang vorgesehene Einrichtung gestellt wird, die an einer wirksamen Absaugung angeschlossen ist. Der von der Absaugung geförderte Volumenstrom muss hinreichend größer sein als die Füllrate, mit der der ortsbewegliche Behälter befüllt wird. Im Normalbetrieb ist ein betriebliches Entweichen von Dampf/Luft-Gemischen in den angrenzenden Raum auszuschließen. Die Wirksamkeit der Absaugung ist nachzuweisen (z.B. durch Rauchröhrchen).

2.2 Flammendurchschlagsicherungen in Füll- und Entleerstellen für entzündbare Flüssigkeiten mit einem Flammpunkt< 55 °C

(1) Flammendurchschlagsicherungen sind erforderlich

  1. zum Schutz des ortsbeweglichen Behälters gegen Flammenrückschlag aus dem Gaspendelsystem bzw. aus den ins Freie mündenden Lüftungsleitungen und
  2. zum Schutz gegen Flammenrückschlag aus Produktleitungen, die nicht ständig mit brennbaren Flüssigkeiten gefüllt sind.

(2) Die Forderung nach Absatz 1 gilt nicht für solche Füllstellen, an denen ortsbewegliche Behälter befüllt werden, die einer Explosion von Dampf/Luft-Gemischen im Inneren standhalten ohne aufzureißen oder eine eigene Flammendurchschlagsicherung besitzen.

(3) Die Forderung nach Absatz 1 gilt auch nicht für solche Füllstellen, an denen ortsbewegliche Behälter mit brennbaren Flüssigkeiten mit höherem Flammpunkt befüllt werden und bei denen die Betriebsbedingungen so sind, dass im Inneren der ortsbeweglichen Behälter nicht mit dem Vorhandensein von gefährlicher explosionsfähiger Atmosphäre gerechnet werden muss. Auf Nummer 1.3 der Anlage 2 wird verwiesen.

(4) Bei der Befüllung mit geöffnetem Domdeckel sind keine zusätzlichen Maßnahmen zum Schutz gegen das Hineinschlagen von Flammen in den ortsbeweglichen Behälter erforderlich.

(5) Hinsichtlich der Ausrüstung und der Einsatzbedingungen von Flammendurchschlagsicherungen in Anlageteilen von Füll- und Entleerstellen gelten die Nummern 1.2.3 bis 1.2.7 sinngemäß.

3 Vermeidung gefährlicher elektrischer Ausgleichsströme

(1) Für den Schutz vor Zündgefahren durch elektrische Ausgleichsströme oder kathodische Korrosionsschutzanlagen ist TRBS 2152 Teil 3 Nummer 5.6 zu beachten.

(2) Durch elektrische Ausgleichs- und Streuströme zwischen Anlagenteilen der Tanks sowie Füll- und Entleerstellen und dem Erdpotenzial dürfen keine Zündgefahren, gefährlichen Korrosionen (z.B. durch elektrogalvanische Elementbildung oder durch Streuströme aus elektrischen Anlagen) oder Gefährdungen von Personen entstehen. Dabei sind sowohl die zur Anlage gehörenden elektrischen Anlagen als auch fremde Anlagen, z.B. elektrische Bahnen, Parallelführung von Hochspannungsfreileitungen oder längere Rohrleitungen, zu berücksichtigen.

(3) Können Tanks oder Rohrleitungen als Sammler von Fremdströmen wirken oder Ausgleichsströme nicht ausgeschlossen werden, sind geeignete elektrische Trennelemente zur Verhinderung dieser Ströme erforderlich. Als geeignete elektrische Trennelemente gelten beispielsweise der Einbau von Isolierstücken, Isolierflanschen oder isolierenden Ausgleichsdämpfern an geeigneter Stelle.

(4) Elektrische Trennelemente müssen den elektrischen, mechanischen, thermischen und chemischen Anforderungen am Einbauort genügen und einer Prüfspannung von 5 kV standhalten.

(5) Elektrische Trennelemente in explosionsgefährdeten Bereichen der Zone 1 sind, wenn sie nicht mit Leitern ausreichenden Querschnitts überbrückt werden können, durch Funkenstrecken mit einer Ansprechstoßspannung von 50 % der Prüfwechselspannung der Trennelemente, maximal jedoch mit einer Ansprechstoßspannung von 2,5 kV zu überbrücken.

(6) Werden Rohrleitungen in explosionsgefährdeten Bereichen durch elektrische Trennelemente getrennt, so muss gewährleistet sein, dass bei einem objektfernen Blitzeinschlag die Gefahr der möglichen Entzündung einer explosionsfähigen Atmosphäre minimiert wird. Hierfür sind beispielsweise Leiter ausreichenden Querschnitts oder Funkenstrecken geeignet.

(7) Soweit Funkenstrecken in explosionsgefährdeten Bereichen Zone 1 eingebaut werden sollen, sind diese explosionsgeschützt auszuführen.

(8) In explosionsgefährdeten Bereichen der Zone 1 müssen Vorkehrungen gegen zufälliges Überbrücken von elektrischen Trennelementen getroffen sein.

(9) Anschlüsse von Kabeln und Leitungen müssen gegen Selbstlockern gesichert sein. Trennstellen müssen leicht zugänglich und möglichst oberirdisch angeordnet sein.

(10) Bei unterirdischen Lagerbehältern und Behältern zur Lagerung von Betriebsstoffen, die aus korrosionstechnischen Gründen (z.B. Flüssiggasbehälter) vom Schutzleitersystem getrennt errichtet werden müssen, sind folgende Anforderungen einzuhalten:

  1. Erstellung und Vorhaltung einer Dokumentation der Maßnahmen zur Einhaltung der Anforderungen,
  2. Installation eines Fehlerstromschutzschalters (RCD),
  3. Dauerhafte Sicherstellung eines ausreichenden Erdungswiderstandes (z.B. durch Installation eines eigenen Erders), die Verwendung des Tanks als Erder ist nicht statthaft,
  4. Trennung des Schutzleitersystems der Netzversorgung für die direkt mit dem Lagerbehälter verbundenen elektrischen Betriebsmittel,
  5. Die Schutzleiter der Kabel von der Verteilung zum Behälter und die Schutzleiter der Betriebsmittel sind im Domschacht auf das Behälterpotential aufzulegen. In der Verteilung sind die Schutzleiter auf isolierte Klemmen zu führen.

(11) Tanks sowie Füll- und Entleerstellen und mit ihnen in leitender Verbindung stehende Anlagenteile dürfen nicht allein als Erder für elektrische Anlagen verwendet werden.

(12) Für die Erdungsanlagen sind solche Metalle zu verwenden, die gefährliche Korrosionen an Tanks und Rohrleitungen nicht befürchten lassen. Beispielhaft ist diese Forderung als erfüllt anzusehen, wenn bei Tanks aus Stahl die Erdungsleitungen aus verzinktem oder zur Erhöhung der Lebensdauer aus zinnverbleitem Bandstahl oder nichtrostendem Edelstahl oder bei oberirdischer Verlegung auch aus Kupferleitungen (Kupferseil 50 mm2, keine Außenisolierungen) hergestellt sind und bei dem Anschluss der Erdungsleitung am Tank Kontaktkorrosion vermieden werden.

(13) In den Bereichen, in denen mit Streuströmen elektrischer Anlagen zu rechnen ist, muss vor einem Trennen der Rohrleitung die Trennstelle mit einer ausreichend dimensionierten leitfähigen Verbindung überbrückt sein. In Füll- und Entleerstellen muss zwischen ortsbeweglichem Behälter und der Füll- bzw. Entleerstelle eine ausreichend dimensionierte leitfähige Verbindung vorhanden sein.

4 Vermeidung gefährlicher elektrostatischer Aufladung

(1) Tanks, Rohrleitungen und andere Anlagenteile müssen gegen elektrostatische Aufladungen, die zu gefährlichen Entladungsvorgängen führen können, gesichert sein. Das Befüllen von Tanks und ortsbeweglichen Behältern muss so vorgenommen werden, dass Gefährdungen durch elektrostatische Aufladungen nicht entstehen.

(2) Absatz 1 gilt als erfüllt, wenn die Anforderungen von TRBS 2153 eingehalten sind. Insbesondere ist zu beachten, dass

  1. durch Erdungsmaßnahmen nur die Ansammlung zündfähiger Ladungen auf den leitfähigen Anlagenteilen oder in leitfähigen Flüssigkeiten verhindert, nicht aber die Aufladung der nicht leitfähigen entzündbaren Flüssigkeiten oder der nicht leitfähigen Anlagenteile vermieden werden kann,
  2. leitfähige Bauteile in explosionsgefährdeten Bereichen elektrostatisch leitfähig miteinander verbunden sein müssen, dies gilt auch für Armaturen und deren Einzelkomponenten (z.B. Wellen, Inneneinbauten). Normale Schutzanstriche sind hierbei ohne Bedeutung, da sie in der Regel eine ausreichend große Ableitfähigkeit aufweisen,
  3. eine ausreichende elektrisch leitfähige Verbindung (niederohmig) zwischen den metallischen Teilen der ortsbeweglichen Behälter und der Füll- bzw. Entleerstelle vorhanden ist oder hergestellt wird,
  4. mit dem Erdboden in Berührung stehende metallische Anlageteile und Rohrleitungen, auch wenn sie mit Bitumen oder Asphalt gegen Korrosion geschützt sind, ausreichend elektrostatisch geerdet sind. Nur wenn ihr Ableitwiderstand gegen Erde größer als 106 Ohm ist, sind zusätzliche Maßnahmen erforderlich,
  5. die Bodenflächen von Lageranlagen sowie Füll- und Entleerstellen, die explosionsgefährdete Bereiche der Zone 1 haben, einen Ableitwiderstand von höchstens 108 Ohm aufweisen müssen. Dies ist insbesondere bei Bodenflächen mit Deckschichten oder Versiegelungen aus Kunststoff von Bedeutung,
  6. bei der Befüllung eines ortsbeweglichen Behälters ein Versprühen von entzündbaren Flüssigkeiten mit einem Flammpunkt< 55 °C vermieden wird. Dies wird z.B. erreicht, wenn bei Obenbefüllung die Auslauföffnung des Füllrohres sich möglichst nahe über dem Boden des ortsbeweglichen Behälters befindet,
  7. Füllrohre einen der Strömungsgeschwindigkeit der entzündbaren Flüssigkeiten mit einem Flammpunkt< 55°C angepassten Durchmesser haben; auf TRBS 2153 wird verwiesen.

(3) Beim Befüllen von Tanks und ortsbeweglichen Behältern mit Flüssigkeiten, die aufgrund der vorhergehenden Befüllung explosionsfähige Atmosphäre enthalten können, sind Maßnahmen für die Vermeidung gefährlicher elektrostatischer Aufladungen erforderlich.

5 Blitzschutz

(1) Lageranlagen und Anlagen zur Abfüllung, bei denen nach Lage, Bauart oder Nutzung Explosions- oder Brandgefährdungen durch Blitzschlag entstehen können, müssen dauerhaft gegen die schädlichen Auswirkungen von Blitzeinschlägen geschützt werden. In diese Maßnahmen müssen alle Anlagenteile eingebunden sein, in die ansonsten ein direkter Blitzeinschlag möglich wäre oder für die schädliche Auswirkungen zu erwarten sind.

(2) Bezüglich der Gefahr der Zündung einer gefährlichen explosionsfähigen Atmosphäre durch Blitzschlag wird auf TRBS 2152 Teil 3 Nummer 5.8 verwiesen (siehe auch DIN EN 62305-1 bis -4 (VDE 0185-305 Teil 1 bis Teil 4).

(3) Die getroffenen Maßnahmen zum Blitzschutz sind im Explosionsschutzdokument zu beschreiben.

(4) Gebäudeteile, in denen sich Tanks zum Lagern von entzündbaren Flüssigkeiten mit einem Flammpunkt< 55 °C mit einem Rauminhalt von mehr als 3.000 l befinden, sowie oberirdische Tanks im Freien und unterirdische Tanks für entzündbaren Flüssigkeiten mit einem Flammpunkt< 55 °C, die nicht allseitig von Erde, Mauerwerk oder Beton oder mehreren dieser Stoffe umgeben sind, müssen durch geeignete Einrichtungen gegen Zündgefahren durch Blitzschlag geschützt sein.

(5) Absatz 4 gilt auch für oberirdische Tanks im Freien, die dem Lagern von brennbaren Flüssigkeiten mit einem Flammpunkt< 100 °C dienen, wenn diese Flüssigkeiten zusammen mit entzündbaren Flüssigkeiten einem Flammpunkt< 55 °C in einem Auffangraum gelagert werden.

(6) Absatz 4 gilt auch für Gebäudeteile, in denen sich Füllstellen mit einer Füllrate von mehr als 1.000 l/h befinden, sowie Füllstellen im Freien.

(7) Bei Füllstellen im Freien sind keine Blitzschutzmaßnahmen für die ortsbeweglichen Behälter erforderlich.

(8) Bei Füllstellen brennbarer Flüssigkeiten unter einem Witterungsschutz gilt dieser als Gebäudeteil im Sinne von Absatz 4.

(9) Behälter, Kuppeln zum Witterungsschutz und Rohrleitungen mit einer Mindestwanddicke von 4 mm Stahl oder 7 mm Aluminium gelten als blitzstromtragfähig.

(10) Oberirdische Behälter und oberirdische Rohrleitungen müssen blitzschutztechnisch auf kurzem Wege geerdet werden.

(11) Flansche von Rohrleitungen, über die Blitzströme abgeleitet werden, müssen blitzstromtragfähig überbrückt werden, z.B. durch eine massive Kupferverbindung von mind. 50 mm2 Cu oder eine leitwertgleiche Verbindung aus einem anderen Material. Eine Flanschverbindung selbst erfüllt diese Bedingungen, wenn sie als elektrisch sichere Verbindung mit ausreichendem Materialquerschnitt über die Schrauben hergestellt ist.

(12) Die schädigenden Auswirkungen von Überspannungen auf eine Zone 0 müssen immer ausgeschlossen werden. Zu den Gefährdungen durch Überspannungen wird zusätzlich auf TRBS 2152 Teil 3 verwiesen.

6 Dämpfespeicher 20

(1) Dämpfespeicher sind Behälter, die der Zwischenspeicherung von Dämpfen brennbarer Flüssigkeiten im Zuge von Gaspendelsystemen dienen.

(2) Dämpfespeicher in ortsfesten Anlagen zum Lagern von Gefahrstoffen bzw. in Tanklagern mit ortsfesten Behältern im Sinne dieser TRGS sind vom Gefährdungsgrad her solchen ortsfesten Tanks und Behältern gleichzusetzen, in denen sich entzündbare Flüssigkeiten mit einem Flammpunkt< 55 °C befinden.

(3) Dämpfespeicher können mit offenem (=Typ I) oder geschlossenem (=Typ II) Ausdehnungsraum ausgeführt werden. Die Bauausführungen der Typ I- bzw. Typ II-Dämpfespeicher und der erforderlichen Ausrüstung mit Flammendurchschlagsicherungen sind in den Abb. A1-6 und A1-7 dargestellt.

(4) Zu einem Dämpfespeicher gehören neben dem Dämpfespeicherbehälter (Umschliessungen/Wandungen, Dämpfespeicherblase, im Folgenden als "Membran" bezeichnet, und deren Ausrüstungen) auch die Anschluss-Stutzen bis zu dessen erster Absperrarmatur.

(5) Dämpfespeicher müssen so aufgestellt sein, dass sie gegen mögliche Beschädigungen von außen ausreichend geschützt sind. Der Schutz kann z.B. durch geschützte Aufstellung, einen Anfahrschutz oder Aufstellung in einem Auffangraum verwirklicht werden.

(6) Dämpfespeicher sind bzgl. Bauanforderungen langzeitresistent gegen die Dämpfe/Gasphasen brennbarer und entzündbarer Flüssigkeiten oder auch deren Gasphasen-Gemische auszulegen.

(7) Dämpfespeicher sind entsprechend den im Gefahrstoff-Tanklager bzw. in den Füll- und Entleerstellen installierten Dämpfesammelsystemen auftretenden Unter- und Überdrücken zu dimensionieren.

(8) Aus Gründen des Explosions- und Brandschutzes und der Brandbekämpfung ist zwischen Dämpfespeichern und stationärer Tanks oder ortsfester Behältern der erforderliche Abstand (z.B. gemäß Gefährdungsbeurteilung) einzuhalten.

(9) Zum Schutz vor Brandeinwirkung müssen Dämpfespeicher mindestens 10 m von Gebäuden entfernt sein, wenn die den Dämpfespeichern zugekehrten Außenwände der Gebäude nicht feuerbeständig sind oder nicht feuerbeständig geschützte Öffnungen haben.

(10) Dämpfespeicher sind mit einem Schutzstreifen zu versehen. Die Breite R [m] des Schutzstreifens muss betragen

  1. bei Dämpfespeicher mit stationärer Berieselung:
    Speichervolumen< 1000 m3 R= 10
    1000 m3 < Speichervolumen< 2000 m3 R = (1/200) x (Speichervolumen - 1000) + 10
    Speichervolumen 2000 m3 R = 15
  2. bei Dämpfespeicher ohne stationäre Berieselung:
    Speichervolumen< 200 m3 R= 10
    200 m3< Speichervolumen< 2000 m3 R = (1/90) x (Speichervolumen - 200) + 10
    Speichervolumen > 2000 m3 R = 30

Abb. A1-5 zeigt grafisch den Zusammenhang zwischen Breite des Schutzstreifens und dem Speichervolumen.

(11) Bei Anordnung eines Dämpfespeichers in einem Tankfeld gemeinsam mit stationären Tanks für entzündbare Flüssigkeiten bleibt die produktbezogene Zuordnung und Einstufung des Gesamt-Tankfeldes bzgl. der darin gelagerten Gefahrstoffe erhalten.

(12) Die in den explosionsgefährdeten Bereichen angeordneten Ausrüstungsteile an Dämpfespeichern sind entsprechend der Zoneneinteilung in Nummer 10 der Anlage 2 z.B. im Rahmen einer Gefährdungsbeurteilung auszulegen. Nummer 11 dieser TRGS gilt entsprechend.

Abb. A1-5: Breite der Schutzstreifen um Dämpfespeicher für entzündbare Flüssigkeiten mit einem Flammpunkt <  55 °C

Abb. A1-6: Dämpfespeicher mit offenem Ausdehnungsraum (Typ I)

Abb. A1-7: Dämpfespeicher mit geschlossenem Ausdehnungsraum (Typ II)

.

Festlegung von explosionsgefährdeten Bereichen bei der Lagerung und Abfüllung entzündbarer Flüssigkeiten mit einem Flammpunkt< 55°C Anlage 2
zu TRGS 509

Vorbemerkung

Die Festlegung von Schutzmaßnahmen in explosionsgefährdeten Bereichen durch den Arbeitgeber folgt grundsätzlich der Gefährdungsbeurteilung für den jeweiligen Einzelfall. Die Einteilung von explosionsgefährdeten Bereichen in Zonen ist ein bewährtes Hilfsmittel für die Zuordnung von Schutzmaßnahmen. Die Zoneneinteilung folgt ebenfalls der Gefährdungsbeurteilung. Hilfestellung hierbei bieten die TRBS 2152 Teil 2/TRGS 722 und die Festlegungen in dieser Anlage, die auf Erfahrungswerten beruhen. Im Rahmen der Gefährdungsbeurteilung muss der Arbeitgeber jedoch prüfen, ob diese für seinen Einzelfall zutreffend sind. Hierbei kann er sowohl zu erleichternden als auch zu verschärfenden Einschätzungen kommen.

1 Explosionsgefährdete Bereiche in Tanks

1.1 Explosionsgefährdete Bereiche in Tanks ohne Inertisierung

(1) Gemäß Nummer 10.2 der TRGS 509 sind in der Gefährdungsbeurteilung die explosionsgefährdeten Bereiche festzulegen. Im Inneren von Tanks ist für entzündbare Flüssigkeiten bis zu einem Flammpunkt von< 55 °C üblicherweise von Zone 0 auszugehen, soweit in der Gefährdungsbeurteilung oder nachstehend keine andere Festlegung getroffen wurde.

(2) Abweichend von Absatz 1 muss dem Inneren von Tanks kein explosionsgefährdeter Bereich zugeordnet werden, wenn durch geeignete Maßnahmen die Flüssigkeitstemperatur

  1. bei reinen Flüssigkeiten 5 K, oder
  2. bei Gemischen 15 K sicher unter dem Flammpunkt der Flüssigkeiten gehalten werden. Dabei sind z.B. Sonneneinstrahlung oder der Ausfall von Kühlung zu berücksichtigen.

(3) Erfahrungsgemäß muss im Inneren von unterirdischen Tanks mit einer Erddeckung von mehr als 0,8 m sowie das Innere von Tanks, die in Räumen aufgestellt sind und in denen

  1. reine Flüssigkeiten, die einen Flammpunkt über 35 °C haben, oder
  2. Gemische, die einen Flammpunkt über 45 °C haben,

gelagert werden, abweichend von Absatz 1 kein explosionsgefährdeter Bereich festgelegt werden, sofern die Flüssigkeiten beim Lagern keine Temperaturen über 30 °C annehmen können.

(4) Die Anforderung nach Absatz 3, dass die Flüssigkeiten bei dem Lagern nicht auf Temperaturen über 30 °C erwärmt werden können, ist z.B. als erfüllt anzusehen, wenn die Tanks keine Heizeinrichtungen besitzen, die in der Lage sind, die Flüssigkeiten auf Temperaturen über 30 °C zu erwärmen, und nicht der direkten Sonneneinstrahlung ausgesetzt sind.

(5) Werden Tanks nach Absatz 3 mit Flüssigkeiten mit einer Temperatur über 30 °C befüllt, ist im Inneren dieser Tanks in der Regel von Zone 1 auszugehen.

(6) Für Tanks mit innerem Überdruck müssen die explosionsgefährdeten Bereiche in der Gefährdungsbeurteilung in Abhängigkeit von z.B. Druck oder Flammpunkt festgelegt werden.

1.2 Explosionsgefährdete Bereiche in inertisierten Tanks

1.2.1 Inertisierte nicht einatmende Tanks

Wenn in einem Tank ohne Verbindung zur Atmosphäre, die zu einer Beatmung des Tanks führen kann, durch ausreichende Zugabe von Inertgas, z.B. Stickstoff oder Kohlendioxid, gewährleistet ist, dass sich außer bei der Erstinertisierung keine explosionsfähige Atmosphäre im Tankinneren bilden kann, muss im Inneren dieser Tanks kein explosionsgefährdeter Bereich unterstellt werden. 6

1.2.2 Inertisierte Tanks mit Belüftungsarmaturen

(1) Bei intertisierten Tanks mit Belüftungsarmatur wird durch die Inertisierung die Wahrscheinlichkeit und die Dauer des Auftretens einer gefährlichen explosionsfähigen Atmosphäre reduziert, so dass von der Festlegung einer Zone 0 gemäß Nummer 1.1 Absatz 1 abgewichen werden kann. Satz 1 gilt bei Umsetzung der Anforderungen der Absätze 2 bis 10 als erfüllt, wenn in der Gefährdungsbeurteilung aufgrund der betrieblichen Verhältnisse und den Eigenschaften der gelagerten Stoffe keine anderen Festlegungen getroffen wurden.

(2) Die Belüftungsarmatur einer Lüftungseinrichtung von inertisierten Tanks ist als Noteinrichtung vorzusehen, die nur sehr selten in Grenzfällen (Ausfall der Inertgaszufuhr, extreme witterungsbedingte Abkühlung) anspricht.

(3) Bei Tanks dürfen durch Zugabe von Inertgas die Anforderungen an die Ausrüstung der Tanks wegen der geringeren Wahrscheinlichkeit für das Auftreten explosionsfähiger Atmosphäre verringert werden, wenn die unter den Absätzen 4 bis 6 genannten Anforderungen erfüllt sind.

(4) Vor der erstmaligen Befüllung des Tanks (z.B. auch nach Wartungsarbeiten) ist durch Inertgaszugabe die Sauerstoffkonzentration der Tankatmosphäre auf unter 50 % der z.B. in der TRGS 722/TRBS 2152 Teil 2 Nummer 2.3.3.1 genannten Sauerstoffgrenzkonzentration abzusenken. Diese Erstinertisierung ist durch Messung der Sauerstoffkonzentration zu überprüfen.

(5) Die Lüftungseinrichtungen von inertisierten Tanks müssen so bemessen sein, dass sowohl der maximal zulässige Atmungsvolumenstrom als auch der maximal mögliche Inertgasvolumenstrom abgeleitet werden können, ohne dass im Tank unzulässige Druckverhältnisse auftreten können. Hinsichtlich der Bemessung der Lüftungseinrichtungen wird auf Nummer 7.1.1 der TRGS 509 sowie auf Nummer 1.1 der Anlage 1 verwiesen. Ist bei dem Ausfall von Regeleinrichtungen der Inertisierungsanlage eine Notspülung mit Inertgas vorgesehen, so ist der anfallende Inertgasvolumenstrom bei der Bemessung der Entlüftungsarmatur der Lüftungseinrichtung zu berücksichtigen. Die Entlüftungsarmatur muss auch für den Versagensdurchlass der Druckreduzierung der Inertisierungsanlage ausreichend bemessen sein.

(6) Die Tankbeatmung bei dem Entleeren oder bei witterungsbedingter Abkühlung der Tanks muss mit Inertgas erfolgen. Hierbei ist auf eine ausreichende Inertgasversorgung zu achten.

(7) 20 Die Anforderungen von Absatz 6 gelten als erfüllt, wenn die Inertgasversorgung auf Grundlage der maximalen Belüftungs- und Pumpenvolumenströme VA und VP gemäß durch Anlage 1 Nummer 1.1.2 Absatz 2 festgelegt wurde, wobei in Verbindung mit Sicherheits- und Überwachungseinrichtungen eine dreifache Abstufung vorzusehen ist. Die Mindestwerte des in einer Inertgasanlage vorzuhaltenden Volumens VI und des Inertgasvolumenstroms Visind den Abb. A2-1 und A2-2 zu entnehmen oder wie unter folgender Ziffer 1 bis 3 angegeben zu berechnen. In das vorzuhaltende Volumen bei Umgebungsdruck darf auch das Normvolumen des Rohrleitungsnetzes der Inertgasversorgung (z.B. ab einer Luftzerlegungsanlage) mit einbezogen werden. Es sind die jeweils unter Ziffer 1 bis 3 aufgeführten Sicherheits- und Überwachungseinrichtungen anzuwenden.

1. Inertisierungsstufe 1

VI= 0,1 × Va+ VP

VI= 0,04 × VA

VI, VA, VP in m3 / h

VIin m3

Die Inertgasversorgung muss durch geeignete Messungen (z.B. des Tankdrucks oder der Sauerstoffkonzentration) überwacht werden. Bei Erreichen des Ansprechdruckes des Belüftungsventils muss Alarm ausgelöst werden.

Abweichend von Nummer 1.1 Absatz 1 dieser Anlage ist das Innere der Tanks Zone 1.

Der Tank ist ausreichend gegen das Hineinschlagen von Flammen geschützt, wenn die Flammendurchschlagsicherung der Be- und Entlüftungseinrichtung deflagrationssicher gegen atmosphärische Explosionen und dauerbrandsicher ist. Für die Dauerbrandsicherheit ist Explosionsgruppe II a gemäß DIN EN ISO 16852 ausreichend. Hierbei sind die vom Hersteller der Dauerbrandsicherungen genannten Einsatzbedingungen zu beachten, insbesondere ist dabei die Eignung für Alkohole zu berücksichtigen.

2. Inertisierungsstufe 2

VI= 0,2 × VA + VP

VI= 0,08 × VA

Der unter Inertisierungsstufe 1 festgelegte Alarm muss das Abschalten der Entleerungspumpen bewirken.

Abweichend von Nummer 1.1 Absatz 1 dieser Anlage ist das Innere der Tanks Zone 2.

Der Tank ist ausreichend gegen das Hineinschlagen von Flammen geschützt, wenn die Flammendurchschlagsicherung der Be- und Entlüftungseinrichtung deflagrationssicher gegen atmosphärische Explosionen für die Explosionsgruppe II a gemäß DIN EN ISO 16852 ist.

3. Inertisierungsstufe 3

VI= 0,5 × VA + VP

VI = 0,12 × VA

Abb. A2-1: Mindestwerte des in einer Inertgasanlage vorzuhaltenden Volumens VI

Abb. A2-2: Mindestwerte des für extreme witterungsbedingte Abkühlung vorzuhaltenden Inertgasvolumenstromes (VI - VP)

Der Tankdruck ist redundant zu überwachen. Die Inertgasversorgung muss im Überdruckbereich geregelt werden, insbesondere muss der geforderte Volumenstrom bei einem Druck, der mindestens so groß ist wie der Atmosphärendruck, erreicht werden. Der Ansprechdruck des Notbelüftungsventils muss mindestens 5 mbar unter diesem Grenzdruck liegen. Bei Unterschreiten des Grenzdruckes sind Alarm sowie das Abschalten der Entleerungspumpen auszulösen.

Abweichend von Nummer 1.1 Absatz 1 dieser Anlage ist das Innere der Tanks Zone 2.

Eine Absicherung des Tanks gegen das Hineinschlagen von Flammen ist nicht erforderlich.

(8) Bei der gemeinsamen Versorgung mehrerer Tanks errechnet sich der Inertgasbedarf durch Aufsummieren der Einzelbeträge

Sind mehrere Tanks mit gemeinsamer Inertgasversorgung so aufgeteilt, dass kein Einzeltank mehr als 20 % des gesamten Rauminhalts der Tanks umfasst, so dürfen die errechneten Werte um 50 % herabgesetzt werden.

(9) Bei Beatmungssystemen, bei denen mindestens fünf Tanks untereinander atmen können, braucht VA bei der Bemessung von VI nicht berücksichtigt zu werden.

(10) Die Notbelüftung soll an der Inertgaszuführung erfolgen.

1.3 Explosionsgefährdete Bereiche in ortsbeweglichen Behältern innerhalb von Füll- oder Entleerstellen.

(1) Im Rahmen der Gefährdungsbeurteilung nach Nummer 3 der TRGS ist zu ermitteln, ob in ortsbeweglichen Behältern eine gefährliche explosionsgefährliche Atmosphäre auftreten kann. Falls keine abweichende Festlegung getroffen wurde, ist davon auszugehen, dass im Inneren von ortsbeweglichen Behältern ständig oder langzeitig mit dem Vorhandensein einer gefährlicher explosionsfähiger Atmosphäre zu rechnen ist.

(2) Abweichend von Absatz 1 Satz 2 ist im Inneren von ortsbeweglichen Behältern, in denen sich

  1. reine Flüssigkeiten mit einem Flammpunkt größer 35 °C oder
  2. Gemische mit einem Flammpunkt größer 45 °C

befinden, nicht mit einer gefährlichen explosionsfähigen Atmosphäre zu rechnen, sofern die Flüssigkeiten im ortsbeweglichen Behälter keine Temperaturen über 30 °C annehmen können.

(3) Die Anforderung nach Absatz 2, dass die Flüssigkeit bei dem Befüllen oder Entleeren nicht auf Temperaturen über 30 °C erwärmt werden kann, ist z.B. als erfüllt anzusehen, wenn die ortsbeweglichen Behälter keine Heizeinrichtung besitzen, die in der Lage ist, die Flüssigkeit auf Temperaturen über 30 °C zu erwärmen. Die Flüssigkeit darf auch bei Sonneneinstrahlung sowie bei erhöhten Umgebungstemperaturen nicht auf Temperaturen über 30 °C erwärmt werden.

(4) Absatz 2 gilt nicht, wenn in ortsbewegliche Behälter Flüssigkeiten mit einer Temperatur über 30 °C eingefüllt werden. Dann ist im Inneren dieser ortsbeweglichen Behälter solange mit dem Vorhandensein von gefährlicher explosionsfähiger Atmosphäre zu rechnen, bis sich die Temperatur der Flüssigkeit unter 30 °C abgekühlt hat.

2 Explosionsgefährdete Bereiche in und um Rohr- und Schlauchleitungen, Armaturen und Anlagenteilen

(1) Im Rahmen der Gefährdungsbeurteilung nach Nummer 3 der TRGS ist zu ermitteln, ob im Inneren von Rohr- und Schlauchleitungen, Armaturen und Anlagenteilen eine gefährliche explosionsgefährliche Atmosphäre auftreten kann. Falls keine abweichende Festlegung getroffen wurde ist davon auszugehen, dass im Inneren von Rohr- und Schlauchleitungen, Armaturen und Anlagenteilen, die betrieblich nicht ständig mit Flüssigkeit gefüllt sind, eine explosionsgefährdeter Bereich vorhanden ist. In der Regel werden diese Bereiche in die gleiche Zone eingestuft wie das Innere der angeschlossenen Behälter.

(2) Ob gefährliche explosionsfähige Atmosphäre in der Umgebung von Rohrleitungen, Armaturen und Anlagenteilen auftreten kann, hängt von der Dichtheit ab; dabei wird unterschieden in

  1. auf Dauer technisch dicht und
  2. technisch dicht.

(3) Auf Dauer technisch dicht sind Rohrleitungen, Armaturen und Anlagenteile, wenn sie

  1. so ausgeführt werden, dass sie aufgrund ihrer Konstruktion technisch dicht bleiben oder
  2. ihre technische Dichtheit durch Instandhaltung und Überwachung gewährleistet wird.

Auf TRGS 722/TRBS 2152 Teil 2 Nummer 2.4.3.1 und 2.4.3.2 wird verwiesen.

(4) Technisch dicht sind Rohrleitungen, Armaturen und Anlagenteile, wenn bei einer für den Anwendungsfall geeigneten Dichtheitsprüfung oder Dichtheitsüberwachung bzw. -kontrolle eine unzulässige Undichtheit nicht festgestellt wird. Auf TRGS 722/TRBS 2152 Teil 2 Nummer 2.4.3.1 und 2.4.3.2 wird verwiesen.

(5) Um technisch dichte lösbare Verbindungen von Rohrleitungen, die betriebsmäßig nicht oder nur selten gelöst werden, sowie um technisch dichte Armaturen und Anlagenteilen in Räumen ist in der Regel ein Bereich von 1 m horizontal um die Verbindung bis zum Boden Zone 2. Im Freien muss erfahrungsgemäß kein explosionsgefährdeter Bereich angenommen werden.

(6) Abweichend von Absatz 5 ist in der Regel um Verbindungen von Rohrleitungen, die auf Dauer technisch dicht sind, kein explosionsgefährdeter Bereich.

(7) Rohrleitungen, Armaturen und Anlagenteile, die nach Absatz 3 auf Dauer technisch dicht sind, und die Rohrleitungen, Armaturen und Anlagenteile, die nach Absatz 4 technisch dicht sind, sind nach TRGS 722/TRBS 2152 Teil 2 Nummer 2.4.3.5 auf Dichtheit zu prüfen.

(8) Um Rohrleitungs- und/oder Schlauchanschlussstellen im Freien ist ein Bereich bis zu einem von jeder Kupplungshälfte gemessenen Abstand Ra nach Abb. A2-3 Zone 1, falls in der Gefährdungsbeurteilung keine andere Festlegung getroffen wurde. Der Bereich reicht bei flüssigkeitsführenden Leitungen/Schläuchen nach unten bis zum Boden.

Abb. A2-3: zur Festlegung der Abstände Ra und Ri

(9) Um Rohrleitungs- und/oder Schlauchanschlussstellen in Räumen mit mindestens 2fachem Luftwechsel pro Stunde ist ein Bereich bis zu einem von der Verbindung gemessenen Abstand 2 Ra nach Abb. A2-3 in der Regel Zone 1. Der Bereich reicht bei flüssigkeitsführenden Leitungen/Schläuchen nach unten bis zum Boden. Daran schließt sich ein Bereich bis zu einem horizontalen Abstand von 2R, um die Zone 1 bis zu einer Höhe von 0,8 m über Erdgleiche als Zone 2 an.

(10) Der explosionsgefährdete Bereich nach Absatz 8 und 9 gilt sowohl für gekuppelte als auch für getrennte Kupplungshälften. Der explosionsgefährdete Bereich um die Kupplungshälften nach Absatz 8 und 9 erstreckt sich über den gesamten Bereich, der während des Hantierens von den Kupplungshälften überstrichen werden kann.

(11) Abweichend von Absatz 10 ist aufgrund der Konstruktion der Rohrleitungs- und/oder Schlauchanschlussarmaturen, die im getrennten Zustand technisch dicht sind und nur eine geringe Freisetzung von Flüssigkeiten oder deren Dämpfe ermöglichen (z.B. Trockenkupplungen), bis zu einem Abstand von 0,5 m um die Kupplungshälften Zone 2. Der Bereich reicht bei flüssigkeitsführenden Leitungen/ Schläuchen nach unten bis zum Boden.

(12) Um dicht verschlossene Rohrleitungs- und/oder Schlauchanschlussstellen (z.B. Blindflansch, Deckel), die durch eine Armatur von der Produktzufuhr (Flüssigkeiten und deren Dämpfe) abgesperrt sind, muss in der Regel kein explosionsgefährdeter Bereich angenommen werden.

3 Explosionsgefährdete Bereiche in und um Pumpen

(1) Im Rahmen der Gefährdungsbeurteilung nach Nummer 3 ist zu ermitteln, ob um Pumpen eine gefährliche explosionsgefährliche Atmosphäre auftreten kann. Falls keine abweichende Festlegung getroffen wurde kann davon ausgegangen werden, dass um Pumpen, die auf Dauer technisch dicht sind (z.B. Pumpen mit Magnetkupplung), keine explosionsgefährdete Bereiche vorhanden sind; um alle anderen Pumpen ist ein explosionsgefährdeter Bereich nach Absatz 2 bis 7 festzulegen.

(2) Um technisch dichte Pumpen im Freien über Erdgleiche ist ein Bereich bis zu einem von der Dichtung gemessenen Abstand von 0,5 m Zone 1. Daran schließt sich ein Bereich Zone 2 bis zu einem von der Dichtung gemessenen Abstand von 1 m an. Ist der Kühlluftstrom des Antriebsmotors gegen die Pumpe gerichtet, ist abweichend von Satz 1 und 2 ein Bereich bis zu einem von der Dichtung gemessenen Abstand von 0,5 m in Zone 2 einzustufen.

(3) Das Innere von Pumpengruben ist Zone 1. Um die Pumpengrube ist ein Bereich bis zu einem Abstand von 2 m um die Öffnung bis zu einer Höhe von 0,8 m über Erdgleiche Zone 2, sofern diese nicht nach Absatz 2 in Zone 1 einzustufen ist.

(4) Sind Pumpen, bei denen der Kühlluftstrom des Antriebsmotors gegen die Pumpe gerichtet ist, in Pumpengruben aufgestellt, die nicht tiefer als 1/10 der Grubenbreite und dabei nicht tiefer als 1,5 m sind, ist das Innere der Pumpengrube bis zu einer Höhe von 0,3 m über der Grubenkante abweichend von Absatz 3 Zone 2.

(5) Um Pumpen in Räumen ohne besondere Lüftungsanforderungen ist ein Bereich bis zu einem von der Pumpengehäusewand aus gemessenen Abstand R, nach Abb. A2-3 Zone 1. Darüber hinaus ist ein Bereich bis zu einem Abstand 2 R, Zone 2.

(6) Um Pumpen in Räumen mit besonderen Lüftungsanforderungen (technische Lüftung mit mehr als 2fachem Luftwechsel) ist der Bereich um die Pumpe mit einem Abstand 2R, nach Abb. A2-3 Zone 2.

(7) Das Innere von Pumpen, die betrieblich nicht ständig mit Flüssigkeit gefüllt bleiben, ist explosionsgefährdeter Bereich. Nummer 2 Absatz 1 dieser Anlage gilt entsprechend.

(8) In Abb. A2-4 ist ein Beispiel für explosionsgefährdete Bereiche um Pumpen dargestellt.

Abb. A2-4: Beispiel für explosionsgefährdete Bereiche um Pumpen

4 Explosionsgefährdete Bereiche in Räumen

4.1 Explosionsgefährdete Bereiche in Lagerräumen für Tanks

(1) Lagerräume müssen zur Vermeidung der Ansammlung gefährlicher explosionsfähiger Atmosphäre ausreichend belüftet sein. Die Anforderungen an die Lüftung sind beispielsweise erfüllt, wenn die Anforderungen der Absätze 2 bis 8 eingehalten sind. Die Lüftung muss in Bodennähe wirksam sein.

(2) Lagerräumen mit Tanks, Rohrleitungen und Anlagenteilen, die mindestens technisch dicht sind und in denen nicht ab- oder umgefüllt wird, ist ein mindestens 1facher Luftwechsel pro Stunde zu gewährleisten. Die Lüftung kann durch natürliche oder technische Lüftung realisiert werden. Lagerräume nach Satz 1 sind Zone 2.

(3) In Lagerräumen nach Absatz 2 kann der ständig verfügbare Luftwechsel entfallen, wenn im Lagerraum eine fest installierte Gaswarneinrichtung im Gefahrenfall unverzüglich die Erhöhung der Lüftung auf mindestens fünffachen Luftwechsel bewirkt. Lagerräume nach Satz 1 sind Zone 2. Für die Gaswarneinrichtung ist ein Nachweis zu führen, dass die Entstehung einer explosionsfähigen Atmosphäre rechtzeitig und zuverlässig erkannt wird. Die Gaswarneinrichtungen 7 müssen TRGS 722/TRBS 2152 Teil 2 Nummer 2.5 genügen 8.

(4) In Lagerräumen mit Tanks, Rohrleitungen und Anlagenteilen, die ausschließlich auf Dauer technisch dicht sind und in denen nicht umgefüllt wird, bestehen hinsichtlich des Explosionsschutzes keine besonderen Anforderungen an die Lüftung des Lagerraums, diese Räume sind keine explosionsgefährdete Bereiche.

(5) Für Lagerräume mit Füll- und Entleerstellen wird hinsichtlich der festzulegenden explosionsgefährdeten Bereiche auf Nummer 4.3 dieser Anlage verwiesen.

(6) Die technische Lüftung gemäß Absatz 2 und Absatz 3 in Lageranlagen ist entsprechend TRGS 722/TRBS 2152 Teil 2 zu überwachen (z.B. durch Strömungswächter). Die Wirksamkeit einer natürlichen Lüftung ist nachzuweisen.

(7) Lagerräume nach Absatz 2 und 3, in denen

  1. reine Flüssigkeiten mit einem Flammpunkt größer 35 °C oder
  2. Gemische mit einem Flammpunkt größer 45 °C

gelagert werden, sind abweichend von Absatz 2 und 3 kein explosionsgefährdeter Bereich, sofern die Flüssigkeiten beim Lagern nicht auf Temperaturen über 30 °C erwärmt werden können. Abweichend von Absatz 2 und 3 ist hinsichtlich des Explosionsschutzes keine Lüftung des Lagerraums erforderlich.

(8) In Nachbarräumen bzw. -bereichen, die über Öffnungen mit explosionsgefährdeten Bereichen in Verbindung stehen oder gebracht werden können, ist in der Gefährdungsbeurteilung zu prüfen, ob dort explosionsgefährdete Bereiche vorhanden sein können.

4.2 Explosionsgefährdete Bereiche in und an Kammern, Schächten und anderen Räumen unter Erdgleiche

(1) Gemäß Nummer 10.2 der TRGS 509 sind explosionsgefährdete Bereich im Rahmen der Gefährdungsbeurteilung in Zonen einzuteilen. Die Zoneneinteilung der Absätze 2 bis 5 können übernommen werden, falls keine abweichenden Festlegungen getroffen wurden.

(2) Im Inneren von Domschächten, Fernfüllschächten, Pumpenschächten und Verteilerschächten, ist von explosionsgefährdetem Bereich der Zone 1 auszugehen, falls nach der Gefährdungsbeurteilung nach Nummer 3 keine abweichende Festlegung getroffen wurde.

(3) Das Innere von Kammern, Schächten und anderen Räumen unter Erdgleiche,

  1. die in explosionsgefährdeten Bereichen Zone 1 oder Zone 2 oder in Wirkbereichen von Füll- oder Entleerstellen für brennbare Flüssigkeiten mit einem Flammpunkt< 55 °C liegen oder
  2. in denen durch Anlagen oder Anlagenteile explosionsfähige Atmosphäre in gefahrdrohender Menge auftreten können,

ist in der Regel Zone 1.

(4) Um Abdeckungen, Verschlüsse, Türen oder ähnliche Einrichtungen, die Öffnungen von Kammern, Schächten und anderen Räumen unter Erdgleiche nach Absatz 2 und 3 verschließen, ist ein Bereich in einem Umkreis von 0,5 m Zone 2. Kann in der Gefährdungsbeurteilung im Falle von geschlossenen, dicht abschließende Abdeckungen, Verschlüsse, Türen oder ähnliche Einrichtungen sowie für vergleichbare Abdeckungen von Domschächten unterirdischer Tanks die Wahrscheinlichkeit einer explosionsgefährdenden Atmosphäre ausgeschlossen werden, muss keine Zone 2 festgelegt werden.

(5) Kann in der Gefährdungsbeurteilung um Schächte nach Absatz 2, die betrieblich geöffnet werden, die Wahrscheinlichkeit einer explosionsgefährdenden Atmosphäre ausgeschlossen werden, muss kein explosionsgefährdeter Bereich festgelegt werden. Ist im geöffneten Zustand mit dem zeitweiligen Auftreten einer explosionsfähiger Atmosphäre zu rechnen, müssen betrieblich zu erwartende Zündquellen in einem horizontalen Abstand von 2 m um die Öffnungen bis zu einer Höhe von 0,8 m über der vermieden werden. Fest installierte Geräte müssen mindestens der Gerätekategorie 3G entsprechen.

4.3 Explosionsgefährdete Bereiche an Füllstellen in Räumen

4.3.1 Allgemeines

(1) Die Festlegung der explosionsgefährdeten Bereiche hat grundsätzlich auf Basis der maximalen Förderrate der Füllstelle zu erfolgen.

(2) Nach Ergebnis der Gefährdungsbeurteilung können die explosionsgefährdeten Bereiche abweichend von Absatz 1 in Abhängigkeit von dem innerhalb einer Stunde tatsächlich abgefüllten Gesamtvolumen der Flüssigkeiten festgelegt werden.

(3) Der Arbeitgeber hat im Rahmen der Gefährdungsbeurteilung die erforderlichen Lüftungsmaßnahmen festzulegen und die explosionsgefährdeten Bereiche nach Nummer 10.2 der TRGS 509 in Zonen einzuteilen.

4.3.2 Offene Befüllung der ortsbeweglichen Behälter ohne gezielte Abführung der Dampf/Luft-Gemische

(1) Der Arbeitgeber hat die nach der Gefährdungsbeurteilung unter Berücksichtigung der Abfüllmengen und der örtlichen und betrieblichen Verhältnisse erforderlichen Lüftungsmaßnahmen zu treffen, um Dampf- Luft-Gemische, die zu Brand- und Explosionsgefahren führen können, zu vermeiden, und die explosionsgefährdeten Bereich in Zonen einzuteilen.

(2) Bei Füllstellen, in denen mehr als 200 l pro Stunde abgefüllt werden können, ist in der Regel ein mindestens fünffacher Luftwechsel pro Stunde notwendig, der in Bodennähe wirksam ist.

(3) Bei Füllstellen, in denen insgesamt weniger als 200 l pro Stunde abgefüllt werden können, kann auf eine technische Lüftung verzichtet werden, wenn in der Gefährdungsbeurteilung keine abweichende Festlegung getroffen wurde.

(4) Bei Füllstellen nach Absatz 3 ohne technische Lüftungsmaßnahme, in denen insgesamt nicht mehr als 50 l pro Stunde abgefüllt werden können (z.B. bei Probenahme), ist erfahrungsgemäß der Bereich bis zu einem Abstand von 2 m um die Füllstelle von einem explosionsgefährdeten Bereich Zone 1 auszugehen. Werden insgesamt mehr als 50 l, aber nicht mehr als 200 l pro Stunde abgefüllt, ist erfahrungsgemäß der Bereich bis zu einem Abstand von 5 m um die Füllstelle explosionsgefährdeter Bereich Zone 1.

(5) Bei Füllstellen nach Absatz 2 ist in der Regel der Bereich bis zu einem Abstand von 10 m um die Füllstelle explosionsgefährdeter Bereich Zone 1.

(6) Ein um 5 m über die in Absatz 3 bis 5 festgelegte Zone 1 hinausgehender Bereich bis zu einer Höhe von 0,8 m ist üblicherweise Zone 2. Sofern die Zone 1 bis zu einer Tür reicht, ist in der Gefährdungsbeurteilung zu prüfen, ob außerhalb des Raumes explosionsgefährdete Bereiche festzulegen sind.

(7) Abweichend von den Zonenfestlegungen der Absätze 3 bis 5 ist um Füllstellen, an denen

  1. aus einem festinstallierten Zapfventil über einen Schlauch mit einem Volumenstrom von nicht mehr als 45 l/min in verschließbare ortsbewegliche Gefäße abgefüllt wird, deren horizontaler Arbeitsbereich beschränkt ist auf einen Bereich von nicht mehr als 0,5 m um die Mittelsenkrechte,
  2. in Bodennähe eine Luftgeschwindigkeit von mindestens 1 m/s herrscht und
  3. nicht mehr als zwei Fülleinrichtungen gleichzeitig betrieben werden können,

ein zylinderförmiger Bereich jeder Zapfeinrichtung mit einem Radius von 1 m, gemessen um die Mittelsenkrechte, in der Regel explosionsgefährdeter Bereich Zone 1. Dieser Bereich erstreckt sich vom Fußboden bis 0,5 m über die Zapfeinrichtung.

(8) Üblicherweise ist die Festlegung der Zone 2 von einem um 2 m über den zylinderförmigen Bereich der Zone 1 hinausgehenden Bereich ausreichend. Dieser Bereich erstreckt sich bis 0,8 m über den Fußboden.

4.3.3 Befüllen von ortsbeweglichen Behältern mit Objektabsaugung

(1) Bei Füllstellen mit einer Objektabsaugung, die den Anforderungen nach Nummer 2.1 Absatz 5 der Anlage 1 entspricht, ist ein zweifacher Luftwechsel notwendig, wenn mehr als 200 l pro Stunde abgefüllt werden und in der Gefährdungsbeurteilung keine abweichende Festlegung getroffen wurde. Bei kleineren Abfüllmengen gilt Nummer 4.3.2 Absatz 3 dieser Anlage entsprechend.

(2) Um eine Objektabsaugung nach Nummer 2.1 Absatz 5 Satz 3 Nummer 1 der Anlage 1 (z.B. Absaughaube) ist bis zu einem seitlichen Abstand von 0,5 m um die Öffnung der Objektabsaugung ein explosionsgefährdeter Bereich Zone 2. Der Bereich erstreckt sich bis zu 0,5 m oberhalb der Öffnung der Objektabsaugung und reicht herab bis zum Boden. Berührt dieser Bereich die Wandung des ortsbeweglichen Behälters, so ist zusätzlich bis zu einem Abstand von 0,5 m, gemessen von der Wandung des ortsbeweglichen Behälters, Zone 2.

(3) Wird abweichend zu Absatz 2 eine Objektabsaugung nach Nummer 2.1 Absatz 5 Satz 3 Nummer 2 der Anlage 1 verwendet, die während des Öffnens oder Verschließens des ortsbeweglichen Behälters eine Gemischfreisetzung in die angrenzende Umgebung nicht ausschließen kann, ist zusätzlich zu Absatz 2 um den ortsbeweglichen Behälter ein Bereich bis zu einem Abstand von 0,5 m, gemessen von der Behälterwandung, Zone 1. Dieser Bereich reicht herab bis zum Boden. Daran schließt ein Bereich bis zu einem Abstand von 1 m, gemessen von der Behälterwandung, Zone 2 an.

(4) Wird abweichend zu Absatz 2 eine Objektabsaugung nach Nummer 2.1 Absatz 5 Satz 3 Nummer 2 der Anlage 1 verwendet, die eine Gemischfreisetzung von abdampfenden Flächen des Füllrohres in die angrenzende Umgebung nicht ausschließen kann, ist zusätzlich um das Füllrohr ein Bereich bis zu einem Abstand von 0,5 m Zone 1. Dieser Bereich reicht herab bis zum Boden. Daran schließt sich ein Bereich bis zu einem Abstand von 1 m, gemessen vom Füllrohr, Zone 2 an.

(5) Das Innere einer Objektabsaugung nach Nummer 2.1 Absatz 5 der Anlage 1 ist explosionsgefährdeter Bereich, in der Regel Zone 0. Dieser Bereich reicht herab bis zur Kontur des ortsbewegliche Behälters.

(6) Wird durch das Verhältnis des Absaugvolumenstroms zum Füllvolumenstrom gewährleistet, dass im Inneren der Objektabsaugung die untere Explosionsgrenze nur gelegentlich überschritten wird, ist dieser Bereich abweichend zu Absatz 5 Zone 1.

(7) Werden Behälter mit einem Rauminhalt bis 1000 l, die frei von Dämpfen brennbarer Flüssigkeiten mit einem Flammpunkt< 55 °C sind, befüllt, so ist das Innere der Objektabsaugung abweichend von Absatz 5 Zone 1.

(8) Innerhalb der an die Objektabsaugung angeschlossenen Rohrleitungen ist explosionsgefährdeter Bereich, in der Regel gleich dem in Absatz 1 bis 7 festgelegte Bereich.

4.3.4 Befüllen von ortsbeweglichen Behältern mit formschlüssigen Lüftungseinrichtungen

(1) Bei Füllstellen, an denen nicht mehr als 200 l pro Stunde abgefüllt werden und die mit einer Nummer 2.1 Absatz 6 der Anlage 1 entsprechenden formschlüssigen Lüftungseinrichtung ausgerüstet sind, ist ein zweifacher Luftwechsel ausreichend, sofern nach der Gefährdungsbeurteilung kein höherer Luftwechsel erforderlich ist. Werden nicht mehr als 200 l pro Stunde abgefüllt, gilt Nummer 4.3.2 Absatz 3 dieser Anlage entsprechend.

(2) Während des Öffnens oder Verschließens der ortsbeweglichen Behälter ist eine Gemischfreisetzung in die angrenzende Umgebung nicht auszuschließen. Um den ortsbeweglichen Behälter ist ein Bereich bis zu einem Abstand von 0,5 m, gemessen von der Behälterwandung, Zone 1. Dieser Bereich reicht herab bis zum Boden. Daran schließt ein Bereich bis zu einem Abstand von 1 m, gemessen von der Behälterwandung, Zone 2 an.

(3) Kann bei einer formschlüssigen Lüftungseinrichtung nach Nummer 2.1 Absatz 6 der Anlage 1 eine Gemischfreisetzung von abdampfenden Flächen des Füllrohres in die angrenzende Umgebung nicht ausgeschlossen werden, ist zusätzlich um das Füllrohr ein Bereich bis zu einem Abstand von 0,5 m Zone 1. Dieser Bereich reicht herab bis zum Boden. Daran schließt sich ein Bereich bis zu einem Abstand von 1 m, gemessen vom Füllrohr, Zone 2 an.

4.3.5 Befüllen von ortsbeweglichen Behältern in Füllkabinen

(1) Für Füllstellen in Füllkabinen, an denen mehr als 200 l pro Stunde abgefüllt werden und die Nummer 2.1 Absatz 7 der Anlage 1 entsprechen, ist ein zweifacher Luftwechsel ausreichend, sofern nach der Gefährdungsbeurteilung kein höherer Luftwechsel erforderlich ist. Werden nicht mehr als 200 l pro Stunde abgefüllt, gilt Nummer 4.3.2 Absatz 3 dieser Anlage entsprechend.

(2) Das Innere einer Füllkabine ohne besondere Anforderungen an den Absaugvolumenstrom ist explosionsgefährdeter Bereich Zone 0. Um Öffnungen von Füllkabinen, die im Inneren in Zone 0 eingestuft sind, ist ein Bereich bis zu einem Abstand von 2 m Zone 1.

(3) Wird durch das Verhältnis des Absaugvolumenstroms zum Füllvolumenstrom gewährleistet, dass im Inneren der Füllkabine die untere Explosionsgrenze nur gelegentlich überschritten wird, ist dieser Bereich abweichend zu Absatz 2 Zone 1. Wird im Inneren der Füllkabine nur kurzzeitig die untere Explosionsgrenze überschritten, ist dieser Bereich abweichend zu Absatz 2 Zone 2. Um Öffnungen von Füllkabinen, die im Inneren in Zone 1 eingestuft sind, ist ein Bereich bis zu einem Abstand von 2 m Zone 2.

(4) Werden Behälter mit einem Rauminhalt bis 1000 l, die frei von Dämpfen brennbarer Flüssigkeiten mit einem Flammpunkt< 55 °C sind, befüllt, so ist das Innere der Füllkabine
abweichend von Absatz 2 Zone 1. Absatz 3 bleibt unberührt.

(5) Innerhalb der an die Füllkabine angeschlossenen Abluftleitungen ist explosionsgefährdeter Bereich, in der Regel dem in Absatz 2 bis 4 festgelegten Bereich entsprechend.

4.3.6 Befüllen von ortsbeweglichen Behältern über angeschlossene Rohr- bzw. Schlauchleitungen und mit angeschlossener Lüftungseinrichtung

(1) Um Füllstellen, an denen ortsbewegliche Behälter über angeschlossene Rohr- bzw. Schlauchleitungen und mit angeschlossener Lüftungseinrichtung mit mehr als 200 l pro Stunde befüllt werden, ist ein zweifacher Luftwechsel ausreichend, sofern nach der Gefährdungsbeurteilung kein höherer Luftwechsel erforderlich ist. Werden nicht mehr als 200 l pro Stunde abgefüllt, gilt Nummer 4.3.2 Absatz 3 dieser Anlage entsprechend.

(2) Für die Festlegung von explosionsgefährdeten Bereichen in und um die an den ortsbeweglichen Behälter angeschlossenen Rohrleitungen und Schläuchen gilt Nummer 2 dieser Anlage entsprechend.

(3) Berührt die Zone 1 nach Absatz 1 den ortsbeweglichen Behälter, so ist um die Kontur des ortsbeweglichen Behälters bis zu einem Abstand von 0,5 m Zone 2. Die Zone 2 reicht herab bis Erdgleiche.

4.3.7 Explosionsgefährdete Bereiche in und um Auffangwannen

(1) Die Größe der explosionsgefährdeten Bereiche in und um Auffangwannen, in denen das Gefäß bzw. der Behälter während der Befüllung steht, ist in Abhängigkeit von der Art der Gefäße bzw. Behälter, von der möglichen Produktfreisetzung bis zum Stillstand der Anlage und von der Belüftung im Bereich der Auffangwanne festzulegen. Hierbei ist eine mögliche Produktfreisetzung durch Überfüllung oder Bruch des Gefäßes oder des Behälters zu berücksichtigen. Die Nummern 4.3.2 bis 4.3.6 dieser Anlage bleiben von den in den folgenden Absätzen genannten Zoneneinstufungen und Zonengrößen unberührt.

(2) Bei dem Befüllen von zerbrechlichen Gefäßen ist das Innere der Auffangwanne Zone 1. Wird die Auffangwanne abgesaugt, so dass nur kurzzeitig mit dem Vorhandensein von explosionsfähiger Atmosphäre zu rechnen ist, ist das Innere der Auffangwanne abweichend von Satz 1 Zone 2.

(3) Bei dem Befüllen von sonstigen Behältern ist das Innere der Auffangwanne Zone 2. Wird die Auffangwanne abgesaugt, so dass nicht mit dem Vorhandensein von explosionsfähiger Atmosphäre zu rechnen ist, ist das Innere der Auffangwanne kein explosionsgefährdeter Bereich.

(4) Außerhalb der Auffangwannen ist bei dem Befüllen von zerbrechlichen Gefäßen ein explosionsgefährdeter Bereich nach Tabelle 1 dieser Anlage festzulegen. Wird die Auffangwanne abgesaugt, ist die Umgebung der Auffangwanne kein explosionsgefährdeter Bereich.

Tabelle 1: Explosionsgefährdete Bereiche um Auffangwannen bei der Befüllung zerbrechlicher Behälter

Lüftung Produktfreisetzung V
V = 100 ml 100 ml < V = 5 l
natürliche Lüftung 1 m Zone 2 2 m Zone 2
mindestens 2facher Luftwechsel pro Stunde 0,5 m Zone 2 1 m Zone 2
Absaugung an Absaugwanne Nahbereich 0,5 m Zone 2

(5) Außerhalb der Auffangwanne ist bei dem Befüllen von sonstigen Behältern explosionsgefährdeter Bereich nach Tabelle 2 dieser Anlage festzulegen.

Tabelle 2: Explosionsgefährdete Bereiche um Auffangwannen beim Befüllen von sonstigen Behälter

Lüftung Produktfreisetzung V
V = 100 ml 100 ml < V = 5 l 5 l < V = 1000 l
natürliche Lüftung 0,5 m Zone 2 1 m Zone 2 2 m Zone 2
mindestens 2facher Luftwechsel pro Stunde Nahbereich Zone 2 0,5 m Zone 2 1 m Zone 2
Absaugung an Absaugwanne kein explosionsgefährdeter Bereich Nahbereich Zone 2 0,5 m Zone 2

(6) Ableitflächen sind bis zu einer Höhe von 0,2 m Zone 2, sofern nicht andere Zonenfestlegungen nach Nummer 4.3.2 bis 4.3.7 dieser Anlage gelten.

5 Explosionsgefährdete Bereiche um Tanks im Freien

Im Rahmen der Gefährdungsbeurteilung nach Nummer 3 der TRGS 509 ist zu ermitteln, ob in Lageranlagen im Freien eine gefährliche explosionsgefährliche Atmosphäre auftreten kann. Kann deren Auftreten nicht ausgeschlossen werden, sind Bereiche mit möglicher Explosionsgefährdung in Zonen nach der Wahrscheinlichkeit ihres Auftretens einzuteilen. Von den nachfolgenden Einteilungen und Regelungen kann abgewichen werden, wenn im Rahmen der Gefährdungsbeurteilung andere Festlegungen begründet dargelegt werden.

5.1 Lageranlagen bis 3.000 l im Freien

(1) Der Bereich in einem Abstand von 1 m um die Wandungen der Tanks ist Zone 1, sofern der Tank in die Atmosphäre entlüften kann.

(2) Ein Bereich mit einem seitlichen Abstand von 5 m von den Wandungen der Tanks ist bis zu einer Höhe von 0,8 m über dem Erdboden Zone 2, soweit er nicht Zone 1 ist.

(3) Um die Mündung der Entlüftungseinrichtungen von Tanks ist der Bereich, der durch einen Zylinder mit dem Radius 1 m gebildet wird, Zone 1. Dieser Zylinder beginnt 3 m über der Mündung der Entlüftungseinrichtung und reicht herab bis zur Kontur des Tanks bzw. bis zur Erdgleiche.

(4) Um die Mündung der Entlüftungseinrichtungen von Tanks ist der Bereich, der durch einen Zylinder mit dem Radius 2 m gebildet wird, Zone 2, soweit er nicht Zone 1 ist. Dieser Zylinder beginnt 3 m über der Mündung der Entlüftungseinrichtung und reicht herab bis zur Kontur des Tanks bzw. bis zur Erdgleiche.

(5) Für Tanks, die auf Dauer technisch dicht sind (siehe dazu Nummer 2 Absatz 3 dieser Anlage) und die nur unter Anwendung des Gaspendelverfahrens befüllt und entleert werden, deren witterungsbedingte Atmung über ein Gaspendelsystem abgeleitet wird und die nicht mit Lüftungsöffnungen ausgerüstet sind, die in die freie Atmosphäre entlüften, ist abweichend von Absatz 1 und 2 außerhalb der Tanks kein explosionsgefährdeter Bereich.

5.2 Lageranlagen mit mehr als 3.000 l im Freien

5.2.1 Tanks mit betriebsmäßig wirkenden Lüftungseinrichtungen und Schwimmdachtanks

(1) Um die Mündung der Entlüftungseinrichtungen von Tanks ist der Bereich, der durch einen Zylinder mit dem Radius R nach Tabelle 3 dieser Anlage gebildet wird, Zone 1. Dieser Zylinder beginnt 3 m über der Mündung der Entlüftungseinrichtung und reicht herab bis zur Kontur des Tanks bzw. bis zur Erdgleiche. Sofern die Zone 1 um die Entlüftungseinrichtung die Konturen des Tanks berührt, ist ferner der Bereich um die Konturen des Tanks bis zu einem Abstand R, jedoch höchstens bis zu 1,5 m, Zone 1.

Tabelle 3: Explosionsgefährdete Bereiche

Max. Volumenstrom* [m3/h] Flammpunkt TF
[°C]
R
[m]
60 TF < 0
0<TF < 21
21< TF < 35
35< TF<55
2
1
0,3
0,5
0,5
180 TF < 0
0< TF < 21
21< TF < 35
35< TF< 55
3
1,5
1
0,5
450 TF < 0
0< TF < 21
21< TF < 35
35< TF<55
5
2,5
1,5
1
900 TF < 0
0< TF < 21
21< TF < 35
35<TF< 55
7
3,5
2
1
1350 TF < 0
0<TF < 21
21< TF < 35
35< TF<55
8,5
4,5
2,5
1,5
1800 TF < 0
0< TF < 21
21< TF < 35
35< TF< 55
10
5
2,5
1,5
2400 TF < 0
0<TF < 21
21< TF < 35
35<TF< 55
12
6
3
2
3000 TF < 0
0< TF < 21
21< TF < 35
35< TF< 55
14
7
305
2
*) Maximaler Volumenstrom der Pumpe, mit welcher der Tank befüllt wird,
ggf. dividiert durch die Zahl der Lüftungsöffnungen, höchstens jedoch durch 3

(2) Unabhängig von den sich nach Absatz 1 ergebenden explosionsgefährdeten Bereichen sind Auffangräume und dazugehörige Ableitflächen bis zu einer Höhe von 0,8 m über deren Oberkante hinaus Zone 1.

(3) Um die Öffnungen im Dampfraum von Tanks, die betriebsmäßig geöffnet werden, z.B. um Peil- und Probeentnahmeöffnungen, ist der Umkreis

  1. bis zu 3 m Zone 1, sofern das Tankinnere in Zone 0 eingestuft ist,
  2. bis zu 3 m Zone 2, sofern das Tankinnere in Zone 1 oder 2 eingestuft ist, oder
  3. bis zu 3 m Zone 2 bei inertisierten Tanks nach Nummer 1.2.1 dieser Anlage.

(4) Um die Mündung der Entlüftungseinrichtungen von Tanks ist der Bereich, der durch einen Zylinder mit dem Radius 2 R nach Tabelle 3 dieser Anlage gebildet wird, Zone 2, soweit er nicht Zone 1 ist. Dieser Zylinder beginnt 3 m über der Mündung der Entlüftungseinrichtung und reicht herab bis zur Kontur des Tanks bzw. bis zur Erdgleiche. Sofern die Zone 1 um die Entlüftungseinrichtung die Konturen des Tanks berührt, ist ferner der Bereich um die Konturen des Tanks bis zu einem Abstand 2 R, jedoch höchstens bis zu 3 m vertikal und bis zu 5 m horizontal Zone 2, soweit er nicht Zone 1 ist.

(5) Außerhalb eines Auffangraumes ist der Bereich bis zu einer Höhe von 0,8 m über Erdgleiche bis zu einem Abstand von 3 R vom Auffangraum Zone 2, soweit er nicht Zone 1 ist. Der Bereich der Zone 2 nach Satz 1 reicht höchstens bis zur Grenze der Schutzstreifen nach Nummer 9.2. der TRGS 509 Sind Schutzstreifen aufgrund der Lagermenge nach Nummer 9.2 nicht gefordert, ist der Bereich bis zu einer Höhe von 0,8 m über Erdgleiche bis zu einem Abstand von 3 R von der Tankwand bzw. der freistehenden Lüftungsöffnung, höchstens jedoch bis zu 5 m Zone 2, soweit er nicht Zone 1 ist.

(6) Berührt die Zone 1 um die Mündung der Entlüftungseinrichtung nicht die Kontur des Tanks oder wird der Tank in ein geschlossenes System entlüftet, ist der Bereich bis zu einem Abstand von 1 m um den Tank Zone 2.

5.2.2 Inertisierte Tanks

(1) Um Tanks, in denen das Auftreten explosionsfähiger Atmosphäre durch Inertisierung wirksam verhindert ist und die nicht mit Lüftungseinrichtungen ausgerüstet sind, die in die freie Atmosphäre entlüften (Inertisierung im geschlossenen System), ist kein explosionsgefährdeter Bereich. Das Innere von Auffangräumen sowie der Bereich bis zu einer Höhe von 0,8 m über deren Oberkante hinaus sind Zone 2.

(2) Für inertisierte Tanks nach Nummer 1.2.2 dieser Anlage, die mit betriebsmäßig wirkenden Lüftungseinrichtungen ausgerüstet sind, gilt Nummer 5.2.1 dieser Anlage entsprechend.

(3) Für inertisierte Tanks nach Nummer 1.2.2 dieser Anlage, die mit betriebsmäßig geschlossenen, nur im Notfall wirkenden Lüftungseinrichtungen ausgerüstet sind, gilt Nummer 5.2.3 dieser Anlage entsprechend.

5.2.3 Tanks mit Schwimmdecken, Tanks mit Gaspendelung

(1) Für Tanks, die nur unter Anwendung des Gaspendelverfahrens befüllt und entleert werden und deren witterungsbedingte Atmung über Lüftungseinrichtungen erfolgt, oder für Tanks, die mit einer Schwimmdecke ausgerüstet sind, gilt Nummer 5.2.1 dieser Anlage entsprechend, wobei für die Bemessung der explosionsgefährdeten Bereiche nur die Hälfte des berechneten Volumenstromes angesetzt wird.

(2) Für Tanks, die nur unter Anwendung des Gaspendelverfahrens befüllt und entleert werden, deren witterungsbedingte Atmung über ein Gaspendelsystem abgeleitet wird, und die nicht mit Lüftungseinrichtungen ausgerüstet sind, die in die freie Atmosphäre entlüften, ist der Bereich bis zu einem Abstand von 1 m um den Tank Zone 2. Unabhängig von den sich nach Satz 1 ergebenden explosionsgefährdeten Bereichen sind Auffangräume bis zu einer Höhe von 0,8 m über deren Oberkante hinaus Zone 2. Für Tanks, die auf Dauer technisch dicht sind, ist abweichend von Satz 1 und 2 außerhalb der Tanks kein explosionsgefährdeter Bereich.

(3) Für Tanks, die nur unter Anwendung des Gaspendelverfahrens befüllt und entleert werden, deren witterungsbedingte Atmung über ein Gaspendelsystem abgeleitet wird, und die mit im Notfall wirkenden Lüftungseinrichtungen ausgerüstet sind, ist um die Mündung der Entlüftungseinrichtungen von Tanks der Bereich, der durch einen Zylinder mit einem Radius R nach Tabelle 3 dieser Anlage gebildet wird, Zone 2. Dieser Zylinder beginnt 3 m über der Mündung der Entlüftungsleitung und reicht herab bis zur Kontur des Tanks bzw. bis zur Erdgleiche. Sofern die Zone 2 um die Entlüftungseinrichtung die Kontur des Tanks berührt, ist ferner der Bereich um die Konturen des Tanks bis zu einem Abstand R, jedoch höchstens bis zu 1,5 m, Zone 2. Ferner ist der Bereich bis zu einer Höhe von 0,8 m über Erdgleiche bis zu einem Abstand von 2 R von der Tankwand bzw. der freistehenden Lüftungsöffnung Zone 2. Unabhängig von den sich nach Satz 1 und 2 ergebenden explosionsgefährdeten Bereichen sind Auffangräume bis zu einer Höhe von 0,8 m über deren Oberkante hinaus Zone 2.

5.2.4 Schwimmdachtanks

(1) Bei Schwimmdachtanks ist der Bereich bis zu einem Abstand von 1,5 m um den Tankmantel bis zu einer Höhe von 1 m über die Oberkante des Tankmantels hinaus Zone 1. Daran schließt sich ein Bereich bis zu einem Abstand von 4,5 m um den Tankmantel bis zu einer Höhe von 1 m über die Oberkante des Tankmantels hinaus Zone 2 an, soweit er nicht Zone 1 ist.

(2) Sind Schwimmdachtanks mit einer Kuppel zum Witterungsschutz mit ausreichender Be- und Entlüftung über einen Ringspalt oder Gauben versehen, kann die natürliche Lüftung eingeschränkt sein.

(3) An Schwimmdachtanks ohne definierte Lüftung zwischen dem Tankmantel und dem Witterungsschutz ist der Raum zwischen Schwimmdach und dem Witterungsschutz Zone 0.

(4) Erfolgt die Belüftung der Tanks nach Absatz 2, die über eine Randabdichtung gemäß Ta Luft verfügen, über einen Ringspalt zwischen der Tankwandung und dem Witterungsschutz mit einer Öffnungsweite von mindestens 25 cm, ist abweichend von Absatz 3 der Raum zwischen dem Schwimmdach und dem Witterungsschutzes Zone 1. Erfolgt die Belüftung über anderweitige Öffnungen im Witterungsschutz, muss ein vergleichbarer Gesamtlüftungsquerschnitt gewährleistet sein. Als vergleichbarer Lüftungsquerschnitt gilt 0,25 m2 pro laufenden Meter Tankumfang.

(5) Erfolgt die Belüftung der Tanks nach Absatz 2 über Be- und Entlüftungsarmaturen, so gelten die Anforderungen für Festdachtanks mit innenliegender Schwimmdecke sinngemäß.

5.2.5 Witterungsschutz von Lageranlagen

In Lageranlagen im Freien, die durch mindestens zwei aneinandergrenzende Wände und eine Decke z.B. vor Witterungseinflüssen geschützt sind, kann die natürliche Belüftung beeinträchtigt sein. Die Wirksamkeit der natürlichen Belüftung (siehe hierzu auch TRGS 722/TRBS 2152 Teil 2 Nummer 2.4.4) ist im Einzelfall anhand der geometrischen Verhältnisse zu prüfen. Bei nicht ausreichender Wirksamkeit der natürlichen Belüftung kann es erforderlich sein, entweder

  1. die explosionsgefährdeten Bereiche auszudehnen oder eine Zonenänderung (z.B. Zone 2 wird Zone 1) vorzunehmen oder
  2. durch zusätzliche Lüftungsmaßnahmen die Wirksamkeit der Belüftung zu gewährleisten.

5.2.6 Beispiele

Die nachfolgenden Beispiele zeigen in der Praxis bewährte Festlegungen, wie die Ex-Zonen gemäß den Anforderungen von Nummer 5.1 und 5.2 umgesetzt werden können. In Abhängigkeit der physikalisch-chemischen Eigenschaften der gelagerten Stoffe, der örtlichen Gegebenheiten sowie der betrieblichen Gegebenheiten kann hiervon in der Gefährdungsbeurteilung begründet abgewichen werden. Für die explosionsgefährdeten Bereiche sind Beispiele in Abb. A2-5 bis A2-9 dargestellt.

Abb. A2-5: Explosionsgefährdete Bereiche an Festdachtanks mit einer Lüftungsöffnung

Abb. A2-6: Explosionsgefährdete Bereiche an Festdachtanks mit mehreren Lüftungsöffnungen

Abb. A2-7: Explosionsgefährdete Bereiche bei liegenden zylindrischen Tank

Abb. A2-8: Explosionsgefährdete Bereiche an Schwimmdachtanks

Abb. A2-9: Explosionsgefährdete Bereiche an separat angeordneter Lüftungsleitung

6 Explosionsgefährdete Bereiche bei dem Lagern in unterirdischen Tanks

(1) Um unterirdische Tanks sind im Rahmen der Gefährdungsbeurteilung explosionsgefährdete Bereiche festzulegen. Um unterirdische Tanks, die nicht allseitig von Erde, Mauerwerk oder Beton oder mehreren dieser Stoffe von insgesamt mindestens 0,8 m Dicke umgeben sind, gilt Nummer 5.1 und 5.2 dieser Anlage entsprechend.

(2) Für die explosionsgefährdeten Bereiche um die Mündung von Entlüftungseinrichtungen von unterirdischen Tanks mit mindestens 0,8 m Erddeckung, die mit einem Volumenstrom über 60 m3/h befüllt werden, gilt während der Befüllung Nummer 5.1 und 5.2 dieser Anlage entsprechend.

(3) Bei Tanks mit mindestens 0,8 m Erddeckung, die mit einem Volumenstrom bis 60 m3/h befüllt werden, ist in der Regel nur in der unmittelbaren Umgebung der Mündung der Entlüftungseinrichtung Zone 1, sofern die Mündung mindestens 4 m über Erdgleiche liegt. Von Schornsteinöffnungen, Regenfallrohren und Fenstern, die zum Öffnen eingerichtet sind, müssen die Austrittsöffnungen einen Mindestabstand von 2 m haben.

(4) Abb. A2-10 zeigt Beispiele von explosionsgefährdeten Bereichen für unterirdische Tanks mit mehr als 0,8 m Erddeckung.

Abb. A2-10: Explosionsgefährdete Bereiche unterirdischer Tanks mit mehr als 0,8 m Erddeckung

7 Explosionsgefährdete Bereiche an Füllstellen im Freien

7.1 Allgemeines und Witterungsschutz

(1) Bei dem Befüllen von ortsbeweglichen Behältern im Freien ist im Rahmen der Gefährdungsbeurteilung die Wahrscheinlichkeit der Bildung explosionsgefährlicher Atmosphäre zu ermitteln und der explosionsgefährdete Bereich in Zonen einzuteilen. Falls keine andere Festlegung getroffen wurde, kann davon ausgegangen werden, dass eine explosionsfähige Atmosphäre nur während des Befüllvorganges in Abhängigkeit vom Befüllverfahren entsteht. Der Befüllvorgang beginnt mit dem Öffnen der ortsbeweglichen Behälter bzw. der Anschlussarmaturen und endet, wenn der ortsbewegliche Behälter versandfertig verschlossen wurde. Nummer 7.1 bis 7.4 geben Hilfestellungen zur Festlegung der explosionsgefährdeten Bereiche.

(2) In Füllstellen im Freien, die durch mindestens zwei aneinander grenzende Wände und eine Decke z.B. vor Witterungseinflüssen geschützt sind, kann die natürliche Belüftung beeinträchtigt sein. Die Wirksamkeit der natürlichen Belüftung ist im Einzelfall anhand der geometrischen Verhältnisse zu prüfen. Bei nicht ausreichender Wirksamkeit der natürlichen Belüftung kann es erforderlich sein, entweder

  1. die explosionsgefährdeten Bereiche auszudehnen oder eine Zonenänderung (z.B. Zone 2 wird Zone 1) vorzunehmen oder
  2. durch zusätzliche Lüftungsmaßnahmen die Wirksamkeit der Belüftung zu gewährleisten.

7.2 Befüllen von ortsbeweglichen Behältern über offenen Dom ohne Ableitung der Dampf/Luft-Gemische sowie Befüllen von ortsbewegliche Behältern, die über Entlüftungseinrichtungen ausatmen

(1) Bei dem Befüllen von ortsbeweglichen Behältern (Tanks auf Fahrzeugen und Eisenbahnkesselwagen, Tankcontainer) ist erfahrungsgemäß der Bereich bis zu einem Abstand von 1 m um die Konturen der Tanks Zone 1. Der Abstand reduziert sich auf 0,5 m, wenn nach Absatz 2 und nach Tabelle 3 dieser Anlage ein Abstand von 0,5 m genügt. Dieser Bereich reicht herab bis zur Erdgleiche.

(2) Bei dem Befüllen von ortsbeweglichen Behältern über den offenen Dom ist über Absatz 1 hinaus der Bereich bis zu einem horizontalen Abstand R nach Tabelle 3 dieser Anlage, gemessen von der Dommitte, Zone 1. Dieser Bereich beginnt mit Abstand R nach Tabelle 3 dieser Anlage, höchstens jedoch 3 m, über der Domöffnung und reicht herab bis zur Kontur des ortsbeweglichen Behälters bzw. bis zur Erdgleiche.

(3) Bei ortsbeweglichen Behältern, die über dicht mit dem ortsbeweglichen Behältern verbundene Leitungen befüllt und über Entlüftungseinrichtungen entlüftet werden, wird der dem Absatz 2 entsprechende Bereich von der Mündung der Entlüftungseinrichtungen aus bemessen. Sofern die Zone 1 um die Entlüftungseinrichtung die Konturen des ortsbeweglichen Behälters berührt, ist ferner der Bereich um die Konturen des ortsbeweglichen Behälters bis zu einem Abstand R nach Tabelle 3 dieser Anlage, jedoch höchstens bis zu 1,0 m, Zone 1.

(4) Ein um 1,5 m über die in Absatz 1 bis 3 festgelegte Zone 1 hinausreichender Bereich ist Zone 2.

(5) Ferner ist bei dem Befüllen von ortsbeweglichen Behältern nach den Absätzen 2 und 3 der Bereich bis zu einem Abstand 3R nach Tabelle 3 dieser Anlage, gemessen von der durch die Dommitte bzw. durch die Mündung der Entlüftungseinrichtung verlaufenden Senkrechten, bis zu einer Höhe von 0,8 m über dem Erdboden Zone 2, soweit er nicht Zone 1 ist.

(6) Bei dem Befüllen ortsbeweglichen Behältern mit einem Rauminhalt bis 450 l ist abweichend von Absatz 2 bis 5 der Bereich bis zu einem Abstand von 2 m um die Konturen des Behälters Zone 1.

7.3 Befüllen von ortsbeweglichen Behältern mit Ableitung der Dampf/Luft-Gemische über dichtschließende Einrichtungen

Bei dem Befüllen von ortsbeweglichen Behältern unter Anwendung eines Gaspendelverfahrens über Absaugglocke oder Einsteckkonus ist erfahrungsgemäß der Bereich bis zu 0,5 m um die Domöffnung Zone 1. Der Bereich erstreckt sich bis zu einem Abstand von 0,5 m, gemessen von der Wandung des ortsbeweglichen Behälters, und reicht herab bis zur Erdgleiche. Daran schließt sich bis zu einem Abstand von 1 m ein explosionsgefährdeter Bereich Zone 2 bis 0,8 m Höhe über Erdgleiche an.

7.4 Befüllen von ortsbeweglichen Behältern über angeschlossene Rohr- bzw. Schlauchleitungen und mit angeschlossener Lüftungseinrichtung

Bei dem Befüllen von ortsbeweglichen Behältern mit angeschlossenen Rohr- und Schlauchleitungen und mit angeschlossener Lüftungseinrichtung sind um die Rohr- oder Schlauchleitungen sowie die Kupplungen explosionsgefährdete Bereiche gemäß Nummer 2 dieser Anlage festzulegen.

8 Explosionsgefährdete Bereiche an Entleerstellen im Freien und in Räumen

(1) Um Öffnungen an ortsbeweglichen Behältern und an Entleerstellen sind explosionsgefährdete Bereiche festzulegen und in Zonen einzuteilen. Um die Öffnungen der ortsbeweglichen Behälter, die während der Entleerung offen sind, ist ein Umkreis von 3 m bis zu einer Höhe von 0,8 m über dem Erdboden erfahrungsgemäß von Zone 2 auszugehen.

(2) Soweit sich die Zone 2 an den Entleerstellen mit einer Zone 1 an Füllstellen deckt, ist sie Zone 1.

9 Explosionsgefährdete Bereiche bei Ableitflächen und Rückhalteeinrichtungen an Füllstellen im Freien

(1) Ableitflächen an Füllstellen, die nicht der Rückhaltung von entzündbaren Flüssigkeiten dienen, sind bis zu einer Höhe von 0,2 m Zone 2, sofern nicht andere Zonenfestlegungen nach Nummer 7.2 bis 7.4 dieser Anlage gelten.

(2) Oberirdische, nicht abgedeckte Rückhalteeinrichtungen sind bis zur Oberkante Zone 1. Daran schließt sich ein Bereich bis zu einem Abstand von 2 m um die Rückhalteeinrichtung bis zu einer Höhe von 0,8 m über Oberkante der Rückhalteeinrichtung Zone 2 an.

(3) 20 Das Innere von geschlossenen Rückhalteeinrichtungen (z.B. Behälter) einschließlich Zulauf- und Lüftungsleitung ist Zone 0. Abweichend von Satz 1 ist das Innere von geschlossenen Rückhalteeinrichtungen mit mindestens 2-fachem Luftwechsel Zone 1. Die unmittelbare Umgebung der Mündung einer Lüftungsleitung einer geschlossenen Rückhalteeinrichtung ist Zone 1.

10 Zonen an Dämpfespeichern zur Zwischenspeicherung von Dämpfen entzündbarer Flüssigkeiten im Zuge von Gaspendelsystemen im Lager

(1) Um Dämpfespeicher sind beim möglichen Auftreten von explosionsgefährlicher Atmosphäre Zonen einzuteilen. Falls in der Gefährdungsbeurteilung keine abweichenden Festlegungen getroffen wurden, sind die Einteilungen der Absätze 2 bis 5 anzuwenden.

(2) Das Innere des Dämpfespeichers ist Zone 0. Der Ausdehnungsraum oberhalb der Membran ist Zone 1.

(3) Für die Zoneneinteilung außerhalb des Dämpfespeichers gelten die Anforderungen der Nummer 5.2.1 dieser Anlage entsprechend. Für die Ermittlung von R wird ein Atmungsvolumenstrom angesetzt, der

  1. für die Notentlüftung des Speicherraums gleich 20 % des maximal möglichen Volumenstroms entspricht, mit dem der Dämpfespeicher gefüllt wird und
  2. für die Entlüftungsarmatur des Ausdehnungsraums beim Typ II-Speicher bzw. für die Lüftungsöffnungen beim Typ I-Speicher gleich 10 % des maximal möglichen Volumenstroms entspricht, mit dem der Dämpfespeicher gefüllt wird,

wobei R mindestens 2 m beträgt. Der Volumenstrom kann durch die Anzahl der Entlüftungsarmaturen bzw. -öffnungen geteilt werden, jedoch höchstens durch 3. Die so für die einzelnen Öffnungen ermittelten Zonen sind zu überlagern.

(4) Bei Dämpfespeichern, die innerhalb eines Auffangraums aufgestellt sind, ist zusätzlich zu Absatz 3 der Auffangraum bis zu dessen Oberkante Zone 1. Die Festlegungen in Nummer 5.2.1 dieser Anlage gelten zusätzlich.

(5) Beispiele für die Bauausführung, die Zonenfestlegung in und um sowie die Absicherung von Dämpfespeichern ist in den Abb. A2-11 und A2-12 dargestellt.

Abb. A2-11: Explosionsgefährdete Bereiche um die Notentlüftung von Dämpfespeichern

Abb. A2-12: Explosionsgefährdete Bereiche um die Atmungsöffnungen des Ausdehnungsraums von Dämpfespeichern am Beispiel des Typ-II-Speichers

.

Aktive Lagerung entzündbarer Flüssigkeiten mit einem Flammpunkt < 55 °C in ortsbeweglichen Behältern Anlage 3

1 Geltungsbereich

(1) Diese Anlage gilt für die aktive Lagerung entzündbarer Flüssigkeiten mit einem Flammpunkt< 55 °C in ortsbeweglichen Behältern gemäß Nummer 2 Absatz 8 der TRGS 509, die

  1. aus einer ortsfesten Anlage über einen Rohrleitungs- oder Schlauchanschluss über einen längeren Zeitraum befüllt oder
  2. aus einem Transportbehälter über einen Rohrleitungs- oder Schlauchanschluss in eine ortsfesten Anlage entleert werden

und sowohl vor als auch nach der Befüllung oder Entleerung transportiert werden.

(2) Diese Anlage gilt nicht für eine wechselweise Befüllung oder Entleerung ohne Lösen der Rohrleitung und Abtransport des Behälters.

2 Allgemeines

(1) Ortsbewegliche Behälter müssen für die aktive Lagerung entzündbarer Flüssigkeiten geeignet sein.

(2) Dies ist z.B. erfüllt, wenn die aktive Lagerung in Tankcontainern, ortsbeweglichen Tanks oder IBCs erfolgt.

3 Aktive Lagerung in ortsbeweglichen Behältern aus Kunststoff

Ortsbewegliche Behälter aus Kunststoff dürfen zur aktiven Lagerung von entzündbaren Flüssigkeiten mit einem Flammpunkt< 35 °C verwendet werden, wenn sie unter Beachtung von TRBS 2153 geeignet sind und entsprechend installiert und betrieben werden.

4 Anforderungen an den Betrieb von ortsbeweglichen Behältern bei der aktiven Lagerung

(1) 20 Orte, an denen entzündbare Flüssigkeiten in ortsbeweglichen Behältern aktiv gelagert werden, müssen den Anforderungen dieser TRGS zur Lagerung genügen. Dabei gelten für die ortsbeweglichen Behälter die entsprechenden Anforderungen für ortsfeste Tanks gleichermaßen. Insbesondere sind zu beachten:

  1. die Anforderungen an Lagerräume nach Nummer 9.7,
  2. die Anordnung und Ausführung der Mündung der Lüftungsleitungen nach Nummer 7.1.1,
  3. die Abstände zu Gebäuden im Freien nach Nummer 9.2,
  4. der Schutz der ortsbeweglichen Behältern gegen Beschädigungen nach Nummer 5.1.1,
  5. sowie das Auffangen auslaufender Flüssigkeiten nach Nummer 5.3 der TRGS 509.

(2) Ortsbewegliche Behälter müssen für die aktive Lagerung mit Belüftungs- und Entlüftungseinrichtungen ausgerüstet sein. Nummer 7.1.1 der TRGS 509 gilt sinngemäß. Diese Einrichtung muss den Anschluss einer Lüftungsleitung ermöglichen.

(3) Ortsbewegliche Behälter, die am Ort der Lagerung befüllt werden, müssen mit den folgenden Anlagenteilen ausgerüstet sein:

  1. mit einem Flüssigkeitsstandanzeiger, z.B. einer Peilvorrichtung (vgl. Nummer 7.1.2),
  2. mit einer Überfüllsicherung (vgl. Nummer 7.1.2),
  3. mit einer Befülleinrichtung (vgl. Nummer 7.1.4 der TRGS 509).

Abweichend von Satz 1 Nummer 3 dürfen ortsbewegliche Behälter mit einem Rauminhalt bis 1.000 l über die Füllöffnung befüllt werden, wenn die Fülleinrichtung als Adapter fest und dicht schließend mit dem ortsbeweglichen Behälter verbunden ist.

Hinweis: Der Adapter ist eine Einrichtung, die auf die Öffnung des ortsbeweglichen Behälters aufgesetzt werden kann und die über den Befüll- bzw. Entleeranschluss und ggf. einen Gaspendelanschluss oder Anschluss zur Ableitung von Dampf-/Luft-Gemischen verfügt.

(4) Ortsbewegliche Behälter, die am Ort der Lagerung entleert werden, müssen mit einer Entnahmeeinrichtung ausgerüstet sein (vgl. Nummer 7.1.4 dieser TRGS). Abweichend von Satz 1 dürfen ortsbewegliche Behälter mit einem Rauminhalt bis 1.000 l über die Füllöffnung oberhalb des Flüssigkeitsspiegels entleert werden, wenn die Entnahmeeinrichtung als Adapter fest und dicht schließend mit dem Transportbehälter verbunden ist.

(5) Die Ausrüstungsteile nach Absatz 2 bis 4 müssen flammendurchschlagsicher ausgeführt sein, wenn die Transportbehälter nicht nachweislich explosionsdruckstoßfest sind. Satz 1 gilt nicht für Befüll- und Entnahmeeinrichtungen nach Absatz 3 und 4, wenn aus den am Transportbehälter angeschlossenen Leitungen ein Hineinschlagen von Flammen in den Transportbehälter auszuschließen ist.

5 Explosionsgefährdete Bereiche

(1) Das Innere von ortsbeweglichen Behältern ist Zone 0.

(2) Das Innere geschlossener Räume an ortsbeweglichen Behältern, z.B. Armaturenschränke, ist Zone 1.

(3) Um ortsbewegliche Behälter, die am Ort der Lagerung befüllt oder entleert werden, sind explosionsgefährdete Bereiche festzulegen. Anlage 2 Nummer 4.3, 7 und 8 gelten sinngemäß.

(4) Wegen der explosionsgefährdeten Bereiche bei der Lagerung wird auf Anlage 2 verwiesen.


.

Abfüllen von Natriumhypochlorit- und Natriumchloritlösungen 20 Anlage 4
zu TRGS 509

1 Anwendungsbereich

(1) Die in dieser Anlage beschriebenen Maßnahmen sind anzuwenden beim Abfüllen von

  1. Natriumhypochloritlösungen (> 5 % aktives Chlor, entsprechend> 5,25 % Natriumhypochlorit) (handelsübliche Bezeichnungen auch: Natronbleichlauge, Chlorbleichlauge, Bleichlauge, Javelwasser) und
  2. Natriumchloritlösungen (> 12 % Natriumchlorit).

Die Maßnahmen dienen ausschließlich der Vermeidung von Stoffverwechslungen und Vermischungen mit anderen Chemikalien.

2 Schutzmaßnahmen

(1) Die für die Befüllung mit Natriumhypochloritlösung und Natriumchloritlösung verwendeten Schläuche, Kupplungsstücke etc. sind ausschließlich für diese Lösungen zu verwenden. Die dabei verwendeten Schläuche und Rohrleitungen sind eindeutig zu kennzeichnen.

(2) Zur Absicherung des Lagertanks gegen Fehlbefüllungen ist in der Füllleitung eine pH-Elektrode oder eine Temperaturüberwachung zu installieren. Die Ausführung der Einrichtungen hat so zu erfolgen, dass eine Stoffverwechslung möglichst frühzeitig erkannt wird. Bei der Temperaturüberwachung ist dafür eine Reaktion von Lagergut mit dem Füllgut außerhalb des Lagertanks, also bevor das Füllgut in den Lagertank gelangt, erforderlich. Über eine Auswerteelektronik ist der Befüllvorgang automatisch zu stoppen.

(3) Ist eine Absicherung gemäß Absatz 2 technisch nicht möglich oder schwierig zu realisieren, ist durch eine Kombination anderer technischer und zusätzlicher organisatorischer Maßnahmen eine Verwechslung zu verhindern. Als technische Maßnahme ist dann ein unverwechselbarer Anschluss erforderlich, wie z.B. Linksgewinde der Anschlussstutzen oder codierte Anschlüsse. Ergänzend ist eine organisatorische Maßnahme erforderlich, wie z.B. Identitätsprüfung im Labor oder Betrieb oder das Vier-Augen-Prinzip beim Anschließen der Füllleitung durch Fahrzeugführer und Betriebspersonal.

(4) Transporttanks (Tankfahrzeuge, Aufsetztanks, Tankcontainer und Kesselwagen) einschließlich der für die Befüllung verwendeten Pumpen sollen nach Möglichkeit nur für Natriumhypochloritlösung oder Natriumchloritlösung verwendet werden. Die Befüll- und Entleerungsanschlüsse haben in diesem Fall über ein Linksgewinde zu verfügen.

(5) Sofern eine ausschließliche Verwendung von Transporttanks für Natriumhypochloritlösung oder Natriumchloritlösung nicht möglich oder schwierig zu realisieren ist, müssen vor der Befüllung

  1. Tank und Pumpe gereinigt und diese Reinigung dokumentiert werden und
  2. an den Befüll- und Entleerungsanschlüssen Adapter mit Linksgewinde angebracht werden.

(6) Werden andere ortsbewegliche Behälter als Transporttanks verwendet, so sind diese ausschließlich für Natriumhypochloritlösung bzw. Natriumchloritlösung zu verwenden. Vor einer Wiederbefüllung hat eine Identitätskontrolle des Restinhalts zu erfolgen.

(7) Bei Neuerrichtung von Füll- und Entleerstellen für Natriumhypochlorit- und Natriumchloritlösungen ist eine örtliche Trennung von anderen Anlagen für Säuren vorzusehen.

______________________________
1) Siehe: http://www.baua.de/de/Themen-von-A-Z/Gefahrstoffe/Glossar/Glossar.html

2) feuersichere Armatur (siehe dazu z.B. DIN EN ISO 10497 "Prüfung von Armaturen - Anforderungen an die Typprüfung auf Feuersicherheit").

3) Weitere Beispiele zur Einteilung explosionsgefährdeter Bereiche in Zonen können der Beispielsammlung der DGUV Regel 113-001 "Explosionsschutz-Regeln (EX-RL)" entnommen werden. Beispiele zur Einteilung explosionsgefährdeter Bereiche in Zonen in Löschwasserrückhalteeinrichtungen können dem VdTÜV-Merkblatt 967 entnommen werden.

4) AEGL= Acute Exposure Guideline Level.

5) Wegen zusätzlicher Inertgasvolumenströme bei inertisierten Tanks wird auf Anlage 2, Nummer 1.2.2 verwiesen.

6) Bei der Erstinertisierung muss sichergestellt werden, dass die Sauerstoffgrenzkonzentration sicher unterschritten wird. Auf TRGS 722/TRBS 2152 Teil 2 Nr. 2.3.3 wird verwiesen.

7) Auf EN 50073 wird verwiesen

8) Gaswarngeräte, welche den "Sicherheitsregeln für Anforderungen an Eigenschaften ortsfester Gaswarneinrichtungen für den Explosionsschutz" und den "Grundsätze für die Prüfung der Funktionsfähigkeit ortsfester Gaswarneinrichtungen für den Explosionsschutz" genügen, sind hierzu geeignet.

ENDE

umwelt-online - Demo-Version


(Stand: 28.07.2022)

Alle vollständigen Texte in der aktuellen Fassung im Jahresabonnement
Nutzungsgebühr: ab 105.- € netto

(derzeit ca. 7200 Titel s.Übersicht - keine Unterteilung in Fachbereiche)

Preise & Bestellung

Die Zugangskennung wird kurzfristig übermittelt

? Fragen ?
Abonnentenzugang/Volltextversion