zurück

6 Ausrüstungsteile

6.1 Abgabeeinrichtungen

6.1.1 Allgemeines

Für die Ausführung von Abgabeeinrichtungen wird auf TRbF 40 Nr. 4.1 hingewiesen.

6.1.2 Schutz vor mechanischer Beschädigung

(1) Abgabeeinrichtungen müssen so aufgestellt oder gesichert sein, dass sie nicht umstürzen oder durch Fahrzeuge angefahren werden können.

(2) Absatz 1 gilt bezüglich des Anfahrschutzes z.B. als erfüllt, wenn die Abgabeeinrichtungen durch Kantsteine, Prellsteine, Radabweiser oder ähnliche Einrichtungen mit einer Höhe von mindestens 12 cm und einem seitlichen Überstand von mindestens 20 cm geschützt sind (siehe Bild 3). Soweit ein Umstürzen nicht durch die Bauart ausgeschlossen ist, müssen besondere Sicherheitsmaßnahmen getroffen sein.

6.1.3 Schutz vor Überfüllung des Kraftstoffbehälters im Kraftfahrzeug

(1) Es müssen Zapfventile verwendet werden, die vor vollständiger Füllung des zu befüllenden Behälters selbsttätig schließen (selbsttätig schließende Zapfventile). Dies gilt nicht für Kleinzapfgeräte.

(2) Ein selbsttätiges Schließen des Zapfventils muss auch dann erfolgen, wenn das Zapfventil aus dem Füllstutzen des zu befüllenden Fahrzeugtanks herausfällt.

(3) Zapfventile sind geeignet, wenn sie dem erforderlichen bauaufsichtlichen Verwendbarkeitsnachweis entsprechen (z.B. auf Grundlage der BRL a Teil 2 lfd. Nr. 2.40 bzw. BRL B Teil 2 lfd. Nr. 2.11). 15

6.2 Selbsttätig wirkende Sicherheitseinrichtungen zur Bestimmung des Rückhaltevermögens

6.2.1 Allgemeines

(1) Es müssen selbsttätig wirkende Sicherheitseinrichtungen bei der Befüllung der Lagerbehälter eingesetzt werden, die bei unbeabsichtigtem Austritt von Kraftstoffen die maximale Auslaufmenge begrenzen.

(2) Abfüll-Schlauch-Sicherungen (ASS) sowie Einrichtungen mit Aufmerksamkeitstaste und Not-Aus-Betätigung (ANA) sind selbsttätig wirkende Sicherheitseinrichtungen im Sinne von
Satz 1.

6.2.2 Abfüll-Schlauch-Sicherung (ASS) und Einrichtungen mit Aufmerksamkeitstaste und Not-Aus-Betätigung (ANA)

Abfüll-Schlauch-Sicherungen (ASS) und Einrichtungen mit Aufmerksamkeitstaste und Not-Aus-Betätigung (ANA) sind geeignet, wenn sie VdTUV-Merkblatt 953 entsprechen und die Eignung mit einem Bauteilkennzeichen TU.AGG. des VdTUV bestätigt wurde.

6.3 Schutz vor Überfüllung der Lagerbehälter

(1) Das Befüllen der Lagerbehälter darf nur über fest angeschlossene Rohre oder Schläuche mit festen Leitungsanschlüssen und unter Verwendung einer Überfüllsicherung, die rechtzeitig vor Erreichen des zulässigen Flüssigkeitsstandes den Füllvorgang selbsttätig unterbricht oder akustischen Alarm auslöst, erfolgen.

(2) Satz 1 gilt bezüglich der Überfüllsicherung als erfüllt, wenn jeder Tank zur Lagerung von Kraftstoffen mit einem Grenzwertgeber ausgerüstet ist, der die Funktion der nach TRbF 60 Nummer 4.1 Absatz 2 Ziffer 3 vorgeschriebenen Abfüllsicherung ermöglicht. Die Bauart muss die Funktionssicherheit gewährleisten. Die Verbindungen müssen dicht sein.

Bild 3: Beispiele für einen Anfahrschutz an Abgabeeinrichtungen

(3) Grenzwertgeber für Kraftstoffe sind geeignet, wenn ihre Eignung für die Verwendung für die vorgesehenen Kraftstoffe in einem bauaufsichtiichen Verwendbarkeitsnachweis festgestellt ist (z.B. BRL B Teil 2 lfd. Nr. 2.7 für Grenzwertgeber für Otto- und Dieselkraftstoffe). 16

(4) Füllanschlüsse und Anschlüsse für die Grenzwertgeber sind eindeutig zuzuordnen.

(5) Absatz 1 gilt nicht für Einzelbehälter mit einem Rauminhalt bis 1.000 l zur Lagerung von Dieselkraftstoff oder Biodiesel, wenn sie im Vollschlauchsystem mit einem nach dem Totmann-Prinzip schließenden Zapfventil mit Füllraten von nicht mehr als 200 l/min im freien Auslauf befällt werden.

7 Besondere Anforderungen an Eigenverbrauchstankstellen mit geringem Verbrauch

7.1 Allgemeines

Für Eigenverbrauchstankstellen mit geringem Verbrauch gelten die Anforderungen dieser TRwS. Von diesen Anforderungen darf in den folgenden Sachverhalten abgewichen werden.

7.2 Größe des Wirkbereiches

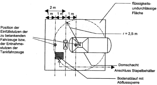
(1) Bei Eigenverbrauchstankstellen mit geringem Verbrauch kann der Wirkbereich der Abgabeeinrichtungen auf 2 m um die Aufhängepunkte der Zapfschläuche festgelegt werden, wenn die vorgesehenen Positionen der Einfüllstutzen der zu betankenden Fahrzeuge maximal 1 m von der Zapfsäule entfernt sind.

(2) Abweichend von Abschnitt 4.1.2 Absatz 2 kann der Wirkbereich bei der Befüllung der Lagerbehälter von Eigenverbrauchstankstellen mit geringem Verbrauch auf 2,5 m um die Anschlussstutzen der behälterseitigen Füllschlauchleitungen unter der Voraussetzung reduziert werden, dass sich der Anschlussstutzen des Tankfahrzeuges auf der vorgesehenen Position gemäß Absatz 1 befindet.

(3) Beispiele für die Größe der Abfüllfläche bei Eigenverbrauchstankstellen mit geringem Verbrauch sind in Bild 4 enthalten. 17

(4) Wird der Wirkbereich gemäß Absatz 1 und 2 bemessen, ist die vorgesehene Position des Einfüllstutzens des zu betankenden Fahrzeugs und des Anschlussstutzens des befüllenden Tankfahrzeuges deutlich sichtbar und dauerhaft auf der Abfüllfläche zu kennzeichnen.

Bild 4: Beispiele für die Größe der Abfüllfläche bei Eigenverbrauchstankstellen mit geringem Verbrauch - Beispiele 1, 2 und 3

1. oberirdischer Behälter/einseitige Betankung

2. unterirdischer Behälter/einseitige Betankung

3. Unterirdischer Behälter/beidseitige Betankung

7.3 Ort des Rückhaltevermögens

Das Rückhaltevermögen gemäß Abschnitt 4.2 ist

zu gewährleisten.

7.4 Größe des Rückhaltevermögens

Wenn für die Rückhaltung ein Stapelbehälter gemäß Abschnitt 7.3 verwendet wird, der mit einem flüssigkeitsdichten Verschluss in der Zulaufleitung gemäß Abschnitt 7.6 ausgestattet ist, braucht bei der Ermittlung der Größe des Rückhaltevermögens Niederschlagswasser nicht besonders berücksichtigt zu werden.

7.5 Verunreinigtes Niederschlagswasser

Abweichend von Abschnitt 4.3.1 Absatz 2 darf auf eine Abscheideranlage oder eine gesonderte Sammlung des Niederschlagswassers verzichtet werden, wenn der flüssigkeitsdichte Verschluss gemäß Abschnitt 7.6 außerhalb der Befüllung bzw. Betankung geschlossen oder die Abfüllfläche überdacht ist. 18

7.6 Stapelbehälter

Der flüssigkeitsdichte Stapelbehälter gemäß Abschnitt 7.3 ist mit einer Zulaufleitung gemäß Abschnitt 5.4.1 mit dem Bodenablauf der Abfüllfläche zu verbinden. In die Zulaufleitung bzw. in den Bodenablauf ist ein flüssigkeitsdichter Verschluss der Zulaufleitung 19 zu integrieren, der von der Abfüllfläche aus geöffnet werden kann.

7.7 Schutz vor Überfüllung des Kraftstoffbehälters im Kraftfahrzeug

Die Abgabe aus Lagerbehältern < 1.000 l ist auch mit von Hand betriebenen Pumpen mit Absperrhahn am Füllschlauch zulässig. Dies gilt auch bei einer Abgabe mit elektrisch betriebenen Pumpen, wenn die Pumpen während der Stillstandszeit mit einem von Hand zu betätigenden Schalter vom Stromnetz getrennt sind.

8 Regelungen zum Betrieb

8.1 Allgemeines

(1) Der Inhalt der im Betrieb anzuwendenden Vorschriften ist in einer für den Beschäftigten verständlichen Form und Sprache in einer Betriebsanweisung darzustellen und an geeigneter Stelle an der Tankstelle auszulegen oder auszuhängen. Die Betriebsanweisung kann Bestandteil von Betriebsanweisungen nach anderen Rechtsbereichen sein.

(2) Die Beschäftigten müssen über die bei der Lagerung und Abfüllung von Kraftstoffen auftretenden möglichen Gewässergefährdungen sowie über die Maßnahmen zu ihrer Abwendung vor der Beschäftigung und danach mindestens einmal jährlich unterwiesen werden.

(3) Alle wesentlichen Maßnahmen der Kontrollen durch den Betreiber, der Instandhaltung und der Instandsetzung sind in der Betriebsanweisung nach § 3 Nr. 6 der Muster-VAwS 20 festzulegen. Die Durchführung der Maßnahmen ist jeweils im Betriebstagebuch zu vermerken.

(4) Ausgetretene Kraftstoffe sind unverzüglich mit geeigneten Mitteln zu binden. Das verunreinigte Bindemittel ist aufzunehmen sowie ordnungsgemäß und schadlos zu verwerten oder zu beseitigen.

(5) Entsprechende Materialien und/oder Einsatzgeräte sind in der Betriebsanweisung festzulegen und in ausreichender Menge ständig vorzuhalten. Für die Entsorgung bzw. Behandlung der als Abfall anfallenden Stoffe wird auf die Festlegungen des Kreislaufwirtschafts- und des Abfallgesetzes hingewiesen.

8.2 Ständige Überwachung gemäß § 19i WHG

(1) Tankstellen sind ständig zu überwachen. Dies gilt als erfüllt, wenn sie betriebstäglich kontrolliert werden, für die Rückhalteeinrichtung im Entwässerungssystem reicht eine Kontrolle der Abscheideranlage gemäß dem bauaufsichtlichen Verwendbarkeitsnachweis aus.

(2) Zusätzlich ist bei Zapfautomaten die Notrufnummer anzugeben.

(3) Abweichend von Absatz 1 ist während einer bestimmungsgemäßen Betriebsunterbrechung einer Tankstelle, bei der ein Aushebern der Lagerbehälter ausgeschlossen ist (z.B. geschlossenes Absperrventil, unterirdische Lagerbehälter), eine monatliche Kontrolle ausreichend.

8.3 Benutzen von Sicherheitseinrichtungen

(1) Vorgeschriebene Sicherheitseinrichtungen sind zu benutzen. Sie müssen so betrieben, gewartet und unterhalten werden, dass ihre Wirksamkeit erhalten bleibt und die Bestimmungen der bauaufsichtlichen Verwendbarkeitsnachweise der jeweiligen Sicherheitseinrichtungen (Ausrüstungsteile und Grenzwertgeber) beachtet werden.

(2) Sicherheitseinrichtungen dürfen insbesondere nicht umgangen oder ganz oder teilweise unwirksam gemacht werden.

8.4 Wiederherstellen des ordnungsgemäßen Zustandes nach Abschluss von Arbeiten zur Instandhaltung

(1) Nach Abschluss der Arbeiten zur Instandhaltung müssen die Anlagen wieder in ihren ordnungsgemäßen Zustand versetzt werden.

(2) Anlagenteile, die zur Durchführung der Arbeiten getrennt wurden, sind einander richtig zugeordnet, wieder fachgerecht und dicht zu verbinden. Öffnungen (z.B. Domdeckel) sind wieder dicht zu verschließen.

(3) Sicherheitseinrichtungen sind wieder in funktionsfähigen Zustand zu versetzen.

(4) Die Wiederherstellung des ordnungsgemäßen Zustandes der Anlage ist zu dokumentieren.

8.5 Bestimmungsgemäße Betriebsunterbrechung, Stilllegung

8.5.1 Bestimmungsgemäße Betriebsunterbrechung

Bei bestimmungsgemäßen Betriebsunterbrechungen sind die Sicherheitseinrichtungen (z.B. Rückhalteeinrichtungen im Entwässerungssystem, Ableitflächen) in Betrieb zu lassen.

8.5.2 Stilllegung

Alle Einrichtungen von Tankstellen sind bei einer Stilllegung von Kraftstoffen zu entleeren und zu reinigen. Bei Abfüllflächen brauchen Spuren ausgetretener Kraftstoffe, die nicht Anlass zu Boden- oder Gewässerverunreinigungen geben, nicht entfernt zu werden. Ferner sind Tankstellen gegen unbeabsichtigte weitere Benutzung zu sichern.

8.6 Kontrollen durch den Betreiber/Betreiberpflichten

(1) Betriebstäglich sind

visuell zu kontrollieren. Zusätzlich sind die Bestimmungen zur Wartung und Kontrolle in den bauaufsichtlichen Verwendbarkeitsnachweisen der für die Tankstelle verwendeten Bauprodukte (z.B. Fugenabdichtungssysteme) zu beachten.

(2) Abweichend von Satz 1 ist während einer bestimmungsgemäßen Betriebsunterbrechung eine monatliche Kontrolle ausreichend, wenn ein Aushebern der Lagerbehälter (z.B. geschlossenes Absperrventil, unterirdische Lagerbehälter) ausgeschlossen ist.

(3) Bei Abscheideranlagen ist die Funktionsfähigkeit sowie die Wartung und Entsorgung, z.B. Reinigungsintervalle, gemäß den Bestimmungen des bauaufsichtlichen Verwendbarkeitsnachweises zu kontrollieren bzw. vorzunehmen 21. Die Zulaufleitungen sind spätestens alle 5 Jahre wiederkehrend gemäß DIN EN 1610 zu prüfen, sofern nach Landesrecht keine Sachverständigenprüfung erforderlich ist. Nach Erreichen eines Beharrungszustands darf bei Anwendung des Verfahrens "L" keine Druckänderung, bei Anwendung des Verfahrens "W" keine sichtbare Wasserstandsänderung erfolgen.

(4) Dom- und Fernfüllschächte sind entsprechend den Festlegungen in den maßgebenden bauaufsichtlichen Verwendbarkeitsnachweisen auf ordnungsgemäßen Zustand zu kontrollieren. Wenn entsprechende Festlegungen nicht vorliegen, sind die Schächte mindestens monatlich zu kontrollieren.

(5) Die Aufstellflächen von Abgabeeinrichtungen sind fallweise, wenigstens jährlich daraufhin zu kontrollieren, ob Mängel an den Ableit- oder Auffangflächen bestehen.

(6) Die vorgenannten Kontrollen sind zu dokumentieren. Entsprechende Verunreinigungen sind unverzüglich zu beseitigen und die Behebung erkennbarer Schäden zu veranlassen.

(7) Es ist zu kontrollieren, ob die Betriebsvorschriften eingehalten werden. Insbesondere ist darauf zu achten, dass

Verschlüsse von Peilöffnungen nur zum Peilen oder zur Entnahme von Proben geöffnet sind, bzw. während der Befüllung der Lagerbehälter Peilöffnungen nicht geöffnet sind.

(8) Die Betreiber der Tankfahrzeuge, mit denen die Kraftstoffe angeliefert werden, oder diejenigen, die die Anlieferung veranlassen, sind über besondere, bei der Entleerung der Fahrzeugtanks zu berücksichtigende Umstände oder Einrichtungen zu informieren, damit entsprechend ausgerüstete Tankfahrzeuge eingesetzt werden und der Fahrer des Tankfahrzeugs bei der Entleerung entsprechend verfährt. Dies betrifft z.B. die Verwendung von Abfüll-Schlauch-Sicherungen oder Einrichtungen mit Aufmerksamkeitstaste und Not-Aus Betätigung. Die Tankeinfüllstutzen sind mit "Befüllung nur mit ASS" oder "Befüllung nur mit ANA" zu kennzeichnen.

(9) In einer technischen Dokumentation sind mindestens folgende Punkte festzuhalten und gegebenenfalls dem Sachverständigen und Behörden zur Verfügung zu stellen:

8.7 Errichter/Hersteller

(1) Für die Errichtung/Herstellung der Abfüllflächen gelten die Festlegungen der jeweiligen technischen Regeln oder der bauaufsichtlichen Verwendbarkeitsnachweise.

(2) Der rechnerische Nachweis der Dichtheit gemäß Abschnitt 5.1.2.2 ist für Abfüllflächen aus Ortbeton in der Planungsphase zu führen.

(3) Der Sachverständige ist über den Fortgang der Arbeiten zur Abdichtung der Flächen laufend zu informieren. Ihm ist die Möglichkeit zu geben, an den Kontrollen gemäß Abschnitt 9.2.4.1 vor, während und nach dem Einbau bzw. der Montage teilzunehmen und die Ergebnisse der Kontrollen zu beurteilen.

8.8 Besondere Pflichten bei Eigenverbrauchstankstellen mit geringem Verbrauch

(1) Der von der Abfüllfläche bedienbare flüssigkeitsdichte Verschluss des Stapelbehälters (siehe Abschnitt 7.6) muss bei der Betankung und der Befüllung der Lagerbehälter geöffnet sein.

(2) Tropfverluste während der Betankung bzw. Befüllung der Lagerbehälter sind durch geeignete Maßnahmen aufzunehmen.

9 Tankstellenspezifische Prüfungen gemäß § 19i WHG

9.1 Allgemeines

(1) Eine Tankstelle ist entsprechend den landesrechtlichen Vorschriften durch Sachverständige zu prüfen. Den Prüfungen ist die technische Dokumentation des Betreibers zu Grunde zu legen.

(2) Bauausführungen oder einzelne Bestandteile mit bauaufsichtlichen Verwendbarkeitsnachweisen sind gemäß den dortigen Bestimmungen für die Prüfungen zu prüfen.

9.2 Prüfung vor Inbetriebnahme

9.2.1 Allgemeines

Es ist

zu prüfen.

9.2.2 Wirkbereich

Der Sachverständige prüft, ob die Festlegungen der Abschnitte 4.1.1 bis 4.1.3eingehalten sind.

9.2.3 Größe und Ort des Rückhaltevermögens

(1) Der Sachverständige prüft die erforderliche Größe des Rückhaltevermögens gemäß Abschnitt 4.2.2 anhand der in den technischen Dokumentationen niedergelegten Festlegungen und vergleicht die theoretischen Werte mit den tatsächlichen.

(2) Ferner prüft er, ob die Festlegungen in Abschnitt 4.2.3 zum Ort des Rückhaltevermögens eingehalten sind.

9.2.4 Abfüllflächen

9.2.4.1 Abfüllflächen aus Beton, Stahlbeton und Spannbeton (Ortbeton)

(1) Der Sachverständige prüft, ob

(2) Ferner prüft er den ordnungsgemäßen Zustand der Dichtfläche durch Inaugenscheinnahme, insbesondere

(3) Abfüllflächen aus Beton, Stahlbeton und Spannbeton (Ortbeton) einschließlich ihrer integrierten Komponenten (z.B. Fugen oder Rinnen) sind nach einem Jahr durch Inaugenscheinnahme auf Flankenhaftung bzw. Risse und Setzungserscheinungen zu prüfen.

9.2.4.2 Abdichtung von Abgabeeinrichtungen und Fernfüllschränken

Der Sachverständige prüft, ob die Abgabeeinrichtungen und Fernfüllschränke gemäß den Bestimmungen des Abschnittes 5.2 ausgeführt sind. Er prüft bei den Tropfwannen oder Auffangwannen aus Stahl z.B.

9.2.5 Domschächte

(1) Die Bauausführungen mit bauaufsichtlichen Verwendbarkeitsnachweisen (z.B. Beschichtungen) sind gemäß den Bestimmungen für die Prüfungen durch Sachverständige in den bauaufsichtlichen Verwendbarkeitsnachweisen zu prüfen.

(2) Der Sachverständige prüft darüber hinaus die ordnungsgemäße Kennzeichnung des Domschachtdeckels mit Tragfähigkeit gemäß DIN EN 124 und vergleicht den Wert mit dem erforderlichen.

(3) Ferner prüft der Sachverständige bei Domschachtausführungen gemäß Abschnitt 5.3.2:

(4) Brauchen Domschächte und zugehörige Rohranschlüsse und Kabeldurchführungen nicht flüssigkeitsundurchlässig ausgeführt sein, prüft der Sachverständige, ob die in Abschnitt 5.3.1, Absatz 2 aufgeführten Bedingungen eingehalten sind.

9.2.6 Fernfüllschächte

Fernfüllschächte sind entsprechend den Bestimmungen der bauaufsichtlichen Verwendbarkeitsnachweise für die Prüfungen durch Sachverständige zu prüfen.

9.2.7 Rückhalteeinrichtungen im Entwässerungssystem

9.2.7.1 Zulaufleitungen in Rückhalteeinrichtungen im Entwässerungssystem (einschließlich der Verbindungsleitungen von Teilen der Rückhalteeinrichtungen im Entwässerungssystem)

(1) Der Sachverständige prüft die Übereinstimmung der Bauausführung mit dem Entwässerungsplan (z.B. Lage).

(2) Ferner prüft er, ob eine Bescheinigung des Einbaubetriebes über die Einhaltung der Festlegungen gemäß Abschnitt 5.4.2 vorliegt, insbesondere über:

(3) Sofern die Dichtheit der Zulaufleitung durch Sachverständige zu prüfen ist, hat die Prüfung gemäß DIN EN 1610 zu erfolgen.

(4) Bei der Prüfung nach DIN EN 1610 ist jeweils zu beachten, dass nach Erreichen eines Beharrungszustands bei Anwendung des Verfahrens "L" keine Druckänderung, bei Anwendung des Verfahrens "W" keine sichtbare Wasserstandsänderung erfolgen darf.

9.2.7.2 Rückhalteeinrichtungen im Entwässerungssystem außer Zulauf- und Verbindungsleitungen

(1) Rückhalteeinrichtungen im Entwässerungssystem sind gemäß den Bestimmungen der bauaufsichtlichen Verwendbarkeitsnachweise zu prüfen.

(2) Der Sachverständige prüft ferner

9.2.8 Prüfung der Sicherheitseinrichtungen

(1) Abgabeeinrichtungen einschließlich der dazugehörigen Schläuche sind visuell bei laufender Förderpumpe auf Dichtheit zu prüfen.

(2) Der Schutz gegen mechanische Beschädigung ist visuell auf ordnungsgemäßen Zustand und Position zu prüfen.

(3) Abfüll-Schlauch-Sicherungen (ASS) und Einrichtungen mit Aufmerksamkeitstaste und Not-Aus-Betätigung (ANA) sind gemäß VdTUV-Merkblatt 953 zu prüfen.

(4) Leckagesonden, Grenzwertgeber einschließlich deren Zuordnung zu den Lagerbehältern sowie Zapfventile sind gemäß der Vorgaben in den bauaufsichtlichen Verwendbarkeitsnachweisen zu prüfen.

9.3 Wiederkehrende Prüfung

9.3.1 Allgemeines

(1) Die Tankstelle ist durch Inaugenscheinnahme mit den Vorgaben aus den der Prüfung vor Inbetriebnahme oder der letzten wiederkehrenden Prüfung zugrunde ge legten Unterlagen zu vergleichen. Eine Ordnungsprüfung wird nur durchgeführt, wenn in dem Zeitraum seit der letzten Prüfung an der Tankstelle eine Änderung vorgenommen worden ist.

(2) Der Sachverständige prüft, ob die im letzten Prüfbericht gegebenenfalls vermerkten Maßnahmen zur Mängelbeseitigung durchgeführt worden sind.

(3) Bauausführungen oder einzelne Bestandteile (z.B. Fugen) mit bauaufsichtlichen Verwendbarkeitsnachweisen sind gemäß den dortigen Bestimmungen für die Prüfungen zu prüfen.

9.3.2 Wirkbereiche

Sofern in dem Zeitraum seit der letzten Prüfung eine Änderung bzgl. des Wirkbereiches vorgenommen worden ist, prüft der Sachverständige gemäß Abschnitt 9.2.2.

9.3.3 Größe und Ort des Rückhaltevermögens

Sofern in dem Zeitraum seit der letzten Prüfung eine Änderung bzgl. des Rückhaltevermögens vorgenommen worden ist, prüft der Sachverständige gemäß Abschnitt 9.2.3.

9.3.4 Abfüllflächen

Für andere als die nachfolgend geregelten Bauausführungen wird auf Abschnitt 9.3.1, Absatz 3 verwiesen.

9.3.4.1 Abfüllflächen aus Beton, Stahlbeton oder Spannbeton (Ortbeton)

Der Sachverständige prüft den ordnungsgemäßen Zustand der Dichtfläche durch Inaugenscheinnahme insbesondere

9.3.4.2 Abdichtung von Abgabeeinrichtungen und Fernfüllschränken

Der Sachverständige prüft den ordnungsgemäßen Zustand der Aufstellflächen und die vollständige Abdichtung der Kabelrohre und Rohrleitungen durch Inaugenscheinnahme.

9.3.5 Domschächte

(1) Der Sachverständige prüft den ordnungsgemäßen Zustand des Domschachtes und der Abdichtung der Kabel- und Rohrdurchführungen einschließlich der Leerrohre durch Inaugenscheinnahme.

(2) Für Bauausführungen oder einzelne Bestandteile mit bauaufsichtlichen Verwendbarkeitsnachweisen wird auf Abschnitt 9.3.1, Absatz 3 verwiesen.

9.3.6 Fernfüllschächte

Auf Abschnitt 9.3.1 Absatz 3 wird verwiesen.

9.3.7 Rückhalteeinrichtungen im Entwässerungssystem

9.3.7.1 Zulaufleitungen in Rückhalteeinrichtungen im Entwä sserungssystem (einschließlich der Verbindungsleitungen von Teilen der Rückhalteeinrichtungen im Entwässerungssystem)

Die Dichtheitsprüfung der Leitungen gemäß DIN EN 1610 ist wiederkehrend spätestens alle 5 Jahre analog zur erstmaligen Prüfung durchzuführen. Hierbei ist zu beachten, dass nach Erreichen eines Beharrungszustands bei Anwendung des Verfahrens "L" keine Druckänderung, bei Anwendung des Verfahrens "W" keine sichtbare Wasserstandsänderung erfolgen darf.

9.3.7.2 Rückhalteeinrichtungen im Entwässerungssystem außer Zulauf- und Verbindungsleitungen

Auf Abschnitt 9.3.1 Absatz 3 wird verwiesen.

9.3.8 Prüfung von Sicherheitseinrichtungen

Auf Abschnitt 9.2.8 wird verwiesen.

9.4 Prüfung bei Stilllegung

Es ist zu prüfen,

Literatur

Anforderungen an Abfüllanlagen für Tankstellen (Mai 1996): Länderarbeitsgemeinschaft Wasser, Kulturbuchverlag GmbH, Berlin

ATV-DVWK-a 400 (Juli 2000): Grundsätze für die Erarbeitung des ATV-DVWK-Regelwerkes

ATV-DVWK-Arbeitsblatt-a 780, Teil 1 (Dezember 2001): Technische Regel wassergefährdender Stoffe: Oberirdische Rohrleitungen, Rohrleitungen aus metallischen Werkstoffen

ATV-DVWK-Arbeitsblatt-a 780, Teil 2 (Dezember 2001): Technische Regel wassergefährdender Stoffe: Oberirdische Rohrleitungen, Rohrleitungen aus polymeren Werkstoffen

ATV-DVWK-a 786 (Entwurf April 2004): Technische Regel wassergefährdender Stoffe: Ausführung von Dichtflächen

Bauregellisten A, B und Liste C: DIBt Mitteilungen, Sonderheft Nr. 2 (August 2001) Deutsches Institut für Bautechnik, ERNST & SOHD Verlag GmbH, Berlin

Betriebsicherheitsverordnung (September 2002): Verordnung über Sicherheit und Gesundheitsschutz bei der Bereitstellung von Arbeitsmitteln und deren Benutzung bei der Arbeit, über Sicherheit beim Betrieb überwachungsbedürftiger Anlagen und über die Organisation de betrieblichen Arbeitsschutzes; BGBl. I, S. 3777

DAfStb-Heft 519 (2001): Beton beim Umgang mit wassergefährdenden Stoffen, Zweiter Sachstandsbericht mit Beispielsammlung, Deutsche' Ausschuss für Stahlbeton. Beuth Verlag, Berlin

DAfStb-Richtlinie (Oktober 2004): Betonbau beim Umgang mit wassergefährdenden Stoffen, Deutscher Ausschuss für Stahlbeton. Beuth Verlag, Berlin

DIN 1045 (Juli 1988): Beton und Stahlbeton; Bemessung und Ausführung DIN 1045-1 (Juli 2001): Tragwerke aus Beton, Stahlbeton und Spannbeton - Teil 1: Bemessung und Konstruktion

DIN 1045-2 (Juli 2001): Tragwerke aus Beton, Stahlbeton und Spannbeton - Teil 2: Beton; Festlegung, Eigenschaften, Herstellung und Konformität

DIN 1072 (Dezember 1985): Straßen- und Wegbrücken; Lastannahmen DIN 1986-30 (Februar 2003): Entwässerungsanlagen für Gebäude und Grundstücke - Teil 30: Instandhaltung

DIN 1999-100 (Oktober 2003): Abscheideranlagen für Leichtflüssigkeiten - Teil 100: Anforderungen für die Anwendung von Abscheideranlagen nach DIN EN 858-1 und DIN EN 858-2

DIN 6626 (September 1989): Domschächte aus Stahl für Behälter zur unterirdischen Lagerung wassergefährdender, brennbarer und nichtbrennbarer Flüssigkeiten

DIN 6627 (September 1989): Domschachtkragen für gemauerte Domschächte für Behälter zur unterirdischen Lagerung wassergefährdender, brennbarer und nichtbrennbarer Flüssigkeiten

DIN 18127 (November 1997): Baugrund - Untersuchung von Bodenproben - Proctorversuch

DIN 18134 (September 2001): Baugrund; Versuche und Versuchsgeräte - Plattendruckversuch

DIN 19537-2 (Januar 1988): Rohre und Formstücke aus Polyethylen hoher Dichte (PE-HD) für Abwasserkanäle und -leitungen; Technische Lieferbedingungen

DIN 19565-1 (März 1989): Rohre und Formstücke aus glasfaserverstärktem Polyesterharz (UP-GF) für erdverlegte Abwasserkanäle und -leitungen; geschleudert, gefüllt; Maße, Technische Lieferbedingungen

DIN EN 124 (August 1994): Aufsätze und Abdeckungen für Verkehrsflächen - Baugrundsätze, Prüfungen, Kennzeichnung, Güteüberwachung

DIN EN 206-1 (Juli 2001): Beton - Teil 1: Festlegung, Eigenschaften, Herstellung und Konformität

DIN EN 228 (März 2004): Kraftstoffe für Kraftfahrzeuge - Unverbleite Ottokraftstoffe - Anforderungen und Prüfverfahren

DIN EN 287-1 (Mai 2004): Prüfung von Schweißern; Schmelzschweißen -Teil 1: Stähle

DIN EN 288-1 (September 1997): Anforderung und Anerkennung von Schweißverfahren für metallische Werkstoffe - Teil 1: Allgemeine Regeln für das Schmelzschweißen

DIN EN 288-2 (Oktober 1997): Anforderung und Anerkennung von Schweißverfahren für metallische Werkstoffe -Teil 2: Schweißanweisung für das Lichtbogenschweißen

DIN EN 288-3 (Oktober 1997): Anforderung und Anerkennung von Schweißverfahren für metallische Werkstoffe - Teil 3: Schweißverfahrensprüfungen für das Lichtbogenschweißen von Stählen

DIN EN 288-5 (Oktober 1994): Anforderung und Anerkennung von Schweißverfahren für metallische Werkstoffe - Teil 5: Anerkennung durch Einsatz anerkannter Schweißzusätze für das Lichtbogenschweißen

DIN EN 288-6 (Oktober 1994): Anforderung und Anerkennung von Schweißverfahren für metallische Werkstoffe - Teil 6: Anerkennung aufgrund vorliegender Erfahrung

DIN EN 288-7 (August 1995): Anforderung und Anerkennung von Schweißverfahren für metallische Werkstoffe - Teil 7: Anerkennung von Normschweißverfahren für das Lichtbogenschweißen

DIN EN 288-8 (August 1995): Anforderung und Anerkennung von Schweißverfahren für metallische Werkstoffe - Teil 8: Anerkennung durch eine Schweißprüfung vor Fertigungsbeginn

DIN EN 590 (März 2004): Kraftstoffe Für Kraftfahrzeuge - Dieselkraftstoff - Anforderungen und Prüfverfahren

DIN EN 858-1 (Mai 2002): Abscheideranlagen für Leichtflüssigkeiten (z.B. Öl und Benzin) - Teil 1: Bau-, Funktions- und Prüfgrundsätze, Kennzeichnung und Güteüberwachung

DIN EN 858-2 (Oktober 2003); Abscheideranlagen für Leichtflüssigkeiten (z.B. Öl und Benzin) - Teil 2: Wahl der Nenngröße, Einbau, Betrieb und Wartung

DIN EN 1123-1 (März 1999): Rohre und Formstücke aus längsnahtgeschweißtem feuerverzinktem Stahlrohr mit Steckmuffe für Abwasserleitungen - Teil 1: Anforderungen, Prüfungen, Güteüberwachung

DIN EN 1401-1 (Dezember 1998): Kunststoff-Rohrleitungssysteme für erdverlegte drucklose Abwasserkanäle und -leitungen - Weichmacherfreies Polyvinylchlorid (PVC-U) - Teil 1: Anforderungen an Rohre, Formstücke und das Rohrleitungssystem

DIN EN ISO 1461 (März 1999): Durch Feuerverzinken auf Stahl aufgebrachte Zinküberzüge (Stückverzinken) - Anforderungen und Prüfungen

DIN EN 1610 (Oktober 1997): Verlegung und Prüfung von Abwasserleitungen und -kanälen

DIN EN 10025 (März 1994): Warmgewalzte Erzeugnisse aus unlegierten Baustählen; Technische Lieferbedingungen

DIN EN 10028-1 (September 2003): Flacherzeugnisse aus Druckbehälterstählen - Teil 1: Allgemeine Anforderungen

DIN EN 10028-2 (September 2003): Flacherzeugnisse aus Druckbehälterstählen - Teil 2: Unlegierte und legierte Stähle mit festgelegten Eigenschaften bei erhöhten Temperaturen

DIN EN 10028-3 (September 2003): Flacherzeugnisse aus Druckbehälterstählen - Teil 3: Schweißgeeignete Feinkornbaustähle, normalgeglüht DIN EN 10028-4 (September 2003): Flacherzeugnisse aus Druckbehälterstählen - Teil 4: Nickellegierte kaltzähe Stähle

DIN EN 10028-5 (September 2003): Flacherzeugnisse aus Druckbehälterstählen - Teil 5: Schweißgeeignete Feinkornbaustähle, thermomechanisch gewalzt

DIN EN 10028-6 (Oktober 2003): Flacherzeugnisse aus Druckbehälterstählen - Teil 6: Schweißgeeignete Feinkornbaustähle, vergütet

DIN EN 10088-2 (August 1995): Nichtrostende Stähle - Teil 2: Technische Lieferbedingungen für Blech und Band für allgemeine Verwendung

DIN EN 10088-2 Norm-Entwurf (Dezember 2001): Nichtrostende Stähle -Teil 2: Technische Lieferbedingungen für Blech und Band aus korrosionsbeständigen Stählen für allgemeine Verwendung und für das Bauwesen.

DIN EN 10204 (August 1995): Metallische Erzeugnisse -Arten von Prüfbescheinigungen

prEN 13108, Teil 6 (April2000): Asphalt-Anforderungen -Teil 6: Gussasphalt

DIN EN 14214 (November 2003): Kraftstoffe für Kraftfahrzeuge - Fettsäure-Methylester (FAME) für Dieselmotoren - Anforderungen und Prüfverfahren

DVWK-Regel TRwS 131: Technische Regel wassergefährdender Stoffe "Bestimmung des Rückhaltevermögens Ri", DVWK-Regeln zur Wasserwirtschaft, Heft 131/1996

Mitteilungen des DIBt 6/1998: Technische Regel für die Verwendung von linienförmig gelagerten Verglasungen, Ernst & Sohn Verlag GmbH, Berlin

Muster-VAwS (1. März 2001): Muster-Verordnung über Anlagen zum Umgang mit wassergefährdenden Stoffen und über Fachbetriebe, Länderarbeitsgemeinschaft Wasser - LAWa -, Geschäftsstelle der Länderarbeitsgemeinschaft Wasser

Prüfprogramm des DIBt: Asphalt für befahrbare Dichtkonstruktionen in LAU-Anlagen

Prüfprogramm des DIBt: Fertigteile aus FD- bzw. FDE-Beton für befahrbare Dichtkonstruktionen in LAU-Anlagen

Prüfprogramm des DIBt: Fertigbetonstein-Systeme aus FD- bzw. FDE-Beton für befahrbare Dichtkonstruktionen

Prüfprogramm des DIBt: Halbstarre Beläge für befahrbare Dichtkonstruktionen in LAU-Anlagen

RStO-01: Richtlinien für die Standardisierung des Oberbaues von Verkehrsflächen - RStO 86, Ausgabe 1986, ergänzte Fassung 1989, FGSV-Verlag GmbH, Köln, Nr. 990

TRbF 40: Tankstellen, Bundesarbeitsblatt, erste Fassung Februar 1996, zuletzt geändert Juni 2002

TRbF 60: Ortsbewegliche Behälter, Bundesarbeitsblatt, erste Fassung Juni 2002

TRwS 131 s. DVWK-Regel

TRwS 786 s. ATV-DVWK-a 786

VdTÜV-Merkblatt Tankanlagen 953 (März 1995): Anforderungen an Abfüll-Schlauch-Sicherungen (ASS) und Einrichtungen mit Aufmerksamkeitstaste und Not-Aus-Betätigung (ANA) und Richtlinie für die Prüfung von ASS und ANA, Verband der Technischen Überwachungs-Vereine e. V, Verlag TÜV Rheinland, Köln

WHG: Wasserhaushaltsgesetz, in der Fassung der Bekanntmachung vom 19. August 2002 (BGBl. I S. 3245, Stand: zuletzt geändert durch G. v. 6. Januar 2004, BGBl. I S. 2)

Zulassungsgrundsätze für Fugenabdichtungssysteme in LAU Anlagen; Teil 1 - Fugendichtstoffe (Mai 2001): Schriften des DIBt, Reihe B, Heft 16/1

Zulassungsgrundsätze für Fugenabdichtungssysteme in LAU Anlagen; Teil 2 - Fugenbänder (Mai 2001): Schriften des DIBt, Reihe B, Heft 16/2

.

  Merkblatt
"Eigenverbrauchstankstellen für Dieselkraftstoff und Biodiesel in der
Landwirtschaft mit einem Jahresverbrauch von maximal 40.000 l - wasserwirtschaftliche Anforderungen"
Anlage 2

Eine Eigenverbrauchstankstelle (EVT) dient zur Betankung betriebseigener Fahrzeuge und Geräte aus ortsfesten Behältern. Sie wird nur vom Betreiber oder von bei ihm beschäftigten Personen bedient.

Dieselkraftstoff (DK) und Biodiesel sind wassergefährdende Flüssigkeiten. DK ist der Wassergefährdungsklasse (WGK) 2, Biodiesel der WGK 1 zugeordnet. Zum Schutz der Gewässer werden an derartige Anlagen besondere Anforderungen gestellt.

Grundlage für dieses Arbeitsblatt sind die § § 19g bis 19l des Wasserhaushaltsgesetzes (WHG) und die "Verordnung über Anlagen zum Umgang mit wassergefährdenden Stoffen und über Fachbetriebe (Anlagenverordnung - VAwS)" vom 18. Januar 2006, zuletzt geändert durch Verordnung vom 30. September 2008 (GVBl S. 830).

1. Anwendungsbereich

Das Arbeitsblatt gilt für ortsfeste EVT für DK oder Biodiesel in der Landwirtschaft mit einem Jahresverbrauch von nicht mehr als 40.000 I außerhalb von Trinkwasser-, Heilquellenschutz sowie Überschwemmungsgebieten. Im Wirkbereich der EVT darf keine Lager- oder Abgabeeinrichtung für Benzin oder andere entzündliche Flüssigkeit vorhanden sein. Soweit nicht anders ausgeführt, gelten die Aussagen des Arbeitsblattes für Neuanlagen.

2. Errichtung einer EVT für DK oder Biodiesel

Eine EVT für DK oder Biodiesel besteht in der Regel aus einer Abfüllanlage (Abfüllplatz mit Zapfeinrichtungen) und einer Lageranlage (Lagerbehälter mit Zubehör).

Die Wahl des Standortes einer EVT hat wesentlichen Einfluss auf den erforderlichen Aufwand. Beispielsweise werden durch die Aufstellung der EVT in einem Gebäude, das die Anforderungen an den Brandschutz einhält (z.B. in einer Maschinenhalle) oder bei ausreichender Überdachung, Investitionen insbesondere für Entwässerungsmaßnahmen entbehrlich.

2.1 Formelle Anforderungen

Die EVT bedarf einer Anzeige nach Art. 37 Bayerisches Wassergesetz (BayWG) bei der zuständigen Kreisverwaltungsbehörde (KVB). Zusammen mit der Anzeige sind Unterlagen über die Lage, Ausführung, Anlagenteile, Materialien, Eignungsnachweise wie z.B. bauaufsichtliche Zulassungen, sowie Angaben über die Beseitigung des Niederschlagswassers etc. einzureichen. Ausgenommen von der Anzeigepflicht sind gemäß § 20 VAwS EVT mit einer oberirdischen Lagerkapazität bei DK 1.000 l, bei Biodiesel 100.000 l (Anlagen der Gefährdungsstufe A). Es empfiehlt sich aber, auch bei diesen Anlagen vorab mit der zuständigen Behörde (Fachkundige Stelle des LRA/der kreisfreien Stadt) Kontakt aufzunehmen und sich über die rechtlichen Maßgaben informieren zu lassen.

2.2 Anforderungen an die Errichtung

Anlagen zum Umgang mit wassergefährdenden Stoffen müssen bei den zu erwartenden Beanspruchungen standsicher und dicht sein. Sie müssen so gegründet, eingebaut und aufgestellt sein, dass Verlagerungen, Risse und Neigungen, welche die Sicherheit und Dichtheit der Anlagen gefährden können, ausgeschlossen sind.

Berechnung, Konstruktion und Herstellung der Lager- und Abfüllanlage und der dazugehörigen Anlagenteile müssen mindestens den allgemein anerkannten Regeln der Technik entsprechen.

2.3 Abfüllplatz

Der Abfüllplatz dient als Standplatz für das Fahrzeug, in dessen Betriebstank DK oder Biodiesel mit Hilfe der Zapfeinrichtung abgegeben wird. Er soll auch als Standplatz für den Tankwagen (TKW), der den Lagerbehälter mit DK/Biodiesel befällt, dienen.

Die zu befestigende Fläche des Abfüllplatzes besteht aus dem Wirkbereich zuzüglich der Fläche bis zur Abtrennung von anderen Flächen durch Gefälle, Rinnen oder (überfahrbare) Aufkantungen (z.B. Bordsteine). Der Wirkbereich von Abgabeeinrichtungen wird im Wesentlichen durch den mit dem Zapfschlauch horizontal bestrichenen Bereich (Zapfschlauchlänge) zuzüglich 1 m nach allen Seiten beschrieben.

Die Befestigung der Bodenfläche des Abfüllplatzes muss dauerhaft flüssigkeitsundurchlässig und flüssigkeits- und witterungsbeständig sein sowie den zu erwartenden mechanischen und dynamischen Belastungen durch Fahrzeuge standhalten. Die ordnungsgemäße Ausführung der Abfüllfläche muss nachweisbar sein (z.B. Lieferbeton).

Abfüllflächen sind gemäß den anerkannten Regeln der Technik zu planen, herzustellen und zu prüfen. Bei Abfüllflächen aus Beton sind die DIN EN 206 und die DIN 1045 zu beachten; ihre Eignung ist durch ein Übereinstimmungszeichen gemäß Nr. 15.32 Bauregelliste a Teil 1 nachzuweisen. Andere Werkstoffe wie z.B. Asphalt benötigen eine allgemeine bauaufsichtliche Zulassung und ein Übereinstimmungszeichen. Mögliche Bauweisen können Nr. 5.1.2 TRwS 781 und dem Zement-Merkblatt LB 11 (Download unter www. beton.org) entnommen werden.

Bei ausreichend überdachten Abfüllflächen oder solchen in einer geeigneten Halle wird empfohlen, diese mit einem leichten Gefälle zu einem Tiefpunkt auszuführen, um z.B. ausgelaufenen Kraftstoff oder abtropfendes Wasser leichter sammeln und entsorgen zu können. Domschächte, Zapfinseln, Entwässerungsrinnen und andere Einbauten sind flüssigkeitsundurchlässig an die Bodenbefestigung anzuschließen; dies gilt auch für Aufkantungen. Fugenmassen und Fugenbänder benötigen eine allgemeine bauaufsichtliche oder eine Europäische Technische Zulassung für den Anwendungsfall und ein Übereinstimmungs- oder CE-Zeichen.

Der vorstehende Absatz gilt nicht für Eigenverbrauchstankstellen mit einem Jahresverbrauch von weniger als 4.000 l. Bei diesen ist die Decke des Abfüllplatzes eben auszuführen.

2.4 Zapfeinrichtungen

Die Zapfsäule muss über flüssigkeitsdichten und beständigen Auffangwannen oder Ableitflächen aufgestellt werden, die so anzuordnen sind, dass Kraftstoff auf die flüssigkeitsdichte Fläche des Abfüllplatzes fließt und dort leicht erkannt, beseitigt und entsorgt werden kann. Unterhalb von Tropfblechen und Bodenwannen dürfen keine lösbaren Leitungsverbindungen (z.B. Flansche) angeordnet sein. Davon ausgenommen sind Saugleitungen zur Zapfsäule mit einer Flanschverbindung unmittelbar unter dem Tropfblech bzw. eine Bodenwannenöffnungen für Kabelrohre und Rohrleitungen sind, sofern sie nicht bereits mit vorgefertigten Rohrenden werkmäßig verschweißt sind, flüssigkeitsundurchlässig abzudichten.

Die Zapfeinrichtung, gegebenenfalls einschließlich des Behälters, muss im erforderlichen Umfang gegen mechanische Beschädigung, insbesondere durch Anfahren, geschützt sein.

Soll diese Zapfeinrichtung (auch) für Biodiesel verwendbar sein, ist auf die Verwendung geeigneter Werkstoffe der Zapfsäule (Dichtungen, Zapfschlauch) zu achten (siehe Kapitel 4).

Es sollten Zapfventile oder Zapfpistolen verwendet werden, die vor vollständiger Füllung des zu befüllenden Behälters selbsttätig schließen, sowie ein allgemeines bauaufsichtliches Prüfzeugnis und ein Übereinstimmungszeichen besitzen.

2.5 Entwässerung

2.5.1 Überdachte Bauweise

Auf eine Entwässerung kann verzichtet werden, wenn der Abfüllplatz ausreichend überdacht ist, d. h. die Überdachung allseitig um das 0,6-fache ihrer Höhe über den Rand des Abfüllplatzes hinaus reicht oder wenn der Abfüllplatz in einer Maschinenhalle untergebracht und der Boden flüssigkeitsundurchlässig ausgeführt ist. Auf die einschlägigen Vorschriften zum Brandschutz wird verwiesen.

2.5.2 Bauweise im Freien

Für die Entsorgung des anfallenden Niederschlagwassers bei EVT im Freien - d. h. bei nicht überdachten oder nicht genügend überdachten Abfüllplätzen - gibt es folgende Alternativen:

  1. Einleitung/Anschluss an die öffentliche Kanalisation,
  2. Sammlung in einem Sammelbehälter und Abfuhr zum kommunalen Bauhof, der in der Regel über einen Abscheider verfügt oder zur nächsten kommunalen Kläranlage (immer mit Zustimmung des Betreibers),
  3. Einleitung in die Güllegrube (in diesem Fall muss vorher das zuständige Landwirtschaftsamt befragt werden),
  4. Einleitung in ein ausreichend großes Gewässer (erlaubnispflichtig nach § § 2, 3 und 7 WHG durch das Landratsamt),
  5. Versickerung (erlaubnispflichtig nach § § 2, 3 und 7 WHG durch das Landratsamt).

Die Entwässerung muss in den Fällen a) und d) zwingend, in den Fällen c) und e) in begründeten Einzelfällen über einen Abscheider nach DIN EN 858 und DIN 1999-100 mit selbsttätigem Abschluss erfolgen. Die Anschlussleitungen sollten dabei technisch so ausgeführt sein, dass sie durch eine fachkundige Firma einer Dichtheitsprüfung unterzogen werden können (nach DIN 1986-30 bzw. DIN EN 1610).

2.5.3 Versickerung

Niederschlagswasser von der Abfüllfläche kann versickert werden, wenn

Zur Zulässigkeit der Versickerung am Standort kann das zuständige Wasserwirtschaftsamt (WWA) oder die KVB Auskunft geben. Dort ist die notwendige Erlaubnis für die Versickerung zu beantragen.

Die Versickerungsfähigkeit am Standort kann beim WWa oder bei der KVB erfragt oder hilfsweise selbst ermittelt werden. Dazu enthält der "Praxisratgeber für den Grundstückseigentümer, Regenwasserversickerung - Gestaltung von Wegen und Plätzen" (erhältlich als Download http://www.bestellen.bayern.de/shoplink/lfwwas 00157.htm) des ehemaligen Landesamtes für Wasserwirtschaft ab Seite 25 eine detaillierte Anleitung für einen Versickerungsversuch.

Die Versickerungsfläche muss als Mulde ausgebildet sein, deren Sohlfläche etwa 20 Prozent der zu entwässernden Flächen beträgt. Sie ist aus einer mindestens 30 cm dicken Schicht Mutter- oder Ackerboden herzustellen, die mit Gras dicht bewachsen sein muss. Durch den Bewuchs ist eine gute Durchlüftung und Durchlässigkeit auch auf längere Sicht gegeben. Die Fläche darf daher nicht überfahren werden. Die Böschung soll möglichst flach gestaltet werden. Ein Wasserstand von mindestens 30 cm muss in der Mulde sicher möglich sein.

Das Niederschlagswasser von der Abfüllfläche kann der Mulde breitflächig oder über eine Rohrleitung öder ein Gerinne zugeführt werden. Zur Rückhaltung von Leckagen wird empfohlen, die Abfüllfläche mit Aufkantungen oder Schwellen zu versehen, an den tiefer liegenden Seiten mit Rinnen zu umfassen und in der Zuleitung zur Versickerungsfläche einen Absperrschieber vorzusehen. Die Übergänge der Abfüllfläche zu den Aufkantungen/Schwellen und Rinnen sowie die Verbindungen der Rinnen zu den Rohrleitungen sind dicht und beständig auszuführen.

2.6 Lagerbehälter

In der Regel werden Behälter verwendet, die den einschlägigen technischen Normen entsprechen, z.B. bei Behältern aus Stahl: DIN 6608, 6616 und 6618. Bei Behältern aus anderen Werkstoffen (Kunststoffe, Beton) müssen entsprechende Eignungsnachweise z.B. in Form einer allgemeinen bauaufsichtlichen Zulassung und eines Übereinstimmungszeichens vorliegen. Insbesondere bei Kunststoffbehältern ist auf den zugelassenen Anwendungsbereich zu achten. Eine Zulassung allein für DK schließt z.B. eine Anwendung für Biodiesel aus, manche Behälter dürfen nicht im Freien verwendet werden.

Behälter mit mehr als 1.000 l Rauminhalt dürfen nur mit festen Leitungsanschlüssen und unter Verwendung eines Grenzwertgebers (mit allgemeiner bauaufsichtlicher Zulassung und Übereinstimmungszeichen) befüllt werden.

2.6.1 Oberirdische Lagerung

Lageranlagen mit Behältern mit < 1.000 l Gesamtrauminhalt sind im Regelfall oberirdisch. Sie können ohne Auffangvorrichtung auf einer flüssigkeitsundurchlässig befestigten Fläche (z.B. wu Beton) aufgestellt werden, wenn eine Überwachung mittels regelmäßiger Kontrollen stattfindet, die eine Beobachtung der Anlage und ihrer technischen Ausrüstung beinhaltet.

Bei Lageranlagen mit > 1.000 l Gesamt-Volumen kann der Betreiber wählen zwischen einem:

Bei GFK-Behältern bis 2.000 I Rauminhalt in Anlagen bis 10.000 I kann auf eine Auffangvorrichtung verzichtet werden, wenn die Behälter auf einer flüssigkeitsundurchlässigen Bodenplatte aufgestellt sind und am Aufstellungsort im Umkreis von 5 m keine Abläufe vorhanden sind.

Bei Aufstellung des Behälters im Freien wird in der Praxis die zweite Variante "doppelwandiger Behälter mit Leckanzeigegerät" bevorzugt. Die Behälter müssen unter Berücksichtigung der örtlichen Gegebenheiten gegen Anfahren durch Fahrzeuge und sonstige Beschädigungen von außen geschützt werden.

Bei Lagerung des DK in einwandigen Kunststoffbehältern im Gebäude können auch mehrere Behälter zu einer Batterieanlage zusammengeschlossen und in einer flüssigkeitsdichten Auffangvorrichtung aufgestellt werden. Sofern der Werkstoff für die Auffangvorrichtung nicht selbst ausreichend dicht und beständig ist, sind geeignete Abdichtungsmittel (mit allgemeiner bauaufsichtlicher Zulassung und Übereinstimmungszeichen) zu verwenden. Für die bauliche Ausführung der Auffangvorrichtung gibt es vielfältige Möglichkeiten und Materialien (z.B. Kunststofffolien, Beschichtungen, Stahl, Beton bestimmter Qualität und Ausführung, verbundene Systeme etc.).

Bei Aufstellung von einem oder mehreren Kunststoffbehältern z.B. einer Batterieanlage in einem geschlossenen Raum genügt zur Erkennung von Leckagen ein Abstand zu den Wänden der Auffangvorrichtung von 40 cm für zwei angrenzende, zugängliche Seiten; an den übrigen Seiten und untereinander muss der Abstand mindestens 5 cm betragen. Ein besonderer Bodenabstand ist nicht erforderlich.

Der Rauminhalt der Auffangvorrichtung muss dem Rauminhalt des in ihr aufgestellten Behälters entsprechen. Befinden sich mehrere Behälter in einer Auffangvorrichtung, muss wenigstens der Rauminhalt des größten Behälters zurückgehalten werden. Kommunizierende Behälter gelten als ein Behälter. Die Auffangvorrichtungen dürfen nicht anderweitig genutzt werden.

2.6.2 Unterirdische Lagerung

Unterirdische Lagerbehälter aller Volumina müssen doppelwandig ausgeführt sein. Sie müssen mit einem Leckanzeiger sowie mit einem Grenzwertgeber ausgerüstet sein, der während der Befüllung an den TKW anzuschließen ist. Leckanzeiger und Grenzwertgeber benötigen eine allgemeine bauaufsichtliche Zulassung und ein Übereinstimmungszeichen. Wird der Lagerbehälter über den Domschacht befällt, muss der Domschacht flüssigkeitsdicht und beständig ausgebildet werden. Dies ist erfüllt, wenn der Domschacht der DIN 6626 entspricht. Es sind jedoch auch noch andere Varianten von Auffangvorrichtungen für Domschächte mit allgemeiner bauaufsichtlicher Zulassung am Markt erhältlich. Die Hersteller der Behälter bieten in der Regel entsprechende Systeme an.

Rohr- und Kabeldurchführungen müssen flüssigkeitsundurchlässig abgedichtet werden. Die Domschächte dürfen keine Abläufe haben.

Die zugehörigen Schachtabdeckungen sind niederschlagswasserdicht auszuführen.

2.7 Rohrleitungen

Oberirdische Betriebsrohrleitungen sind gegen Außenkorrosion zu schützen, gegebenenfalls auch gegen mechanische Beschädigung (Anfahrschutz).

Unterirdische Betriebsrohrleitungen für DK oder Biodiesel sind hinsichtlich ihres technischen Aufbaues nur zulässig, wenn sie entweder

2.8 Betriebliche Maßnahmen

Bei den EVT ist Bindemittel in ausreichender Menge vorzuhalten. Ausgelaufener Kraftstoff - auch Tropfmengen - ist sofort mit Bindemittel aufzunehmen. Gebrauchte Bindemittel sind in einem dafür geeigneten Behältnis zu sammeln und einer ordnungsgemäßen Entsorgung zuzuführen.

Der Abfüllplatz ist durch den Betreiber regelmäßig eigenverantwortlich auf seinen ordnungsgemäßen Zustand zu kontrollieren. Bauliche Schäden sind umgehend zu beseitigen (z.B. Risse). Versickerungsbereiche sind, soweit vorhanden, regelmäßig zu kontrollieren.

Sicherheitseinrichtungen sind mindestens jährlich auf Funktionsfähigkeit zu kontrollieren.

Der Tankwagen soll bei Befüllung des Lagerbehälters so auf dem Abfüllplatz stehen, dass sich der Wirkbereich auf dem befestigten Abfüllplatz befindet.

Der Wirkbereich des Tankwagens beim Befüllen des Lagerbehälters ist die waagerechte Schlauchführungslinie zwischen den Anschlüssen am Tankfahrzeug und am Lagerbehälter zuzüglich 2,5 m nach allen Seiten.

Bei Entwässerung der Abfüllfläche mittels Versickerung ist der Zulauf zur Versickerungsfläche geeignet abzusperren, bevor der Tankwagen mit der Befällung des Lagerbehälters beginnt.

2.9 Fachbetriebspflicht

Bei Eigenverbrauchstankstellen mit einem Lagervolumen an DK von mehr als 10.000 l (Gefährdungsstufen C und D) besteht Fachbetriebspflicht. Bei der Planung und Ausführung auch kleinerer Anlagen sollte jedoch generell der Rat von Fachleuten eingeholt oder ein Fachbetrieb beauftragt werden.

3. Prüfung der Anlage durch Sachverständige

EVT mit oberirdischen Lagerbehältern bis 10.000 I Gesamt-Lagervolumen bedürfen keiner Prüfung durch einen anerkannten Sachverständigen nach § 19 Abs. 1 VAwS. Prüfpflichtig sind dagegen alle unterirdischen Anlagen oder Anlagenteile.

Diese Prüfungen sind fällig:

Im Rahmen der Prüfung kontrolliert der Sachverständige die Übereinstimmung der Anlage mit den einschlägigen Rechtsvorschriften und technischen Regeln. Gegebenenfalls vorhandene Versickerungsflächen überprüft er hinsichtlich Dimensionierung, Verschmutzung und Versickerungsfähigkeit.

4. Tankstellen für Biodiesel

Die Anforderungen an Tankstellen mit Kraftstoff pflanzlichen Ursprungs, dem Pflanzenmethylester (FAME, "Biodiesel"), können von denen einer "normalen" Diesel-Tankstelle abweichen. So kann z.B. der Abfüllplatz zum Betanken der Fahrzeuge bei reinen Biodiesel-Tankstellen oder bei Tankstellen, wo der Abfüllplatz für Biodiesel vom übrigen Abfüllplatz der Tankstelle gefällemäßig getrennt ist, im Einzelfall auch mit sandverfugten Formsteinen mit nicht mehr als 3 mm Fugenbreite ausgeführt werden. Dabei sollte jedoch beachtet werden, dass eine Umstellung auf einen anderen Kraftstoff erhebliche Umbaumaßnahmen des Abfüllplatzes zur Folge haben kann. Bei der Entwässerung gelten die gleichen Anforderungen wie bei DK (Nr. 2.5).

Geeignete Metalle für Biodiesel:

Während für DK alle gängigen Stahlsorten geeignet sind, sind bei Biodiesel nur einige dieser Stahlsorten verwendbar. Diese Stahlsorten sind in den einschlägigen Normen genannt und im Behälterbau üblich.

5. Verhalten beim Auslaufen von Kraftstoff

Ist eine nicht nur unerhebliche Menge an Kraftstoff ausgetreten (mehr als etwa 20 l) und in ein oberirdisches Gewässer, eine Abwasseranlage oder in den Boden eingedrungen, so ist dies unverzüglich der nächsten Polizeiinspektion oder der KVB anzuzeigen. Die Verpflichtung des Betreibers besteht bereits dann, wenn die ausgelaufene Menge den Verdacht einer Gewässerverunreinigung entstehen lässt.

Sofern ein Betreiber keine Fachkenntnisse hat, sollte er sich Rat bei Fachbetrieben oder Sachverständigen einholen.

Auch die Fachkundigen Stellen an den KVBs sind gem. bereit, gegebenenfalls sogar im Rahmen einer kostenlosen Ortseinsicht den Betreiber einer EVT fachspezifisch (Wasserrecht) zu beraten.

_____________
1) §§ der VAwS sind solche der Bayerischen Verordnung über Anlagen zum Umgang mit wassergefährdenden Stoffen und über Fachbetriebe (Anlagenverordnung - VAwS)
2) Es wird darauf hingewiesen, dass zur Inanspruchnahme von Erleichterungen für Eigenverbrauchstankstellen mit geringem Verbrauch gesetzliche Festlegungen in den jeweiligen Bundesländern erforderlich sind; vgl. das Bayerische Merkblatt "Eigenverbrauchstankstellen für Dieselkraftstoff und Biodiesel in der Landwirtschaft mit einem Jahresverbrauch von maximal 40.000 I - wasserwirtschaftliche Anforderungen."
3) in Bayern: Verordnung über Anlagen zum Umgang mit wassergefährdenden Stoffen und über Fachbetriebe (Anlagenverordnung - VAwS) vom 18. Januar 2006, zuletzt geändert durch Verordnung vom 30. September 2008 (GVBl S. 830)
4) vgl. § 4 Abs. 2 VAwS
5) Hinweis: Gemäß BetrSichV und TRbF 40 sind auch bei Eigenverbrauchstankstellen mit geringem Verbrauch besondere Anforderungen des Brand- und Explosionsschutzes zu beachten.
6) Abscheideranlagen (gemäß abwasserrechtlichen Vorschriften) werden auch für die Belange der VAwS genutzt. Um diesem Sachverhalt gerecht zu werden, wurde im Rahmen dieser Technischen Regel der von den abwassertechnischen Begriffen abweichende Ausdruck "Rückhalteeinrichtung im Entwässerungssystem" verwendet.
7) in Bayern: Anwendung der Bayerischen VAwS
8) Nr. 1.2 Anhang 2 VAwS
9) Wenn das Rückhaltevermögen im Ölspeichervolumen des Abscheiders verwirklicht wird, dienen die Abfüllfläche und Teile der Rückhalteeinrichtung im Entwässerungssystem lediglich der Ableitung der ausgetretenen Kraftstoffe.
10) Zum Redaktionsschluss lagen für Abscheideranlagen für Biodiesel allein und im Mischbetrieb mit anderen Kraftstoffen noch keine bauaufsichtlichen Verwendbarkeitsnachweise vor.
11) bzw. in der Übergangsfrist bis 12/2004 gemäß DIN 1045:1988-07, B 35 B II mit hohem Frosttaumittelwiderstand
12) bzw. in der Übergangsfrist bis 12/2004 gemäß DIN 1045:1988-07, B 35 B II mit hohem Frosttaumittelwiderstand
13) bzw. in der Übergangsfrist bis 12/2004 gemäß DIN 1045:1988-07, B 35 B 1I mit hohem Frosttaumittelwiderstand
14) Zum Redaktionsschluss lagen für Abscheideranlagen für Biodiesel allein und im Mischbetrieb mit anderen Kraftstoffen noch keine bauaufsichtlichen Verwendbarkeitsnachweise vor.
15) Zum Redaktionsschluss lagen für Zapfventile für Biodiesel noch keine bauaufsichtlichen Verwendbarkeitsnachweise vor.
16) Zum Redaktionsschluss lagen für Grenzwertgeber für Biodiesel noch keine bauaufsichtlichen Verwendbarkeitsnachweise vor.
17) Gemäß TRbF 40 ist die in den Teilbildern dargestellte Anordnung der Bodenabläufe nur bei Dieselkraftstoff und Biodiesel zulässig.
18) Gemäß TRbF 40 ist diese Lösung nur für Dieselkraftstoff und Biodiesel zulässig.
19) Für den flüssigkeitsdichten Verschluss sind allgemeine bauaufsichtliche Zulassungen in Vorbereitung.
20) § 3 Nr. 6 VAwS
21) Es ist möglich, dass sich daraus gegenüber den bisherigen abwassertechnischen Regelungen abweichende Kontroll- und Reinigungsfristen ergeben.

ENDE


umwelt-online - Demo-Version


(Stand: 18.03.2025)

Alle vollständigen Texte in der aktuellen Fassung im Jahresabonnement
Nutzungsgebühr: ab 105.- € netto

(derzeit ca. 7200 Titel s.Übersicht - keine Unterteilung in Fachbereiche)

Preise & Bestellung

Die Zugangskennung wird kurzfristig übermittelt

? Fragen ?
Abonnentenzugang/Volltextversion