Für einen individuellen Ausdruck passen Sie bitte die
Einstellungen in der Druckvorschau Ihres Browsers an.
Regelwerk, Technische Regeln, TRBS - TRGS - Arbeitsschutz

TRBS 3151/TRGS 751 - Vermeidung von Brand-, Explosions- und Druckgefährdungen an Tankstellen und Gasfüllanlagen zur Befüllung von Landfahrzeugen *
Technische Regeln für Betriebssicherheit/ Gefahrstoffe (TRBS/TRGS)

Vom 10. September 2015
(GMBl. Nr. 66 vom 30.11.2015 S. 1294; 10.10.2019 S. 1242aufgehoben)



Zur aktuellen Fassung

Archiv: 2012zur Gegenüberstellung zur aktuellen Fassung den linken Frame auf das gewünschte Format ziehen

(vgl. auch:
BGR 147 / DGUV Regel 108-002 - Sicherheit und Gesundheitsschutz bei der Arbeit an Tankstellen

DGUV Information 205-029 - Umgang mit Acetylenflaschen im Brandeinsatz
DGUV Information 205-030 - Umgang mit ortsbeweglichen Flüssiggasflaschen im Brandeinsatz)


Die Technischen Regeln für Betriebssicherheit (TRBS)/Gefahrstoffe (TRGS) geben den Stand der Technik, Arbeitsmedizin und Arbeitshygiene sowie sonstige gesicherte arbeitswissenschaftliche Erkenntnisse für die Bereitstellung und Benutzung von Arbeitsmitteln sowie für den Betrieb überwachungsbedürftiger Anlagen bzw. für Tätigkeiten mit Gefahrstoffen wieder.

Sie werden vom Ausschuss für Betriebssicherheit (ABS) und vom Ausschuss für Gefahrstoffe (AGS) ermittelt bzw. angepasst und vom Bundesministerium für Arbeit und Soziales im Gemeinsamen Ministerialblatt bekannt gegeben.

Diese TRBS/ TRGS konkretisiert im Rahmen des Anwendungsbereichs die Anforderungen der Betriebssicherheitsverordnung und der Gefahrstoffverordnung. Bei Einhaltung der Technischen Regel kann der Arbeitgeber insoweit davon ausgehen, dass die entsprechenden Anforderungen der Verordnungen erfüllt sind. Wählt der Arbeitgeber eine andere Lösung, muss er damit mindestens die gleiche Sicherheit und den gleichen Gesundheitsschutz für die Beschäftigten erreichen.

1 Anwendungsbereich

(1) Diese Technische Regel enthält Anforderungen an Montage, Installation und Betrieb von

  1. Gasfüllanlagen im Sinne von § 18 Absatz 1 Nummer 3 BetrSichV,
  2. Tankstellen im Sinne von § 18 Absatz 1 Nummer 6 BetrSichV und
  3. Betankungsanlagen im Sinne von § 18 Absatz 1 Nummer 8 BetrSichV

für Landfahrzeuge und dient dem Schutz Beschäftigter und anderer Personen vor Druck-, Brand- und Explosionsgefährdungen.

(2) Diese Technische Regel enthält auch die sicherheitstechnischen und organisatorischen Maßnahmen, die den vom Betrieb von Tankstellen und Gasfüllanlagen ausgehenden Brand- und Explosionsgefährdungen sowie Druckgefährdungen für Beschäftigte und andere Personen wirksam begegnen.

(3) Sie enthält auch Anforderungen an Anlagen zur Lagerung und Abfüllung anderer brennbarer Flüssigkeiten, wie Diesel, Altöl und Heizöl sowie Flüssiggas, einschließlich deren Lagerbehälter, soweit sie sich im engen räumlichen oder betrieblichen Zusammenhang mit Tankstellen oder Gasfüllanlagen befinden.

(4) Diese Technische Regel gilt nicht für Flugfeldbetankungsanlagen sowie für ortsbewegliche Tankstellen und Gasfüllanlagen.

(5) Anforderungen anderer Rechtsbereiche, wie Gewässerschutz, insbesondere die Regelungen in Wasserschutzgebieten, Immissionsschutz, insbesondere bei der Lagerung von Flüssiggas in Mengen ab drei Tonnen gemäß Bundes-Immissionsschutzgesetz, bleiben unberührt.

(6) In Ergänzung der in dieser Technischen Regel beschriebenen Schutzmaßnahmen können für bestimmte Anwendungsfälle spezifische Hilfestellungen herangezogen werden. Legt der Arbeitgeber die Schutzmaßnahmen durch Heranziehung einer spezifischen Hilfestellung fest, muss er sich davon überzeugen, dass dadurch das Schutzniveau dieser Technischen Regel erreicht wird.

(7) Diese Technische Regel enthält ausschließlich Ausführungen zu Brand- und Explosions- und Druckgefährdungen. Zu anderen Gefährdungen von Sicherheit und Gesundheitsschutz Beschäftigter und anderer Personen ist insbesondere die Gefahrstoffverordnung zu beachten.

2 Begriffsbestimmungen

(1) Als Betankungsanlagen im Sinne dieser Technischen Regel werden Bereiche bezeichnet, in denen Tankstellen für Landfahrzeuge im Sinne § 18 Absatz 14 Nummer 6 BetrSichV oder eine oder mehrere Gasfüllanlagen für Landfahrzeuge im Sinne § 18 Absatz 1 Nummer 3 BetrSichV einzeln oder in einem engen räumlichen oder sicherheitstechnischen Zusammenhang betrieben werden. Ein sicherheitstechnischer Zusammenhang liegt z.B. vor, wenn sich die Wirkbereiche bei der Betankung oder bei der Befüllung der Lagerbehälter überschneiden.

(2) Eine Betankungsanlage umfasst räumlich

  1. die Wirkbereiche der Abgabeeinrichtungen und die Wirkbereiche bei der Befüllung der Lagerbehälter einschließlich der zugehörigen Fernfüllschächte oder -schränke,
  2. die Domschächte unterirdischer Lagerbehälter, die Leichtflüssigkeitsabscheider, die Lager- und Speicherbehälter sowie zugehörige Anlagenteile, z.B. Lüftungsleitungen, Verdichter oder Rohrleitungen,
  3. die explosionsgefährdeten Bereiche,
  4. die Verkehrsfläche und Standplätze für die der Versorgung der Betankungsanlage dienenden Fahrzeuge (z.B. Tankfahrzeuge),
  5. die Verkehrsfläche für die zu betankenden Fahrzeuge,
  6. für öffentliche Betankungsanlagen zusätzlich die Verkehrsfläche für die An- und Abfahrt zu betankender Fahrzeuge von und zu öffentlichen Verkehrswegen einschließlich des Stauraumes.

(3) Abgabeeinrichtungen sind Einrichtungen zur Abgabe von Kraftstoffen und Betriebsstoffen gemäß Absatz 11 und 12. Dazu zählen insbesondere Zapfsäulen, Zapfgeräte und Kleinzapfgeräte. Abgabeeinrichtungen bestehen aus einem Armaturenteil (z.B. Zapfsäulengehäuse, Schlauchgehäuse), in dem die Förder- und Messeinrichtungen für flüssige und gasförmige Kraftstoffe und die Gasrückführeinrichtungen sowie die Zapf- und Füllschläuche untergebracht sind, und aus einem Elektronikgehäuse, in dem die elektrische Steuerung und die Mengen- und Preisanzeige untergebracht sind.

(4) Zapfsäulen sind Abgabeeinrichtungen, deren Bauteile von einem gemeinsamen Schutzgehäuse umgeben sind, das zur Bedienung nicht geöffnet wird.

(5) Zapfgeräte sind mit dem Erdboden oder dem Tank fest verbundene Abgabeeinrichtungen für Kraftstoffe, deren Förder- und Messeinheiten von einem Schutzgehäuse umgeben sein können, das zur Kraftstoffentnahme und gegebenenfalls zum Füllen und Peilen des Tanks geöffnet werden muss.

(6) Kleinzapfgeräte sind ortsbewegliche Abgabeeinrichtungen für flüssige Kraftstoffe mit Gefäßen und mit Förder- und Messeinrichtungen, die mit dem Gefäß fest verbunden sind.

(7) Wirkbereiche sind die Volumina, die beim Betanken von Fahrzeugen und beim Befüllen der Lagerbehälter von nicht bestimmungsgemäß austretendem Kraftstoff unmittelbar beaufschlagt werden können.

(8) Schutzabstände im Sinne dieser Technischen Regel sind die zwischen Anlagenteilen von Tankstellen und Gasfüllanlagen sowie zu benachbarten Anlagen, Einrichtungen, Gebäuden oder Verkehrsflächen einzuhaltenden Abstände, deren Zweck es ist, die Tankstellen oder Gasfüllanlagen vor einem Schadensereignis, wie Erwärmung infolge Brandbelastung oder mechanische Beschädigung zu schützen.

(9) Gaspendeleinrichtungen dienen der Rückführung der beim Befüllen der Lagerbehälter verdrängten Dampf-Luft-Gemische in den Transporttank.

(10) Gasrückführungseinrichtungen dienen der Rückführung der beim Betanken von Fahrzeugen verdrängten Dampf-Luft-Gemische in den Lagerbehälter.

(11) Kraftstoffe im Sinne dieser Technischen Regel sind

  1. flüssige Kraftstoffe, die entzündbar, leicht entzündbar oder extrem entzündbar sind (mit den Gefahrenhinweisen H226, H225 oder H224) und einen Flammpunkt ≤ 55 °C aufweisen (z.B. Ottokraftstoff, Ethanolkraftstoff),
  2. Flüssiggas und
  3. Erdgas.

(12) Betriebsstoffe sind an Tankstellen oder Gasfüllanlagen vorhandene Stoffe, die nicht Kraftstoffe gemäß Absatz 11 sind, wie

  1. entzündbare, leicht entzündbare oder extrem entzündbare Stoffe (z.B. Altöl unbekannter Herkunft, Flüssiggas als Brennstoff zu Heizzwecken),
  2. andere brennbare oder entzündbare flüssige Stoffe mit einem Flammpunkt > 55 °C (z.B. Heizöl, Diesel, Biodiesel); Diesel und Biodiesel gelten somit nicht als Kraftstoff im Sinne dieser Technischen Regel, sondern als Betriebsstoff; da in Anwendung von TRBS 2152 Teil 2/TRGS 722 Nummer 2.3.2 Absatz 2 bei den in Deutschland herrschenden Lager- und Abfülltemperaturen ein hinreichend sicherer Abstand zwischen diesen Temperaturen und dem Flammpunkt sicher gestellt und somit keine Explosionsgefahr zu erwarten ist,
  3. andere flüssige Stoffe ohne Flammpunkt oder die nichtbrennbar sind (z.B. wässrige Harnstofflösung "Ad-Blue").

(13) Kraftstoffe und Betriebsstoffe mit unterschiedlichen Gefahrenmerkmalen lassen sich wie folgt unterteilen:

  1. Kraftstoffe und Betriebsstoffe mit einem oberen Explosionspunkt <-4 °C (z.B. Ottokraftstoff),
  2. Kraftstoffe und Betriebsstoffe mit einem oberen Explosionspunkt ≥ -4 °C und einem Flammpunkt ≤ 55 °C (z.B. ethanolhaltiger Ottokraftstoff "E85"), Unter den in dieser Technischen Regel festgelegten Bedingungen der Handhabung und Lagerung in Tankstellen bewirken Flüssigkeiten mit einem Flammpunkt von mehr als 55 °C keine Explosionsgefahren, die Explosionsschutzmaßnahmen erfordern,
  3. Betriebsstoffe mit einem Flammpunkt > 55 °C (z.B. Diesel, Biodiesel),
  4. nichtbrennbare Betriebsstoffe (z.B. wässrige Harnstofflösung).

(14) Altöl wird unterschieden in Altöl bekannter Herkunft (z.B. aus nicht öffentlich zugänglichen Sammelbehältern) und unbekannter Herkunft (z.B. aus öffentlich zugänglichen Sammelbehältern).

(15) Lagerbehälter im Sinne dieser Technischen Regel sind unterirdische sowie ortsfeste oberirdische Tanks zur Lagerung flüssiger Kraftstoffe, Lagerbehälter für Flüssiggas sowie Speicher- und Pufferbehälter für Erdgas.

(16) Für die Begriffe explosionsfähige Atmosphäre, explosionsgefährdeter Bereich, Zone 0, Zone 1 und Zone 2 wird auf TRBS 2152/TRGS 720 verwiesen.

(17) Leckanzeigegeräte sind Einrichtungen für doppelwandige Tanks und doppelwandige Rohrleitungen sowie für einwandige Tanks mit Leckschutzauskleidung, die Undichtheiten (Lecks) in einer der beiden Wandungen selbsttätig anzeigen.

(18) Betrieb ohne Beaufsichtigung ist der Betrieb einer Tankstelle/Gasfüllanlage ohne Anwesenheit des Arbeitgebers oder Betreibers oder von eingewiesenen Beschäftigten des Arbeitgebers bzw. Betreibers.

(19) Räume im Sinne dieser Technischen Regel sind allseitig umschlossene Räume über oder unter Erdgleiche, die mit Fenstern und Türen zur Belüftung und Befahrung errichtet werden können.

3 Ermittlung und Bewertung von Gefährdungen

3.1 Ermittlung von Gefährdungen

(1) Nummer 3.1 gilt für die Ermittlung der Maßnahmen zur Bereitstellung, Montage, Installation, Benutzung und zum Betrieb von Tankstellen und Gasfüllanlagen im Rahmen der Gefährdungsbeurteilung gemäß TRBS 1111 und TRGS 400 zum Schutz von Beschäftigten und anderen Personen vor besonderen Gefahren durch Druck, Brände oder Explosionen.

(2) Insbesondere folgende Anlagenteile sind dabei zu berücksichtigen:

  1. Austrittsmündungen der Entlüftungs- und Entspannungsleitungen der Behälter für Kraftstoffe,
  2. Abgabeeinrichtungen für Kraftstoffe,
  3. Domschächte der Lagerbehälter für Kraftstoffe,
  4. Fernfüllschächte der Lagerbehälter für Kraftstoffe,
  5. Lagerbehälter für Kraftstoffe,
  6. Füllleitungen für Kraftstoffe,
  7. Entlüftungsleitungen, Gaspendel- und Gasrückführungsleitungen,
  8. Entnahmeleitungen für Kraftstoffe,
  9. Abscheideranlagen für Leichtflüssigkeiten,
  10. Schlammfang der Leichtflüssigkeitsabscheideranlage,
  11. Blitzschutzanlagen.

(3) Neben dem Normalbetrieb als bestimmungsgemäßer Betriebsweise der Tankstelle oder Gasfüllanlage und deren Anlagenteilen sind auch Betriebsstörungen sowie vorhersehbare Abweichungen vom Normalbetrieb (z.B. An- und Abfahrvorgänge, vorübergehende Stilllegung) zu berücksichtigen. Zum Normalbetrieb gehören insbesondere

  1. Füll-, Entleervorgänge,
  2. Reinigungsarbeiten,
  3. Probenahmen,
  4. Inspektions- und Wartungsarbeiten,
  5. Füll-, Umfüll- und Abfüllbetrieb,
  6. Prüfungen.

Betriebsstörungen sind u. a.:

  1. vernünftigerweise nicht auszuschließende Abweichungen vom Normalbetrieb, z.B. vorhersehbare Fehlbedienung,
  2. Versagen von sicherheitstechnisch bedeutsamen Mess-, Steuer- und Regelvorrichtungen,
  3. Rückströmung,
  4. Luft- oder Feuchtigkeitszutritt,
  5. Ausfall der Versorgung mit Energie, Roh- und Hilfsstoffen,
  6. unbeabsichtigte Freisetzung von Kraftstoffen aus Lagerbehältern, Rohrleitungen, Abgabeeinrichtungen,
  7. Defekte an mit Kraftstoffen oder deren Dämpfen gefüllten Bauteilen, z.B. Tanks, Rohrleitungen, Zapfventile.

(4) Ebenso sind vernünftigerweise nicht auszuschließende äußere Einflüsse auf eine Tankstelle oder Gasfüllanlage zu berücksichtigen (z.B. Gewitter).

3.2 Beispiele für typische Gefährdungen für Beschäftigte und andere Personen

Beispiele für typische Gefährdungen für Beschäftigte und andere Personen sind

Gefährdung auslösende Faktoren und Folgen
Anlagenbezogene Gefährdung
Freisetzung von Kraftstoffen Undichtigkeiten durch Korrosion oder Beschädigungen führen zu nicht bestimmungsgemäßen Freisetzungen und ggf. zur Bildung explosionsfähiger Atmosphäre, die zu Brand oder Explosion führen kann.
Freisetzung von Kraftstoffen Bei oberirdischer Lagerung Gefahr durch mechanische Beschädigung oder Brände in der Nähe.
Gefährdung durch Aufkonzentration von Dämpfen Eindringen von explosionsfähiger Atmosphäre in Kanalsysteme und Böden, wenn dies zu Brand oder Explosion führen kann.
Gefährdung durch fehlende Schutzabstände Mechanische Beschädigung,

Entzündung explosionsfähiger Atmosphäre,

Versagen der Behälterwandung durch Hitzeeinwirkung infolge von Bränden.

Gefährdung durch Fehlverhalten
Gefährdung durch Betankungsvorgänge nicht bestimmungsgemäßes Betanken,

Austretender Kraftstoff führt zur Bildung explosionsgefährlicher Atmosphäre,

Fehlverhalten von Beschäftigten oder anderen Personen aufgrund fehlender Unterweisung oder Beschilderung.

Gefährdungen beim Befüllen durch Tankfahrzeuge Austretender Kraftstoff führt zur Bildung explosionsgefährlicher Atmosphäre,

Überfüllen, fehlende Gaspendelung,

Fehlverhalten von Beschäftigten aufgrund fehlender Unterweisung oder Beschilderung.

Gefährdung durch Wechselwirkungen
gefährliche elektrische Ausgleichsströme Anlagenteile können gegen Erde elektrische Spannungen annehmen, die zur Entstehung zündfähiger Funken oder gefährlicher Korrosionen oder zur Gefährdung von Personen führen.
gefährliche elektrostatische Aufladungen Anlagenteile und Fahrzeuge können elektrostatische Aufladungen annehmen, die zu gefährlichen Entladungsvorgängen führen können.
Gewitter, Blitzeinschlag Anlagen und Personen können durch Blitzschlag gefährdet werden. (Ausfall der Schutzeinrichtungen, Berührspannungen).

Der Blitzeinschlag kann bei nicht ausreichenden Blitzschutzmaßnahmen Zündgefahren hervorrufen.

Gefährdung durch Brände Durch Brände von fremden Gegenständen oder Anlagen innerhalb oder in Nähe der Betankungsanlage (Müllbehälter, Staubsauger u. ä.) können zusätzliche Gefahren entstehen.
Fahrzeugverkehr Verkehrswidriges Verhalten.
Übertragung von Bränden und Explosionen Fehlende oder nicht wirksame brand- oder explosionsschutztechnische Entkopplung.

3.3 Bewertung von Gefährdungen

Die nach Nummer 3.1 und 3.2 ermittelten Gefährdungen sind in Übereinstimmung mit TRBS 1111 und TRGS 400 unter Beachtung entsprechender Ursachen zu bewerten. Beispielhaft können hierzu die nachfolgenden Kriterien herangezogen werden:

  1. Zugänglichkeit für Beschäftigte oder andere Personen,
  2. Aufstellung (Schutzabstände),
  3. Medieneigenschaften der Kraft- und Betriebsstoffe,
  4. technische Ausführung/technischer Zustand der Anlage und Anlagenteile,
  5. Ausrüstung der Anlage (z.B. mit Schutzeinrichtungen).

3.4 Maßnahmen

(1) Zum Schutz vor den ermittelten und bewerteten Gefährdungen sind Maßnahmen in folgender Rangfolge festzulegen und zu dokumentieren:

  1. technische Maßnahmen,
  2. organisatorische Maßnahmen (Betriebsanweisung, Anleitungen, Kennzeichnungen),
  3. persönliche Schutzmaßnahmen.

(2) Tankstellen, Gasfüllanlagen und deren Anlagenteile müssen bei Erprobung, Inbetriebnahme, Betrieb und Stillsetzung grundsätzlich innerhalb der vom Hersteller der Anlagenteile festgelegten Bedingungen verwendet werden.

Maßnahmen, die bei Betriebsstörungen, bei Umbauten oder Änderungen zu ergreifen sind, müssen festgelegt werden. Zur Erhaltung des Sollzustandes sind rechtzeitig die erforderlichen Maßnahmen zu treffen. Die Funktionsfähigkeit der für den sicheren Betrieb erforderlichen Anlagenteile ist durch entsprechende Wartung, Instandsetzung und Prüfung sicherzustellen.

(3) Die aus der Gefährdungsbeurteilung abgeleiteten Maßnahmen hinsichtlich Prüfungen im Rahmen der Bereitstellung und Benutzung von Tankstellen und Gasfüllanlagen und deren Anlagenteilen werden in der TRBS 1201 und TRBS 1201 Teil 1, Teil 2 und Teil 5 konkretisiert.

4 Bereitstellung der Tankstelle oder Gasfüllanlage und ihrer Anlagenteile

4.1 Planung und Konzeption der Tankstelle oder Gasfüllanlage

4.1.1 Grundsätzliches

(1) Bei der Festlegung der erforderlichen Maßnahmen zur Begegnung der zu erwartenden Druck-, Brand- und Explosionsgefahren als Ergebnis der Gefährdungsbeurteilung sind auch die Wechselwirkungen zwischen den verschiedenen Anlagenteilen (z.B. zwischen einer Tankstelle und einer Gasfüllanlage) zu berücksichtigen. Dies gilt beispielhaft als erfüllt, wenn für Montage, Installation und den gemeinsamen Betrieb von Tankstellen und Gasfüllanlagen in einer Betankungsanlage die Anforderungen dieser Technischen Regel eingehalten sind.

(2) Tankstellen und Gasfüllanlagen sind so zu errichten, dass Flucht- und Rettungswege oder öffentlich zugängliche Verkehrsfläche nicht eingeschränkt werden.

(3) Bei Tankstellen und Gasfüllanlagen mit besonderen Aufstellbedingungen, z.B. unterhalb von Räumen, die nicht nur dem vorübergehenden Aufenthalt von Personen dienen, sind die Aufstellbedingungen und Nutzungsverhältnisse dieser Räume (z.B. als Wohnraum) zu berücksichtigen und die im Einzelfall erforderlichen Maßnahmen in einem Sicherheitskonzept festzulegen.

(4) Tankstellen und Gasfüllanlagen müssen für die jeweilige Benutzung (z.B. Betankung) ausreichend beleuchtet sein. Die Beleuchtungsstärke muss an der Abgabeeinrichtung mindestens 100 lx betragen.

(5) Bei der Konzeption der Tankstelle oder Gasfüllanlage ist die Rangfolge der Explosionsschutzmaßnahmen gemäß Nummer 3 der TRBS 2152 Teil 2/TRGS 722 zu beachten.

(6) Explosionsgefährdete Bereiche dürfen sich grundsätzlich nicht auf benachbarte Grundstücksflächen und öffentliche Straßen erstrecken. Wenn sich Schutzabstände auf benachbarte Grundstücksflächen erstrecken oder dort vorhandene Einrichtungen (z.B. Brandschutzmauern) genutzt werden sollen, sind mit den Betroffenen diesbezügliche Absprachen zu treffen.

(7) Die Abfüllflächen zur Befüllung der Lagerbehälter sind so festzulegen, dass Rangierbewegungen der anliefernden Tankfahrzeuge möglichst vermieden werden. Dabei ist die Erfordernis eines schnellen Verlassens der Betankungsanlage durch die Tankfahrzeuge im Schadensfall zu beachten.

(8) Anlagen zur Lagerung von Altölen sind grundsätzlich nach den sicherheitstechnischen Anforderungen für Anlagen für extrem entzündbare Flüssigkeiten zu montieren, zu installieren und zu betreiben. Dies gilt nicht, wenn sichergestellt ist, dass nur Altöle bekannter Herkunft mit einem Flammpunkt > 55 °C gelagert werden und keine sicherheitstechnisch relevanten Wechselwirkungen mit der Betankungsanlage bestehen. Unter den in dieser Technischen Regel festgelegten Bedingungen der Handhabung und Lagerung an Betankungsanlagen bewirken Flüssigkeiten mit einem Flammpunkt > 55 °C keine Explosionsgefahren, die Explosionsschutzmaßnahmen erfordern.

(9) Bei der Auswahl von Geräten und Anlagenteilen für explosionsgefährdete Bereiche, die durch verschiedene Kraft- und Betriebsstoffe gebildet werden, sind die explosionsschutztechnischen Kenngrößen derjenigen Kraft- und Betriebsstoffe maßgeblich, aus denen sich die höchsten Anforderungen hinsichtlich Gerätegruppe, Gerätekategorie, Temperaturklasse und Explosionsgruppe ergeben.

(10) Auf der Basis einer Gefährdungsbeurteilung sind die Anforderungen an die sichere Funktion von Mess-, Steuer- und Regeleinrichtungen (MSR-Einrichtungen) mit Sicherheitsfunktionen zu ermitteln, festzulegen und zu dokumentieren. Sofern MSR-Einrichtungen mit Sicherheitsfunktionen erforderlich sind (z.B. Überfüllsicherung, Absicherung des maximalen Fülldrucks, Trockenlaufschutz, Anlagen-Aus) müssen diese die Anlage bei einer Störung selbsttätig in den sicheren Zustand überführen. Bei Druckgefährdungen wird auf TRBS 1201 Teil 2 Anhang 1 verwiesen.

4.1.2 Befehlseinrichtungen zum Abschalten

(1) Alle Fördereinrichtungen müssen durch eine Befehlseinrichtung stillgesetzt werden können. Dazu ist im Bereich der aufsichtführenden Stelle (z.B. an der Kasse) oder wenn keine Kasse vorhanden ist (z.B. bei Betankung durch eingewiesene Beschäftigte an einer Betriebstankstelle), an einem gefahrlos und frei zugänglichen Ort eine zentrale Einrichtung (Anlagen-Aus-Taster) zum sicheren Abschalten aller Pumpen oder Verdichter und zum Schließen der Ventile der Betankungsanlage vorzusehen (Anlagen-Aus). Diese Einrichtung muss jederzeit schnell und ungehindert erreichbar sein.

(2) Alle Abgabeeinrichtungen von Betankungsanlagen für unterschiedliche Kraft- und Betriebsstoffe, die von einer gemeinsamen aufsichtführenden Stelle beaufsichtigt werden, müssen im Gefahrenfall gemäß Absatz 1 gemeinsam abgeschaltet werden.

(3) Die Anlagen-Aus-Einrichtung gemäß Absatz 1 muss folgenden Anforderungen genügen:

  1. rot/gelbe Kennzeichnung des Tasters,
  2. Verschaltung im Ruhestromprinzip,
  3. zwangsöffnende Kontakte,
  4. kein Selbstanlauf durch einfache Rückstellung des Tasters, z.B. von einer vom Not-Aus-Taster getrennten Stelle oder durch Schlüsselfunktion,
  5. Absicherung des Laststromkreises des Pumpen- bzw. Not-Aus-Schützes für die max. mögliche Zahl von Pumpen, die gleichzeitig laufen können,
  6. Schütze in der Gebrauchskategorie AC-3 nach DIN EN 60947-4-1:2014-02.

(4) Wenn sich im Ergebnis der Gefährdungsbeurteilung für bestimmte Kraftstoffe (z.B. Erdgas, Wasserstoff) die Notwendigkeit besonderer Anforderungen an die Anlagen-Aus-Einrichtung ergeben, sind die sich daraus ergebenden Maßnahmen umzusetzen. Können die in Absatz 3 genannten Anforderungen an die Anlagen-Aus-Einrichtung gemäß Absatz 1 nicht vollständig erfüllt werden, ist dies bei der Festlegung der Prüffristen der Anlagen-Aus-Funktion gemäß dem Ergebnis der Gefährdungsbeurteilung zu berücksichtigen und die Frist entsprechend zu verkürzen (z.B. öfter als einmal jährlich).

4.1.3 Zusätzliche Anforderungen bei Betrieb ohne Beaufsichtigung

(1) Bei Betrieb ohne Beaufsichtigung darf die Abgabe von flüssigem Kraftstoff nur aus Abgabeeinrichtungen erfolgen, die eine maximale Abgabemenge von 90 L Kraftstoff pro Betankungsvorgang freigeben. Für Flüssiggas und Erdgas wird auf Nummer 4.1.6 Absatz 4 verwiesen. Satz 1 gilt nicht für Diesel oder andere Betriebsstoffe, da diese kein Kraftstoff im Sinne dieser TRBS/TRGS sind. Für diese Stoffe ergibt sich eine Begrenzung der Austrittsmenge aus wasserrechtlichen Regelungen.

(2) Für Befehlseinrichtungen zum Abschalten von Abgabeeinrichtungen für flüssige Kraftstoffe wird auf Nummer 4.1.2 verwiesen.

(3) An Abgabeeinrichtungen für Flüssiggas muss eine Einrichtung ohne Selbsthaltung (z.B. elektrische Drucktaste an der Zapfsäule) mit Wirkung auf die Kraftstoffpumpe und das Schnellschlussventil gemäß Nummer 4.2.6 Absatz 3 vorhanden sein. Ein Anlagen-Aus-Taster gemäß Nummer 4.1.2 muss vorhanden sein.

(4) An Abgabeeinrichtungen für Erdgas muss ein Anlagen-Aus-Taster gemäß Nummer 4.1.2 vorhanden sein.

(5) Zur Meldung von Störungen oder Schäden muss bei Betrieb ohne Beaufsichtigung eine Einrichtung vorhanden sein, bei deren Betätigung eine Gegensprechverbindung zu einer ständig besetzten Stelle, z.B. zum Arbeitgeber bzw. Betreiber oder einer von ihm beauftragten und eingewiesenen Stelle, hergestellt wird. Den Störungen oder Schäden ist in einem jeweils angemessenen Zeitraum zu begegnen. Diesbezügliche Festlegungen (z.B. hinsichtlich erforderlicher Eingriffszeiten) sind unter Berücksichtigung etwaiger Störungs- bzw. Schadensszenarien im Rahmen der Gefährdungsbeurteilung zu treffen (siehe TRBS 1111 Nummer 1.2).

(6) Der für den Betrieb ohne Beaufsichtigung nach den Absätzen 2 bis 4 vorgesehene Anlagen-Aus-Taster (für Anforderungen an den Anlagen-Aus-Taster siehe Nummer 4.1.2) muss leicht erkennbar und jederzeit schnell und ungehindert erreichbar sein. Eine Abdeckung des Anlagen-Aus-Tasters, die dessen Erkennbarkeit und Zugänglichkeit nicht beeinträchtigt, ist zulässig.

(7) Bei Aktivierung der Anlagen-Aus-Einrichtung einer Betankungsanlage mit oberirdischen Lagerbehältern mit oberirdischen freiliegenden Rohrleitungen oder mit druckversorgten Abgabeeinrichtungen muss eine automatische Meldung an eine ständig besetzte Stelle, z.B. an den Arbeitgeber bzw. Betreiber oder eine von ihm beauftragte und eingewiesene Stelle erfolgen. Den der Meldung zugrunde liegenden Störungen oder Schäden ist in einem jeweils angemessenen Zeitraum zu begegnen. Diesbezügliche Festlegungen (z.B. hinsichtlich erforderlicher Eingriffszeiten) sind unter Berücksichtigung etwaiger Störungs- bzw. Schadensszenarien im Rahmen der Gefährdungsbeurteilung zu treffen (siehe TRBS 1111 Nummer 1.2).

4.1.4 Anordnung der Lagerbehälter und Behälter zur Lagerung von Betriebsstoffen

4.1.4.1 Allgemeines

(1) Zur Gewährleistung eines sicheren Betriebs (durch nicht eingewiesene Personen) muss der Arbeitgeber bzw. Betreiber dafür sorgen, dass die Lagerbehälter sowie Behälter zur Lagerung von Betriebsstoffen dauerhaft gegen mechanische Einwirkungen und unzulässige Erwärmung geschützt sind. Dabei sind für die Lagerung von Kraft- und Betriebsstoffen die folgenden Faktoren zu berücksichtigen:

  1. Beschädigung der Lagerbehälter sowie Behälter zur Lagerung von Betriebsstoffen durch Anfahren:
    Oberirdische Lagerbehälter sowie Behälter zur Lagerung von Betriebsstoffen sind durch einen Schutzabstand zu den Ein- und Ausfahrtsbereichen, die von einer öffentlichen Straße zu den Abgabeeinrichtungen für Kraftstoffe führen, zu schützen. Die Größe des Abstands sowie die Notwendigkeit eines zusätzlichen oder ersetzenden Anfahrschutzes sind zu ermitteln. Dabei sind die Aufstellbedingungen, z.B. das zu erwartende Verkehrsaufkommen in der Nähe der Lagerbehälter, die Art, die Masse, die Geschwindigkeit und Fahrtrichtung der dort verkehrenden Fahrzeuge, zu berücksichtigen.
  2. Beschädigung der Lagerbehälter und Behälter zur Lagerung von Betriebsstoffen sowie unbeabsichtigte Freisetzung von Kraftstoffen durch Brand und Unterfeuerung:
    Die Beeinträchtigung der Festigkeit der Lagerbehälter sowie Behälter zur Lagerung von Betriebsstoffen durch einen Brand außerhalb der Betankungsanlage sowie auf der Betankungsanlage und durch Unterfeuerung ist zu berücksichtigen.
  3. Veränderung der explosionsschutzrelevanten Parameter durch Umgebungseinflüsse:
    Die Erwärmung der Lagerbehälter sowie Behälter zur Lagerung von brennbaren oder entzündbaren Betriebsstoffen durch Sonneneinstrahlung ist bei der Festlegung explosionsgefährdeter Bereiche und deren Ausdehnung zu berücksichtigen.
  4. Schutz oberirdischer Lagerbehälter gegen Eingriffe Unbefugter, z.B. durch Umfriedung oder Einschluss der Armaturen.

(2) Absatz 1 Nr. 1 und 2 gilt als erfüllt, wenn Kraftstoffe

  1. in unterirdischen Lagerbehältern mit einer allseitigen Erddeckung von mindestens 1 m,
  2. oberirdisch nach den Anforderungen der Absätze 3 bis 6, wobei Wechselwirkungen bei der Zusammenlagerung verschiedener Kraftstoffe oder Kraftstoffe mit unterschiedlichen Gefahrenmerkmalen sowie mit Betriebsstoffen zusätzlich zu berücksichtigen sind, oder
  3. in einer Einhausung, die
    1. feuerbeständig gegen angrenzende Räume,
    2. feuerhemmend gegen die Umgebung ausgeführt,
    3. mit einem Anfahrschutz gemäß Absatz 1 Nr. 1 versehen ist,
    4. einer maximalen Lagermenge von < 3 t Flüssiggas oder 100 m3 flüssiger Kraftstoffe, wobei flüssige Kraftstoffe, Flüssiggas und Erdgas in einer Einhausung nicht zusammen gelagert werden dürfen,

gelagert werden. Satz 1 gilt sinngemäß auch für Behälter zur Lagerung von entzündbaren und brennbaren Betriebsstoffen, die Bestandteil der Betankungsanlage sind. Für unterirdische Lagertanks für flüssige Kraftstoffe, die vor dem 17. Oktober 2012 rechtmäßig betrieben wurden, gilt abweichend von Ziffer 1 eine allseitige Erddeckung von 0,8 m als ausreichend.

(3) Absatz 2 Nr. 2 gilt für flüssige Kraftstoffe als erfüllt, wenn

  1. nur doppelwandige Lagerbehälter mit Leckanzeigegerät zur Lagerung verwendet werden,
  2. der Lagerbehälter mindestens 5 m von Abgabeeinrichtungen, Gebäuden, benachbarten Grundstücken oder Verkehrsflächen entfernt ist (Schutzabstand), wobei sich die explosionsgefährdeten Bereiche nicht auf Verkehrsflächen oder sonstige, insbesondere durch andere Personen genutzte Flächen erstrecken dürfen. Alternativ dürfen diese Abstände verringert werden, wenn der Lagerbehälter durch jeweils eine feuerhemmende Wand von den Abgabeeinrichtungen, Gebäuden, benachbarten Grundstücken oder Verkehrsflächen getrennt oder durch eine geeignete Brandschutzisolierung geschützt ist, welche die Gefährdung in gleicher Weise verhindern wie der Schutzabstand. Breite und Höhe der feuerhemmenden Wand sowie die Dicke und Art der Brandschutzisolierung ist in einer brandschutztechnischen Bemessung festzulegen.
  3. die Gesamtlagermenge flüssiger Kraftstoffe < 4.000 Liter ist,
  4. kein anderer Kraftstoff oder Betriebsstoff gemäß Nummer 2 Absatz 12 Nr. 1 und 2 in den Wirkbereichen gemäß Nummer 4.1.7 sowie in den Abstandsflächen nach den Absätzen 3 bis 5 oberirdisch gelagert wird,
  5. ein Abstand oder Anfahrschutz gemäß Absatz 1 Nr. 1 vorhanden ist,
  6. eine Aufkantung zur Verhinderung des Unterfließens des Lagerbehälters durch auslaufenden Kraftstoff vorhanden ist,
  7. der Lagerbehälter durch z.B. eine Sicherheitseinrichtung gegen Aushebern geschützt ist und
  8. alle Anschlüsse von oben in den Lagerbehälter münden.

(4) Absatz 2 Nr. 2 gilt für Erdgas als erfüllt, wenn:

  1. die Speicherbehälter nur mit einem frei belüfteten Witterungsschutz umgeben sind,
  2. die Gesamtlagermenge kleiner 3 t ist,
  3. kein anderer Kraftstoff oder Betriebsstoff gemäß Nummer 2 Absatz 12 Nr. 1 und 2 in den Wirkbereichen gemäß Nummer 4.1.7 sowie in den Abstandsflächen nach den Absätzen 3 bis 5 oberirdisch gelagert wird,
  4. ein Anfahrschutz gemäß Absatz 1 Nr. 1 vorhanden ist,
  5. eine Aufkantung zur Verhinderung des Unterfließens des Speicher- oder Pufferbehälters durch auslaufenden Kraftstoff vorhanden ist und
  6. die Speicher- oder Pufferbehälter mindestens 5 m von Abgabeeinrichtungen, Gebäuden, benachbarten Grundstücken oder Verkehrsflächen (Schutzabstand) entfernt sind. Der Abstand von 5 m darf verringert werden, wenn die Speicherbehälter durch jeweils eine feuerhemmende Wand von den Abgabeeinrichtungen, Gebäuden, benachbarten Grundstücken oder Verkehrsflächen getrennt sind, welche die Gefährdung in gleicher Weise verhindern wie der Schutzabstand, und aus Sicherheitseinrichtungen gegen Drucküberschreitung austretendes Erdgas gefahrlos frei nach oben abströmen kann. Breite und Höhe der feuerhemmenden Wand sowie die Dicke und Art der Brandschutzisolierung ist in einer brandschutztechnischen Bemessung festzulegen.

(5) Absatz 2 Nr. 2 gilt für Flüssiggas als erfüllt, wenn:

  1. eine Aufkantung zur Verhinderung des Unterfließens des Lagerbehälters durch auslaufenden Kraftstoff vorhanden ist,
  2. ein Anfahrschutz gemäß Absatz 1 Nr. 1 vorhanden ist,
  3. die Gesamtlagermenge kleiner 3 t ist,
  4. kein anderer Kraftstoff oder Betriebsstoff gemäß Nummer 2 Absatz 12 Nr. 1 und 2 in den Wirkbereichen gemäß Nummer 4.1.7 sowie in den Abstandsflächen nach den Absätzen 3 bis 5 oberirdisch gelagert wird,
  5. aus Sicherheitseinrichtungen gegen Drucküberschreitung austretendes Flüssiggas gefahrlos frei nach oben abströmen kann und
  6. der Lagerbehälter mindestens 5 m von Brandlasten in der Umgebung des Behälters, zu benachbarten Grundstücken und von öffentlichen Verkehrswegen (Schutzabstand) entfernt ist. Als Brandlasten gelten zum Beispiel:
    1. Parkflächen für Kraftfahrzeuge,
    2. Verkehrsflächen auf der Betankungsanlage, auch die für die An- und Abfahrt zu betankender Fahrzeuge,
    3. Gebäude mit Brandlasten.
  7. Der Abstand von 5 m darf verringert werden, wenn der Lagerbehälter durch eine feuerhemmende Wand von den Brandlasten, von benachbarten Grundstücken sowie von öffentlichen Verkehrswegen getrennt oder durch eine geeignete Brandschutzisolierung geschützt ist, welche die Gefährdung in gleicher Weise verhindern wie der Schutzabstand.
  8. Der Abstand von 5 m zwischen Lagerbehälter und der Verkehrsfläche für die zu betankenden Fahrzeuge darf verringert werden, wenn
    1. ein gefährlicher Wärmeeintrag in den Lagerbehälter durch die Ausführung der zugehörigen Abgabeeinrichtung als Zapfsäule oder als Zapfgerät mit einem metallischen Schutzgehäuse, deren Anordnung an der Stirnseite des Lagerbehälters und der Ausrichtung dieser Stirnseite des Lagerbehälters zur Verkehrsfläche vermieden ist,
    2. nur Fahrzeuge mittels geschlossenem System betankt werden und
    3. der Tankvorgang nur beaufsichtigt erfolgt.

    Abweichend darf bei ausschließlich innerbetrieblich verwendeten Gasfüllanlagen der Abstand von 5 m verringert werden, wenn in einem Brandschutzkonzept entsprechende Brandschutzmaßnahmen vorgesehen sind und die Gasfüllanlagen in einem für andere Personen nicht nutzbaren Verkehrsbereich liegen und ausschließlich von unterwiesenen Beschäftigen benutzt werden.

  9. die explosionsgefährdeten Bereiche nach Nummer 4.1.10.3 Absatz 7 sich nicht auf benachbarte Grundstücke, soweit diese nicht zur Betankungsanlage gehören, auf benachbarte Verkehrsflächen sowie auf öffentliche Verkehrswege oder sonstige, insbesondere durch andere Personen genutzte Flächen erstrecken. Abweichend davon darf sich der explosionsgefährdete Bereich um die Lagerbehälter, der durch die Befüllung des Lagerbehälters begründet ist, auf innerbetriebliche Verkehrsflächen erstrecken, wenn während der Befüllung das Betreten durch Unbefugte und das Durchfahren dieser innerbetrieblichen Verkehrsfläche durch geeignete Maßnahmen unterbunden, z.B. durch fachkundige Aufsicht (z.B. TKW-Fahrer), oder abgesperrt ist.

(6) Die Abstandsflächen nach den Absätzen 3 bis 5 sind von Stoffen freizuhalten, die ihrer Art oder Menge nach geeignet sind, zur Entstehung oder Ausbreitung von Bränden zu führen. Nicht zu solchen Stoffen gehören flüssige Kraftstoffe oder Flüssiggas, wenn sie sich in unterirdischen Lagerbehältern mit einer Erddeckung von mindestens 1 m befinden, wenn sich die Domschächte der Flüssiggaslagerbehälter außerhalb der Abstandsflächen befinden oder die Abdeckungen der Domschächte aus nicht brennbaren Baustoffen ausgeführt und hinsichtlich der zu schützenden Lagerbehälter im Brandfall gewährleisten, dass die zulässigen Betriebsbedingungen des Lagerbehälters nicht überschritten werden.

4.1.4.2 Unterirdische Lagerung

Unterirdische Lagerbehälter müssen so eingebaut sein, dass schädliche Wechselwirkungen untereinander, mit Behältern zur Lagerung von Betriebsstoffen, mit benachbarten Grundstücken sowie mit öffentlichen Versorgungsleitungen vermieden werden. Dies ist z.B. erfüllt, wenn eine Erddeckung von mindestens 1 m und soweit zutreffend ein Abstand von mindestens 0,4 m zwischen den Lagerbehältern bzw. Behältern zur Lagerung von Betriebsstoffen und mindestens 1 m zu Gebäuden und zu Grundstücken, die nicht zur Betankungsanlage gehören, und zu öffentlichen Versorgungsleitungen realisiert ist. Abweichend von Satz 2 dürfen unterirdische Lagerbehälter für Flüssiggas, die nicht überfahren werden können, mit einer Erddeckung von mindestens 0,5 m abgedeckt werden. Die Wechselwirkung unterirdischer Tanks und Rohrleitungen mit kathodischem Korrosionsschutz ( KKS) zu solchen ohne KKS ist zu beachten.

4.1.4.3. Oberirdische Lagerung

(1) Lagerbehälter sowie Behälter zur Lagerung von Betriebsstoffen nach Nummer 2 Absatz 12 Nr. 1 und 2 und ihre Stahlstützen oder Standzargen müssen, falls in der Umgebung eine Brandlast besteht, vor dieser geschützt sein. Dabei ist abhängig von der aus der Brandlast resultierenden Wärmeeinwirkung auf den Behälter zu ermitteln, welche Brandschutzmaßnahmen erforderlich sind. Es muss durch bauliche Maßnahmen verhindert sein, z.B. durch eine Mauer oder eine Überhöhung, dass brennbare Stoffe unter den Lagerbehälter oder in den Domschacht benachbarter unterirdischer Lagerbehälter gelangen können.

(2) Eine Brandlast kann bestehen, wenn in der Umgebung der Lagerbehälter sowie Behälter zur Lagerung von Betriebsstoffen nach Nummer 2 Absatz 12 Nr. 1 und 2

  1. brennbare Stoffe gelagert oder abgestellt werden oder
  2. brandgefährliche Objekte, z.B. frei belüftete Behälter mit brennbaren Flüssigkeiten, Gebäude aus brennbaren Baustoffen, vorhanden sind.

Eine Brandlast besteht nicht, wenn z.B. nur brennbare Kleinteile vorhanden sind, wie Kabelumhüllungen, Schutzkästen, Wärmedämmungen von Rohrleitungen, Holzzäune.

(3) Lagerbehälter müssen so errichtet und betrieben werden, dass sie gegen gefährlichen Wärmeeintrag durch Selbstbefeuerung geschützt sind.

4.1.4.4 Domschächte, Einsteigeöffnungen

(1) Lagerbehälter und deren Armaturen müssen für Prüfung und Instandhaltung zugänglich sein.

(2) Domschächte unterirdischer Lagerbehälter müssen dazu so geräumig sein, dass alle Anschlüsse zugänglich sind und die erforderlichen Arbeiten und Prüfungen im Schacht unbehindert durchgeführt werden können.

(3) Domschächte unterirdischer Lagerbehälter müssen unfallsicher abgedeckt sein. Die Schachtabdeckungen müssen den zu erwartenden Belastungen (z.B. Fußgänger, Fahrzeugverkehr) standhalten.

4.1.5 Anordnung von Fernfüllschächten und Fernfüllschränken

(1) Fernfüllschächte und -schränke für Kraftstoffe dürfen sich nur im Wirkbereich anderer Kraftstoffe befinden, wenn die darin befindlichen Einrichtungen auch für die anderen Kraftstoffe entsprechend explosionsgeschützt ausgeführt sind.

(2) Fernfüllschächte und -schränke für Betriebsstoffe mit einem Flammpunkt > 55 °C und nichtbrennbarer Betriebsstoffe dürfen sich nur im Wirkbereich von flüssigen Kraft- oder Betriebsstoffen mit einem Flammpunkt ≤ 55 °C oder Flüssiggas befinden, wenn die darin befindlichen Einrichtungen explosionsgeschützt ausgeführt sind.

(3) Von in öffentlich zugänglichen Bereichen befindlichen Fernfüllschächten oder -schränken abgehende Rohrleitungen sind grundsätzlich unterirdisch zu verlegen.

4.1.6 Anordnung von Abgabeeinrichtungen

(1) Bei der kombinierten Anordnung von Abgabeeinrichtungen für verschiedene Kraft- und Betriebsstoffe oder der Anordnung von Abgabeeinrichtungen in einem explosionsgefährdeten Bereich für Kraftstoffe ist die mögliche Verschleppung explosionsfähiger Atmosphäre zu beachten. Bei der Anordnung von Abgabeeinrichtungen für Betriebsstoffe in Wirkbereichen nach Nummer 4.1.7 für andere Kraftstoffe ist die mögliche Verschleppung von austretenden Kraftstoffen und deren Dämpfe in das Innere der Abgabeeinrichtungen zu verhindern oder das Innere ist explosionsgeschützt auszuführen. Satz 1 und 2 gilt auch für Abgabeeinrichtungen für andere Betriebsstoffe, z.B. für wässrige Harnstofflösung, die sich im explosionsgefährdeten Bereich und im Wirkbereich einer Abgabeeinrichtung für Kraftstoff befinden.

(2) Die mögliche Freisetzungsmenge bei Undichtwerden von Betankungsschlauchleitungen für Flüssiggas oder Erdgas ist auf ein unbedenkliches Maß zu begrenzen. Dies ist z.B. erfüllt, wenn die Schlauchleitungslänge nicht mehr als fünf Meter beträgt sowie das Innenvolumen 1,5 l nicht überschreitet.

(3) Es ist sicherzustellen (z.B. durch Schlauchrückholung), dass die Betankungsschlauchleitung im Fahrbahnbereich nicht überfahren werden kann.

(4) Bei einer plötzlichen Erhöhung des Gasflusses (z.B. durch Schlauchabriss) muss bei Erdgas und Flüssiggas das weitere Nachströmen selbsttätig unterbrochen werden. Dazu ist vor jeder Betankungsschlauchleitung für Erdgas und Flüssiggas eine Einrichtung vorzusehen, die die weitere Gaszufuhr selbsttätig unterbricht.

(5) In oder unmittelbar vor jeder Betankungsschlauchleitung für Flüssiggas und Erdgas muss eine Abreißkupplung eingebaut sein, die ab einer bestimmten Zuglast in Funktion tritt und dabei den Austritt von Kraftstoff beidseitig verhindert. Die Trennkräfte der Abreißkupplung müssen deutlich niedriger liegen als die Reißfestigkeit der Betankungsschlauchleitung und -anlagen. Die Führung der Betankungsschläuche muss so ausgeführt sein, dass die Zugkräfte möglichst axial, ohne größere Ablenkung, auf die Abreißkupplung wirken. Bei Einbau, Verwendung und Wartung sind die Angaben des Herstellers der Abgabeeinrichtung zu beachten.

(6) In und unter Gebäuden mit Räumen, die dem nicht nur vorübergehenden Aufenthalt von Personen dienen, müssen Abgabeeinrichtungen so aufgestellt oder gesichert sein, dass sich keine gefährlichen Konzentrationen brennbarer Stoffe bilden können.

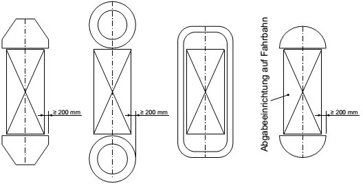
(7) Abgabeeinrichtungen müssen an Gebäuden so aufgestellt werden, dass dadurch der einzige Fluchtweg aus dem Gebäude nicht behindert wird. Abgabeeinrichtungen vor Gebäuden gelten nicht als den Fluchtweg behindernd, wenn der Abstand der Abgabeeinrichtungen zu Türen oder anderen Öffnungen, durch die Dampf-Luft-Gemische hindurch treten können, mindestens 2 m beträgt, die Zapfventile auf den der Tür bzw. der anderen Öffnung abgewandten) Seiten) der Abgabeeinrichtung angeordnet sind (Abbildung 1) und baurechtliche Regelungen dem nicht entgegen stehen. Zwischen dem zu betankenden Fahrzeug und einer Tür oder anderen Öffnung muss ein ausreichender Abstand eingehalten sein. Dies gilt bei einem Abstand von mindestens 1 m als erfüllt.

Abbildung 1: Zu Öffnungen in Gebäuden abgewandte Seiten von Abgabeeinrichtungen

(8) Abgabeeinrichtungen müssen so aufgestellt oder gesichert sein, dass sie durch Fahrzeuge nicht angefahren oder durch Teile von Fahrzeugen nicht beschädigt werden können. Dies gilt für Abgabeeinrichtungen als erfüllt, wenn sie

  1. erhöht auf einem den Geräteumfang allseitig überragenden Sockel, auf einer durch Kantsteine begrenzten Insel aufgestellt oder durch Prellsteine, Radabweiser oder ähnliche Einrichtungen mit einer Höhe von mindestens 12 cm und einem seitlichen Überstand von mindestens 20 cm und
  2. bei Gasfüllanlagen oder druckversorgten Tankstellen zusätzlich durch integrierten Schutz bei Beschädigungen (z.B. Abscher-/Bruchsicherungsventile unterhalb der Abgabeeinrichtung)

geschützt sind. Beispiele siehe Abbildung 2.

Abbildung 2: Anfahrschutz an Abgabeeinrichtungen

(9) Bei der Benutzung von Zapfventilen in Gebäuden sind zusätzliche Sicherheitsmaßnahmen zu treffen.

4.1.7 Festlegung von Wirkbereichen

(1) An Tankstellen und Gasfüllanlagen sind für die verschiedenen Kraftstoffe Wirkbereiche festzulegen, die sich ggf. überschneiden und in denen die dazu im Folgenden aufgeführten Schutzmaßnahmen gelten.

(2) Der Wirkbereich der Abgabeeinrichtung für flüssige Kraftstoffe und für Flüssiggas ist der mit dem Zapfventil in 1 m Höhe horizontal betriebsmäßig erreichbare Bereich zuzüglich 1 m bis Erdgleiche.

(3) Der Wirkbereich der Abgabeeinrichtung für Erdgas ist der mit dem Zapfventil in 1 m Höhe horizontal betriebsmäßig erreichbare Bereich zuzüglich 1 m bis zu einer Höhe von 2 m über der Abfüllfläche.

(4) Der Wirkbereich bei der Befüllung der Lagerbehälter mit flüssigen Kraftstoffen ist die waagerechte Schlauchführungslinie zwischen den Anschlüssen am Tankfahrzeug und am Lagerbehälter zuzüglich 2,5 m nach allen Seiten.

(5) Die Wirkbereiche können durch geeignete Maßnahmen verkleinert werden, z.B. durch Wände, die so aufgestellt und ausgeführt sind, dass auftreffende flüssige Kraftstoffe oder Flüssiggas sicher auf die Abfüllfläche abgeleitet werden. Bei Wänden ist dies beispielhaft erfüllt, wenn sie mindestens 1 m hoch und ausreichend breit (bei der Betankung mindestens maximale Schlauchlänge einschließlich Zapfventil zuzüglich ein Meter) sind.

(6) Der Wirkbereich muss belüftet sein.

4.1.8 Anordnung von Öffnungen zu benachbarten Räumen

4.1.8.1 Öffnungen zu tiefer gelegenen Räumen

(1) Die Ansammlung von Dämpfen flüssiger Kraftstoffe sowie von Flüssiggas in tiefer gelegenen Räumen, Kellern, Gruben, Schächten und Kanälen, z.B. für Kabel oder Rohrleitungen, jeweils in gefahrdrohender Menge ist sicher zu vermeiden. Satz 1 gilt als erfüllt, wenn tiefer gelegene Räume, Schächte o. ä. keine Öffnungen zu Wirkbereichen und explosionsgefährdeten Bereichen haben. Satz 1 gilt nicht für Dom- und Fernfüllschächte, die als explosionsgefährdete Bereiche ausgewiesen und entsprechend ausgerüstet sind.

(2) Die Lagerung von Heizöl EL muss so erfolgen, dass es zu keiner gefährlichen Flammpunkterniedrigung z.B. durch Beimischung von Kraftstoffdämpfen kommen kann. Dazu müssen Domschächte und sonstige Öffnungen von Tanks zur Lagerung von Heizöl EL, die nicht flüssigkeits- oder gasdicht abgedeckt sind, außerhalb der Wirkbereiche und explosionsgefährdeten Bereiche liegen.

(3) Wenn sich im Wirkbereich bei der Betankung von Fahrzeugen mit flüssigen Kraftstoffen Abläufe zu Leichtflüssigkeitsabscheidern befinden, ist das nachfolgende Abwassersystem explosionsgeschützt auszuführen und der Ablauf mit einer Flammendurchschlagssicherung abzusichern.

4.1.8.2 Volumina oberhalb von Abgabeeinrichtungen

Die Ansammlung von Erdgas oberhalb der Abgabeeinrichtungen jeweils in gefahrdrohender Menge ist sicher zu vermeiden.

4.1.9 Anordnung von Verdichtern/Speicher für Erdgas

(1) Verdichter, Speicher- und Pufferbehälter müssen so aufgestellt oder gesichert sein, dass sie durch Fahrzeuge nicht angefahren oder nicht beschädigt werden können.

(2) Verdichter, Speicher- und Pufferbehälter können in Räumen oder in Schrankgehäusen untergebracht oder als Freiluftanlagen aufgestellt werden. Sie sind gegen den Zutritt Unbefugter zu sichern.

(3) Aufstellungsräume für Anlagenteile von Erdgasfüllanlagen müssen unmittelbar vom Freien aus zugänglich sein.

(4) In Gebäuden dürfen Räume für Erdgasfüllanlagen neben, unter oder über Räumen, die dem Aufenthalt von Personen dienen, nur vorhanden sein, sofern die Trennwände zu den benachbarten Räumen öffnungslos sowie gasdicht und feuerbeständig ausgeführt sind.

(5) In Aufstellungsräumen dürfen keine anderweitigen Einrichtungen und betriebsfremden Gegenstände vorhanden sein, durch die eine Gefährdung der Gasfüllanlage durch z.B. mechanische Einwirkung, Brand oder Explosion entstehen kann.

(6) Es sind Maßnahmen gegen eine Verschleppung von Erdgas in benachbarte Räume, die nicht explosionsgeschützt ausgeführt sind, zu treffen. Dazu sind alle Trennwände sowie Rohr-, Kabel- und Leitungsdurchführungen in Gebäuden zwischen Bereichen, in denen mit einer Ansammlung von Erdgas gerechnet werden muss, und Bereichen, in denen dies nicht der Fall ist, so auszuführen, dass eine Verschleppung von Erdgas nicht möglich ist, z.B. durch schwadenhemmende Wände und Durchführungen, die so konstruiert und ausgebildet sind, dass das Durchtreten von Gasen und Dämpfen weitgehend vermieden wird. Mauern und Mauerdurchführungen von Rohrleitungen und Kabeln müssen der Feuerwiderstandsklasse der Raumausführung entsprechen.

4.1.10 Festlegung und Zoneneinteilungen von explosionsgefährdeten Bereichen

4.1.10.1 Allgemeines

(1) An Teilen von Tankstellen und Gasfüllanlagen für Kraftstoffe und Betriebsstoffe mit Flammpunkt ≤ 55 °C kann nach den Bestimmungen der §§ 6 und 11 der GefStoffV die Bildung gefährlicher explosionsfähiger Atmosphäre in der Regel nicht sicher verhindert werden. Bei der Gefährdungsbeurteilung einer Betankungsanlage ist von einer Vielzahl von Bereichen, in denen mit dem Vorhandensein einer gefährlichen explosionsfähigen Atmosphäre gerechnet werden muss, auszugehen. Diese Bereiche sind als explosionsgefährdete Bereiche auszuweisen. Für eine Einteilung von explosionsgefährdeten Bereiche in Zonen gilt Anhang 1 Nummer 1 Ziffer 1.6 Absatz 3 GefStoffV. Es ist ein Explosionsschutzdokument nach § 6 Absatz 9 GefStoffV zu erstellen. Siehe hierzu auch TRBS 2152 Teil 1 und 2/TRGS 721 und 722.

(2) Die in Nummer 4 dieser Technischen Regel genannten beispielhaften Maßnahmen setzen die folgenden Festlegungen der explosionsgefährdeten Bereiche und Zoneneinteilungen voraus. Macht der Arbeitgeber von der Möglichkeit Gebrauch, gemäß Anhang 1 Nummer 1.6 Absatz 3 GefStoffV von einer Zoneneinteilung abzusehen, sind grundsätzlich die gemäß dieser technischen Regel für die Zone 0 angegeben Schutzmaßnahmen zu treffen. Abweichungen hiervon sind zulässig, wenn diese in der Dokumentation der Gefährdungsbeurteilung nach § 6 Absatz 9 GefStoffV begründet festgelegt werden.

(3) Die in den folgenden Nummern beschriebenen Zoneneinteilungen sind für Ottokraftstoffe und Flüssiggas in den Abbildungen 3 bis 5 dargestellt. In der Gefährdungsbeurteilung können im Einzelfall andere Zoneneinteilungen getroffen werden.

4.1.10.2 Explosionsgefährdete Bereiche an Abgabeeinrichtungen und Fernfüllschränken

(1) Das Innere des Armaturenteils von Abgabeeinrichtungen, das Innere der Schutzgehäuse für Förder- und Messeinheiten von Zapfsystemen, die Sockelschächte von Abgabeeinrichtungen sowie das Innere von Fernfüllschränken für flüssige Kraftstoffe und für Flüssiggas ist Zone 1 (Abbildung 3).

(2) Außerhalb des Armaturenteils bzw. der Schutzgehäuse gemäß Absatz 1 ist der Bereich bis zu einem horizontalen Abstand von 0,2 m von der Gehäuseoberkante bis zum Erdboden Zone 2 (Abbildung 3). Für die mögliche Einschränkung der Ausdehnung der explosionsgefährdeten Bereiche sind die Installationsvorgaben der Hersteller zu beachten.

Abbildung 3: Einstufung der explosionsgefährdeten Bereiche an Zapfsäulen für Ottokraftstoff und Flüssiggas

(3) Das Innere von Gehäusen oder Verkleidungen für oberirdische Rohrleitungen mit lösbaren Verbindungen für flüssige Kraftstoffe ist Zone 2.

(4) Der Bereich bis zu einem Abstand von 0,2 m um Kleinzapfgeräte für flüssige Kraftstoffe ist Zone 2.

(5) Das Innere des Armaturenteils von Abgabeeinrichtungen für Erdgas ist Zone 2, wenn

  1. keine in das Gehäuse der Abgabeeinrichtung entlüftenden Anlagenteile vorhanden sind und
  2. alle Bauteile und Verbindungen durch ihre Konstruktion auf Dauer technisch dicht sind.

Anderenfalls ist das Innere Zone 1.

(6) Wenn die Abgabeeinrichtung für Erdgas kombiniert mit Abgabeeinrichtungen für flüssige Kraftstoffe oder Flüssiggas ausgeführt ist, ist das Innere des Armaturenteils für Erdgas abweichend von Absatz 5 Zone 1.

(7) Ist das Innere der Abgabeeinrichtung für Erdgas gemäß Absatz 5 Satz 2 in Zone 1 eingestuft, ist der Bereich bis zu einem Abstand von 0,2 m von der Gehäuseoberkante bis zum Erdboden um Abgabeeinrichtungen für Erdgas Zone 2. Zusätzlich erstreckt sich der Bereich Zone 2 bis 1 m über der Gehäuseoberkante (vergleiche Absatz 8). Ergibt sich die Zone 1 im Inneren der Abgabeeinrichtung für Erdgas ausschließlich durch die Kombination mit Abgabeeinrichtungen für flüssige Kraftstoffe oder Flüssiggas, entfällt die Anforderung von Satz 2.

(8) Bei Kombination der Abgabeeinrichtung für Erdgas mit Abgabeeinrichtungen für andere Kraftstoffe erstreckt sich die Zone 2 gemäß Absatz 7 oberhalb des gesamten kombinierten Armaturenteils. Die nach Satz 1 erforderliche Zone 2 oberhalb der Abgabeeinrichtungen kann auf 1 m oberhalb des Armaturenteils der Abgabeeinrichtung für Erdgas und auf 0,2 m oberhalb der Abgabeeinrichtungen für andere Kraftstoffe reduziert werden, wenn

  1. eine Querströmung des Erdgases innerhalb des Armaturenteils wirksam verhindert wird, z.B. durch eine gasdichte Wand oder durch Schlauchführungsgehäuse, die beidseitig durch Schutzbleche abgedeckt sind und eine ausreichende Querlüftung ermöglichen, oder
  2. die Abgabeeinrichtung für Erdgas gegenüber den anderen Abgabeeinrichtungen durch einen hinreichenden Belüftungsspalt mit mindestens 20 mm freier Querlüftung abgetrennt wird.

(9) Wenn Abgabeeinrichtungen in Räumen aufgestellt werden, ist der gesamte Aufstellraum technisch mit mindestens fünffachem Luftwechsel pro Stunde wirksam zu belüften und in Zone 2 einzustufen. Der explosionsgefährdete Bereich kann durch Maßnahmen nach TRBS 2152 Teil 2/ TRGS 722, z.B. eine objektbezogene Absaugung, eingeschränkt werden.

(10) Werden Abgabeeinrichtungen in nicht allseitig umschlossenen Räumen aufgestellt, sind auf Grund der eingeschränkten Lüftungsverhältnisse die explosionsgefährdeten Bereiche im Einzelfall festzulegen.

(11) Werden Abgabeeinrichtungen für Betriebsstoffe mit Abgabeeinrichtungen für Kraftstoffe kombiniert, gelten die Absätze 1 bis 10 entsprechend. Berührt der explosionsgefährdete Bereich außerhalb der Abgabeeinrichtung für Kraftstoffe die Abgabeeinrichtungen für Betriebsstoffe, so erweitert sich der explosionsgefährdete Bereich entsprechend Absatz 2 und 7 um die äußere Kontur der Abgabeeinrichtung für Betriebsstoffe. Gleichzeitig ist das Innere der Abgabeeinrichtung für Betriebsstoffe Zone 2.

4.1.10.3 Explosionsgefährdete Bereiche in und an Lagerbehältern für Kraftstoffe sowie Behältern zur Lagerung flüssiger Betriebsstoffe

(1) Die Anforderungen dieses Abschnitts an die explosionsgefährdeten Bereiche in und an Lagerbehältern für flüssige Kraftstoffe gelten auch für die explosionsgefährdeten Bereiche in und an Behältern zur Lagerung flüssiger Betriebsstoffe mit einem Flammpunkt ≤ 55 °C.

(2) Das Innere aller Lagerbehälter für flüssige Kraftstoffe gilt als Zone 0 (Abbildung 5). Satz 1 gilt auch für alle Lagerbehälter für flüssige Kraft- und Betriebsstoffe mit unterschiedlichen Gefahrenmerkmalen gemäß Nummer 2 Absatz 13, die gemäß Nummer 4.2.1.3 Absatz 6 über die gleichen Lüftungsleitungen belüftet und entlüftet werden.

(3) Lagerbehälter für Flüssiggas und Erdgas sind ausschließlich mit diesen Kraftstoffen gefüllt, d. h. in den Lagerbehältern kann sich wegen des fehlenden Sauerstoffs keine explosionsfähige Atmosphäre bilden. Daher gilt das Innere von Lagerbehältern für Flüssiggas und Erdgas als nichtexplosionsgefährdeter Bereich (Abbildung 4).

Abbildung 4: Einstufung der explosionsgefährdeten Bereiche bei Gasfüllanlagen für Flüssiggas

(4) Um die Mündung einer Entlüftungseinrichtung (Atmungsmast) unterirdischer Lagerbehälter für flüssige Kraftstoffe ist ein kugelförmiges Volumen mit 0,5 m Radius Zone 1 (Abbildung 5).

Abbildung 5: Einstufung der explosionsgefährdeten Bereiche an Tankstellen

(5) Um die Mündung der Entlüftungseinrichtung oberirdischer Lagerbehälter ist ein zylindrisches Volumen mit Radius 2 m Zone 1. Der Zylinder beginnt 3 m über der Mündung der Entlüftungseinrichtung und reicht herab bis zur Kontur des Lagerbehälters oder bis zur Erdgleiche. Berührt die Zone 1 um die Entlüftungseinrichtung die Konturen des Lagerbehälters, ist ferner der Bereich um die Konturen des Lagerbehälters bis zu einem Abstand von 1,5 m Zone 1. Daran schließt sich ein Bereich Zone 2 an: Zylinder mit dem Radius 4 m, der 3 m über der Mündung der Entlüftungseinrichtung beginnt und bis zur Erdgleiche herab reicht. Sofern die Zone 1 um die Entlüftungseinrichtung die Konturen des Lagerbehälters berührt, ist ferner der Bereich um die Konturen des Lagerbehälters bis zu einem Abstand von 3 m vertikal und 5 m horizontal Zone 2, soweit er nicht Zone 1 ist. Berührt die Zone 1 um die Mündung der Entlüftungseinrichtung nicht die Kontur des oberirdischen Lagerbehälters, ist der Bereich bis zu einem Abstand von 1 m um den Lagerbehälter Zone 2.

(6) Um die Öffnungen im Dampfraum von oberirdischen Lagerbehältern für flüssige Kraftstoffe, die betriebsmäßig geöffnet werden, z.B. um Peil- und Probenentnahmeöffnungen, ist ein kugelförmiges Volumen mit Radius 1m Zone 1und weitere 2 m Zone 2.

(7) Um die Öffnungen von oberirdischen Lagerbehältern für Flüssiggas, z.B. um Peil- und Probenentnahmeöffnungen, sowie um das Füllventil ist ein Bereich mit Radius 1 m Zone 1. Daran schließt sich ein Bereich der Zone 2 kegelförmig bis zum Boden an (Radius der Fläche am Boden beträgt 3 m). Erstreckt sich der explosionsgefährdete Bereich auf Nachbargrundstücke, auf benachbarte Verkehrsflächen oder auf öffentliche Verkehrswege, ist während des Befüllvorgangs der explosionsgefährdete Bereich entweder durch

  1. bauliche Maßnahmen, z.B. Einschränkung der Freisetzungsausbreitung an maximal zwei Seiten durch öffnungslose, mindestens einseitig verputzte Wände oder
  2. andere schwadenhemmende Abtrennungen zu begrenzen oder
  3. es sind entsprechende vertragliche Nutzungsvereinbarungen mit den Nachbarn zu treffen.

(8) Um die Öffnungen von Abblaseleitungen für Flüssiggas ist ein kugelförmiger Bereich mit Radius 1 m Zone 2, wenn in der Gefährdungsbeurteilung der Austritt größerer Volumina ausgeschlossen ist.

(9) Um die Entspannungsöffnungen von Anlagenteilen für Erdgas ist ein kugelförmiges Volumen mit Radius 1 m Zone 1. Daran schließt sich ein Bereich Zone 2 an, der die Form eines auf dem Kopf stehenden Kegelstumpfes aufweist. Die untere kreisförmige Begrenzung des Kegelstumpfes befindet sich in Höhe der Entspannungsöffnung und hat einen Radius von 1 m , die obere kreisförmige Begrenzung des Kegelstumpfes befindet sich 3 m oberhalb der Entspannungsöffnung und hat einen Radius von 3 m.

(10) Abweichend von Absatz 9 kann die Zonenfestlegung auch auf Grund eines geeigneten Nachweisverfahrens (siehe z.B. Beispielsammlung der DGUV Regel 113-001 Nummer 4.2.2.7) vorgenommen werden.

(11) Wenn oberirdische Lagerbehälter, die nicht auf Dauer technisch dicht ausgeführt sind, in Räumen über oder unter Erdgleiche, insbesondere in Kellerräumen, aufgestellt werden, ist der gesamte Aufstellraum technisch mit mindestens fünffachem Luftwechsel pro Stunde wirksam zu belüften und in Zone 2 einzustufen.

4.1.10.4 Explosionsgefährdete Bereiche in und an Rohrleitungen, Armaturen und Anlagenteilen für Kraftstoffe

(1) Dieser Abschnitt gilt gleichermaßen auch für flüssige Betriebsstoffe mit einem Flammpunkt ≤ 55 °C.

(2) Das Innere von Rohrleitungen, Armaturen und Anlagenteilen für flüssige Kraftstoffe, die nicht ständig mit Kraftstoff gefüllt bleiben, gilt als Zone 0.

(3) Um technisch dichte lösbare Verbindungen von Rohrleitungen für flüssige Kraftstoffe und Flüssiggas, die betriebsmäßig nicht oder nur selten gelöst werden, sowie um technisch dichte Armaturen und Anlagenteile in Räumen ist ein Bereich 1 m horizontal um die Verbindung bis zum Boden Zone 2. Abweichend von Satz 1 ist im Freien kein explosionsgefährdeter Bereich.

(4) Um Verbindungen von Rohrleitungen, die auf Dauer technisch dicht sind, ist kein explosionsgefährdeter Bereich.

(5) Um Rohrleitungs- und Schlauchanschlussstellen für flüssige Kraftstoffe und deren Dämpfe im Freien ist um jede Kupplungshälfte eine Kugel mit Radius 0,5 m Zone 1. In Räumen mit mindestens zweifachem Luftwechsel pro Stunde ist um jede Kupplungshälfte eine Kugel mit Radius 1 m Zone 1 und ein Bereich bis 2 m horizontal und vertikal 0,8 m Zone 2.

(6) Der explosionsgefährdete Bereich nach Absatz 5 gilt sowohl für gekuppelte als auch für getrennte Kupplungshälften. Der explosionsgefährdete Bereich um die Kupplungshälften nach Absatz 5 erstreckt sich über den gesamten Bereich, der während des Hantierens von den Kupplungshälften überstrichen werden kann.

(7) Bei Rohrleitungs- und Schlauchanschlussarmaturen nach Absatz 5 und 6, die im getrennten Zustand technisch dicht sind und nur eine geringe Freisetzung von brennbaren Flüssigkeiten oder deren Dämpfen ermöglichen (z.B. Trockenkupplungen), ist abweichend ein explosionsgefährdeter Bereich bis zu einem Abstand von 0,5 m um die Kupplungshälften Zone 2. Der Bereich reicht bei flüssigkeitsführenden Rohrleitungen/Schläuchen nach unten bis zum Boden.

(8) Um Rohrleitungs- und Schlauchanschlussarmaturen für Flüssiggas ist im Freien ein kugelförmiger Bereich mit Radius 1 m Zone 1.

(9) Wenn Rohr- und Schlauchleitungsanschlüsse für Flüssiggas in Räumen über Erdgleiche aufgestellt werden, ist der Raum in Zone 1 einzustufen.

(10) Um dicht verschlossene und durch eine Armatur von der Produktzufuhr abgesperrte Rohrleitungs- und Schlauchanschlussstellen (z.B. Blindflansch, Deckel) ist kein explosionsgefährdeter Bereich.

4.1.10.5 Explosionsgefährdete Bereiche in und an Domschächten, Fernfüllschächten und sonstigen Räumen unter Erdgleiche für flüssige Kraftstoffe und Flüssiggas sowie in Rückhalteeinrichtungen für flüssige Kraftstoffe

(1) Dieser Abschnitt gilt gleichermaßen auch für flüssige Betriebsstoffe mit einem Flammpunkt ≤ 55 °C.

(2) Das Innere von Domschächten, Fernfüllschächten, Pumpenschächten und Verteilerschächten und sonstige Schächte, in denen Gasrückführpumpen angeordnet sind, ist explosionsgefährdeter Bereich Zone 1.

(3) Das Innere von Gruben, Kammern, Schächten und anderen Räumen unter Erdgleiche, die in Wirkbereichen von Abgabeeinrichtungen für flüssige Kraftstoffe und/oder Flüssiggas liegen, ist explosionsgefährdeter Bereich Zone 1 (Abbildung 4 und 5).

(4) Um Schächte, die betrieblich geöffnet werden, ist kein explosionsgefährdeter Bereich. Jedoch ist im geöffneten Zustand mit dem zeitweiligen Auftreten von explosionsfähiger Atmosphäre zu rechnen, sodass in einem Bereich mit einem horizontalen Abstand von 2 m um die Öffnungen bis zu einer Höhe von 0,8 m über der Erdgleiche betrieblich zu erwartende Zündquellen zu vermeiden sind. Fest installierte Geräte (z.B. Abgabeeinrichtungen) müssen mindestens der Gerätekategorie 3G entsprechen.

(5) Das Innere einer Rückhalteeinrichtung für flüssige Kraftstoffe (Leichtflüssigkeitsabscheider) ist Zone 1. Das Innere der Entwässerungsleitung zwischen den Abläufen der Abfüllflächen und der Rückhalteeinrichtung ist Zone 2.

4.1.10.6 Explosionsgefährdete Bereiche um Anlagen für Erdgas

(1) Räume mit Erdgasverdichtern sind mit Gaswarnanlagen (GWA) zu überwachen und werden eingestuft in:

  1. Zone 1, wenn die GWa bei 20 % UEG Alarm gibt und bei 40 % UEG die Anlage abschaltet, aber nicht entspannt,
  2. Zone 2, wenn die GWa bei 20 % UEG Alarm gibt und die Lüftung aktiviert und bei 40 % UEG zusätzlich die Anlage abschaltet und eine Notentspannung nach außen auslöst,
  3. Zone 2 bei Verdichtern mit magnetisch gekoppeltem dichtungslosem Antrieb und Verhinderung der Schwingungsübertragung, wenn die restliche Anlage technisch dicht ist.

(2) Um die Entlüftungsöffnung von Räumen nach Absatz 1 Buchstabe a) nach außen ist ein kugelförmiger Bereich mit Radius 0,2 m Zone 2.

(3) Wenn in den Räumen nach Absatz 1 Nr. 2 und 3 regelmäßig eine manuelle Kondensatentleerung erfolgt, ist der gesamte Raum abweichend Zone 1.

(4) Um Erdgasverdichter im Freien, bei denen die natürliche Lüftung nicht eingeschränkt wird, ist kein explosionsgefährdeter Bereich.

(5) Um die Kondensatentleerung im Freien ist eine Kugel mit Radius 0,5 m um die Austrittsöffnung Zone 1.

(6) Räume mit Speicherbehälter für Erdgas sind Zone 2.

(7) Aufstellungsräume für Erdgastankstellen und deren Anlagenteile müssen eine ausreichende Durchlüftung (in der Regel Querbelüftung) aufweisen. Bei natürlicher Lüftung sind die Belüftungsöffnungen möglichst an tiefster Stelle, die Entlüftungsöffnungen an höchster Stelle im Deckenbereich anzubringen, lüftungstechnische Kurzschlüsse sind zu vermeiden. Sie müssen unmittelbar ins Freie führen. Die freie Fläche der Be- und Entlüftungsöffnungen muss jeweils 0,5 % der Grundfläche des Aufstellungsraumes betragen. Eine technische Lüftung ist mindestens für zweifachen Luftwechsel pro Stunde auszulegen, sodass die Bildung einer gefährlichen explosionsfähigen Atmosphäre vermieden wird. Der Abluftstrom ist gefahrlos abzuleiten.

4.1.11 Notwendigkeit und Anordnung von Flammendurchschlagsicherungen

(1) Dieser Abschnitt gilt gleichermaßen auch für flüssige Betriebsstoffe mit einem Flammpunkt ≤ 55 °C.

(2) Das Hineinschlagen von Flammen durch Öffnungen in die Lagerbehälter für flüssige Kraftstoffe muss verhindert werden. Satz 1 ist erfüllt, wenn die Öffnungen mit Flammendurchschlagsicherungen ausgerüstet sind. Lagerbehälter für Flüssiggas und Erdgas sind ausschließlich mit diesen Kraftstoffen gefüllt, d. h. in den Lagerbehältern kann sich wegen des fehlenden Sauerstoffs keine explosionsfähige Atmosphäre bilden. Eine Absicherung dieser Lagerbehälter mit Flammendurchschlagsicherungen entfällt daher.

(3) Abweichend von Absatz 2 sind Flammendurchschlagsicherungen nicht erforderlich für

  1. Öffnungen von Lagerbehältern, die betriebsmäßig fest verschlossen und so gesichert sind, dass ein unbeabsichtigtes Lockern ihres Verschlusses ausgeschlossen ist,
  2. verschließbare Peilöffnungen,
  3. Öffnungen von Lagerbehältern, die ständig mit Flüssigkeit gefüllt sind,
  4. Öffnungen von als explosionsdruckstoßfest geltenden unterirdischen Lagerbehältern gemäß Bauregelliste a Teil 1 Nummer 15.2 mit und ohne Unterteilungen, die mit einer allseitigen Erddeckung von mindestens 1 m versehen sind, in denen flüssige Kraftstoffe mit einem oberen Explosionspunkt <-4 °C gelagert werden und in die außer durch die Tankatmung oder die Gasrückführung keine zusätzliche Luft gelangt.
  5. Öffnungen von unterirdischen Lagerbehältern gemäß Bauregelliste a Teil 1 Nummer 15.2 mit und ohne Unterteilungen, die mit einer allseitigen Erddeckung von mindestens 1 m versehen sind und in denen flüssige Betriebsstoffe mit einem Flammpunkt > 55 °C gelagert werden, auch dann, wenn die Öffnungen im Wirkbereich von Füll- und Abgabeeinrichtungen für Kraftstoffe liegen (z.B. in einem gemeinsamen Fernfüllschacht/-schrank).

Die in der Bauregelliste a Teil 1 Nr. 15.2 noch genannte Norm DIN 6608 wurde durch DIN EN 12285 Teil 1 ersetzt. Die dort genannte Tankklasse C ist explosionsdruckstoßfest und stellt dementsprechend höhere Anforderungen an die Festigkeit der Trennwände. Die Explosionsdruckstoßfestigkeit bezieht sich aber in erster Linie auf das Standhalten des äußeren Tankmantels bei einer Explosion gegenüber der Umgebung. Des Weiteren sind die Anforderungen für alle Anlagenteile für flüssige Kraftstoffe gleich hoch, sodass es bei Versagen der Trennwand zu keiner weiteren Gefährdung kommt. Zu den Öffnungen nach Nr. 4 und 5 gehören der Gaspendel- bzw. Gasrückführanschluss, die Lüftungsleitung sowie die Füllleitung, sofern diese eine offene Verbindung zum Dampfraum des Lagerbehälters hat.

(4) Behälter zur Lagerung flüssiger Betriebsstoffe mit einem Flammpunkt > 55 °C, deren Öffnungen nicht im Wirkbereich von Füll- und Abgabeeinrichtungen für Kraftstoffe liegen, brauchen in der Regel keine Flammendurchschlagsicherungen.) Unter den in dieser Technischen Regel festgelegten Bedingungen der Handhabung und Lagerung in Tankstellen bewirken Flüssigkeiten mit einem Flammpunkt > 55 °C keine Explosionsgefahren, die Explosionsschutzmaßnahmen erfordern.

(5) Werden mehrere Lagerbehälter oder Abteile von Lagerbehältern, in denen flüssige Kraft- und Betriebsstoffe mit unterschiedlichen Gefahrenmerkmalen gemäß § 2 Absatz 13 gelagert werden, über eine gemeinsame Lüftungsleitung belüftet und entlüftet, müssen abweichend von Absatz 3 Nr. 4 und 5 die Lagerbehälter gegen das Hineinschlagen von Flammen durch die Öffnungen geschützt sein. Abbildung 6 bis 8 zeigen Beispiele zur Ausrüstung der Lagertanks mit Flammendurchschlagsicherungen.

Abbildung 6: Ausrüstung von Lagertanks für Kraft- und Betriebsstoffe mit unterschiedlichen Gefahrenmerkmalen gemäß Nummer 2 Absatz 13 mit gemeinsamer Lüftungsleitung

Abbildung 7: Flammendurchschlagsicherung an Lagertanks für Kraft- und Betriebsstoffe mit unterschiedlichen Gefahrenmerkmalen gemäß Nummer 2 Absatz 13 mit gemeinsamer Lüftungsleitung

Abbildung 8: Absicherung der Bohrungen in den Füllleitungen als Verbindung zum Dampfraum von Lagertanks für Kraft- und Betriebsstoffe mit unterschiedlichen Gefahrenmerkmalen gemäß Nummer 2 Absatz 13 mit gemeinsamer Lüftungsleitung

(6) Lüftungsleitungen, die nicht gemäß Absatz 3 Nr. 4 und 5 von der Ausrüstung mit Flammendurchschlagsicherungen befreit sind, müssen dem Abbrand ausströmender explosionsfähiger Gemische ohne Flammendurchschlag standhalten. Dazu sind sie z.B. mit einer für alle Einsatzbedingungen geeigneten Dauerbrandsicherung am Ende der Lüftungsleitung auszurüsten. Satz 1 gilt auch als erfüllt, wenn in der Lüftungsleitung direkt am Lagerbehälter eine Detonationssicherung installiert ist.

(7) Flammendurchschlagsicherungen müssen möglichst nahe am Tank angebracht und so angeordnet sein, dass sie leicht gewartet werden können. Satz 1 gilt für unterirdische Lagerbehälter auch als erfüllt, wenn die Flammendurchschlagsicherungen im Fernfüllschacht/-schrank sowie am Ende der Lüftungsleitung angeordnet sind und die Lüftungsleitung nicht mehr als 5 m über Erdgleiche endet.

(8) Die in der Betriebsanleitung der Flammendurchschlagsicherungen genannten Einsatzbedingungen sind zu beachten.

(9) Dauerbrandsicherungen müssen so eingebaut sein, dass im Falle des Abbrandes die Dampf-Luft-Gemische senkrecht nach oben abgeführt werden und die Flamme keine Auswirkung auf die Rohrleitung und den Lagerbehälter hat.

(10) Die Freistrahlabführung darf bei einem Abbrand nicht beeinträchtigt sein.

(11) Tankstellen für flüssige Kraftstoffe mit Gasrückführung müssen so ausgerüstet sein, dass ein Flammendurchschlag von einem Zapfventil sowohl zu einem anderen Zapfventil als auch zum Lagerbehälter verhindert wird. Satz 1 gilt als erfüllt, wenn jede Gasrückführleitung mit einer Flammendurchschlagsicherung ausgerüstet wird. Als Flammendurchschlagsicherung gemäß Satz 2 gelten auch als Schutzsystem geprüfte Gasrückführpumpen.

(12) Bei Einbau von Isolierflanschen in Rohrleitungen für flüssige Kraftstoffe, die nicht ständig mit Flüssigkeit gefüllt sind, ist eine Entzündung der explosionsfähigen Atmosphäre im Inneren der Rohrleitung zu vermeiden, z.B. durch Einbau einer Funkenstrecke. Kann eine Entzündung im Inneren der Rohrleitung nicht sicher ausgeschlossen werden, ist ein Flammendurchschlag in die Lagerbehälter sowie das Herausschlagen von Flammen in die Umgebung (z.B. am Zapfventil) durch den Einbau von Flammendurchschlagsicherungen zu verhindern. Auf Absatz 3 Nr. 4 und 5 wird für die Lagerbehälter und Behälter zur Lagerung von Betriebsstoffen verwiesen.

(13) Für Flammendurchschlagsicherungen an Tankstellen gilt Nummer 7 der TRBS 2152 Teil 4.

4.1.12 Festlegung von Angriffswegen zur Brandbekämpfung

Lage und Breite der Angriffswege zur Brandbekämpfung sind nach den ingenieurmäßigen Methoden des Brandschutzes unter Berücksichtigung der örtlichen und betrieblichen Verhältnisse im Einvernehmen mit den für die Brandbekämpfung zuständigen Stellen festzulegen.

4.1.13 Blitz- und Überspannungsschutz

(1) Die Gefahren durch einen Blitzeinschlag und die damit verbundene Freisetzung von Kraftstoffen oder deren Dämpfe sowie von Betriebsstoffen sind zu ermitteln und zu minimieren. Bezüglich der Gefahr der Entzündung einer gefährlichen explosionsfähigen Atmosphäre durch Blitzschlag wird auf TRBS 2152 Teil 3 verwiesen.

(2) Bereiche, in denen Zonen 0 oder 1 ausgewiesen sind, und die Anlagenteile, die Kraftstoffe oder deren Dämpfe führen und in die der Blitz direkt einschlagen kann oder fortgeleitet wird, müssen durch geeignete Maßnahmen geschützt werden. In der Regel sind an einer Betankungsanlage die folgenden Anlagenteile zu betrachten:

  1. Lüftungsmaste,
  2. Abgabeeinrichtungen,
  3. Fernfüllschränke,
  4. oberirdische Tanks,
  5. Rohrleitungen,
  6. Verdichterstationen.

Dabei sind die folgenden Gefährdungen zu minimieren:

  1. Entzündung gefährlicher explosionsfähiger Atmosphäre,
  2. Perforation von Anlagen, die brennbare Gase oder Flüssigkeiten beinhalten, und
  3. Zerstörungen anderer Ex-Schutzmaßnahmen wie z.B. elektrostatisch leitfähige Beschichtungen.

(3) Die Anlagenteile oder Bereiche nach Absatz 2 müssen durch Blitzfangeinrichtungen geschützt werden. Von Satz 1 darf abgewichen werden, wenn mindestens eine der folgenden Bedingungen erfüllt ist:

  1. Das Anlagenteil befindet sich im Schutzbereich einer nicht brennbaren baulichen Anlage (z.B. unter einem Tankstellendach).
  2. Die Anlagenteile sind so ausgeführt, dass sie im Falle des Blitzeinschlages dicht bleiben, auf der Innenseite gefährliche Temperaturerhöhung ausgeschlossen werden kann und sie so ausreichend dimensioniert sind, um einen Blitz fortzuleiten. Dieses gilt als erfüllt, wenn die Materialdicke mindestens 4 mm Stahl oder 7 mm Aluminium beträgt und die Ableitung blitzstromtragfähig (wirksame Leiterquerschnitt mindestens 16 mm2 Cu oder leitwertgleich) zur Erdungsanlage ist.

(4) Die Mündungen von metallischen Lüftungsmasten müssen nicht gegen einen direkten Blitzeinschlag geschützt werden, wenn die Materialdicke der Lüftungsmasten mindestens 4 mm Stahl oder 7 mm Aluminium beträgt und die Ableitung blitzstromtragfähig (wirksame Leiterquerschnitt mindestens 16 mm2 Cu oder leitwertgleich) zur Erdungsanlage ist. Ist dies nicht der Fall, ist der Einsatz einer entsprechend dimensionierten Blitzfangeinrichtung erforderlich.

(5) Wenn Blitzströme über Konstruktions- oder Anlagenteile, die eine Zone 0 beinhalten, abgeleitet werden sollen, muss dies so erfolgen, dass beim Blitzstromdurchgang keine Funken bzw. unzulässig hohe Erwärmungen entstehen. Geeignete Anschlüsse an Rohrleitungen für die Ableitung von Blitzströmen sind angeschweißte Fahnen oder Bolzen oder Gewindebohrungen in den Flanschen zur Aufnahme von Schrauben. Diese Verbindungsstellen müssen so dimensioniert werden, dass sie blitzstromtragfähig sind.

(6) Die Anlagenteile nach Absatz 2 Satz 2 müssen in einen blitzstromtragfähigen Potentialausgleich eingebunden oder mit einer Erdungsanlage verbunden sein. Unterirdische metallische Rohrleitungen, die durchgängig miteinander verschweißt oder hartgelötet sind, dürfen als Potentialausgleichverbindung genutzt werden.

(7) Schädliche Auswirkungen von Überspannungen auf die Zone 0 sind zu verhindern. Wenn ein Gerät in einem explosionsgefährdeten Bereich der Zone 0 errichtet wird und gefährliche Potentialdifferenzen innerhalb der Zone 0 auftreten können, muss eine Überspannungsschutzeinrichtung zwischen jeder nicht auf Erde liegenden Ader des Kabels oder der Leitung und dem Gehäuse mit dem örtlichen Erdpotentialinstalliert werden. Diese Maßnahme muss so nah wie möglich an der Einführung in die Zone 0 erfolgen (i. d. R. im Domschacht). (Details siehe DIN EN 60079-25:2011-06 Anhang F sowie DIN VDE 0165:2009-05 Abschnitt 12.3 " Anlagen, um die Anforderungen von EPL "Ga" zu erfüllen". Hierbei entspricht "Ga" der Gerätekategorie 1, d. h. für den Einsatz in Zone 0 geeignet).

(8) Die getroffenen Maßnahmen zum Blitzschutz sind im Explosionsschutzdokument zu beschreiben.

4.1.14 Gefährliche elektrische Ausgleichsströme

(1) Für den Schutz vor Zündgefahren durch elektrische Ausgleichsströme oder kathodische Korrosionsschutzanlagen ist Nummer 5.6 der TRBS 2152 Teil 3 zu beachten. Durch elektrische Ausgleichs- und Streuströme zwischen Anlagenteilen der Betankungsanlage und dem Erdpotenzial dürfen keine Zündgefahren, gefährliche Korrosionen (z.B. durch elektrogalvanische Elementbildung oder durch Streuströme aus Gleichstromanlagen) oder Gefährdungen von Personen entstehen. Dabei sind sowohl die zur Betankungsanlage gehörenden elektrischen Anlagen als auch fremde elektrische Anlagen, z.B. elektrische Bahnen, zu berücksichtigen.

(2) Wenn Ausgleichsströme nicht ausgeschlossen werden können, sind geeignete elektrische Trennelemente zur Verhinderung dieser Ströme erforderlich. Als geeignete elektrische Trennelemente gelten beispielsweise der Einbau von Isolierstücken, Isolierflanschen oder isolierenden Ausgleichsdämpfern an geeigneter Stelle.

(3) Elektrische Trennelemente müssen den elektrischen, mechanischen, thermischen und chemischen Anforderungen am Einbauort genügen und einer Prüfspannung von 5 kV standhalten.

(4) Elektrische Trennelemente in explosionsgefährdeten Bereichen der Zone 1 sind, wenn sie nicht mit Leitern ausreichenden Querschnitts überbrückt werden können, durch Funkenstrecken mit einer Ansprechstoßspannung von 50 % der Prüfwechselspannung der Trennelemente, maximal jedoch mit einer Ansprechstoßspannung von 2,5 kV zu überbrücken.

(5) Werden Rohrleitungen in explosionsgefährdeten Bereichen durch elektrische Trennelemente getrennt, so muss gewährleistet sein, dass bei einem objektfernen Blitzeinschlag die Gefahr der möglichen Entzündung einer explosionsfähigen Atmosphäre minimiert wird. Hierfür sind beispielsweise Leiter ausreichenden Querschnitts oder Funkenstrecken geeignet.

(6) Soweit Funkenstrecken in explosionsgefährdeten Bereichen Zone 1 eingebaut werden sollen, sind diese explosionsgeschützt auszuführen.

(7) In Abgabeeinrichtungen sind in der Regel keine Funkenstrecken an Isolierstücken von kraftstoffgefüllten Rohrleitungen erforderlich.

(8) In Gasrückführleitungen für Kraftstoffe mit einem oberen Explosionspunkt unter -4 °C sind Funkenstrecken an Isolierstücken nicht erforderlich. In Gasrückführleitungen für Kraftstoffe mit einem oberen Explosionspunkt über oder gleich -4 °C und einem Flammpunkt ≤ 55 °C sind Funkenstrecken an Isolierstücken erforderlich.

(9) In explosionsgefährdeten Bereichen müssen Vorkehrungen gegen zufälliges Überbrücken von elektrischen Trennelementen getroffen sein.

(10) Anschlüsse von Kabeln und Leitungen müssen gegen Selbstlockern gesichert sein.

(11) Bei unterirdischen Lagerbehältern und Behältern zur Lagerung von Betriebsstoffen, die aus korrosionstechnischen Gründen (z.B. Flüssiggasbehälter) vom Erdpotential der Anlage (z.B. der Verteilung der Tankstelle) getrennt errichtet werden müssen, sind folgende Anforderungen einzuhalten:

  1. Erstellung und Vorhaltung einer Dokumentation der Maßnahmen zur Einhaltung der Anforderungen,
  2. Installation eines Fehlerstromschutzschalters (RCD) für mit dem Lagerbehälter direkt verbundene elektrische Betriebsmittel,
  3. dauerhafte Sicherstellung eines ausreichenden Erdungswiderstandes (z.B. durch Installation eines eigenen Erders), die Verwendung des Tanks als Erder ist nicht statthaft,
  4. Trennung der Schutzleiter der direkt mit dem Lagerbehälter verbundenen elektrischen Betriebsmittel von der Netzversorgung und
  5. Auflegung des Schutzleiters der speisenden Kabel am Betriebsmittel des Lagertanks und in der Verteilung auf eine isolierte Klemme.

4.1.15 Sonstige Zündquellenarten

Neben den genannten Zündquellen sind auch alle anderen Zündquellenarten nach TRBS 2152 Teil 3 zu berücksichtigen. Hierbei sind insbesondere die Betriebsanleitungen der Hersteller der Geräte, Schutzsysteme, Sicherheits-, Kontroll- oder Regelvorrichtungen nach Richtlinie 94/9/EG (ab 20.4.2016: Richtlinie 2014/34/EU) zu berücksichtigen.

4.2 Auswahl der Anlagenteile

4.2.1 Tankstelle für flüssige Kraftstoffe

4.2.1.1 Bodenflächen

(1) Die Bodenflächen in den Wirkbereichen müssen so ausgeführt sein, dass zu Brand- oder Explosionsgefährdungen führende Mengen Kraftstoff oder Kraftstoffdämpfe sich nicht in Kanalsystemen und Böden ansammeln oder in diese eindringen können. Dies gilt beispielhaft als erfüllt, wenn die Ausführung der Flächenabdichtung nach den Vorschriften zum Schutz der Gewässer erfolgt.

(2) Die Nutzung von Dichtflächen zur Rückhaltung von Leckagemengen mit Ausnahme von Tropfmengen sowie die Rückhaltung von Leckagemengen in einer oberirdischen Auffangvorrichtung sind aus Brand- und Explosionsschutzgründen zu vermeiden.

(3) Bei der Rückhaltung unbeabsichtigt ausgelaufener flüssiger Kraft- oder Betriebsstoffe in einer Rückhalteeinrichtung im Entwässerungssystem sind über die Vorschriften zum Schutz der Gewässer hinausgehend Maßnahmen zum Brand- und Explosionsschutz erforderlich. Das Innere der Rückhalteeinrichtung ist als explosionsgefährdeter Bereich gemäß Nummer 4.1.10.5 Absatz 5 einzustufen.

(4) Zur Vermeidung elektrostatischer Aufladungen muss eine ausreichende elektrische Leitfähigkeit der Bodenfläche (Ableitwiderstand von ≤ 108 Ω) sichergestellt sein. Satz 1 gilt für Flächen im Wirkbereich von Kraftstoffen und in explosionsgefährdeten Bereichen als erfüllt, wenn sie aus Beton, Stahlbeton und Spannbeton (Ortbeton) oder aus Betonfertigteilen errichtet worden sind.

4.2.1.2 Lagerbehälter

(1) Kraftstoffe müssen so gelagert werden, dass sie nicht auslaufen oder austreten können. Für flüssige Kraftstoffe gilt dies als erfüllt, wenn die flüssigen Kraftstoffe in doppelwandigen Lagerbehältern mit Leckanzeigegerät gelagert werden.

(2) Gefährliche Flammpunkterniedrigungen von Heizöl EL durch unbeabsichtigte Vermischungen mit Kraftstoffen sind zu vermeiden. Dies gilt als erfüllt, wenn flüssiger Kraftstoff nicht mit Heizöl EL in benachbarten Kammern von unterteilten Lagerbehältern zusammen gelagert wird.

4.2.1.3 Lüftungseinrichtungen

(1) Dieser Abschnitt gilt gleichermaßen auch für flüssige Betriebsstoffe mit einem Flammpunkt ≤ 55 °C.

(2) Lüftungseinrichtungen von Lagerbehältern (einschließlich des Lüftungsmastes) sowie Gaspendel- und Gasrückführungsleitungen müssen bei den zu erwartenden Beanspruchungen ausreichend fest, formbeständig und gegen Dämpfe des Lagergutes beständig bleiben. Dies ist z.B. erfüllt, wenn sie gegen einen maximal zulässigen Druck von mind. 10 bar, d. h. mindestens PN 10 ausgelegt sind. Sie müssen im erforderlichen Maße alterungsbeständig und für nichterdgedeckte Leitungen gegen Flammeneinwirkung ausreichend widerstandsfähig sein.

(3) Explosionsfähige Atmosphäre darf nicht verschleppt werden. Satz 1 gilt für Lüftungsleitungen als erfüllt, wenn Be- und Entlüftungsleitungen sowie Abblaseleitungen nicht in geschlossene Räume, nicht in Domschächte und nicht in Abgabeeinrichtungen münden; ihre Austrittsöffnungen müssen gegen das Eindringen von Regenwasser geschützt sein. Für Austrittsöffnungen von Be- und Entlüftungsleitungen im Bereich von Schornsteinöffnungen, Öffnungen in Regenfallrohren und Fenstern, die zum Öffnen eingerichtet sind, gilt dies als erfüllt, wenn sie einen Mindestabstand von

  1. 2 m bei der Lagerung flüssiger Kraftstoffe in unterirdischen Lagerbehältern,
  2. 3 m bei der Lagerung flüssiger Kraftstoffe in oberirdischen Lagerbehältern zu diesen Einrichtungen haben.

(4) Be- und Entlüftungsleitungen dürfen nicht absperrbar sein.

(5) Gefährliche Vermischungen oder gefährliche Wechselwirkungen von Kraftstoffen mit anderen Kraft- und Betriebsstoffen sind zu vermeiden. Satz 1 gilt als erfüllt, wenn Lüftungsleitungen von flüssigen Kraftstoffen nicht mit den Abblaseleitungen für Flüssiggas oder Erdgas verbunden sind. Satz 1 gilt ebenso als erfüllt, wenn die Lüftungsleitungen für Betriebsstoffe mit einem Flammpunkt > 55 °C und für nichtbrennbare Betriebsstoffe außerhalb des Wirkbereichs und des explosionsgefährdeten Bereichs von Anlagenteile für Kraftstoffe münden.

(6) Lagerbehälter für flüssige Kraftstoffe mit unterschiedlichen Gefahrenmerkmalen dürfen nur dann über die gleichen Lüftungsleitungen bzw. gleiche Gaspendelleitung belüftet und entlüftet werden, wenn

  1. die Kraftstoffe in unterirdischen Lagerbehältern gemäß Bauregelliste a Teil 1 Nummer 15.2 mit und ohne Unterteilungen, die mit einer allseitigen Erddeckung von mindestens 1 m versehen sind, gelagert werden,
  2. die Lagerbehälter gemäß Nummer 2 Absatz 15 mit Flammendurchschlagsicherungen ausgerüstet sind,
  3. alle Lagerbehälter einschließlich ihrer Ausrüstung für extrem entzündbare flüssige Kraftstoffe (z.B. Explosionsgruppe IIA, Temperaturklasse T3) ausgeführt sind und
  4. durch geeignete technische Maßnahmen eine Vermischung der Kraftstoffe durch Überfüllung ausgeschlossen wird (siehe auch Nummer 4.2.1.4).

Hinsichtlich unterschiedlicher Gefahrenmerkmale siehe Nummer 2 Absatz 13. Bezüglich der Zonenfestlegung in den Lagerbehältern wird auf Nummer 4.1.10.3 verwiesen. Die Anforderungen von Absatz 6 sind in den Abbildungen 6 bis 8 dargestellt.

(7) Gefährliche Flammpunkterniedrigungen von Heizöl EL durch unbeabsichtigte Vermischungen mit Kraftstoffen sind zu vermeiden. Dies gilt als erfüllt, wenn abweichend von Absatz 4 und 5 Behälter zur Lagerung von Heizöl EL nicht mit anderen Lagerbehältern über eine gemeinsame Leitung belüftet oder entlüftet werden.

(8) Lagerbehälter sowie Behälter zur Lagerung von Betriebsstoffen müssen so betrieben werden, dass gefährliche Unter- und Überdrücke nicht entstehen können, z.B. durch Be- und Entlüftungseinrichtungen oder Sicherheitseinrichtungen gegen Drucküberschreitung.

(9) Lüftungsleitungen müssen so dimensioniert sein, dass gefährliche Unter- oder Überdrücke im Tank nicht entstehen können. Dies gilt für flüssige Kraftstoffe als erfüllt, wenn bei Lagerbehältern sowie Behältern zur Lagerung von Betriebsstoffen gemäß Nummer 4.2.1.2 Absatz 1 beim Befüllen ein Überdruck von max. 0,5 bar nicht überschritten werden kann. Dabei sind der höchste Volumenstrom der Pumpen bzw. die höchste Füllrate aus Transportbehältern als auch Temperaturschwankungen im Lagerbehälter zu berücksichtigen, auf Nummer 4.2.4 Absatz 8 wird hingewiesen.

(10) Das beim Befüllen von Lagerbehältern für flüssige Kraftstoffe sowie von Behältern zur Lagerung von Betriebsstoffen verdrängte Dampf-Luft-Gemisch muss so abgeleitet werden, dass Gefahren für Beschäftigte und andere Personen nicht entstehen können.

(11) Entlüftungsleitungen müssen so ins Freie münden, dass durch austretende Dampf-Luft-Gemische oder Gase keine Gefahren für Beschäftigte und andere Personen entstehen können. Dies ist beispielhaft erfüllt, wenn der Lüftungsmast mindestens 4 m über Erdgleiche endet und ein Verschleppen von austretenden Dampf-Luft-Gemischen oder Gasen in angrenzende Bereiche, die zum Aufenthalt von Personen bestimmt sind, nicht möglich ist.

(12) Absatz 9 Satz 1 gilt bei der Befüllung von Lagerbehältern für flüssige Kraftstoffe unter Anwendung des Gaspendelverfahrens als erfüllt, wenn die Entlüftung nur über die Gaspendelleitung erfolgt und Entlüftungseinrichtungen von Lagerbehältern ins Freie während des Gaspendelns geschlossen sind. Hiervon ausgenommen sind sicherheitstechnisch erforderliche Öffnungen. Diese Anforderung ist bei unterirdischen Lagerbehältern als erfüllt anzusehen, wenn die Lüftungsleitung mit einem Über-/Unterdruckventil oder einer Drossel versehen ist, wobei als Drossel eine Öffnung von 10 mm lichter Weite oder ein Rohrabschnitt mit vergleichbarem Strömungswiderstand genügt.

4.2.1.4 Sicherung der Lagerbehälter gegen Überfüllung

(1) Lagerbehälter dürfen nicht überfüllt werden.

(2) Zur Erfüllung von Absatz 1 ist der Lagerbehälter mit einer Einrichtung zu versehen, mit der der Flüssigkeitsstand im Lagerbehälter und somit das maximal mögliche Füllvolumen ermittelt werden kann (Füllstandsanzeiger).

(3) Wird der Füllstand über offene Peilung ermittelt, ist die Möglichkeit der Bildung gefährlicher explosionsfähiger Atmosphäre zu beachten. Peilöffnungen müssen verschließbar und so ausgeführt sein, dass ein unbeabsichtigtes Öffnen ausgeschlossen ist. Siehe dazu auch Nummer 4.1.10.3 Absatz 6.

(4) Absatz 1 gilt als erfüllt, wenn zusätzlich zu Absatz 2 die Lagerbehälter für flüssige Kraftstoffe mit einer Überfüllsicherung ausgerüstet sind oder wenn der Arbeitgeber bzw. Betreiber sicherstellt, dass die Lagerbehälter für flüssige Kraftstoffe nur mit tankstellenseitigen Grenzwertgebern befüllt werden, die in Verbindung mit der fahrzeugseitigen Absperreinrichtung die Funktion einer fahrzeugseitigen Abfüllsicherung erfüllt. Gemäß bauordnungsrechtlichen Vorschriften müssen die Grenzwertgeber dem Typ B mit Stromschnittstelle der mandatierten Norm DIN EN 13616 entsprechen.

(5) Zur Vermeidung des unbeabsichtigten Austretens von flüssigen Kraftstoffen ist ein maximal zulässiger Füllungsgrad festzulegen. Dabei sind die thermische Ausdehnung der Kraftstoffe und die damit verbundenen Möglichkeiten des Überlaufens sowie der Drucksteigerung zu berücksichtigen. Satz 1 gilt für flüssige Kraftstoffe als erfüllt, wenn der maximal zulässige Füllungsgrad bei oberirdischen Lagerbehältern 95 % und bei unterirdischen Lagerbehältern mit einer Erddeckung von mindestens 1 m 97 % des Fassungsraums nicht übersteigt.

4.2.1.5 Abgabeeinrichtungen

(1) Bei der Auswahl der Abgabeeinrichtungen sind die Eigenschaften der abzugebenden Kraftstoffe (z.B. deren Korrosionseigenschaften, Materialbeständigkeit oder explosionsschutztechnische Kennzahlen) und die vorgesehene Betriebsweise zu berücksichtigen.

(2) Abgabeeinrichtungen müssen so betrieben werden, dass ein Überfüllen des Kraftfahrzeugbehälters sowie ein unbeabsichtigter Austritt von Kraftstoff in die Umgebung verhindert wird. Beispielhaft ist dies für flüssige Kraftstoffe erreicht, wenn die verwendeten Zapfventile vor vollständiger Füllung des zu befüllenden Behälters oder beim Herausfallen aus dem Füllstutzen des zu befüllenden Tanks selbsttätig schließen (selbsttätig schließende Zapfventile).

(3) Der Betankungsschlauch muss für die eingesetzten Kraftstoffe sowie für die vorgesehene Betriebsweise und den vorgesehenen Betriebsdruck geeignet sein und während des Betriebs dicht bleiben. Betankungsschläuche müssen einen der Strömungsgeschwindigkeit der Kraftstoffe angepassten Durchmesser haben. Der Ableitwiderstand zwischen den Anschlussarmaturen darf 106 Ω nicht überschreiten (siehe TRBS 2153).

4.2.1.6 Gaspendelung und Gasrückführung

Damit gefährliche explosionsfähige Atmosphäre nicht über die Gasrückführeinrichtung im Wirkbereich bei der Betankung freiwerden kann, muss sichergestellt sein, dass Dampf-Luft-Gemische nicht zum Zapfventil zurückströmen können. Dies ist z.B. gegeben, wenn die Gasrückführeinrichtung den Anforderungen der DIN EN 13 617-1:2012-08 entspricht.

4.2.1.7. Flammendurchschlagsicherungen

(1) Flammendurchschlagsicherungen müssen für die jeweilige Einbausituation und Betriebsverhältnisse ausgewählt werden. Sie müssen für die möglichen explosionsfähigen Atmosphären (zünddurchschlagfähige Normspaltweite, Explosionsgruppe) geeignet sein. TRBS 2152 Teil 4 ist zu beachten.

(2) Ethanolhaltige Ottokraftstoffe mit einem Ethanolanteil bis 90 Vol % gehören zur Explosionsgruppe IIA, mit einem höheren Ethanolanteil als 90 Vol % zur Explosionsgruppe IIB1.

(3) Für Dauerbrandsicherungen für Gemische mit Alkoholen ist ein besonderer Nachweis der Dauerbrandsicherheit erforderlich.

(4) Die Angaben in der Betriebsanleitung der Flammendurchschlagsicherungen sind zu beachten.

(5) Detonations- und Deflagrationssicherungen müssen nicht der Anforderung der Beständigkeit gegen kurzzeitigen Brand genügen. Detonationssicherungen müssen nur auf stabile Detonationen geprüft sein.

4.2.2 Gasfüllanlagen für Flüssiggas

4.2.2.1 Bodenflächen

(1) Die Bodenflächen in den Wirkbereichen müssen so ausgeführt sein, dass zu Brand- oder Explosionsgefährdungen führende Mengen Flüssiggas bzw. anderer brennbarer Gase oder Flüssigkeiten sich nicht unter der Gasfüllanlage bzw. unter dem Flüssiggasbehälter oder in Kanalsystemen und Böden ansammeln oder in diese eindringen können.

(2) Zur Vermeidung elektrostatischer Aufladungen muss eine ausreichende elektrische Leitfähigkeit der Bodenfläche (Ableitwiderstand < 108 Ω) sichergestellt sein. Satz 1 gilt für Flächen im Wirkbereich von Kraftstoffen und in explosionsgefährdeten Bereichen als erfüllt, wenn sie aus Beton, Stahlbeton und Spannbeton (Ortbeton) oder aus Betonfertigteilen errichtet worden sind. Bei Gasfüllanlagen für die ausschließliche Abgabe von Flüssiggas ist abweichend von Satz 1 eine ausreichende Leitfähigkeit der Bodenfläche nicht erforderlich, auf Nummer 4.2.2.6 Absatz 5 wird verwiesen.

(3) Soll Flüssiggas zusammen mit flüssigen Kraftstoffen abgegeben werden, sind die Anforderungen an die Ausführung der Bodenflächen für flüssige Kraftstoffe (siehe Nummer 4.2.1.1) zu beachten.

4.2.2.2 Lagerbehälter

(1) Flüssiggas muss so gelagert werden, dass es nicht auslaufen oder austreten kann. Dies gilt für Flüssiggas-Lagerbehälter als erfüllt, wenn sie den Anforderungen der Richtlinie 97/23/EG (Neufassung: RL 2014/68/EU) entsprechen. Für die Bewertung von Baugruppen siehe Nummer 3.4.2.1.1 der TRBS 1201 Teil 2.

(2) Flüssiggas-Lagerbehälter müssen so betrieben werden, dass gefährliche Überdrücke nicht entstehen können, z.B. durch die Verwendung von Sicherheitseinrichtungen gegen Drucküberschreitung. Lagerbehälter für Flüssiggas müssen mindestens für einen maximal zulässigen Druck von 15,6 bar bei 40 °C ausgelegt sein.

(3) Ausrüstungsteile, Rohrleitungs- und Armaturenverbindungen müssen so ausgeführt werden, dass sie durch ihre Konstruktion oder durch ihre Überwachung und Instandhaltung auf Dauer technisch dicht sind und bei Normalbetrieb kein Flüssiggas freigesetzt wird. Davon ausgenommen sind minimale Mengen, die beim Lösen der Füllkupplung vom Fahrzeug technisch bedingt freigesetzt werden. Die Befülleinrichtungen müssen nach jeder Befüllung auf Dichtigkeit kontrolliert werden.

4.2.2.3 Abblaseleitungen

(1) Explosionsfähige Atmosphäre darf nicht verschleppt werden. Aus einem Sicherheitsventil austretendes Flüssiggas muss gefahrlos ins Freie abgeleitet werden. Austrittsöffnungen von Abblaseleitungen müssen gegen das Eindringen von Regenwasser geschützt sein.

(2) Sicherheitsventile von unterirdischen Flüssiggasbehältern dürfen in den zugehörigen Domschacht münden, wenn ein Ansprechen des Sicherheitsventils nicht zu erwarten ist. Dies ist gewährleistet, wenn eine Überfüllung unter Beachtung der thermischen Ausdehnung durch technische und betriebliche Maßnahmen sicher verhindert wird.

(3) Absatz 1 Satz 1 gilt für Austrittsöffnungen von Abblaseleitungen als erfüllt, wenn diese einen Mindestabstand von 3 m von Schornsteinöffnungen, Öffnungen in Regenfallrohren und Fenstern, die zum Öffnen eingerichtet sind, haben.

(4) Bei der Lagerung von Flüssiggas unter einer Überdachung oder in einem Raum ist vom Sicherheitsventil eine Abblaseleitung so über Dach ins Freie zu führen, dass austretendes Flüssiggas gefahrlos abgeleitet werden kann. Für die Zoneneinteilung um die Mündung der Abblaseleitung siehe Nummer 4.1.10.3.

(5) Die Abblaseleitungen dürfen nicht absperrbar sein.

(6) Gefährliche Vermischungen oder gefährliche Wechselwirkungen von Flüssiggas mit anderen Kraft- und Betriebsstoffen sind zu vermeiden. Satz 1 gilt als erfüllt, wenn Abblaseleitungen von Flüssiggas nicht mit den Lüftungsleitungen von flüssigen Kraftstoffen oder Abblaseleitungen für Erdgas verbunden sind.

4.2.2.4 Sicherung der Flüssiggas-Lagerbehälter gegen Überfüllung

(1) Lagerbehälter dürfen nicht überfüllt werden können.

(2) Dies gilt für Flüssiggas-Lagerbehälter als erfüllt, wenn

  1. diese Lagerbehälter mit einer Überfüllsicherung ausgerüstet sind oder
  2. wenn der Arbeitgeber bzw. Betreiber sicherstellt, dass die Lagerbehälter nur mit behälterseitigen Grenzwertgebern befüllt werden, die in Verbindung mit der tankfahrzeugseitigen Absperreinrichtung die Funktion einer tankfahrzeugseitigen Abfüllsicherung erfüllt.

(3) Zur Vermeidung unbeabsichtigten Austretens von Flüssiggas ist ein maximal zulässiger Füllungsgrad festzulegen. Dabei sind die thermische Ausdehnung des Flüssiggases und die damit verbundenen Möglichkeiten des Überlaufens sowie der Drucksteigerung zu berücksichtigen. Satz 1 gilt für Flüssiggas als erfüllt, wenn der maximal zulässige Füllungsgrad 85 % des Fassungsraums nicht übersteigt.

4.2.2.5 Fördereinrichtungen

Flüssiggaspumpen, bei denen durch Trockenlauf mit einem störungsbedingten Flüssiggasaustritt zu rechnen ist (z.B. bei Pumpen mit Wellendurchführung und doppelt wirkender Gleitringdichtung), müssen gegen Trockenlauf geschützt sein. Zum Anfahren der Pumpen darf der Trockenlaufschutz mit einer geeigneten Einrichtung überbrückt werden.

4.2.2.6 Abgabeeinrichtungen

(1) Abgabeeinrichtungen sind entsprechend der abzugebenden Kraftstoffe und der vorgesehenen Betriebsweise auszuwählen.

(2) Abgabeeinrichtungen müssen so betrieben werden, dass ein Überfüllen des Kraftfahrzeugbehälters sowie ein unbeabsichtigter Austritt von Kraftstoff in die Umgebung verhindert wird.

(3) Absatz 2 gilt für Flüssiggas als erfüllt, wenn die Zapfventile nur bei einer geeigneten Kombination aus Zapfventil und Füllanschluss sowie ordnungsgemäßem Anschluss den Gasdurchfluss freigeben. Zapfventile, die mittels Stößel das Rückschlagventil am Füllanschluss des Lagerbehälters öffnen, dürfen nicht verwendet werden. Ein Lösen des Zapfventils vom Füllanschluss muss den Gasdurchfluss unterbrechen.

(4) Die am Tankanschluss des Fahrzeuges anzuschließende Füllkupplung muss so ausgebildet sein, dass der Gasdurchfluss nur freigegeben wird, wenn ein einwandfrei dichter Anschluss vorliegt. Die Kupplung muss so konstruiert sein, dass das Lösen vom Fahrzeug erst nach Druckentlastung erfolgen kann.

(5) Der Gasdurchfluss vom Füllschlauch zum Fahrzeugbehälter muss über eine Schalteinrichtung mit elektrischer Drucktaste an der Abgabeeinrichtung freigegeben und unterbrochen werden können. Abweichend von Satz 1 ist bei ausschließlich innerbetrieblicher Benutzung durch eingewiesene Beschäftigte eine Schalteinrichtung ohne Selbsthaltung (z.B. Totmannhebel im Zapfventil) ausreichend.

(6) Der Füllschlauch muss für Flüssiggas sowie für die vorgesehene Betriebsweise und den vorgesehenen Betriebsdruck geeignet sein und während des Betriebs dicht bleiben. Der Ableitwiderstand zwischen den Anschlussarmaturen darf 106 Ω nicht überschreiten (siehe TRBS 2153).

4.2.3 Gasfüllanlagen für Erdgas

4.2.3.1 Bodenflächen

Zur Vermeidung elektrostatischer Aufladungen muss eine ausreichende elektrische Leitfähigkeit der Bodenfläche (Ableitwiderstand < 108 Ω) sichergestellt sein. Sat z 1 gilt für Flächen im Wirkbereich von Kraftstoffen und in explosionsgefährdeten Bereichen als erfüllt, wenn sie aus Beton, Stahlbeton und Spannbeton (Ortbeton) oder aus Betonfertigteilen errichtet worden sind.

4.2.3.2. Verdichter, Speicher- und Pufferbehälter

(1) Erdgas muss so gelagert werden, dass es nicht austreten kann. Dies gilt für die Speicher- und Pufferbehälter für Erdgas als erfüllt, wenn sie den Anforderungen der Richtlinie 97/23/EG (Neufassung: RL 2014/68/EU) entsprechen. Für die Bewertung von Baugruppen siehe Nummer 3.4.2.1.1 der TRBS 1201 Teil 2.

(2) Verdichter, Speicher- und Pufferbehälter müssen so betrieben werden, dass z.B. durch Sicherheitseinrichtungen gegen Drucküberschreitung gewährleistet ist, dass gefährliche Überdrücke auch im Erdgasbehälter des tankenden Fahrzeugs nicht entstehen können.

(3) Eine Sicherheitseinrichtung (MSR-Schutzeinrichtung oder Sicherheitsventil) muss gewährleisten, dass im Eingangsdruckbereich - vor dem Verdichter - ein Überschreiten des zulässigen Betriebsüberdruckes verhindert wird. Beim Unterschreiten des zulässigen Verdichter-Ansaugdruckes muss eine MSR-Schutzeinrichtung den Verdichter abschalten.

(4) Die dem Verdichter nachgeschalteten Anlagenteile müssen gegen eine unzulässige Drucküberschreitung in Abhängigkeit vom möglichen Verdichter-Enddruck und dem zulässigen Betriebsdruck der Gasspeicherbehälter abgesichert sein.

(5) Ausrüstungsteile, Rohrleitungs- und Armaturenverbindungen müssen so ausgeführt sein, dass sie durch ihre Konstruktion oder durch ihre Überwachung und Instandhaltung auf Dauer technisch dicht sind und bei Normalbetrieb kein Erdgas freigesetzt wird. Davon ausgenommen sind minimale Mengen, die beim Lösen der Füllkupplung vom Fahrzeug technisch bedingt freigesetzt werden.

(6) Der Verdichter ist mit einem Druckwächter zu überwachen, damit ein betriebliches Ansprechen von Sicherheitseinrichtungen gegen Drucküberschreitungen vermieden wird. Der Druckwächter ist so einzustellen, dass er vor der Sicherheitseinrichtung anspricht und den Verdichter abschaltet. Die zulässige Gastemperatur nach dem Verdichter ist mittels eines Temperaturbegrenzers abzusichern, der den Verdichter abschaltet. Es ist durch geeignete Maßnahmen sicherzustellen, dass die Schwingungen des Verdichters nicht auf andere Anlagenkomponenten übertragen werden.

(7) Jeder Gasspeicherbehälter bzw. jede Behältergruppe muss für sich von der zuführenden Rohrleitung abgesperrt werden können. Die Absperreinrichtungen müssen leicht zugänglich oder fernbetätigbar sein.

(8) Der Gaszufluss zur Erdgasfüllanlage muss eingangsseitig absperrbar sein. Die Absperrarmatur ist unter Berücksichtigung der jeweils gegebenen örtlichen und anlagenspezifischen Verhältnisse so anzuordnen, dass sie bei Abweichungen vom bestimmungsgemäßen Betrieb an der Gasfüllanlage sicher betätigt werden kann. Sie ist durch ein Hinweisschild zu kennzeichnen und vor unbefugtem Zugriff zu sichern. Die Absperrarmatur sollte sich möglichst am Beginn der Anschlussleitung zur Gasfüllanlage befinden.

(9) Zur Vermeidung innerer Korrosion und gefährlicher Betriebszustände darf nur Erdgas vorgehalten werden, dessen Taupunkt bei Füllbedingungen (200 bar und 288,16 K) ≤ -20 °C beträgt. Dazu verwendete Gastrocknungsanlagen müssen ferner sicherstellen, dass Hydratbildung und Funktionsbeeinträchtigungen der Anlage sicher vermieden werden.

4.2.3.3 Abblase- und Entspannungsleitungen

(1) Explosionsfähige Atmosphäre darf nicht verschleppt werden. Satz 1 gilt für Abblase- und Entspannungsleitungen an Erdgasbehältern als erfüllt, wenn sie nicht in geschlossene Räume, nicht in Domschächte und nicht im Inneren von Abgabeeinrichtungen münden; ihre Austrittsöffnungen müssen gegen das Eindringen von Regenwasser geschützt sein.

(2) Bei der Lagerung von Erdgas unter einer Überdachung oder in einem Raum ist vom Sicherheitsventil eine Abblaseleitung so über Dach ins Freie zu führen, dass austretendes Erdgas gefahrlos abgeleitet werden kann.

(3) Absatz 1 Satz 1 gilt für Austrittsöffnungen von Abblase- und Entspannungsleitungen als erfüllt, wenn Schornsteinöffnungen, Öffnungen von Regenfallrohren und Fenstern, die zum Öffnen eingerichtet sind, außerhalb der im Ex-Zonenplan festgelegten explosionsgefährdeten Bereiche angeordnet sind.

(4) Abblase- und Entspannungsleitungen dürfen nicht absperrbar sein. Der Anschluss von Leitungen aus Bereichen unterschiedlicher Druckstufen ist zu vermeiden. Werden jedoch Leitungen aus Bereichen unterschiedlicher Druckstufen an eine Sammelleitung angeschlossen, darf der maximal mögliche Druck in der Sammelleitung den höchst zulässigen Betriebsdruck im Anlagenbereich mit der niedrigsten Druckstufe nicht überschreiten.

(5) Abblase- und Entspannungsleitungen müssen so ins Freie münden, dass durch austretende Dampf-Luft-Gemische oder Gase keine Gefahren für Beschäftigte und andere Personen entstehen können.

4.2.3.4 Abgabeeinrichtungen

(1) Abgabeeinrichtungen sind entsprechend der abzugebenden Kraftstoffe und der vorgesehenen Betriebsweise auszuwählen.

(2) Abgabeeinrichtungen müssen so betrieben werden, dass ein Überfüllen des Kraftfahrzeugbehälters sowie ein unbeabsichtigter Austritt von Erdgas in die Umgebung verhindert wird.

(3) Dies gilt für Erdgas als erfüllt, wenn redundante, automatisch gesteuerte Absperrarmaturen für die Abgabeeinrichtung vor jeder Betankungsschlauchleitung vorhanden sind, die selbsttätig schließen, sobald der zulässige Füllüberdruck im Druckgasbehälter des Fahrzeuges erreicht ist oder eine zugeordnete MSR-Schutzeinrichtung anspricht. Die Absperrarmaturen müssen auch bei häufigen Schaltvorgängen dauerhaft technisch dicht sein (z.B. Magnetventile). Eine der Absperreinrichtungen muss so eingebaut sein, dass sie im Fall eines Abrisses der Abgabeeinrichtung weiterhin sicher funktioniert. Zur Aufrechterhaltung der Funktionsfähigkeit der Absperrarmaturen muss vor diesen ein Filter eingebaut sein, der im Erdgasstrom befindliche Partikel herausfiltert. Auf die Redundanz der ferngesteuerten Absperrarmaturen kann verzichtet werden, wenn die Leitung zwischen dem Magnetventilen) des Pufferbehälters und der Abgabeeinrichtung nicht länger als 5 m ist. Jede Leitung vom Speicherbehälter zur Abgabeeinrichtung muss am Speicherbehälter durch ein stromlos geschlossenes Ventil abgesichert sein. Dieses muss in die Sicherheitskette der Abgabeeinrichtung eingebunden sein.

(4) In jeder Abgabeeinrichtung ist eine temperaturkompensierte MSR-Betriebseinrichtung vorzusehen, die bei Erreichen des gemäß fahrzeugtechnischen Vorgaben zulässigen Überdruckes in der Druckgasanlage des Fahrzeuges von 200 bar bezogen auf +15 °C die weitere Gaszufuhr zur Betankungsschlauchleitung selbsttätig unterbricht.

(5) Der höchstzulässige Fülldruck der Abgabeeinrichtung beträgt auf Grund verkehrsrechtlicher Vorschriften (siehe auch UN ECE R1 10) unter Berücksichtigung von messtechnischen und Bauteiltoleranzen 260 bar. Durch eine separate MSR-Schutzeinrichtung ist sicherzustellen, dass unter Berücksichtigung von messtechnischen und Bauteiltoleranzen gemäß fahrzeugtechnischen Vorgaben 280 bar zum Schutz der Erdgasanlage im Fahrzeug nicht überschritten werden.

(6) Der Füllschlauch muss für Erdgas sowie für die vorgesehene Betriebsweise und den vorgesehenen Betriebsdruck geeignet sein und während des Betriebs dicht bleiben. Der Ableitwiderstand zwischen den Anschlussarmaturen darf 106 Ω nicht überschreiten (siehe TRBS 2153).

(7) Die am Tankanschluss des Fahrzeuges anzuschließende Füllkupplung muss so ausgebildet sein, dass der Gasdurchfluss nur freigegeben wird, wenn ein einwandfrei dichter Anschluss vorliegt. Die Kupplung muss so konstruiert sein, dass das Lösen vom Fahrzeug erst nach Druckentlastung erfolgen kann.

(8) Es dürfen zur Abgabe nur Füllkupplungen oder Adapter verwendet werden, die zu den fahrzeugseitigen Anschlüssen passen und eine sichere Abgabe von Kraftstoff ermöglichen. Dies gilt sowohl für Abgabe an Pkw ("NGV1") als auch für die Abgabe an Nutzfahrzeuge ("NGV1 " auf "NGV2") (siehe hierzu auch ANSI NGV1-2006 und ANSI NGV2-2007). Der Arbeitgeber bzw. Betreiber darf die Abgabe mit Adaptern untersagen.

(9) Füllkupplungen müssen gegen unbeabsichtigtes Lösen gesichert sein, z.B. durch Betätigen einer Sperrvorrichtung. Sie müssen so beschaffen sein, dass auch bei einem nicht bestimmungsgemäßen Lösen unter Druck keine Personen gefährdet werden. Zur Vermeidung einer gefährlichen explosionsfähigen Atmosphäre darf beim Lösen der Kupplung nicht mehr als 0,05 L Gas freigesetzt werden.

4.2.4 Weitere explosionsschutztechnische Anforderungen

(1) Liegen Öffnungen von Behältern zur Lagerung von Betriebsstoffen mit einem Flammpunkt > 55 °C, z.B. Diesel oder wässrige Harnstofflösung (Ad-Blue) im Wirkbereich oder explosionsgefährdeten Bereichen von anderen Anlagen oder -teilen (z.B. im Fernfüllschacht), müssen die Behälter und deren Ausrüstung den Anforderungen zum Explosionsschutz für Kraftstoffe entsprechen.

(2) An Teilen von Betankungsanlagen für Kraftstoffe kann nach den Bestimmungen der §§ 6 und 11 der GefStoffV die Bildung gefährlicher explosionsfähiger Atmosphäre nicht sicher verhindert werden. Deshalb sind in explosionsgefährdeten Bereichen Maßnahmen zum Schutz vor Entzündung explosionsfähiger Atmosphäre gemäß TRBS 2152 Teil 3 und zur Beschränkung der Auswirkungen einer Explosion gemäß TRBS 2152 Teil 4 erforderlich.

(3) Für die Auswahl von Geräten zur Verwendung in explosionsgefährdeten Bereichen gilt TRBS 2152 Teil 3 Nummer 5.1 Absatz 3. Hierbei sind insbesondere die Betriebsanleitungen der Hersteller der Geräte, Sicherheits-, Kontroll- oder Regelvorrichtungen nach Richtlinie 94/9/EG (ab 20.4.2016: Richtlinie 2014/34/EU) zu berücksichtigen.

(4) Schutzsysteme, die in explosionsgefährdeten Bereichen eingesetzt werden (z.B. Flammendurchschlagsicherungen), dürfen nur in Betrieb genommen werden, wenn sie die Anforderungen der 11. ProdSV (Explosionsschutzverordnung) erfüllen und für den vorgesehenen Einsatzfall geeignet sind. Hierbei sind insbesondere die Betriebsanleitungen der Hersteller zu berücksichtigen.

(5) In unmittelbarer Nähe von explosionsgefährdeten Bereichen der Zone 0 und der Zone 1 sowie oberhalb aller explosionsgefährdeter Bereiche dürfen Zündquellen, die auf die explosionsgefährdeten Bereiche gefährlich einwirken können (z.B. Feuerstätten, offenes Feuer, nichtexplosionsgeschützte Leuchtmittel, Rauchen), nicht vorhanden sein.

(6) Damit explosionsfähige Atmosphäre nicht verschleppt werden kann, müssen Einmündungen und Schutzrohre für Kabel und Rohrleitungen in explosionsgefährdeten Bereichen gegen das Eindringen von Kraftstoffen und deren Dämpfen geschützt sein.

(7) Zur Vermeidung gefährlicher elektrostatischer Aufladungen bei der Befüllung von Lagerbehältern mit flüssigen Kraftstoffen muss die maximale Füllrate begrenzt werden. Überschreitet sie 1200 L/min, sind zusätzliche Maßnahmen zur Vermeidung gefährlicher elektrostatischer Aufladungen zu treffen, z.B. zusätzliche Erdung des Straßentankfahrzeugs (siehe TRBS 2153). Entsprechendes gilt für Gaspendelleitungen.

4.2.5 Weitere Anforderungen des Brandschutzes

(1) Damit Entstehungsbrände auch durch andere Personen bekämpft werden können, müssen die nach ArbStättV erforderlichen Feuerlöscheinrichtungen auch in unmittelbarer Nähe der Abgabeeinrichtungen vorhanden sein. Die Feuerlöscheinrichtungen müssen für die Brandklassen a und B geeignet sein.

(2) Bei Betankungsanlagen mit oberirdischen Lager- oder Speicherbehältern sind Art und Umfang der Brandbekämpfungseinrichtungen im Einzelfall nach den örtlichen und betrieblichen Verhältnissen, insbesondere nach der Menge und den Stoffeigenschaften der gelagerten Kraft- und Betriebsstoffe, zu bestimmen. Sie sind durch angemessene Einrichtungen zur Benachrichtigung der zuständigen Feuerwehr, z.B. durch Feuermelder, zu ergänzen.

(3) Im Wirkbereich von Abgabeeinrichtungen sind nur Abfallbehälter zulässig, die aus Metall oder selbstverlöschenden Materialien bestehen und mit Ausnahme der Einfüllöffnung eine geschlossene Oberfläche haben.

4.2.6 Rohrleitungen

(1) Für Installation und Montage von kraftstoffführenden Rohrleitungen in Betankungsanlagen gelten die TRBS der Reihe 2141.

(2) Rohrleitungen für Kraft- und Betriebsstoffe müssen für die zu erwartenden mechanischen, thermischen und chemischen Beanspruchungen geeignet sein und während des Betriebes dicht bleiben. Dies gilt hinsichtlich der mechanischen Beanspruchungen als erfüllt, wenn die kraftstoffführenden Rohrleitungen für flüssige Kraft- und Betriebsstoffe für einen maximal zulässigen Druck von mindestens 16 bar (PN 16), für Flüssiggas für einen maximal zulässigen Druck von mindestens 25 bar (PN 25) und für Erdgas auf den jeweiligen Betriebsdruck ausgelegt sind. Für die Druckabsicherung der Rohrleitungen gilt TRBS 2141 Teil 1.

(3) Erdgas und Flüssiggas darf nicht unbeabsichtigt aus den Lagerbehältern nachströmen können. Dazu müssen in den Rohrleitungen zwischen Lagerbehälter und Abgabeeinrichtung mit geringer Länge der Rohrleitung zum Lagerbehälter (unmittelbar hinter dem Lagerbehälter) Schnellschlussventile mit Einbindung in das Anlagen-Aus-System vorhanden sein, die schließen, sobald die Fördereinrichtung ausgeschaltet oder die Stromzuführung unterbrochen ist. In den Rücklaufleitungen für Flüssiggas ist der Einsatz von geeigneten Rückschlagventilen ausreichend.

(4) Die Fülleinrichtungen müssen verschließbar sein, z.B. durch dicht schließende Verschlusskappen.

(5) Die Gefahr des Funkenreißens beim Befestigen oder Lösen von Füllleitungen für entzündbare, leicht entzündbare oder extrem entzündbare Kraftstoffe muss ausgeschlossen sein. Für Maßnahmen siehe TRBS 2152 Teil 3. Für die Zoneneinteilung wird auf Nummer 4.1.10 verwiesen.

(6) Im Verlaufe von Rohrleitungen ist zum Zwecke der Ableitung elektrostatischer Aufladungen eine dauerhafte elektrostatisch leitfähige Verbindung zwischen den einzelnen Segmenten der Rohrleitung erforderlich, sofern aufgrund der Konstruktion nicht auf Dauer von einer ausreichenden leitfähigen Verbindung ausgegangen werden kann. Isolierstücke an Flanschen der Füll- und Gaspendelstutzen sind zur Vermeidung elektrostatischer Aufladungen mit einem Widerstand < 106 Ω zu überbrücken. Satz 1 gilt bezüglich der Ableitung elektrostatischer Aufladungen für Rohrleitungen aus nichtmetallischen Werkstoffen als erfüllt, wenn der Ableitwiderstand des Rohrmaterials oder einer leitfähigen Innenbeschichtung zwischen den metallischen Anschlüssen ≤ 106 Ω beträgt. Bei isolierenden Kunststoffrohren mit einer leitfähigen Innenbeschichtung darf die in einem explosionsgefährdeten Bereich der Zone 1 frei zugängliche äußere Oberfläche, die durch mechanische Reibung elektrostatisch aufgeladen werden kann, nicht größer als 100 m2 sein, in Zone 0 nicht größer als 50 cm2.

(7) Oberirdische Rohrleitungen sind gegen Anfahren durch Fahrzeuge, zu schützen. Schutzabstände sowie die Notwendigkeit eines zusätzlichen oder ersetzenden Anfahrschutzes sind zu ermitteln. Dabei sind die Aufstellbedingungen, z.B. das zu erwartende Verkehrsaufkommen in der Nähe der Lagerbehälter, die Art, die Masse, die Geschwindigkeit und Fahrtrichtung der dort verkehrenden Fahrzeuge, zu berücksichtigen.

(8) Von Fernfüllschächten oder -schränken abgehende Rohrleitungen, die sich in öffentlich zugänglichen Bereichen befinden, sind unterirdisch zu verlegen. Rohrleitungen und Formstücke für flüssige Kraft- und Betriebsstoffe zwischen der Flammendurchschlagsicherung und dem Ort der möglichen Entzündung müssen dem zu erwartenden Explosionsdruck standhalten ohne aufzureißen. Dies ist z.B. erfüllt, wenn Rohre und Formstücke für einen maximal zulässigen Druck von mindestens 10 bar (PN 10) ausgeführt sind, auf Absatz 2 wird verwiesen. Der Abstand zwischen einer Deflagrationssicherung und dem Ort der möglichen Entzündung sowie dort angeordnete Formstücke müssen den in der Betriebsanleitung des Herstellers festgelegten Anforderungen entsprechen.

(9) Bezüglich der Notwendigkeit von und Anforderungen an Funkenstrecken siehe Nummer 4.1.14.

4.3 Montage, Installation (Errichtung)

4.3.1 Grundsätze, Koordinierung der Arbeiten

(1) Wenn eine Betankungsanlage montiert, installiert oder instand gehalten wird, hat der Arbeitgeber bzw. Betreiber sicherzustellen, dass die Relevanz der Arbeiten für den Brand- und Explosionsschutz erkannt wird, damit geeignete Schutzmaßnahmen getroffen werden können. Dazu muss der Arbeitgeber bzw. Betreiber über entsprechendes Personal verfügen, das aufgrund seiner fachlichen Ausbildung, seiner Spezialkenntnisse und entsprechenden Fähigkeiten sowie Erfahrung mit der Montage, Installation oder Instandhaltung von Betankungsanlagen die übertragenen Arbeiten durchführen, beurteilen und im Rahmen seiner Tätigkeiten die Relevanz erkennen kann.

(2) Beauftragt der Arbeitgeber bzw. Betreiber andere Arbeitgeber (Fremdfirma) mit der Beurteilung der Relevanz und der Montage, Installation oder Instandhaltung von Betankungsanlagen, gelten für diese die Anforderungen nach Absatz 1 Satz 2 entsprechend. Der Arbeitgeber bzw. Betreiber hat sich bei der Beauftragung anderer Arbeitgeber von deren Befähigungen, Befugnissen und Kenntnissen in angemessener Weise zu überzeugen. Dazu kann es notwendig sein, dass der Arbeitgeber bzw. Betreiber sich entsprechende Nachweise vorlegen lässt.

(3) Für die Montage und Installation von Betankungsanlagen muss der Arbeitgeber bzw. Betreiber sicherstellen, dass Personen eingesetzt werden, die aufgrund ihrer fachlichen Ausbildung, ihrer Spezialkenntnisse und entsprechenden Fähigkeiten sowie Erfahrung mit der Montage und Installation von Betankungsanlagen die übertragenen Arbeiten durchführen können. Für die Montage und Installation von Betankungsanlagen sind weiterhin eine geeignete Ausstattung sowie eine geeignete Organisation erforderlich sowie die notwendigen Unterlagen heranzuziehen.

(4) Füllanschlüsse und Anschlüsse für die Grenzwertgeber sind eindeutig zuzuordnen.

(5) Bei Arbeiten an Betankungsanlagen ist die Arbeitsstelle so abzusichern, dass Beschäftigte und andere Personen nicht gefährdet werden. Die Arbeitsstelle ist gegen unbefugten Zutritt zu sichern.

(6) Bei Arbeiten an Betankungsanlagen ist eine Aufsicht auf Grundlage der Gefährdungsbeurteilung zu gewährleisten. Werden die Arbeiten während des Normalbetriebs der Betankungsanlage durchgeführt, können nach der Gefährdungsbeurteilung zusätzliche Maßnahmen für den Drittschutz erforderlich werden. Dazu ist eine zuverlässige, mit den Arbeiten, den dabei auftretenden Gefahren und den erforderlichen Schutzmaßnahmen vertraute Person als Aufsichtführender (Verantwortlicher) zu beauftragen und dieser erforderlichenfalls durch Bereitstellung von einer dazu beauftragten Personen mit entsprechender Fachkunde und Geräten zu unterstützen. Der Aufsichtführende hat insbesondere dafür zu sorgen, dass

  1. mit den Arbeiten erst begonnen wird, wenn die festgelegten Maßnahmen getroffen sind,
  2. die festgelegten Maßnahmen während der Arbeiten eingehalten werden,
  3. die Beschäftigten während der Arbeiten die vorgesehenen persönlichen Schutzausrüstungen benutzen,
  4. die Beschäftigten und ggf. andere Personen im Notfall ausreichende Fluchtmöglichkeiten haben,
  5. Unbefugte von der Arbeitsstelle ferngehalten werden.

(7) Zur Koordinierung der Tätigkeiten verschiedener Arbeitgeber (z.B. Wartungs- und Instandhaltungsbetriebe, Spediteure, Shop-Lieferanten, Zugelassene Überwachungsstellen (ZÜS) an einer Betankungsanlage wird auf § 8 Absatz 1 ArbSchG und § 13 BetrSichV und § 15 Absatz 4 GefStoffV hingewiesen.

4.3.2 Arbeiten in explosionsgefährdeten Bereichen
(Schutzmaßnahmen vor Explosionsgefahren)

(1) In explosionsgefährdeten Bereichen sind Explosionsschutzmaßnahmen erforderlich, wenn bei den durchzuführenden Arbeiten gefährliche explosionsfähige Atmosphäre vorhanden ist, sich bilden oder (z.B. durch Nachverdampfung) erneut bilden kann.

(2) Bei Arbeiten an Betankungsanlagen können sich über die für den Normalbetrieb festgelegten explosionsgefährdeten Bereiche hinaus zusätzliche, auf die Dauer der Arbeiten befristete Bereiche mit gefährlicher explosionsfähiger Atmosphäre ergeben. Hierbei ist eine Einteilung in Zonen nicht sinnvoll. Dennoch sind geeignete Explosionsschutzmaßnahmen erforderlich und im Rahmen der Gefährdungsbeurteilung zu ermitteln und zu dokumentieren. Zur Dokumentation gehört auch die schriftliche Arbeitsanweisung und ggf. das Ausstellen eines Freigabescheins. Geeignete Explosionsschutzmaßnahmen sind z.B.

  1. Festlegung von Bereichen, in denen mit gefährlicher explosionsfähiger Atmosphäre zu rechnen ist (Gefahrenbereich),
  2. Absperrung der Gefahrenbereiche,
  3. Einschränkung des Fahrzeugbetriebes,
  4. Stillsetzen elektrischer und sonstiger nichtexplosionsgeschützter Anlagen,
  5. Verhindern des Eindringens von Flüssiggas und Dämpfen flüssiger Kraftstoffe in Kanäle, Schächte und andere benachbarte und tiefer gelegene Räume,
  6. gezielte Entspannung von Anlagen für Flüssiggas oder Erdgas,
  7. Maßnahmen zur gezielten Ableitung oder Eingrenzung explosionsfähiger Atmosphären (Dämpfe flüssiger Kraftstoffe, Flüssiggas oder Erdgas),
  8. Auswahl geeigneter explosionsgeschützter Geräte und Arbeitsmittel,
  9. Messung der Gasfreiheit,
  10. Verwendung geeigneter persönlicher Schutzausrüstung,
  11. Sicherstellung einer ausreichenden Belüftung.

(3) Arbeiten in oder in der Nähe von explosionsgefährdeten Bereichen sowie der Gefahrenbereiche nach Absatz 2 sind gemäß schriftlicher Anweisungen des Arbeitgebers auszuführen.

(4) Arbeiten in Zone 0 und in Bereichen mit gefährlicher Konzentration brennbarer Stoffe sind grundsätzlich zu vermeiden. Ist dies nicht möglich, dürfen die Arbeiten nur von besonders eingewiesenen Personen und nur mit Betriebsmitteln, Werkzeugen und persönlichen Schutzausrüstungen, die für Zone 0 zulässig sind, durchgeführt werden. In diesen Fällen ist eine schriftliche Arbeitsfreigabe mit Angabe der zur sicheren Arbeit notwendigen Maßnahmen erforderlich.

(5) Bei Arbeiten an Betankungsanlagen freiwerdende Dampf-Luft-Gemische flüssiger entzündbarer, leicht entzündbarer oder extrem entzündbarer Kraft- oder Betriebsstoffe sowie freiwerdendes Flüssiggas oder Erdgas sind gefahrlos abzuleiten.

4.3.3 Gefährliche elektrostatische Aufladung

Gefährliche elektrostatische Aufladungen dürfen bei der Befüllung von Lagerbehältern sowie bei der Betankung von Fahrzeugen mit Kraftstoffen sowie bei der Befüllung von Behältern zur Lagerung von Betriebsstoffen nicht entstehen, siehe hierzu auch TRBS 2153. Dazu müssen sich bei flüssigen Kraft- und Betriebsstoffen die Auslauföffnungen der Füllrohre möglichst nahe über dem Lagerbehälterboden befinden; ein Versprühen muss ausgeschlossen sein.

4.3.4 Montage von Lagerbehältern, Behältern zur Lagerung von Betriebsstoffen und Domschächten

(1) Lagerbehälter und Behälter zur Lagerung von Betriebsstoffen sind so zu montieren und zu installieren, dass sie ihre Lage nicht verändern können und durch äußere Einwirkungen nicht beschädigt werden. Domschächte sind so zu montieren, dass eine Ansammlung oder Verschleppung gefährlicher explosionsfähiger Atmosphäre verhindert wird.

(2) Sollen unterirdische Lagerbehälter für flüssige Kraftstoffe oder für Flüssiggas oder unterirdische Behälter zur Lagerung von Betriebsstoffen in einem Bereich eingebaut werden, in dem mit einer Veränderung seiner Lage durch Grundwasser oder Staunässe oder Überschwemmung zu rechnen ist, müssen sie verankert oder durch entsprechende Belastung gegen Aufschwimmen gesichert sein, wobei die Verankerung oder Belastung mindestens 1,3fache Sicherheit gegen den Auftrieb des leeren Lagerbehälters bzw. Behälters zur Lagerung bei vollständiger Überflutung haben muss.

(3) Oberirdische Lagerbehälter für flüssige Kraftstoffe oder für Flüssiggas sowie Behälter zur Lagerung von Betriebsstoffen in Überschwemmungsgebieten oder überschwemmungsgefährdeten Gebieten müssen

  1. so aufgestellt sein, dass sie vom zu erwartenden Hochwasser nicht erreicht werden können, oder
  2. einschließlich ihrer Anlagenteile durch geeignete Verankerungen so gesichert sein, dass sie bei einem Hochwasserereignis ihre Lage nicht verändern oder aufschwimmen; hierzu müssen sie mit mindestens 1,3facher Sicherheit gegen den Auftrieb des leeren Lagerbehälters gesichert werden, und
  3. dem von außen einwirkenden zu erwartenden Wasserdruck standhalten; dies gilt für Lagerbehälter gemäß Bauregelliste a Teil 1 Nummer 15.2 und 15.3 als erfüllt, und
  4. so aufgestellt sein, dass über Entlüftungs-, Füll- oder Entnahmeleitungen oder sonstige Öffnungen oder Armaturen kein Wasser eindringen kann.

(4) Bei Aufstellung oberirdischer Lagerbehälter im Freien in Überschwemmungsgebieten oder überschwemmungsgefährdeten Gebieten müssen die Lagerbehälter mit einem Schutz gegen Beschädigungen durch Treibgut oder Eisstau versehen werden.

(5) Domschächte dürfen keine Belastungen auf den Lagerbehälter übertragen, die zu Beschädigungen der Wandung des Lagerbehälters oder der Isolierung führen können.

(6) Durchbrüche für Kabel und Rohrleitungen durch Domschächte von Lagerbehältern und von Behältern zur Lagerung von Betriebsstoffen mit einem Flammpunkt ≤ 55 °C müssen gegen das Eindringen von Kraftstoffen und deren Dämpfen geschützt werden.

(7) Innerhalb des Wirkbereichs von Abgabeeinrichtungen für flüssige Kraftstoffe und Flüssiggas müssen die Einmündungen von Kanälen und Schutzrohren für Kabel und Rohrleitungen in Schächten gegen das Eindringen von Kraftstoffen und deren Dämpfen geschützt sein. Dies wird durch Abdichtung mit dauerelastischem und mineralölbeständigem Material oder mit mineralölbeständigen Kabelkanalabdichtungen erreicht.

(8) Zur Vermeidung der Ansammlung gefährlicher Mengen explosionsfähiger Atmosphäre in Sockel-, Revisions- und Kabelschächten von Abgabeeinrichtungen und Schächten in den Wirkbereichen gemäß Nummer 4.1.7 müssen diese entweder abgedeckt oder mit Sand verfüllt sein. Für Sockelschächte von Abgabeeinrichtungen gilt Satz 1 als erfüllt, wenn nur die Anschlussarmaturen, Schnellschlussarmaturen etc. frei zugänglich sind.

5 Betrieb der Betankungsanlage

5.1 Normalbetrieb der Betankungsanlage

5.1.1 Betriebsanweisung und Unterweisung, besondere Weisungen, Alarm- und Einsatzpläne, Sicherheitsmaßnahmen bei Betriebsstörungen

(1) Gemäß § 12 ArbSchG, § 14 GefStoffV und § 12 BetrSichV sind die Beschäftigten über die auftretenden Gefahren sowie über die Maßnahmen zu ihrer Abwendung vor der erstmaligen Beschäftigung und danach in angemessenen Zeitabständen, mindestens einmal jährlich, anhand von Betriebsanweisungen zu unterweisen.

(2) Störungen oder Schäden der Betankungsanlage sind in einem jeweils gefährdungsabhängig angemessenen Zeitraum zu begegnen. Auf die Erfordernis einer Unfall- und Schadensanzeige gemäß § 19 Absatz 1 BetrSichV wird hingewiesen.

(3) Auf die für die sichere Betankung durch andere Personen erforderlichen Kennzeichnungen und Verbote, insbesondere auf

  1. das Verbot der Betankung bei laufendem Motor und laufender Fremdheizung mit Brennkammer,
  2. das Verbot von Rauchen und offenem Feuer sowie
  3. auf das Verbot des Befüllens von Druckgasbehältern im Sinne der TRBS 3145/TRGS 725 mit Flüssiggas

ist deutlich sichtbar, dauerhaft und gut lesbar bzw. verständlich hinzuweisen

(4) Für eine sichere Betankung an Gasfüllanlagen muss der Ablauf des Betankungsvorgangs in einer allgemein verständlichen Betankungsanweisung festgelegt sein. Diese ist in dauerhafter Form gut sichtbar im Blickfeld des Kunden an oder nahe der Abgabeeinrichtung auszuhängen (z.B. als selbsterklärendes Piktogramm).

(5) An Abgabeeinrichtungen, die mengenbegrenzt die Abgabe von Kraftstoff freigeben, muss für den Betrieb ohne Beaufsichtigung eine allgemein verständliche Betankungsanweisung, z.B. eine ergonomische Bedienerführung oder ein selbsterklärendes Piktogramm, angebracht sein.

(6) Die Betriebsanweisung gemäß Absatz 1 muss insbesondere enthalten, dass

  1. die explosionsgefährdeten Bereiche von Stoffen freizuhalten sind, die ihrer Art oder Menge nach geeignet sind, zur Entstehung oder Ausbreitung von Bränden zu führen. Abfallbehältnisse sind in explosionsgefährdeten Bereichen unzulässig,
  2. in den explosionsgefährdeten Bereichen Arbeiten, die zündfähige Funken erzeugen können, nicht durchgeführt werden dürfen,
  3. vorgeschriebene Sicherheitseinrichtungen zu benutzen sind und so betrieben werden, dass ihre Wirksamkeit erhalten bleibt,
  4. Sicherheitseinrichtungen insbesondere nicht umgangen oder ganz oder teilweise unwirksam gemacht werden dürfen, und
  5. welche sicherheitsrelevanten Maßnahmen zu Betriebsbeginn und zu Betriebsende durchzuführen sind, sowie
  6. wann Lagerbehälter für flüssige Kraftstoffe und für Flüssiggas nicht zeitlich parallel befüllt werden dürfen.

5.1.2 Überwachung durch den Arbeitgeber bzw. Betreiber

(1) Wer eine Tankstelle oder Gasfüllanlage betreibt, hat diese in ordnungsgemäßem Zustand zu erhalten, ordnungsgemäß zu betreiben, ihren Zustand zu überwachen, notwendige Instandhaltungs- und Instandsetzungsarbeiten unverzüglich vorzunehmen und die den Umständen nach erforderlichen Sicherheitsmaßnahmen zu treffen. Dies ist für die Überwachung erfüllt, wenn der ordnungsgemäße Zustand der Tankstelle und der Gasfüllanlage mindestens betriebstäglich vom jeweiligen Arbeitgeber bzw. Betreiber oder von einer unterwiesenen Person festgestellt wird.

(2) An Tankstellen oder Gasfüllanlagen mit ausschließlichem oder teilweisem Betrieb ohne Beaufsichtigung ist die Notrufnummer des Arbeitgeber bzw. Betreibers oder einer von ihm beauftragten Stelle zur Meldung von Schäden auszuhängen.

(3) Eine Tankstelle oder Gasfüllanlage darf nicht betrieben werden, wenn sie Mängel aufweist, durch die Beschäftigte oder andere Personen gefährdet werden können. Es sind unverzüglich Maßnahmen zur Beseitigung oder Minderung des gefährlichen Zustandes zu ergreifen.

(4) Zur Vermeidung von Zündgefahren darf in der Betankungsanlage mit Ausnahme dafür ausgewiesener Orte nicht geraucht werden.

(5) Arbeitgeber bzw. Betreiber müssen sicherstellen, dass besondere bei der Befüllung der Lagerbehälter und Behälter zur Lagerung von Betriebsstoffen zu berücksichtigende Umstände oder Einrichtungen eingehalten bzw. benutzt werden. Dies betrifft z.B.

  1. die Positionierung des Tankfahrzeugs auf der dafür vorgesehenen Abfüllfläche,
  2. die Sicherung des Tankfahrzeugs gegen Wegrollen,
  3. die Verwendung von Abfüll-Schlauch-Sicherungen oder Einrichtungen mit Aufmerksamkeitstaste und Not-Aus-Betätigung bei der Befüllung von Lagerbehältern für flüssige Kraftstoffe und Behälter zur Lagerung flüssiger Betriebsstoffe,
  4. die Möglichkeit zur Unterbrechung des Befüllvorgangs von Flüssiggaslagerbehältern durch einen Not-Aus-Taster am Tankfahrzeug durch den Tankwagenfahrer,
  5. die Befüllung der Lagerbehälter und Behälter zur Lagerung von Betriebsstoffen nur über fest angeschlossene Rohre oder Schläuche und mittels Rohren und Schläuchen mit einem elektrischen Widerstand von nicht mehr als 106 Ω zwischen den Anschlussarmaturen,
  6. die Dichtheit der Verbindungen beim Befüllen der Lagerbehälter und Behälter zur Lagerung von Betriebsstoffen,
  7. die Verwendung von Rohren und Schläuchen mit einem elektrischen Widerstand von nicht mehr als 106 Ω zwischen den Anschlussarmaturen,
  8. die separate Erdung der Straßentankfahrzeuge, wenn mit Volumenströmen von mehr als 1200 L/min abgefüllt wird,
  9. den Ausgleich der elektrischen Potenziale vor Beginn der Abgabe mit dem am Tankfahrzeug angekuppelten Schlauch außerhalb des Domschachtes, wenn mit Volumenströmen von nicht mehr als 1200 L/min abgefüllt wird,
  10. die Ermittlung des Flüssigkeitsstandes im Lagerbehälter und in den Behältern zur Lagerung von Betriebsstoffen vor dem Befüllen und der maximal zulässigen Befüllmenge,
  11. für flüssige Kraftstoffe den Anschluss des Grenzwertgebers an die Abfüllsicherung des Tankfahrzeuges beim Befüllen der Lagerbehälter und Behälter zur Lagerung von Betriebsstoffen,
  12. die Beobachtung des Befüllvorgangs.

(6) Der Arbeitgeber bzw. Betreiber hat sicherzustellen, dass die bei der Befüllung der Lagerbehälter für Flüssiggas erforderlichen besonderen Maßnahmen durchgeführt werden. Hierzu gehört z.B.:

  1. die Inaugenscheinnahme des Schlauches, Prüfung des Ventilanschlusses auf Verunreinigungen und Prüfung des Füllventils des Flüssiggaslagerbehälters auf Unversehrtheit,
  2. die so weit wie mögliche Kontrolle der äußeren Unversehrtheit einer Füllleitung,
  3. die Feststellung des Inhalts des zu befüllenden Flüssiggaslagerbehälters durch Ablesen des Inhaltsanzeigers,
  4. der Anschluss des Grenzwertgebers des Flüssiggaslagerbehälters gemäß Nummer 4.2.2.4 mit dem dafür vorgesehen Verbindungskabel an das Tankfahrzeug,
  5. die Beobachtung des Befüllvorgangs und ggf. des Peilventils.

(7) Der Arbeitgeber bzw. Betreiber einer Tankstelle oder Gasfüllanlage hat zu kontrollieren, ob die erforderlichen Betriebsanweisungen eingehalten werden. Es ist in den erforderlichen zeitlichen Abständen insbesondere zu kontrollieren, ob

  1. sich die Tankstelle oder Gasfüllanlage in einem ordnungsgemäßen Zustand befindet,
  2. Abgabeeinrichtungen dicht und unbeschädigt sind,
  3. Ausgänge und Angriffswege für die Brandbekämpfung freigehalten werden,
  4. die Befestigung der Abfüllflächen keine sichtbaren Schäden aufweist,
  5. verschüttete flüssige Kraft- oder Betriebsstoffe aufgesaugt oder abgetragen werden,
  6. Bodenabläufe und Entwässerungsrinnen frei von Verschmutzungen (z.B. Laub) sind,
  7. bei der Betankung von Kraftfahrzeugen Motor und Fremdheizung abgeschaltet sind,
  8. nur geeignete Gefäße oder Reservekraftstoffbehälter befüllt werden,
  9. keine Druckgasbehälter im Sinne der TRBS 3145/TRGS 725 (z.B. Propanflaschen) befüllt werden,
  10. in der Tankstelle oder Gasfüllanlage nicht geraucht oder mit offenem Feuer umgegangen wird,
  11. nach der Anlieferung von Kraftstoff die Anschlussstutzen und die Peilöffnungen der Lagerbehälter verschlossen sind,
  12. Sicherheitseinrichtungen in betriebsfähigem Zustand sind,
  13. Feuerlöscher stets an der dafür bestimmten Stelle in betriebsfähigem Zustand vorhanden sind,
  14. sich innerhalb der explosionsgefährdeten Bereiche und der Schutzabstände keine Brandlasten befinden.

5.1.3 Anlieferung der Kraftstoffe - Befüllung der Lagerbehälter und Behälter zur Lagerung von Betriebsstoffen

(1) Außerhalb des Befüllvorgangs müssen Anschlüsse für Produkt- und Gaspendelleitungen von Lagerbehältern und Behältern zur Lagerung von Betriebsstoffen fest verschlossen und so gesichert sein, dass ein unbeabsichtigtes Lockern ihres Verschlusses ausgeschlossen ist.

(2) Verschlüsse von Peilöffnungen dürfen nur zum Peilen oder zur Entnahme von Proben geöffnet werden. Während der Befüllung der Lagerbehälter und Behälter zur Lagerung von Betriebsstoffen dürfen Peilöffnungen nicht geöffnet sein.

(3) Während der Befüllung der Lagerbehälter und Behälter zur Lagerung von Betriebsstoffen muss sichergestellt sein, dass der Füllschlauch nicht überfahren oder anderweitig beschädigt werden kann.

5.1.4 Betankung von Kraftfahrzeugen

(1) Um gefährliche elektrostatische Aufladungen zu vermeiden, muss während der Betankung eine elektrostatisch leitfähige Verbindung zwischen der geerdeten Abgabeeinrichtung und dem Fahrzeug bzw. dem zu befüllenden Behälter (z.B. Reservekraftstoffbehälter, Kraftstoffbehälter von Fahrzeugen auf Anhängern) hergestellt sein.

(2) Für die ausreichende elektrostatisch leitfähige Ausführung des Zapfventils in Verbindung mit einem geerdeten Zapfschlauch siehe TRBS 2153. Ein Widerstand zwischen Auslaufrohr und Abgabeeinrichtung von < 106 Ω ist ausreichend.

(3) An Betankungsanlagendürfen Kraftstoffe außer in fest mit dem Fahrzeug verbundene Kraftstoffbehälter nur in geeignete Gefäße wie Reservekraftstoffkanister abgegeben werden. Bei der Betankung von Fahrzeugen o. ä. auf Anhängern (z.B. Boote, Motorräder, Baumaschinen) mit Kraftstoffen ist auf eine ausreichende elektrostatisch leitfähige Verbindung der Kraftstoffbehälter zum Boden zu achten. Reservekraftstoffkanister für flüssige Kraftstoffe dürfen nur auf der Abdichtfläche gemäß Nummer 4.2.1.1 stehend betankt werden.

(4) An Gasfüllanlagen für Flüssiggas und Erdgas dürfen Druckgasbehälter im Sinne der TRBS 3145/TRGS 725 nicht befüllt werden.

(5) An Tankstellen dürfen Transportbehälter mit Ausnahme von Reservekraftstoffkanistern nicht befüllt werden.

(6) Abgabeeinrichtungen müssen außerhalb der Betriebszeit gegen unbefugte Benutzung gesichert sein.

(7) Absatz 6 gilt für flüssige Kraftstoffe und für Flüssiggas als erfüllt, wenn die Abgabeeinrichtung unter Verschluss gehalten wird oder bei elektrisch betriebenen Pumpen die Stromzuleitung von einer für Unbefugte nicht zugänglichen Stelle außerhalb der Abgabeeinrichtung aus abgeschaltet wird.

(8) Absatz 6 gilt für Erdgas als erfüllt, wenn die Abgabeeinrichtung unter Verschluss gehalten wird oder bei elektrisch gesteuerten und stromlos geschlossenen Ventilen die Stromzuleitung von einer für Unbefugte nicht zugänglichen Stelle außerhalb der Abgabeeinrichtung aus abgeschaltet wird.

(9) Kleinzapfgeräte dürfen nur im Freien aufgestellt und außerhalb der Betriebszeit nur in Räumen abgestellt werden, die während dieser Zeit nicht dem Aufenthalt von Personen dienen.

5.2 Instandsetzung, Wartung

5.2.1 Qualifiziertes Personal, Koordinierung der Arbeiten

(1) Für Arbeiten zum Reinigen, Instandhalten und Instandsetzen von Betankungsanlagen gelten die Nummern 4.3.1 und 4.3.2 entsprechend.

(2) Bei Instandhaltungsarbeiten in explosionsgefährdeten Bereichen sind die Anforderungen der TRBS 1112 Teil 1 zu beachten.

(3) Absatz 1 gilt für Arbeiten in Lagerbehältern als erfüllt, wenn die Technische Regel für Gefahrstoffe TRGS 507 beachtet ist.

5.2.2 Wiederherstellung des ordnungsgemäßen Zustands nach Abschluss der Arbeiten

(1) Nach Abschluss der Arbeiten zum Reinigen, Instandhalten, Instandsetzen und Prüfen müssen die Anlagen wieder in ihren ordnungsgemäßen Zustand versetzt werden.

(2) Anlagenteile (z.B. Rohrleitungen), die zur Durchführung der Arbeiten getrennt wurden, sind einander richtig zugeordnet wieder fachgerecht und dicht zu verbinden. Öffnungen (z.B. Einsteigeöffnungen) sind wieder dicht zu verschließen, ggf. unter Verwendung neuer Dichtungen.

(3) Sicherheitseinrichtungen sind nach Durchführung der Arbeiten wieder in funktionsfähigen Zustand zu versetzen.

(4) Nach Durchführung der Arbeiten ist die Wiederherstellung des ordnungsgemäßen Zustands der Anlage zu dokumentieren.

5.2.3 Arbeiten in explosionsfähiger Atmosphäre

(1) Nummer 4.3.2 gilt entsprechend. Die Vorgaben der TRBS 1112 Teil 1 sind zu beachten. Beispiele für Gefahrenbereiche nach TRBS 1112 Teil 1 Abschnitt 3 Absatz 4 sind in Abbildung 9 dargestellt.

(2) In den Bereichen, in denen mit Streuströmen elektrischer Anlagen zu rechnen ist, z.B. bei Gleisanlagen und längeren Rohrleitungen sowie bei Parallelführung von Hochspannungsfreileitungen, muss vor einem Trennen der Rohrleitung die Trennstelle metallisch leitend überbrückt sein.

(3) Bei kathodischen Korrosionsschutzanlagen, die mit Fremdstrom betrieben werden, ist eine so rechtzeitige Abschaltung der Stromquelle erforderlich, dass Restspannungen auf ein unbedenkliches Maß abgebaut sind.

Abbildung 9: Arbeiten mit Zünd- oder Brandgefahren: Gefahrenbereiche bei Arbeiten an Betankungsanlagen

5.3 Umbau (Änderung, wesentliche Veränderung)

Für die Änderung und wesentliche Veränderung von Tankstellen siehe TRBS 1122.

5.4 Vorläufige oder endgültige Außerbetriebnahme

Tankstellen und Gasfüllanlagen, die ganz oder teilweise sowie vorübergehend oder endgültig außer Betrieb genommen werden, sind so zu sichern, dass Gefahren für Beschäftigte und andere Personen nicht entstehen.

Literatur

TRBS 1111 Gefährdungsbeurteilung und sicherheitstechnische Bewertung.

TRBS 1112 Instandhaltung.

TRBS 1112 Teil 1 Explosionsgefährdungen bei und durch Instandhaltungsarbeiten - Beurteilungen und Schutzmaßnahmen.

TRBS 1122 Änderungen und wesentliche Veränderungen von Anlagen nach § 1 Abs. 2 Satz 1 Nr. 4 BetrSichV - Ermittlung der Prüf- und Erlaubnispflicht.

TRBS 1201 Prüfungen von Arbeitsmitteln und überwachungsbedürftigen Anlagen.

TRBS 1201 Teil 1 Prüfung von Anlagen in explosionsgefährdeten Bereichen und Überprüfung von Arbeitsplätzen in explosionsgefährdeten Bereichen.

TRBS 1201 Teil 2 Prüfungen bei Gefährdungen durch Dampf und Druck.

TRBS 1201 Teil 5 Prüfung von Lageranlagen, Füllstellen, Tankstellen und Flugfeldbetankungsanlagen, soweit entzündliche, leichtentzündliche oder hochentzündliche Flüssigkeiten gelagert oder abgefüllt werden, hinsichtlich Gefährdungen durch Brand und Explosion.

TRBS 2141 Gefährdungen durch Dampf und Druck - Allgemeine Anforderungen.

TRBS 2141 Teil 1 Versagen der drucktragenden Wandung durch Abweichen von zulässigen Betriebsparametern.

TRBS 2141 Teil 2 Gefährdungen durch Dampf und Druck - Schädigung der drucktragenden Wandung.

TRBS 2141 Teil 3 Gefährdungen durch Dampf und Druck bei Freisetzung von Medien.

TRBS 2152/TRGS 720 Gefährliche explosionsfähige Atmosphäre - Allgemeines.

TRBS 2152 Teil 1/TRGS 721 Gefährliche explosionsfähige Atmosphäre - Beurteilung der Explosionsgefährdung.

TRBS 2152 Teil 2/TRGS 722 Vermeidung oder Einschränkung gefährlicher explosionsfähiger Atmosphäre.

TRBS 2152 Teil 3 Gefährliche explosionsfähige Atmosphäre - Vermeidung der Entzündung gefährlicher explosionsfähiger Atmosphäre.

TRBS 2152 Teil 4 Gefährliche explosionsfähige Atmosphäre - Maßnahmen des konstruktiven Explosionsschutzes, welche die Auswirkung einer Explosion auf ein unbedenkliches Maß beschränken.

TRBS 2153 Vermeidung von Zündgefahren infolge elektrostatischer Aufladungen.

TRBS 3145/TRGS 725 Ortsbewegliche Druckgasbehälter - Füllen, Bereithalten, innerbetriebliche Beförderung, Entleeren.

TRGS 400 Gefährdungsbeurteilung für Tätigkeiten mit Gefahrstoffen.

TRGS 507 Oberflächenbehandlung in Räumen und Behältern.

_____________________________________
*) Hinweis: Der Inhalt der TRBS 3151/TRGS 751 wurde auf Kohärenz mit der Gefahrstoffverordnung überprüft, dabei wurde bereits die Anpassung an die CLP-Verordnung vorgenommen. Darüber hinaus sind nur kleinere, insbes. redaktionelle Änderungen und notwendige Klarstellungen vorgenommen worden:


ENDE

umwelt-online - Demo-Version


(Stand: 09.12.2019)

Alle vollständigen Texte in der aktuellen Fassung im Jahresabonnement
Nutzungsgebühr: ab 105.- € netto

(derzeit ca. 7200 Titel s.Übersicht - keine Unterteilung in Fachbereiche)

Preise & Bestellung

Die Zugangskennung wird kurzfristig übermittelt

? Fragen ?
Abonnentenzugang/Volltextversion