umwelt-online: ADNR
![]() |
zurück | ![]() |
Fortgeltende Regelung ADN
3.4 In begrenzten Mengen verpackte gefährliche Güter
3.4.1 Allgemeine Vorschriften
3.4.1.1 Die gemäß 3.4.3 bis 3.4.6 verwendeten Verpackungen müssen nur den allgemeinen Vorschriften der Unterabschnitte 4.1.1.1, 4.1.1.2 und 4.1.1.4 bis 4.1.1.8 des ADR entsprechen.
3.4.1.2 Die höchstzulässige Bruttomasse darf 30 kg für zusammengesetzte Verpackungen und 20 kg für Trays in Dehn- oder Schrumpffolie nicht überschreiten.
Bem.: Die Begrenzung für zusammengesetzte Verpackungen findet bei LQ 5 keine Anwendung.
3.4.1.3 Unter Berücksichtigung der Höchstgrenzen in 3.4.1.2 sowie der individuellen Grenzen in Tabelle 3.4.6 dürfen gefährliche Güter mit anderen Stoffen oder Gegenständen zusammengepackt werden, vorausgesetzt, beim Freiwerden entsteht keine gefährliche Reaktion.
3.4.2 Wenn in Kapitel 3.2 Tabelle A Spalte (7a) für einen bestimmten Stoff oder Gegenstand der Code "LQ 0" angegeben ist, ist dieser Stoff oder Gegenstand, wenn er in begrenzten Mengen verpackt ist, von keiner der anwendbaren Vorschriften des ADNR freigestellt, sofern nichts anderes angegeben ist.
3.4.3 Wenn in Kapitel 3.2 Tabelle A Spalte (7a) für einen bestimmten Stoff oder Gegenstand einer der Codes "LQ 1" oder "LQ 2" angegeben ist, gelten, sofern in diesem Kapitel nichts anderes vorgeschrieben ist, die Vorschriften der übrigen Kapitel des ADNR nicht für die Beförderung dieses Stoffes oder Gegenstandes, vorausgesetzt:
3.4.4 Wenn in Kapitel 3.2 Tabelle a Spalte (7a) für einen bestimmten Stoff einer der Codes "LQ 3" angegeben ist, gelten, sofern in diesem Kapitel nichts anderes vorgeschrieben ist, die Vorschriften der übrigen Kapitel des ADNR nicht für die Beförderung dieses Stoffes, vorausgesetzt:
Diese Kennzeichnung muss innerhalb einer rautenförmigen Fläche abgebildet sein, die von einer Linie mit einer Seitenlänge von mindestens 100 mm eingefasst ist . Die Begrenzungslinie der Raute muss mindestens 2 mm breit sein; die Zeichenhöhe der Nummer muss mindestens 6 mm betragen. Wenn mehrere Stoffe verschiedener UN-Nummern im Versandstück enthalten sind, muss die Raute ausreichend groß sein, um alle UN-Nummern aufnehmen zu können. Wenn es die Größe eines Versandstücks erfordert, darf diese Kennzeichnung geringere Abmessungen haben, sofern sie deutlich sichtbar bleibt.
3.4.5 Wenn in Kapitel 3.2 Tabelle a Spalte (7a) für einen bestimmten Stoff einer der Codes "LQ 4" bis "LQ 19" oder "LQ 22" bis "LQ 28" angegeben ist, gelten, sofern in diesem Kapitel nichts anderes vorgeschrieben ist, die Vorschriften der übrigen Kapitel des ADNR nicht für die Beförderung dieses Stoffes, vorausgesetzt:
3.4.6 Tabelle
| Code | zusammengesetzte Verpackungena (höchstzulässige Nettomenge) |
Innenverpackungen, die in Trays mit Dehn- oder Schrumpffolie enthalten sinda (höchstzulässige Nettomenge) |
||
| je Innenverpackung | je Versandstückb | je Innenverpackung | je Versandstückb | |
| (1) | (2) | (3) | (4) | (5) |
| LQ 0 | Keine Freistellungen nach den Vorschriften nach 3.4.2. | |||
| LQ 1 | 120 ml | 120 ml | ||
| LQ 2 | 1 l | 1 l | ||
| LQ 3c | 500 ml | 1 l | nicht zugelassen | nicht zugelassen |
| LQ 4c | 3 l | 1 l | ||
| LQ 5c | 5 l | unbegrenzt | 1 l | |
| LQ 6c | 5 l | 1 l | ||
| LQ 7c | 5 l | 5 l | ||
| LQ 8 | 3 kg | 500 g | ||
| LQ 9 | 6 kg | 3 kg | ||
| LQ 10 | 500 ml | 500 ml | ||
| LQ 11 | 500 g | 500 g | ||
| LQ 12 | 1 kg | 1 kg | ||
| LQ 13 | 1 l | 1 l | ||
| LQ 14 | 25 ml | 25 ml | ||
| LQ 15 | 100 g | 100 g | ||
| LQ 16 | 125 ml | 125 ml | ||
| LQ 17 | 500 ml | 2 l | 100 ml | 2 l |
| LQ 18 | 1 kg | 4 kg | 500 g | 4 kg |
| LQ 19 | 5 kg | 5 kg | ||
| LQ 20 | (bleibt offen) | (bleibt offen) | (bleibt offen) | (bleibt offen) |
| LQ 21 | (bleibt offen) | (bleibt offen) | (bleibt offen) | (bleibt offen) |
| LQ 22 | 1 l | 500 ml | ||
| LQ 23 | 3 kg | 1 kg | ||
| LQ 24 | 6 kg | 2 kg | ||
| LQ 25d | 1 kg | 1 kg | ||
| LQ 26d | 500 ml | 2 l | 500 ml | 2 l |
| LQ 27 | 6 kg | 6 kg | ||
| LQ 28 | 3 l | 3 l | ||
| a) Siehe 3.4.1.2. b) Siehe 3.4.1.3 c) Bei wasserhaltigen homogenen Gemischen der Klasse 3 beziehen sich die genannten Mengen nur auf die in ihnen enthaltenen Stoffe der Klasse 3. d) Bei der Beförderung der UN-Nummern 2315, 3151, 3152 und 3432 in Geräten dürfen in jedem einzelnen Gerät die Mengen je Innenverpackung nicht überschritten werden. Das Gerät muss in einer flüssigkeitsdichten Verpackung befördert werden, und das vollständige Versandstück muss 3.4.4 c) entsprechen. Für die Geräte dürfen keine Trays mit Dehn- oder Schrumpffolie verwendet werden. |
||||
3.4.7 Umverpackungen, die Versandstücke gemäß 3.4.3, 3.4.4 oder 3.4.5 enthalten, müssen nach den Vorschriften des 3.4.4 c) für jedes in der Umverpackung enthaltene gefährliche Gut gekennzeichnet sein, es sei denn, die für alle in der Umverpackung enthaltenen gefährlichen Güter repräsentativen Kennzeichnungen sind sichtbar.
3.4.8 Die Vorschriften
gelten auch für gemäß diesem Kapitel beförderte Versandstücke und Umverpackungen.
3.4.9 Absender von in begrenzten Mengen verpackten gefährlichen Gütern müssen den Beförderer vor der Beförderung, die keine Seebeförderung einschließt, über die Bruttomasse der so zu versendenden Güter informieren.
Wenn Container auf einer Beförderungseinheit oder auf einem Wagen verladen sind, braucht die tragende Beförderungseinheit oder der Tragwagen nicht gekennzeichnet zu sein, es sei denn, die an den Containern angebrachten Kennzeichen sind außerhalb der tragenden Beförderungseinheit oder des Tragwagens nicht sichtbar. Im letztgenannten Fall muss dasselbe Kennzeichen an der tragenden Beförderungseinheit vorn und hinten oder auf beiden Seiten des Tragwagens angebracht werden.
3.4.11 Auf die in Abschnitt 3.4.10 festgelegte Kennzeichnung kann verzichtet werden, wenn nachgewiesen werden kann, dass die Bruttogesamtmasse der beförderten Versandstücke, die in begrenzten Mengen verpackte gefährliche Güter enthalten, 8 Tonnen je Beförderungseinheit, Wagen oder Großcontainer nicht überschreitet.
3.4.12 Die Kennzeichnung besteht aus dem Ausdruck "LTD QTY" 5 in schwarzen Buchstaben mit einer Zeichenhöhe von mindestens 65 mm auf weißem Grund.
3.4.13 Bei Beförderungen in einer Transportkette, die eine Seebeförderung einschließt, sind Kennzeichnungen gemäß Kapitel 3.4 des IMDG-Codes ebenfalls zugelassen.
3.5 In freigestellten Mengen verpackte gefährliche Güter
3.5.1 Freigestellte Mengen
3.5.1.1 Freigestellte Mengen gefährlicher Güter bestimmter Klassen - ausgenommen Gegenstände -, die den Vorschriften dieses Kapitels entsprechen, unterliegen keinen anderen Vorschriften des ADNR mit Ausnahme:
Bemerkung: Für radioaktive Stoffe finden die Vorschriften für radioaktive Stoffe in freigestellten Versandstücken in Unterabschnitt 1.7.1.5 Anwendung.
3.5.1.2 Gefährliche Güter, die in Übereinstimmung mit den Vorschriften dieses Kapitels in freigestellten Mengen befördert werden dürfen, sind in Kapitel 3.2 Tabelle a Spalte 7b durch einen alphanumerischen Code wie folgt dargestellt:
| Code | höchstzulässige Nettomenge je Innenverpackung (für feste Stoffe in Gramm und für flüssige Stoffe und Gase in ml) |
höchstzulässige Nettomenge je Außenverpackung (für feste Stoffe in Gramm und für flüssige Stoffe und Gase in ml oder bei Zusammenpackung die Summe aus Gramm und ml) |
| E 0 |
in freigestellten Mengen nicht zugelassen |
|
| E 1 | 30 | 1000 |
| E 2 | 30 | 500 |
| E 3 | 30 | 300 |
| E 4 | 1 | 500 |
| E 5 | 1 | 300 |
Bei Gasen bezieht sich das für Innenverpackungen angegebene Volumen auf den mit Wasser ausgeliterten Fassungsraum des Innengefäßes und das für Außenverpackungen angegebene Volumen auf den mit Wasser ausgeliterten Gesamtfassungsraum aller Innenverpackungen innerhalb einer einzigen Außenverpackung.
3.5.1.3 Wenn gefährliche Güter in freigestellten Mengen, denen unterschiedliche Codes zugeordnet sind, zusammengepackt werden, muss die Gesamtmenge je Außenverpackung auf den Wert begrenzt werden, der dem restriktivsten Code entspricht.
3.5.2 Verpackungen
Verpackungen, die für die Beförderung gefährlicher Güter in freigestellten Mengen verwendet werden, müssen nachfolgende Vorschriften erfüllen:
3.5.3 Prüfungen für Versandstücke
3.5.3.1 Für das vollständige versandfertige Versandstück mit Innenverpackungen, die bei festen Stoffen mindestens zu 95 % ihres Fassungsraumes und bei flüssigen Stoffen mindestens zu 98 % ihres Fassungsraumes gefüllt sind, muss der Nachweis erbracht werden, dass es in der Lage ist, ohne Zubruchgehen oder Undichtheit einer Innenverpackung und ohne nennenswerte Verringerung der Wirksamkeit folgenden entsprechend dokumentierten Prüfungen standzuhalten:
Bemerkung: Jeder der oben aufgeführten Freifallversuche darf mit verschiedenen, jedoch identischen Versandstücken durchgeführt werden.
3.5.3.2 Für Zwecke der Prüfung dürfen die in der Verpackung zu befördernden Stoffe durch andere Stoffe ersetzt werden, sofern dadurch die Prüfergebnisse nicht verfälscht werden. Werden feste Stoffe durch andere Stoffe ersetzt, müssen diese die gleichen physikalischen Eigenschaften (Masse, Korngröße usw.) haben wir der zu befördernde Stoff. Wird bei den Freifallversuchen für flüssige Stoffe ein anderer Stoff verwendet, so muss dieser eine vergleichbare relative Dichte (spezifische Masse) und Viskosität haben wie der zu befördernde Stoff.
3.5.4 Kennzeichnung der Versandstücke
3.5.4.1 In Übereinstimmung mit diesem Kapitel vorbereitete Versandstücke, die gefährliche Güter in freigestellten Mengen enthalten, müssen dauerhaft und lesbar mit dem in Unterabschnitt 3.5.4.2 dargestellten Kennzeichen gekennzeichnet sein. Die erste oder einzige in Kapitel 3.2 Tabelle a Spalte 5 angegebene Nummer des Gefahrzettels jedes im Versandstück enthaltenen gefährlichen Guts muss auf dem Kennzeichen angegeben werden. Sofern der Name des Absenders oder des Empfängers nicht an einer anderen Stelle des Versandstücks angegeben ist, muss das Kennzeichen diese Information enthalten.
3.5.4.2 Die Abmessungen des Kennzeichens müssen mindestens 100 mm x 100 mm sein.

Kennzeichen für freigestellte Mengen
Schraffierung und Symbol in derselben Farbe,
schwarz oder rot, auf weißem oder geeignetem
kontrastierendem Grund
* An dieser Stelle ist die Nummer des ersten oder einzigen in Kapitel 3.2 Tabelle a Spalte 5 angegebenen Gefahrzettels anzugeben.
** Sofern nicht bereits an anderer Stelle auf dem Versandstück angegeben, ist an dieser Stelle der Name des Absenders oder des Empfängers anzugeben.
3.5.4.3 Eine Umverpackung, die gefährliche Güter in freigestellten Mengen enthält, muss mit dem in Unterabschnitt 3.5.4.1 vorgeschriebenen Kennzeichen versehen sein, es sei denn, diese Kennzeichen auf den Versandstücken innerhalb der Umverpackung sind deutlich sichtbar.
3.5.5 Höchste Anzahl Versandstücke in einem Fahrzeug, Wagen oder Container
Die Anzahl der Versandstücke in einem Fahrzeug, Wagen oder Container darf 1000 nicht überschreiten.
3.5.6 Dokumentation
Wenn gefährliche Güter in freigestellten Mengen durch ein oder mehrere Dokumente (wie ein Konnossement, Luftfrachtbrief oder CIM/CMR-Frachtbrief) begleitet werden, muss in mindestens einem dieser Dokumente der Vermerk "GEFÄHRLICHE GÜTER IN FREIGESTELLTEN MENGEN" und die Anzahl der Versandstücke angegeben sein.
Fußnoten zu Teil 3
1) x = Nummer der Klasse des gefährlichen Stoffes oder Gegenstandes, gegebenenfalls ohne Punkt.
2) x = Nummer der Klasse des gefährlichen Stoffes oder Gegenstandes, gegebenenfalls ohne Punkt.
3) Siehe insbesondere Teil C der Richtlinie 2001/18/EG des Europäischen Parlaments und des Rates über die absichtliche Freisetzung genetisch veränderter Organismen in die Umwelt und zur Aufhebung der Richtlinie 90/220/EWG des Rates (Amtsblatt der Europäischen Gemeinschaften Nr. 106 vom 17. April 2001, S. 8 bis 14), in dem die Genehmigungsverfahren für die Europäischen Gemeinschaften festgelegt sind.
4) Die Buchstaben "LQ" sind die Abkürzung des englischen Ausdrucks "Limited Quantities" (begrenzte Mengen). Sie sind nach dem IMDG Code und den ICAO nicht zugelassen.
5) Die Buchstaben "LTD QTY" sind die Abkürzung des englischen Ausdrucks "Limited Quantity".
Teil 4
Vorschriften für die Verwendung von Verpackungen, Tanks und CTU für die Beförderung in loser Schüttung
4.1.1 Die Verwendung von Verpackungen und Tanks muss den Vorschriften einer internationalen Regelung unter Berücksichtigung der in der Liste der Stoffe in diesen internationalen Regelungen angeführten Bedingungen entsprechen, und zwar:
4.1.2 Die anwendbaren Vorschriften sind:
4.1.3 Für die Beförderung von festen Stoffen in loser Schüttung in Fahrzeugen, Wagen oder Containern gelten folgende Vorschriften der internationalen Regelungen:
4.1.4 Es dürfen nur Verpackungen und Tanks verwendet werden, die den Vorschriften des Teils 6 des ADR oder RID entsprechen.
Teil 5
Vorschriften für den Versand
5.1 Allgemeine Vorschriften
5.1.1 Anwendungsbereich und allgemeine Vorschriften
Dieser Teil enthält Vorschriften für den Versand gefährlicher Güter bezüglich der Kennzeichnung, Bezettelung und Dokumentation und gegebenenfalls der Genehmigung des Versands und der vorherigen Benachrichtigung.
5.1.1.1 Gefährliche Güter, die nach dem IMDG-Code, nicht aber nach dem ADR oder RID, zur Beförderung zugelassen sind, dürfen befördert werden in:
5.1.1.2 Bei gefährlichen Gütern, für die nach den Vorschriften des IMDG-Codes eine Beförderungstemperatur angegeben ist, ist diese Beförderungstemperatur auch bei der Beförderung mit Binnenschiffen einzuhalten.
5.1.1.3 Die jeweils strengsten der anwendbaren Vorschriften des ADNR sind zu beachten; jedoch gelten die Zusammenladeverbote nicht, wenn die Güter in Containern nach den Trennvorschriften des IMDG-Codes verladen sind. Es müssen die Vorschriften des ADR angewandt werden.
5.1.2 reserviert
5.1.3 reserviert
5.1.4 Zusammenpackung
Werden zwei oder mehrere gefährliche Güter zusammen in derselben Außenverpackung verpackt, muss das Versandstück mit den für jedes Gut vorgeschriebenen Gefahrzetteln und Kennzeichnungen versehen sein. Ist ein und derselbe Gefahrzettel für verschiedene Güter vorgeschrieben, muss er nur einmal angebracht werden.
5.1.5 Allgemeine Vorschriften für die Klasse 7
5.1.5.1 Beförderungsgenehmigung und Benachrichtigung
5.1.5.1.1 Allgemeines
Zusätzlich zu der in Kapitel 6.4 des ADR beschriebenen Zulassung der Bauart des Versandstücks ist unter bestimmten Umständen auch eine multilaterale Beförderungsgenehmigung ( 5.1.5.1.2 und 5.1.5.1.3) erforderlich. Unter bestimmten Umständen ist es auch erforderlich, die zuständigen Behörden über eine Beförderung zu benachrichtigen ( 5.1.5.1.4).
5.1.5.1.2 Beförderungsgenehmigung
Eine multilaterale Genehmigung ist erforderlich für:
Eine zuständige Behörde kann durch eine besondere Bestimmung in ihrer Bauartzulassung (siehe 5.1.5.2.1) die Beförderung in oder durch ihren Staat ohne Beförderungsgenehmigung genehmigen.
5.1.5.1.3 Beförderungsgenehmigung durch Sondervereinbarung
Von der zuständigen Behörde dürfen Vorschriften genehmigt werden, unter denen eine Sendung, die nicht allen anwendbaren Vorschriften des ADNR entspricht, mit einer Sondervereinbarung befördert werden dürfen (siehe 1.7.4).
5.1.5.1.4 Benachrichtigungen
Eine Benachrichtigung der zuständigen Behörden ist in folgenden Fällen vorgeschrieben:
5.1.5.2 Zulassung/Genehmigung durch die zuständige Behörde
5.1.5.2.1 Die Zulassung/Genehmigung durch die zuständige Behörde ist erforderlich für:
Durch das Zulassungs-/Genehmigungszeugnis wird bescheinigt, dass die anwendbaren Vorschriften erfüllt sind; bei Zulassungen für die Bauart wird im Zulassungszeugnis der Bauart ein Kennzeichen zugeteilt.
Das Zulassungszeugnis für Versandstückmuster und das Genehmigungszeugnis für die Beförderung dürfen in einem Zeugnis zusammengefasst werden.
Die Zulassungszeugnisse und die Anträge auf Zulassung müssen den Vorschriften des Abschnitts 6.4.23 des ADR entsprechen.
5.1.5.2.2 Der Absender muss im Besitz einer Kopie jedes erforderlichen Zeugnisses sein. Der Absender muss auch eine Kopie der Anweisungen zum richtigen Verschließen des Versandstückes und anderer Vorbereitungen für den Versand haben, bevor er eine Beförderung nach den Vorschriften dieser Zeugnisse vornimmt.
5.1.5.2.3 Für Versandstückmuster, für die kein Zeugnis der zuständigen Behörde erforderlich ist, muss der Absender auf Anfrage für die Überprüfung durch die zuständige Behörde Aufzeichnungen, die die Übereinstimmung des Versandstückmusters mit allen anwendbaren Vorschriften nachweisen, zur Verfügung stellen.
5.1.5.3 Bestimmung der Transportkennzahl (TI) und der Kritikalitätssicherheitskennzahl (CSI)
5.1.5.3.1 Die Transportkennzahl (TI) für ein Versandstück, eine Umverpackung oder einen Container oder für unverpackte LSA-I-Stoffe oder für unverpackte SCO-I-Gegenstände ist nach folgendem Verfahren zu ermitteln:
Tabelle 5.1.5.3.1: Multiplikationsfaktoren für Tanks, Container und unverpackte LSA-I-Stoffe und SCO-I-Gegenstände
| Fläche der Ladunga | Multiplikationsfaktor |
| bis 1 m2 | 1 |
| größer als 1 m2 bis 5 m2 | 2 |
| größer als 5 m2 bis 20 m2 | 3 |
| größer als 20 m2 | 10 |
| a) Größte gemessene Querschnittsfläche der Ladung. | |
5.1.5.3.2 Die Transportkennzahl für jede Umverpackung, jeden Container, jedes Fahrzeug oder jeden Wagen wird entweder durch die Summe der Transportkennzahlen aller enthaltenen Versandstücke oder durch direkte Messung der Dosisleistung bestimmt, außer für den Fall der nicht formstabilen Umverpackungen, für die die Transportkennzahl nur durch die Summe der Transportkennzahlen aller Versandstücke bestimmt wird.
5.1.5.3.3 Für jede Umverpackung oder für jeden Container ist die Kritikalitätssicherheitskennzahl (CSI) als Summe der CSI aller enthaltenen Versandstücke zu ermitteln. Das gleiche Verfahren ist für die Bestimmung der Gesamtsumme der CSI in einer Sendung, in einem Fahrzeug oder in einem [in einem Beförderungsmittel] Wagen anzuwenden.
5.1.5.3.4 Versandstücke und Umverpackungen sind in Übereinstimmung mit den in Tabelle 5.1.5.3.4 festgelegten Bedingungen und mit den nachstehenden Vorschriften einer der Kategorien I-WEISS, II-GELB oder III-GELB zuzuordnen:
Tabelle 5.1.5.3.4: Kategorien der Versandstücke und Umverpackungen
|
Bedingungen |
Kategorie |
|
| Transportkennzahl (TI) | höchste Dosisleistung an jedem Punkt einer Außenfläche | |
| 0a | nicht größer als 0,005 mSv/h | I-WEISS |
| größer als 0, aber nicht größer als 1a | größer als 0,005 mSv/h, aber nicht größer als 0,5 mSv/h | II-GELB |
| größer als 1, aber nicht größer als 10 | größer als 0,5 mSv/h, aber nicht größer als 2 mSv/h | III-GELB |
| größer als 10 | größer als 2 mSv/h, aber nicht größer als 10 mSv/h | III-GELBb |
| a) Ist die gemessene Transportkennzahl nicht größer als 0,05, darf ihr Wert entsprechend Absatz 5.1.5.3.1 c) gleich Null gesetzt werden.
b) Ist außerdem unter ausschließlicher Verwendung zu befördern. |
||
5.1.5.4 Zusammenfassung der Vorschriften für Zulassung/Genehmigung und vorherige Benachrichtigung
Bem.
| Gegenstand | UN-Nr. | Zulassung / Genehmigung der zuständigen Behörde erforderlich | Benachrichtigung der zuständigen Behörden des Ursprungslandes und der berührten Staaten vor jedera Beförderung durch den Absender |
Verweis | |
| Ursprungs- land |
berührte Staatena | ||||
| Berechnung von nicht aufgelisteten A1- und A2-Werten | - | Ja | Ja | Nein | - |
| Freigestellte Versandstücke | 2908 2909 2910 2911 |
- | |||
| - Versandstückmuster | Nein | Nein | Nein | ||
| - Beförderung | Nein | Nein | Nein | ||
| LSA-Stoffeb und SCO-Gegenständeb / Industrieversandstücke Typ 1, 2 oder 3, nicht spaltbar und spaltbar, freigestellt | 2912 2913 3321 3322 |
- | |||
| - Versandstückmuster | Nein | Nein | Nein | ||
| - Beförderung | Nein | Nein | Nein | ||
| Typ A-Versandstückeb, nicht spaltbar und spaltbar, freigestellt | 2915, 3332 |
- | |||
| - Versandstückmuster | Nein | Nein | Nein | ||
| - Beförderung | Nein | Nein | Nein | ||
| Typ B(U)-Versandstückeb, nicht spaltbar und spaltbar, freigestellt | 2916 | 5.1.5.1.4b), 5.1.5.2.1a), 6.4.22.2 (ADR) |
|||
| - Versandstückmuster | Ja | Nein | siehe Bem. 1 | ||
| - Beförderung | Nein | Nein | siehe Bem. 2 | ||
| Typ B(M)-Versandstückeb, nicht spaltbar und spaltbar, freigestellt | 2917 | 5.1.5.1.4b), 5.1.5.2.1a), 5.1.5.1.2, 6.4.22.3 (ADR) |
|||
| - Versandstückmuster | Ja | Ja | Nein | ||
| - Beförderung | siehe Bem. 3 | siehe Bem. 3 | Ja | ||
| Typ C-Versandstückeb, nicht spaltbar und spaltbar, freigestellt | 3323 | 5.1.5.1.4b), 5.1.5.2.1a), 6.4.22.2 (ADR) |
|||
| - Versandstückmuster | Ja | Nein | siehe Bem. 1 | ||
| - Beförderung | Nein | Nein | siehe Bem. 2 | ||
| Versandstücke mit spaltbaren Stoffen | 2977, 3324, 3325, 3326, 3327, 3328, 3329, 3330, 3331, 3333 |
5.1.5.2.1a), 5.1.5.1.2, 6.4.22.4 (ADR) |
|||
| - Versandstückmuster | Jac | Jac | Nein | ||
| - Beförderung: --Summe der Kritikalitätssicherheitskennzahlen nicht größer als 50 |
Neind | Neind | siehe Bem. 2 | ||
| --Summe der Kritikalitätssicherheitskennzahlen größer als 50 | Ja | Ja | siehe Bem. 2 | ||
| Radioaktive Stoffe in besonderer Form | 1.6.6.3 (ADR), 5.1.5.2.1a), 6.4.22.5 (ADR) | ||||
| - Baumuster | - | Ja | Nein | Nein | |
| - Beförderung | siehe Bem. 4 | siehe Bem. 4 |
siehe Bem. 4 |
siehe Bem. 4 | |
| gering dispergierbare radioaktive Stoffe | 5.1.5.2.1a), 6.4.22.3 (ADR) |
||||
| - Baumuster | - | Ja | Nein | Nein | |
| - Beförderung | siehe Bem. 4 |
siehe Bem. 4 |
siehe Bem. 4 |
siehe Bem. 4 | |
| Versandstücke, die mindestens 0,1 kg Uraniumhexafluorid enthalten | 5.1.5.2.1a), 6.4.22.1 (ADR) |
||||
| - Baumuster | - | Ja | Nein | Nein | |
| - Beförderung | siehe Bem.4 |
siehe Bem.4 |
siehe Bem.4 |
siehe Bem. 4 | |
| Sondervereinbarung - Beförderung |
2919 3331 |
1.7.4.2, 5.1.5.2.1b), 5.1.5.1.4b) | |||
| Ja | Ja | Ja | |||
| zugelassene Versandstückmuster, die Übergangsvorschriften unterliegen | siehe 1.6.6 (ADR) | siehe 1.6.6 (ADR) | siehe Bem. 1 | 1.6.6.1, 1.6.6.2 (ADR), 5.1.5.1.4b), 5.1.5.2.1a), 5.1.5.1.2 | |
| a) Staaten, von denen aus, durch die oder in die die Sendung befördert wird. b) Besteht der radioaktive Inhalt aus spaltbaren Stoffen, die von den Vorschriften für Versandstücke, die spaltbare Stoffe enthalten, nicht freigestellt sind, so gelten die Vorschriften für Versandstücke, die spaltbare Stoffe enthalten (siehe Abschnitt 6.4.11 des ADR). c) Für Versandstückmuster für spaltbare Stoffe kann auch eine Genehmigung nach einem der anderen Punkte der Tabelle erforderlich sein. d) Für die Beförderung kann jedoch eine Genehmigung nach einem der anderen Punkte der Tabelle erforderlich sein. |
|||||
5.2 Kennzeichnung und Bezettelung
5.2.1 Kennzeichnung von Versandstücken
Bemerkung: Wegen der Kennzeichnung hinsichtlich des Baus, der Prüfung und der Zulassung von Verpackungen, Großverpackungen, Druckgefäßen und Großpackmitteln (IBC) siehe Teil 6 des ADR, RID oder IMDG-Codes.
5.2.1.1 Sofern im ADNR nichts anderes vorgeschrieben ist, ist jedes Versandstück deutlich und dauerhaft mit der UN-Nummer der enthaltenen Güter, der die Buchstaben "UN" vorangestellt werden, zu versehen. Bei unverpackten Gegenständen ist die Kennzeichnung auf dem Gegenstand, seinem Schlitten oder seiner Handhabungs-, Lagerungs- oder Abschusseinrichtung anzubringen.
5.2.1.2 Alle in diesem Kapitel vorgeschriebenen Kennzeichnungen müssen:
5.2.1.3 Bergungsverpackungen sind zusätzlich mit der Kennzeichnung "BERGUNG" zu versehen.
5.2.1.4 Großpackmittel (IBC) mit einem Fassungsraum von mehr als 450 Litern und Großverpackungen sind auf zwei gegenüberliegenden Seiten mit Kennzeichnungen zu versehen.
5.2.1.5 Zusätzliche Vorschriften für Güter der Klasse 1
Versandstücke mit Gütern der Klasse 1 müssen zusätzlich mit der gemäß 3.1.2 bestimmten offiziellen Benennung für die Beförderung versehen sein. Diese Kennzeichnung muss gut lesbar und unauslöschbar in einer amtlichen Sprache des Versandlandes angegeben sein und, wenn diese Sprache nicht Deutsch, Englisch oder Französisch ist, außerdem in Deutsch, Englisch oder Französisch, wenn nicht Vereinbarungen zwischen den an der Beförderung berührten Staaten etwas anderes vorschreiben.
5.2.1.6 Zusätzliche Vorschriften für Gase der Klasse 2
Auf den nachfüllbaren Gefäßen muss gut lesbar und dauerhaft angegeben sein:
Diese Angaben dürfen entweder eingeprägt oder auf einem am Gefäß befestigten dauerhaften Schild oder Zettel oder durch eine haftende und deutlich sichtbare Kennzeichnung, z.B. durch Lackierung oder ein anderes gleichwertiges Verfahren, angebracht sein.
Bem.
5.2.1.7 Besondere Vorschriften für die Kennzeichnung von radioaktiven Stoffen der Klasse 7
5.2.1.7.1 Jedes Versandstück ist auf der Außenseite der Verpackung deutlich und dauerhaft mit einer Identifikation des Absenders und/oder des Empfängers zu kennzeichnen.
5.2.1.7.2 Mit Ausnahme der freigestellten Versandstücke ist jedes Versandstück auf der Außenseite der Verpackung deutlich und dauerhaft mit der UN-Nummer, der die Buchstaben "UN" vorangestellt werden, und der offiziellen Benennung für die Beförderung zu kennzeichnen. Für freigestellte Versandstücke ist nur die Angabe der UN-Nummer, der die Buchstaben "UN" vorangestellt werden, erforderlich.
5.2.1.7.3 Jedes Versandstück mit einer Bruttomasse von mehr als 50 kg ist auf der Außenseite der Verpackung deutlich und dauerhaft mit der Angabe der zulässigen Bruttomasse zu kennzeichnen.
5.2.1.7.4 Jedes Versandstück, das
5.2.1.7.5 Jedes Versandstück, das einer von der zuständigen Behörde zugelassenen Bauart entspricht, ist auf der Außenseite der Verpackung deutlich und dauerhaft mit folgenden Angaben zu kennzeichnen:
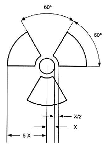
5.2.1.7.6 Jedes Versandstück, das einem Typ B(U)-, Typ B(M)- oder Typ C-Versandstückmuster entspricht, ist auf der Außenseite des äußersten feuer- und wasserbeständigen Behälters mit dem unten abgebildeten Strahlensymbol durch Einstanzen, Prägen oder anderen feuer- und wasserbeständigen Verfahren zu kennzeichnen.
| Strahlensymbol. Für die Proportionen gilt ein innerer Kreis mit dem Radius X. X muss mindestens 4 mm betragen. |
![]() |
5.2.1.7.7 Wenn LSA-I-Stoffe oder SCO-I-Gegenstände in Behältern oder in Verpackungsmaterialien enthalten sind und unter ausschließlicher Verwendung gemäß Absatz 4.1.9.2.3 des ADR befördert werden, darf die Außenseite dieser Behälter oder Verpackungsmaterialien mit der Kennzeichnung "RADIOACTIVE LSA-I" bzw. "RADIOACTIVE SCO-I" versehen sein.
5.2.1.7.8 Bei der internationalen Beförderung von Versandstücken, für die eine Genehmigung der Bauart oder der Beförderung durch die zuständige Behörde erforderlich ist und für die in den verschiedenen betroffenen Staaten unterschiedliche Genehmigungstypen gelten, muss die Kennzeichnung in Übereinstimmung mit dem Zulassungszeugnis des Ursprungslandes der Bauart erfolgen.
5.2.1.8 Besondere Vorschriften für die Kennzeichnung von umweltgefährdenden Stoffen
5.2.1.8.1 Versandstücke mit umweltgefährdenden Stoffen, die den Kriterien des Absatzes 2.2.9.1.10 entsprechen, müssen dauerhaft mit dem in Absatz 5.2.1.8.3 abgebildeten Kennzeichen für umweltgefährdende Stoffe gekennzeichnet sein, ausgenommen Einzelverpackungen und zusammengesetzte Verpackungen, die Innenverpackungen enthalten, mit:
5.2.1.8.2 Das Kennzeichen für umweltgefährdende Stoffe ist neben den gemäß Unterabschnitt 5.2.1.1 vorgeschriebenen Kennzeichnungen anzuordnen. Die Vorschriften der Unterabschnitte 5.2.1.2 und 5.2.1.4 sind zu erfüllen.
5.2.1.8.3 Das Kennzeichen für umweltgefährdende Stoffe muss der nachstehend aufgeführten Abbildung entsprechen. Die Größe muss 100 mm x 100 mm sein, ausgenommen bei Versandstücken, auf die wegen ihrer Größe nur kleinere Kennzeichen angebracht werden können.

Symbol (Fisch und Baum): schwarz auf weißem oder geeignetem kontrastierendem Grund
5.2.1.9 Ausrichtungspfeile
5.2.1.9.1 Sofern in Absatz 5.2.1.9.2 nichts anderes vorgeschrieben ist, müssen
lesbar mit Pfeilen für die Ausrichtung des Versandstücks gekennzeichnet sein, die der nachstehenden Abbildung ähnlich sind oder die den Spezifikationen der ISO-Norm 780:1985 entsprechen. Die Ausrichtungspfeile müssen auf zwei gegenüberliegenden senkrechten Seiten des Versandstückes angebracht sein, wobei die Pfeile korrekt nach oben zeigen. Sie müssen rechtwinklig und so groß sein, dass sie entsprechend der Größe des Versandstücks deutlich sichtbar sind. Die Abbildung einer rechteckigen Abgrenzung um die Pfeile ist optional.
oder
Zwei schwarze oder rote Pfeile
auf weißem oder geeignetem kontrastierendem Grund.
Die rechteckige Abgrenzung ist optional.
5.2.1.9.2 Ausrichtungspfeile sind nicht erforderlich für Versandstücke mit
5.2.1.9.3 Auf einem Versandstück, das in Übereinstimmung mit diesem Unterabschnitt gekennzeichnet ist, dürfen keine Pfeile für andere Zwecke als der Angabe der richtigen Versandstückausrichtung abgebildet sein.
![]() |
weiter . | ![]() |
(Stand: 29.08.2018)
Alle vollständigen Texte in der aktuellen Fassung im Jahresabonnement
Nutzungsgebühr: ab 105.- € netto
(derzeit ca. 7200 Titel s.Übersicht - keine Unterteilung in Fachbereiche)
Die Zugangskennung wird kurzfristig übermittelt
? Fragen ?
Abonnentenzugang/Volltextversion