![]() |
zurück | ![]() |
Zu § 1 Abs. 1:
Geräte sind z.B.:
Zu § 1 Abs. 2:
Siehe UVV "Fleischereimaschinen" (VBG 19).
Zu § 3:
Siehe auch § 2 Abs. 2 UVV "Grundsätze der Prävention" (ab1/2004) (BGV A1).
Zu § 4 Abs. 1:
Anschlußdaten für die Energiezufuhr sind z.B.:
| - | bei elektrischer Ausrüstung: | Nennspannung Nennstrom Stromart Frequenz Schutzart nach EN 60529 1 DIN VDE 0470 Teil 1 |
| - | bei pneumatischer und hydraulischer Ausrüstung: | Betriebsdruck in Bar höchstzulässiger Betriebsdruck in Bar |
| - | bei Anlagen mit Gas- Verbrauchseinrichtungen: | Gasart Anschlußüberdruck in Millibar Nennwärmeleistung in kW Anschlußwert in kg/h Nennluftvolumenstrom in m3/h für zwangsluftbetriebene Verbrauchseinrichtungen |
Zu § 4 Abs. 2:
Für Rohrbahn-Gleithaken und Rohrbahn-Rollhaken siehe DIN 5047 "Haken für Fleisch und sonstige Lebensmittel; Rohrbahn-Gleithaken" und DIN 5048 "Haken für Fleisch und sonstige Lebensmittel; Rohrbahn-Rollhaken".
Zu § 5:
Hierzu gehören insbesondere Angaben über
Siehe auch DIN V 8418 "Benutzerinformation; Hinweise für die Erstellung".
Zu § 5 Abs. 2:
Eine gefährliche Situation liegt z.B. dann vor, wenn aus betriebstechnischen Gründen in eine Gasbetäubungsanlage eingestiegen werden muß.
Zu § 7:
Diese Forderung ist z.B. erfüllt, wenn die berührbaren heißen Oberflächen durch Isoliermaterial oder zusätzliche Verdeckungen so gesichert sind, daß als höchste Temperatur
Zu § 8:
Gefahrstellen können bestehen durch Transportschnecken, Rührwerke, kraftbetätigte Verschlüsse.
Solche Behälter sind z.B. auch Förderrinnen mit Transportschnecken.
Zu § 9:
Hochklappbare Teile sind z.B. Deckel, Trichter, trennende Schutzeinrichtungen.
Zu § 11:
Geeignete Zugänge sind z.B. Türen bzw. Öffnungen an trennenden Schutzeinrichtungen.
Siehe auch "Richtlinien für Arbeiten in Behältern und engen Räumen" (BGR 117).
Zu § 13 Abs. 1:
Diese Forderung ist z.B. durch einen Wulst erfüllt, der das Abrutschen der Hände verhindert.
Zu § 14 Abs. 1:
Solche Einrichtungen sind z.B. schwenkbare Transportbahnen, Elevatoren, Umhängeeinrichtungen, Verladearme.
Es wird empfohlen, bei der Beurteilung von Gesundheitsgefahren beim Heben und Tragen von Lasten die Werte der nachstehenden Tabelle heranzuziehen:
Zumutbare Last in kg
| Häufigkeit des Hebens und Tragens | ||||
| gelegentlich | häufiger | |||
| Lebensalter | Frauen | Männer | Frauen | Männer |
| 15 bis 18 Jahre | 15 | 35 | 10 | 20 |
| 19 bis 45 Jahre | 15 | 55 | 10 | 30 |
| älter als 45 Jahre | 15 | 45 | 10 | 25 |
Zu § 15 Abs. 1:
Unter regelmäßiges Reinigen fallen alle Reinigungsarbeiten, die wöchentlich oder häufiger durchzuführen sind.
Zu § 15 Abs. 3:
Siehe DIN 31003 "Ortsfeste Arbeitsbühnen einschließlich Zugänge; Begriffe, Sicherheitstechnische Anforderungen, Prüfungen".
Zu § 15 Abs. 5
Zu § 17 Abs. 1:
Die nach § 8 Arbeitsstättenverordnung und § 18 UVV "Grundsätze der Prävention" (ab1/2004) (BGV A1) vorgeschriebenen rutschämmenden Bodenbeläge schließen nicht aus, daß die Hygieneanforderungen erfüllbar sind, wenn ein entsprechendes Reinigungsverfahren gewählt wird.
Siehe auch "Merkblatt für Fußböden in Arbeitsräumen und Arbeitsbereichen mit erhöhter Rutschgefahr" (BGR 181).
Zu § 18:
Gefahrbringende Stoffe sind z.B.
Einrichtungen, die vor solchen Stoffen schützen, sind z.B. Schutzscheiben oder Schutzschilde, Temperaturbegrenzer, Entlüftungsleitungen, Absaugeinrichtungen, Sicherheitsauslaufhähne, Schnellschlußventile.
Zu § 19:
Belästigend sind z.B. sichtbehindernde Dampfnebel an Brühtrögen und Geflügelbrühmaschinen.
Übelkeiterregende Gase oder Dämpfe können z.B. bei organischer Zersetzung in Blutsammeltanks und Konfiskatsammelbehältern oder -räumen sowie in Kutteleien auftreten.
Eine Luftbehandlung ist je nach Belastung der Raumluft durch belästigende Gerüche, hohe Wärmelast, Feuchtigkeitsgehalt und andere Einflüsse vorzunehmen. Siehe auch "Sicherheitsregeln für Anlagen zur Luftreinhaltung am Arbeitsplatz" (BGR 121) sowie VDI-Richtlinie 2596 "Emissionsminderung; Schlachthöfe".
Zu § 20:
Siehe § 7 Arbeitsstättenverordnung, § 19 UVV "Grundsätze der Prävention" (ab1/2004) (BGV A1) und Richtlinie des Rates vom 26. Juni 1964 zur Regelung gesundheitlicher Fragen beim innergemeinschaftlichen Handelsverkehr mit frischem Fleisch (64/433/EWG). Nach der Richtlinie 64/433/EWG ist an Fleischuntersuchungsstellen eine Beleuchtungsstärke von 540 Lux erforderlich, um sichtbare Veränderungen wahrnehmen zu können.
Zu § 22 Abs. 2:
Diese Forderung ist z.B. durch FI-Schutzschalter mit einem Nennfehlerstrom von höchstens 0,03a erfüllt.
Schutztrennung siehe Abschnitt 6.5 DIN VDE 0100 Teil 410 "Errichten von Starkstromanlagen mit Nennspannungen bis 1000V; Schutzmaßnahmen; Schutz gegen gefährliche Körperströme".
Zu § 23 Abs. 1:
Diese Forderung ist z.B. erfüllt, wenn


Die Berechnung der Tragsysteme erfolgt im Normalfall unter Annahme gleichmäßig auf den Bahnstützen verteilter Last und Auflage der Träger auf zwei Stützen. Die Spannungen sollen 14000 N/cm2 und die Durchbiegungen L/300 nicht überschreiten.
Zu § 23 Abs. 2:
Höhere Belastungen sind zu erwarten durch
Zu § 23 Abs. 3:
Siehe Anhang 1.
Zu § 23 Abs. 5:
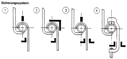
Diese Forderung ist erfüllt, wenn z.B. folgende Sicherungssysteme Anwendung finden:

Zu § 23 Abs. 10:
Diese Forderung ist erfüllt, wenn z.B. die Einhängung in die Gegenbahn sich durch Belastungskräfte nicht verschieben oder aushängen kann.
Zu § 24 Abs. 2:
Solche Haken sind z.B. Rollhaken für Rohrbahnen und Flanschträgerbahnen, Rohrbahngleithaken, Laufwagenhaken für Profilbahnen, z.B. Helmprofil.
Bauart, Belastung und Größe der Haken bestimmen die Verwendung als Lasthaken im Vorschlachtbereich und als Fleischhaken im Ausschlachtbereich sowie für den Fleischtransport.
Sonderbauarten sind Sternhaken und Hakenbäume.
Anforderungen an Haken siehe DIN 5046 "Haken für Fleisch und sonstige Lebensmittel; S-Haken", DIN 5047 "Haken für Fleisch und sonstige Lebensmittel; Rohrbahn-Gleithaken" und DIN 5048 "Haken für Fleisch und sonstige Lebensmittel; Rohrbahn-Rollhaken".
Beispiele für die Sonderbauarten:
Zu § 24 Abs. 3:
Siehe UVV "Lastaufnahmemittel im Hebezeugbetrieb" (VBG 9a) und DIN 685 "Geprüfte Rundstahlketten".
Zu § 24 Abs. 4 und 5:
Beispiele für die Ausführung:

Zu § 24 Abs. 6 und 7:
Beispiele für die Ausführungen (sogenannter "Euro-Haken):
Zu § 25 Abs. 1:
Die Forderung der gegenseitigen Türverriegelung ist erfüllt, wenn z.B. bei Öffnung der Eintreibtüre die Auswurftüre geschlossen und durch Kopplung der geöffneten Eintreibtüre die Auswurftüre zwangsverriegelt ist, oder umgekehrt.
Ausführung der Betäubungsfallen hinsichtlich Lärm siehe UVV "Lärm" (BGV B3).
Zu § 25 Abs. 10:
Diese Forderung ist z.B. erfüllt, wenn die Falle erhöht montiert und der Fallenboden angeschrägt ist, oder der Tierkörper mechanisch aus der Falle geworfen wird.
Zu § 25 Abs. 11:
Beispiel der Ausführung:
Zu § 26:
Siehe auch UVV "Tragbare Eintreibgeräte" ( BGV D10) und UVV "Arbeiten mit Schußapparaten" ( BGV D9).
Elektrische Betäubungsgeräte siehe E DIN VDE 0755 Teil 1 "Elektrische Geräte zur manuellen Schlachttierbetäubung; Festlegungen für die Sicherheit".
Zu § 26 Abs. 3:
Diese Forderung ist erfüllt, wenn z.B. Schalldämpfer verwendet werden und die Ausblaseluft mindestens 2 m über dem Standplatz abgeführt wird.
Siehe UVV "Lärm" (BGV B3).
Zu § 27 Abs. 1:
Diese Forderung ist z.B. erfüllt; wenn z.B. an der Auswurföffnung der Betäubungsanlage eine Frischlufteinrichtung mit Gebläse so installiert ist, daß vor der Auswurföffnung ein Luftschleier erzeugt wird, der weder Zugerscheinungen für die Beschäftigten noch Saugwirkung auf das im Betäubungsschacht vorhandene Gas verursacht.
Hinsichtlich gefahrdrohender Menge siehe Technische Regeln für Gefahrstoffe TRGS 900 "MAK-Werte-Liste" (ZH 1/401).
Zu § 27 Abs. 7:
Ausführung des Warn- und Zusatzzeichens siehe UVV "Sicherheitskennzeichnung am Arbeitsplatz" (BGV A8).
Ausführungsbeispiel für das Zusatzzeichen:
Bei Einstieg Erstickungsgefahr!
Festgelegte Sicherheitsmaßnahmen beachten!
Zu § 27 Abs. 9:
Siehe "Richtlinien für Sicherheits- und Rettungsgeschirre" (ZH 1/55) und "Sicherheitsregeln für Steigeisen und Steigeisengänge" (ZH 1/542).
Zu § 29 Abs. 2:
Abbildung

Zu § 30:
Beispiel der Ausführung für die Kopfhaltung
Zu § 32:
Beispiel für die Ausführung:

Zu § 34 Abs. 1:
Für gasbetriebene Flämmeinrichtungen und deren Gasversorgung sind die technischen Regeln und Anschlußbedingungen der Gastechnik zu beachten, insbesondere
Zu § 34 Abs. 3
Diese Forderung ist z.B. erfüllt, wenn die Signalgebung für den Brennereinsatz über 3 Meßwertstellen wie folgt gegeben wird:
Folgende Schaltvorgänge müssen stattfinden:
Schaltvorgang 1: Rohrbahnhaken 1 wird über Näherungsschalter gemeldet Schaltvorgang 2: Rohrbahnhaken 2 wird über Näherungsschalter gemeldet Schaltvorgang 3: Lichtschranke mit Sender und Empfänger registriert Schweinebein und schaltet nach den vorausgegangenen Schaltvorgängen 1 und 2 den Abflammvorgang ein.
Zu § 34 Abs. 5:
Diese Forderung ist z.B. erfüllt, wenn die Flammenlänge auf 80 mm reduziert wird.
Zu § 35 Abs. 3:
Diese Forderung ist z.B. erfüllt, wenn Arbeitspodeste nach Höhe und Abstand zur Transportbahn dem Arbeitsablauf angepaßt werden können.
Zu § 36 Abs. 1:
Diese Forderung ist z.B. erfüllt durch Messerregale, Messertaschen, Beilablagen. Bei mitgeführten Messertaschen ist diese Forderung z.B. erfüllt, wenn die Messertaschen
Zu § 37 Abs. 1:
Schlachtabfälle sind z.B. Borsten, Häute, Hörner, Klauen, Konfiskate. Solche Einrichtungen sind z.B. in den Fußboden eingebaute Schächte. Nach § 33 Abs. 2 UVV "Grundsätze der Prävention" (ab1/2004) (BGV A1) müssen in den Fußboden eingebaute Schächte ständige Sicherungen haben, die verhindern, daß Versicherte hineinstürzen.
Verkehrswege siehe § 17 Arbeitsstättenverordnung und §§ 24 und 25 UVV "Grundsätze der Prävention" (ab1/2004) (BGV A1).
Eine Lärmdämpfung kann auch durch konstruktive Maßnahmen erfolgen, wenn der Einwurf oder Abwurf nicht direkt auf dröhnende Blechplatten in Trichter und Rohre erfolgt.
Zu § 37 Abs. 2
Störungsfreie Entnahme durch Dickstoffpumpen ist möglich, wenn die enthaltenen Feststoffe zuvor durch Umwälzpumpen gleichmäßig verteilt worden sind und Siebe an den Einlauföffnungen den Eintrag grober Fremdstoffe verhindern.
Zu § 38 Abs. 1:
Druckluftkanonen sind Druckbehälter, die Schwellbeanspruchungen ausgesetzt sind. Bei der Berechnung ist die Lastspielzahl zu berücksichtigen.
Zu § 38 Abs. 2:
Werden zur Füllstandsüberwachung Lasereinrichtungen eingesetzt, siehe UVV "Laserstrahlung" (BGV B2).
Zu § 38 Abs. 4:
Diese Forderung ist z.B. erfüllt, wenn am Ende der Transportrohrleitung ein Luftabscheider angebracht ist.
Zu § 39:
Siehe auch "Richtlinien für Ladebrücken und fahrbare Rampen" (ZH 1/156).
Zu § 40 Abs. 1:
Diese Forderung ist erfüllt, wenn die Einrichtungen wie folgt gestaltet sind:
Rinder-Treibgang
Zu § 40 Abs. 3:
Diese Forderung kann auch ohne angrenzende Buchten, deren Buchtenzwischenwände mit Türen in unmittelbarer Treibgangnähe ausgerüstet sind, erfüllt sein.
Zu § 40 Abs. 4:
Abbildung

Zu § 41:
Arbeitsbühnen siehe § 15.
Zu § 41 Abs. 1:
Absaugeinrichtungen verringern die Staubeinwirkung auf die Personen.
Zu § 42 Abs. 2
Diese Forderung ist z.B. erfüllt, wenn eine Berührung aktiver Teile mit dem Prüffinger nach VDE 0470 "Regeln für Prüfgeräte und Prüfverfahren" nicht möglich ist.
Zu § 42 Abs. 3:
Aktive Teile sind z.B. die Elektroden, das Wasserbad einschließlich Zu- und Ablauf.
Zu § 42 Abs. 4:
Diese Forderung ist z.B. erfüllt, wenn Isolierteile aus kriechstromfestem Material beschaffen sind.
Zu § 45:
Aufsichtführender ist, wer die Durchführung von Arbeiten zu überwachen und für die arbeitssichere Ausführung zu sorgen hat. Er muß hierfür ausreichende Kenntnisse und Erfahrungen besitzen sowie weisungsbefugt sein.
Siehe auch § 22 Jugendarbeitsschutzgesetz.
Zu § 46:
Unterweisungen sind nach § 7 Abs. 2 UVV "Grundsätze der Prävention" (ab1/2004) (BGV A1) vorgeschrieben.
Es empfiehlt sich, daß der Unternehmer über durchgeführte Anweisungen schriftlich Nachweis führt. Der schriftliche Nachweis kann erfolgen durch
Unterweisungen kommen in Betracht über
Zu § 47:
Beseitigung von Mängeln siehe § 16 UVV "Grundsätze der Prävention" (ab1/2004) (BGV A1).
Wirksamkeit von Schutzeinrichtungen siehe § 26 UVV "Kraftbetriebene Arbeitsmittel" (VBG 5).
Weitere Prüfungen siehe § 61.
Aufsichtführender siehe Durchführungsanweisungen zu § 45.
Zu § 48:
Solche Einrichtarbeiten sind z.B.
Siehe auch § 27 UVV "Kraftbetriebene Arbeitsmittel" (VBG 5).
Zu § 57 Abs. 2
Diese Forderung ist z.B. erfüllt, wenn das Tier mit einer am Halfter oder an den Hörnern befestigten Kette oder Leine (Leitseil) geführt wird und dabei die Kette oder Leine so gehalten wird, daß man sie sofort loslassen kann.
Zu § 57 Abs. 7:
Diese Forderung ist z.B. erfüllt, wenn bei der Einzelschlachtung folgende Schutzmaßnahmen durchgeführt werden:
Zu § 61:
Sachkundiger ist, wer aufgrund seiner fachlichen Ausbildung und Erfahrung ausreichende Kenntnisse auf dem Gebiet der schlachttechnischen Einrichtungen hat und mit den einschlägigen staatlichen Arbeitsschutzvorschriften, Unfallverhütungsvorschriften, Richtlinien und allgemein anerkannten Regeln der Technik (z.B. DIN-Normen, VDE-Bestimmungen, technische Regeln anderer EG-Mitgliedstaaten) soweit vertraut ist, daß er den arbeitssicheren Zustand der schlachttechnischen Einrichtungen beurteilen kann.
Weitere Prüfungen siehe § 47.
Zu § 61 Abs. 2:
Diese Forderung ist z.B. erfüllt, wenn die Lastaufnahmemittel bei der Annahme an der Rohrbahn hängend eine Schablone durchlaufen.
Zu § 61 Abs. 4:
Diese Forderung ist z.B. erfüllt durch Prüfbuch, Prüfplakette, Maschinendatei.
| Maße von Rinderkörpern und -teilen | Anhang 1 |
Nachstehende Maße sind insbesondere bei der Bemessung und Anordnung von Arbeitsplätzen, Schlacht- und Fleischtransportbahnen sowie Verkehrswegen -gegebenenfalls unter Einhaltung vorgeschriebener Sicherheitsabstände - zu berücksichtigen.
Siehe auch § 17 Arbeitsstättenverordnung.
Abbildung 1
Abbildung 2

![]() |
ENDE | ![]() |
(Stand: 16.06.2018)
Alle vollständigen Texte in der aktuellen Fassung im Jahresabonnement
Nutzungsgebühr: ab 105.- € netto
(derzeit ca. 7200 Titel s.Übersicht - keine Unterteilung in Fachbereiche)
Die Zugangskennung wird kurzfristig übermittelt
? Fragen ?
Abonnentenzugang/Volltextversion