![]() |
zurück | ![]() |
Zu § 16 Abs. 1:
Diese Forderung ist erfüllt
Bei Fahrzeug-Hebebühnen mit mehr als 3000 kg Tragfähigkeit, z.B. bei Hebebühnen für Lkws, kann es erforderlich werden, bei der Bemessung der tragenden Teile von Hebebühnen eine ungünstigere Lastverteilung als 3:2 zugrunde zu legen.
Zu § 16 Abs. 2:
Das Ansprechen von Sicherheitseinrichtungen bezieht sich z.B. auf das Ansprechen der Sicherheitseinrichtung nach den §§ 27, 28.
Die Kräfte, die beim Ansprechen von Sicherheitseinrichtungen auftreten und die Konstruktion stoßartig belasten, müssen durch Versuch bestimmt werden, wenn ihre rechnerische Ermittlung zu großen Aufwand erfordert bzw. das Ergebnis der rechnerischen Ermittlung keine praxisgerechten Werte erwarten läßt.
Zu § 16 Abs. 3 Satz 1:
Bei teleskopierbaren Konstruktionsteilen ist Formschluß auch dann gegeben, wenn die Endstellungen der einzelnen Teleskopteile formschlüssig begrenzt sind.
Zu § 17 Abs. 1 Satz 1:
Konstruktiv bedingte Bewegungen des Lastaufnahmemittels zum Ausgleich von geringfügigen Winkel- und Aufstellungsungenauigkeiten gelten nicht als Pendeln, unbeabsichtigtes Neigen, Drehen oder Verschieben.
Zu § 17 Abs. 7:
Bei Fahrzeug-Hebebühnen mit Gelenkarmen kann das aufgenommene Fahrzeug unter Einwirkung von Seitenkräften abkippen, wenn die Aufnahmepunkte unter dem Fahrzeug zu nahe beieinander liegen. Eine möglichst breite Stellung der Aufnahmepunkte sollte daher angestrebt werden. Seitenkräfte können z.B. beim Besteigen des Fahrzeugs oder bei Arbeiten am Fahrzeug auftreten.
Zu § 18:
Hinsichtlich der Beschaffenheit des Bodens von Lastaufnahmemitteln, die für das Mitfahren oder Betreten von Personen bestimmt sind, siehe § 20 Abs. 1 Satz 1 UVV "Allgemeine Vorschriften" (Anm.: ab 1/2004 "Grundsätze der Prävention", BGV A1).
Zu § 18 Abs. 5:
Solche Arbeitsöffnungen kommen insbesondere an Überflurtaktständen vor, an denen von unten und von oben am Fahrzeug gearbeitet wird.
Zu § 19 Abs. 1 Satz 1:
Diese Forderung ist erfüllt, wenn
vorhanden ist.
"Parallel geführt" bedeutet, dass durch die Art der Führung in jeder Stellung der Arbeitsbühne deren parallele Lage zur Grundstellung sichergestellt ist. Hinsichtlich des Begriffes "Grundstellung" siehe Durchführungsanweisungen zu § 12 Satz 1.
Zu § 19 Abs. 2:
Diese Forderung ist erfüllt, wenn folgende Einrichtung vorhanden ist:
Beim Aufrichten des Mastes fällt eine mechanische Verriegelung selbsttätig ein, die als Sicherheitseinrichtung gemäß § 34 unmittelbar oder über geführte Druckfedern eingerückt wird. Durch eine zusätzliche Sicherung der Verriegelung von Hand wird ein Sicherheitsschalter betätigt, der die Hub- oder Senkbewegung freigibt.
Die Forderung bezieht sich z.B. auf Hubarbeitsbühnen mit senkrechtem Hubmast, deren Arbeitsbühne zum Verfahren umgeklappt werden kann. Bei diesen Geräten besteht die Gefahr, dass die Arbeitsbühne in Betrieb genommen wird, bevor der Hubmast gegen Kippen verriegelt und gesichert ist. Durch die zusätzliche Sicherung von Hand ist eine Kontrolle der selbsttätigen Verriegelung gegeben. Erst die Betätigung dieser Sicherung führt zur Freigabe der Steuerung von Hub- oder Senkbewegungen.
Zu § 20 Abs. 2 Satz 3:
Hinsichtlich der Seilbefestigungen siehe auch DIN 15315 und DIN 83313.
Zu § 20 Abs. 3 Satz 1:
Hinsichtlich der Bemessung von Stahldrahtseilen bei sonstigen Hebebühnen siehe DIN 15020 Teil 1.
Zu § 21:
Siehe auch die Unfallverhütungsvorschriften "Kraftbetriebene Arbeitsmittel" (VBG 5) und "Winden, Hub- und Zuggeräte" (BGV D8).
Zu § 21 Abs. 1 Satz 1:
Diese Forderung ist erfüllt
Bei pneumatisch-hydraulischen Hubwerken sind unbeabsichtigte Bewegungen denkbar, wenn zwischen dem hydraulischen und pneumatischen System eine Druckdifferenz besteht. Bei Betätigung des Steuerorgans "auf" und Öffnen des Sperrventils zwischen beiden Systemen kann es zunächst zu einer unbeabsichtigten Abwärtsbewegung kommen, wenn der Druck im pneumatischen Teil geringer ist ,als im hydraulischen Teil.
Die Aufwärtsbewegung wird dann erst möglich, wenn durch den Druckerzeuger ein Druckausgleich zwischen beiden Systemen hergestellt worden ist. Umgekehrt kann bei Betätigung des Steuerorgans "ab" eine unbeabsichtigte Aufwärtsbewegung erfolgen, wenn der Druck in pneumatischen Teil größer ist als im hydraulischen Teil.
Bei pneumatischen Triebwerken, bei denen die Last unmittelbar auf dem Gaspolster ruht, können unbeabsichtigte Bewegungen oder Stöße infolge der Kompressibilität des Gaspolsters auftreten, z.B. beim Aufbringen oder Abnehmen von Lasten. Sie können auch möglich sein, wenn es infolge der Reibung zwischen Zylinder und Kolben zu einem erhöhten Druckaufbau oder Druckabbau kommt.
Bei mechanischen Triebwerken sind unbeabsichtigte Bewegungen z.B. möglich, wenn Leerlaufstellungen geschaltet werden können.
Zu § 21 Abs. 2:
Formschluß ist bei hydraulischen Triebwerken gegeben, wenn als Arbeitsmedium ausschließlich eine Flüssigkeit verwendet wird, die im Arbeitszylinder durch Sperrventile abgeschlossen ist.
Zu § 21 Abs. 3:
Diese Forderung ist erfüllt
Zu § 22 Abs. 1 Sätze 1 und 2:
Diese Forderung ist erfüllt, wenn
Seilrillen wirken einem Verwickeln des Seiles entgegen, können dies jedoch nicht zuverlässig verhindern.
Zu § 22 Abs. 2:
Für die Bemessung von Seiltrommeln und Seilrollen bei sonstigen Hebebühnen siehe DIN 15020 Teil 1.
Zu § 23 Abs. 1:
Diese Forderung ist erfüllt:
Die beim Betrieb in der hydraulischen Anlage auftretenden Drücke liegen wesentlich über dem statischen Druck. Sie hängen von verschiedenen Faktoren ab, z.B. von den Reibungsverhältnissen, den Massenkräften, den Strömungsgeschwindigkeiten.
Hinsichtlich der Bemessung von Zylindern in Hubarbeitsbühnen siehe auch
DIN 15120.
Zu § 23 Abs. 7 Satz 1:
Diese Forderung ist erfüllt, wenn Ölstandsgläser, Ölstandswächter oder Peilstäbe eingebaut sind.
Zu § 24 Abs. 1:
Diese Forderung ist erfüllt, wenn die Berechnung nach DIN 2413 erfolgt ist.
Zu § 25 Abs. 2:
Hinsichtlich der Anforderungen an Schalter siehe § 34.
Überbeanspruchungen können bei geringer Bewegungsenergie durch geeignete Dämpfungselemente (z.B. energieverzehrende Puffer) verhindert werden.
Zu § 26:
Diese Forderung ist für Hebebühnen mit Seil- oder Kettenaufhängung des Lastaufnahmemittels erfüllt, wenn der Antrieb bei Schlaffseil oder Schlaffkette durch einen Sicherheitsschalter abgeschaltet wird. Siehe auch § 34 Abs. 3 Satz 1.
Ein Blockieren des Lastaufnahmemittels kann z.B. eintreten, wenn sich das Lastaufnahmemittel in der Führung verkantet.
Zu § 27 Abs. 3:
Diese Forderung ist für Spindelantriebe erfüllt, wenn folgende Einrichtung vorhanden ist:
Der Tragmutter ist eine gleiche Mutter als Folgemutter nachgeordnet, so dass sich die Tragmutter bei Bruch oder Gewindeverschleiß auf der Folgemutter absetzen kann. Danach ist nur noch eine einmalige Bewegung in die Grundstellung möglich. Eine weitere Bewegung wird auf mechanischem oder elektrischem Wege durch einen Sicherheitsschalter verhindert.
Diese Forderung ist für Ketten erfüllt, wenn folgende Einrichtung vorhanden ist:
Eine oder mehrere Ketten laufen unbelastet mit, die bei Bruch der betriebsmäßig tragenden Kette die Last übernehmen. Eine Dämpfung des Stoßes erfolgt dadurch, dass die lose mitlaufende Kette federnd aufgehängt ist. Die Endbefestigung der Kette ist mit einem Sicherheitsschalter nach § 34 Abs. 3 Satz 2 verbunden, der bei Belastung der Kette sofort den Antrieb abschaltet.
Diese Forderung kann für Seile in gleicher Weise wie für Ketten erfüllt werden.
Zu § 29 Abs. 1 Nr. 2:
Diese Forderung ist bei parallel arbeitenden hydraulischen Triebwerken, die von verschiedenen oder der gleichen Pumpe gespeist werden, erfüllt, wenn ein Vor- oder Nachlauf durch den Einbau starrer Verbindungen, z.B. mechanische Kupplungselemente, verhindert ist.
Diese Forderung ist bei hydraulischen Triebwerken, bei denen sich der eine Zylinder auf dem anderen abstützt, erfüllt, wenn bei jedem Arbeitsspiel ein selbsttätiger Ausgleich von Leckölverlusten erfolgt.
Diese Forderung ist bei mechanischen Triebwerken erfüllt, wenn eine selbsttätige Gleichlaufüberwachung vorhanden ist, z.B. elektrische Welle, Drehzahlwächter.
Unbeabsichtigter Ungleichlauf kann gegeben sein z.B.
Ungleichlauf entsteht in der Regel durch unterschiedliche Reibungsverhältnisse oder unterschiedliche Belastungen, bei hydraulischen Einrichtungen z.B. auch durch unterschiedliche Leckölverluste an den Manschetten.
Zu § 29 Abs. 2 Nr. 1:
Die Neigung von 1° läßt sich anhand nachstehender Tabelle aus der horizontalen Entfernung der Meßpunkte (l) und deren Höhendifferenz (h) ermitteln.
| h [mm] | 52 | 70 | 87 | 105 | 122 | 140 | 157 | 174 |
| l [m] | 3,00 | 4,00 | 5,00 | 6,00 | 7,00 | 8,00 | 9,00 | 10,00 |
Zu § 30:
Bei fahrbaren Hebebühnen sind je nach Bauart und Verwendungszweck auch die Bau- und Betriebsordnungen des Bundes oder der Länder über Schienenfahrzeuge, die Straßenverkehrs-Zulassungs-Ordnung (StVZO) sowie die Unfallverhütungsvorschriften "Schienenbahnen" (BGV D30) und "Fahrzeuge" (BGV D29) zu beachten.
Zu § 30 Abs. 1:
Diese Forderung ist erfüllt, wenn vorhanden sind:
Ungewollte Bewegungen können z.B. erfolgen durch Wind oder geneigte Fahrbahnen. Hydrostatische Antriebe allein stellen keine Sicherung gegen unbeabsichtigtes Bewegen dar.
Zu § 30 Abs. 2 Satz 2:
Die Betriebsbremse ist selbsttätig wirkend, wenn sie beim Loslassen der Steuerorgane selbsttätig einfällt.
Zu § 30 Abs. 3:
Bei kraftbewegten Hebebühnen wird die Antriebskraft für das Hubwerk oftmals vom Fahrwerksmotor geliefert. Beim Anlassen des Verbrennungsmotors vom Lastaufnahmemittel aus könnte es zu einer unbeabsichtigten Fahrbewegung kommen, wenn ein Fahrgang eingelegt und die Kupplung eingerückt ist.
Zu § 30 Abs. 5 Satz 1:
"Besondere Handgriffe" bedeutet, dass sie als solche vorgesehen und auch erkennbar sind.
Zu § 30 Abs. 5 Satz 3:
Fußverletzungen können z.B. eintreten, wenn die Deichsel so kurz ist, dass die Hebebühne beim Verziehen auf die Fersen der ziehenden Personen auflaufen kann.
Zu § 30 Abs. 6 Satz 1:
Diese Forderung ist erfüllt, wenn eine formschlüssige Verbindung vorhanden ist.
Zu § 30 Abs. 6 Satz 3:
Die Ursache des Schlagens spielt keine Rolle. Diese Forderung ist daher zu erfüllen, unabhängig davon, ob das Schlagen durch das Gewicht der Hebebühne, das Eigengewicht der Deichsel oder der Zuggabel oder durch Federzug verursacht wird.
Zu § 30 Abs. 8:
Bei hydrostatischem Antrieb des Fahrwerks kann eine ausreichende und zuverlässige Bremswirkung aus der Fahrbewegung erzielt werden, wenn kein Kurzschlußventil für den Hydraulikkreis vorhanden oder das Kurzschlußventil dem unmittelbaren Zugriff entzogen ist.
Zu § 30 Abs. 9:
Fahrleitungsanlage ist die Gesamtheit der zur Übertragung elektrischer Energie an Fahrzeuge über deren Stromabnehmer dienenden Betriebsmittel ab Speisepunkt, ausgenommen hierfür benutzte Fahrschienen und an diese angeschlossene Rückleiter. Zu diesen Betriebsmitteln zählen insbesondere die Fahrleitung, nicht an Spannung liegende Isolatoren mit Zubehör, Stützpunkte, Maste und ihre Gründungen, Träger, Längs- und Quertragwerke, Gestänge, Spannvorrichtungen. Zur Fahrleitungsanlage gehören auch Speiseleitungen und andere Leitungen, soweit sie auf den Stützpunkten der Fahrleitungsanlage geführt sind.
Zu § 32 Abs. 1:
Für Leitern und Tritte, die als Zugang verwendet werden, gilt die UVV "Leitern und Tritte" (BGV D36), für Podeste und Laufstege § 33 UVV "Allgemeine Vorschriften" (Anm.: ab 1/2004 "Grundsätze der Prävention", BGV A1).
Zu § 32 Abs. 3:
Konstruktionsbeispiele siehe Anhang 1.
Zu § 33:
Diese Forderung besagt, dass versucht werden soll, Quetsch- und Scherstellen zunächst durch ausreichende Sicherheitsabstände zu vermeiden. Bei folgenden Sicherheitsabständen kann allgemein davon ausgegangen werden, dass Quetsch- und Schergefahren nicht auftreten; siehe auch DIN 31 001 Teil 1:
Konstruktionsbeispiele siehe Anhang 2.
Zu § 34 Abs. 1:
Beschädigungen können auch durch ungünstige Witterungs- oder Korrosionseinflüsse auftreten.
Zu § 34 Abs. 2 Satz 1:
Formschluß ist auch gegeben, wenn die Sicherheitseinrichtung über Druckfedern eingerückt wird.
Zu § 34 Abs. 2 Satz 2:
Diese Forderung ist bei Schraubenfedern erfüllt, wenn diese beidseitig eingespannt sind, sowohl in eingerücktem als auch ausgerücktem Zustand ständig unter ausreichendem Druck stehen und so geführt sind, dass sie weder ausknicken noch sich ineinanderdrehen können.
Zu § 34 Abs. 3:
Diese Forderung schließt ein, dass die Schalter nach dem Ruhestromprinzip arbeiten. Sicherheitsschalter sind Schalter, die eine sicherheitstechnische Funktion haben. Hierzu gehören z.B. Notendschalter, Schlaffseilschalter, Wiederanfahrsicherungen.
Zu § 34 Abs. 3 Satz 2:
Sicherheitsschalter, die den Fehlerfall überwachen, sind i B. Notendschalter, Kettenbruchschalter.
Zu § 35 Abs. 2:
Solche Teile sind z.B. Filter im Hydrauliksystem, Tragmittel, Fangvorrichtungen.
Zu § 36:
Anforderungen an die elektrische Ausrüstung von Hebebühnen sind auch in anderen Bestimmungen dieser Unfallverhütungsvorschrift enthalten.
Im übrigen gilt für die elektrische Ausrüstung die UVV "Elektrische Anlagen und Betriebsmittel" (BGV A2) in Verbindung mit den einschlägigen VDE-Bestimmungen. Bei der Aufstellung in explosionsgefährdeten Betriebsstätten wird ferner auf die Verordnung über elektrische Anlagen in explosionsgefährdeten Räumen (ElexV) hingewiesen.
Zu § 36 Abs. 1:
Diese Forderung ist erfüllt, wenn jede Hebebühne über eine Steckvorrichtung oder einen ihr zugeordneten Netzanschlußschalter verfügt.
Diese Forderung schließt aus, dass z.B. mehrere ortsfeste Hebebühnen über einen gemeinsamen Netzanschlußschalter an das Netz angeschlossen werden.
Diese Forderung gilt auch für eine an der Hebebühne eingebaute oder mitgeführte Versorgungsbatterie.
Zu Abschnitt III. "Prüfung":
Fahrbare Hebebühnen, die im öffentlichen Straßenverkehr oder als Schienenfahrzeuge bei Bahnen des öffentlichen Verkehrs oder des nichtöffentlichen Verkehrs eingesetzt werden, unterliegen auch den hierfür geltenden behördlichen Vorschriften. Die darin vorgeschriebenen Prüfungen werden durch Prüfungen nach dieser Unfallverhütungsvorschrift nicht berührt. Sie sind zusätzlich durchzuführen.
Zu § 38 Abs. 2:
Die Durchführung von Baumusterprüfungen erfolgt nach den "Grundsätzen für die Prüfung der Arbeitssicherheit von Hebebühnen" (GS-FL-04), zu beziehen vom Fachausschuß "Fördermittel und Lastaufnahmemittel", 68145 Mannheim. Die Prüfstellen nach § 6 der Allgemeinen Verwaltungsvorschrift zum Gesetz über technische Arbeitsmittel sind vom Bundesminister für Arbeit und Sozialordnung im Fachteil Arbeitsschutz des Bundesarbeitsblattes mit ihren jeweiligen Aufgabengebieten bezeichnet.
Zu § 40:
Als Änderung der Konstruktion sind z.B. Maßnahmen zur Vergrößerung der Tragfähigkeit oder der Hubhöhe anzusehen.
Eine wesentliche Instandsetzung liegt z.B. vor, wenn tragende Bauteile - auch beim Austausch gegen Bauteile gleicher Art - geschweißt werden.
Zu § 42:
Prüfbücher für Hebebühnen sind vom Carl Heymanns Verlag KG, Luxemburger Straße 449, 50939 Köln, unter der Bestell- Nr. ZH 1/491 zu beziehen.
Hinsichtlich der Durchführung von Prüfungen siehe auch "Grundsätze für die Prüfung von Hebebühnen durch den Sachverständigen bzw. Sachkundigen nach der Unfallverhütungsvorschrift "Hebebühnen" (VBG 14)" (ZH 1/490).
Zu § 42 Abs. 4:
Hinsichtlich der Mängelbeseitigung siehe auch § 52.
Zu Abschnitt IV. "Betrieb":
Für Hebebühnen mit Verbrennungsmotor, die in geschlossenen Räumen eingesetzt werden, siehe § 45 UVV "Allgemeine Vorschriften" (Anm.: ab 1/2004 "Grundsätze der Prävention", BGV A1).
Für die Bewertung der Lärmentwicklung siehe UVV "Lärm" (BGV B3).
Zu § 43 Satz 1:
Als selbständige Bedienung ist die Bedienung ohne Aufsicht anzusehen.
Zu § 46 Abs. 1:
Bei der Aufstellung sind im Hinblick auf die Standsicherheit auch die Bodenverhältnisse zu berücksichtigen.
Zu § 46 Abs. 3:
Die Sicherung gegen Verkehrsgefahren kann z.B. durch Warnleuchten, Absperrungen oder Sicherungsposten erfolgen.
Zu § 47 Abs. 2:
Diese Forderung ist für Fahrzeug-Hebebühnen, die als Lastaufnahmemittel Gelenkarme haben, erfüllt, wenn das Fahrzeug an den vom Fahrzeughersteller angegebenen Punkten aufgenommen wird.
Zu § 47 Abs. 3:
Das Besteigen angehobener Fahrzeuge über ortsbewegliche Podeste wird hierdurch nicht ausgeschlossen, wenn die erforderliche Sicherheit gewährleistet ist.
Zu § 48 Abs. 1 Satz 2:
Bei der Verwendung von Signalen empfiehlt es sich, diese sowohl auf dem Lastaufnahmemittel als auch am Fahrerplatz anzugeben.
Zu § 48 Abs. 2:
Als Versetzfahrt gilt das Verfahren an einer Einsatzstelle, über kurze Strecken von einer Einsatzstelle zur anderen oder entlang einer Anlage, z.B. zur Durchführung von Kontrollen.
Zu § 48 Abs. 2 Nr. 3:
Diese Forderung bezieht sich auf Hindernisse, die von oben oder von der Seite in den Verkehrsraum hineinragen, z.B. auf Abspanndrähte von Oberleitungen, Unterführungen.
Zu § 48 Abs. 2 Nr. 5:
Die Standsicherheit kann unter anderem bei unebenen oder unbefestigten Fahrwegen und bei Vertiefungen im Fahrweg beeinträchtigt werden. Derartige Verhältnisse können z.B. auf Baustellen vorkommen.
Zu § 48 Abs. 2 Nr. 6:
Die Sicherung des Fahrbereiches kann z.B. durch Sicherungsposten erfolgen.
Zu § 48 Abs. 3:
Der Aufsichtführende hat eine Einweisungsfunktion. Er soll die Fahrbewegungen der Hubarbeitsbühne und die Bewegungen der Arbeitsbühne koordinieren und kontrollieren. Um diese Koordinations- und Kontrollfunktion ausüben zu können, hat er einen Standort zu wählen, der ihm einen ausreichenden Überblick gewährt.
Zu § 49 Abs. 1:
Bei Arbeiten an oder in der Nähe von ungeschützten aktiven Teilen elektrischer Anlagen wird auf die §§ 6 bis 8 der UVV "Elektrische Anlagen und Betriebsmittel" (BGV A2) sowie auf Abschnitte 11 und 12 DIN VDE 0105 Teil 1/07.83, bei Arbeiten an oder in der Nähe von unter Spannung stehenden Teilen der Oberleitungsanlage ferner auf Abschnitte 11 und 12 DIN VDE 0105 Teil 3/04.88 hingewiesen.
Hinsichtlich des Begriffes "in der Nähe" siehe Abschnitt 2.4.4 DIN VDE 0105 Teil 1/07.83.
Zu § 49 Abs. 3 Satz 2:
Arbeiten geringen Umfangs sind z.B. die Überwachung von Leuchten oder die Untersuchung von Oberleitungen.
Zu § 52 Abs. 1:
Bei Teilen, die nur in der Höhe verstellbar sind, kann die Sicherung gegen unbeabsichtigtes Bewegen z.B. durch einsteckbare Bolzen oder Stempel erfolgen, die gegen unbeabsichtigtes Umstoßen gesichert sind.
Bei Teilen der Hebebühne, die zusätzlich noch seitlich ausweichen können, sind weitere Sicherungen erforderlich.
| Anhang 1 |
Beispiele für die Absperrung an Zugangs- und Ladestellen ortsfester oder ortsfest verwendeter Hebebühnen
1 - Die an der Plattform befestigte Absperrung ist soweit hochgezogen, dass sie bei tiefster Stellung der Plattform zugleich die Funktion einer Absturzsicherung an der oberen Ladestelle erfüllt.
2 - Die Absperrung besteht aus zwei Schwenktüren, die so mit dem Antrieb verbunden sind, dass eine Hub- oder Senkbewegung nur bei geschlossenen Türen möglich ist
| Anhang 2 |
Beispiele für die Vermeidung und Sicherung von Quetsch- und Scherstellen an Hebebühnen
I. Hubtische, Scherenhebebühnen
a) Sicherung durch Verkleidung des Hubweges
1 - An der Plattform sind Blechschürzen angebracht, die in eine Bodenöffnung abgesenkt werden. Empfindlich gegen Beschädigung und Verschmutzung.
2 - Teleskopierende Blechverkleidung. Empfindlich gegen Beschädigungen.
3 - Verkleidung durch Rolljalousie.
4 - Verkleidung als Faltgitter ausgebildet.
5 - Hebetisch im geschlossenen Schacht laufend.
b) Sicherung durch Umwehrung
Fall 1:
Umwehrung voll ausgekleidet, Oberkante der Umwehrung liegt oberhalb der Scherkante:
a> 0
Fall 2:
Umwehrung voll ausgekleidet. Oberkante der Umwehrung liegt unterhalb der Scherkante:
a> 150 mm, wenn h> 1 500 mm
a> 500 mm, wenn h> 1500 mm
Fall 3:
Umwehrung nicht voll ausgekleidet. Der Abstand bestimmt sich außerdem nach der Größe der Öffnungen gem. DIN 31001. Es ist der jeweils größere Abstand einzuhalten, der sich im Vergleich zu Fall 1 bzw. Fall 2 ergibt.

c) Sicherung einzelner Quetsch- und Scherstellen
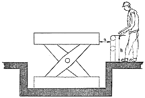
1 - Mindestabstand zwischen Plattform und Grundrahmen 120 mm. Bei Verwendung von Abschaltleisten kann der Abstand kleiner gehalten werden.
2 - Schutzraum zur Vermeidung von Fußquetschungen, horizontal 150 mm, vertikal 120 mm. Kleinerer Schutzraum bei Verwendung von Abschaltleisten möglich.
3- Abschaltleiste unter der Plattform zur Verhinderung von Quetsch- und Scherstellen gegenüber Teilen der Umgebung bei der Senkbewegung
4 - Abschaltleiste an umgebenden Bauteilen zur Verhinderung von Quetsch- und Scherstellen bei der Hubbewegung.
5 - Zur Vermeidung von Quetsch- und Scherstellen zwischen Grundrahmen und Schere ein Abstand von 150 mm zwischen Außenkante Grundrahmen und Schere (zur Vermeidung von Fußquetschungen) sowie ein Abstand von 30 mm zwischen Innenkante Grundrahmen und Vorderkante Schere (zur Vermeidung von Fingerquetschungen). Die Auflaufstellen der Führungsrollen sind zusätzlich zu sichern.
6 - Abstand zwischen den Scherblättern 30 mm zur Vermeidung von Quetsch- und Scherstellen für die Finger.
II. Viersäulen- Kfz- Hebebühnen

1 - Die Quetschstellen, welche die Auffahrträger und Querträger in der unteren Endstellung mit dem Fußboden bilden, sind durch fest angebrachte Abweisbügel gesichert, so dass sich ein Fußfreiraum von- senkrecht gemessen - 120 mm und - horizontal gemessen - 150 mm ergibt. An den Stirnseiten müssen die Schutzbügel ineinander verschiebbar sein, wenn der Abstand der Auffahrträger variabel ist.

2 - Die beweglichen Auffahrtteile klappen um 45° nach unten, damit die abweisende Wirkung bei der Abwärtsfahrt gewährleistet bleibt. Die Bewegung der Auffahrtkeile nach unten ist durch Anschlag begrenzt.

3 - Abweisbügel am Auffahrtträger können entfallen, wenn der Auffahrtträger so ausgebildet ist, daß ein ausreichender Fußfreiraum gewährleistet ist.

4 - 4 Säulenhebebühne mit festem hochgelegenen Montagestand (sog. Taktstand).
Wird das Lastaufnahmemittel nur bis in Höhe des Montagepodestes angehoben, genügt die Anbringung einer Klappe an der dem Lastaufnahmemittel zugewandten Seite des Podestes.
Fährt das Lastaufnahmemittel betriebsmäßig auch höher, sind darüber hinaus zur Sicherung von Quetsch- und Scherstellen während der Abwärtsfahrt unter den Scherkanten des Lastaufnahmemittels Abschaltleisten erforderlich.
III. Zweisäulen- Kfz Hebebühne
Der Hubwagen ist innen geführt. Fest angebrachte Abweisbügel sichern die Quetsch- und Scherstellen, weiche die Gelenkarme in der unteren Endstellung bilden. Die lichte Höhe der Abweisbügel beträgt 120 mm.
![]() |
ENDE | ![]() |
(Stand: 16.06.2018)
Alle vollständigen Texte in der aktuellen Fassung im Jahresabonnement
Nutzungsgebühr: ab 105.- € netto
(derzeit ca. 7200 Titel s.Übersicht - keine Unterteilung in Fachbereiche)
Die Zugangskennung wird kurzfristig übermittelt
? Fragen ?
Abonnentenzugang/Volltextversion