Für einen individuellen Ausdruck passen Sie bitte die
Einstellungen in der Druckvorschau Ihres Browsers an.
Regelwerk, EU 2012, Gefahrgut/Transport - EU Bund

Verordnung (EU) Nr. 1230/2012 der Kommission vom 12. Dezember 2012 zur Durchführung der Verordnung (EG) Nr. 661/2009 des Europäischen Parlaments und des Rates hinsichtlich der Anforderungen an die Typgenehmigung von Kraftfahrzeugen und Kraftfahrzeuganhängern bezüglich ihrer Massen und Abmessungen und zur Änderung der Richtlinie 2007/46/EG des Europäischen Parlaments und des Rates

(Text von Bedeutung für den EWR)

(ABl. Nr. L 353 vom 21.12.2012 S. 31, ber. 2013 L 130 S. 60, ber. 2016 L 28 S. 18;
VO (EU) 2017/1151 - ABl. Nr. L 175 vom 07.07.2017 S. 1 Inkrafttreten/Gültigkeit, ber. L 209 S. 63 A;
VO (EU) 2019/1892 - ABl. L 291 vom 12.11.2019 S. 17 Inkrafttreten;
VO (EU) 2019/2144 - ABl. L 325 vom 16.12.2019 S. 1aufgehoben)




aufgehoben gem. Art. 18 der VO (EU) 2019/2144

Die Europäische Kommission -

gestützt auf den Vertrag über die Arbeitsweise der Europäischen Union,

gestützt auf die Verordnung (EG) Nr. 661/2009 des Europäischen Parlaments und des Rates vom 13. Juli 2009 über die Typgenehmigung von Kraftfahrzeugen, Kraftfahrzeuganhängern und von Systemen, Bauteilen und selbstständigen technischen Einheiten für diese Fahrzeuge hinsichtlich ihrer allgemeinen Sicherheit 1, insbesondere auf Artikel 14 Absatz 1 Buchstabe a,

gestützt auf Richtlinie 2007/46/EG des Europäischen Parlaments und des Rates vom 5. September 2007 zur Schaffung eines Rahmens für die Genehmigung von Kraftfahrzeugen und Kraftfahrzeuganhängern sowie von Systemen, Bauteilen und selbstständigen technischen Einheiten für diese Fahrzeuge (Rahmenrichtlinie) 2, insbesondere auf Artikel 39 Absätze 2, 3 und 5,

in Erwägung nachstehender Gründe:

(1) Bei der Verordnung (EG) Nr. 661/2009 handelt es sich um eine Einzelverordnung für die Zwecke des Typgenehmigungsverfahrens gemäß der Richtlinie 2007/46/EG.

(2) Durch die Verordnung (EG) Nr. 661/2009 werden die Richtlinie 92/21/EWG des Rates vom 31. März 1992 über Massen und Abmessungen von Kraftfahrzeugen der Klasse M1 3 sowie die Richtlinie 97/27/EG des Europäischen Parlaments und des Rates vom 22. Juli 1997 über die Massen und Abmessungen bestimmter Klassen von Kraftfahrzeugen und Kraftfahrzeuganhängern und zur Änderung der Richtlinie 70/156/EWG 4 aufgehoben. Die in diesen Richtlinien genannten Anforderungen an die Massen und Abmessungen von Kraftfahrzeugen und Kraftfahrzeuganhängern sollten in die vorliegende Verordnung übernommen und erforderlichenfalls geändert werden, um sie an den technischen und wissenschaftlichen Fortschritt anzupassen.

(3) Die Verordnung (EG) Nr. 661/2009 enthält grundlegende Bestimmungen zu den Anforderungen an die Typgenehmigung von Kraftfahrzeugen und Kraftfahrzeuganhängern bezüglich ihrer Massen und Abmessungen. Deshalb ist es erforderlich, auch die speziellen Verfahren, Prüfungen und Anforderungen für eine solche Typgenehmigung festzulegen.

(4) In der Richtlinie 96/53/EG des Rates vom 25. Juli 1996 zur Festlegung der höchstzulässigen Abmessungen für bestimmte Straßenfahrzeuge im innerstaatlichen und grenzüberschreitenden Verkehr in der Gemeinschaft sowie zur Festlegung der höchstzulässigen Gewichte im grenzüberschreitenden Verkehr 5 werden sowohl für den innerstaatlichen als auch für den grenzüberschreitenden Verkehr in den Mitgliedstaaten bestimmte höchstzulässige Abmessungen festgelegt. Deshalb ist es wichtig, dass beim Bau von Fahrzeugen die Abmessungen, die innerhalb der Union bereits harmonisiert sind, berücksichtigt werden, damit der freie Warenverkehr gefördert und gefestigt wird.

(5) Durch die Richtlinie 97/27/EG wurde es den Mitgliedstaaten gestattet, Typgenehmigungen für Fahrzeuge zu erteilen, deren größte Abmessungen nicht mit den gemäß jener Richtlinie höchstzulässigen Abmessungen übereinstimmen. Der Richtlinie zufolge war es den Mitgliedstaaten ferner erlaubt, die Zulassung von Fahrzeugen zu verweigern, die zwar über eine EG-Typgenehmigung verfügten, deren größte Abmessungen jedoch nicht den innerstaatlichen Rechtsvorschriften entsprachen. Es ist wichtig, dass die Möglichkeit erhalten wird, unter bestimmten Bedingungen die Typgenehmigung von Fahrzeugen zu erlauben, die die zulässigen Werte überschreiten, wenn sich dies als vorteilhaft für den Straßenverkehr und die Umwelt in den Mitgliedstaaten erweist, sofern eine geeignete Straßeninfrastruktur vorhanden ist. Deshalb sollte die Möglichkeit gewährleistet werden, solche Fahrzeuge im Rahmen einer Kleinserien-Typgenehmigung oder von Einzelgenehmigungssystemen zuzulassen, vorausgesetzt, dass die Anzahl der Fahrzeuge, für die eine Ausnahmebestimmung gemäß Artikel 23 der Richtlinie 2007/46/EG hinsichtlich der höchstzulässigen Abmessungen in Frage kommt, auf das Maß beschränkt bleibt, das für die Zwecke dieser Verordnung erforderlich ist. Anhang XII der Richtlinie 2007/46/EG sollte daher so geändert werden, dass er solche höchstzulässigen Stückzahlen enthält.

(6) Mit der Richtlinie 96/53/EG werden höchstzulässige Gewichte festgelegt, die jedoch nur für den grenzüberschreitenden Verkehr gelten. Nach jener Richtlinie ist es allerdings erlaubt, dass die Mitgliedstaaten auch weiterhin ihre innerstaatlichen Rechtsvorschriften auf den innerstaatlichen Verkehr anwenden. Folglich scheint eine Harmonisierung der technisch zulässigen Gesamtmasse und der technisch zulässigen Achslasten oder der technisch zulässigen Achslast einer Achsgruppe für den Verkehr in den Mitgliedstaaten kurzfristig nicht erreichbar. Dennoch sollte von den Mitgliedstaaten angesichts einer mangelnden Harmonisierung der Vorschriften für den Bau von Straßeninfrastrukturen verlangt werden, dass sie für Fahrzeuge, die gemäß der Richtlinie 96/53/EG für den innerstaatlichen oder für den grenzüberschreitenden Verkehr zugelassen sind, die Zulassungs-/Betriebsmassen bestimmen und dass sie ein Verfahren zur Bestimmung dieser Massen einführen.

(7) Angesichts der Erfahrungen mit der Anwendung von Unionsvorschriften für die Massen und Abmessungen von Fahrzeugen müssen genau bestimmte Begriffe vorgesehen werden. Einige dieser Begriffe sind bereits in den Richtlinien 97/27/EG und 92/21/EWG festgelegt worden. Aus Gründen der Einheitlichkeit sollten diese Begriffsbestimmungen übernommen werden, wobei sie erforderlichenfalls an den technischen und wissenschaftlichen Fortschritt angepasst werden sollten.

(8) Da die Begriffsbestimmung für die tatsächliche Masse eines bestimmten Fahrzeugs in diese Verordnung aufgenommen wurde, muss der Anhang IX der Richtlinie 2007/46/EG entsprechend geändert werden, damit es beim Ausfüllen der Übereinstimmungsbescheinigung nicht zu Verwechslungen kommt.

(9) Im Weißbuch "Fahrplan zu einem einheitlichen europäischen Verkehrsraum - Hin zu einem wettbewerbsorientierten und ressourcenschonenden Verkehrssystem" 6 wurde die Notwendigkeit hervorgehoben, die Aerodynamik von Straßenfahrzeugen zu verbessern, und Untersuchungen haben gezeigt, dass der Kraftstoffverbrauch von Kraftfahrzeugen und somit auch ihre CO2-Emissionen deutlich verringert werden könnten, wenn aerodynamische Vorrichtungen an den Fahrzeugen angebracht werden; es ist daher wichtig, dass das Anbringen solcher aerodynamischer Vorrichtungen an Fahrzeugen erlaubt wird. Da es sich bei aerodynamischen Vorrichtungen um Zusatzeinrichtungen handelt, die aufgrund ihrer Bauart seitlich oder am Heck über die äußerste Begrenzung des Fahrzeugs hinausragen, sollten sie in das Verzeichnis von Vorrichtungen oder Ausrüstungsteilen, die für die Bestimmung der größten Abmessungen nicht maßgebend sind, aufgenommen werden. Allerdings dürfen die Vorrichtungen am Heck und seitlich nicht so weit überstehen, dass die Straßenverkehrssicherheit gefährdet wird; auch der intermodale Verkehr muss weiterhin möglich sein. Daher sollten die nötigen technischen Anforderungen in dieser Verordnung festgelegt werden.

(10) Dank der vorhandenen Software ist es möglich, virtuelle, auf rechnergestützten Techniken beruhende Prüfverfahren anzuwenden. Da durch diese Techniken die Prüfungen kostenwirksamer und weniger aufwendig werden, sollte die Möglichkeit geschaffen werden, sie einzusetzen, um zu überprüfen, ob das Fahrzeug einen vollständigen Kreis von 360° beschreiben kann und um das größte Ausschwenken des Fahrzeughecks zu messen, während das Fahrzeug den Kreis beschreibt. Deshalb muss die vorliegende Verordnung ebenfalls in die Aufstellung der Rechtsakte in Anhang XVI der Richtlinie 2007/46/EG aufgenommen werden.

(11) Damit das reibungslose Funktionieren des Typgenehmigungsverfahrens gewährleistet werden kann, müssen die Anhänge der Richtlinie 2007/46/EG aktualisiert werden.

(12) Die Anhänge I, III, IX, XII und XVI der Richtlinie 2007/46/EG sollten daher entsprechend geändert werden. Da die Bestimmungen von Anhang XII ausreichend detailliert sind und keine weiteren Umsetzungsmaßnahmen der Mitgliedstaaten erfordern, ist es angebracht, sie im Einklang mit Artikel 39 Absatz 8 der Richtlinie 2007/46/EG auf dem Wege einer Verordnung zu ersetzen.

(13) Die in dieser Verordnung vorgesehenen Maßnahmen entsprechen der Stellungnahme des Technischen Ausschusses "Kraftfahrzeuge"

- hat folgende Verordnung erlassen:

Artikel 1 Gegenstand und Geltungsbereich 19

  1. Mit dieser Verordnung werden die Anforderungen für die EG-Typgenehmigung von Kraftfahrzeugen und Kraftfahrzeuganhängern bezüglich ihrer Massen und Abmessungen sowie für bestimmte selbstständige technische Einheiten für diese Fahrzeuge festgelegt.
  2. Diese Verordnung gilt für unvollständige, vollständige und vervollständigte Fahrzeuge der Klassen M, N und O.

Artikel 2 Begriffsbestimmungen 17 19

Für die Zwecke dieser Verordnung gelten die folgenden Begriffsbestimmungen zusätzlich zu denen der Richtlinie 2007/46/EG und der Verordnung (EG) Nr. 661/2009:

  1. "Fahrzeugtyp" bezeichnet eine Gesamtheit von Fahrzeugen gemäß Anhang II Teil B der Richtlinie 2007/46/EG;
  2. "Standardausrüstung" bezeichnet die grundlegende Konfiguration eines Fahrzeugs, das mit allen Merkmalen ausgestattet ist, die nach den in Anhang IV oder Anhang XI der Richtlinie 2007/46/EG angeführten Rechtsakten vorgeschrieben sind, einschließlich aller angebauten Ausrüstungsteile, die keine weiteren Spezifikationen auf der Ebene der Konfiguration oder der Ausrüstung bedingen;
  3. "Zusatzausrüstung" bezeichnet alle nicht in der Standardausrüstung enthaltenen Ausrüstungsteile, die unter der Verantwortung des Herstellers am Fahrzeug angebracht werden und vom Kunden bestellt werden können;
  4. "Masse in fahrbereitem Zustand" bezeichnet
    1. bei einem Kraftfahrzeug:

      Masse des Fahrzeugs mit dem (den) zu mindestens 90 % seines (ihres) Fassungsvermögens gefüllten Kraftstofftank(s), zuzüglich der Masse des Fahrers, des Kraftstoffs und der Flüssigkeiten, ausgestattet mit der Standardausrüstung gemäß den Herstellerangaben sowie, sofern vorhanden, der Masse des Aufbaus, des Führerhauses, der Anhängevorrichtung und des Ersatzrads/der Ersatzräder sowie des Werkzeugs;

    2. bei einem Anhänger:

      Masse des mit der Standardausrüstung gemäß den Herstellerangaben ausgestatteten Fahrzeugs einschließlich Kraftstoff und Flüssigkeiten sowie, sofern vorhanden, einschließlich der Masse des Aufbaus, einer oder mehrerer zusätzlicher Anhängevorrichtungen, des Ersatzrads/ der Ersatzräder sowie des Werkzeugs;

  5. " Masse der Sonderausrüstung" bezeichnet die Höchstmasse der Kombinationen optionaler Ausrüstungsteile, die gemäß den Herstellerangaben zusätzlich zur Standardausrüstung am Fahrzeug angebracht werden können;
  6. "tatsächliche Fahrzeugmasse" bezeichnet die Masse des Fahrzeugs in fahrbereitem Zustand, zuzüglich der Masse der an einem bestimmten Fahrzeug angebrachten Sonderausrüstung;
  7. " technisch zulässige Gesamtmasse" (M) bezeichnet die vom Hersteller angegebene Höchstmasse des Fahrzeugs in beladenem Zustand, die auf der Bauart und der bauartbedingten Leistungsfähigkeit des Fahrzeugs beruht; die technisch zulässige Gesamtmasse eines Anhängers oder eines Sattelanhängers umfasst die statische Masse, die in angekuppeltem Zustand auf das Zugfahrzeug übertragen wird;
  8. "technisch zulässige Gesamtmasse einer Fahrzeugkombination" (MC) bezeichnet die Höchstmasse, die einer Kombination aus einem Kraftfahrzeug und einem oder mehreren Anhängern ausgehend von seiner Bauart und seiner bauartbedingten Leistungsfähigkeit zugeordnet wird, oder die Höchstmasse, die einer Kombination aus Zugmaschine und Sattelanhänger zugeordnet wird;
  9. "technisch zulässige Anhängelast" (TM) bezeichnet die Höchstmasse eines oder mehrerer Anhänger, die von einem Zugfahrzeug gezogen werden können, entsprechend der Gesamtmasse der von den Rädern einer Achse oder Achsgruppe auf den Boden übertragenen Last an einem mit dem Zugfahrzeug verbundenen Anhänger;
  10. "Achse" bezeichnet die gemeinsame Drehachse von zwei oder mehr kraftbetriebenen oder frei drehbaren Rädern, die die aus einem oder mehreren Abschnitten bestehen kann, der (die) auf derselben Ebene senkrecht zur Längsmittelebene des Fahrzeugs angeordnet ist (sind);
  11. "Achsgruppe" bezeichnet mehrere Achsen, die einen Achsabstand aufweisen, der höchstens so groß sein darf wie einer der in Anhang I der Richtlinie 96/53/EG als Abstand "d" bezeichneten Achsabstände und die aufgrund der spezifischen Konstruktion der Aufhängung zusammenwirken;
  12. "Einzelachse" bezeichnet eine Achse, die nicht als Teil einer Achsgruppe betrachtet werden kann;
  13. "technisch zulässige Achslast" (m) bezeichnet die Masse, die der höchstzulässigen statischen vertikalen Belastung entspricht, die von den Rädern einer Achse auf die Fahrbahnoberfläche übertragen wird und auf der Bauart und den bauartbedingten Leistungsfähigkeit des Fahrzeugs und der Achse beruht;
  14. "technisch zulässige Achslast einer Achsgruppe" (μ) bezeichnet die Masse, die der höchstzulässigen statischen vertikalen Belastung entspricht, die von den Rädern einer Achsgruppe auf die Fahrbahnoberfläche übertragen wird und auf der Bauart und der bauartbedingten Leistungsfähigkeit des Fahrzeugs und der Achse beruht;
  15. "Verbindungseinrichtung" bezeichnet eine mechanische Vorrichtung, die Bauteile enthält, die in den Absätzen 2.1 bis 2.6 der Regelung Nr. 55 der Wirtschaftskommission der Vereinten Nationen für Europa (UN/ECE) - Einheitliche Bedingungen für die Genehmigung von mechanischen Verbindungseinrichtungen für Fahrzeugkombinationen 7 bestimmt sind, sowie eine Kurzkupplungseinrichtung gemäß Absatz 2.1.1 der UN/ECE-Regelung Nr. 102 - Einheitliche Bedingungen für die Genehmigung: I. einer Kurzkupplungseinrichtung II. von Fahrzeugen hinsichtlich des Anbaues eines genehmigten Typs einer Kurzkupplungseinrichtung 8;
  16. "Kupplungspunkt" bezeichnet die Mitte des Angriffspunkts der an einem gezogenen Fahrzeug angebrachten Verbindungseinrichtung innerhalb der an einem Zugfahrzeug angebrachten Verbindungseinrichtung;
  17. "Masse der Verbindungseinrichtung" bezeichnet die Masse der Verbindungseinrichtung selbst und die der Bauteile, die für die Befestigung der Verbindungseinrichtung am Fahrzeug erforderlich sind;
  18. "technisch zulässige Stützlast am Kupplungspunkt" bezeichnet:
    1. bei einem Zugfahrzeug die Masse, die der größten zulässigen Stützlast am Kupplungspunkt (Kennwert "S" oder "U") eines Zugfahrzeugs entspricht, ausgehend von der Bauart der Verbindungseinrichtung und des Zugfahrzeugs;
    2. bei einem Sattelanhänger, einem Zentralachsanhänger und einem Starrdeichselanhänger die Masse, die der größten zulässigen statischen vertikalen Belastung (Kennwert "S" oder "U") entspricht, die vom Anhänger am Kupplungspunkt auf das Zugfahrzeug übertragen wird, ausgehend von der Bauart der Verbindungseinrichtung und des Anhängers;
  19. "Masse der Fahrgäste" bezeichnet eine Nennmasse, die von der Fahrzeugklasse abhängt, multipliziert mit der Zahl der Sitzplätze, einschließlich eventueller Sitzplätze für Mitglieder des Fahrpersonals, und der Anzahl der Stehplätze, jedoch ohne die Masse des Fahrers;
  20. "Masse des Fahrers" bezeichnet eine Masse, die mit 75 kg am Sitzbezugspunkt des Fahrers veranschlagt wird;
  21. "Nutzlast" bedeutet den Unterschied zwischen der technisch zulässigen Höchstmasse in beladenem Zustand und der Masse in fahrbereitem Zustand, erhöht um die Masse der Fahrgäste und die Masse der Zusatzausrüstung;
  22. "Länge" bezeichnet die in den Absätzen 6.1.1, 6.1.2 und 6.1.3 der Norm ISO 612:1978 bezeichnete Abmessung; diese Begriffsbestimmung gilt auch für Gelenkfahrzeuge, die aus zwei oder mehr Abschnitten bestehen;
  23. "Breite" bezeichnet die in Absatz 6.2 der Norm ISO 612:1978 bezeichnete Abmessung;
  24. "Höhe" bezeichnet die in Absatz 6.3 der Norm ISO 612:1978 bezeichnete Abmessung;
  25. " Radstand" bezeichnet Folgendes:
    1. Bei Kraftfahrzeugen und Deichselanhängern den waagrechten Abstand zwischen dem Mittelpunkt der ersten und dem der letzten Achse;
    2. bei Zentralachsanhängern, Sattelanhängern und Starrdeichselanhängern den Abstand zwischen der senkrechten Achse der Verbindungseinrichtung und dem Mittelpunkt der letzten Achse;
  26. " Achsabstand" bezeichnet die Entfernung zwischen zwei aufeinanderfolgenden Achsen; bei Zentralachsanhängern, Sattelanhängern und Starrdeichselanhängern ist der erste Achsabstand der waagrechte Abstand zwischen der senkrechten Achse der vorderen Verbindungseinrichtung und dem Mittelpunkt der ersten Achse;
  27. "Spurweite" bezeichnet die in Absatz 6.5 der Norm ISO 612:1978 bezeichnete Entfernung;
  28. "Sattelvormaß" bezeichnet die in Absatz 6.19.2 der Norm ISO 612: 1978 genannte Entfernung, unter Berücksichtigung der in Absatz 6.19 derselben Norm genannten Anmerkung;
  29. "vorderer Überhangradius eines Sattelanhängers" bezeichnet den waagerechten Abstand zwischen der Achse des Sattelzapfens und jedem Punkt an der Vorderseite des Sattelanhängers;
  30. "vorderer Überhang" bezeichnet den waagrechten Abstand zwischen der senkrechten Ebene durch die erste Achse oder, bei Sattelanhängern, durch die Achse des Sattelzapfens, und dem vordersten Punkt des Fahrzeugs;
  31. "hinterer Überhang" bezeichnet den waagrechten Abstand zwischen der senkrechten Ebene durch die letzte Hinterachse und dem hintersten Punkt des Fahrzeugs; wenn das Fahrzeug mit einer nicht abnehmbaren Verbindungseinrichtung versehen ist, ist der Kupplungspunkt der hinterste Punkt des Fahrzeugs;
  32. "Länge der Ladefläche" bezeichnet den waagrecht in der Längsebene des Fahrzeugs gemessenen Abstand zwischen dem vordersten und hintersten Punkt der Innenseite der Ladefläche;
  33. "Ausschwenken des Fahrzeughecks" bezeichnet den Abstand zwischen dem Ausgangspunkt und dem äußersten Punkt, der vom hinteren Ende eines Fahrzeugs tatsächlich erreicht wird, wenn Fahrmanöver gemäß den Bedingungen von Anhang I Teil B Abschnitt 8 oder Anhang I Teil C Abschnitt 7 dieser Verordnung durchgeführt werden;
  34. "Hubeinrichtung" bezeichnet einen an einem Fahrzeug angebrachten Mechanismus zum Anheben einer Achse von der Fahrbahn und zum Absenken einer Achse auf die Fahrbahn;
  35. "Hubachse" bezeichnet eine Achse, die mithilfe einer Hubeinrichtung aus ihrer üblichen Position angehoben und wieder abgesenkt werden kann;
  36. "Lastverlagerungsachse" bezeichnet eine Achse, deren Belastung mit Hilfe einer Hubeinrichtung ohne Anhebung der Achse verändert werden kann;
  37. "Luftfederung" bezeichnet ein Federungssystem, bei dem die Federungswirkung zu mindestens 75 % durch pneumatische Vorrichtungen erzeugt wird;
  38. "Kraftomnibus-Klasse" bezeichnet eine Kategorie von Fahrzeugen gemäß den Absätzen 2.1.1 und 2.1.2 der UN/ECE- Regelung Nr. 107 - Einheitliche Bedingungen für die Genehmigung von Fahrzeugen der Klassen M2 und M3 hinsichtlich ihrer allgemeinen Konstruktionsmerkmale 9;
  39. "Gelenkfahrzeug" bezeichnet ein Fahrzeug der Klasse M2 oder M3 gemäß Absatz 2.1.3 der UN/ECE-Regelung Nr. 107;
  40. "unteilbare Ladung" bezeichnet eine Ladung, die für die Zwecke der Beförderung auf der Straße nicht ohne unverhältnismäßig hohe Kosten oder Schadensrisiken in zwei oder mehr Ladungen geteilt werden kann und die aufgrund ihrer Massen oder Abmessungen nicht von einem Fahrzeug befördert werden kann, dessen Massen und Abmessungen den in einem Mitgliedstaat geltenden zulässigen Höchstwerten entsprechen.
  41. "aerodynamische Luftleiteinrichtungen und Ausrüstungen" bezeichnet Einrichtungen oder Ausrüstungen außer verlängerten Führerhäusern, die dazu bestimmt sind, den Luftwiderstand von Straßenfahrzeugen zu verringern.

Artikel 3 Pflichten der Hersteller

  1. Der Hersteller bestimmt für jede Version innerhalb eines Fahrzeugtyps, unabhängig vom Fertigungstand des Fahrzeugs, folgende Massen:
    1. die technisch zulässige Gesamtmasse;
    2. die technisch zulässige Gesamtmasse der Fahrzeugkombination;
    3. die technisch zulässige Anhängelast;
    4. die technisch zulässige Achslast der Achsen oder die technisch zulässige Achslast einer Achsgruppe;
    5. die technisch zulässige Stützlast am Kupplungspunkt (an den Kupplungspunkten) unter Berücksichtigung der technischen Merkmale der Kupplungen, die am Fahrzeug angebracht sind oder dort angebracht werden können.
  2. Bei der Bestimmung der in Absatz 1 genannten Massen berücksichtigt der Hersteller die besten ingenieurtechnischen Verfahren und die besten verfügbaren Fachkenntnisse, um die Gefahr eines mechanischen Versagens, insbesondere aufgrund von Materialermüdung, zu minimieren und eine Beschädigung der Straßeninfrastruktur zu vermeiden.
  3. Bei der Bestimmung der in Absatz 1 genannten Massen berücksichtigt der Hersteller die konstruktionsbedingte Höchstgeschwindigkeit des Fahrzeugs.
    1. Falls das Fahrzeug vom Hersteller mit einem Geschwindigkeitsbegrenzer ausgestattet wird, so gilt als Höchstgeschwindigkeit die tatsächliche vom Geschwindigkeitsbegrenzer zugelassene Geschwindigkeit.
  4. Bei der Bestimmung der in Absatz 1 genannten Massen darf der Hersteller keine Nutzungseinschränkungen für das Fahrzeug festlegen, außer denen, die die Reifenkapazitäten betreffen,
    1. die an die bauartbedingte Höchstgeschwindigkeit angepasst werden können und gemäß der UN/ECE-Regelung Nr. 54 - Einheitliche Bedingungen für die Genehmigung der Luftreifen für Nutzfahrzeuge und ihre Anhänger 10 und gemäß Abschnitt 5 von Anhang II der Verordnung (EU) Nr. 458/2011 der Kommission 11 zugelassen sind.
  5. Bei unvollständigen Fahrzeugen einschließlich Fahrgestellen mit Führerhaus, die eine weitere Vervollständigungsstufe durchlaufen müssen, stellt der Hersteller den Herstellern der nächsten Stufe alle einschlägigen Informationen zur Verfügung, damit die Anforderungen dieser Verordnung auch weiterhin erfüllt werden.

    Für die Zwecke von Unterabsatz 1 gibt der Hersteller die Lage des Fahrzeugschwerpunkts für die Masse an, die der Summe der Last entspricht.

  6. Unvollständige Fahrzeuge der Klassen M2, M3, N2 und N3 ohne Aufbau müssen so konstruiert sein, dass es den Herstellern der nachfolgenden Stufen möglich ist, die Anforderungen der Abschnitte 7 und 8 von Teil B und der Abschnitte 6 und 7 von Teil C von Anhang I zu erfüllen.

Artikel 4 Vorschriften für die EG-Typgenehmigung für einen Fahrzeugtyp bezüglich seiner Massen und Abmessungen

  1. Der Hersteller oder sein Bevollmächtigter legt der Typgenehmigungsbehörde einen Antrag auf EG-Typgenehmigung eines Fahrzeugtyps hinsichtlich seiner Massen und Abmessungen vor.
  2. Der Antrag wird in Übereinstimmung mit dem Muster des Beschreibungsbogens in Anhang V Teil a erstellt.
  3. Für die Zwecke der Berechnung der Achslastverteilung stellt der Hersteller der Typgenehmigungsbehörde zu jeder technischen Konfiguration innerhalb eines Fahrzeugtyps, die durch die Gruppe der Werte der in Anhang V aufgeführten Punkte definiert ist, die erforderlichen Angaben zur Verfügung, damit folgende Massen ermittelt werden können:
    1. die technisch zulässige Gesamtmasse;
    2. die technisch zulässige Achslast der Achsen oder die technisch zulässige Achslast einer Achsgruppe;
    3. die technisch zulässige Anhängelast;
    4. die technisch zulässige Stützlast am Kupplungspunkt (an den Kupplungspunkten);
    5. die technisch zulässige Gesamtmasse der Fahrzeugkombination.

    Die Angaben sind in Vereinbarung mit der Typgenehmigungsbehörde in Tabellenform oder einem anderen geeigneten Format vorzulegen.

  4. Wenn sich die Zusatzausrüstung in erheblichem Maße auf die Massen und Abmessungen des Fahrzeugs auswirkt, muss der Hersteller dem Technischen Dienst die Lage, Masse und geometrische Position des Schwerpunkts der Zusatzausrüstung, die am Fahrzeug angebracht werden kann, bezogen auf die Achsen mitteilen.
  5. Abweichend von Absatz 4 reicht es aus, wenn der Hersteller dem Technischen Dienst lediglich die Verteilung der Masse der Zusatzausrüstung auf den Achsen mitteilt, falls es sich um eine Zusatzausrüstung handelt, die aus mehreren, an verschiedenen Orten am Fahrzeug angebrachten Teilen besteht.
  6. Bei Achsgruppen gibt der Hersteller an, nach welcher Gesetzmäßigkeit die auf die Achsgruppe wirkende Gesamtlast auf die einzelnen Achsen verteilt wird.

    Erforderlichenfalls gibt der Hersteller die Verteilungsformeln an oder legt Verteilungsdiagramme vor.

  7. Falls die Genehmigungsbehörde oder der Technische Dienst es für erforderlich hält, kann sie/er vom Hersteller verlangen, dass dieser ein Fahrzeug, das für den zu genehmigenden Typ repräsentativ ist, zur Kontrolle zur Verfügung stellt.
  8. Der Fahrzeughersteller kann bei der Typgenehmigungsbehörde einen Antrag auf Anerkennung der Gleichwertigkeit einer Federung mit einer Luftfederung einreichen.

    Die Typgenehmigungsbehörde erkennt die Gleichwertigkeit einer Federung mit einer Luftfederung an, wenn die Anforderungen von Anhang III erfüllt sind.

    Wenn der Technische Dienst die Gleichwertigkeit anerkannt hat, stellt er einen Prüfbericht aus. Die Typgenehmigungsbehörde fügt den Prüfbericht und eine technische Beschreibung der Federung dem EG-Typgenehmigungsbogen bei.

  9. Sind die Anforderungen der Anhänge I bis IV der vorliegenden Verordnung erfüllt, erteilt die Genehmigungsbehörde eine Typgenehmigung in Übereinstimmung mit dem in Anhang VII der Richtlinie 2007/46/EG dargelegten Nummerierungsschema.

    Ein Mitgliedstaat darf die gleiche Nummer keinem anderen Fahrzeugtyp zuteilen.

  10. Für die Zwecke von Absatz 9 stellt die Typgenehmigungsbehörde einen EG-Typgenehmigungsbogen nach dem Muster in Anhang V Teil B aus.
  11. Die zulässigen Abweichungen gemäß Anhang I Anlage 2 gelten für die Zwecke von Artikel 12 Absatz 2 der Richtlinie 2007/46/EG.

Artikel 4a EG-Typgenehmigung aerodynamischer Luftleiteinrichtungen und Ausrüstungen als selbstständige technische Einheiten 19

  1. Der Hersteller oder sein Bevollmächtigter legt der Typgenehmigungsbehörde einen Antrag auf EG-Typgenehmigung für eine aerodynamische Luftleiteinrichtung oder Ausrüstung als selbstständige technische Einheit vor.
  2. Der Antrag ist nach dem Muster des Beschreibungsbogens in Anhang V Teil C zu erstellen.
  3. Sind die einschlägigen Anforderungen der vorliegenden Verordnung erfüllt, erteilt die Genehmigungsbehörde eine EG-Typgenehmigung für selbstständige technische Einheiten und vergibt eine Typgenehmigungsnummer nach dem in Anhang VII der Richtlinie 2007/46/EG dargelegten Nummerierungsschema.
  4. Ein Mitgliedstaat darf die gleiche Nummer keinem anderen Typ einer selbstständigen technischen Einheit zuteilen.
  5. Für die Zwecke von Absatz 2 stellt die Typgenehmigungsbehörde einen EG-Typgenehmigungsbogen nach dem Muster in Anhang V Teil D aus.

Artikel 4b EG-Typgenehmigungszeichen für selbstständige technische Einheiten 19

Jede selbstständige technische Einheit, die einem Typ entspricht, für den gemäß dieser Verordnung die EG-Typgenehmigung als selbstständige technische Einheit erteilt wurde, muss ein EG-Typgenehmigungszeichen für selbstständige technische Einheiten gemäß Anhang V Teil E tragen.

Artikel 5 Für die Zulassung/den Betrieb zulässige Massen

  1. Für die Zwecke der Zulassung und Inbetriebnahme von gemäß dieser Verordnung typgenehmigten Fahrzeugen legen die nationalen Behörden für jede Variante und Version innerhalb eines Fahrzeugtyps die folgenden Massen fest, die gemäß der Richtlinie 96/53/EG für den innerstaatlichen Verkehr oder den grenzüberschreitenden Verkehr zugelassen sind:
    1. die zulässige Zulassungs-/Betriebsmasse in beladenem Zustand;
    2. die zulässige Zulassungs-/Betriebsachslast einer Achse (der Achsen);
    3. die zulässige Zulassungs-/Betriebsachslast einer Achsgruppe;
    4. die zulässige Zulassungs-/Betriebsanhängelast;
    5. die zulässige Zulassungs-/Betriebsmasse einer Fahrzeugkombination in beladenem Zustand.

    Die nationalen Behörden legen das Verfahren für die Ermittlung der im ersten Unterabsatz genannten zulässigen Zulassungs-/Betriebsmassen fest. Sie bestimmen die Behörde, die für die Ermittlung dieser Massen zuständig ist und legen fest, welche Angaben dieser zuständigen Behörde vorzulegen sind.

  2. Die nach dem in Absatz 1 genannten Verfahren ermittelten zulässigen Zulassungs-/Betriebsmassen dürfen nicht höher sein als die in Artikel 3 Absatz 1 genannten Höchstmassen.
  3. Die zuständige Behörde konsultiert den Hersteller hinsichtlich der Verteilung der Last auf die Achsen oder Achsgruppen, um zu gewährleisten, dass die Fahrzeugsysteme, insbesondere die Lenk- und die Bremsanlage, ordnungsgemäß funktionieren.
  4. Bei der Ermittlung der zulässigen Zulassungs-/Betriebsmassen stellen die nationalen Behörden sicher, dass die Anforderungen der in den Anhängen IV und XI der Richtlinie 2007/46/EG aufgeführten Rechtsakte auch weiterhin erfüllt werden.
  5. Wenn nationale Behörden zu dem Schluss kommen, dass die Anforderungen in einem der in den Anhängen Annex IV und XI der Richtlinie 2007/46/EG aufgezählten Rechtsakte (mit Ausnahme der vorliegenden Verordnung) nicht mehr erfüllt werden, verlangen sie, dass neue Prüfungen durchgeführt werden und eine neue Typgenehmigung erteilt wird oder gegebenenfalls von der Typgenehmigungsbehörde, die die ursprüngliche Typgenehmigung erteilt hat, eine Erweiterung der Typgenehmigung genehmigt wird.

Artikel 6 Ausnahmen

  1. Unbeschadet von Artikel 4 Absatz 3 der Richtlinie 96/53/EG kann eine EG-Typgenehmigung für solche Fahrzeuge erteilt werden, deren Abmessungen die Anforderungen der vorliegenden Verordnung überschreiten und die für den Transport von unteilbaren Ladungen vorgesehen sind. In solchen Fällen muss aus dem Typgenehmigungsbogen und aus der Übereinstimmungsbescheinigung eindeutig hervorgehen, dass das Fahrzeug nur für den Transport von unteilbaren Ladungen vorgesehen ist.
  2. Die Mitgliedstaaten können gemäß der Artikel 23 und 24 der Richtlinie 2007/46/EG Genehmigungen für Fahrzeuge ausstellen, die die in Absatz 1.1 der Teile B, C und D von Anhang I dieser Verordnung genannten Abmessungen überschreiten.

    Typgenehmigungen gemäß Artikel 23 der Richtlinie 2007/46/EG unterliegen den in Anhang XII Teil a Abschnitt 3 dieser Richtlinie genannten höchstzulässigen Stückzahlen.

Artikel 7 Übergangsbestimmungen

  1. Die nationalen Behörden gestatten den Verkauf und die Inbetriebnahme von Fahrzeugen, die vor dem in Artikel 13 Absatz 2 der Verordnung (EG) Nr. 661/2009 genannten Zeitpunkt typgenehmigt wurden, und genehmigen weiterhin Erweiterungen von Genehmigungen, die gemäß der Richtlinie 92/21/EWG und der Richtlinie 97/27/EG erteilt wurden.
  2. Unbeschadet von Absatz 1 verlieren gemäß Artikel 7 der Richtlinie 97/27/EG ausgestellte Typgenehmigungen an dem in Artikel 19 Absatz 1 der Verordnung (EG) Nr. 661/2009 genannten Zeitpunkt ihre Gültigkeit.

    Die Mitgliedstaaten können jedoch gemäß Artikel 27 der Richtlinie 2007/46/EG die Zulassung, den Verkauf und die Inbetriebnahme von Fahrzeugen einer auslaufenden Serie, deren EG-Typgenehmigung nicht mehr gültig ist, auf Antrag des Herstellers erlauben.

  3. Ab dem 10. Januar 2014 stellen Hersteller Übereinstimmungsbescheinigungen aus, die der vorliegenden Verordnung entsprechen.

    Bis zum 9. Januar 2014 geben sie die tatsächliche Fahrzeugmasse unter dem Eintrag 52 der Übereinstimmungsbescheinigung an, es sei denn, diese geht aus einem anderen Eintrag der Übereinstimmungsbescheinigung hervor.

Artikel 8 Änderungen an der Richtlinie 2007/46/EG

Die Anhänge I, III, IX und XVI der Richtlinie 2007/46/EG werden gemäß Anhang VI der vorliegenden Verordnung geändert.

Anhang XII der Richtlinie 2007/46/EG wird durch Anhang VII der vorliegenden Verordnung ersetzt.

Artikel 9 Inkrafttreten

Diese Verordnung tritt am zwanzigsten Tag nach ihrer Veröffentlichung im Amtsblatt der Europäischen Union in Kraft.

Sie gilt für alle ab dem 1. November 2012 genehmigten neuen Fahrzeugtypen.

Diese Verordnung ist in allen ihren Teilen verbindlich und gilt unmittelbar in jedem Mitgliedstaat.

Brüssel, den 12. Dezember 2012

1) ABl. Nr. L 200 vom 31.07.2009 S. 1.

2) ABl. Nr. L 263 vom 09.10.2007 S. 1.

3) ABl. Nr. L 129 vom 14.05.1992 S. 1.

4) ABl. Nr. L 233 vom 25.08.1997 S. 1.

5) ABl. Nr. L 235 vom 17.09.1996 S. 59.

6) KOM(2011)144.

7) ABl. Nr. L 227 vom 28.08.2010 S. 1.

8) ABl. Nr. L 351 vom 20.12.2008 S. 44.

9) ABl. Nr. L 53 vom 29.09.2010 S. 1.

10) ABl. Nr. L 183 vom 11.07.2008 S. 41.

11) ABl. Nr. L 124 vom 13.05.2011 S. 11.

.

Technische Anforderungen Anhang I 19

Teil A
Fahrzeuge der Klassen M1 und N1
19

1. Höchstzulässige Abmessungen

1.1. Die Abmessungen dürfen folgende Werte nicht überschreiten:

1.1.1 Länge: 12,00 m.

1.1.2. Breite:

  1. M1: 2,55 m;
  2. N1: 2,55 m;
  3. N1: 2,60 m bei Fahrzeugen mit einem Aufbau mit isolierten Wänden mit einer Dicke von mindestens 45 mm, wie in Anhang II Teil C Anlage 2 der Richtlinie 2007/46/EG angeführt;

1.1.3 Höhe: 4,00 m.

1.2 Für die Messung der Länge, Breite und Höhe muss die Masse des Fahrzeugs der Masse in fahrbereitem Zustand entsprechen und muss sich das Fahrzeug auf einer waagrechten und ebenen Fläche befinden, wobei die Reifen auf den vom Hersteller empfohlenen Luftdruck aufgepumpt sind.

1.3 Die in Anlage 1 genannten Einrichtungen und Ausrüstungen bleiben bei der Bestimmung der Länge, Breite und Höhe unberücksichtigt.

2. Massenverteilung

2.1 Die Summe der technisch zulässigen Achslast der Achsen muss mindestens der technisch zulässigen Gesamtmasse des Fahrzeugs entsprechen.

2.2 Die technisch zulässige Gesamtmasse des Fahrzeugs muss mindestens der Masse des Fahrzeugs in fahrbereitem Zustand, zuzüglich der Masse der Fahrgäste, zuzüglich der Masse der Zusatzausrüstung, zuzüglich der Masse der Verbindungseinrichtung (falls letztere nicht in der Masse im fahrbereiten Zustand enthalten ist) entsprechen.

2.3 Ist das Fahrzeug bis zum Erreichen der technisch zulässigen Gesamtmasse beladen, darf die Achslast auf jeder Achse die technisch zulässige Achslast auf dieser Achse nicht überschreiten.

2.4 Ist das Fahrzeug bis zum Erreichen der technisch zulässigen Gesamtmasse beladen, darf die Masse auf der Vorderachse in keinem Fall weniger als 30 % der technisch zulässigen Gesamtmasse des Fahrzeugs betragen.

2.4.1 Ist das Fahrzeug bis zum Erreichen der technisch zulässigen Gesamtmasse zuzüglich der technisch zulässigen Stützlast am Kupplungspunkt beladen, darf die Masse auf der Vorderachse in keinem Fall weniger als 20 % der technisch zulässigen Gesamtmasse des Fahrzeugs betragen.

2.5 Ist ein Fahrzeug mit demontierbaren Sitzen ausgerüstet, wird das Prüfverfahren auf den Fall beschränkt, in dem die Höchstzahl von Sitzen eingebaut ist.

2.6. Für die Zwecke der Überprüfung der Anforderungen in den Absätzen 2.2, 2.3 and 2.4 gilt Folgendes:

  1. Die Sitze sind gemäß Absatz 2.6.1 einzustellen.
  2. Die Masse der Fahrgäste, die Nutzlast und die Masse der Zusatzausrüstung ist gemäß der Abschnitte 2.6.2 bis 2.6.4.2.3 zu verteilen.

2.6.1. Sitzverstellung

2.6.1.1 Sind die Sitze verstellbar, so werden sie in ihre hinterste Stellung gebracht.

2.6.1.2 Lässt sich der Sitz noch in anderer Weise (vertikal, im Winkel, an der Rückenlehne usw.) verstellen, so wird die vom Hersteller angegebene Stellung gewählt.

2.6.1.3 Gefederte Sitze müssen in der Vertikalen in der vom Hersteller angegebenen Lage arretiert sein.

2.6.2. Verteilung der Masse der Fahrgäste

2.6.2.1 Die Masse jedes Fahrgasts wird mit 75 kg veranschlagt.

2.6.2.2 Die Masse jedes Fahrgasts wird am Sitzbezugspunkt angebracht (d. h. am "R-Punkt" des Sitzes).

2.6.2.3 Bei Fahrzeugen mit besonderer Zweckbestimmung gilt die Anforderung von Absatz 2.6.2.2 mit den nötigen Abänderungen (z.B. bei Krankenwagen für die Masse einer auf der Bahre liegenden verletzten Person).

2.6.3. Verteilung der Masse der Zusatzausrüstung

2.6.3.1 Die Masse der Zusatzausrüstung muss gemäß den Herstellerangaben verteilt sein.

2.6.4 Verteilung der Nutzlast

2.6.4.1. Fahrzeuge der Klasse M1

2.6.4.1.1 Bei Fahrzeugen der Klasse M1 ist die Nutzlast gemäß den Herstellerangaben und in Übereinstimmung mit dem Technischen Dienst zu verteilen.

2.6.4.1.2. Bei Wohnmobilen gilt für die Mindest-Nutzlast (PM) folgende Anforderung:

PM in kg ≥ 10 (n + L)

Dabei gilt:

"n" ist die Höchstzahl der Fahrgäste zuzüglich des Fahrers und

"L" ist die Gesamtlänge des Fahrzeugs in Metern.

2.6.4.2. Fahrzeuge der Klasse N1

2.6.4.2.1 Bei Fahrzeugen mit einem Aufbau ist die Nutzlast gleichmäßig auf der Ladefläche zu verteilen.

2.6.4.2.2 Bei Fahrzeugen ohne Aufbau (z.B. Fahrgestell mit Führerhaus) muss der Hersteller die zulässigen Extremlagen des Schwerpunkts der Nutzlast, erhöht um die Masse der für die Unterbringung von Gütern vorgesehenen Ausrüstung (z.B. Aufbau, Tank usw.), angeben (z.B.: 0,50 m bis 1,30 m vor der ersten Hinterachse).

2.6.4.2.3 Bei Fahrzeugen, die für die Ausrüstung mit einer Sattelkupplung vorgesehen sind, muss der Hersteller den Mindest- und den Höchstwert für das Vormaß der Sattelkupplung angeben.

2.7. Zusätzliche Anforderungen für Fahrzeuge, die einen Anhänger ziehen können

2.7.1 Die in den Absätzen 2.2, 2.3 und 2.4 genannten Anforderungen gelten unter Berücksichtigung der Masse der Verbindungseinrichtung und der technisch zulässigen Stützlast am Kupplungspunkt.

2.7.2 Unbeschadet der Anforderungen von Absatz 2.4 darf die technisch zulässige Achslast auf der (den) Hinterachse(n) um höchstens 15 % überschritten werden.

2.7.2.1 Wird die technisch zulässige Achslast auf der (den) Hinterachse(n) um nicht mehr als 15 % überschritten, gelten die Anforderungen von Absatz 5.2 des Anhangs II der Verordnung (EU) Nr. 458/2011 der Kommission 1.

2.7.2.2 In den Mitgliedstaaten, in denen die Straßenverkehrsvorschriften dies erlauben, kann der Hersteller in einem geeigneten Begleitdokument wie der Betriebsanleitung oder dem Werkstatthandbuch angeben, dass die technisch zulässige Gesamtmasse des Fahrzeugs um nicht mehr als 10 % oder 100 kg (es gilt der niedrigere Wert) überschritten werden darf.

Diese zulässige Abweichung gilt nur, wenn gemäß den Bedingungen von Absatz 2.7.2.1 ein Anhänger gezogen wird, vorausgesetzt, die Betriebsgeschwindigkeit ist auf maximal 100 km/h beschränkt.

3. Anhängelast und Last an der Verbindungseinrichtung

3.1. Hinsichtlich der technisch zulässigen Anhängelast gelten die folgenden Anforderungen:

3.1.1. Anhänger mit Betriebsbremsanlage

3.1.1.1. Die technische zulässige Anhängelast des Fahrzeugs muss dem niedrigsten der folgenden Werte entsprechen:

  1. der technisch zulässigen Anhängelast, die auf der Bauart und den Leistungen des Fahrzeugs und der Festigkeit der Verbindungseinrichtung beruht;
  2. der technisch zulässigen Gesamtmasse des Zugfahrzeugs;
  3. bei Geländefahrzeugen gemäß Anhang II der Richtlinie 2007/46/EG dem 1,5-fachen der technisch zulässigen Gesamtmasse des Zugfahrzeugs.

3.1.1.2 Die technisch zulässige Anhängelast darf jedoch in keinem Fall 3 500 kg überschreiten.

3.1.2. Anhänger ohne Betriebsbremsanlage

3.1.2.1. Die technische zulässige Anhängelast muss dem niedrigsten der folgenden Werte entsprechen:

  1. der technisch zulässigen Anhängelast, die auf der Bauart und den Leistungen des Fahrzeugs und der Festigkeit der Verbindungseinrichtung beruht;
  2. der Hälfte der Masse des Zugfahrzeugs in fahrbereitem Zustand.

3.1.2.2 Die technisch zulässige Anhängelast darf in keinem Fall 750 kg überschreiten.

3.2 Die technisch zulässige Stützlast am Kupplungspunkt muss mindestens 4 % der zulässigen Anhängelast und mindestens 25 kg betragen.

3.3 Der Hersteller muss in der Betriebsanleitung die technisch zulässige Stützlast am Kupplungspunkt, die Befestigungspunkte der Verbindungseinrichtung am Zugfahrzeug sowie den höchstzulässigen hinteren Überhang des Kupplungspunkts angeben.

3.4 Die technische zulässige Anhängelast darf nicht unter Bezug auf die Zahl der Fahrgäste definiert werden.

4. Masse der Fahrzeugkombination

Die technisch zulässige Gesamtmasse der Fahrzeugkombination darf die Summe aus der technisch zulässigen Gesamtmasse zuzüglich der technisch zulässigen Anhängelast nicht überschreiten.

MC ≤ M + TM

5. Anfahrvermögen an Steigungen

5.1 Es muss möglich sein, mit einem Zugfahrzeug mit einer Fahrzeugkombination an einer Steigung von mindestens 12 % innerhalb von fünf Minuten fünfmal anzufahren.

5.2 Bei der Durchführung der Prüfung gemäß Absatz 5.1 müssen das Zugfahrzeug und der Anhänger entsprechend der technisch zulässigen Gesamtmasse der Fahrzeugkombination beladen sein.

Teil B
Fahrzeuge der Klassen M2 und M3
19

1. Höchstzulässige Abmessungen

1.1. Die Abmessungen dürfen folgende Werte nicht überschreiten:

1.1.1. Länge

  1. Fahrzeug mit zwei Achsen und einem Fahrzeugsegment: 13,50 m
  2. Fahrzeug mit drei oder mehr Achsen und aus einem Abschnitt: 15,00 m
  3. Gelenkfahrzeug: 18,75 m

1.1.2. Breite: 2,55 m;

1.1.3. Höhe: 4,00 m

1.2 Für die Messung der Länge, Breite und Höhe muss die Masse des Fahrzeugs der Masse in fahrbereitem Zustand entsprechen und muss sich das Fahrzeug auf einer waagrechten und ebenen Fläche befinden, wobei die Reifen auf den vom Hersteller empfohlenen Luftdruck aufgepumpt sind.

1.3 Die in Anlage 1 genannten Einrichtungen und Ausrüstungen bleiben bei der Bestimmung der Länge, Breite und Höhe unberücksichtigt.

1.3.1. Zusätzliche Anforderungen für die in Anlage 1 genannten aerodynamischen Luftleiteinrichtungen

1.3.1.1. Aerodynamische Luftleiteinrichtungen und Ausrüstungen, deren Länge in der Gebrauchsstellung höchstens 500 mm beträgt, dürfen die Gesamtnutzfläche des Laderaums nicht vergrößern. Sie müssen so konstruiert sein, dass sie sowohl in der eingezogenen bzw. eingeklappten Stellung als auch in der Gebrauchsstellung arretiert werden können. Ferner müssen solche Einrichtungen und Ausrüstungen derart konstruiert sein, dass sie bei stehendem Fahrzeug so einziehbar oder einklappbar sind, dass die unter Nummer 1.1.2 angegebene höchstzulässige Breite des Fahrzeugs an den beiden Seiten nicht um mehr als 25 mm und nur ab einer Höhe von mehr als 1.050 mm über der Fahrbahn die unter Nummer 1.1.1 angegebene höchstzulässige Länge des Fahrzeugs nicht um mehr als 200 mm überschritten wird und sie die Möglichkeit, das Fahrzeug für intermodalen Verkehr zu verwenden, nicht beeinträchtigen. Außerdem müssen die Anforderungen der Nummern 1.3.1.1.1 und 1.3.1.1.3 eingehalten werden.

1.3.1.1.1 Die Einrichtungen und Ausrüstungen müssen gemäß der vorliegenden Verordnung typgenehmigt werden.

1.3.1.1.2 Die Stellung der aerodynamischen Luftleiteinrichtung und Ausrüstung - einschließlich ihres Einziehens oder Einklappens - muss vom Bediener mit einer manuellen Kraft von höchstens 40 daN verändert werden können. Dies kann außerdem auch automatisch erfolgen.

1.3.1.1.3 Einrichtungen und Ausrüstungen brauchen nicht einziehbar oder einklappbar zu sein, wenn die Anforderungen hinsichtlich der höchstzulässigen Abmessungen unter allen Bedingungen vollständig eingehalten sind.

1.3.1.2. Aerodynamische Luftleiteinrichtungen und Ausrüstungen, deren Länge in der Gebrauchsstellung 500 mm überschreitet, dürfen die Gesamtnutzfläche des Laderaums nicht vergrößern. Sie müssen so konstruiert sein, dass sie sowohl in der eingezogenen bzw. eingeklappten Stellung als auch in der Gebrauchsstellung arretiert werden können. Ferner müssen solche Einrichtungen und Ausrüstungen derart konstruiert sein, dass sie bei stehendem Fahrzeug so einziehbar oder einklappbar sind, dass die unter Nummer 1.1.2 angegebene höchstzulässige Breite des Fahrzeugs an den beiden Seiten nicht um mehr als 25 mm und nur ab einer Höhe von mehr 1.050 mm über der Fahrbahn die unter Nummer 1.1.1 angegebene höchstzulässige Länge des Fahrzeugs nicht um mehr als 200 mm überschritten wird und sie die Möglichkeit, das Fahrzeug für intermodalen Verkehr zu verwenden, nicht beeinträchtigen. Außerdem müssen die Anforderungen der Nummern 1.3.1.2.1 bis 1.3.1.2.4 eingehalten werden.

1.3.1.2.1 Die Einrichtungen und Ausrüstungen müssen gemäß der vorliegenden Verordnung typgenehmigt werden.

1.3.1.2.2 Die Stellung der aerodynamischen Luftleiteinrichtung und Ausrüstung - einschließlich ihres Einziehens oder Einklappens - muss vom Bediener mit einer manuellen Kraft von höchstens 40 daN verändert werden können. Dies kann außerdem auch automatisch erfolgen.

1.3.1.2.3 Alle am Fahrzeug angebrachten und in der Gebrauchsstellung befindlichen senkrecht bzw. waagerecht angeordneten Hauptelemente oder Kombinationen von Elementen, aus denen die Einrichtungen und Ausrüstungen bestehen, müssen den nacheinander nach oben, unten, links und rechts eingeleiteten senkrechten und waagerechten Zug- und Druckkräften von 200 daN ± 10 % widerstehen, die in der geometrischen Mitte der betreffenden senkrecht hervorragenden Fläche mit einem maximalen Druck von 2,0 MPa aufgebracht werden. Die Einrichtungen und Ausrüstungen dürfen sich zwar verformen, das Verstell- und Arretiersystem darf sich infolge der aufgebrachten Kräfte jedoch nicht lösen. Um sicherzustellen, dass die höchstzulässige Breite des Fahrzeugs an beiden Seiten des Fahrzeugs während und nach der Prüfung nicht um mehr als 25 mm überschritten wird, ist die Verformung zu begrenzen.

1.3.1.2.4 Alle eingezogenen oder eingeklappten senkrecht bzw. waagerecht angeordneten Hauptelemente oder Kombinationen von Elementen, aus denen die Einrichtungen und Ausrüstungen bestehen, müssen ebenfalls der entgegen der Fahrtrichtung längs eingeleiteten waagerechten Zugkraft von 200 daN ± 10 % widerstehen, die in der geometrischen Mitte der betreffenden senkrecht hervorragenden Fläche mit einem maximalen Druck von 2,0 MPa aufgebracht wird. Die Einrichtungen und Ausrüstungen dürfen sich zwar verformen, das Verstell- und Arretiersystem darf sich infolge der aufgebrachten Kräfte jedoch nicht lösen. Um sicherzustellen, dass die höchstzulässige Breite des Fahrzeugs an den beiden Seiten nicht um mehr als 25 mm und die höchstzulässige Länge des Fahrzeugs nicht um mehr als 200 mm überschritten wird, ist die Verformung zu begrenzen.

1.3.1.3. Der technische Dienst prüft zur Zufriedenheit der Typgenehmigungsbehörde, dass durch die aerodynamischen Luftleiteinrichtungen und Ausrüstungen - sowohl in der Gebrauchsstellung als auch eingezogen oder eingeklappt - die Kühlung und Lüftung des Antriebs, der Auspuffanlage und des Führerhauses nicht erheblich beeinträchtigt werden. Alle weiteren geltenden Anforderungen für die Fahrzeugsysteme müssen sowohl bei eingezogenen oder eingeklappten als auch bei in der Gebrauchsstellung befindlichen Einrichtungen und Ausrüstungen vollständig eingehalten werden.

Abweichend von den geltenden Anforderungen für den hinteren Unterfahrschutz dürfen die waagerechten Abstände zwischen der Rückseite der Einrichtung für den hinteren Unterfahrschutz und der Rückseite des mit aerodynamischen Luftleiteinrichtungen und Ausrüstungen ausgestatteten Fahrzeugs ohne Berücksichtigung der Luftleiteinrichtungen und Ausrüstungen gemessen werden, wenn diese länger als 200 mm sind, sich in betriebsbereitem Zustand befinden und wenn die wesentlichen Abschnitte der in einer Höhe von ≤ 2,0 m über dem Boden angebrachten Teile bei Messung im unbeladenen Zustand aus einem Werkstoff mit einer Härte von < 60 Shore (A) bestehen. Unberücksichtigt bei der Bestimmung der Härte bleiben schmale Versteifungen, Rohre und Metalldrahtgewebe, die einen Rahmen oder einen Trägerkörper bilden, um die wesentlichen Abschnitte der Teile aufzunehmen. Um die Gefahr von Verletzungen und ein Eindringen in andere Fahrzeuge bei einem Aufprall auszuschließen, dürfen die Endstücke dieser Versteifungen, Rohre und Metalldrahtgewebe allerdings nicht nach hinten gerichtet sein, sowohl bei eingezogenen oder eingeklappten als auch bei in der Gebrauchsstellung befindlichen Einrichtungen und Ausrüstungen.

Alternativ zu der im vorstehenden Absatz genannten Ausnahmeregelung dürfen die waagerechten Abstände zwischen der Rückseite der Einrichtung für den hinteren Unterfahrschutz und der Rückseite des mit aerodynamischen Luftleiteinrichtungen und Ausrüstungen ausgestatteten Fahrzeugs ohne Berücksichtigung der aerodynamischen Luftleiteinrichtungen und Ausrüstungen gemessen werden, wenn diese länger als 200 mm sind, sich in betriebsbereitem Zustand befinden und den Prüfvorschriften gemäß Anlage 4 entsprechen.

Die waagerechten Abstände zwischen der Rückseite der Einrichtung für den hinteren Unterfahrschutz und der Rückseite des Fahrzeugs sind jedoch mit den aerodynamischen Luftleiteinrichtungen und Ausrüstungen in eingezogenem oder eingeklapptem Zustand zu messen, oder es ist der gemäß Anlage 4 Nummer 1.6.1 entstehende Überstand zu berücksichtigen, falls dieser größer ist als die Länge der Einrichtungen oder Ausrüstungen in eingezogenem oder eingeklapptem Zustand.

2. Massenverteilung bei Fahrzeugen mit einem Aufbau

2.1. Berechnungsverfahren

Formelzeichen

"M" technisch zulässige Gesamtmasse;

"TM" technisch zulässige Anhängelast;

"MC" technisch zulässige Gesamtmasse der Fahrzeugkombination;

"mi " technisch zulässige Achslast der Einzelachse mit Index "i", wobei "i" zwischen 1 und der Gesamtzahl der Achsen des Fahrzeugs liegt;

"mc " technisch zulässige Stützlast am Kupplungspunkt;

j " technisch zulässige Achslast einer Achsgruppe mit Index "j", wobei "j" zwischen 1 und der Gesamtzahl der Achsgruppen des Fahrzeugs liegt.

2.1.1 Es werden geeignete Berechnungen durchgeführt, um sicherzustellen, dass die nachstehenden Vorschriften bei jeder technischen Konfiguration innerhalb des Typs eingehalten sind.

2.1.2. Für die Berechnungen bei Fahrzeugen mit Lastverlagerungsachsen wird die Federung der Achsen in die normale

Betriebsstellung geschaltet.

2.1.3. Für Kraftfahrzeuge mit alternativem Antrieb oder emissionsfreie Kraftfahrzeuge gilt Folgendes:

2.1.3.1. Das Mehrgewicht, das gemäß Richtlinie 96/53/EG Anhang I Nummern 2.3 und 2.4 für die alternative oder die emissionsfreie Antriebstechnik erforderlich ist, wird anhand der vom Hersteller vorgelegten Dokumentation bestimmt. Der technische Dienst prüft zur Zufriedenheit der Typgenehmigungsbehörde die Richtigkeit der angegebenen Informationen.

2.1.3.2. Der Hersteller gibt unterhalb oder seitlich der obligatorischen Angaben auf dem gesetzlich vorgeschriebenen Fabrikschild, außerhalb des deutlich gekennzeichneten Rechtecks, in dem sich ausschließlich die obligatorischen Angaben befinden dürfen, das folgende zusätzliche Symbol sowie das Mehrgewicht an.

"Entspricht Richtlinie 96/53/EG Artikel 10 B - XXXX KG"

Die Zeichen des Symbols und die Gewichtsangabe müssen eine Mindesthöhe von 4 mm aufweisen.

Außerdem wird bis zur Einführung eines eigens dafür vorgesehenen Eintrags in der Übereinstimmungsbescheinigung das Mehrgewicht in der Rubrik "Bemerkungen" der Übereinstimmungsbescheinigung angegeben, um eine Einbeziehung dieser Angaben in die an Bord befindlichen Zulassungspapiere zu ermöglichen.

2.2. Allgemeine Anforderungen

2.2.1 Die Summe der technisch zulässigen Achslast der Einzelachsen zuzüglich der Summe der technisch zulässigen Achslast auf den Achsgruppen muss mindestens der technisch zulässigen Gesamtmasse des Fahrzeugs entsprechen.

M ≤ Σ [mi + μj].

2.2.2 Die Masse des Fahrzeugs in fahrbereitem Zustand, zuzüglich der Masse der Zusatzausrüstung, der Massen WP und B' gemäß Absatz 2.2.3, zuzüglich der Masse der Verbindungseinrichtung, falls nicht in der Masse in fahrbereitem Zustand enthalten, zuzüglich der technisch zulässigen Höchstmasse am Kupplungspunkt darf die technisch zulässige Gesamtmasse nicht überschreiten.

2.2.3. Lastverteilung

2.2.3.1. Formelzeichen

"P" Anzahl der Sitzplätze ohne die Plätze für Fahrer und Fahrpersonal;

"Q" Masse eines Fahrgastes in kg;

"Qc" Masse eines Mitglieds des Fahrpersonals in kg;

"S1 " Fläche für stehende Fahrgäste in m2;

"SP" Anzahl der stehenden Fahrgäste gemäß Herstellerangaben;

"Ssp" Nennfläche für einen Stehplatz in m2;

"WP" Anzahl der Rollstuhlplätze multipliziert mit 250 kg, was der Masse eines Rollstuhls und eines Rollstuhlfahrers entspricht;

"V" Gesamtvolumen der Gepäckstauräume einschließlich Gepäckräumen, Gepäckträgern und Skibox in m3;

"B" Höchstzulässige Masse des Gepäcks nach Herstellerangaben einschließlich der höchstzulässigen Masse ("B") des Gepäcks, das in einer gegebenenfalls vorhandenen Skibox befördert werden darf, in kg.

2.2.3.2 Die Massen Q und Qc der sitzenden Fahrgäste werden an den Sitzbezugspunkten angebracht (d. h. am "R-Punkt" des Sitzes).

2.2.3.3 Die der Anzahl SP der stehenden Fahrgäste entsprechende Masse Q ist gleichmäßig auf die für stehende Fahrgäste zur Verfügung stehende Fläche S1 zu verteilen.

2.2.3.4 Gegebenenfalls ist die Masse WP gleichmäßig auf jeden Rollstuhlplatz zu verteilen.

2.2.3.5 Eine B entsprechende Masse (in kg) ist gleichmäßig auf die Gepäckstauräume zu verteilen.

2.2.3.6 Eine B' entsprechende Masse (in kg) ist am Schwerpunkt der Skibox anzubringen.

2.2.3.7 Die technisch zulässige Stützlast am Kupplungspunkt ist am Kupplungspunkt anzubringen, dessen hinterer Überhang den Herstellerangaben entspricht.

2.2.3.8 Werte für Q und Ssp

Fahrzeugklasse Q (kg) Ssp (m2)
Klassen I und A 68 0,125 m2
Klasse II 71 0,15 m2
Klassen III und B 71 Nicht anwendbar.

Die Masse jedes Mitglieds des Fahrpersonals wird mit 75 kg veranschlagt.

2.2.3.9 Die Anzahl der stehenden Fahrgäste darf nicht größer sein als S1/Ssp, wobei Ssp die Nennfläche angibt, die gemäß der Tabelle in Absatz 2.2.3.8 für einen stehenden Fahrgast zur Verfügung steht.

2.2.3.10 Der Wert für die höchstzulässige Masse des Gepäcks darf nicht weniger betragen als: B = 100 × V

2.2.4. Berechnungen

2.2.4.1 Die Anforderungen von Absatz 2.2.2 sind in allen verschiedenen Zusammenstellungen der Innenausstattung zu überprüfen.

2.2.4.2 Unter den in Absatz 2.2.3 genannten Bedingungen darf die Achslast auf jeder Einzelachse und auf jeder Achsgruppe die technisch zulässige Achslast auf dieser Achse oder Achsgruppe nicht überschreiten.

2.2.4.3. Bei Fahrzeugen mit variabler Sitzplatzkapazität und Stehplatzfläche (S1), die für die Beförderung von Rollstühlen ausgerüstet sind, wird die Einhaltung der Anforderungen der Absätze 2.2.2 und 2.2.4.2 für jede der folgenden Bedingungen überprüft:

  1. alle Sitzplätze besetzt, gefolgt von der verbleibenden Fläche für Stehplätze (bis zur vom Hersteller angegebenen Kapazitätsgrenze, falls diese erreicht wird) und, sofern noch freie Fläche verfügbar ist, besetzte Rollstuhlplätze;
  2. alle Stehplätze besetzt (bis die vom Hersteller angegebene Stehplatzkapazität erreicht ist), gefolgt von den verbleibenden Sitzplätzen und, sofern noch freie Fläche verfügbar ist, besetzte Rollstuhlplätze;
  3. alle Rollstuhlplätze besetzt, gefolgt von der verbleibenden Stehplatzfläche (bis zur vom Hersteller angegebenen Stehplatzkapazität, falls diese erreicht wird) und dann die verbleibenden besetzten Sitzplätze.

2.2.5 Ist das Fahrzeug gemäß Absatz 2.2.2 beladen, darf die Masse, die der Last auf der (den) vorderen gelenkten Achse(n) entspricht, in keinem Fall weniger als 20 % der technisch zulässigen Gesamtmasse "M" betragen.

2.2.5.1 Bei Gelenkfahrzeugen mit mindestens 4 Achsen der Klasse I mit zwei gelenkten Achsen darf die Masse, die der Last auf der (den) vorderen gelenkten Achse(n) entspricht, in keinem Fall weniger als 15 % der technisch zulässigen Gesamtmasse "M" betragen.

2.2.6 Wenn ein Fahrzeug für mehr als eine Klasse genehmigt werden soll, gelten die Anforderungen von Abschnitt 2 für jede Klasse.

3. Anhängelast

3.1 Die technisch zulässige Gesamtmasse der Fahrzeugkombination darf die Summe aus der technisch zulässigen Gesamtmasse zuzüglich der technisch zulässigen Anhängelast nicht überschreiten.

MC ≤ M + TM

3.2 Die technisch zulässige Anhängelast darf 3 500 kg nicht überschreiten.

4. Technisch zulässige Stützlast am Kupplungspunkt

4.1 Die technisch zulässige Stützlast am Kupplungspunkt muss mindestens 4 % der technisch zulässigen Anhängelast oder 25 kg betragen, je nachdem, was der größere Wert ist.

4.2 Der Hersteller muss in der Betriebsanleitung die Bedingungen für die Befestigung der Verbindungseinrichtung am Kraftfahrzeug angeben.

4.2.1 Zu den in Absatz 4.2. erwähnten Bedingungen gehören gegebenenfalls auch die technisch zulässige Stützlast am Kupplungspunkt des Kraftfahrzeugs, die höchstzulässige Masse der Kupplungseinrichtung, die Befestigungspunkte der Verbindungseinrichtung am Kraftfahrzeug und der höchstzulässige hintere Überhang der Verbindungseinrichtung.

5. Anfahrvermögen an Steigungen

5.1 Fahrzeuge, die zum Ziehen eines Anhängers ausgelegt sind, müssen innerhalb eines Zeitraums von fünf Minuten an einer Steigung von mindestens 12 % fünfmal anfahren können.

5.2 Bei der Durchführung der Prüfung gemäß Absatz 5.1 müssen das Zugfahrzeug und der Anhänger entsprechend der technisch zulässigen Gesamtmasse der Fahrzeugkombination beladen sein.

6. Motorleistung

6.1. Der Motor muss eine Motorausgangsleistung von mindestens 5 kW pro Tonne der technisch zulässigen Gesamtmasse der Fahrzeugkombination oder der technisch zulässigen Gesamtmasse des Einzelfahrzeugs, falls das Fahrzeug nicht für das Ziehen eines Anhängers ausgelegt ist, erbringen.

Die Anforderungen dieser Nummer gelten nicht für den reinen Elektrobetrieb von Hybridelektrofahrzeugen.

6.2 Die Motorleistung ist gemäß der UNECE-Regelung Nr. 85 2zu messen.

7. Manövrierfähigkeit

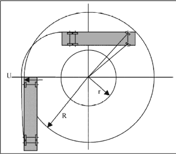
7.1 Das Fahrzeug muss in der Lage sein, in beiden Richtungen innerhalb einer Ringfläche zwischen zwei konzentrischen Kreisen eine vollständige Kreisfahrt von 360° zu beschreiben, wie in Abbildung 1 in Anlage 3 zu diesem Anhang gezeigt, ohne dass die äußeren Begrenzungen des Fahrzeugs über den äußeren Kreisumfang hinaus- oder in den inneren Kreis hineinragen.

7.1.1 Die Prüfung ist mit dem Fahrzeug sowohl im unbeladenen Zustand (also mit seiner Masse in fahrbereitem Zustand) als auch bei Belastung des Fahrzeugs mit seiner technisch zulässigen Gesamtmasse durchzuführen

Ist das Fahrzeug mit aerodynamischen Luftleiteinrichtungen oder Ausrüstungen gemäß den Nummern 1.3.1.1 und 1.3.1.2 ausgestattet, so befinden sich diese in der betriebsbereiten Gebrauchsstellung.

7.1.2 Für die Zwecke von Absatz 7.1 werden die Teile, die über die in Anlage 1 zu diesem Anhang erwähnte Fahrzeugbreite hinausragen dürfen, nicht berücksichtigt.

7.2 Bei Fahrzeugen mit Lastverlagerungsachsen gilt die Anforderung von Absatz 7.1 auch, wenn die Lastverlagerungsachse(n) im Einsatz ist (sind).

7.3. Die Anforderungen von Absatz 7.1 sind wie folgt zu überprüfen:

7.3.1 Das Fahrzeug muss sich innerhalb einer Ringfläche zwischen zwei konzentrischen Kreisen mit einem Radius von 12,50 m (äußerer Kreis) bzw. 5,30 m (innerer Kreis) bewegen.

7.3.2 Die vordere äußere Begrenzung des Kraftfahrzeugs wird entlang der Umrisslinie des Außenkreises geführt (s. Abbildung 1 in Anlage 3 dieses Anhangs).

7.4. Der Nachweis für die Anforderungen an die Manövrierfähigkeit kann mit Zustimmung des technischen Dienstes und der Typgenehmigungsbehörde gemäß Anhang XVI der Richtlinie 2007/46/EG durch nummerische Simulation erbracht werden. In Zweifelsfällen können der technische Dienst oder die Typgenehmigungsbehörde die Durchführung einer physischen Prüfung in Originalgröße verlangen.

8. Ausschwenken des Fahrzeughecks

8.1. Einteiliges Fahrzeug

8.1.1 Das Fahrzeug ist gemäß der in Absatz 8.1.2 beschriebenen Einfahr-Prüfmethode zu prüfen.

Ist das Fahrzeug mit aerodynamischen Luftleiteinrichtungen oder Ausrüstungen gemäß den Nummern 1.3.1.1 und 1.3.1.2 ausgestattet, so befinden sich diese in der betriebsbereiten Gebrauchsstellung.

8.1.2. Einfahr-Prüfmethode

Bei stehendem Fahrzeug ist auf dem Boden eine Linie entlang der senkrechten Ebene zu ziehen, die die zur Außenseite des Kreises gerichtete Fahrzeugseite tangiert.

Das Fahrzeug ist in einer geraden Linie in die in Abbildung 1 gezeigte Ringfläche hineinzufahren, wobei seine Vorderräder so stehen, dass die vordere äußere Begrenzung der Umrisslinie des Außenkreises folgt (siehe Abbildung 2a von Anlage 3 zu diesem Anhang).

8.1.3 Die Masse des Fahrzeugs muss die Masse in fahrbereitem Zustand sein.

8.1.4 Das Fahrzeugheck darf um höchstens 0,60 m ausschwenken.

8.2. Fahrzeuge mit zwei oder mehr Segmenten (Gelenkfahrzeuge)

8.2.1 Für Gelenkfahrzeuge finden die Anforderungen von Absatz 8.1 mit den nötigen Änderungen Anwendung.

In solchen Fällen müssen die zwei oder mehr starren Segmente parallel zu der Ebene ausgerichtet sein, wie in Abbildung 2b von Anlage 3 zu diesem Anhang gezeigt.

8.3. Der Nachweis für die Anforderungen an das Ausschwenken des Fahrzeughecks kann mit Zustimmung des technischen Dienstes und der Typgenehmigungsbehörde gemäß Anhang XVI der Richtlinie 2007/46/EG durch nummerische Simulation erbracht werden. In Zweifelsfällen können der technische Dienst oder die Typgenehmigungsbehörde die Durchführung einer physischen Prüfung in Originalgröße verlangen.

Teil C
Fahrzeuge der Klassen N2 und N3
19

1. Höchstzulässige Abmessungen

1.1. Die Abmessungen dürfen folgende Werte nicht überschreiten:

1.1.1 Länge: 12,00 m.

1.1.2. Breite:

  1. bei jedem Fahrzeug 2,55 m;
  2. 2,60 m bei Fahrzeugen mit einem Aufbau mit isolierten Wänden mit einer Dicke von mindestens 45 mm und den Codes 04 oder 05 für Aufbauten in Anhang II Anlage 2 der Richtlinie 2007/46/EG.

1.1.3. Höhe: 4,00 m

1.2. Für die Messung der Länge, Breite und Höhe muss die Masse des Fahrzeugs der Masse in fahrbereitem Zustand

entsprechen und muss sich das Fahrzeug auf einer waagrechten und ebenen Fläche befinden, wobei die Reifen auf den vom Hersteller empfohlenen Luftdruck aufgepumpt sind.

1.3. Die in Anlage 1 genannten Einrichtungen und Ausrüstungen bleiben bei der Bestimmung der Länge, Breite und Höhe unberücksichtigt.

1.3.1. Zusätzliche Anforderungen für die in Anlage 1 genannten aerodynamischen Luftleiteinrichtungen

1.3.1.1. Aerodynamische Luftleiteinrichtungen und Ausrüstungen, deren Länge in der Gebrauchsstellung höchstens 500 mm beträgt, dürfen die Nutzlänge der Ladefläche nicht vergrößern. Sie müssen so konstruiert sein, dass sie sowohl in der eingezogenen bzw. eingeklappten Stellung als auch in der Gebrauchsstellung arretiert werden können. Ferner müssen solche Einrichtungen und Ausrüstungen derart konstruiert sein, dass sie bei stehendem Fahrzeug so einziehbar oder einklappbar sind, dass die höchstzulässige Breite des Fahrzeugs an den beiden Seiten nicht um mehr als 25 mm und die höchstzulässige Länge des Fahrzeugs nicht um mehr als 200 mm überschritten wird (wobei die Höhe über dem Boden mindestens 1.050 mm betragen muss), sodass sie die Möglichkeit, das Fahrzeug für den intermodalen Verkehr zu verwenden, nicht beeinträchtigen. Außerdem müssen die Anforderungen der Nummern 1.3.1.1.1 und 1.3.1.1.3 eingehalten werden.

1.3.1.1.1 Die Einrichtungen und Ausrüstungen müssen gemäß der vorliegenden Verordnung typgenehmigt werden.

1.3.1.1.2 Die Stellung der aerodynamischen Luftleiteinrichtung und Ausrüstung - einschließlich ihres Einziehens oder Einklappens - muss vom Bediener mit einer manuellen Kraft von höchstens 40 daN verändert werden können. Dies kann außerdem auch automatisch erfolgen.

1.3.1.1.3 Einrichtungen und Ausrüstungen brauchen nicht einziehbar oder einklappbar zu sein, wenn die Anforderungen hinsichtlich der höchstzulässigen Abmessungen unter allen Bedingungen vollständig eingehalten sind.

1.3.1.2. Aerodynamische Luftleiteinrichtungen und Ausrüstungen, deren Länge in der Gebrauchsstellung 500 mm überschreitet, dürfen die Nutzlänge der Ladefläche nicht vergrößern. Sie müssen so konstruiert sein, dass sie sowohl in der eingezogenen bzw. eingeklappten Stellung als auch und in der Gebrauchsstellung arretiert werden können. Ferner müssen solche Einrichtungen derart konstruiert sein, dass sie bei stehendem Fahrzeug so einziehbar oder einklappbar sind, dass die unter Nummer 1.1.2 angegebene höchstzulässige Breite des Fahrzeugs an den beiden Seiten nicht um mehr als 25 mm und nur ab einer Höhe von mehr 1.050 mm über der Fahrbahn die unter Nummer 1.1.1 angegebene höchstzulässige Länge des Fahrzeugs nicht um mehr als 200 mm überschritten wird und sie die Möglichkeit, das Fahrzeug für intermodalen Verkehr zu verwenden, nicht beeinträchtigen. Außerdem müssen die Anforderungen der Nummern 1.3.1.2.1 bis 1.3.1.2.4 eingehalten werden.

1.3.1.2.1 Die Einrichtungen und Ausrüstungen müssen gemäß der vorliegenden Verordnung typgenehmigt werden.

1.3.1.2.2 Die Stellung der aerodynamischen Luftleiteinrichtung und Ausrüstung - einschließlich ihres Einziehens oder Einklappens - muss vom Bediener mit einer manuellen Kraft von höchstens 40 daN verändert werden können. Dies kann außerdem auch automatisch erfolgen.

1.3.1.2.3 Alle am Fahrzeug angebrachten und in der Gebrauchsstellung befindlichen senkrecht bzw. waagerecht angeordneten Hauptelemente oder Kombinationen von Elementen, aus denen die Einrichtungen und Ausrüstungen bestehen, müssen den nacheinander nach oben, unten, links und rechts eingeleiteten senkrechten und waagerechten Zug- und Druckkräften von 200 daN ± 10 % widerstehen, die in der geometrischen Mitte der betreffenden senkrecht hervorragenden Fläche mit einem maximalen Druck von 2,0 MPa aufgebracht werden. Die Einrichtungen und Ausrüstungen dürfen sich zwar verformen, das Verstell- und Arretiersystem darf sich infolge der aufgebrachten Kräfte jedoch nicht lösen. Um sicherzustellen, dass die höchstzulässige Breite des Fahrzeugs an beiden Seiten des Fahrzeugs während und nach der Prüfung nicht um mehr als 25 mm überschritten wird, ist die Verformung zu begrenzen.

1.3.1.2.4 Alle eingezogenen oder eingeklappten senkrecht bzw. waagerecht angeordneten Hauptelemente oder Kombinationen von Elementen, aus denen die Einrichtungen und Ausrüstungen bestehen, müssen ebenfalls der entgegen der Fahrtrichtung längs eingeleiteten waagerechten Zugkraft von 200 daN ± 10 % widerstehen, die in der geometrischen Mitte der betreffenden senkrecht hervorragenden Fläche mit einem maximalen Druck von 2,0 MPa aufgebracht wird. Die Einrichtungen und Ausrüstungen dürfen sich zwar verformen, das Verstell- und Arretiersystem darf sich infolge der aufgebrachten Kräfte jedoch nicht lösen. Um sicherzustellen, dass die höchstzulässige Breite des Fahrzeugs an den beiden Seiten nicht um mehr als 25 mm und die höchstzulässige Länge des Fahrzeugs nicht um mehr als 200 mm überschritten wird, ist die Verformung zu begrenzen.

1.3.1.3. Sowohl eingezogene oder eingeklappte als auch in ihrer Gebrauchsstellung befindliche aerodynamische Luftleiteinrichtungen und Ausrüstungen von Führerhäusern müssen gegebenenfalls so konstruiert sein, dass die höchstzulässige Breite des Fahrzeugs an den beiden Seiten nicht um mehr als 25 mm überschritten wird und sie die Möglichkeit, das Fahrzeug für intermodalen Verkehr zu verwenden, nicht beeinträchtigen. Außerdem müssen die Anforderungen der Nummern 1.3.1.3.1 bis 1.3.1.3.4 eingehalten werden.

1.3.1.3.1 Die aerodynamischen Luftleiteinrichtungen und Ausrüstungen für Führerhäuser müssen gemäß der vorliegenden Verordnung typgenehmigt werden.

1.3.1.3.2 Gegebenenfalls an einem Fahrzeug angebrachte und sowohl in der eingezogenen bzw. eingeklappten Stellung als auch in ihrer Gebrauchsstellung befindliche Einrichtungen und Ausrüstungen dürfen auch nicht teilweise über die untere Kante der Windschutzscheibe herausragen, es sei denn, sie sind aufgrund des Armaturenbretts oder der sonstigen Standard-Innenausstattung nicht direkt für den Fahrzeugführer sichtbar.

1.3.1.3.3 Die Einrichtungen und Ausrüstungen sind mit einem Bezug aus einem energieaufnehmenden Werkstoff versehen. Alternativ weist der Werkstoff der Einrichtungen und Ausrüstungen gemäß Nummer 1.3.1.4 eine Härte von < 60 Shore (A) auf.

1.3.1.3.4 Einrichtungen und Ausrüstungen dürfen nicht aus einem Werkstoff konstruiert sein, der bei Bruch leicht zu scharfkantigen Splittern oder gezackten Kanten führt.

1.3.1.4. Der technische Dienst prüft zur Zufriedenheit der Typgenehmigungsbehörde, dass die in den Nummern 1.3.1.1, 1.3.1.2 und 1.3.1.3 genannten aerodynamischen Luftleiteinrichtungen und Ausrüstungen - sowohl in der Gebrauchsstellung als auch eingezogen oder eingeklappt - das Sichtfeld des Fahrzeugführers nach vorn sowie die Scheibenwisch- und -waschfunktion nicht beeinträchtigen, und auch die Kühlung und Lüftung des Antriebs, der Auspuffanlage, des Bremssystems, des Führerhauses und der Ladefläche nicht erheblich beeinträchtigen. Alle weiteren geltenden Anforderungen für die Fahrzeugsysteme müssen sowohl bei eingezogenen oder eingeklappten als auch in der Gebrauchsstellung befindlichen Einrichtungen und Ausrüstungen vollständig eingehalten werden.

Abweichend von den geltenden Anforderungen für den vorderen Unterfahrschutz dürfen die waagerechten Abstände zwischen dem vordersten Teil des mit aerodynamischen Luftleiteinrichtungen und Ausrüstungen ausgestatteten Fahrzeugs und seiner Einrichtung für den vorderen Unterfahrschutz sowie zwischen der Rückseite der Einrichtung für den hinteren Unterfahrschutz und der Rückseite des mit aerodynamischen Luftleiteinrichtungen oder Ausrüstungen ausgestatteten Fahrzeugs ohne Berücksichtigung der Luftleiteinrichtungen und Ausrüstungen gemessen werden, wenn diese auf der Rückseite länger als 200 mm sind und sich in betriebsbereitem Zustand befinden und wenn auf der Vorder- und der Rückseite der Werkstoff der wesentlichen Abschnitte der im unbeladenen Zustand in einer Höhe von ≤ 2,0 m über dem Boden angebrachten Teile eine Härte von < 60 Shore (A) aufweist. Unberücksichtigt bei der Bestimmung der Härte bleiben schmale Versteifungen, Rohre und Metalldrahtgewebe, die einen Rahmen oder einen Trägerkörper bilden, um die wesentlichen Abschnitte der Teile aufzunehmen. Die Endstücke dieser Versteifungen, Rohre und Metalldrahtgewebe dürfen allerdings bei eingezogenen oder eingeklappten bzw. in der Gebrauchsstellung befindlichen Einrichtungen und Ausrüstungen im vorderen Bereich des Fahrzeugs nicht nach vorne und im hinteren Bereich des Fahrzeugs nicht nach hinten gerichtet sein, um die Gefahr von Verletzungen und ein Eindringen in andere Fahrzeuge bei einem Aufprall auszuschließen.

Alternativ zu der in dem vorstehenden Absatz genannten Ausnahmeregelung für die Einrichtung für den hinteren Unterfahrschutz dürfen die waagerechten Abstände zwischen der Rückseite der Einrichtung für den hinteren Unterfahrschutz und der Rückseite des mit aerodynamischen Luftleiteinrichtungen und Ausrüstungen ausgestatteten Fahrzeugs ohne Berücksichtigung der aerodynamischen Luftleiteinrichtungen und Ausrüstungen gemessen werden, wenn diese länger als 200 mm sind, sich in betriebsbereitem Zustand befinden und den Prüfvorschriften gemäß Anlage 4 entsprechen.

Die waagerechten Abstände zwischen der Rückseite der Einrichtung für den hinteren Unterfahrschutz und der Rückseite des Fahrzeugs sind jedoch mit den aerodynamischen Luftleiteinrichtungen und Ausrüstungen in eingezogenem oder eingeklapptem Zustand zu messen, oder es ist der gemäß Anlage 4 Nummer 1.6.1 entstehende Überstand zu berücksichtigen, falls dieser größer ist als die Länge der Einrichtungen oder Ausrüstungen in eingezogenem bzw. eingeklapptem Zustand.

1.4. Verlängerte Führerhäuser

1.4.1. Sofern der Frontbereich des Führerhauses des Kraftfahrzeugs - einschließlich aller vorstehenden Außenkanten von beispielsweise Fahrgestell, Stoßfänger, Radabdeckungen und Rädern - den Werten aus der dreidimensionalen Umrisslinie gemäß Anlage 5 in vollem Umfang entspricht und die Länge der Ladefläche höchstens 10,5 m beträgt, darf das Fahrzeug die höchstzulässige Länge gemäß Nummer 1.1.1 überschreiten.

1.4.2. In dem unter Nummer 1.4.1 angeführten Fall gibt der Hersteller unterhalb oder seitlich der obligatorischen Angaben auf dem gesetzlich vorgeschriebenen Fabrikschild, außerhalb des deutlich gekennzeichneten Rechtecks, in dem sich ausschließlich die obligatorischen Angaben befinden dürfen, folgendes zusätzliches Symbol an.

"Entspricht Artikel 9a 96/53/EG"

Die Zeichen des Symbols müssen eine Mindesthöhe von 4 mm aufweisen. Ferner wird in der Übereinstimmungsbescheinigung in der Rubrik "Bemerkungen" der Wortlaut "ENTSPRICHT Richtlinie 96/53/EG ARTIKEL 9A" hinzugefügt, um eine Einbeziehung dieser Angaben in die an Bord befindlichen Zulassungspapiere zu ermöglichen.

2. Massenverteilung bei Fahrzeugen mit einem Aufbau

2.1. Berechnungsverfahren

Formelzeichen

"M" technisch zulässige Gesamtmasse;

"TM" technisch zulässige Anhängelast;

"MC" technisch zulässige Gesamtmasse der Fahrzeugkombination;

"mi " technisch zulässige Gesamtlast der Einzelachse mit Index "i", wobei "i" Werte von 1 bis zur Gesamtzahl der Achsen des Fahrzeugs annimmt;

"mc " technisch zulässige Stützlast am Kupplungspunkt;

j " technisch zulässige Achslast einer Achsgruppe mit Index "j", wobei "j" Werte von 1 bis zur Gesamtzahl der Achsgruppen des Fahrzeugs annimmt.

2.1.1 Es werden geeignete Berechnungen durchgeführt, um sicherzustellen, dass die Anforderungen der Absätze 2.2. und 2.3 bei jeder technischen Konfiguration innerhalb des Typs eingehalten sind.

2.1.2 Für die nach den Absätzen 2.2 und 2.3 vorgeschriebenen Berechnungen bei Fahrzeugen mit Lastverlagerungsachsen wird die Federung der Achsen in die normale Betriebsstellung geschaltet.

2.1.3 Bei Fahrzeugen mit Hubachsen sind die nach den Absätzen 2.2 und 2.3 vorgeschriebenen Berechnungen bei abgesenkten Achsen vorzunehmen.

2.1.4. Für Kraftfahrzeuge mit alternativem Antrieb oder emissionsfreie Kraftfahrzeuge gilt Folgendes:

2.1.4.1. Das Mehrgewicht, das gemäß Richtlinie 96/53/EG Anhang I Nummer 2.3 für die alternative Antriebstechnik oder die emissionsfreie Antriebstechnik erforderlich ist, wird anhand der vom Hersteller vorgelegten Dokumentation bestimmt. Der technische Dienst prüft zur Zufriedenheit der Typgenehmigungsbehörde die Richtigkeit der angegebenen Informationen.

2.1.4.2. Der Hersteller gibt unterhalb oder seitlich der obligatorischen Angaben auf dem gesetzlich vorgeschriebenen Fabrikschild, außerhalb des deutlich gekennzeichneten Rechtecks, in dem sich ausschließlich die obligatorischen Angaben befinden dürfen, das folgende zusätzliche Symbol sowie das Mehrgewicht an.

"Entspricht Artikel 10B 96/53/EG - XXXX KG"

Die Zeichen des Symbols und die Gewichtsangabe müssen eine Mindesthöhe von 4 mm aufweisen.

Außerdem wird bis zur Einführung eines eigens dafür vorgesehenen Eintrags in der Übereinstimmungsbescheinigung das Mehrgewicht in der Rubrik, Bemerkungen" der Übereinstimmungsbescheinigung angegeben, um eine Einbeziehung dieser Angaben in die an Bord befindlichen Zulassungspapiere zu ermöglichen.

2.2. Allgemeine Anforderungen

2.2.1 Die Summe der technisch zulässigen Achslast der Einzelachsen zuzüglich der Summe der technisch zulässigen Achslast der Achsgruppen muss mindestens der technisch zulässigen Gesamtmasse des Fahrzeugs entsprechen.

M ≤ Σ [mi + μj].

2.2.2 Bei jeder Achsgruppe mit Index "j" muss die Summe der technisch zulässigen Achslast der Achsen mindestens der technisch zulässigen Achslast der Achsgruppe entsprechen.

Außerdem darf keine der Achslasten m i kleiner sein als der auf die Achse "i" einwirkende Teil von 9 , wie er durch die Achslastverteilung dieser Achsgruppe bestimmt wird.

2.3. Besondere Anforderungen

2.3.1 Die Masse des Fahrzeugs in fahrbereitem Zustand, zuzüglich der Masse der Zusatzausrüstung, zuzüglich der Masse der Verbindungseinrichtung, falls nicht in der Masse in fahrbereitem Zustand enthalten, zuzüglich der technisch zulässigen Stützlast am Kupplungspunkt darf die technisch zulässige Gesamtmasse nicht überschreiten.

2.3.2 Ist das Fahrzeug bis zu seiner technisch zulässigen Gesamtmasse beladen, darf die auf eine Achse "i" einwirkende Last nicht größer sein als die Achslast m i dieser Achse, und die auf die Achsgruppe "j" einwirkende Last darf nicht größer sein als die Achslast g.

2.3.3 Die Anforderungen von Absatz 2.3.2 müssen in den folgenden Lastkonfigurationen eingehalten werden.

2.3.3.1. Gleichmäßige Verteilung der Nutzlast:

Bei der Masse des Fahrzeugs muss es sich um die Masse in fahrbereitem Zustand handeln, zuzüglich der Masse der Zusatzausrüstung, zuzüglich der Masse der an den Sitzbezugspunkten angebrachten Masse der Fahrgäste, zuzüglich der Masse der Verbindungseinrichtung (falls nicht in der Masse in fahrbereitem Zustand enthalten), zuzüglich der technisch zulässigen Stützlast am Kupplungspunkt, zuzüglich der gleichmäßig auf der Ladefläche verteilten Nutzlast.

2.3.3.2. Ungleichmäßige Verteilung der Nutzlast:

Bei der Masse des Fahrzeugs muss es sich um die Masse in fahrbereitem Zustand handeln, zuzüglich der Masse der Zusatzausrüstung, zuzüglich der Masse der an den Sitzbezugspunkten angebrachten Masse der Fahrgäste, zuzüglich der Masse der Verbindungseinrichtung (falls nicht in der Masse in fahrbereitem Zustand enthalten), zuzüglich der technisch zulässigen Stützlast am Kupplungspunkt, zuzüglich der gemäß Herstellerangaben auf der Ladfläche verteilten Nutzlast.

Für diese Zwecke muss der Hersteller die äußerstmögliche zulässige Lage des Schwerpunkts der Nutzlast und/oder des Aufbaus und/oder der Ausrüstung oder Innenausstattung angeben (z.B.: 0,50 m bis 1,30 m vor der ersten Hinterachse).

2.3.3.3. Kombination aus gleichmäßiger und ungleichmäßiger Verteilung:

Es müssen gleichzeitig die Anforderungen der Absätze 2.3.3.1 und 2.3.3.2 eingehalten werden.

Beispiel: ein Lastkraftwagen mit Kipperaufbau (verteilte Beladung), der mit einem zusätzlichen Kran ausgerüstet ist (ungleichmäßige Beladung).

2.3.3.4. Von der Sattelkupplung übertragene Last (Sattelzugmaschine):

Bei der Masse des Fahrzeugs muss es sich um die Masse in fahrbereitem Zustand handeln, zuzüglich der Masse der Zusatzausrüstung, zuzüglich der Masse der an den Sitzbezugspunkten angebrachten Masse der Fahrgäste, zuzüglich der Masse der Verbindungseinrichtung, falls nicht in der Masse in fahrbereitem Zustand enthalten, zuzüglich der höchstzulässigen Masse am gemäß Herstellerangaben angebrachten Sattelkupplungspunkt (Mindest- und Höchstwerte des Sattelvormaßes).

2.3.3.5 Die Anforderungen von Absatz 2.3.3.1 müssen bei Fahrzeugen mit ebenen Ladebereichen stets erfüllt sein.

2.3.4 Ist das Fahrzeug bis zur technisch zulässigen Gesamtmasse beladen, zuzüglich der Masse der Verbindungseinrichtung, falls nicht in der Masse in fahrbereitem Zustand enthalten, zuzüglich der höchstzulässigen Masse am Kupplungspunkt, und zwar in einer solchen Weise, dass die technisch zulässige Achslast auf der hinteren Achsgruppe (µ) oder auf der Hinterachse (m) erreicht wird, darf die Achslast auf der Vorderachse in keinem Fall weniger als 20 % der technisch zulässigen Gesamtmasse des Fahrzeugs betragen.

2.3.5 Bei Fahrzeugen mit besonderer Zweckbestimmung der Klasse N2 und N3 prüft der Technische Dienst die Einhaltung der Anforderungen von Abschnitt 2 in Absprache mit dem Hersteller, wobei er die besondere Bauart des Fahrzeugs berücksichtigt (z.B. Mobilkräne).

3. Anhängelast

3.1 Die technisch zulässige Gesamtmasse der Fahrzeugkombination darf die Summe aus der technisch zulässigen Gesamtmasse zuzüglich der technisch zulässigen Anhängelast nicht überschreiten.

MC ≤ M + TM

4. Anfahrvermögen an Steigungen und Steigfähigkeit

4.1 Fahrzeuge, die zum Ziehen eines Anhängers ausgelegt sind müssen bei Beladung der Fahrzeugkombination mit ihrer zulässigen Masse innerhalb eines Zeitraums von fünf Minuten an einer Steigung von mindestens 12 % fünfmal anfahren können.

4.2 Hinsichtlich der Steigfähigkeit werden Geländefahrzeuge anhand der technischen Anforderungen von Anhang II geprüft.

4.2.1 Es gelten ferner die Anforderungen von Abschnitt 5 der Anlage 1 von Anhang II der Richtlinie 2007/46/EG.

5. Motorleistung

5.1 Fahrzeuge müssen eine Motorausgangsleistung von mindestens 5 kW pro Tonne der technisch zulässigen Gesamtmasse der Fahrzeugkombination erbringen.

5.1.1 Bei Straßenzugmaschinen oder Sattelzugmaschinen zum Transport von unteilbaren Ladungen muss die Motorausgangsleistung mindestens 2 kW pro Tonne der technisch zulässigen Gesamtmasse der Fahrzeugkombination betragen.

5.1.2. Die Anforderungen der Nummern 5.1 und 5.1.1 gelten nicht für den reinen Elektrobetrieb von Hybridelektrofahrzeugen.

5.2 Die Motorleistung ist gemäß der UNECE-Regelung Nr. 85 zu messen

6. Manövrierfähigkeit

6.1 Das Fahrzeug muss in der Lage sein, in beiden Richtungen innerhalb einer Ringfläche zwischen zwei konzentrischen Kreisen eine vollständige Kreisfahrt von 360° zu beschreiben, wie in Abbildung 1 in Anlage 3 zu diesem Anhang gezeigt, ohne dass die äußeren Begrenzungen des Fahrzeugs über den äußeren Kreisumfang hinaus- oder in den inneren Kreis hineinragen.

6.1.1 Die Prüfung ist mit dem Fahrzeug sowohl im unbeladenen Zustand (also mit seiner Masse in fahrbereitem Zustand) als auch bei Belastung des Fahrzeugs mit seiner technisch zulässigen Gesamtmasse durchzuführen

Ist das Fahrzeug mit aerodynamischen Luftleiteinrichtungen oder Ausrüstungen gemäß den Nummern 1.3.1.1, 1.3.1.2 und 1.3.1.3 ausgestattet, so befinden sich diese in betriebsbereiter Gebrauchsstellung oder gegebenenfalls in arretierter Gebrauchsstellung bei Einrichtungen und Ausrüstungen, die unter Nummer 1.3.1.3 fallen.

6.1.2 Für die Zwecke von Absatz 6.1 werden die Teile, die über die in Anlage 1 zu diesem Anhang erwähnte Fahrzeugbreite hinausragen dürfen, nicht berücksichtigt.

6.2 Bei Fahrzeugen mit Hubeinrichtungen gilt die Anforderung von Absatz 6.1 auch, wenn die Hubachse(n) angehoben und die Lastverlagerungsachse(n) im Einsatz ist (sind).

6.3. Die Anforderungen von Absatz 6.1 sind wie folgt zu überprüfen:

6.3.1 Das Fahrzeug muss sich innerhalb einer Fläche zwischen zwei konzentrischen Kreisen mit einem Radius von 12,50 m (äußerer Kreis) bzw. 5,30 m (innerer Kreis) bewegen.

6.3.2 Die vordere äußere Begrenzung des Kraftfahrzeugs wird entlang der Umrisslinie des Außenkreises geführt (s. Abbildung 1 von Anlage 3 dieses Anhangs).

6.4. Der Nachweis für die Anforderungen an die Manövrierfähigkeit kann mit Zustimmung des technischen Dienstes und der Typgenehmigungsbehörde gemäß Anhang XVI der Richtlinie 2007/46/EG durch nummerische Simulation erbracht werden. In Zweifelsfällen können der technische Dienst oder die Typgenehmigungsbehörde die Durchführung einer physischen Prüfung in Originalgröße verlangen.

7. Größtes Ausschwenken des Fahrzeughecks

7.1 Das Fahrzeug ist gemäß dem in Absatz 7.1.1 beschriebenen Prüfverfahren "konstante Kreisfahrt" zu prüfen.

Ist das Fahrzeug mit aerodynamischen Luftleiteinrichtungen oder Ausrüstungen gemäß den Nummern 1.3.1.1, 1.3.1.2 und 1.3.1.3 ausgestattet, so befinden sich diese in der betriebsbereiten Gebrauchsstellung.

7.1.1. Prüfverfahren "konstante Kreisfahrt"

7.1.1.2 Bei stehendem Fahrzeug sind die vorderen gelenkten Räder so eingeschlagen, dass die vordere äußere Begrenzung des Fahrzeugs einen Kreis mit einem Radius von 12,50 m beschreiben würde, wenn das Fahrzeug fahren würde.

Auf dem Boden ist eine Linie entlang der senkrechten Ebene zu ziehen, die die zur Außenseite des Kreises gerichtete Fahrzeugseite tangiert.

Das Fahrzeug ist so vorwärts zu fahren, dass die vordere äußere Begrenzung der Umrisslinie des Außenkreises mit einem Radius von 12,50 m folgt.

7.2 Das Fahrzeugheck darf höchstens um folgende Werte ausschwenken (siehe Abbildung 3 der Anlage 3 zu diesem Anhang):

  1. 0,80 m;
  2. 1,00 m, wenn das Fahrzeug mit einer Hubeinrichtung ausgerüstet und die Achse angehoben ist;
  3. 1,00 m, wenn es sich bei der hintersten Achse um eine gelenkte Achse handelt.

7.3. Der Nachweis für die Anforderungen an das Ausschwenken des Fahrzeughecks kann mit Zustimmung des technischen Dienstes und der Typgenehmigungsbehörde gemäß Anhang XVI der Richtlinie 2007/46/EG durch nummerische Simulation erbracht werden. In Zweifelsfällen können der technische Dienst oder die Typgenehmigungsbehörde die Durchführung einer physischen Prüfung in Originalgröße verlangen.

Teil D
Fahrzeuge der Klasse O
19

1. Höchstzulässige Abmessungen

1.1. Die Abmessungen dürfen folgende Werte nicht überschreiten:

1.1.1. Länge

  1. Anhänger: 12,00 m einschließlich Zugeinrichtung;
  2. Sattelanhänger: 12,00 m zuzüglich des vorderen Überhangs.

1.1.2. Breite

  1. bei jedem Fahrzeug 2,55 m;
  2. 2,60 m bei Fahrzeugen mit einem Aufbau mit isolierten Wänden mit einer Dicke von mindestens 45 mm und den Codes 04 oder 05 für Aufbauten in Anhang II Anlage 2 der Richtlinie 2007/46/EG.

1.1.3 Höhe: 4,00 m.

1.1.4 Vorderer Überhangradius eines Sattelanhängers: 2,04 m.

1.2 Für die Messung der Länge, Breite und Höhe muss die Masse des Fahrzeugs der Masse in fahrbereitem Zustand entsprechen und muss sich das Fahrzeug auf einer waagrechten und ebenen Fläche befinden, wobei die Reifen auf den vom Hersteller empfohlenen Luftdruck aufgepumpt sind.

1.3 Die Messung der Länge, Höhe und des vorderen Überhangradius werden durchgeführt, wenn die Ladefläche oder die im zweiten Unterabsatz von Absatz 1.2.1 von Anhang 7 der UN/ECE-Regelung Nr. 55 genannte Bezugsfläche horizontal ausgerichtet ist.

Verstellbare Zugeinrichtungen müssen horizontal und auf die Längsmittelebene des Fahrzeugs ausgerichtet sein. Sie müssen sich in ihrer horizontal am längsten ausgezogenen Position befinden.

1.4 Die in Anlage 1 genannten Einrichtungen und Ausrüstungen bleiben bei der Bestimmung der Länge, Breite und Höhe unberücksichtigt.

1.4.1. Zusätzliche Anforderungen für die in Anlage 1 genannten aerodynamischen Luftleiteinrichtungen

1.4.1.1. Aerodynamische Luftleiteinrichtungen und Ausrüstungen, deren Länge in der Gebrauchsstellung höchstens 500 mm beträgt, dürfen die Nutzlänge der Ladefläche nicht vergrößern. Sie müssen so konstruiert sein, dass sie sowohl in der eingezogenen bzw. eingeklappten Stellung als auch in der Gebrauchsstellung arretiert werden können. Ferner müssen solche Einrichtungen und Ausrüstungen derart konstruiert sein, dass sie bei stehendem Fahrzeug so einziehbar oder einklappbar sind, dass die höchstzulässige Breite des Fahrzeugs an den beiden Seiten nicht um mehr als 25 mm und die höchstzulässige Länge des Fahrzeugs nur ab einer Höhe von mehr 1.050 mm über der Fahrbahn nicht um mehr als 200 mm überschritten wird und sie die Möglichkeit, das Fahrzeug für intermodalen Verkehr zu verwenden, nicht beeinträchtigen. Außerdem müssen die Anforderungen der Nummern 1.4.1.1.1 bis 1.4.1.1.3 eingehalten werden.

1.4.1.1.1 Die Einrichtungen und Ausrüstungen müssen gemäß der vorliegenden Verordnung typgenehmigt werden.

1.4.1.1.2 Die Stellung der aerodynamischen Luftleiteinrichtung und Ausrüstungen - einschließlich ihres Einziehens und Einklappens - muss vom Bediener mit einer Kraft von höchstens 40 daN verändert werden können. Dies kann außerdem auch automatisch erfolgen.

1.4.1.1.3 Einrichtungen und Ausrüstungen brauchen nicht einziehbar oder einklappbar zu sein, wenn die Anforderungen hinsichtlich der höchstzulässigen Abmessungen unter allen Bedingungen vollständig eingehalten sind.

1.4.1.2. Aerodynamische Luftleiteinrichtungen und Ausrüstungen, deren Länge in der Gebrauchsstellung 500 mm überschreitet, dürfen die Nutzlänge der Ladefläche nicht vergrößern. Sie müssen so konstruiert sein, dass sie sowohl eingezogen als auch eingeklappt und in der Gebrauchsstellung arretiert werden können. Ferner müssen solche Einrichtungen derart konstruiert sein, dass sie bei stehendem Fahrzeug so einziehbar oder einklappbar sind, dass die unter Nummer 1.1.2 angegebene höchstzulässige Breite des Fahrzeugs an den beiden Seiten nicht um mehr als 25 mm und nur ab einer Höhe von mehr 1.050 mm über der Fahrbahn die unter Nummer 1.1.1 angegebene höchstzulässige Länge des Fahrzeugs nicht um mehr als 200 mm überschritten wird und sie die Möglichkeit, das Fahrzeug für intermodalen Verkehr zu verwenden, nicht beeinträchtigen. Außerdem müssen die Anforderungen der Nummern 1.4.1.2.1 bis 1.4.1.2.4 eingehalten werden.

1.4.1.2.1 Die Einrichtungen und Ausrüstungen müssen gemäß der vorliegenden Verordnung typgenehmigt werden.

1.4.1.2.2 Die Stellung der aerodynamischen Luftleiteinrichtung und Ausrüstung - einschließlich ihres Einziehens oder Einklappens - muss vom Bediener mit einer manuellen Kraft von höchstens 40 daN verändert werden können. Dies kann außerdem auch automatisch erfolgen.

1.4.1.2.3 Alle am Fahrzeug angebrachten und in der Gebrauchsstellung befindlichen senkrecht bzw. waagerecht angeordneten Hauptelemente oder Kombinationen von Elementen, aus denen die Einrichtungen und Ausrüstungen bestehen, müssen den nacheinander nach oben, unten, links und rechts eingeleiteten senkrechten und waagerechten Zug- und Druckkräften von 200 daN ± 10 % widerstehen, die in der geometrischen Mitte der betreffenden senkrecht hervorragenden Fläche mit einem maximalen Druck von 2,0 MPa aufgebracht werden. Die Einrichtungen und Ausrüstungen dürfen sich zwar verformen, das Verstell- und Arretiersystem darf sich infolge der aufgebrachten Kräfte jedoch nicht lösen. Um sicherzustellen, dass die höchstzulässige Breite des Fahrzeugs an beiden Seiten des Fahrzeugs während und nach der Prüfung nicht um mehr als 25 mm überschritten wird, ist die Verformung zu begrenzen.

1.4.1.2.4 Alle eingezogenen oder eingeklappten senkrecht bzw. waagerecht angeordneten Hauptelemente oder Kombinationen von Elementen, aus denen die Einrichtungen und Ausrüstungen bestehen, müssen ebenfalls der entgegen der Fahrtrichtung längs eingeleiteten waagerechten Zugkraft von 200 daN ± 10 % widerstehen, die in der geometrischen Mitte der betreffenden senkrecht hervorragenden Fläche mit einem maximalen Druck von 2,0 MPa aufgebracht wird. Die Einrichtungen und Ausrüstungen dürfen sich zwar verformen, das Verstell- und Arretiersystem darf sich infolge der aufgebrachten Kräfte jedoch nicht lösen. Um sicherzustellen, dass die höchstzulässige Breite des Fahrzeugs an den beiden Seiten nicht um mehr als 25 mm und die höchstzulässige Länge des Fahrzeugs nicht um mehr als 200 mm überschritten wird, ist die Verformung zu begrenzen.

1.4.1.3. Der technische Dienst prüft zur Zufriedenheit der Typgenehmigungsbehörde, dass durch die aerodynamischen Luftleiteinrichtungen und Ausrüstungen - sowohl in der Gebrauchsstellung als auch eingezogen oder eingeklappt - die Lüftung der Ladefläche nicht gänzlich blockiert wird. Alle weiteren geltenden Anforderungen für die Fahrzeugsysteme müssen sowohl in der Gebrauchsstellung als auch bei eingezogenen oder eingeklappten Einrichtungen und Ausrüstungen vollständig eingehalten werden.

Abweichend von den geltenden Anforderungen für den hinteren Unterfahrschutz dürfen die waagerechten Abstände zwischen der Rückseite der Einrichtung für den hinteren Unterfahrschutz und der Rückseite des mit aerodynamischen Luftleiteinrichtungen und Ausrüstungen ausgestatteten Fahrzeugs ohne Berücksichtigung der Luftleiteinrichtungen und Ausrüstungen gemessen werden, wenn diese länger als 200 mm sind, sich in betriebsbereitem Zustand befinden und wenn die wesentlichen Abschnitte der in einer Höhe von ≤ 2,0 m über dem Boden angebrachten Teile bei Messung im unbeladenen Zustand aus einem Werkstoff mit einer Härte von < 60 Shore (A) bestehen. Unberücksichtigt bei der Bestimmung der Härte bleiben schmale Versteifungen, Rohre und Metalldrahtgewebe, die einen Rahmen oder einen Trägerkörper bilden, um die wesentlichen Abschnitte der Teile aufzunehmen. Die Endstücke dieser Versteifungen, Rohre und Metalldrahtgewebe dürfen allerdings sowohl bei einziehbaren oder eingeklappten als auch in der Gebrauchsstellung befindlichen Einrichtungen und Ausrüstungen im hinteren Bereich des Fahrzeugs nicht nach hinten gerichtet sein, um die Gefahr von Verletzungen und ein Eindringen in andere Fahrzeuge bei einem Aufprall auszuschließen.

Alternativ zu der im vorstehenden Absatz genannten Ausnahmeregelung dürfen die waagerechten Abstände zwischen der Rückseite der Einrichtung für den hinteren Unterfahrschutz und der Rückseite des mit aerodynamischen Luftleiteinrichtungen und Ausrüstungen ausgestatteten Fahrzeugs ohne Berücksichtigung der aerodynamischen Luftleiteinrichtungen und Ausrüstungen gemessen werden, wenn diese länger als 200 mm sind, sich in betriebsbereitem Zustand befinden und den Prüfvorschriften gemäß Anlage 4 entsprechen.

Die waagerechten Abstände zwischen der Rückseite der Einrichtung für den hinteren Unterfahrschutz und der Rückseite des Fahrzeugs sind jedoch mit den aerodynamischen Luftleiteinrichtungen und Ausrüstungen in eingezogenem oder eingeklapptem Zustand zu messen, oder es ist der gemäß Anlage 4 Nummer 1.6.1 entstehende Überstand zu berücksichtigen, falls dieser größer ist als die Länge der Einrichtungen oder Ausrüstungen in eingezogenem bzw. eingeklapptem Zustand.

2. Massenverteilung bei Fahrzeugen mit einem Aufbau

2.1. Berechnungsverfahren

Notation

"M" technisch zulässige Gesamtmasse;

"m0 " technisch zulässige Stützlast am vorderen Kupplungspunkt;

"mi " technisch zulässige Achslast der Einzelachse mit Index "i", wobei "i" Werte von 1 bis zur Gesamtzahl der Achsen des Fahrzeugs annimmt;

"mc " technisch zulässige Stützlast am hinteren Kupplungspunkt;

j " technisch zulässige Achslast einer Achsgruppe mit Index "j", wobei "j" Werte von 1 bis zur Gesamtzahl der Achsgruppen des Fahrzeugs annimmt.

2.1.1 Es werden geeignete Berechnungen durchgeführt, um sicherzustellen, dass die Anforderungen der Absätze 2.2 und 2.3 bei jeder technischen Konfiguration innerhalb des Typs eingehalten sind.

2.1.2 Für die nach den Absätzen 2.2 und 2.3 vorgeschriebenen Berechnungen bei Fahrzeugen mit Lastverlagerungsachsen wird die Federung der Achsen in die normale Betriebsstellung geschaltet.

2.1.3 Bei Fahrzeugen mit Hubachsen sind die nach den Absätzen 2.2 und 2.3 vorgeschriebenen Berechnungen bei abgesenkten Achsen vorzunehmen.

2.2. Allgemeine Anforderungen

2.2.1 Die Summe der technisch zulässigen Stützlast am vorderen Kupplungspunkt, zuzüglich der technisch zulässigen Achslast der Einzelachsen und/oder Achsgruppe(n), zuzüglich der technisch zulässigen Stützlast am hinteren Kupplungspunkt darf nicht weniger betragen als die technisch zulässige Gesamtmasse des Fahrzeugs.

M ≤ Σ [m0 + mi + mc] oder M ≤ Σ [m0 + μj + mc]

2.2.2 Bei jeder Achsgruppe mit Index "j" darf die Summe der Achslasten mi an ihren Achsen nicht kleiner als die Achslast μj sein.

Außerdem darf keine der Achslasten mi kleiner sein als der auf die Achse "i" einwirkende Teil von μj, wie er durch die Achslastverteilung dieser Achsgruppe bestimmt wird.

2.3. Besondere Anforderungen

2.3.1 Die Masse des Fahrzeugs in fahrbereitem Zustand, zuzüglich der Masse der Zusatzausrüstung, zuzüglich der technisch zulässigen Stützlast am Kupplungspunkt (an den Kupplungspunkten) darf die technisch zulässige Gesamtmasse des Fahrzeugs nicht überschreiten.

2.3.2 Ist das Fahrzeug bis zu seiner technisch zulässigen Gesamtmasse beladen, darf die auf eine Einzelachse "i" einwirkende Last nicht größer sein als die Achslast m i dieser Achse oder die Achslast der Achsgruppe μj oder die technisch zulässige Stützlast am Kupplungspunkt m0.

2.3.3. Die Anforderungen von Absatz 2.3.2 müssen in den folgenden Lastkonfigurationen eingehalten werden:

2.3.3.1. Gleichmäßige Verteilung der Nutzlast

Bei der Masse des Fahrzeugs muss es sich um die Masse in fahrbereitem Zustand handeln, zuzüglich der Masse der Zusatzausrüstung, zuzüglich der gleichmäßig auf der Ladefläche verteilten Nutzlast.

2.3.3.2. Ungleichmäßige Verteilung der Nutzlast

Bei der Masse des Fahrzeugs muss es sich um die Masse in fahrbereitem Zustand handeln, zuzüglich der Masse der Zusatzausrüstung, zuzüglich der gemäß Herstellerangaben auf der Ladefläche verteilten Nutzlast.

Für diese Zwecke muss der Hersteller die äußerstmögliche zulässige Lage des Schwerpunkts der Nutzlast und/oder des Aufbaus und/oder der Ausrüstung oder Innenausstattung angeben (z.B.: 0,50 m bis 1,30 m vor der ersten Hinterachse).

2.3.3.3 Kombination aus gleichmäßiger und ungleichmäßiger Verteilung:

Es müssen gleichzeitig die Anforderungen der Absätze 2.3.3.1 und 2.3.3.2 eingehalten werden.

2.3.3.4 Die Anforderungen von Absatz 2.3.3.1 müssen bei Fahrzeugen mit ebenen Ladebereichen stets erfüllt sein.

2.3.4. Besondere Anforderungen für Wohnanhänger

2.3.4.1 Für die Mindest-Nutzlast (PM) gilt hier folgende Anforderung:

PM in kg ≥ 10 (n + L)

Dabei gilt:

"n" ist die Höchstzahl der Schlafplätze und

"L" ist die Gesamtlänge des Fahrzeugaufbaus gemäß Absatz 6.1.2 der Norm ISO 7237:1981.

3. Anforderungen an die Manövrierfähigkeit

3.1 Anhänger und Sattelanhänger müssen so konstruiert sein, dass nach ihrem Ankuppeln an ein Zugfahrzeug sich die Fahrzeugkombination in beiden Richtungen innerhalb einer vollständigen Kreisbahn (360°) aus zwei konzentrischen Kreisen mit einem Radius von 12,50 m (äußerer Kreis) bzw. 5,30 m (innerer Kreis) bewegen kann, ohne dass eine der äußeren Begrenzungen des Zugfahrzeugs über den äußeren Kreisumfang hinaus- oder eine der äußeren Begrenzungen des Anhängers oder Sattelanhängers in den inneren Kreisumfang hineinragt.

Ist der Anhänger oder Sattelanhänger mit aerodynamischen Luftleiteinrichtungen oder Ausrüstungen gemäß den Nummern 1.4.1.1 oder 1.4.1.2 ausgestattet, so befinden sich diese in der betriebsbereiten Gebrauchsstellung.

3.2. Es wird davon ausgegangen, dass ein Sattelanhänger, der nicht mit aerodynamischen Luftleiteinrichtungen oder Ausrüstungen gemäß den Nummern 1.4.1.1 oder 1.4.1.2 ausgerüstet ist, der Anforderung von Nummer 3.1 entspricht, wenn sein Bezugsradstand "BRS" folgender Anforderung genügt:

BRS ≤ [(12,50 - 2,04)2- (5,30 + ½ W)2]1/2

Dabei gilt:

"BRS" ist der Abstand zwischen der Achse des Sattelzapfens und der Mittellinie der ungelenkten Achsen.

"W" ist die Breite des Sattelanhängers.

3.3 Enthält eine oder mehrere der ungelenkten Achsen eine Hubeinrichtung, so wird entweder der mit angehobener oder der mit abgesenkter Achse jeweils längere Radabstand berücksichtigt.

________________

1) ABl. Nr. L 124 vom 13.05.2011 S. 11.

2) ABl. L 326 vom 24.11.2006 S. 55.

.

Verzeichnis von Vorrichtungen oder Ausrüstungsteilen, die für die Bestimmung der größten Abmessungen nicht maßgebend sind. Anlage 1 19


  1. Nach Maßgabe der in den folgenden Tabellen enthaltenen zusätzlichen Einschränkungen sind die in den Tabellen I, II und III aufgeführten Einrichtungen oder Ausrüstungen nicht für die Bestimmung und Berechnung der größten Abmessungen maßgebend, vorausgesetzt, sie erfüllen die folgenden Anforderungen:
    1. Sind - mit Ausnahme von aerodynamischen Luftleiteinrichtungen und Ausrüstungen von Führerhäusern - Einrichtungen an der Vorderseite angebracht, dürfen diese insgesamt nicht mehr als 250 mm überstehen.
    2. Sind - mit Ausnahme von aerodynamischen Luftleiteinrichtungen und Ausrüstungen - Einrichtungen und Ausrüstungen vorne oder hinten am Fahrzeug angebracht, dürfen diese insgesamt nicht mehr als 750 mm überstehen.
    3. Sind Einrichtungen und Ausrüstungen seitlich am Fahrzeug angebracht, dürfen diese insgesamt nicht mehr als 100 mm überstehen.
  2. Die in Nummer 1 Buchstaben a, b und c enthaltenen Anforderungen gelten nicht für Einrichtungen für indirekte Sicht.

Tabelle I Fahrzeuglänge 19

Gegenstand Fahrzeugklassen
M1 M2 M3 N1 N2 N3 O1 O2 O3 O4
1. Einrichtungen für indirekte Sicht gemäß der Begriffsbestimmung in Absatz 2.1 der UN/ ECE-Regelung 461 x x x x x x x x x x
2. Wischer- und Wascheinrichtungen x x x x x x
3. Äußere Sonnenblenden - - - - x x - - - -
4. Frontschutzsystem typgenehmigt gemäß Verordnung (EG) Nr. 78/2009 des Europäischen Parlaments und des Rates2 x x
5. Trittstufen und Handgriffe - x x x x x x x x x
6. Mechanische Verbindungseinrichtungen x x x x x x - - - -
7. Zusätzliche Verbindungseinrichtung an der Hinterseite eines Anhängers (falls abnehmbar) x x x x
8. Fahrradträger (falls abnehmbar oder einklappbar) x x - - - - -
9. Hubladebühnen, Ladebrücken und vergleichbare Einrichtungen (sofern in nicht betriebsbereitem Zustand und sofern sie nicht mehr als 300 mm hervorragen), vorausgesetzt, die Ladekapazität des Fahrzeugs wird nicht erhöht. x x x x x x x x x x
10. Sichthilfen und Ortungseinrichtungen einschließlich Radargeräten - x x - x x x x x x
11. Elastische Stoßdämpfer und vergleichbare Einrichtungen - - - - x x x x x x
12. Befestigungs- und Schutzeinrichtungen für Zollplomben - - - x x x x x x x
13. Einrichtungen zur Sicherung der Plane und Schutzvorrichtungen hierfür - - - x x x x x x x
14. Längsanschläge für Wechselaufbauten - - - - x x x x x x
15. Stangenstromabnehmer von Elektrofahrzeugen - - x - - - - - -
16. vordere oder hintere Kennzeichenschilder - x x - x x x x x X
17. Zulässige Leuchten gemäß der Begriffsbestimmung von Absatz 2 der UN/ECE-Regelung Nr. 483 x x x x x x x x x x
18. Aerodynamische Luftleiteinrichtungen und Ausrüstungen - x x - x x - - x x
19. Antennen für die Kommunikation zwischen Fahrzeugen bzw. zwischen Fahrzeugen und Infrastrukturen x x x x x x x x x x
1) ABl. Nr. L 177 vom 10.07.2010 S. 211.

2) ABl. Nr. L 35 vom 04.02.2009 S. 1.

3) ABl. Nr. L 135 vom 23.05.2008 S. 1.


Tabelle II Fahrzeugbreite 19

Gegenstand Fahrzeugklassen
M1 M2 M3 N1 N2 N3 O1 O2 O3 O4
1. Einrichtungen für indirekte Sicht gemäß der Begriffsbestimmung in Absatz 2.1 der UN/ECE-Regelung 46 x x x x x x x x x x
2. Der am Aufstandspunkt auf der Fahrbahnoberfläche liegende Teil der Ausbauchung der Reifenwände. x x x x x x x x x x
3. Reifenschadensanzeiger - - x x x x x x x x
4. Reifendruckanzeiger - - x x x x x x x x
5. Seitenmarkierungsleuchten x x x x x x x x x x
6. Beleuchtungskörper
6.1. Umrissleuchten x x x x x x x x x x
6.2. Seitliche Rückstrahler x x x x x x x x x x
6.3. Fahrtrichtungsanzeiger x x x x x x x x x x
6.4. Schlussleuchten - - - - x x x x x x
6.5. Beleuchtungssysteme für Betriebstüren - x x - - - - - - -
7. Ladebrücken, Hubladebühnen und vergleich- bare Einrichtungen (sofern in nicht betriebsbereitem Zustand und sofern sie nicht mehr als 10 mm seitlich des Fahrzeugs hervorragen und sofern die nach vorne oder nach hinten liegenden Ecken der Ladebrücken mit einem Radius von mindestens 5 mm abgerundet sind; die Kanten sind mit einem Radius von mindestens 2,5 mm abzurunden). - x x - x x x x x x
8. Einziehbare Spurführungseinrichtungen, die für die Verwendung in Spurbussystemen gedacht sind, in nicht eingezogener Stellung. - - x - - - - - -
9. Einziehbare Stufen, sofern betriebsbereit und bei Fahrzeugstillstand x x x x x x x x x x
10. Sichthilfen und Ortungseinrichtungen einschließlich Radargeräten - x x x x x x x x
11. Aerodynamische Luftleiteinrichtungen und Ausrüstungen
Die Fahrzeugbreite (inklusive eines klimatisierten Aufbaus mit isolierten Wänden) darf einschließlich der gemessenen vorstehenden Teile nicht mehr als 2.600 mm betragen, wobei die Einrichtungen und Ausrüstungen sowohl in der eingezogenen bzw. eingeklappten Stellung als auch in der Gebrauchsstellung arretiert sein müssen.
- x x - x x - - x x
12. Befestigungs- und Schutzeinrichtungen für Zollplomben - - - x x x x x x x
13. Einrichtungen zur Sicherung der Plane und Schutzvorrichtungen hierfür, die bei einer Höhe von höchstens 2,0 m über dem Boden höchstens 20 mm, und bei einer Höhe von mehr als 2,0 m über dem Boden höchstens 50 mm hervorragen dürfen. Die Kanten müssen mit einem Radius von mindestens 2,5 mm abgerundet sein. - - - x x x x x x x
14. Vorstehende flexible Teile eines Spritzschutzsystems gemäß Verordnung (EU) Nr. 109/2011 der Kommission1 - - - - x x - - x x
15. Flexible Radabdeckungen, die nicht unter Nummer 14 dieser Tabelle fallen. - x x x x x x x x x
16. Schneeketten x x x x x x x x x x
17. Sicherheitsgeländer auf Fahrzeugtransportern

Nur für Fahrzeuge, die für den Transport von mindestens zwei Fahrzeugen ausgelegt und gebaut sind und deren Sicherheitsgeländer sich mindestens 2,0 m und höchstens 3,70 m über dem Boden befinden und höchstens 50 mm vom äußersten Punkt der Fahrzeugseite hinausragen.

Die Fahrzeugbreite darf nicht mehr als 2 650 mm betragen.

- - - - x x - - x x
18. Antennen für die Kommunikation zwischen Fahrzeugen bzw. zwischen Fahrzeugen und Infrastrukturen x x x x x x x x x x
19. Schläuche der Reifendrucküberwachungssysteme, sofern sie an den beiden Seiten des Fahrzeugs um nicht mehr als 70 mm über die größte Breite des Fahrzeugs hinausragen. - - - - - x - - x x
1) ABl. Nr. L 34 vom 09.02.2011 S. 2.


Tabelle III Fahrzeughöhe 19

M1 M2 M3 N1 N2 N3 O1 O2 O3 O4
1. Antennen für Rundfunk, Navigation, die Kommunikation zwischen Fahrzeugen bzw. zwischen Fahrzeugen und Infrastrukturen X X X X X X X X X X
2. Scheren- oder Stangenstromabnehmer in angehobener Stellung - - X - - X - - - -

.

Bei der Typgenehmigung und Übereinstimmung der Produktion zulässige Abweichungen Anlage 2

1. Abmessungen

1.1 Die Messung der Gesamtlänge, -breite und -höhe ist gemäß Absatz 1.2 der Teile a bis D dieses Anhangs durchzuführen.

1.2 Vorausgesetzt, die in Absatz 1.1 der Teile a bis D dieses Anhangs festgelegten Grenzwerte werden nicht überschritten, können die tatsächlichen Abmessungen von den vom Hersteller genannten um maximal 3 % abweichen.

2. Masse des Fahrzeugs in fahrbereitem Zustand und tatsächliche Masse des Fahrzeugs

2.1 Die Masse des Fahrzeugs in fahrbereitem Zustand ist ausgehend von der tatsächlichen Masse zu prüfen, indem das Fahrzeug gewogen und die Masse der Zusatzausrüstung abgezogen wird. Für diesen Zweck muss die Waage den Bestimmungen der Richtlinie 2009/23/EG des Europäischen Parlaments und des Rates 1 genügen.

2.2. Die gemäß Absatz 2.1 ermittelte Masse des Fahrzeugs in fahrbereitem Zustand darf von dem in der Richtlinie 2007/46/EG in Anhang I Absatz 2.6 Buchstabe b oder in Anhang III Teil I Abschnitt A oder B oder dem in der entsprechenden Übereinstimmungsbescheinigung genannten Nennwert höchstens um die folgenden Werte abweichen:

  1. 3 % hinsichtlich der zulässigen unteren und oberen Abweichungen (= die negative und positive Abweichung in Bezug auf den angegebenen Wert) bei Fahrzeugen der Klassen M, N und O mit Ausnahme von Fahrzeugen mit besonderer Zweckbestimmung;
  2. 5 % hinsichtlich der zulässigen unteren und oberen Abweichungen (= die negative und positive Abweichung in Bezug auf den angegebenen Wert) bei Fahrzeugen mit besonderer Zweckbestimmung;
  3. 5 % hinsichtlich der zulässigen unteren und oberen Abweichungen (= die negative und positive Abweichung in Bezug auf den angegebenen Wert) im Sinne des Artikels 12 Absatz 2 der Richtlinie 2007/46/EG.

__________

1) ABl. Nr. L 122 vom 16.05.2009 S. 6.

.

Abbildungen zur Manövrierfähigkeit Anlage 3

Abbildung 1 Wendekreis
r = 5,3 m R = 12,5 m

Abbildung 2 Einfahr-Methode für Fahrzeuge der Klassen M2 und M3


Abbildung 2a :
Ausschwenken (Fahrzeuge außer
Gelenkfahrzeugen)

R = 12,5 m
r = 5,3 m
Umax ≤ 60 cm
Abbildung 2b:
Ausschwenken (Gelenkfahrzeuge)

R = 12,5 m
r = 5,3 m
Umax ≤ 60 cm

Abbildung 3Prüfverfahren: "Konstante Kreisfahrt" für Fahrzeuge der Klassen N2 und N3


.

Aerodynamische Luftleiteinrichtungen und Ausrüstungen im Aufprallversuch Anlage 4 19

1. Prüfbedingungen für aerodynamische Luftleiteinrichtungen und Ausrüstungen

1.1. Auf Antrag des Herstellers wird die Prüfung entweder durchgeführt:

1.1.1. an einem Fahrzeug des Typs, für den die aerodynamische Luftleiteinrichtung und Ausrüstung vorgesehen sind;

1.1.2. an einem Teil des Aufbaus des Fahrzeugtyps, für den die aerodynamische Luftleiteinrichtung und Ausrüstung vorgesehen sind; dieser Teil muss für den oder die betreffenden Fahrzeugtyp(en) repräsentativ sein;

1.1.3. oder an einer starren Wand.

1.2. Wird die Prüfung gemäß den Nummern 1.1.2 und 1.1.3 durchgeführt, so müssen die Teile, mit denen die aerodynamischen Luftleiteinrichtungen und Ausrüstungen an einem Teil des Fahrzeugaufbaus oder an einer starren Wand befestigt werden, gleichwertig mit denen sein, die zur Befestigung der aerodynamischen Luftleiteinrichtungen und Ausrüstungen beim Anbau am Fahrzeug verwendet werden. Jeder Einrichtung ist eine Einbau- und Betriebsanleitung mit ausreichenden Informationen beizufügen, sodass Fachkundige die Einrichtung ordnungsgemäß anbauen können.

1.3. Das unter Nummer 1.5 beschriebene Prüfverfahren kann auf Antrag des Herstellers gemäß Anhang XVI der Richtlinie 2007/46/EG durch nummerische Simulation durchgeführt werden.

Das mathematische Modell darf nur dann validiert werden, wenn es mit den praktischen Prüfbedingungen vergleichbar ist. Dafür ist eine praktische Prüfung durchzuführen, deren Ergebnisse mit denen zu vergleichen sind, die mithilfe des mathematischen Modells gewonnen wurden. Die Vergleichbarkeit der Prüfungsergebnisse ist zu belegen. Vom Hersteller wird ein Validierungsbericht angefertigt.

Jede Änderung am mathematischen Modell oder an der Software, die wahrscheinlich zur Ungültigkeit des Validierungsberichts führt, erfordert eine erneute Validierung gemäß dem vorstehenden Absatz.

1.4. Bedingungen für die Durchführung von Prüfungen oder Simulationen.

1.4.1. Das Fahrzeug muss auf einer ebenen, flachen, festen und glatten Oberfläche stehen.

1.4.2. Die Vorderräder müssen sich in Geradeausstellung befinden.

1.4.3. Die Reifen müssen auf den vom Hersteller empfohlenen Luftdruck aufgepumpt sein.

1.4.4. Das Fahrzeug muss unbeladen sein.

1.4.5. Das Fahrzeug darf zur Erreichung der unter Nummer 1.5.1.2 geforderten Prüfkräfte erforderlichenfalls nach einem beliebigen Verfahren festgehalten werden. Dieses Verfahren ist vom Fahrzeughersteller anzugeben.

1.4.6. Fahrzeuge mit hydropneumatischer, hydraulischer oder pneumatischer Federung oder einer Einrichtung zur automatischen lastabhängigen Niveauregulierung müssen in dem vom Hersteller angegebenen normalen Fahrzustand dieser Federung oder Einrichtung geprüft werden.

1.5. Prüfverfahren

1.5.1. Die Prüfungen dienen der Bewertung, ob die aerodynamischen Luftleiteinrichtungen und Ausrüstungen, wie unter Nummer 1.6.1 angeführt, bei parallel zur Längsachse des Fahrzeugs aufgebrachten Kräften einen bestimmten Verformungsgrad aufweisen. Alternativ kann sich die jeweilige Einrichtung unter der Krafteinwirkung auch einklappen oder einziehen. Die Einhaltung der Anforderung gemäß Nummer 1.6.2 ist mittels geeigneter Prüfstempel für den Aufprallversuch zu überprüfen. Die Einrichtung, die dazu dient, die Prüfkraft über die angegebene ebene Oberfläche zu verteilen, muss mit dem Kraftregler durch ein Kugelgelenk verbunden sein. Bei geometrischer Unvereinbarkeit kann anstelle einer Einrichtung mit einer ebenen Oberfläche ein Anschlussstück verwendet werden.

1.5.1.1. Die Kraft ist parallel zur Längsachse des Fahrzeugs über eine Fläche oder ein Anschlussstück von nicht mehr als 250 mm Höhe und 200 mm Breite einzuleiten, wobei der Krümmungsradius der senkrechten Kanten 5 mm ±1 mm betragen muss. Die Fläche darf nicht fest an der aerodynamischen Luftleiteinrichtung und Ausrüstung angebracht sein und muss in alle Richtungen gedreht werden können. Wird die Prüfung an einem Fahrzeug gemäß Nummer 1.1.1 durchgeführt, so ist vom Hersteller die Höhe des unteren Rands der Fläche bzw. des Anschlussstücks in einem Bereich zwischen der Unterkante der aerodynamischen Luftleiteinrichtung und Ausrüstung und einem bei Anbringung am Fahrzeug höchstens 2,0 m über dem Boden liegenden Punkt am oberen Rand der Fläche bzw. des Anschlussstücks anzugeben (siehe Abbildung 1). Bei einem beladenen Fahrzeug ist dieser Punkt mit der technisch zulässigen Gesamtmasse im beladenen Zustand zu definieren.

Wird die Prüfung an einem Teil des Aufbaus des Fahrzeugtyps gemäß Nummer 1.1.2 oder an einer starren Wand gemäß Nummer 1.1.3 durchgeführt, so ist vom Hersteller die Höhe der Mitte der Fläche bzw. des Anschlussstücks in einem Bereich zwischen der Unterkante der aerodynamischen Luftleiteinrichtung und Ausrüstung und dem Punkt anzugeben, der sich bei Anbringung an dem mit der technisch zulässigen Gesamtmasse beladenem Fahrzeug höchstens 2,0 m über dem Boden befinden darf (siehe Abbildung 2).

Die genaue Lage der Mitte der Fläche bzw. des Anschlussstücks im Krafteinleitungsbereich ist vom Hersteller anzugeben. Weisen die aerodynamische Luftleiteinrichtung und Ausrüstung im Krafteinleitungsbereich verschiedene Steifigkeiten auf (z.B. aufgrund von Verstärkungen, unterschiedlicher Werkstoffe oder Stärken usw.), muss die Mitte der Fläche bzw. des Anschlussstücks in dem Bereich gelegen sein, wo der Widerstand gegen die von außen in Längsrichtung des Fahrzeugs einwirkenden Kräfte am höchsten ist.

Abbildung 1
Höhe des Prüfpunkts

Abbildung 2
Beispiel für die Prüfanordnung

1.5.1.2. Eine waagerechte Kraft von höchstens 4.000N ± 400 N ist aufeinanderfolgend in zwei Punkten einzuleiten, die symmetrisch zur Längsmittelebene des Fahrzeugs oder zur Längsmittelebene der Einrichtung auf der hintersten Außenkante der vollständig ausgeklappten Stellung oder in der Gebrauchsstellung befindlichen aerodynamischen Luftleiteinrichtung und Ausrüstung liegen (siehe Abbildung 3). Die Reihenfolge der Einleitung dieser Kräfte darf vom Hersteller angegeben werden.

Abbildung 3
Krafteinleitung

1.6. Anforderungen

1.6.1. Die aerodynamische Luftleiteinrichtung und Ausrüstung sind so anzubringen, dass die Einrichtung und die Ausrüstung sich während des Aufbringens der Prüfkräfte gemäß Nummer 1.5.1.2 verformen, einziehen oder einklappen, sodass ein - an den Krafteinleitungspunkten in waagerechter Längsrichtung gemessener - Überstand von ≤ 200 mm entsteht. Der entstehende Überstand ist aufzuzeichnen.

1.6.2. Bei einem Heckaufprall dürfen die Insassen anderer Fahrzeuge nicht von der aerodynamischen Luftleiteinrichtung und Ausrüstung gefährdet bzw. der hintere Unterfahrschutz nicht in seiner Funktionsfähigkeit beeinträchtigt werden.

.

Dreidimensionale Umrisslinie des Führerhauses Anlage 5 19

1. Allgemeines Verfahren zur Überprüfung der Übereinstimmung des Kraftfahrzeugs mit den Parametern der dreidimensionalen Führerhaus-Umrisslinie

1.1. Senkrechte Begrenzungen des Beurteilungsbereichs für das Kraftfahrzeugführerhaus

1.1.1. Die Grenze für die Messung der größten Breite des Fahrzeugs an der Stelle Wc des Führerhauses wird vor der senkrechten Querebene an der vordersten Achse des Kraftfahrzeugs gestellt. Die in Anlage 1 aufgeführten Elemente bleiben im Hinblick auf diese Messung unberücksichtigt.

1.1.2. Der Beurteilungsbereich für das Kraftfahrzeugführerhaus ist als gleichbedeutend mit der größten Breite Wc anzusehen. Der Bereich ist durch senkrechte Längsebenen begrenzt, die parallel zur Längsmittelebene des Kraftfahrzeugs liegen, wobei der Abstand zwischen ihnen Wc beträgt.

1.1.3. Der waagerechte Längsabstand Lt wird von dem vordersten Punkt des Bereichs des Führerhauses in einer Höhe von ≤ 2.000 mm über dem Boden, gemessen im unbeladenen Zustand, bestimmt.

Für diese Bewertung wird der Abstand Lt auf 200 mm festgelegt (siehe Abbildung 1).

Nach hinten wird der Bewertungsbereich durch eine senkrechte Querebene begrenzt, die lotrecht zur Längsmittelebene des Kraftfahrzeugs liegt und mit dem Abstand Lt hinter dem vorstehend genannten vordersten Punkt angeordnet ist.

Abbildung 1
Dreidimensionale Umrisslinie


1.1.4. Die Schnittpunkte der hinteren Ebene, welche mit den beiden schrägen Außenebenen, den Linien Tleft und Tright, die Seite des Bewertungsbereichs bildet, sind im Hinblick auf Nummer 1.3.3.2 zu berücksichtigen. (siehe Abbildung 2).


Abbildung 2
Dreidimensionale Umrisslinie

1.2. Waagerechte Begrenzungen des Beurteilungsbereichs für das Kraftfahrzeugführerhaus

1.2.1. Im Beurteilungsbereich wird die untere Begrenzungslinie des Frontbereichs auf Höhe des Bodens angesetzt, und die obere Begrenzungslinie des Frontbereichs 2.000 mm über dem Boden, gemessen im unbeladenen Zustand.

1.3. Besondere Bestimmungen für den Beurteilungsbereich für das Kraftfahrzeugführerhaus

1.3.1. Für die Zwecke dieser Anlage wird der Frontbereich des Führerhauses des Kraftfahrzeugs berücksichtigt, unabhängig von der Art der Werkstoffe. Die in Anlage 1 aufgeführten Elemente bleiben jedoch unberücksichtigt.

1.3.2. Neigungswinkel der Vorderseite des Führerhauses

1.3.2.1. Für die Zwecke dieser Anlage wird der, Neigungswinkel" betrachtet, d. h. die Neigung des Frontbereichs des Kraftfahrzeugs im Bereich des Führerhauses aus der Senkrechten nach hinten, wobei jeder Punkt, der über einem anderen liegt, sich hinter diesem anderen Punkt befindet.

1.3.2.2. Für den Beurteilungsbereich des Neigungswinkels wird der vorderste Punkt des Bereichs des Führerhauses des Kraftfahrzeugs gemäß Nummer 1.1.3 betrachtet.

Die in einer Höhe von ≤ 2.000 mm über dem Boden und im unbeladenen Zustand gemessene senkrechte Querebene durch den vordersten Punkt des Führerhauses wird im Hinblick auf ihren Schnittpunkt mit der in einer Höhe von 1.000 mm gelegenen waagerechten Ebene betrachtet. Die Schnittlinie dient dann als Grund-Umrisslinie, um den Neigungswinkel des Führerhauses in dem vorgegebenen Beurteilungsbereich zu beurteilen.

1.3.2.3. Maßgeblich ist eine von der Senkrechten um 3° nach hinten geneigte, um die Grund-Umrisslinie gemäß Nummer 1.3.2.2 Unterabsatz 2 rotierende Ebene (siehe Abbildung 3).

Abbildung 3
Neigungswinkel

1.3.2.4. Kein Punkt auf der eigentlichen Oberfläche des im Beurteilungsbereich des Neigungswinkels gelegenen Frontbereichs darf sich vor der nach hinten geneigten Ebene gemäß Nummer 1.3.2.3 befinden, wenn der vorderste Punkt des Bereichs des Führerhauses des Kraftfahrzeugs mit der senkrechten Querebene in Berührung kommt.

1.3.3. Seitliche Abschrägung des Kraftfahrzeugführerhauses.

1.3.3.1. Im Beurteilungsbereich des Bereichs des Führerhauses des Kraftfahrzeugs wird der Frontbereich so abgeschrägt, dass die fraglichen nominalen Oberflächen hauptsächlich auf eine gemeinsame Fläche zulaufen, die vor dem Führerhaus und in der Längsmittelebene des Kraftfahrzeugs liegt.

1.3.3.2. Zwei symmetrische senkrechte Ebenen, eine links und eine rechts, werden jeweils in einem waagerechten Winkel von 20° zur Längsmittelebene und somit mit einem Abstand von 40° voneinander betrachtet. Die Lage dieser Ebenen ist dergestalt, dass auch sie sich jeweils mit den Linien Tleft und Tright gemäß Nummer 1.1.3. schneiden.

1.3.3.3. Kein Punkt auf der eigentlichen Oberfläche des Frontbereichs im linken und rechten Außenbereich darf sich außerhalb der jeweiligen, in Nummer 1.3.3.2 genannten senkrechten Ebene befinden, wenn der vorderste Punkt des Bereichs des Führerhauses des Kraftfahrzeugs mit der in Nummer 1.3.2.4 genannten senkrechten Querebene in Berührung kommt.

2. Ist eine der in dieser Anlage genannten Bedingungen nicht erfüllt, so entspricht das Führerhaus des Kraftfahrzeugs nicht den Parametern der dreidimensionalen Umrisslinie gemäß Teil C Nummer 1.4.1 dieses Anhangs.

.

Steigfähigkeit von Geländefahrzeugen Anhang II

1. Allgemeines

1.1 Dieser Anhang enthält die technischen Vorschriften für die Überprüfung der Steigfähigkeit eines Fahrzeugs, damit es gemäß der Richtlinie 2007/46/EG Anhang II Teil a Abschnitt 4 als Geländefahrzeug eingestuft werden kann.

1.2 Der Technische Dienst muss überprüfen, ob das vollständige oder vervollständigte Fahrzeug oder die Sattelzugmaschine entsprechend den Anforderungen des Anhangs II der Richtlinie 2007/46/EG als Geländefahrzeug einzustufen ist.

1.3 Bei unvollständigen Fahrzeugen wird diese Überprüfung nur auf Antrag des Herstellers durchgeführt.

2. Prüfbedingungen

2.1. Fahrzeugzustand

2.1.1 Das Fahrzeug wird in den vom Hersteller empfohlenen Zustand gebracht und mit der in Anhang I der Richtlinie 2007/46/EG genannten Ausrüstung versehen.

2.1.2 Bremsen, Kupplung (oder gleichwertige Bauteile), Motor und Getriebe sind gemäß den Empfehlungen des Herstellers so einzustellen, dass sie eine Verwendung im Gelände ermöglichen.

2.1.3 Es sind Reifen zu verwenden, die für eine Verwendung im Gelände empfohlen werden. Ihre Profiltiefe muss mindestens 90 % der Profiltiefe eines neuen Reifens entsprechen. Der Reifendruck muss dem vom Reifenhersteller empfohlenen Wert entsprechen.

2.1.4 Das Fahrzeug ist mit der technisch höchstzulässigen Gesamtmasse so zu beladen, dass die Verteilung der Masse proportional zu der vom Hersteller angegebenen Verteilung der Gesamtmasse auf die Achsen ist.

Beispielsweise ist ein Fahrzeug von 7,5 Tonnen, das auf der Vorderachse eine Gesamtmasse von 4 Tonnen und auf der Hinterachse eine Gesamtmasse von 6 Tonnen aufweist, mit einer Masse von 3 Tonnen (40 %) auf der Vorderachse und mit einer Masse von 4,5 Tonnen (60 %) auf der Hinterachse zu prüfen.

2.2. Für die Prüfstrecke geltende Bedingungen

2.2.1 Die Oberfläche der Prüfstrecke muss trocken sein und aus Asphalt oder Beton bestehen.

2.2.2 Die Steigung muss kontinuierlich 25 % betragen, wobei eine Abweichung von + 3 % zulässig ist (ϑ = 14 Grad).

2.2.3 In Übereinstimmung mit dem Hersteller kann die Prüfung auf einer Steigung von mehr als 25 % durchgeführt werden. Die Prüfung ist in diesem Fall mit Gesamtmassen durchzuführen, die entsprechend den Prüfbedingungen verringert wurden.

Diese Prüfbedingungen sind im Prüfbericht festzuhalten.

2.2.4 Die Oberfläche der Prüfstrecke muss einen guten Koeffizienten der Bodenhaftung aufweisen.

Der Griffigkeitskennwert ("Skid Resistance Index": SRI) der Oberfläche ist nach folgender Norm zu bestimmen: CEN/TS 13036-2: 2010 Oberflächeneigenschaften von Straßen und Flugplätzen - Prüfverfahren - Teil 2: Verfahren zur Bestimmung der Griffigkeit von Fahrbahndecken durch Verwendung von dynamischen Messsystemen.

Der Mittelwert des SRI ist im Prüfbericht festzuhalten.

3. Prüfverfahren

3.1 Das Fahrzeug muss zunächst auf einer horizontalen Oberfläche abgestellt werden.

3.2 Die Antriebsart ist auf Geländebetrieb einzustellen. Der/die eingelegte/n Gang/Gänge muss/müssen eine gleichmäßige Geschwindigkeit ermöglichen.

3.3 Es gelten die Abschnitte 4 und 5 der Anlage 1 von Anhang II der Richtlinie 2007/46/EG.

.

Bedingungen für die Gleichwertigkeit einer Federung mit einer Luftfederung Anhang III

1. Dieser Anhang enthält die technischen Bedingungen für die Gleichwertigkeit einer Federung mit einer Luftfederung bei Fahrzeugantriebsachsen.

2. Ein Federungssystem wird als der Luftfederung gleichwertig anerkannt, wenn es folgende Voraussetzungen erfüllt:

2.1. Während des kurzzeitigen freien niederfrequenten vertikalen Schwingungsvorgangs der gefederten Masse senkrecht über der Antriebsachse oder der Achsgruppe dürfen die gemessene Frequenz und Dämpfung der Federung unter Höchstlast die unter 2.3 bis 2.6 festgelegten Grenzwerte nicht überschreiten.

2.2 Jede Achse muss mit hydraulischen Dämpfern ausgerüstet sein. Bei einer Achsgruppe müssen die hydraulischen Dämpfer so angebracht sein, dass die Schwingung der Achsgruppe auf ein Mindestmaß reduziert wird.

2.3 Das mittlere Dämpfungsverhältnis Dm muss über 20 % der kritischen Dämpfung der Federung im Normalzustand, d. h. mit funktionstüchtigen hydraulischen Dämpfern, betragen.

2.4 Das Dämpfungsverhältnis Dr der Federung ohne hydraulische Dämpfer bzw. mit funktionsuntüchtigen Dämpfern darf 50 % von Dm nicht überschreiten.

2.5 Die Frequenz der gefederten Masse über der Antriebsachse oder der Achsgruppe während eines kurzzeitigen vertikalen Schwingungsvorgangs darf 2,0 Hz nicht überschreiten.

2.6 Die Prüfverfahren zur Ermittlung der Frequenz- und der Dämpfungswerte sind unter Nummer 3 angegeben.

3. Prüfverfahren

3.1. Frequenz und Dämpfung

3.1.1 Die Gleichung für die freie Schwingung der gefederten Masse lautet:

Dabei ist:

"M" die gefederte Masse (kg),

"Z" der Weg der gefederten Masse in vertikaler Richtung,

"C" der Gesamtdämpfungskoeffizient (N.s/m),

"K" die vertikale Gesamtsteifigkeit (Gesamtfederrate) zwischen Straßenoberfläche und gefederter Masse (N/m) (Federrate).

Die Gleichung für die Frequenz der Schwingung ("F" in Hz) der gefederten Masse lautet:

3.1.3 Die Dämpfung ist kritisch, wenn C = Co ist.

Dabei ist:

Das Dämpfungsverhältnis als Bruchteil des kritischen Wertes ist C/Co.

3.1.4 Die kurzzeitige freie vertikale Schwingung der gefederten Masse ergibt die in Abbildung 2 dargestellte gedämpfte Sinuskurve. Die Frequenz lässt sich durch Messung der für sämtliche zu beobachtenden Schwingungszyklen benötigten Zeit ermitteln. Die Dämpfung wird durch Messung der aufeinanderfolgenden Amplituden, die in derselben Richtung auftreten, ermittelt.

3.1.5 Wenn die Amplituden des ersten und des zweiten Schwingungszyklus a 1 und a 2 betragen, lautet die Gleichung für das Dämpfungsverhältnis D:

Dabei ist "ln" der natürliche Logarithmus des Amplitudenverhältnisses.

3.2. Prüfverfahren

Um im Test das Dämpfungsverhältnis Dm, das Dämpfungsverhältnis bei entfernten hydraulischen Dämpfern Dr sowie die Frequenz F der Federung bestimmen zu können, muss das beladene Fahrzeug entweder

  1. mit geringer Geschwindigkeit (5 ± 1 km/h) über eine Schwelle von 80 mm Höhe mit dem in Abbildung 1 gezeigten Profil gefahren werden; auf Frequenz und Dämpfung ist die kurzzeitige Schwingung zu untersuchen, die sich ergibt, nachdem die Räder an der Antriebsachse die Schwelle wieder verlassen haben oder
  2. am Fahrgestell heruntergezogen werden, so dass die Achslast der Antriebsachse das Anderthalbfache des höchsten statischen Werts beträgt. Danach wird die auf das Fahrzeug wirkende Zugkraft plötzlich aufgehoben und die daraus resultierende Schwingung untersucht; oder
  3. am Fahrgestell hochgezogen werden, so dass die gefederte Masse über der Antriebsachse um 80 mm angehoben wird. Danach wird die auf das Fahrzeug wirkende Zugkraft plötzlich aufgehoben und die daraus resultierende Schwingung untersucht; oder
  4. anderen Verfahren unterzogen werden, sofern der Hersteller dem Technischen Dienst gegenüber den Nachweis erbracht hat, dass sie gleichwertig sind.

3.3. Prüfgerät und Beladungsbedingungen des Fahrzeugs

3.3.1 Das Fahrzeug muss zwischen Antriebsachse und Fahrgestell senkrecht über der Achse mit einem Schwingungsschreiber versehen werden. Anhand der Zeitspanne zwischen der ersten und der zweiten Kompressionsspitze ist die Dämpfung zu ermitteln.

Bei Doppelantriebsachsen müssen Schwingungsschreiber zwischen jeder Antriebsachse und dem Fahrgestell senkrecht über diesen Achsen angebracht werden.

3.3.2 Die Reifen müssen auf den vom Hersteller empfohlenen Luftdruck aufgepumpt sein.

3.3.3 Die Prüfung zur Überprüfung der Gleichwertigkeit der Federungen ist mit der technisch zulässigen Achslast der Achse bzw. Achsgruppe durchzuführen; bei geringeren Achslasten ist von einer Gleichwertigkeit auszugehen.

Abbildung 1 Schwelle für Federungsprüfungen

Abbildung 2 Gedämpfte Sinuskurve bei kurzzeitiger freier Schwingung

.

Technische Anforderungen bezüglich der Anbringung von Hubachsen oder Lastverlagerungsachsen an Fahrzeugen Anhang IV

1. Bei Fahrzeugen, die mit einer oder mehreren Hubachsen oder Lastverlagerungsachsen ausgerüstet sind, ist sicherzustellen, dass die zulässige Zulassungs-/Betriebsachslast der Achsen und Achsgruppen unter normalen Fahrbedingungen nicht überschritten wird. Hierzu muss die Hubachse oder Lastverlagerungsachse abgesenkt oder automatisch belastet werden, wenn an der bzw. an den nächstgelegenen Achse(n) der Achsgruppe oder an der Vorderachse des Kraftfahrzeugs die zulässige(n) Zulassungs-/Betriebsachslast(en) erreicht wird (werden).

Ist eine Hubachse in angehobener Stellung, so muss gewährleistet sein, dass die Last auf der (den) gelenkten Achse(n) auch weiterhin ausreichend ist, um ein sicheres Fahrverhalten des Fahrzeugs in allen Situationen zu ermöglichen. Zu diesem Zweck muss der Fahrzeughersteller für unvollständige Fahrzeuge die Mindestlast auf der (den) gelenkten Achse(n) angeben.

2. An einem Fahrzeug angebrachte Hubeinrichtungen sowie die zu ihrem Betrieb erforderlichen Systeme müssen so ausgelegt und eingebaut sein, dass sie gegen unsachgemäße Benutzung und unsachgemäße Eingriffe geschützt sind.

3. Anforderungen für das Anfahren von Kraftfahrzeugen auf glatter Fahrbahn und zur Verbesserung ihrer Manövrierfähigkeit

3.1. Abweichend von Nummer 1 darf zur Erleichterung des Anfahrens von Kraftfahrzeugen oder Fahrzeugkombinationen auf glatter Fahrbahn und zur Erhöhung der entsprechenden Reifentraktion sowie zur Verbesserung ihrer Manövrierfähigkeit die Hubachse bzw. die Lastverlagerungsachse eines Kraftfahrzeugs oder eines Sattelanhängers auch durch die Hubeinrichtung betätigt werden, damit die Antriebsachslast des Kraftfahrzeugs erhöht oder verringert wird; hierfür gelten jedoch folgende Bedingungen:

  1. Die der Achslast auf jeder Achse des Fahrzeugs entsprechende Masse darf die in dem Mitgliedstaat geltende jeweilige zulässige Achslast bis zu 30 % überschreiten, sofern der vom Hersteller für diesen besonderen Zweck angegebene Wert nicht überschritten wird.
  2. Die der verbleibenden Achslast auf der Vorderachse entsprechende Masse bleibt größer als Null (d. h. im Fall einer belastbaren Hinterachse mit langem hinterem Überhang darf das Fahrzeug nicht hochkippen).
  3. Die Hubachse bzw. die Lastverlagerungsachse darf nur mit einer speziellen Steuereinrichtung betätigt werden.
  4. Nach dem Anfahren des Fahrzeugs und bevor es eine Geschwindigkeit von 30 km/h überschreitet, wird (werden) die Achse(n) erneut automatisch abgesenkt bzw. belastet.

.

Anhang V 19

Teil A
EG-Typgenehmigung von Kraftfahrzeugen und Kraftfahrzeuganhängern in Bezug auf die Massen und Abmessungen des Fahrzeugs
19

BESCHREIBUNGSBOGEN

MUSTER

Beschreibungsbogen Nr.... zur EG-Typgenehmigung eines Kraftfahrzeugs und eines Kraftfahrzeuganhängers in Bezug auf die Massen und Abmessungen des Fahrzeugs.

Die nachstehenden Angaben sind zusammen mit dem Verzeichnis der beiliegenden Unterlagen in dreifacher Ausfertigung einzureichen. Liegen Zeichnungen bei, so müssen diese das Format A4 haben oder auf das Format A4 gefaltet sein und hinreichende Einzelheiten in geeignetem Maßstab enthalten. Liegen Fotos bei, so müssen diese hinreichende Einzelheiten enthalten.

0. ALLGEMEINES
0.1 Marke (Handelsname des Herstellers): ...........................................................................................
0.2 Typ:................................................................................................................................................
0.2.1 Handelsname(n), sofern vorhanden: .................................................................................................
0.4 Fahrzeugklasse (c): .........................................................................................................................
0.5 Firmenname und Anschrift des Herstellers: .......................................................................................
0.8 Name(n) und Anschrift(en) der Fertigungsstätte(n): ..........................................................................
0.9 (Ggf.) Name und Anschrift des Bevollmächtigten des Herstellers: ......................................................
1. Allgemeine Baumerkmale des Fahrzeugs
1.1 Fotografien und/oder Zeichnungen eines repräsentativen Fahrzeugs: ...................................................
1.2 Maßzeichnung des gesamten Fahrzeugs: ............................................................................................
1.3 Anzahl der Achsen und Räder: ...........................................................................................................
1.3.1 Anzahl und Lage der Achsen mit Doppelbereifung: ..............................................................................
1.3.2 Anzahl und Lage der gelenkten Achsen: ..............................................................................................
1.3.3 Antriebsachsen (Anzahl, Lage, gegenseitige Verbindung): .....................................................................
1.4 Fahrgestell (sofern vorhanden) (Übersichtszeichnung): .........................................................................
1.7 Führerhaus (Frontlenker oder normale Haubenfahrzeuge) (e): ..............................................................
1.9 Bitte angeben, ob das Zugfahrzeug zum Ziehen von Sattelanhängern oder anderen Anhängern bestimmt ist und ob es sich bei dem Anhänger um einen Sattelanhänger, um einen Anhänger mit schwenkbarer Zugeinrichtung, um einen Zentralachsanhänger oder um einen Starrdeichselanhänger handelt: ...............................................
1.10 Bitte angeben, ob das Fahrzeug speziell zur Beförderung von Gütern unter bestimmten Temperaturbedingungen ausgelegt ist: ........................................................................................................................................
2. MASSEN UND ABMESSUNGEN (f) (g) (7)
(in kg und mm) (gegebenenfalls auf Zeichnungen verweisen)
2.1 Radstand oder Radstände (bei Vollbelastung) (g1): ...............................................................................
2.1.1 Zweiachsige Fahrzeuge: ........................................................................................................................
2.1.2. Drei- und mehrachsige Fahrzeuge:
2.1.2.1 Abstand zwischen aufeinanderfolgenden Achsen von der vordersten bis zur hintersten Achse: .................
2.1.2.2 Achsabstand insgesamt: ........................................................................................................................
2.2. Sattelkupplung
2.2.1. Bei Sattelanhängern:
2.2.1.1 Abstand zwischen der Achse des Sattelzapfens und dem hintersten Ende des Sattelanhängers: ................
2.2.1.2 Höchstabstand zwischen der Achse des Sattelzapfens und einem beliebigen Punkt der Vorderseite des Sattelanhängers: ...................................................................................................................................
2.2.1.3 Bezugsradstand des Sattelanhängers (gemäß Nummer 3.2 von Teil D des Anhangs I der Verordnung (EU) Nr. 1230/2012: ..........................................................................................................................................
2.2.2. Bei Sattelzugmaschinen
2.2.2.1. Sattelvormaß (größtes und kleinstes; bei unvollständigen Fahrzeugen Angabe der zulässigen Werte) (g2):
2.3. Spurweite(n) und Breite(n) der Achse(n)
2.3.1 Spurweite jeder gelenkten Achse (g4): ...............................................................................................
2.3.2 Spurweite aller übrigen Achsen (g4): ..................................................................................................
2.4. Maßbereiche der Fahrzeugabmessungen (Maße über alles)
2.4.1. Für Fahrgestell ohne Aufbau:
2.4.1.1 Länge (g5): ......................................................................................................................................
2.4.1.1.1 Höchstzulässige Länge: .....................................................................................................................
2.4.1.1.2 Mindestzulässige Länge: ...................................................................................................................
2.4.1.1.3 Bei Anhängern größte zulässige Deichsellänge (g6): .........................................................................
2.4.1.2 Breite (g7): .....................................................................................................................................
2.4.1.2.1 Höchstzulässige Breite: ....................................................................................................................
2.4.1.2.2 Mindestzulässige Breite: ..................................................................................................................
2.4.1.3 Höhe (g8) (bei Fahrwerk mit Niveauregulierung in normaler Fahrstellung): ......................................
2.4.1.4 Überhang vorn (g9):.......................................................................................................................
2.4.1.4.1 Überhangwinkel vorn (g10) (4): .......................................................... °(Grad).
2.4.1.5 Überhang hinten (g11):...................................................................................................................
2.4.1.5.1 Überhangwinkel hinten (g12) (4): ...................................... °(Grad).
2.4.1.5.2 Mindest- und höchstzulässiger Überhang des Kupplungspunkts (g13): .............................................
2.4.1.6. Bodenfreiheit (gemäß Richtlinie 2007/46/EG Anhang II Anlage 1 Nummern 3.1.1 und 3.2.1)
2.4.1.6.1 Zwischen den Achsen: ..................................................................................................................
2.4.1.6.2 Unter der Vorderachse (den Vorderachsen): ...............................................................................
2.4.1.6.3 Unter der Hinterachse (den Hinterachsen): ...................................................................................
2.4.1.8 Lage des Schwerpunkts des Aufbaus und/oder der Innenausstattung und/oder der Ausrüstung und/oder der Nutzlast(Mindest- und Höchstwerte): ............................................................................................
2.4.2. Für Fahrgestell mit Aufbau
2.4.2.1 Länge (g5): .....................................................................................................................................
2.4.2.1.1 Länge der Ladefläche: ....................................................................................................................
2.4.2.1.3 Verlängertes Führerhaus entsprechend Artikel 9a der Richtlinie 96/53/EG: ja/nein1
2.4.2.2 Breite (g7): .....................................................................................................................................
2.4.2.2.1 Wandstärke (bei Fahrzeugen, die speziell zur Beförderung von Gütern unter bestimmten Temperaturbedingungenausgelegt sind): ...........................................................................................
2.4.2.3. Höhe (g8) (bei Fahrwerk mit Niveauregulierung die normale Fahrstellung angeben):
2.4.2.4 Überhang vorn (g9):..........................................................................................................................
2.4.2.4.1. Überhangwinkel vorn (g10) (4): ................. °(Grad )
2.4.2.5 Überhang hinten (g11):......................................................................................................................
2.4.2.5.1 Überhangwinkel hinten (g12) (4): ............................°(Grad).
2.4.2.5.2 Mindest- und höchstzulässiger Überhang des Kupplungspunkts (g13): ...............................................
2.4.2.6. Bodenfreiheit (gemäß Richtlinie 2007/46/EG Anhang II Anlage 1 Nummern 3.1.1 und 3.2.1) (4)
2.4.2.6.1 Zwischen den Achsen: .......................................................................................................................
2.4.2.6.2 Unter der Vorderachse (den Vorderachsen): ......................................................................................
2.4.2.6.3 Unter der Hinterachse (den Hinterachsen): .........................................................................................
2.4.2.8 Lage des Schwerpunkts der Nutzlast (bei ungleichmäßiger Belastung): ................................................
2.4.3. Für ohne Fahrgestell genehmigte Aufbauten (Fahrzeugklassen M2 und M3)
2.4.3.1 Länge (g5) : ...................................................................................................................................
2.4.3.2 Breite (g7): .....................................................................................................................................
2.4.3.3 Höhe (g8) auf dem (den) vorgesehenen Fahrgestelltyp(en) (bei Fahrwerk mit Niveauregulierung die normale Fahrstellungangeben): ......................................................................................................................
2.5 Mindestlast auf der (den) gelenkten Achse(n) bei unvollständigen Fahrzeugen: ...................................
2.6. Masse in fahrbereitem Zustand (h)
a) Mindest- und Höchstwert für jede Variante: .................................................................................
2.6.1 Verteilung dieser Masse auf die Achsen sowie Stützlast bei Sattelanhängern, Zentralachsanhängern oder Starrdeichselanhängern: ..................................................................................................................
a) Mindest- und Höchstwert für jede Variante: ................................................................................
2.6.2 Masse der Zusatzausrüstung (siehe Begriffsbestimmung Nr. 5 in Artikel 2 der Verordnung (EU) Nr 1230/2012: ...............................................................
2.6.4. Zusätzliche Masse für alternativen Antrieb: ... kg
2.8 Technisch zulässige Gesamtmasse in beladenem Zustand (i): ....................................................
2.8.1 Verteilung dieser Masse auf die Achsen sowie Stützlast bei Sattelanhängern, Zentralachsanhängern oder Starrdeichselanhängern: ....................................................................................................................
2.9. Technisch zulässige maximale Last je Achse: ............................................................................
2.10. Technisch zulässige maximale Last je Achsgruppe: ....................................................................
2.11. Technisch höchstzulässige Anhängelast des Zugfahrzeugs
bei:
2.11.1 Anhängern mit schwenkbarer Zugeinrichtung: ....................................................................................
2.11.2 Sattelanhängern: ...............................................................................................................................
2.11.3 Zentralachsanhängern: ......................................................................................................................
2.11.4 Starrdeichselanhängern: ...................................................................................................................
2.11.4.1 Höchstzulässiges Verhältnis von Kupplungsüberhang (j) zu Radstand: ..............................................
2.11.4.2 Größter V-Wert: ................... kN.
2.11.5 Technisch zulässige Gesamtmasse der Fahrzeugkombination: ............................................................
2.11.6 Zulässige Höchstmasse eines ungebremsten Anhängers: .....................................................................
2.12 Technisch höchstzulässige Stützlast am Kupplungspunkt: .........................................................
2.12.1 eines Zugfahrzeugs: ...........................................................................................................................
2.12.2 eines Sattelanhängers, Zentralachsanhängers oder eines Starrdeichselanhängers: .................................
2.12.3 Höchstzulässige Masse der Anhängevorrichtung (falls nicht vom Hersteller eingebaut): ........................
2.16 Für die Zulassung/den Betrieb vorgesehene zulässige Massen (fakultativ)
2.16.1 Für die Zulassung/den Betrieb zulässige Gesamtmasse in beladenem Zustand (5): ..............................
2.16.2. Für die Zulassung/den Betrieb vorgesehene höchstzulässige Masse je Achse und bei Sattelanhängern und
Zentralachsanhängern vorgesehene Stützlast am Kupplungspunkt nach Angabe des Herstellers, wenn diese
niedriger ist als die technisch zulässige Höchststützlast am Kupplungspunkt (5): ....................................
2.16.3 Für die Zulassung/den Betrieb vorgesehene höchstzulässige Achslast auf jeder Achsgruppe (5): .............
2.16.4 Für die Zulassung/den Betrieb vorgesehene höchstzulässige Anhängelast (5): .........................................
2.16.5 Für die Zulassung/den Betrieb vorgesehene höchstzulässige Gesamtmasse der Fahrzeugkombination (5): .......
3. ANTRIEBSMASCHINE (k)
3.1 Hersteller des Motors: .......................................................................................................................
3.2. Verbrennungsmotor
3.2.1.8. Nennleistung (n): .............. kW bei ............. min-1 (nach Angabe des Herstellers)
Hinweis: Für die Zwecke dieser Verordnung kann der Motor mit der geringsten Leistung als Bezugsgrundlage dienen.
3.3. Elektromotor
3.3.1.1. Größte Stundenleistung: ................ kW
3.4. Kombinationen von Motoren
3.4.1. Hybrid-Elektrofahrzeug: ja/nein (1)
3.4.5.4. Höchstleistung: .......................... kW
3.9. Liste der Ausrüstung für den alternativen Antrieb (mit Angabe der Masse der Teile): ...
4. KRAFTÜBERTRAGUNG (p)
4.1 Zeichnung der Kraftübertragung (4): ............................................................................................
5. ACHSEN
5.1 Beschreibung der einzelnen Achsen: ..................................................................................................
5.2 Fabrikmarke: .....................................................................................................................................
5.3 Typ: ...................................................................................................................................................
5.4 Lage der Hubachse(n): .........................................................................................................................
5.5 Lage der Lastverlagerungsachse(n): ......................................................................................................
6. RADAUFHÄNGUNG
6.1 Anordnungszeichnung der Radaufhängung: ..........................................................................................
6.2 Art und Ausführung der Aufhängung jeder Achse oder jeder Achsgruppe oder jedes Rades: ................
6.2.3. Luftfederung für Antriebsachse(n): ja/nein (1)
6.2.3.1. Einer Luftfederung gleichwertige Aufhängung der Antriebsachse(n): ja/nein (1)
6.2.3.2 Frequenz und Dämpfung der Schwingung der gefederten Masse: ..........................................................
6.2.4. Luftfederung der Achse(n) ohne Antrieb: ja/nein (1)
6.2.4.1. Einer Luftfederung gleichwertige Aufhängung der Achse(n) ohne Antrieb: ja/nein (1)
6.2.4.2 Frequenz und Dämpfung der Schwingung der gefederten Masse: ...........................................................
6.3 Verteilung der Masse zwischen den Achsen einer Achsgruppe (gegebenenfalls sind zweckdienliche Diagramme vorzulegen): ...................................................................................
6.6. Reifen und Räder
6.6.1. Rad-/Reifenkombination(en) (r)
a) Für Reifen ist anzugeben:
i) Größenbezeichnung:
ii) Tragfähigkeitskennzahl:
iii) Symbol für die Geschwindigkeitskategore: ...........................................................................
6.6.1.1. Achsen
6.6.1.1.1 Achse 1: ..........................................................................................................................................
6.6.1.1.2 Achse 2: ..........................................................................................................................................
usw.
9. AUFBAU
9.1. Art des Aufbaus unter Angabe der Codes in Anhang II Teil C:
9.10.3. Sitze
9.10.3.1 Anzahl der Sitzplätze (s): ...............................................................................................................
9.10.3.1.1 Lage und Anordnung:......................................................................................................................
9.10.3.5. Koordinaten oder Zeichnung des R-Punktes (t)
9.10.3.5.1 Fahrersitz: .......................................................................................................................................
9.10.3.5.2 Alle anderen Sitze: ..........................................................................................................................
9.25 Verlängerte Führerhäuser entsprechend Artikel 9a der Richtlinie 96/53/EG:
9.25.1. Ausführliche technische Beschreibung (einschließlich Fotos oder Zeichnungen sowie einer Beschreibung der Werkstoffe) der Fahrzeugteile, die unter Anhang I Teil C Nummer 1.4 der Verordnung (EU) Nr. 1230/2012 fallen: ...
9.26. Aerodynamische Luftleiteinrichtung oder Ausrüstung an der Fahrzeugfront
9.26.1. Fahrzeug an der Front mit aerodynamischer Luftleiteinrichtung oder Ausrüstung ausgestattet: ja/nein1
9.26.2. Typgenehmigungsnummer der aerodynamischen Luftleiteinrichtung oder Ausrüstung, sofern vorhanden: Alternativ, falls nicht vorhanden:
9.26.3. Ausführliche Beschreibung (einschließlich Fotos oder Zeichnungen) der aerodynamischen Luftleiteinrichtung oder Ausrüstung
9.26.3.1. Bauart und Werkstoffe: ...
9.26.3.2. Arretier- und Verstellsystem: ...
9.26.3.3. Anbringung und Befestigung am Fahrzeug: ...
9.27. Aerodynamische Luftleiteinrichtung oder Ausrüstung am Fahrzeugheck
9.27.1. Fahrzeug am Heck mit aerodynamischer Luftleiteinrichtung oder Ausrüstung ausgestattet: ja/nein1
9.27.2. Typgenehmigungsnummer der aerodynamischen Luftleiteinrichtung oder Ausrüstung, sofern vorhanden: ... Alternativ, falls nicht vorhanden:
9.27.3. Ausführliche Beschreibung (einschließlich Fotos oder Zeichnungen) der aerodynamischen Luftleiteinrichtung oder Ausrüstung
9.27.3.1. Bauart und Werkstoffe: ...
9.27.3.2. Arretier- und Verstellsystem: ...
9.27.3.3. Anbringung und Befestigung am Fahrzeug: ...
11. VERBINDUNGEN ZWISCHEN ZUGFAHRZEUG UND ANHÄNGER ODER SATTELANHÄNGER
11.1 Klasse und Typ der angebauten oder anzubauenden Anhängevorrichtung(en): ....................................
11.2. Merkmale D, U, S und V der angebauten Anhängevorrichtung(en) oder Mindestmerkmale D, U, S und V der anzubauenden Kupplungseinrichtung(en): ...................................................... daN
13. BESONDERE VORSCHRIFTEN FÜR KRAFTOMNIBUSSE
13.1 Fahrzeugklasse: Klasse I/Klasse II/Klasse III/Klasse A/Klasse B (1)
13.2. Fahrgastfläche (m2)
13.2.1 Insgesamt (S0): .................................................................................................................................
13.2.2 Oberes Fahrgastdeck (S0j (1): ...........................................................................................................
13.2.3 Unteres Fahrgastdeck (S0b) (1): ........................................................................................................
13.2.4 Stehplatzfläche (S1): ..........................................................................................................................
13.3. Anzahl der Fahrgäste (Sitz- und Stehplätze)
13.3.1 Insgesamt (N): ..................................................................................................................................
13.3.2 Oberdeck (Na) (1): ...........................................................................................................................
13.3.3 Unterdeck (Nb) (1): ..........................................................................................................................
13.4. Anzahl der Sitzplätze
13.4.1 Insgesamt (A): .................................................................................................................................
13.4.2 Oberdeck (Aa) (1): ..........................................................................................................................
13.4.3 Unterdeck (Ab) (1): .........................................................................................................................
13.4.4 Anzahl der Rollstuhlplätze bei Fahrzeugen der Klasse M2 oder M3: ..................................................
13.7 Volumen der Gepäckräume (m3): .....................................................................................................
13.12 Zeichnung mit Abmessungen, in der die Innenausstattung hinsichtlich der Sitz- und Stehplätze, Plätze für Rollstuhlfahrer, Gepäckräume, Gepäckträger und Skibox dargestellt sind.
________

Hinweise zum Ausfüllen

1) Nichtzutreffendes streichen (trifft mehr als eine Angabe zu, ist unter Umständen nichts zu streichen).

4) Nur zum Zweck der Definition von Geländefahrzeugen.

5) Aus den Angaben muss für jede technische Konfiguration des Fahrzeugtyps der tatsächliche Wert eindeutig hervorgehen.

7) Eine Zusatzausrüstung, die die Abmessungen des Fahrzeugs verändert, ist anzugeben:

b) Enthalten die Merkmale zur Typidentifizierung Zeichen, die für die Typbeschreibung des Fahrzeugs, des Bauteils oder der selbstständigen technischen Einheit gemäß diesem Beschreibungsbogen nicht wesentlich sind, so sind diese Schriftzeichen in den betreffenden Unterlagen durch das Symbol "?" darzustellen (Beispiel ABC??123??).

c) Einstufung nach den Begriffsbestimmungen in Anhang II Teil A.

e) "Frontlenker" wie in Nummer 2.7 des Anhangs I der Richtlinie 74/297/EWG des Rates (1) definiert.
(1) ABl. Nr. L 165 vom 20.06.1974 S. 16.

f) Bei Ausführungen einmal mit normalem Führerhaus und zum anderen mit Führerhaus mit Liegeplatz sind für beide Ausführungen Massen und Abmessungen anzugeben.

g) ISO 612:1978 "Abmessungen von Straßen(motor)fahrzeugen und deren Anhängern; Benennungen und Definitionen.

g1) - Begriff Nr. 6.4

g2) - Begriff Nr. 6.19.2

g3) - Begriff Nr. 6.20

g4) - Begriff Nr. 6.5

g5) - Begriff Nr. 6.1 und für andere Fahrzeuge als solche der Klasse M1.

Bei Anhängern sind die Längen gemäß Begriff Nr. 6.1.2 der Norm ISO 612:1978 anzugeben.

g6) - Begriff Nr. 6.17

g7) - Begriff Nr. 6.2 und für andere Fahrzeuge als solche der Klasse M1.

g8) - Begriff Nr. 6.3 und für andere Fahrzeuge als solche der Klasse M1.

g9) - Begriff Nr. 6.6

g10) - Begriff Nr. 6.10

g11) - Begriff Nr. 6.7

g12) - Begriff Nr. 6.11

g13) - Begriff Nr. 6.18.1

g14) - Begriff Nr. 6.9

h) Das Fahrergewicht ist pauschal auf 75 kg veranschlagt.

Die Flüssigkeiten enthaltenden Systeme (außer Systeme für gebrauchtes Wasser, die leer bleiben müssen) sind zu 100 % des vom Hersteller angegebenen Fassungsvermögens gefüllt.

Die unter den Nummern 2.6 Buchstabe a und 2.6.1 Buchstabe a erforderlichen Angaben müssen für Fahrzeuge der Klassen N2, N3, M2, M3, O3, und O4 nicht mitgeteilt werden.

i) Bei Anhängern oder Sattelanhängern sowie bei Fahrzeugen, die mit einem Anhänger oder Sattelanhänger verbunden sind, die eine bedeutende Stützlast auf die Anhängevorrichtung oder die Sattelkupplung übertragen, ist diese Last, dividiert durch die Erdbeschleunigung, in der technisch zulässigen Höchstmasse enthalten.

j) "Kupplungsüberhang" ist der waagerechte Abstand zwischen der Kupplung für Zentralachsanhänger und der Mittellinie der Hinterachse(n).

k) Bei Fahrzeugen, die sowohl mit Otto- oder Dieselkraftstoff usw. als auch in Kombination mit einem anderen Kraftstoff betrieben werden können, sind die Punkte separat anzuführen.

Bei nicht herkömmlichen Motoren und Systemen hat der Hersteller den hier aufgeführten Angaben entsprechende Angaben zu machen.

l) Diese Zahl ist auf das nächste Zehntel eines Millimeters zu runden.

n) Ermittelt gemäß Richtlinie 80/1269/EWG des Rates (1).
(1) ABl. Nr. L 375 vom 31.12.1980 S. 46.

o) Ermittelt gemäß Richtlinie 80/1268/EWG des Rates (1).
(1) ABl. Nr. L 375 vom 31.12.1980 S. 36.

p) Die geforderten Angaben sind für jede vorgesehene Variante zu machen.

r) Bei Reifen der Geschwindigkeitsklasse Z, die für Fahrzeuge mit einer Höchstgeschwindigkeit von mehr als 300 km/h bestimmt sind, sind vergleichbare Angaben zu machen.

s) Anzugeben ist die Zahl der Sitzplätze bei fahrendem Fahrzeug. Bei modularen Fahrzeugen kann ein Wertebereich angegeben werden.

t) Unter "R-Punkt" oder "Sitzbezugspunkt" ist ein vom Fahrzeughersteller für jeden Sitzplatz konstruktiv festgelegter Punkt zu verstehen, der in Bezug auf das dreidimensionale Bezugssystem bestimmt wurde, welches in Anhang III der Richtlinie 77/649/EWG (1).
(1) ABl. Nr. L 267 vom 19.10.1977 S. 1. definiert ist

Teil B
EG-Typgenehmigungsbogen für Kraftfahrzeuge und Kraftfahrzeuganhänger in Bezug auf die Massen und Abmessungen der Fahrzeuge
19 

MUSTER
Format: A4 (210 × 297 mm)

EG-TYPGENEHMIGUNGSBOGEN

StempelderTypgenehmigungsbehörde
Mitteilung über:
  • die EG-Typgenehmigung (1)
  • die Erweiterung der EG-Typgenehmigung (1)
  • die Versagung der EG-Typgenehmigung (1)
für einen Fahrzeugtyp hinsichtlich seiner Massen und Abmessungen
  • den Entzug der EG-Typgenehmigung (1)
in Bezug auf die Verordnung (EU) Nr. 1230/2012, zuletzt geändert durch die Verordnung (EU) 2019/1892
EG-Typgenehmigungsnummer:
Grund für die Erweiterung:

Abschnitt I

0.1. Marke (Handelsname des Herstellers):
0.2. Typ:
0.2.1. Handelsname(n), sofern vorhanden:
0.4. Fahrzeugklasse (2)
0.5. Firmenname und Anschrift des Herstellers:
0.8. Name(n) und Anschrift(en) der Fertigungsstätte(n):
0.9. (Ggf.) Name und Anschrift des Bevollmächtigten des Herstellers:

Abschnitt II

1. Zusätzliche Angaben (falls zutreffend): siehe Beiblatt
2. Technischer Dienst, der die Prüfungen durchführt:
3. Datum des Prüfberichts:
4. Nummer des Prüfberichts:
5. Bemerkungen (gegebenenfalls):
6. Ort:
7. Datum:
8. Unterschrift:
Anlagen: (1) Beschreibungsunterlagen (alle Seiten müssen mit dem Stempel der Typgenehmigungsbehörde versehen sein)
(2) Prüfbericht
(3) Bei Fahrzeugen, die mit einem Federungssystem ausgerüstet sind, das als der Luftfederung gleichwertig anerkannt wird, sind der Prüfbericht und eine technische Beschreibung der Federung erforderlich.
Legende:

1) Nicht Zutreffendes streichen.

2) Gemäß Anhang II Teil A.

Beiblatt
zu dem EG-Typgenehmigungsbogen Nr. ...

1. Ausnahmeregelungen

1.1. Das Fahrzeug wurde gemäß Artikel 6 Absatz 1 dieser Verordnung typgenehmigt (d. h. die größten Abmessungen des Fahrzeugs überschreiten die in Anhang I Teil A, B, C oder D genannten Höchstabmessungen): ja/nein 1

1.2. Das Fahrzeug wurde im Sinne des Artikels 8b der Richtlinie 96/53/EG typgenehmigt (d. h. aerodynamische Luftleiteinrichtungen oder Ausrüstungen an der Hinterseite des Fahrzeugs): ja/nein 1

1.3. Das Fahrzeug wurde im Rahmen des Artikels 9a der Richtlinie 96/53/EG (d. h. verlängertes oder mit aerodynamischen Luftleiteinrichtungen oder Ausrüstungen ausgestattetes Führerhaus) typgenehmigt: ja/nein1

1.4. Das Fahrzeug wurde im Rahmen des Artikels 10b der Richtlinie 96/53/EG typgenehmigt:

1.4.1. Mehrgewicht von mit alternativen Kraftstoffen betriebenen Fahrzeugen: ja/nein1

1.4.2. Mehrgewicht von emissionsfreien Fahrzeugen: ja/nein1

2. Das Fahrzeug ist mit einer Luftfederung ausgerüstet: ja/nein 1

3. Das Fahrzeug ist mit einem Federungssystem ausgerüstet, das als der Luftfederung gleichwertig anerkannt wird: ja/nein 1

4. Das Fahrzeug erfüllt die Anforderungen für Geländefahrzeuge: ja/nein 1

5. Anmerkungen: ...

____
1) Nicht Zutreffendes streichen.

Teil C
EG-Typgenehmigung einer aerodynamischen Luftleiteinrichtung oder Ausrüstung als selbstständige technische Einheit
19 

BESCHREIBUNGSBOGEN

MUSTER

Beschreibungsbogen Nr. ... betreffend die EG-Typgenehmigung einer aerodynamischen Luftleiteinrichtung oder Ausrüstung als selbstständige technische Einheit.

Die nachstehenden Angaben sind zusammen mit dem Verzeichnis der beiliegenden Unterlagen in dreifacher Ausfertigung einzureichen. Liegen Zeichnungen bei, so müssen diese das Format A4 haben oder auf das Format A4 gefaltet sein und hinreichende Einzelheiten in geeignetem Maßstab enthalten. Liegen Fotografien bei, müssen diese hinreichende Einzelheiten enthalten.

Weisen die in diesem Beschreibungsbogen genannten selbstständigen technischen Einheiten elektronisch gesteuerte Funktionen auf, so sind ebenfalls Angaben zu ihren Leistungsmerkmalen zu machen.

0. ALLGEMEINES

0.1. Marke (Handelsname des Herstellers): ...

0.2. Typ: ...

0.3. Merkmale zur Typidentifizierung, sofern an der selbstständigen technischen Einheit vorhandenb: ...

0.3.1. Anbringungsstelle dieser Merkmale: ...

0.5. Name und Anschrift des Herstellers: ...

0.7. Lage und Anbringungsart des EG-Typgenehmigungszeichens: ...

0.8. Name(n) und Anschrift(en) der Fertigungsstätte(n): ...

0.9. (Ggf.) Name und Anschrift des Bevollmächtigten des Herstellers: ...

9.26. Aerodynamische Luftleiteinrichtung oder Ausrüstung an der Fahrzeugfront

9.26.1. Fahrzeug an der Front mit aerodynamischer Luftleiteinrichtung oder Ausrüstung ausgestattet: ja/nein1

9.26.2. Typgenehmigungsnummer der aerodynamischen Luftleiteinrichtung oder Ausrüstung, sofern vorhanden: ... Alternativ, falls nicht vorhanden:

9.26.3. Ausführliche Beschreibung (einschließlich Fotos oder Zeichnungen) der aerodynamischen Luftleiteinrichtung oder Ausrüstung

9.26.3.1. Bauart und Werkstoffe: ...

9.26.3.2. Arretier- und Verstellsystem: ...

9.26.3.3. Anbringung und Befestigung am Fahrzeug: ...

9.27. Aerodynamische Luftleiteinrichtung oder Ausrüstung am Fahrzeugheck

9.27.1. Fahrzeug am Heck mit aerodynamischer Luftleiteinrichtung oder Ausrüstung ausgestattet: ja/nein1

9.27.2. Typgenehmigungsnummer der aerodynamischen Luftleiteinrichtung oder Ausrüstung, sofern vorhanden: ... Alternativ, falls nicht vorhanden:

9.27.3. Ausführliche Beschreibung (einschließlich Fotos oder Zeichnungen) der aerodynamischen Luftleiteinrichtung oder Ausrüstung

9.27.3.1. Bauart und Werkstoffe: ...

9.27.3.2. Arretier- und Verstellsystem: ...

9.27.3.3. Anbringung und Befestigung am Fahrzeug: ...

Erläuterungen

b) Enthalten die Merkmale zur Typidentifizierung Zeichen, die für die Typbeschreibung der selbstständigen technischen Einheit gemäß diesem Beschreibungsbogen nicht wesentlich sind, so sind diese Schriftzeichen in den betreffenden Unterlagen durch das Symbol "?" darzustellen (Beispiel: ABC??123??).

_____
1) Nicht Zutreffendes streichen.

Teil D
EG-Typgenehmigung einer aerodynamischen Luftleiteinrichtung oder Ausrüstung als selbstständige technische Einheit
19 

MUSTER
Format: A4 (210 × 297 mm)

EG-TYPGENEHMIGUNGSBOGEN


Stempel der Typgenehmigungsbehörde
Mitteilung über:
  • die EG-Typgenehmigung1
  • die Erweiterung der EG-Typgenehmigung1
  • die Versagung der EG-Typgenehmigung1
  • den Entzug der EG-Typgenehmigung1


für einen Typ einer aerodynamischen Luftleiteinrichtung oder Ausrüstung als eine selbstständige technische Einheit
nach der Verordnung (EU) Nr. 1230/2012, zuletzt geändert durch die Verordnung (EU) 2019/18921
EG-Typgenehmigungsnummer: ...
Grund für die Erweiterung: ...

Abschnitt I

0.1. Marke (Handelsname des Herstellers): ...

0.2. Typ: ...

0.3. Merkmale zur Typidentifizierung, sofern an der selbstständigen technischen Einheit vorhanden2: ...

0.3.1. Anbringungsstelle dieser Merkmale: ...

0.5. Name und Anschrift des Herstellers: ...

0.7. Lage und Anbringungsart des EG-Typgenehmigungszeichens: ...

0.8. Name(n) und Anschrift(en) der Fertigungsstätte(n): ...

0.9. (Ggf.) Name und Anschrift des Bevollmächtigten des Herstellers: ...

Abschnitt II

1. Zusätzliche Angaben: siehe Beiblatt.

2. Technischer Dienst, der die Prüfungen durchführt: ...

3. Datum des Prüfberichts: ...

4. Nummer des Prüfberichts: ...

5. Bemerkungen (gegebenenfalls): siehe Beiblatt.

6. Ort: ...

7. Datum: ...

8. Unterschrift: ...
Anlagen: Beschreibungsunterlagen
Prüfbericht


Beiblatt

zu dem EG-Typgenehmigungsbogen Nr. ...

1. Kurzbeschreibung des Typs der selbstständigen technischen Einheit: ...

2. Ausführliche Beschreibung der aerodynamischen Luftleiteinrichtung oder Ausrüstung:

2.1. Anzahl der selbstständigen Elemente: ...

2.2. Beschreibung der Bauart und Werkstoffe: ...

2.3. Beschreibung des Arretier- und Verstellsystems: ...

2.4. Beschreibung der Befestigung und Anbringung am Fahrzeug: ...

2.5. Selbstständige technische Einheit: semiuniversell/fahrzeugspezifisch 1

3. Liste der bestimmten Fahrzeugtypen, für die die selbstständige technische Einheit genehmigt wurde (gegebenenfalls): ...

4. Ausführliche Beschreibung der genauen Spezifikationen zu dem Anbringungsbereich an Fahrzeugen bei semiuniversellen aerodynamischen Luftleiteinrichtungen oder Ausrüstungen (gegebenenfalls): ...

5. Anmerkungen: ...

6. Typgenehmigungszeichen mit Position: ...

______

1) Nicht Zutreffendes streichen.

2) Enthalten die Merkmale zur Typidentifizierung Zeichen, die für die Typbeschreibung der selbstständigen technischen Einheit gemäß diesem Beschreibungsbogen nicht wesentlich sind, so sind diese Schriftzeichen in den betreffenden Unterlagen durch das Symbol "?" darzustellen (Beispiel: ABC??123??).

Teil E
EG-Typgenehmigungszeichen für selbstständige technische Einheiten
19 

1. Das EG-Typgenehmigungszeichen für selbstständige technische Einheiten besteht aus:

1.1. einem Rechteck, das den Kleinbuchstaben "e" umgibt, gefolgt von der Kennnummer des Mitgliedstaats, der die EG-Typgenehmigung für eine selbstständige technische Einheit erteilt hat:

1 für Deutschland 19 für Rumänien
2 für Frankreich 20 für Polen
3 für Italien 21 für Portugal
4 für die Niederlande 23 für Griechenland
5 für Schweden 24 für Irland
6 für Belgien 25 für Kroatien
7 für Ungarn 26 für Slowenien
8 für die Tschechische Republik 27 für die Slowakei
9 für Spanien 29 für Estland
11 für das Vereinigte Königreich 32 für Lettland
12 für Österreich 34 für Bulgarien
13 für Luxemburg 36 für Litauen
17 für Finnland 49 für Zypern
18 für Dänemark 50 für Malta

1.2. der "Grundgenehmigungsnummer": diese befindet sich im Abschnitt 4 der Typgenehmigungsnummer und in der Nähe des Rechtecks; davor steht die zweistellige laufende Nummer, die diese Verordnung oder die jeweils letzte wesentliche technische Änderung dieser Verordnung bezeichnet. Die laufende Nummer ist derzeit "00".

1.3. Im Fall einer aerodynamischen Luftleiteinrichtung oder Ausrüstung von Führerhäusern steht vor der laufenden Nummer das Symbol "ENTSPRICHT Richtlinie 96/53/EG ARTIKEL 9A".

1.4. Im Fall einer aerodynamischen Luftleiteinrichtung oder Ausrüstung, die an der Hinterseite des Fahrzeugs positioniert werden, steht vor der laufenden Nummer das Symbol "ENTSPRICHT Richtlinie 96/53/EG ARTIKEL 8B".

2. Das EG-Typgenehmigungszeichen für selbstständige technische Einheiten ist so an einem Hauptteil der aerodynamischen Luftleiteinrichtung oder Ausrüstung anzubringen, dass es auch nach dem Anbau am Fahrzeug dauerhaft und deutlich lesbar ist.

3. Ein Beispiel eines EG-Typgenehmigungszeichens für selbstständige technische Einheiten ist in Abbildung 1 dargestellt.

Abbildung 1
Beispiel eines EG-Typgenehmigungszeichens für selbstständige technische Einheiten

Erläuterung

Die EG-Typgenehmigung für selbstständige technische Einheiten wurde in Rumänien für eine aerodynamische Luftleiteinrichtung oder Ausrüstung zum Anbau an die Hinterseite des Fahrzeugs (im Sinne der Einhaltung von Artikel 8b der Richtlinie 96/53/EG) unter der Nummer 0046 ausgestellt. Die ersten beiden Ziffern "00" bedeuten, dass die selbstständige technische Einheit nach der vorliegenden Verordnung genehmigt wurde.

.

Änderungen der Anhänge I, III, IX und XVI der Richtlinie 2007/46/EG Anhang VI

Die Richtlinie 2007/46/EG wird wie folgt geändert:

1. Anhang I wird wie folgt geändert:

a) Nummer 0.5 erhält folgende Fassung:

"0.5 Firmenname und Anschrift des Herstellers: ..."

b) Nummer 1.9 erhält folgende Fassung:

"1.9. Angabe, ob das Zugfahrzeug zum Ziehen von Sattelanhängern oder sonstigen Anhängern bestimmt ist und ob es sich bei dem Anhänger um einen Sattel-, Deichsel-, Zentralachsanhänger oder um einen Starrdeichselanhänger handelt: .... "

c) Folgende Nummer 1.10 wird angefügt:

"1.10. Angabe, ob das Fahrzeug speziell zur Beförderung von Gütern unter bestimmten Temperaturbedingungen ausgelegt ist: ..."

d) Nummer 2 erhält folgende Fassung:

"2. MASSEN UND ABMESSUNGEN (f ) (g ) (7 )
(in kg und mm) (gegebenenfalls Bezugnahme auf Zeichnung)"

e) Die Punkte 2.1.1.1, 2.1.1.1.1 und 2.1.1.1.2 erhalten folgende Fassung:

"2.1.2. Drei- und mehrachsige Fahrzeuge

2.1.2.1 Achsabstand zwischen aufeinanderfolgenden Achsen von der vordersten bis zur hintersten Achse: ...

2.1.2.2 Achsabstand insgesamt: ... "

f) Die Nummern 2.5 und 2.5.1 erhalten folgende Fassung:

"2.5. Mindestmasse auf der (den) gelenkten Achse(n) bei unvollständigen Fahrzeugen: .... "

g) Die Nummern 2.6 und 2.6.1 erhalten folgende Fassung:

"2.6. Masse in fahrbereitem Zustand (h )

  1. Kleinst- und Größtwert für jede Variante: ...
  2. Masse jeder einzelnen Version (eine gesonderte Matrix ist zu erstellen): ...

2.6.1 Verteilung dieser Masse auf die Achsen sowie Stützlast bei Sattelanhängern, Zentralachsanhängern und Starrdeichselanhängern: ..

  1. Kleinst- und Größtwert für jede Variante: ..
  2. Masse jeder einzelnen Version (eine gesonderte Matrix ist zu erstellen): ..."

h) Folgende Nummer 2.6.2 wird eingefügt:

"2.6.2. Masse der Zusatzausrüstung (siehe Begriffsbestimmung Nr. 5 in Artikel 2 der Verordnung (EU) Nr 1230/2012 der Kommission (*): ...

_____________

*) ABl. Nr. L 353 vom 21.12.2012 S. 31."

(i) Nummer 2.10 erhält folgende Fassung:

"2.10. Technisch zulässige Masse je Achsgruppe: ..."

j) Nummer 2.11 erhält folgende Fassung:

"2.11 Technisch zulässige maximale Anhängelast des Zugfahrzeugs im Falle eines:"

k) Nummer 2.11.4 erhält folgende Fassung:

"2.11.4. Starrdeichselanhänger: ..."

l) Nummer 2.11.5 erhält folgende Fassung:

"2.11.5 Technisch zulässige Gesamtmasse der Fahrzeugkombination in beladenem Zustand (3 ): ... "

m) Die Nummern 2.12, 2.12.1 und 2.12.2 erhalten folgende Fassung:

"2.12. Technisch zulässige Gesamtmasse am Kupplungspunkt:

2.12.1 eines Zugfahrzeugs: ...

2.12.2. eines Sattelanhängers, eines Zentralachsanhängers oder eines Starrdeichselanhängers: ... "

n) Die Nummern 2.16 bis 2.16.5 erhalten folgende Fassung:

"2.16. Für die Zulassung/den Betrieb höchstzulässige Massen (fakultativ)

2.16.1 Für die Zulassung/den Betrieb höchstzulässige Gesamtmasse: ...

2.16.2 Für die Zulassung/den Betrieb höchstzulässige Masse je Achse und bei Sattelanhängern und Zentralachsanhängern vorgesehene Stützlast am Kupplungspunkt nach Angabe des Herstellers, wenn diese niedriger ist als die technisch zulässige Höchststützlast am Kupplungspunkt: ...

2.16.3 Für die Zulassung/den Betrieb höchstzulässige Masse je Achsgruppe: ...

2.16.4 Für die Zulassung/den Betrieb höchstzulässige Anhängelast: ...

2.16.5 Für die Zulassung/den Betrieb vorgesehene höchstzulässige Gesamtmasse der Fahrzeugkombination: ... "

o) Folgende Nummer 13.12 wird angefügt:

"13.12. Zeichnung mit Abmessungen, in der die Innenausstattung hinsichtlich der Sitz- und Stehplätze, Plätze für Rollstuhlfahrer, Gepäckräume, Gepäckträger und Skibox dargestellt sind."

p) Die Erläuterungen werden wie folgt geändert:

i) Die folgende Anmerkung (7 ) wird eingefügt:

"(7 ) Eine Zusatzausrüstung, die die Abmessungen des Fahrzeugs verändert, ist anzugeben."

ii) Anmerkung (h ) erhält folgende Fassung:

"(h ) Die Masse des Fahrers wird mit 75 kg veranschlagt.

Die Flüssigkeiten enthaltenden Systeme (außer Systeme für gebrauchtes Wasser, die leer bleiben müssen) sind zu 100 % des vom Hersteller angegebenen Fassungsvermögens gefüllt.

Die unter den Nummern 2.6 Buchstabe b und 2.6.1 Buchstabe b erforderlichen Angaben müssen für Fahrzeuge der Klassen N2 N3, M2, M3, O3 und O4 nicht mitgeteilt werden."

2. Anhang III Teil I wird wie folgt geändert:

a) Abschnitt a wird wie folgt geändert:

i) Nummer 0.5 erhält folgende Fassung:

"0.5 Firmenname und Anschrift des Herstellers: "

ii) Die folgende Nummern 1.9 und 1.10 werden hinzugefügt:

"1.9. Bitte angeben, ob das Zugfahrzeug zum Ziehen von Sattelanhängern oder anderen Anhängern bestimmt ist und ob es sich bei dem Anhänger um einen Sattelanhänger, um einen Anhänger mit schwenkbarer Zugeinrichtung, um einen Zentralachsanhänger oder um einen Starrdeichselanhänger handelt:

1.10 Bitte angeben, ob das Fahrzeug speziell zur Beförderung von Gütern unter bestimmten Temperaturbedingungen ausgelegt ist: "

iii) Nummer 2 erhält folgende Fassung:

"2. MASSEN UND ABMESSUNGEN (f ) (g ) (7 )

(in kg und mm) (gegebenenfalls Bezugnahme auf Zeichnung)"

iv) Folgende Nummer 2.5 wird eingefügt:

"2.5. Mindestmasse auf der (den) gelenkten Achse(n) bei unvollständigen Fahrzeugen: "

v) Die Nummern 2.6 und 2.6.1 erhalten folgende Fassung:

"2.6. Masse in fahrbereitem Zustand (h )

  1. Kleinst- und Größtwert für jede Variante: ...
  2. Masse jeder einzelnen Version (eine Matrix ist vorzulegen): ....

2.6.1. Verteilung dieser Masse auf die Achsen sowie Stützlast bei Sattelanhängern, Starrdeichselanhängern und Zentralachsanhängern:

  1. Größt- und Kleinstwert für jede Variante:...
  2. Masse jeder einzelnen Version (eine Matrix ist vorzulegen): ..."

vi) Folgende Nummer 2.6.2 wird eingefügt:

"2.6.2. Masse der Zusatzausrüstung (siehe Begriffsbestimmung Nr. 5 in Artikel 2 der Verordnung (EU) Nr. 1230/2012: ... "

vii) Nummer 2.10 erhält folgende Fassung:

"2.10. Technisch zulässige Masse je Achsgruppe: ... "

viii) Nummer 2.11 erhält folgende Fassung:

"2.11 Technisch zulässige maximale Anhängelast des Zugfahrzeugs im Falle eines:"

ix) Nummer 2.11.4 erhält folgende Fassung:

"2.11.4. Starrdeichselanhänger: ..."

x) Nummer 2.11.5 erhält folgende Fassung:

"2.11.5 Technisch zulässige Gesamtmasse der Fahrzeugkombination in beladenem Zustand (3 ): .... "

xi) Die Nummern 2.12, 2.12.1 und 2.12.2 erhalten folgende Fassung:

"2.12. Technisch zulässige maximale Masse am Kupplungspunkt:

2.12.1 eines Zugfahrzeugs: ...

2.12.2. eines Sattelanhängers, eines Zentralachsanhängers oder eines Starrdeichselanhängers: ... "

xii) Die Nummern 2.16 bis 2.16.5 erhalten die folgende Fassung:

"2.16. Für die Zulassung/den Betrieb zulässige Massen (fakultativ)

2.16.1 Für die Zulassung/den Betrieb höchstzulässige Gesamtmasse in beladenem Zustand: ....

2.16.2 Für die Zulassung/den Betrieb höchstzulässige Masse je Achse und bei Sattelanhängern und Zentralachsanhängern vorgesehene Stützlast nach Angabe des Herstellers, wenn diese niedriger ist als die technisch zulässige Höchststützlast: ...

2.16.3 Für die Zulassung/den Betrieb höchstzulässige Masse je Achsgruppe: ...

2.16.4 Für die Zulassung/den Betrieb höchstzulässige Anhängelast: ...

2.16.5. Für die Zulassung/den Betrieb höchstzulässige Gesamtmasse der Fahrzeugkombination: ..."

b) Abschnitt B wird wie folgt geändert:

i) Nummer 0.5 erhält folgende Fassung:

"0.5 Firmenname und Anschrift des Herstellers: ... "

ii) Die folgenden Nummern 1.9 und 1.10 werden hinzugefügt:

"1.9. Bitte angeben, ob das Zugfahrzeug zum Ziehen von Sattelanhängern oder anderen Anhängern bestimmt ist und ob es sich bei dem Anhänger um einen Sattelanhänger, um einen Anhänger mit schwenkbarer Zugeinrichtung, um einen Zentralachsanhänger oder um einen Starrdeichselanhänger handelt: ..

1.10 Bitte angeben, ob das Fahrzeug speziell zur Beförderung von Gütern unter bestimmten Temperaturbedingungen ausgelegt ist: ... "

iii) Nummer 2 erhält folgende Fassung:

"2. MASSEN UND ABMESSUNGEN (f ) (g ) (7 )
(in kg und mm) (gegebenenfalls Bezugnahme auf Zeichnung)"

iv) Die Nummern 2.6 und 2.6.1 erhalten folgende Fassung:

"2.6. Masse in fahrbereitem Zustand (h )

  1. Größt- und Kleinstwert für jede Variante: ...
  2. Masse jeder einzelnen Version (eine Matrix ist vorzulegen): ...

2.6.1 Verteilung dieser Masse auf die Achsen sowie Stützlast bei Sattelanhängern, Starrdeichselanhängern und Zentralachsanhängern: ...

  1. Größt- und Kleinstwert für jede Variante: ...
  2. Masse jeder einzelnen Version (eine Matrix ist vorzulegen): ..."

v) Folgende Nummer 2.6.2 wird eingefügt:

"2.6.2. Masse der Zusatzausrüstung (siehe Begriffsbestimmung Nr. 5 in Artikel 2 der Verordnung (EU) Nr. 1230/2012: "

vi) Nummer 2.10 erhält folgende Fassung:

"2.10. Technisch zulässige Masse je Achsgruppe: ..."

vii) Die Nummern 2.12 und 2.12.2 erhalten folgende Fassung:

"2.12. Technisch zulässige maximale Masse am Kupplungspunkt:

2.12.2. eines Sattelanhängers, eines Zentralachsanhängers oder eines Starrdeichselanhängers: .... "

viii) Die Nummern 2.16 bis 2.16.3 erhalten die folgende Fassung:

"2.16. Für die Zulassung/den Betrieb höchstzulässige Massen (fakultativ)

2.16.1 Für die Zulassung/den Betrieb höchstzulässige Gesamtmasse in beladenem Zustand: ...

2.16.2 Für die Zulassung/den Betrieb höchstzulässige Masse je Achse und bei Sattelanhängern und Zentralachsanhängern vorgesehene Stützlast am Kupplungspunkt nach Angabe des Herstellers, wenn diese niedriger ist als die technisch zulässige Höchststützlast: ...

2.16.3. Für die Zulassung/den Betrieb höchstzulässige Masse je Achsgruppe: ................... "

ix) Nummer 2.16.5 wird gestrichen.

3. Anhang IX wird wie folgt geändert:

a) Im Text von "Muster A1 - Seite 1 - Vollständige Fahrzeuge - EG-Übereinstimmungsbescheinigung" erhält die Nummer 0.5 folgende Fassung:

"0.5 Firmenname und Anschrift des Herstellers: .... "

b) Im Text von "Muster A2 - Seite 1 - In Kleinserien typgenehmigte vollständige Fahrzeuge - [Jahr] - [laufende Nummer] - EG-Übereinstimmungsbescheinigung" erhält die Nummer 0.5 folgende Fassung:

"0.5 Firmenname und Anschrift des Herstellers: ..."

c) Im Text von "Muster B - Seite 1 - Vervollständigte Fahrzeuge - EG-Übereinstimmungsbescheinigung" erhält die Nummer 0.5 folgende Fassung:

"0.5 Firmenname und Anschrift des Herstellers: ... "

d) Im Text von "Muster C1 - Seite 1 - Unvollständige Fahrzeuge - EG-Übereinstimmungsbescheinigung" erhält die Nummer 0.5 folgende Fassung:

"0.5 Firmenname und Anschrift des Herstellers: ... "

e) Im Text von "Muster C2 - Seite 1 - In Kleinserien typgenehmigte unvollständige Fahrzeuge - [Jahr] - [laufende Nummer] - EG-Übereinstimmungsbescheinigung" erhält die Nummer 0.5 folgende Fassung:

"0.5 Firmenname und Anschrift des Herstellers: ... "

f) Im Text von "Seite 2 - Fahrzeugklasse M1 - (Vollständige und vervollständigte Fahrzeuge)" erhält die Nummer 13 folgende Fassung:

"13. Masse in fahrbereitem Zustand: .... kg"

g) Im Text von "Seite 2 - Fahrzeugklasse M1 - (Vollständige und vervollständigte Fahrzeuge)" wird die folgende Nummer 13.2 eingefügt:

"13.2. Tatsächliche Masse des Fahrzeugs: .... kg"

h) Im Text von "Seite 2 - Fahrzeugklasse M2 - (Vollständige und vervollständigte Fahrzeuge)" erhält die Nummer 13 folgende Fassung:

"13. Masse in fahrbereitem Zustand: ...kg"

i) Im Text von "Seite 2 - Fahrzeugklasse M2 - (Vollständige und vervollständigte Fahrzeuge)" wird die folgende Nummer 13.2 eingefügt:

"13.2. Tatsächliche Masse des Fahrzeugs: ...kg"

j) Im Text von "Seite 2 - Fahrzeugklasse M3 - (Vollständige und vervollständigte Fahrzeuge)" erhält die Nummer 13 folgende Fassung:

"13. Masse in fahrbereitem Zustand: ... .kg"

k) Im Text von "Seite 2 - Fahrzeugklasse M3 - (Vollständige und vervollständigte Fahrzeuge)" wird die folgende Nummer 13.2 eingefügt:

"13.2. Tatsächliche Masse des Fahrzeugs: ... kg"

l) Im Text von "Seite 2 - Fahrzeugklasse N1 - (Vollständige und vervollständigte Fahrzeuge)" erhält die Nummer 13 folgende Fassung:

"13. Masse in fahrbereitem Zustand: ... .kg"

m) Im Text von "Seite 2 - Fahrzeugklasse N1 - (Vollständige und vervollständigte Fahrzeuge)" wird die folgende Nummer 13.2 eingefügt:

"13.2. Tatsächliche Masse des Fahrzeugs: ... kg"

n) Im Text von "Seite 2 - Fahrzeugklasse N2 - (Vollständige und vervollständigte Fahrzeuge)" erhält die Nummer 13 folgende Fassung:

"13. Masse in fahrbereitem Zustand: ....kg"

o) Im Text von "Seite 2 - Fahrzeugklasse N2 - (Vollständige und vervollständigte Fahrzeuge)" wird die folgende Nummer 13.2 eingefügt:

"13.2. Tatsächliche Masse des Fahrzeugs: ... kg"

p) Im Text von "Seite 2 - Fahrzeugklasse N3 - (Vollständige und vervollständigte Fahrzeuge)" erhält die Nummer 13 folgende Fassung:

"13. Masse in fahrbereitem Zustand: ... .kg"

q) Im Text von "Seite 2 - Fahrzeugklasse N3 - (Vollständige und vervollständigte Fahrzeuge)" wird die folgende Nummer 13.2 eingefügt:

"13.2. Tatsächliche Masse des Fahrzeugs: .... kg"

r) Im Text von "Seite 2 - Fahrzeugklassen O1 und O2 - (Vollständige und vervollständigte Fahrzeuge)" erhält die Nummer 13 folgende Fassung:

"13. Masse in fahrbereitem Zustand: .... .kg"

s) Im Text von "Seite 2 - Fahrzeugklassen O1 und O2 - (Vollständige und vervollständigte Fahrzeuge)" wird die folgende Nummer 13.2 eingefügt:

"13.2. Tatsächliche Masse des Fahrzeugs: .... kg"

t) Im Text von "Seite 2 - Fahrzeugklassen O3 und O4 - (Vollständige und vervollständigte Fahrzeuge)" erhält die Nummer 13 folgende Fassung:

"13. Masse in fahrbereitem Zustand: ... .kg"

u) Im Text von "Seite 2 - Fahrzeugklasse M1 - (Unvollständige Fahrzeuge)" wird die folgende Nummer 13.2 eingefügt:

"13.2. Masse in fahrbereitem Zustand: ....kg"

v) Im Text von "Seite 2 - Fahrzeugklasse M1 - (Unvollständige Fahrzeuge)" erhält die Nummer 14 folgende Fassung:

"14. Tatsächliche Masse des Fahrzeugs: ...kg"

w) Im Text von "Seite 2 - Fahrzeugklasse M2 - (Unvollständige Fahrzeuge)" erhält die Nummer 14 folgende Fassung:

"14. Tatsächliche Masse des Fahrzeugs: ... kg"

x) Im Text von "Seite 2 - Fahrzeugklasse M3 - (unvollständige Fahrzeuge)" erhält die Nummer 14 folgende Fassung:

"14. Tatsächliche Masse des Fahrzeugs: ...kg"

y) Im Text von "Seite 2 - Fahrzeugklasse N1 - (Unvollständige Fahrzeuge)" wird die folgende Nummer 13 eingefügt:

"13. Masse in fahrbereitem Zustand: ....kg"

z) Im Text von "Seite 2 - Fahrzeugklasse N1 - (Unvollständige Fahrzeuge)" erhält die Nummer 14 folgende Fassung:

"14. Tatsächliche Masse des Fahrzeugs: ...kg"

aa) Im Text von "Seite 2 - Fahrzeugklasse N2 - (Unvollständige Fahrzeuge)" erhält die Nummer 14 folgende Fassung:

"14. Tatsächliche Masse des Fahrzeugs: ... kg"

ab) Im Text von "Seite 2 - Fahrzeugklasse N3 - (Unvollständige Fahrzeuge)" erhält die Nummer 14 folgende Fassung:

"14. Tatsächliche Masse des Fahrzeugs: .... kg"

ac) Im Text von "Seite 2 - Fahrzeugklassen O1 und O2 - (Unvollständige Fahrzeuge)" erhält die Nummer 14 folgende Fassung:

"14. Tatsächliche Masse des Fahrzeugs: ... kg"

ad) Im Text von "Seite 2 - Fahrzeugklassen O3 und O4 - (Unvollständige Fahrzeuge)" erhält die Nummer 14 folgende Fassung:

"14. Tatsächliche Masse des Fahrzeugs: ...kg"

ae) In den "Erläuterungen zu Anhang IX" wird Buchstabe (f) gestrichen.

4. Anhang XVI wird wie folgt geändert:

a) Der folgende Eintrag 44 wird in die Aufstellung der Rechtsakte eingefügt:

"44 Verordnung (EU) Nr. 1230/2012"

b) In Anlage 2 wird folgender Eintrag 44 eingefügt:

Nummer des Rechtsakts Anhang und Abschnitt Besondere Bedingungen
"44 Verordnung (EU) Nr.1230/2012 Anhang I Teil B Abschnitte 7 und 8 a) Prüfung der Einhaltung der Anforderungen an die Manövrierfähigkeit bei Fahrzeugen, die mit Hub- oder Lastverlagerungsachsen ausgerüstet sind.
Anhang I Teil C Abschnitte 6 und 7 b) Messung des größten Ausschwenkens des Fahrzeughecks"

.

Anhang VII

" Anhang XII
Höchstzulässige Stückzahlen für Kleinserien und auslaufende Serien

A. HÖCHSTZULÄSSIGE STÜCKZAHLEN FÜR KLEINSERIEN

1. Die Zahl der Einheiten eines Fahrzeugtyps, die gemäß Artikel 22 jährlich in der Europäischen Union zugelassen, verkauft oder in Betrieb genommen werden dürfen, ist in Abhängigkeit von der Fahrzeugklasse wie folgt begrenzt:

Klasse Einheiten
M1 1000
M2 , M3 0
N1 0
N2, N3 0
O1, O2 0
O3, O4 0

2. Die Zahl der Einheiten eines Fahrzeugtyps, die gemäß Artikel 23 jährlich in einem Mitgliedstaat zugelassen, verkauft oder in Betrieb genommen werden dürfen, ist von dem jeweiligen Mitgliedstaat festzulegen, darf aber in Abhängigkeit von der Fahrzeugklasse nicht die folgenden Zahlen überschreiten:

Klasse Einheiten
M1 75
M2, M3 250
N1 500
N2, N3 250
O1, O2 500
O3, O4 250

3. Die Zahl der Einheiten eines Fahrzeugtyps, die gemäß Artikel 6 Absatz 2 der Verordnung (EU) Nr. 1230/2012 jährlich in einem Mitgliedstaat zugelassen, verkauft oder in Betrieb genommen werden dürfen, ist von dem jeweiligen Mitgliedstaat festzulegen, darf aber in Abhängigkeit von der Fahrzeugklasse nicht die folgenden Zahlen überschreiten:

Klasse Einheiten
M2, M3 1000
N2, N3 1200
O3, O4 2000

B. HÖCHSTZULÄSSIGE STÜCKZAHLEN FÜR AUSLAUFENDE SERIEN

Die Höchstzahl vollständiger oder vervollständigter Fahrzeuge, die jeweils in einem Mitgliedstaat nach dem Verfahren für auslaufende Serien in Betrieb genommen werden, wird von dem Mitgliedstaat auf eine der folgenden Weisen festgelegt:

  1. Die Höchstzahl der Fahrzeuge eines oder mehrerer typen darf im Fall von Fahrzeugen der Klasse M 1 nicht mehr als 10 % und im Fall von Fahrzeugen anderer Klassen nicht mehr als 30 % der Fahrzeuge aller betreffenden typen, die im Vorjahr in diesem Mitgliedstaat in Betrieb genommen wurden, betragen;

    handelt es sich bei 10 % bzw. 30 % um weniger als 100 Fahrzeuge, darf der Mitgliedstaat die Inbetriebnahme von maximal 100 Fahrzeugen erlauben;

  2. die Zahl der Fahrzeuge jedes einzelnen Typs wird beschränkt auf diejenigen, für die am oder nach dem Herstellungsdatum eine gültige Übereinstimmungsbescheinigung ausgestellt wurde, die nach ihrem Ausstellungsdatum mindestens drei Monate gültig blieb, anschließend jedoch durch das Inkrafttreten eines Rechtsakts ungültig wurde."
ENDE

umwelt-online - Demo-Version


(Stand: 25.08.2022)

Alle vollständigen Texte in der aktuellen Fassung im Jahresabonnement
Nutzungsgebühr: ab 105.- € netto

(derzeit ca. 7200 Titel s.Übersicht - keine Unterteilung in Fachbereiche)

Preise & Bestellung

Die Zugangskennung wird kurzfristig übermittelt

? Fragen ?
Abonnentenzugang/Volltextversion